JP3640366B2 - ズームレンズ - Google Patents
ズームレンズ Download PDFInfo
- Publication number
- JP3640366B2 JP3640366B2 JP24896396A JP24896396A JP3640366B2 JP 3640366 B2 JP3640366 B2 JP 3640366B2 JP 24896396 A JP24896396 A JP 24896396A JP 24896396 A JP24896396 A JP 24896396A JP 3640366 B2 JP3640366 B2 JP 3640366B2
- Authority
- JP
- Japan
- Prior art keywords
- lens
- lens group
- refractive power
- zoom
- focal length
- Prior art date
- Legal status (The legal status is an assumption and is not a legal conclusion. Google has not performed a legal analysis and makes no representation as to the accuracy of the status listed.)
- Expired - Fee Related
Links
- 230000014509 gene expression Effects 0.000 claims description 16
- 238000003384 imaging method Methods 0.000 claims description 10
- 230000004075 alteration Effects 0.000 description 46
- 238000010586 diagram Methods 0.000 description 20
- 230000003287 optical effect Effects 0.000 description 11
- 201000009310 astigmatism Diseases 0.000 description 5
- 238000000034 method Methods 0.000 description 2
- 239000006059 cover glass Substances 0.000 description 1
- 230000000694 effects Effects 0.000 description 1
- 238000012986 modification Methods 0.000 description 1
- 230000004048 modification Effects 0.000 description 1
- 238000000926 separation method Methods 0.000 description 1
Images
Classifications
-
- G—PHYSICS
- G02—OPTICS
- G02B—OPTICAL ELEMENTS, SYSTEMS OR APPARATUS
- G02B15/00—Optical objectives with means for varying the magnification
- G02B15/14—Optical objectives with means for varying the magnification by axial movement of one or more lenses or groups of lenses relative to the image plane for continuously varying the equivalent focal length of the objective
- G02B15/16—Optical objectives with means for varying the magnification by axial movement of one or more lenses or groups of lenses relative to the image plane for continuously varying the equivalent focal length of the objective with interdependent non-linearly related movements between one lens or lens group, and another lens or lens group
- G02B15/163—Optical objectives with means for varying the magnification by axial movement of one or more lenses or groups of lenses relative to the image plane for continuously varying the equivalent focal length of the objective with interdependent non-linearly related movements between one lens or lens group, and another lens or lens group having a first movable lens or lens group and a second movable lens or lens group, both in front of a fixed lens or lens group
- G02B15/167—Optical objectives with means for varying the magnification by axial movement of one or more lenses or groups of lenses relative to the image plane for continuously varying the equivalent focal length of the objective with interdependent non-linearly related movements between one lens or lens group, and another lens or lens group having a first movable lens or lens group and a second movable lens or lens group, both in front of a fixed lens or lens group having an additional fixed front lens or group of lenses
- G02B15/17—Optical objectives with means for varying the magnification by axial movement of one or more lenses or groups of lenses relative to the image plane for continuously varying the equivalent focal length of the objective with interdependent non-linearly related movements between one lens or lens group, and another lens or lens group having a first movable lens or lens group and a second movable lens or lens group, both in front of a fixed lens or lens group having an additional fixed front lens or group of lenses arranged +--
-
- G—PHYSICS
- G02—OPTICS
- G02B—OPTICAL ELEMENTS, SYSTEMS OR APPARATUS
- G02B15/00—Optical objectives with means for varying the magnification
- G02B15/14—Optical objectives with means for varying the magnification by axial movement of one or more lenses or groups of lenses relative to the image plane for continuously varying the equivalent focal length of the objective
- G02B15/145—Optical objectives with means for varying the magnification by axial movement of one or more lenses or groups of lenses relative to the image plane for continuously varying the equivalent focal length of the objective having five groups only
- G02B15/1451—Optical objectives with means for varying the magnification by axial movement of one or more lenses or groups of lenses relative to the image plane for continuously varying the equivalent focal length of the objective having five groups only the first group being positive
- G02B15/145125—Optical objectives with means for varying the magnification by axial movement of one or more lenses or groups of lenses relative to the image plane for continuously varying the equivalent focal length of the objective having five groups only the first group being positive arranged +--++
Landscapes
- Physics & Mathematics (AREA)
- General Physics & Mathematics (AREA)
- Optics & Photonics (AREA)
- Nonlinear Science (AREA)
- Lenses (AREA)
Description
【発明の属する技術分野】
本発明は、CCD、撮像管等の撮像素子やフィルムなどを用いたカメラに使用される結像レンズに関し、特に、ビデオカメラや放送用カメラ等に搭載されるリヤフォーカス方式のズームレンズに関するものである。
【0002】
【従来の技術および発明が解決しようとする課題】
従来、リヤフォーカス方式のズームレンズとして、例えば、物体側より順に正の屈折力の第1レンズ群、変倍を行う負の屈折力の第2レンズ群、正の屈折力の第3レンズ群、変倍に伴う像面位置の変動とフォーカシングを行う正の屈折力の第4レンズ群を配してなるものが知られている。このように、ズームレンズをリヤフォーカス方式とすると一般的にはレンズ系が小型になり、迅速なフォーカシングが可能となることが知られているが、その一方で、フォーカシングにおける収差変動が大きくなるという問題等も発生している。
【0003】
また、リヤフォーカス方式を用いているズームレンズの多くは、バックフォーカスの短い単板式の民生用のビデオカメラに搭載することを目的として設計されたものであるため、多板式のビデオカメラに搭載するためにはこのバックフォーカスの長さの点で問題がある。
【0004】
本発明はこのような問題を解決するためになされたもので、リヤフォーカス方式を用いたズームレンズにおいて、ズーミングやフォーカシングによっても良好な光学性能を維持することができ、また、多板式のビデオカメラに搭載する場合においても充分なバックフォーカスを有するズームレンズを提供することを目的とするものである。
【0005】
【課題を解決するための手段】
本発明のズームレンズは、物体側より順に、正の屈折力を有する第1レンズ群、負の屈折力を有する第2レンズ群、負の屈折力を有する第3レンズ群、正の屈折力を有する第4レンズ群および正の屈折力を有する第5レンズ群を配列してなり、前記第2レンズ群を移動させることにより変倍を行い、その変倍による像面位置の変動と、物体距離の変化による像面位置の変動とをともに、前記第4レンズ群を移動させることによって補正し、以下の条件式(1)〜(5)を満足することを特徴とするものである。
【0006】
(1)0.8<F4/(F*Z1/2)<4.0
(2)−3.0<F2/F<−1.2
(3)−5.8<F3/F<−2.5
(4)2.5<F5/F<6.0
(5)1.0<β4w<10.0
ただし、
F :広角端における全レンズ系の焦点距離
F4 :第4レンズ群の焦点距離
Z :ズーム比
F2 :第2レンズ群の焦点距離
F3 :第3レンズ群の焦点距離
F5 :第5レンズ群の焦点距離
β4w:第4レンズ群の広角端における無限遠物体位置のときの結像倍率
【0008】
また、前記第3レンズ群が一枚の凹レンズにより構成されることが好ましい。
さらに、前記第3レンズ群と前記第4レンズ群との間に可変型絞りを配設することが好ましい。
【0009】
【発明の実施の形態】
以下、本発明の実施例について図面を用いて説明する。なお、以下4つの実施例について具体的に説明するが、各実施例に各々対応する図面の説明において同様の要素には同様の符号を付し、重複する説明については省略する。なお、各実施例に対応する各図面の下段には、物体距離が無限遠である場合の広角端から望遠端までの各レンズ群の移動軌跡が示されている。
【0010】
<実施例1>
この実施例1のズームレンズは、物体側より順に、正の屈折力を有する第1レンズ群と、負の屈折力を有する第2レンズ群と、負の屈折力を有する第3レンズ群と、可変型絞り3と、正の屈折力を有する第4レンズ群と、正の屈折力を有する第5レンズ群を配列してなり、ズーミング時に第1レンズ群,第3レンズ群および第5レンズ群は固定とされ、第2レンズ群および第4レンズ群は可動とされ、第2レンズ群を光軸Xに沿って移動することにより全系の焦点距離fを変化させ(変倍操作を行い)、また、第4レンズ群を光軸Xに沿って移動することにより、第2レンズ群の移動に伴う結像位置Pの変動を補正し、同時に物体距離の変化による結像位置Pの変化を補正して(フォーカシング操作を行って)、結像面1上に確実に結像されるように構成されている。
【0011】
そして、図1に示すように、第1レンズ群はレンズL1〜L4から、第2レンズ群はレンズL5〜L8から、第3レンズ群はレンズL9,L10から、第4レンズ群はレンズL11〜L14から、第5レンズ群はレンズL15〜L20から構成されている。
また第5レンズ群と結像面1の間には、3色分解プリズム、ならびに赤外光をカットするフィルタ、ロ−パスフィルタおよびCCDカバ−ガラスからなる光学エレメント群(図中では1つのブロックとして示されている)2が配されている。
【0012】
また、以下の条件式(1)〜(5)を満足するように構成されてなる。
(1)0.8<F4/(F*Z1/2)<4.0
(2)−3.0<F2/F<−1.2
(3)−5.8<F3/F<−2.5
(4)2.5<F5/F<6.0
(5)1.0<β4w<10.0
ただし、
F :広角端における全体の焦点距離
Z :ズーム比
F2 :第2レンズ群の焦点距離
F3 :第3レンズ群の焦点距離
F4 :第4レンズ群の焦点距離
F5 :第5レンズ群の焦点距離
β4w:第4レンズ群の広角端における無限遠物体位置のときの結像倍率
【0013】
上記条件式(1)において、F4/(F*Z1/2)が下限を下回り第4レンズ群の正の屈折力が強まると、変倍やフォーカシングの操作による収差変動が大きくなり収差の補正が難しくなる。一方、F4/(F*Z1/2)が上限を上回り正の屈折力が弱まると、第4レンズ群の移動量が大きくなり全系のコンパクト化が困難となったり、第5レンズ群に向かう光線の光線高が高くなり第5レンズ群での収差補正が難しくなる。
【0014】
そこで、本実施例においては、このF4/(F*Z1/2)の値を表5に示すように1.35に設定し条件式(1)を満足させることで、収差補正を良好とし、かつレンズ系のコンパクト化を図るようにしている。
また、上記条件式(2)において、F2/Fが下限を下回り第2レンズ群の負の屈折力が弱まると、変倍に伴う移動量が大きくなりレンズ径が大きくなってしまう。
【0015】
一方、上限を上回り第2レンズ群の負の屈折力が強まると、収差補正が困難になる。
そこで、本実施例においては、このF2/Fの値を表5に示すように-1.85に設定し条件式(2)を満足させることで、収差補正を良好とし、かつレンズ系のコンパクト化を図るようにしている。
【0016】
また、上記条件式(3)において、F3/Fが下限を下回り第3レンズ群の負の屈折力が弱まると、バックフォーカスが短くなり、一方、上限を上回り第3レンズ群の負の屈折力が強まると、第4レンズ群以降での軸上光線高が高くなり収差補正が困難となる。
そこで、本実施例においては、この値を表5に示すように-3.78に設定し条件式(3)を満足させることで、収差補正を良好とし、かつ所望のバックフォーカスを確保するようにしている。
【0017】
また、上記条件式(4)において、F5/Fが下限を下回り第5レンズ群の正の屈折力が強まると、バックフォーカスが短くなってしまう。一方、上限を上回り第5レンズ群の正の屈折力が弱まると、収差補正が困難となってしまう。
そこで、本実施例においては、このF5/Fの値を表5に示すように4.87に設定することで条件式(4)を満足させ、収差補正を良好とし、かつ所望のバックフォーカスを確保するようにしている。
【0018】
また、条件式(5)において、β4wが上限を上回ったり下限を下回ったりすると第4レンズ群と第5レンズ群の屈折力のバランスが悪くなり収差補正が困難となる。
そこで、本実施例においては、β4wの値を表5に示すように3.90に設定し条件式(5)を満足させることで、収差補正を良好としている。
【0019】
また、可変型絞り3を第3レンズ群と第4レンズ群との間に設けるようにして、レンズ駆動機構等との抵触を回避し、設計の自由度を向上させている。
また、この実施例1におけるズームレンズのFナンバおよび半画角ωは各々2.05(広角端;ワイド)〜2.08(中間;ミドル)〜2.05(望遠端;テレ)および31.2°(広角端;ワイド)〜8.9°(中間ミドル)〜2.5°(望遠端;テレ)である。
【0020】
次に、この実施例1における各レンズ面の曲率半径R(mm)、各レンズの中心厚および各レンズ間の空気間隔D(mm)、各レンズのd線における屈折率Nおよびアッベ数νを下記表1に示す。ただし、この表1および後述する表2〜4において、各記号R,D,N,νに対応させた数字は物体側から順次増加するようになっている。
【0021】
【表1】
【0022】
図5、図6および図7は上記実施例1のズームレンズの広角端、中間、および望遠端における諸収差(球面収差、非点収差、ディストーションおよび倍率色収差)を示す収差図である。なお、各非点収差図には、サジタル(S)像面およびタンジェンシャル(T)像面に対する収差が示されている(図8〜16についても同じ)。
【0023】
この図5〜7および表5から明らかなように、実施例1のズームレンズによればズーム領域の全体に亘って良好な収差補正がなされ、所定の光学系を挿入するスペースを確保しつつレンズ系のコンパクト化を図ることができる。
【0024】
<実施例2>
実施例2のズームレンズについて図2を用いて説明する。
この実施例2のズームレンズは、上記実施例1のズームレンズとほぼ同様の5群構成とされているが、第1レンズ群が3枚構成とされ、第4レンズ群が3枚構成とされている点で上記実施例1のものとは異なっている。
なお、前述した条件式(1)〜(5)は全て満足されており、各々の値は表5に示す如く設定されている。
【0025】
また、この実施例2におけるズームレンズのFナンバおよび半画角ωは各々2.05(広角端;ワイド)〜2.23(中間;ミドル)〜2.06(望遠端;テレ)および31.3°(広角端;ワイド)〜8.9°(中間;ミドル)〜2.5°(望遠端;テレ)である。
この実施例2における各レンズ面の曲率半径R(mm)、各レンズの中心厚および各レンズ間の空気間隔D(mm )、各レンズのd 線における屈折率Nおよびアッベ数νを下記表2に示す。
【0026】
【表2】
【0027】
図8、図9および図10は上記実施例2のズームレンズの広角端、中間、および望遠端における諸収差(球面収差、非点収差、ディストーションおよび倍率色収差)を示す収差図である。
この図8〜10および表5から明らかなように、実施例2のズームレンズによればズーム領域の全体に亘って良好な収差補正がなされ、所定の光学系を挿入するスペースを確保しつつレンズ系のコンパクト化を図ることができる。
【0028】
<実施例3>
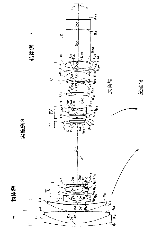
実施例3のズームレンズについて図3を用いて説明する。
図3に示すように、この実施例3のズームレンズは、上記実施例2のズームレンズとほぼ同様の5群構成とされているが、第3レンズ群が1枚構成とされ、第5レンズ群が5枚構成とされている点で上記実施例2と異なっている。
【0029】
このように第3レンズ群を1枚構成、第5レンズ群を5枚構成とすることにより、低コスト化および低重量化を図っている。
なお、前述した条件式(1)〜(5)は全て満足されており、各々の値は表5に示す如く設定されている。
【0030】
また、この実施例3におけるズームレンズのFナンバおよび半画角ωは各々2.05(広角端;ワイド)〜2.42(中間;ミドル)〜2.05(望遠端;テレ)および31.3°(広角端;ワイド)〜8.9°(中間;ミドル)〜2.5°(望遠端;テレ)である。
この実施例3における各レンズ面の曲率半径R(mm)、各レンズの中心厚および各レンズ間の空気間隔D(mm )、各レンズのd 線における屈折率Nおよびアッベ数νを下記表3に示す。
【0031】
【表3】
【0032】
図11、図12および図13は上記実施例3のズームレンズの広角端、中間、および望遠端における諸収差(球面収差、非点収差、ディストーションおよび倍率色収差)を示す収差図である。
この図11〜13および表5から明らかなように、実施例3のズームレンズによればズーム領域の全体に亘って良好な収差補正がなされ、所定の光学系を挿入するスペースを確保しつつレンズのコンパクト化を図ることができる。
【0033】
<実施例4>
実施例4のズームレンズについて図4を用いて説明する。
この実施例4のズームレンズは、上記実施例3のズームレンズとほぼ同様の5群16枚のレンズ構成とされている。
なお、前述した条件式(1)〜(5)は全て満足されており、各々の値は表5に示す如く設定されている。
【0034】
また、この実施例4におけるズームレンズのFナンバおよび半画角ωは各々2.05(広角端;ワイド)〜2.40(中間;ミドル)〜2.05(望遠端;テレ)および31.3°(広角端;ワイド)〜9.0°(中間;ミドル)〜2.5°(望遠端;テレ)である。
この実施例4における各レンズ面の曲率半径R(mm)、各レンズの中心厚および各レンズ間の空気間隔D(mm )、各レンズのd 線における屈折率Nおよびアッベ数νを下記表4に示す。
【0035】
【表4】
【0036】
図14、図15および図16は上記実施例4のズームレンズの広角端、中間、および望遠端における諸収差(球面収差、非点収差、ディストーションおよび倍率色収差)を示す収差図である。
この図14〜16および表5から明らかなように、実施例4のズームレンズによればズーム領域の全体に亘って良好な収差補正がなされ、所定の光学系を挿入するスペースを確保しつつレンズのコンパクト化を図ることができる。
【0037】
【表5】
【0038】
なお、本発明のズームレンズとしては、上記実施例のものに限られるものではなく種々の態様の変更が可能であり、例えば各レンズの曲率半径Rおよびレンズ間隔(もしくはレンズ厚)D、さらには屈折率N、アッベ数νを適宜変更することが可能である。
【0039】
また、上記各レンズに代えて、非球面レンズやGRINレンズを使用することも可能である。
また、用途としてもカメラの結像レンズに適用する場合のほか、種々の装置の投射レンズや結像レンズに適用することが可能である。
【0040】
【発明の効果】
以上説明したように、本発明のズームレンズによれば、第2レンズ群を移動することにより変倍を行い、その変倍による像面位置の変動と、物体距離の変化による像面位置の変動とをともに、第4レンズ群を移動させることにより補正する、5群構成のリヤフォーカス方式を採用し、上記第4レンズ群の焦点距離を適切な範囲に設定している。これにより、ズーミングやフォーカシングの操作によっても良好な光学性能を維持することができ、かつ多板式のビデオカメラに搭載する場合においても充分なバックフォーカスを確保することができる。
【図面の簡単な説明】
【図1】本発明の実施例1に係るレンズ基本構成を示す概略図
【図2】本発明の実施例2に係るレンズ基本構成を示す概略図
【図3】本発明の実施例3に係るレンズ基本構成を示す概略図
【図4】本発明の実施例4に係るレンズ基本構成を示す概略図
【図5】実施例1に係るレンズの各収差図(広角端)
【図6】実施例1に係るレンズの各収差図(中間)
【図7】実施例1に係るレンズの各収差図(望遠端)
【図8】実施例2に係るレンズの各収差図(広角端)
【図9】実施例2に係るレンズの各収差図(中間)
【図10】実施例2に係るレンズの各収差図(望遠端)
【図11】実施例3に係るレンズの各収差図(広角端)
【図12】実施例3に係るレンズの各収差図(中間)
【図13】実施例3に係るレンズの各収差図(望遠端)
【図14】実施例4に係るレンズの各収差図(広角端)
【図15】実施例4に係るレンズの各収差図(中間)
【図16】実施例4に係るレンズの各収差図(望遠端)
【符号の説明】
L1 〜L20 レンズ
R1 〜R38 レンズ面等の曲率半径
D1 〜D37 レンズ面間隔(レンズ厚)
X 光軸
1 結像面
2 光学エレメント群
3 可変型絞り
Claims (3)
- 物体側より順に、正の屈折力を有する第1レンズ群、負の屈折力を有する第2レンズ群、負の屈折力を有する第3レンズ群、正の屈折力を有する第4レンズ群および正の屈折力を有する第5レンズ群を配列してなり、前記第2レンズ群を移動させることにより変倍を行い、その変倍による像面位置の変動と、物体距離の変化による像面位置の変動とをともに、前記第4レンズ群を移動させることによって補正し、以下の条件式(1)〜(5)を満足することを特徴とするズームレンズ。
(1)0.8<F4/(F*Z1/2)<4.0
(2)−3.0<F2/F<−1.2
(3)−5.8<F3/F<−2.5
(4)2.5<F5/F<6.0
(5)1.0<β4w<10.0
ただし、
F :広角端における全レンズ系の焦点距離
F4 :第4レンズ群の焦点距離
Z :ズーム比
F2 :第2レンズ群の焦点距離
F3 :第3レンズ群の焦点距離
F5 :第5レンズ群の焦点距離
β4w:第4レンズ群の広角端における無限遠物体位置のときの結像倍率 - 前記第3レンズ群が一枚の凹レンズにより構成されることを特徴とする請求項1記載のズームレンズ。
- 前記第3レンズ群と前記第4レンズ群との間に可変型絞りを配設したことを特徴とする請求項2記載のズームレンズ。
Priority Applications (2)
| Application Number | Priority Date | Filing Date | Title |
|---|---|---|---|
| JP24896396A JP3640366B2 (ja) | 1996-08-29 | 1996-08-29 | ズームレンズ |
| US08/921,332 US5856885A (en) | 1996-08-29 | 1997-08-29 | Zoom lens |
Applications Claiming Priority (1)
| Application Number | Priority Date | Filing Date | Title |
|---|---|---|---|
| JP24896396A JP3640366B2 (ja) | 1996-08-29 | 1996-08-29 | ズームレンズ |
Publications (2)
| Publication Number | Publication Date |
|---|---|
| JPH1068882A JPH1068882A (ja) | 1998-03-10 |
| JP3640366B2 true JP3640366B2 (ja) | 2005-04-20 |
Family
ID=17186009
Family Applications (1)
| Application Number | Title | Priority Date | Filing Date |
|---|---|---|---|
| JP24896396A Expired - Fee Related JP3640366B2 (ja) | 1996-08-29 | 1996-08-29 | ズームレンズ |
Country Status (2)
| Country | Link |
|---|---|
| US (1) | US5856885A (ja) |
| JP (1) | JP3640366B2 (ja) |
Families Citing this family (8)
| Publication number | Priority date | Publication date | Assignee | Title |
|---|---|---|---|---|
| JP4153640B2 (ja) * | 1999-03-09 | 2008-09-24 | オリンパス株式会社 | ズームレンズ及び撮像装置 |
| JP2000267003A (ja) * | 1999-03-12 | 2000-09-29 | Fuji Photo Optical Co Ltd | ズームレンズ |
| US20040064865A1 (en) * | 2002-10-04 | 2004-04-08 | Wells Lamont Industry Group, Inc. | Cut resistant fabric and glove |
| JP2009092923A (ja) | 2007-10-09 | 2009-04-30 | Fujinon Corp | リアフォーカス式ズームレンズおよび撮像装置 |
| JP2011123464A (ja) * | 2009-11-12 | 2011-06-23 | Olympus Imaging Corp | ズームレンズおよびそれを備えた撮像装置 |
| JP5610944B2 (ja) * | 2010-09-13 | 2014-10-22 | キヤノン株式会社 | ズームレンズ及びそれを有する撮像装置 |
| JP5928875B2 (ja) * | 2012-02-22 | 2016-06-01 | 株式会社リコー | ズームレンズ、情報装置および携帯情報端末装置 |
| JP6494245B2 (ja) * | 2014-10-29 | 2019-04-03 | キヤノン株式会社 | ズームレンズ及びそれを有する撮像装置 |
Family Cites Families (3)
| Publication number | Priority date | Publication date | Assignee | Title |
|---|---|---|---|---|
| US5136431A (en) * | 1988-12-06 | 1992-08-04 | Canon Kabushiki Kaisha | Zoom lens of the internal focus type |
| JPH03288813A (ja) * | 1990-04-06 | 1991-12-19 | Hitachi Ltd | ズームレンズ |
| JP3109342B2 (ja) * | 1993-09-17 | 2000-11-13 | キヤノン株式会社 | リヤーフォーカス式のズームレンズ |
-
1996
- 1996-08-29 JP JP24896396A patent/JP3640366B2/ja not_active Expired - Fee Related
-
1997
- 1997-08-29 US US08/921,332 patent/US5856885A/en not_active Expired - Fee Related
Also Published As
| Publication number | Publication date |
|---|---|
| US5856885A (en) | 1999-01-05 |
| JPH1068882A (ja) | 1998-03-10 |
Similar Documents
| Publication | Publication Date | Title |
|---|---|---|
| JP3584107B2 (ja) | ズームレンズ | |
| JP3363571B2 (ja) | リヤフォーカス式のズームレンズと撮像系 | |
| JP3927670B2 (ja) | ズームレンズ | |
| JP2628633B2 (ja) | コンパクトなズームレンズ | |
| JPH0943512A (ja) | 撮影レンズ | |
| JP2000284177A (ja) | 3群ズームレンズ | |
| JP4338827B2 (ja) | ズームレンズ | |
| JPH10268193A (ja) | ズームレンズ | |
| JPH10213745A (ja) | ズームレンズ | |
| JP4658275B2 (ja) | ズームレンズ | |
| JPH10253885A (ja) | 広角ズームレンズ系 | |
| JPH0921950A (ja) | ズームレンズ | |
| JP2001208969A (ja) | 広角ズームレンズ | |
| JPH0319526B2 (ja) | ||
| JPH06130290A (ja) | 小型固定焦点レンズ | |
| JP3640366B2 (ja) | ズームレンズ | |
| JP2004226563A (ja) | 可変焦点距離レンズ系 | |
| JP3695612B2 (ja) | ズームレンズ | |
| JP3029148B2 (ja) | リヤーフォーカス式ズームレンズ | |
| JPH08220439A (ja) | ズームレンズ | |
| JPH0727976A (ja) | 小型の2群ズームレンズ | |
| JP2513481B2 (ja) | 変倍レンズ | |
| JPH05119260A (ja) | 高変倍ズームレンズ | |
| JP2533779B2 (ja) | 変倍レンズ | |
| JPH08110470A (ja) | 広角ズームレンズ |
Legal Events
| Date | Code | Title | Description |
|---|---|---|---|
| A977 | Report on retrieval |
Free format text: JAPANESE INTERMEDIATE CODE: A971007 Effective date: 20040721 |
|
| A131 | Notification of reasons for refusal |
Free format text: JAPANESE INTERMEDIATE CODE: A131 Effective date: 20040930 |
|
| A521 | Written amendment |
Free format text: JAPANESE INTERMEDIATE CODE: A523 Effective date: 20041124 |
|
| TRDD | Decision of grant or rejection written | ||
| A01 | Written decision to grant a patent or to grant a registration (utility model) |
Free format text: JAPANESE INTERMEDIATE CODE: A01 Effective date: 20050113 |
|
| A61 | First payment of annual fees (during grant procedure) |
Free format text: JAPANESE INTERMEDIATE CODE: A61 Effective date: 20050117 |
|
| R150 | Certificate of patent or registration of utility model |
Free format text: JAPANESE INTERMEDIATE CODE: R150 |
|
| FPAY | Renewal fee payment (event date is renewal date of database) |
Free format text: PAYMENT UNTIL: 20090128 Year of fee payment: 4 |
|
| FPAY | Renewal fee payment (event date is renewal date of database) |
Free format text: PAYMENT UNTIL: 20090128 Year of fee payment: 4 |
|
| FPAY | Renewal fee payment (event date is renewal date of database) |
Free format text: PAYMENT UNTIL: 20100128 Year of fee payment: 5 |
|
| FPAY | Renewal fee payment (event date is renewal date of database) |
Free format text: PAYMENT UNTIL: 20110128 Year of fee payment: 6 |
|
| FPAY | Renewal fee payment (event date is renewal date of database) |
Free format text: PAYMENT UNTIL: 20110128 Year of fee payment: 6 |
|
| S111 | Request for change of ownership or part of ownership |
Free format text: JAPANESE INTERMEDIATE CODE: R313113 |
|
| FPAY | Renewal fee payment (event date is renewal date of database) |
Free format text: PAYMENT UNTIL: 20110128 Year of fee payment: 6 |
|
| R350 | Written notification of registration of transfer |
Free format text: JAPANESE INTERMEDIATE CODE: R350 |
|
| FPAY | Renewal fee payment (event date is renewal date of database) |
Free format text: PAYMENT UNTIL: 20110128 Year of fee payment: 6 |
|
| FPAY | Renewal fee payment (event date is renewal date of database) |
Free format text: PAYMENT UNTIL: 20120128 Year of fee payment: 7 |
|
| FPAY | Renewal fee payment (event date is renewal date of database) |
Free format text: PAYMENT UNTIL: 20120128 Year of fee payment: 7 |
|
| FPAY | Renewal fee payment (event date is renewal date of database) |
Free format text: PAYMENT UNTIL: 20130128 Year of fee payment: 8 |
|
| FPAY | Renewal fee payment (event date is renewal date of database) |
Free format text: PAYMENT UNTIL: 20130128 Year of fee payment: 8 |
|
| FPAY | Renewal fee payment (event date is renewal date of database) |
Free format text: PAYMENT UNTIL: 20140128 Year of fee payment: 9 |
|
| LAPS | Cancellation because of no payment of annual fees |
