JP3607077B2 - 印刷装置の排紙台 - Google Patents
印刷装置の排紙台 Download PDFInfo
- Publication number
- JP3607077B2 JP3607077B2 JP14987998A JP14987998A JP3607077B2 JP 3607077 B2 JP3607077 B2 JP 3607077B2 JP 14987998 A JP14987998 A JP 14987998A JP 14987998 A JP14987998 A JP 14987998A JP 3607077 B2 JP3607077 B2 JP 3607077B2
- Authority
- JP
- Japan
- Prior art keywords
- collision
- printing paper
- paper
- printing
- collision material
- Prior art date
- Legal status (The legal status is an assumption and is not a legal conclusion. Google has not performed a legal analysis and makes no representation as to the accuracy of the status listed.)
- Expired - Fee Related
Links
- 239000000463 material Substances 0.000 claims description 66
- 239000010419 fine particle Substances 0.000 claims description 15
- 239000011248 coating agent Substances 0.000 claims description 14
- 238000000576 coating method Methods 0.000 claims description 14
- 239000000126 substance Substances 0.000 claims description 11
- VTYYLEPIZMXCLO-UHFFFAOYSA-L Calcium carbonate Chemical compound [Ca+2].[O-]C([O-])=O VTYYLEPIZMXCLO-UHFFFAOYSA-L 0.000 claims description 8
- 239000002245 particle Substances 0.000 claims description 5
- XAGFODPZIPBFFR-UHFFFAOYSA-N aluminium Chemical compound [Al] XAGFODPZIPBFFR-UHFFFAOYSA-N 0.000 claims description 4
- 229910000019 calcium carbonate Inorganic materials 0.000 claims description 4
- 239000000843 powder Substances 0.000 claims description 4
- 239000000758 substrate Substances 0.000 description 10
- 238000012360 testing method Methods 0.000 description 4
- 238000007599 discharging Methods 0.000 description 3
- 229920001971 elastomer Polymers 0.000 description 3
- 239000004033 plastic Substances 0.000 description 3
- 229920003023 plastic Polymers 0.000 description 3
- 229920000642 polymer Polymers 0.000 description 3
- 230000000694 effects Effects 0.000 description 2
- 239000003921 oil Substances 0.000 description 2
- 239000007779 soft material Substances 0.000 description 2
- 238000010998 test method Methods 0.000 description 2
- 239000004636 vulcanized rubber Substances 0.000 description 2
- 239000004698 Polyethylene Substances 0.000 description 1
- 229920000122 acrylonitrile butadiene styrene Polymers 0.000 description 1
- 239000000853 adhesive Substances 0.000 description 1
- 230000001070 adhesive effect Effects 0.000 description 1
- 239000010426 asphalt Substances 0.000 description 1
- 239000013013 elastic material Substances 0.000 description 1
- 239000000806 elastomer Substances 0.000 description 1
- 238000005187 foaming Methods 0.000 description 1
- 230000003116 impacting effect Effects 0.000 description 1
- 238000009434 installation Methods 0.000 description 1
- 238000005259 measurement Methods 0.000 description 1
- 239000002480 mineral oil Substances 0.000 description 1
- 235000010446 mineral oil Nutrition 0.000 description 1
- -1 polyethylene Polymers 0.000 description 1
- 229920000573 polyethylene Polymers 0.000 description 1
- 229920003002 synthetic resin Polymers 0.000 description 1
- 239000000057 synthetic resin Substances 0.000 description 1
- 229920002725 thermoplastic elastomer Polymers 0.000 description 1
Images
Landscapes
- Pile Receivers (AREA)
Description
【発明の属する技術分野】
本発明は、印刷装置から送り出される印刷済の印刷用紙の進行を、突き当て部材を以てせき止め、基板上に落下させて積層させる排紙台にかかり、特に、印刷用紙が突き当て部材に衝突する際に生じる衝突騒音を無くすとともに、突き当て部材からの跳ね返りを抑止して適宜に紙揃えをする印刷装置の排紙台に関するものである。
【0002】
【従来の技術】
図9は、従来における印刷装置の排紙台を示す側面図である。排紙台51は、少なくとも、印刷用紙53を積載する基板52と、この基板52より立設された突き当て板54とから構成されている。そして、印刷装置から飛ばして送り出される印刷済の印刷用紙53の進行を、突き当て板54でせき止め、基板52上に落下させるようにしている。
【0003】
従来、このような排紙台51において、突き当て板54には、送り出された印刷用紙53が当接する部位に、硬質プラスチックあるいはゴム板などの衝突部材56が配されている。そして、この衝突部材56によって、衝突した印刷用紙53の跳ね返りを抑え、基板52上できれいに揃うようにしている。
【0004】
【発明が解決しようとする課題】
しかしながら、上述した従来の印刷用紙の排紙台1では、突き当て板54に配された衝突部材56が硬質プラスチックあるいはゴム板などで構成されており、且つ、飛ばされて排紙される印刷用紙53に勢いがあるため、印刷用紙53が突き当て板54(衝突部材56)に衝突した際には、大きな衝突音が発生することとなる。なお、近年の印刷装置は、使い勝手が向上し、専用の印刷室からオフィス内に設置される傾向にあるために、上記衝突音は、作業環境を悪化させるものとして問題となっている。
【0005】
このため、衝突部材56として、スポンジなどの発泡性弾性材のように柔らかい材質を採用し、衝突音を無くす試みがあった。ところが、柔らかい材質の衝突部材56では、衝突音は低減されるが、図9に一点鎖線で示すように、衝突した印刷用紙53’が大きく跳ね返ってしまい、基板52上での紙揃えが悪くなるという問題が生じる。
【0006】
そこで本発明は、上記課題を解消するために、印刷用紙の排紙時の衝突音を無くし、且つ、良好に紙揃えを行うことができる印刷装置の排紙台を提供することを目的としている。
【0007】
【課題を解決するための手段】
上記目的を達成するため本発明による印刷装置の排紙台は、印刷済の印刷用紙を積載する基体と、該基体に立設されて送り出された前記印刷用紙が衝突する突き当て体とを有する印刷装置の排紙台において、
前記突き当て体の前記印刷用紙が衝突する部位には、ゲル状物質からなる衝突面に微粒子コーティングが施された衝突材が設けられていることを特徴とする。
【0008】
前記衝突材におけるゲル状物質は、アスカーC硬度が略3〜30°の範囲内とされていることを特徴とする。
【0009】
前記衝突材における微粒子コーティングは、粒径略3〜100μmとされた炭酸カルシウム粉末またはアルミ粉末からなることを特徴とする。
【0010】
前記衝突材は、上下方向に連続して突出する突条をなし、左右幅方向に複数併設され、該突条間には上下方向に連続する溝条が形成され、この衝突材の下側であって送り出された前記印刷用紙が衝突しない部位には、前記衝突材の前記衝突面と面一となる滑面部が設けられたことを特徴とする。
【0011】
前記衝突材、または前記滑走部を伴う前記衝突材は、前記突き当て体に対して着脱自在なユニットとして構成されたことを特徴とする。
【0012】
本発明によれば、送り出された印刷用紙は、ゲル状物質からなる衝突材に衝突するため、衝突音や跳ね返りが生じることなく受け止められる。また、衝突材に衝突した印刷用紙は、衝突材の衝突面に施された微粒子コーティングにより、衝突面に接触したままの状態で滑るように落下し、基体上で適宜揃えられる。
【0013】
【発明の実施の形態】
以下、本発明の実施の形態を図面を参照して具体的に説明する。
図1は本発明による印刷装置の排紙台を示す斜視図、図2は同排紙台の要部を示す斜視図である。
【0014】
この実施の形態における印刷装置の排紙台1は、印刷済の印刷用紙Wを積載する載置台としての板状の基体2と、この基体2から上方に立設された突き当て体4とを有している。突き当て体4は、板状に形成され、印刷装置本体Pから送り出された印刷用紙Wの先端を衝突させ、その進行を阻止するように、基体2の後方、つまり、印刷用紙Wの排紙方向の略端部に配されている。また、基体2上には、排出口から送り出される印刷用紙Wの両側縁部を規制して、印刷用紙Wの幅方向の位置を揃える公知の側板5が設けられている。
【0015】
突き当て体4において、印刷用紙Wの先端が衝突するべき前方の面には、衝突材6が配設されている。この衝突材6は、図2に示すように、突き当て体4の前面に沿って設けられた取付板7に配されている。衝突材6は、取付板7の前面において、上下方向に連続して突出する突条をなし、左右幅方向に複数(この実施の形態では二箇所)併設され、各々の間で上下方向に連通する溝条8をなしている。また、衝突材6の前面は、印刷装置本体Pから送り出された印刷用紙Wの先端が突出する略平坦な衝突面6aをなしている。
【0016】
また、上記のように形成された衝突材6は、ゲル状物質により成形されている。このゲル状物質は、本実施の形態では、特殊ポリマーの三次元網目構造がオイル成分を保持する非水系高分子ゲルを採用している。非水系高分子ゲルとしては、例えば熱可塑性エラストマーにアスファルト系オイルを複合させた材料(商品名:MNCS:ムンスク(株)ブリジストン製)、可塑性エラストマーとしてポリエチレンを主成分とし、鉱物油を複合させた材料(商品名:コスモゲル(株)コスモ計器製)などがある。
【0017】
さらに、本実施の形態にて採用するゲル状物質は、JIS K6301(1975年制定)に規定されたスプリング式硬さ試験機C形(アスカーC)による測定硬度が略3〜30°の範囲内とされている。
【0018】
ここで、JIS K 6301(1975年制定)に規定された硬さ試験について説明する。前記規格は加硫ゴム物理試験方法に関する。同規格は、加硫ゴム物理試験方法の一つとして硬さ試験を規定している。
【0019】
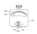
この硬さ試験に使用される器具の一つであるスプリング硬さ試験機のC形を、図3〜図5に示す。図3および図4に示すように、この試験機は筐体100を有している。筐体100の下面は、被測定物に押しつけられる加圧面101である。加圧面101の略中心部において、筐体100には針孔102が貫通している。筐体100の内部には押針103が設けられている。押針103の先端部は、前記加圧面101の針孔102を挿通して筐体100の外に突出している。押針103の後端部は、筐体100の内部に設けられたばね104に固定されている。
【0020】
図5に示すように、押針103は断面円形の棒体であり、先端部は角度35±0.25°のテーパ面を有する円錐台状であり、その先端の直径は0.79±0.02mmである。筐体100の内部には押針103の軸方向の移動に連動して揺動する指針105が設けられている。筐体100には前記指針105が指示する硬度の目盛りが記載された目盛盤106が設けられている。
【0021】
測定時には、前記C形のスプリング硬さ試験機を垂直に保ち、押針103が被測定物の被測定面に垂直になるように加圧面101を5000gf{49.03N}の荷重で圧着させる。加圧面101の針孔102から筐体100の外に突出した押針103は、被測定面に突き当たって筐体100内に押し戻される。押針103の移動量に対応して指針105が揺動し、硬度を示す目盛盤106上の数値を指し示す。
【0022】
前記ばね104により前記押針103の先端に加わる荷重(gf(N))と、前記目盛盤106にて指示される硬度の目盛(度)と、前記加圧面101と前記押針103との距離(mm)との関係を示すグラフを図6に示す。
【0023】
図2に示すように、衝突材6の衝突面6aには、微粒子コーティング9が施されている。この、微粒子コーティング9は、粒径略3〜100μmとされた炭酸カルシウム粉末またはアルミ粉末からなり、適宜接着剤などにより衝突面6aに施される。なお、微粒子コーティング9の粒径は、印刷装置から送り出される印刷用紙Wの厚さ(凡そ80μm前後)よりも小さい径であることが好ましい。
【0024】
また、上述のような衝突材6が設けられた取付板7は、突き当て体4に対して着脱自在に取り付けられるようにユニット化されている。この着脱自在な構成は、本実施の形態では、取付板7の後面側に、伸縮自在あるいは伸縮しない保持ベルト10が取付板7の後面の一部とともに環状となるように設けられている。そして、この保持ベルト10を以て突き当て体4を通すようにして、突き当て体4に取付板7(衝突材6)を装着する。なお、突き当て体4に対する着脱自在な構成は、図示した構成に限らず、面ファスナー、ホック、フック、ネジ止めなどの係着手段を用いてもよい。
【0025】
ところで、印刷装置本体Pから上記排紙台1に送り出される印刷用紙Wは、搬送部11を介して送り出される。
搬送部11は、図1に示すように、搬送路12と、搬送ベルト13と、ウィング14とを備えている。搬送路12は、略水平とされた平坦面をなしている。この搬送路12には、印刷装置本体P内にある印刷部(主に版胴)15から送られた印刷済の印刷用紙Wが載る。搬送ベルト13は、搬送路12の前後方向に沿って配された無端状のベルト部材であって、搬送路12上を図1中矢印A方向に駆動し、搬送路12上の印刷用紙Wを搬送する。ウィング14は、搬送路12の両側部において、互いに向き合う斜面をなし、搬送路12上を搬送される印刷用紙Wの両側部を上方に反らせて、印刷用紙WをU字状に癖付けさせる。
【0026】
このように、搬送部11を介して送り出される印刷用紙Wは、排紙台1に向かって安定した高さで飛ばされることとなる。ゆえに、続いて飛ばされる印刷用紙Wは、前に排紙台1に送られた印刷用紙Wの印刷面(表面)に対して、次に排紙台1に送られた印刷用紙Wの裏面が擦るようなことがなく、突き当て体4に衝突する所まで飛ばされる。
【0027】
以下、上記のように構成された排紙台1への印刷用紙Wの排紙動作を説明する。図7は排紙台における排紙動作を示す側面図である。
ここで、排紙台1をなす基体2は、その後端が低くなるように傾けられており、基体2に配設された突き当て体4(衝突材6の衝突面6a)は上方に傾斜している。
【0028】
図7に示すように、上述の如く、搬送部11においてU字状に癖付けられつつ勢いよく送り出された印刷済の印刷用紙W(W1)は、基体2上を飛翔して先端が突き当て体4に配された衝突材6の衝突面6aに衝突する。
【0029】
衝突材6の衝突面6aに衝突した印刷用紙W(W2)は、その衝突した衝撃が、衝突材6をなすゲル状物質に吸収されて跳ね返ることなく、衝突面6aに接触したまま落下する。この際、衝突材6は、その材質(ゲル状物質)によって、印刷用紙W(W2)の衝突音を打ち消すこととなる。
【0030】
また、衝突面6aに接触する印刷用紙W(W2)の先端は、衝突面6aに施された微粒子コーティング9によって、ゲル状物質との間の摩擦抵抗が低減され、衝突面6a上を滑るようにして落下する。さらに、落下する印刷用紙W(W2)の先端下面には、その落下を妨げる空気が存在するが、各衝突材6の間の溝条8が前記空気を逃がす。
【0031】
また、衝突面6aに接触しつつ落下する印刷用紙W(W3)は、基体2上に積載される。このように、印刷用紙Wが衝突面6aに沿って落下することにより、基体2上において、前に排紙された印刷用紙W(W0)と揃うようにして均一に積層される。
【0032】
したがって、このように構成された印刷装置の排紙台では、飛翔して送り出される印刷用紙Wの進行を妨げる如く突き当てする部位にゲル状物質からなる衝突材6を配したので、衝突した印刷用紙Wの跳ね返り、および衝突音を無くす。
【0033】
また、印刷用紙Wが衝突する衝突材6の衝突面6aに微粒子コーティング9を施したので、跳ね返りがなく衝突面6aに接触する印刷用紙Wとの間の摩擦抵抗を低減し、衝突面6aに接触したままの状態で印刷用紙Wを基体2上に落下させ、基体2上に後続する印刷用紙Wを適宜に揃える。
【0034】
また、上記衝突材6は、突き当て体4に対して着脱自在とされた取付板7を以てユニット化されているので、衝突材6が汚れたり、劣化した際の取り替えが容易に行える。さらに、衝突材6を備えていない排紙台への衝突材6の設置が行える汎用性を有する。
【0035】
なお、上述した実施の形態において、衝突材6は取付板7(突き当て体4)の上下方向に連続するように設けられているが、この限りではない。具体的には、飛翔して送り出される印刷用紙Wは、搬送部11によってU字状に癖付けられて安定して飛ばされるので、衝突材6に対して突き当たる部位がほとんど可変しない(搬送部11における搬送速度が可変しない場合)。このため、図8に示すように、取付板7に対し、印刷用紙Wが衝突する部位に衝突材6(微粒子コーティング9を備えている)を配し、その下方に、衝突材6の衝突面6aと面一に連続する滑面部16を設ける。この滑面部16は、印刷用紙Wとの摩擦抵抗が少ないABS樹脂などの合成樹脂材からなる。
【0036】
このように衝突材6の下方に滑面部16を設ければ、ゲル状物質である衝突材6を無駄にすることがなく、且つ、上述の作用を実施することが可能である。
【0037】
なお、上述した実施の形態では、衝突材6の前面は、印刷装置本体Pから送り出された印刷用紙Wの先端が突出する略平坦な衝突面6aをなしているが、この限りでなく、例えば、衝突面6aを円弧状に形成したり、上下方向に沿った溝を有した櫛歯状に形成してもよい。
【0038】
また、上述した実施の形態では、衝突材6は、突き当て体4に着脱自在とされた取付板7に配されているが、突き当て体4に直接設けてもよい。
【0039】
【発明の効果】
以上説明したように本発明による印刷装置の排紙台は、印刷装置側から送り出された印刷済の印刷用紙を、ゲル状物質からなる衝突面に微粒子コーティングが施された衝突材を以て受け止めている。これにより、衝突した印刷用紙の跳ね返り、および衝突音を無くすことができる。さらに、衝突面にある微粒子コーティングにより印刷用紙との間の摩擦抵抗を低減するので、跳ね返ることなく衝突面に接触する印刷用紙を円滑に基体上に落下させ、続いて送り出される印刷用紙を適宜揃えることができる。
【0040】
また、前記衝突材におけるゲル状物質を、アスカーC硬度が略3〜30°の範囲内としたことにより、衝突した印刷用紙の跳ね返り、および衝突音を適宜無くすことができる。
【0041】
また、前記衝突材における微粒子コーティングを、粒径略3〜100μmとされた炭酸カルシウム粉末またはアルミ粉末を以て施したことにより、印刷用紙との間の摩擦抵抗を適宜低減することができる。
【0042】
また、衝突材の下側であって送り出された印刷用紙が衝突しない部位に、衝突材の衝突面と面一となる滑面部を設けたことにより、ゲル状物質に微粒子コーティングが施された衝突材を適量として無駄にすることがなく、且つ、上述の効果を適宜なすことができる。さらに、落下する印刷用紙に先端下面には、その落下を妨げる空気が存在するが、衝突材間の溝条が空気を逃がすことになる。
【0043】
また、衝突材、または滑走部を伴う衝突材を、突き当て体に対して着脱自在なユニットとして構成したことにより、衝突材の取り替えが容易であり、さらには衝突材を備えていない排紙台への衝突材の設置が行える汎用性を備えることができる。
【図面の簡単な説明】
【図1】本発明による印刷装置の排紙台を示す斜視図。
【図2】同排紙台の要部を示す斜視図。
【図3】JIS K 6301(1975年制定)に規定されたスプリング式硬さ試験機C形の正面図。
【図4】JIS K 6301(1975年制定)に規定されたスプリング式硬さ試験機C形の内部機構を示す図。
【図5】JIS K 6301(1975年制定)に規定されたスプリング式硬さ試験機C形の押針の先端部の部分拡大図。
【図6】JIS K 6301(1975年制定)に規定されたスプリング式硬さ試験機C形において、ばねにより押針の先端に加わる荷重〔gf{N}〕と、目盛盤にて指示される硬度の目盛(度)と、加圧面と押針との距離(mm)との関係を示す図。
【図7】本発明の排紙台における排紙動作を示す側面図。
【図8】本発明の排紙台における要部の他の構成を示す斜視図。
【図9】従来における印刷装置の排紙台を示す側面図。
【符号の説明】
1…排紙台、2…基体、4…突き当て体、6…衝突材、6a…衝突面、9…微粒子コーティング、16…滑面部、W…印刷用紙。
Claims (2)
- 印刷済の印刷用紙を積載する基体と、該基体に立設されて送り出された前記印刷用紙が衝突する突き当て体とを有する印刷装置の排紙台において、
前記突き当て体の前記印刷用紙が衝突する部位には、アスカーC硬度が略3〜30°の範囲内とされているゲル状物質からなる衝突面に粒径略3〜100μmとされた炭酸カルシウム粉末またはアルミ粉末からなる微粒子コーティングが施された衝突材が設けられており、
前記衝突材は、上下方向に連続して突出する突条をなし、左右幅方向に複数併設され、該突条間には上下方向に連続する溝条が形成され、
前記衝突材の下側であって送り出された前記印刷用紙が衝突しない部位には、前記衝突材の前記衝突面と面一となる滑面部が設けられていることを特徴とする印刷装置の排紙台。 - 前記衝突材、または前記滑走部を伴う前記衝突材は、前記突き当て体に対して着脱自在なユニットとして構成された請求項1に記載の印刷装置の排紙台。
Priority Applications (1)
| Application Number | Priority Date | Filing Date | Title |
|---|---|---|---|
| JP14987998A JP3607077B2 (ja) | 1998-05-29 | 1998-05-29 | 印刷装置の排紙台 |
Applications Claiming Priority (1)
| Application Number | Priority Date | Filing Date | Title |
|---|---|---|---|
| JP14987998A JP3607077B2 (ja) | 1998-05-29 | 1998-05-29 | 印刷装置の排紙台 |
Publications (2)
| Publication Number | Publication Date |
|---|---|
| JPH11334978A JPH11334978A (ja) | 1999-12-07 |
| JP3607077B2 true JP3607077B2 (ja) | 2005-01-05 |
Family
ID=15484641
Family Applications (1)
| Application Number | Title | Priority Date | Filing Date |
|---|---|---|---|
| JP14987998A Expired - Fee Related JP3607077B2 (ja) | 1998-05-29 | 1998-05-29 | 印刷装置の排紙台 |
Country Status (1)
| Country | Link |
|---|---|
| JP (1) | JP3607077B2 (ja) |
Families Citing this family (6)
| Publication number | Priority date | Publication date | Assignee | Title |
|---|---|---|---|---|
| JP3701831B2 (ja) * | 2000-01-31 | 2005-10-05 | 理想科学工業株式会社 | 複写装置又は印刷装置の排紙台 |
| US6494450B2 (en) * | 2000-01-31 | 2002-12-17 | Riso Kagaku Corporation | Paper discharge base of image forming apparatus |
| JP5156514B2 (ja) * | 2008-07-15 | 2013-03-06 | 京セラドキュメントソリューションズ株式会社 | シート排出トレイ |
| JP5953527B2 (ja) * | 2010-07-02 | 2016-07-20 | デュプロ精工株式会社 | 製紙装置 |
| DK3045397T3 (en) * | 2015-01-16 | 2017-03-20 | Becton Dickinson Rowa Germany Gmbh | Packaging device for pharmaceuticals |
| JP2019137533A (ja) * | 2018-02-13 | 2019-08-22 | デュプロ精工株式会社 | 紙受け装置 |
-
1998
- 1998-05-29 JP JP14987998A patent/JP3607077B2/ja not_active Expired - Fee Related
Also Published As
| Publication number | Publication date |
|---|---|
| JPH11334978A (ja) | 1999-12-07 |
Similar Documents
| Publication | Publication Date | Title |
|---|---|---|
| US6354588B1 (en) | Discharged paper receiver unit | |
| JP3607077B2 (ja) | 印刷装置の排紙台 | |
| CN1125726C (zh) | 成像装置的排纸基座 | |
| JPS60122898A (ja) | 電子基盤を備えたダートゲーム機 | |
| JPS62211267A (ja) | 排出シ−ト受け用トレイ | |
| JP3691145B2 (ja) | 排紙エンドフェンスの構造 | |
| JP2002046924A (ja) | 平版印刷版の集積装置及び平版印刷版束の製造方法 | |
| JPH08259082A (ja) | 印刷装置の排紙台 | |
| JP3161114U (ja) | 折り機で枚葉紙の位置決めを行う装置 | |
| EP0788994B1 (en) | Paper sheet receptacle suitable for high speed copying or printing machine | |
| JP3469871B2 (ja) | 球形粉選別装置 | |
| JP4736951B2 (ja) | 軟質部材の剥離シート剥離方法 | |
| CN101381039A (zh) | 片材堆积装置及方法 | |
| JP4031565B2 (ja) | 排紙エンドフェンスの構造 | |
| JP2002167107A (ja) | 排紙装置 | |
| JP3927148B2 (ja) | 紙折り装置 | |
| JP6201453B2 (ja) | 排紙装置及び画像形成装置 | |
| JP2001206619A (ja) | 複写装置又は印刷装置の排紙台 | |
| JP2010528283A (ja) | 粒径測定装置の乾式粒子供給器 | |
| CN222105827U (zh) | 成像装置 | |
| JP2001206618A (ja) | 複写装置又は印刷装置の排紙台 | |
| KR100506401B1 (ko) | 종이받이장치 | |
| GB2302083A (en) | A sheet feeder for a printer including a hopper which stays parallel to the feed roller | |
| JP2004217424A (ja) | 摩擦制御シート及び媒体搬送ローラ | |
| JPH1059608A (ja) | 排紙装置 |
Legal Events
| Date | Code | Title | Description |
|---|---|---|---|
| A977 | Report on retrieval |
Free format text: JAPANESE INTERMEDIATE CODE: A971007 Effective date: 20040531 |
|
| A131 | Notification of reasons for refusal |
Free format text: JAPANESE INTERMEDIATE CODE: A131 Effective date: 20040608 |
|
| A521 | Written amendment |
Free format text: JAPANESE INTERMEDIATE CODE: A523 Effective date: 20040803 |
|
| TRDD | Decision of grant or rejection written | ||
| A01 | Written decision to grant a patent or to grant a registration (utility model) |
Free format text: JAPANESE INTERMEDIATE CODE: A01 Effective date: 20040914 |
|
| A61 | First payment of annual fees (during grant procedure) |
Free format text: JAPANESE INTERMEDIATE CODE: A61 Effective date: 20041006 |
|
| R150 | Certificate of patent or registration of utility model |
Free format text: JAPANESE INTERMEDIATE CODE: R150 |
|
| LAPS | Cancellation because of no payment of annual fees |