JP2020184832A - コイル、ステータ部材、ステータおよびモータ - Google Patents

コイル、ステータ部材、ステータおよびモータ Download PDF

Info

Publication number
JP2020184832A
JP2020184832A JP2019088141A JP2019088141A JP2020184832A JP 2020184832 A JP2020184832 A JP 2020184832A JP 2019088141 A JP2019088141 A JP 2019088141A JP 2019088141 A JP2019088141 A JP 2019088141A JP 2020184832 A JP2020184832 A JP 2020184832A
Authority
JP
Japan
Prior art keywords
terminal
coil
stator
spiral structure
stator member
Prior art date
Legal status (The legal status is an assumption and is not a legal conclusion. Google has not performed a legal analysis and makes no representation as to the accuracy of the status listed.)
Granted
Application number
JP2019088141A
Other languages
English (en)
Other versions
JP7417236B2 (ja
Inventor
武延 本郷
Takeo Hongo
武延 本郷
Current Assignee (The listed assignees may be inaccurate. Google has not performed a legal analysis and makes no representation or warranty as to the accuracy of the list.)
Aster Co Ltd
Original Assignee
Aster Co Ltd
Priority date (The priority date is an assumption and is not a legal conclusion. Google has not performed a legal analysis and makes no representation as to the accuracy of the date listed.)
Filing date
Publication date
Application filed by Aster Co Ltd filed Critical Aster Co Ltd
Priority to JP2019088141A priority Critical patent/JP7417236B2/ja
Priority to CN202080033860.9A priority patent/CN113841319A/zh
Priority to US17/609,317 priority patent/US12068653B2/en
Priority to PCT/JP2020/018415 priority patent/WO2020226134A1/ja
Priority to EP20802243.4A priority patent/EP3968499A4/en
Publication of JP2020184832A publication Critical patent/JP2020184832A/ja
Application granted granted Critical
Publication of JP7417236B2 publication Critical patent/JP7417236B2/ja
Active legal-status Critical Current
Anticipated expiration legal-status Critical

Links

Images

Classifications

    • HELECTRICITY
    • H02GENERATION; CONVERSION OR DISTRIBUTION OF ELECTRIC POWER
    • H02KDYNAMO-ELECTRIC MACHINES
    • H02K3/00Details of windings
    • H02K3/04Windings characterised by the conductor shape, form or construction, e.g. with bar conductors
    • H02K3/18Windings for salient poles
    • HELECTRICITY
    • H02GENERATION; CONVERSION OR DISTRIBUTION OF ELECTRIC POWER
    • H02KDYNAMO-ELECTRIC MACHINES
    • H02K3/00Details of windings
    • H02K3/04Windings characterised by the conductor shape, form or construction, e.g. with bar conductors
    • H02K3/28Layout of windings or of connections between windings
    • HELECTRICITY
    • H02GENERATION; CONVERSION OR DISTRIBUTION OF ELECTRIC POWER
    • H02KDYNAMO-ELECTRIC MACHINES
    • H02K1/00Details of the magnetic circuit
    • H02K1/06Details of the magnetic circuit characterised by the shape, form or construction
    • H02K1/12Stationary parts of the magnetic circuit
    • H02K1/16Stator cores with slots for windings
    • HELECTRICITY
    • H02GENERATION; CONVERSION OR DISTRIBUTION OF ELECTRIC POWER
    • H02KDYNAMO-ELECTRIC MACHINES
    • H02K3/00Details of windings
    • H02K3/04Windings characterised by the conductor shape, form or construction, e.g. with bar conductors
    • H02K3/12Windings characterised by the conductor shape, form or construction, e.g. with bar conductors arranged in slots
    • HELECTRICITY
    • H02GENERATION; CONVERSION OR DISTRIBUTION OF ELECTRIC POWER
    • H02KDYNAMO-ELECTRIC MACHINES
    • H02K3/00Details of windings
    • H02K3/46Fastening of windings on the stator or rotor structure
    • H02K3/48Fastening of windings on the stator or rotor structure in slots

Landscapes

  • Engineering & Computer Science (AREA)
  • Power Engineering (AREA)
  • Windings For Motors And Generators (AREA)
  • Manufacture Of Motors, Generators (AREA)

Abstract

【課題】 バスバーとコイルの端子とを接合(接続)する場合において、位置合わせ等の接合に係る制御を簡素化し、装置(溶接装置、またはステータの製造装置)の小型化を実現するとともに、接合作業の効率化を向上することができる、コイル、ステータ部材、ステータおよびモータを提供する。【解決手段】 コイルは、導体を巻回して構成され、その第一の端子と第二の端子とはコイルの一の面側に導出されている。【選択図】 図2

Description

本発明は、コイル、ステータ部材、ステータおよびモータに関する。
従来、プレス打ち抜きで製造された鋼板を積層して構成されたエッジワイズコイルが知られている。当該エッジワイズコイルは、一例を挙げるとモータのステータ(固定子)などに採用されている。
この場合のステータは、環状のステータコアの内周面に設けられた複数のスロット(ティース)に、成形済みのコイル(エッジワイズコイル)を順次装着し、環状に配置されたコイルのそれぞれの一端を、バスバーに接続して形成される。
より詳細には、環状に配置されたコイルはそれぞれ、一対の端子(長端末)を有している。一対の端子は、コイルの巻き始めと巻き終わりとなる一対の端部を螺旋進行方向に沿って螺旋構造部分(周回部分)より導出させた部分である。一対の端子は、コイルの周回部分の一辺側(例えば、一方の短辺側)に揃え、且つ、一方の端子は、環状に配置されたコイルの内周面となる側に、他方の端子は環状に配置されたコイルの外周面となる側に導出される。そして、両端子は、ステータコアの円周方向に延在する棒状(弧状)または環状のバスバーに溶接等により接続する(例えば、特許文献1参照)。
特開2009−89456公報
しかしながら、従来のコイルでは、ステータコアに取り付けてバスバーと端子とを接合(接続)する場合、環状に配置されたコイル(ステータコア)の内周面となる側の端子と外周面となる側の端子の間で接合手段(例えば溶接装置、接合装置など)を移動させなければならず、位置合わせ等の接合に係る制御が煩雑となり、接合手段(溶接装置等)の可動域が大きくなることから装置(接合手段、、またはステータの製造装置)の小型化も阻む上、接合作業の効率化にも限界があった。
本発明は、斯かる実情に鑑み,バスバーとコイルの端子とを接合(接続)する場合において、位置合わせ等の接合に係る制御を簡素化し、装置(接合手段)またはステータの製造装置)の小型化を実現するとともに、接合作業の効率化を向上することができる、コイル、ステータ部材、ステータおよびモータを提供しようとするものである。
本発明は、螺旋構造の導体からなる本体部と、該本体部から導出する第一の端子と、第二の端子とを有するコイルであって、前記第一の端子と前記第二の端子とを前記本体部の一の面側に導出させたことを特徴とするコイルである。
また、本発明は、上記のコイルを複数並べたステータ部材である。
また、本発明は、上記のコイルと、前記コイルを取り付けるステータコアと、を有するステータである。
また、本発明は、上記のステータ部材を備えたモータである。
また、本発明は、上記のステータを備えたモータである。
本発明によれば、バスバーとコイルの端子とを接合(接続)する場合において、位置合わせ等の接合に係る制御を簡素化し、装置(接合手段、またはステータの製造装置)の小型化を実現するとともに、接合作業の効率化を向上することができる、コイル、ステータ部材、ステータおよびモータを提供することができる。
本実施形態のコイルを示す図であり、(A)正面図、(B)上面図、(C)側面図、(D)側面図である。 本実施形態のステータ部材を示す上面図である。 本実施形態のステータを示す図であり、(A)コイルにカセットを取り付ける状態を示す側面図であり、(B)上面図である。 本実施形態のステータ部材の他の形態を示す上面図である。 本実施形態のモータの分解側面図である。
以下、本発明の実施形態について図面を参照して説明する。
<コイル>
図1は、本実施形態のコイル10を示す図であり、同図(A)が螺旋構造の軸方向から見た正面図であり、同図(B)が端子の導出側(同図(A)の上方)から見た上面図であり、同図(C)が同図(A)を左方向から見た側面図であり、同図(D)が同図(A)を右方向から見た側面図である。
図1に示すように、本実実施形態のコイル10は、本体部11と、第一の端子12と、第二の端子13とを有する。本体部11は、螺旋構造の導体により構成される。また導体は、例えば螺旋構造の進行方向に直交する断面が略矩形状の平導体(平角導体)である。
本体部11は、長尺の帯状の平導体を例えば巻回して螺旋構造体を形成したものであってもよいし、コイル10(完成形の螺旋構造体)より短い複数の帯状の平導体(単位平導体)を、帯長手方向に連続するように接続(圧接または溶接など)して螺旋構造体を形成したものであってもよい。具体的に、圧接により接続する場合には、例えば、接合螺旋構造体の1周分領域の長さ以下(または1周分領域を超える長さ)の複数の単位平導体の端面同士をそれぞれ直線部分において帯長手方向に沿って押圧して周分領域を形成し、これを連続させて螺旋構造体を形成することができる。
ここで、本明細書においては、螺旋構造の軸に沿う第一の方向をコイル10(螺旋構造体)の軸方向Cといい、軸方向Cに直交し螺旋構造の進行方向の一方向に沿う第二の方向をコイル10(螺旋構造体)の幅方向Wといい、第一の方向と第二の方向に直交し、螺旋構造の進行方向の他の方向に沿う第三の方向をコイル10(螺旋構造体)の長さ方向Lという。
本体部11の形状は、図1に示す例では、螺旋構造体(巻回)の軸方向Cから見た正面図(同図(A))において短辺SSと長辺LSを有する略矩形状であり、幅方向Wは短辺SSの延在方向であり、長さ方向Lは長辺LS方向である。
また、螺旋構造体は、同図(A)に破線矢印で示す略矩形状の1周分の領域(以下、「1周分領域CR」という。)を複数、積層(重畳)した積層体ということもでき、軸方向Cは1周分領域CRの積層方向、または厚み方向である。
このように、この例のコイル10は連続する帯状の平導体によって螺旋構造体を形成した本体部11を有するいわゆるエッジワイズコイルである。しかしこれに限らず、例えば螺旋構造の進行方向に直交する断面が略円形状の丸導体(丸線導体)を巻回し、または帯状の複数の丸導体を接続(圧接または溶接等)して螺旋構造体を形成したものであってもよい。つまり、本体部11の形状は、同図(A)に示す正面図において楕円形状(長円形状)であってもよい。
第一の端子12と第二の端子13は、1つの本体部11に対して一対で設けられる。第一の端子12と第二の端子13は、コイル10の巻き始めと巻き終わりとなる一対の端部を螺旋進行方向に沿って本体部11(螺旋構造部分、周回部分)より外側に導出させた部分(図1においてドットハッチングで示す部分)であり、いずれも本体部11の幅方向Wまたは長さ方向Lに沿う同じ一辺側に導出される。図1の例では、略矩形状の螺旋構造体の幅方向Wに沿う、一方の短辺SS側(同図(A)の上側の短辺SS側)に導出される。第二の端子13は延在部14(後述する)を含む。
この例では、第一の端子12および第二の端子13は、平導体(単位平導体)の一部として構成され、それぞれ本体部11と例えば圧接などにより接合される。つまり、第一の端子12および第二の端子13をそれぞれ含む平導体と本体部11(螺旋構造体)との接合部CPは、1周分領域CRの直線部分に設けられる。第一の端子12および第二の端子13は、それぞれ本体部11と溶接などにより接合されてもよい。溶接での接続の場合は、図1に示すように第一の端子12および第二の端子13は、平導体(単位平導体)の一部であってもよいし、第一の端子12および第二の端子13(ドットのハッチングで示す領域のみの導体)を螺旋構造体に接合する構成であってもよい。
さらに、本実施形態の第一の端子12と第二の端子13は、本体部11の幅方向Wと長さ方向Lで定義される一の面側に導出される。具体的には、螺旋構造体を1周分領域CRの積層体とした場合、第一の端子12と第二の端子13はいずれも、積層体の軸方向C(厚み方向)の一方の最外周となる1周分領域CRが存在する面側(同図(B)〜同図(D)に示す最上面側または最下面側)に位置するように、導出される。
具体的に同図の例では、第一の端子12は、同図(B)〜同図(D)における軸方向Cの一方の最外面(例えば、最上層となる1周分領域CRが存在する面)側から導出するように構成され、第二の端子13は、他方の最外面(例えば、最下層となる1周分領域CRが存在する面)側から、本体部11の螺旋構造の軸方向Cに沿って延びる延在部14を介して、一方の最外面(最上層となる1周分領域CRが存在する面)側に導出する。つまり、延在部14は、積層される複数の1周分領域CRを軸方向C(厚み方向)に渡るように設けられ、本体部11(積層体)の積層方向の一方の最外面(以下、第一の面Sf1という)側から導出する第二の端子13を、積層方向の他方の最外周面(以下、第二の面Sf2という)側に引き出す部位である。なお、第一の端子12と第二の端子13とは説明の便宜上別称しているに過ぎず、これらを入れ替えても同様である。つまり第一の端子12が延在部14を有する構成であってもよい。
同様に、積層体の最上層と最下層(上面と下面)とは説明の便宜上別称しているに過ぎず、これらを入れ替えても同様である。
同図(D)に示すように、延在部14は、第一の面Sf1の1周分領域CRの一の長辺LSから導出するように設けられ、積層される複数の1周分領域CRを渡るように螺旋構造体の軸方向Cに延びるように曲折し、第二の面Sf2側で再び螺旋構造体の螺旋進行方向(周回方向)に延びるように曲折する。これにより第一の端子12と第二の端子13が第二の面Sf2側に並ぶように導出する。
<ステータ部材>
図2を参照して、本実施形態のステータ部材50について説明する。同図は環状のステータ部材50をその軸方向から見た上面概要図である。
ステータ部材50は、図1に示すコイル10を複数、互いに長辺LS部分が隣接するように並べ、環状体を構成したものである。
具体的には各コイル10(10A、10B、10C・・・)は、それぞれの螺旋構造体の軸(仮想線として破線で示す)が、環状体の中心軸CC(紙面表裏方向に延びている)上の1点に収束するように配置される。
そして、各コイル10は上述の如く、第一の端子12と第二の端子13とが本体部11の一の面側(例えば、第二の面Sf2側)に導出されている。すなわち、複数のコイル10の全ての第一の端子12と第二の端子13は、環状体であるステータ部材50の同じ周面側(この例では外周面Sf2側)に、導出される。換言すると、各コイル10は、それぞれの第一の端子12と第二の端子13の導出方向が各コイル10の長さ方向L(環状体の中心軸CCに沿う方向)の同じ一方側(同図では外周側)に位置するように揃えて配置される。
従来のコイルおよびそれにより構成されたステータ部材は、第一の端子が環状体であるステータ部材の例えば外周面側に導出され、第二の端子がステータ部材の内周面側に導出されていた。従って、第一の端子および第二の端子を、バスバーなどに接続する際には、バスバーとの接続手段(例えば、接合(圧接)装置(溶接装置)など)をステータ部材の内周面側と外周面側に移動させなければならず、接続に係る制御(例えば位置合わせなどの制御)が複雑・煩雑になったり、接合装置(溶接装置)の可動域が大きくなるために装置(接合装置(溶接装置)や、ステータ(部材)の製造装置など)の小型化も阻む上、接続の作業効率が向上できない問題があった。
しかしながら、本実施形態によれば、複数のコイル10の全ての第一の端子12と第二の端子13が、環状体であるステータ部材50の同じ周面側(例えば外周面Sf2側)に導出されるため、バスバーと接合(接続)する場合において、位置合わせ等の接合に係る制御を簡素化し、装置(接合装置(溶接装置)、またはステータ(部材)の製造装置など)の小型化を実現するとともに、接合作業の効率化を向上することができる。
更に、本実施形態では、複数のコイル10の周方向に隣り合う(周方向に並ぶ)全ての第一の端子12と第二の端子13とは、略等間隔となるように配置される。具体的には、一のコイル10の第一の端子12と第二の端子13間の距離が、当該一のコイル10の第一の端子12と、隣り合う他のコイル10の第二の端子13間の距離と同等(略等間隔)となるように設けられる。
例えば、図1(D)を参照して、第二の端子13は、延在部14が第一の面Sf1(ステータ部材50として環状に並べた場合の例えば内周面)の1周分領域CRの一の長辺LS2から、当該長辺LS2の延在方向(図1(D)の右方向)に導出するように設けられ、積層される複数の1周分領域CRを渡るように第二の面Sf2(ステータ部材50として環状に並べた場合の例えば外周面)側に向かって、螺旋構造体の軸方向Cに延びるように曲折し、外周面Sf2側で再び螺旋構造体の螺旋進行方向(周回方向)に延びるように(外周面側の1周分領域CRの対応する長辺LS2に沿って延びるように)曲折して、螺旋構造体から外部に導出される。
また、図1(A),同図(C)に示すように第一の端子12は、第二の面(外周面)Sf2の1周分領域CRの一の長辺LS1(第二の端子13が導出している長辺LS2に対向する長辺LS1)から、当該長辺LS1の延在方向に導出する。
そして、図2に示すように、或る一つのコイル10Bにおける第一の端子12Bと第二の端子13B間の距離(環状体の周方向に沿う距離)D2と、コイル10Bの第二の端子13Bと、これと隣り合うコイル10Aの第一の端子12A間の距離(環状体の外周の周方向に沿う距離)D1とが略等間隔になるように構成されている。同様に、コイル10Bにおける第一の端子12Bと、これと隣り合うコイル10Cの第二の端子13C間の距離(環状体の外周の周方向に沿う距離)D3が距離D1,D2と略等間隔になるように構成されている(全てのコイル10において同様)。
このようにすることで、バスバーと接合(接続)する場合において、より一層、位置合わせ等の接合に係る制御を簡素化し、接合作業の効率化を向上することができる。
なお、上記の例における第一の端子12および第二の端子13の導出形状は一例であり、コイル10の形状に応じて適宜、ステータ部材50を構成するコイル10の第一の端子12と第二の端子13の間隔D1,D2、D3・・・が等間隔になるように構成すればよい。従って、例えば第一の端子12が、螺旋構造体の短辺SS方向に沿う延在部を有し、螺旋構造体の短変SSに沿って一端折り曲げられた後に螺旋構造体から導出させる構造にしてもよいし、第二の端子13の延在部14が第一の端子12に近接又は離間するように、短辺SS方向に沿って折り曲げた後に螺旋構造体から導出させるようにしてもよいし、第一の端子12と第二の端子13のそれぞれの延在部を互いに短辺SS方向に折り曲げてから螺旋構造体から導出させるようにしても良い。
また、複数のコイル10の全ての第一の端子12と第二の端子13は、環状体であるステータ部材50の第一の面Sf2(内周面)側に導出するように構成してもよい。しかしながら、内周面Sf1側の場合、外周面Sf2側よりも円周が小さくなるため、第一の端子12と第二の端子13間の距離を同等に配置する場合の自由度が狭まる。そして第一の端子12と第二の端子13の間隔も狭まり、また、通常は、ステータ部材50の外側に配置されるバスバーとの接合手段(接合(圧接)装置、溶接装置)の移動距離も長くなる。このため、第一の端子12と第二の端子13は、ステータ部材50の外周面Sf2側に導出することが好ましい。一方、接合手段をステータ部材50の内側に配置する場合には、第一の端子12と第二の端子13をステータ部材50の内周面Sf1側に導出するようにしてもよい。
<ステータ>
図3は、本実施形態のコイル10(ステータ部材50)を用いたステータ60の概略を示す図である。同図(A)はコイル10の取り付け方法の一例を示す図であり、コイル10をステータ60の周方向から見た側面図であり、同図(B)はステータ60の軸方向から見た上面概略図である。
る。
本実施形態のステータ60は、ステータコア61に帯状の導体を巻回するのではなく、環状(円筒状)のステータコア61の内周面に設けられた複数のカセット(スロット、ティースともいう)62に、成形済みのコイル(エッジワイズコイル)10を順次装着し、あるいは、ステータ部材50を一体的に装着し、環状に配置されたコイル10のそれぞれの一端をバスバー(不図示)に接続して形成される。
具体的には、同図(A)に示すように複数のコイル10のそれぞれにカセット62を取り付ける。
カセット62は、例えば、ステータ部材50を構成する複数のコイル10のそれぞれに対して(1つのコイル10に対して)2個1組で用意される。2個1組のカセット62(62A,62B)は、コイル10の第一の面Sf1側および第2の面Sf2側にそれぞれ、鍔部62C,62Dを有する。そして、一方のカセット62Aの鍔部62Cが形成されていない面側から1つのコイル10を挿入し、他方のカセット62Bを鍔部62Dが形成されていない面側から重ねて両者を係合し、コイル10にカセット62を取り付ける。ステータ部材50を構成するコイル10の全てに対して同様にカセット62を取り付ける。その後、同図(B)に示すようにカセット62付きのコイル10をステータコア61に取り付ける。カセット62は例えば、不図示の係合部(嵌合部)などによってステータコア61に係合(嵌合)される。
あるいは、例えば不図示のバスバーなどによって環状に並ぶ複数のコイル10が接続されて一体化されたステータ部材50において、各コイル10のそれぞれに上述のようにカセット62を取り付け、カセット62付きのステータ部材50をステータコア61に取り付ける。
バスバーの図示は省略するが、例えば円環状の配線部と、コイル接続端部とが金属部材(例えば、銅板)などの打ち抜き加工にて一体的に構成される。そして、コイル接続端部とコイル10の第一の端子12および第二の端子13とが圧接、溶接、あるいはねじ止めなどにより接合される。
図4は、本実施形態のステータ部材50の他の形態を示す上面図である。なお、同図においてはカセット62の記載を省略している。本実施形態のコイル10の螺旋構造体の形状は、図1に示すものに限らない。例えば、図4に示すように上面視において略台形状、すなわち略四角錘台形状に構成されていてもよい。この場合コイル10は、螺旋進行方向に向かうにつれて、平導体の幅(螺旋進行方向に交差する方向の長さ)が徐々に狭くなる一方で厚み(螺旋構造体の軸方向の長さ)が徐々に厚くなり、且つ螺旋進行方向に垂直な断面積が螺旋進行方向において等しくなるような平導体で構成するとよい。
また、この例では、第一の端子12と第二の端子13は環状体の同一の周面(例えば、外周面)に揃えて導出されていればよく、一のコイル10の第一の端子12と第二の端子13間の距離は、当該一のコイル10の第一の端子12と、隣り合う他のコイル10の第二の端子13間の距離と同等でなくてもよい。
<モータ>
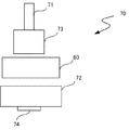
図5は、本実施形態のステータ60(またはステータ部材50)を用いたモータ70の概略を示す分解側面図である。
同図に示すように、上記のステータ60に対してロータ73が回転可能となるように組み付けられてモータ(単相モータ、三相モータなど)70が得られる。具体的には、モータ70は、例えば、シャフト71、ハウジング72、ロータ73、ステータ60(図3に示す)等を有する。シャフト71は柱状部材であり、例えばハウジング72に設けられたベアリング74に支持されながら、その中心軸を中心として回転する。シャフト71の一端には、ギア等の動力伝達機構を介して、駆動対象となる装置(不図示)が連結される。
ロータ73はその周方向にマグネット(不図示)が配置され、シャフト71とともに回転する。ステータ60は例えば、ロータ73の径方向外側に配置され、ロータ73を回転させるための力を発生させる。ステータ60の外部端子(不図示)は、例えばリード線などを介してモータへ電力を供給する駆動回路あるいは電源(いずれも不図示)に接続される。
モータ70は、電源あるいは駆動回路から、バスバー(不図示)を介してコイル10に駆動電流を与えると、ステータ60のカセット62に磁束が生じる。そして、カセット62とマグネット(不図示)の間の磁束の作用により、周方向のトルクが発生する。その結果、ステータ60に対してロータ73が中心軸を中心として回転する。
また、図示は省略するが、本実施形態のモータ70は、図3に示すステータ60により構成されるものに限らず、図1に示したコイル10または図2に示したステータ部材50を含んで構成されたものであればよい。
尚、本発明は、上記した実施の形態に限定されるものではなく、本発明の要旨を逸脱しない範囲内において種々変更を加え得ることは勿論である。
本発明は、ステータ及びモータに適用することができる。
10(10A,10B、10C・・・) コイル
11 本体部
12、12A、12C 第一の端子
13,13A、13B 第二の端子
14 延在部
50 ステータ部材
60 ステータ
61 ステータコア
62、62A、62B カセット
62C,62D 鍔部
70 モータ
71 シャフト
72 ハウジング
73 ロータ
74 ベアリング

Claims (11)

  1. 螺旋構造の導体からなる本体部と、該本体部から導出する第一の端子と、第二の端子とを有するコイルであって、
    前記第一の端子と前記第二の端子とを前記本体部の一の面側に導出させた、
    ことを特徴とするコイル。
  2. 前記第一の端子と前記第二の端子の一方は、前記本体部の螺旋構造の軸方向に延びる延在部を有する、
    ことを特徴とする請求項1に記載のコイル。
  3. 前記本体部は連続する帯状の平導体により螺旋構造体を形成したものであり、前記第一の端子および前記第二の端子のそれぞれと前記螺旋構造体との接合部は、前記平導体の直線部分に設けられる、
    ことを特徴とする請求項1または請求項2に記載のコイル。
  4. 前記コイルは、
    前記螺旋構造体の1周分領域の長さ以下の複数の単位平導体が、それぞれの前記直線部分において端面同士を帯長手方向に沿って押圧されることにより略矩形状の前記1周分領域が形成されている、
    ことを特徴とする請求項3に記載のコイル。
  5. 請求項1乃至請求項4のいずれか一項に記載のコイルを複数並べたステータ部材。
  6. 前記複数のコイルの隣り合う前記第一の端子と前記第二の端子とは、略等間隔に配置される、
    ことを特徴とする請求項5に記載のステータ部材。
  7. 前記複数のコイルは環状体を構成するように配置され、
    前記第一の端子と前記第二の端子は、前記環状体の内周面側または外周面側に導出される、
    ことを特徴とする請求項5または請求項6に記載のステータ部材。
  8. 前記第一の端子と前記第二の端子は、前記環状体の外周面側に導出される、
    ことを特徴とする請求項7に記載のステータ部材。
  9. 請求項1から請求項4のいずれか一項に記載のコイルと、
    前記コイルを取り付けるステータコアと、を有するステータ。
  10. 請求項5から請求項8のいずれか一項に記載のステータ部材を備えたモータ。
  11. 請求項9に記載のステータを備えたモータ。
JP2019088141A 2019-05-08 2019-05-08 ステータ部材、ステータおよびモータ Active JP7417236B2 (ja)

Priority Applications (5)

Application Number Priority Date Filing Date Title
JP2019088141A JP7417236B2 (ja) 2019-05-08 2019-05-08 ステータ部材、ステータおよびモータ
CN202080033860.9A CN113841319A (zh) 2019-05-08 2020-05-01 线圈、定子构件、定子及马达
US17/609,317 US12068653B2 (en) 2019-05-08 2020-05-01 Coil, stator member, stator, and motor
PCT/JP2020/018415 WO2020226134A1 (ja) 2019-05-08 2020-05-01 コイル、ステータ部材、ステータおよびモータ
EP20802243.4A EP3968499A4 (en) 2019-05-08 2020-05-01 Coil, stator member, stator, and motor

Applications Claiming Priority (1)

Application Number Priority Date Filing Date Title
JP2019088141A JP7417236B2 (ja) 2019-05-08 2019-05-08 ステータ部材、ステータおよびモータ

Publications (2)

Publication Number Publication Date
JP2020184832A true JP2020184832A (ja) 2020-11-12
JP7417236B2 JP7417236B2 (ja) 2024-01-18

Family

ID=73045281

Family Applications (1)

Application Number Title Priority Date Filing Date
JP2019088141A Active JP7417236B2 (ja) 2019-05-08 2019-05-08 ステータ部材、ステータおよびモータ

Country Status (5)

Country Link
US (1) US12068653B2 (ja)
EP (1) EP3968499A4 (ja)
JP (1) JP7417236B2 (ja)
CN (1) CN113841319A (ja)
WO (1) WO2020226134A1 (ja)

Cited By (1)

* Cited by examiner, † Cited by third party
Publication number Priority date Publication date Assignee Title
JP7170345B1 (ja) * 2021-05-13 2022-11-14 株式会社アスター コイル、ステータ、モータおよびコイルの製造方法

Families Citing this family (1)

* Cited by examiner, † Cited by third party
Publication number Priority date Publication date Assignee Title
JP7445926B2 (ja) * 2018-10-18 2024-03-08 パナソニックIpマネジメント株式会社 コイル装置

Citations (7)

* Cited by examiner, † Cited by third party
Publication number Priority date Publication date Assignee Title
JP2012110204A (ja) * 2010-10-29 2012-06-07 Nippon Densan Corp モータ及びモータの製造方法
JP2012249344A (ja) * 2011-05-25 2012-12-13 Toyota Motor Corp 同芯カセット式回転電機ステータ
JP2013005541A (ja) * 2011-06-14 2013-01-07 Toyota Motor Corp バスバーの成形方法、バスバー
JP2014090567A (ja) * 2012-10-30 2014-05-15 Mitsubishi Electric Corp 回転電機のステータ
WO2015199044A1 (ja) * 2014-06-24 2015-12-30 株式会社オートネットワーク技術研究所 コア部材、リアクトル、及びコア部材の製造方法
WO2019059295A1 (ja) * 2017-09-20 2019-03-28 アイシン・エィ・ダブリュ株式会社 回転電機用電機子の製造方法
WO2019065460A1 (ja) * 2017-09-28 2019-04-04 アイシン・エィ・ダブリュ株式会社 コイル

Family Cites Families (12)

* Cited by examiner, † Cited by third party
Publication number Priority date Publication date Assignee Title
JP2003348782A (ja) * 2002-05-23 2003-12-05 Asmo Co Ltd 固定子、固定子の製造方法およびモータ
JP4340740B2 (ja) 2007-07-19 2009-10-07 トヨタ自動車株式会社 電動機のステータに用いられる接続線、その接続線を備えたステータおよびその接続線の曲げ方法
JP3136235U (ja) 2007-08-08 2007-10-18 千如電機工業股▲ふん▼有限公司 遮断式電感器構造
JP4661849B2 (ja) 2007-09-27 2011-03-30 トヨタ自動車株式会社 固定子構造
JP5740930B2 (ja) 2010-03-03 2015-07-01 日本電産株式会社 ステータ及びモータ
JP5729091B2 (ja) 2010-10-29 2015-06-03 日本電産株式会社 バスバー、モータ及びこれらの製造方法
JP5554383B2 (ja) 2012-09-11 2014-07-23 三菱電機株式会社 回転電機の固定子、及びその固定子の製造方法
JP5592554B1 (ja) 2013-12-18 2014-09-17 武延 本郷 冷間圧接装置、コイル製造装置、コイルおよびその製造方法
CN106063086B (zh) * 2014-03-31 2019-05-07 三菱电机株式会社 电动机、鼓风机以及压缩机
EP3651318B1 (en) 2017-09-20 2021-07-07 Aisin Aw Co., Ltd. Method for manufacturing armature for dynamo-electrical machine
EP3651319B1 (en) 2017-09-20 2022-12-14 Aisin Corporation Rotary electric machine armature and method for manufacturing same
US11296584B2 (en) 2017-09-20 2022-04-05 Aisin Corporation Method of manufacturing rotary electric machine armature

Patent Citations (7)

* Cited by examiner, † Cited by third party
Publication number Priority date Publication date Assignee Title
JP2012110204A (ja) * 2010-10-29 2012-06-07 Nippon Densan Corp モータ及びモータの製造方法
JP2012249344A (ja) * 2011-05-25 2012-12-13 Toyota Motor Corp 同芯カセット式回転電機ステータ
JP2013005541A (ja) * 2011-06-14 2013-01-07 Toyota Motor Corp バスバーの成形方法、バスバー
JP2014090567A (ja) * 2012-10-30 2014-05-15 Mitsubishi Electric Corp 回転電機のステータ
WO2015199044A1 (ja) * 2014-06-24 2015-12-30 株式会社オートネットワーク技術研究所 コア部材、リアクトル、及びコア部材の製造方法
WO2019059295A1 (ja) * 2017-09-20 2019-03-28 アイシン・エィ・ダブリュ株式会社 回転電機用電機子の製造方法
WO2019065460A1 (ja) * 2017-09-28 2019-04-04 アイシン・エィ・ダブリュ株式会社 コイル

Cited By (1)

* Cited by examiner, † Cited by third party
Publication number Priority date Publication date Assignee Title
JP7170345B1 (ja) * 2021-05-13 2022-11-14 株式会社アスター コイル、ステータ、モータおよびコイルの製造方法

Also Published As

Publication number Publication date
CN113841319A (zh) 2021-12-24
US20220224180A1 (en) 2022-07-14
WO2020226134A1 (ja) 2020-11-12
US12068653B2 (en) 2024-08-20
EP3968499A4 (en) 2022-06-29
JP7417236B2 (ja) 2024-01-18
EP3968499A1 (en) 2022-03-16

Similar Documents

Publication Publication Date Title
JP5986774B2 (ja) 回転電機
JPWO2019039518A1 (ja) 分割コア連結体および電機子の製造方法
JP6044382B2 (ja) マルチギャップ型回転電機
WO2008020471A1 (en) Rotating electric machine
JP6026021B2 (ja) 磁気誘導子型電動機およびその製造方法
JP4624421B2 (ja) 平角線巻線を有する永久磁石同期機
JP6276041B2 (ja) 回転電機ステータ
CN107005135A (zh) 定子制造方法以及线圈
TW201218577A (en) Rotating electrical machine, manufacturing method of rotating electrical machine, and wind power generator system
WO2018147392A1 (ja) 回転電機
CN110492630A (zh) 旋转电机
JP5911018B2 (ja) 電機子およびその電機子を備えた回転電機
WO2016072299A1 (ja) 電機子の積層鉄心と電機子
JP5502533B2 (ja) 永久磁石型電動機
WO2016035766A1 (ja) ステータ組立方法及びステータ
WO2022172594A1 (ja) ステータ、ステータの製造方法、及びブラシレスモータ
WO2020226134A1 (ja) コイル、ステータ部材、ステータおよびモータ
US20050264123A1 (en) Stator of rotating electric machine and manufacturing method of the stator
WO2012011352A1 (ja) 回転電機用電機子
JP2005080365A (ja) 回転電機用ステータ
JP2009268221A (ja) 固定子コイルの製造方法
JP4057406B2 (ja) ステータ用のコア、コアシートの製造方法及びステータの製造方法
JP2014050236A (ja) 回転電機
JP4568639B2 (ja) ステータ
JP4295691B2 (ja) 回転電機の電機子

Legal Events

Date Code Title Description
A621 Written request for application examination

Free format text: JAPANESE INTERMEDIATE CODE: A621

Effective date: 20220414

A131 Notification of reasons for refusal

Free format text: JAPANESE INTERMEDIATE CODE: A131

Effective date: 20230620

A521 Request for written amendment filed

Free format text: JAPANESE INTERMEDIATE CODE: A523

Effective date: 20230817

A131 Notification of reasons for refusal

Free format text: JAPANESE INTERMEDIATE CODE: A131

Effective date: 20230926

A521 Request for written amendment filed

Free format text: JAPANESE INTERMEDIATE CODE: A523

Effective date: 20231113

TRDD Decision of grant or rejection written
A01 Written decision to grant a patent or to grant a registration (utility model)

Free format text: JAPANESE INTERMEDIATE CODE: A01

Effective date: 20231205

A61 First payment of annual fees (during grant procedure)

Free format text: JAPANESE INTERMEDIATE CODE: A61

Effective date: 20231225

R150 Certificate of patent or registration of utility model

Ref document number: 7417236

Country of ref document: JP

Free format text: JAPANESE INTERMEDIATE CODE: R150