JP2017518924A - 調節可能な座面を備えた乗物用シートおよび調節可能な座面を調節する方法 - Google Patents

調節可能な座面を備えた乗物用シートおよび調節可能な座面を調節する方法 Download PDF

Info

Publication number
JP2017518924A
JP2017518924A JP2017512076A JP2017512076A JP2017518924A JP 2017518924 A JP2017518924 A JP 2017518924A JP 2017512076 A JP2017512076 A JP 2017512076A JP 2017512076 A JP2017512076 A JP 2017512076A JP 2017518924 A JP2017518924 A JP 2017518924A
Authority
JP
Japan
Prior art keywords
vehicle seat
inflatable
main part
inflatable chambers
chambers
Prior art date
Legal status (The legal status is an assumption and is not a legal conclusion. Google has not performed a legal analysis and makes no representation as to the accuracy of the status listed.)
Granted
Application number
JP2017512076A
Other languages
English (en)
Other versions
JP6576436B2 (ja
Inventor
フォン バルモース ローラント
フォン バルモース ローラント
ギューマン アンドレアス
ギューマン アンドレアス
ローアバッハ オリヴァー
ローアバッハ オリヴァー
Current Assignee (The listed assignees may be inaccurate. Google has not performed a legal analysis and makes no representation or warranty as to the accuracy of the list.)
Lantal Textiles Ag
Original Assignee
Lantal Textiles Ag
Priority date (The priority date is an assumption and is not a legal conclusion. Google has not performed a legal analysis and makes no representation as to the accuracy of the date listed.)
Filing date
Publication date
Application filed by Lantal Textiles Ag filed Critical Lantal Textiles Ag
Publication of JP2017518924A publication Critical patent/JP2017518924A/ja
Application granted granted Critical
Publication of JP6576436B2 publication Critical patent/JP6576436B2/ja
Active legal-status Critical Current
Anticipated expiration legal-status Critical

Links

Images

Classifications

    • BPERFORMING OPERATIONS; TRANSPORTING
    • B60VEHICLES IN GENERAL
    • B60NSEATS SPECIALLY ADAPTED FOR VEHICLES; VEHICLE PASSENGER ACCOMMODATION NOT OTHERWISE PROVIDED FOR
    • B60N2/00Seats specially adapted for vehicles; Arrangement or mounting of seats in vehicles
    • B60N2/90Details or parts not otherwise provided for
    • B60N2/914Hydro-pneumatic adjustments of the shape
    • BPERFORMING OPERATIONS; TRANSPORTING
    • B60VEHICLES IN GENERAL
    • B60NSEATS SPECIALLY ADAPTED FOR VEHICLES; VEHICLE PASSENGER ACCOMMODATION NOT OTHERWISE PROVIDED FOR
    • B60N2/00Seats specially adapted for vehicles; Arrangement or mounting of seats in vehicles
    • B60N2/02Seats specially adapted for vehicles; Arrangement or mounting of seats in vehicles the seat or part thereof being movable, e.g. adjustable
    • B60N2/0284Adjustable seat-cushion length
    • BPERFORMING OPERATIONS; TRANSPORTING
    • B60VEHICLES IN GENERAL
    • B60NSEATS SPECIALLY ADAPTED FOR VEHICLES; VEHICLE PASSENGER ACCOMMODATION NOT OTHERWISE PROVIDED FOR
    • B60N2/00Seats specially adapted for vehicles; Arrangement or mounting of seats in vehicles
    • B60N2/62Thigh-rests
    • BPERFORMING OPERATIONS; TRANSPORTING
    • B64AIRCRAFT; AVIATION; COSMONAUTICS
    • B64DEQUIPMENT FOR FITTING IN OR TO AIRCRAFT; FLIGHT SUITS; PARACHUTES; ARRANGEMENT OR MOUNTING OF POWER PLANTS OR PROPULSION TRANSMISSIONS IN AIRCRAFT
    • B64D11/00Passenger or crew accommodation; Flight-deck installations not otherwise provided for
    • B64D11/06Arrangements of seats, or adaptations or details specially adapted for aircraft seats
    • B64D11/0639Arrangements of seats, or adaptations or details specially adapted for aircraft seats with features for adjustment or converting of seats
    • BPERFORMING OPERATIONS; TRANSPORTING
    • B60VEHICLES IN GENERAL
    • B60NSEATS SPECIALLY ADAPTED FOR VEHICLES; VEHICLE PASSENGER ACCOMMODATION NOT OTHERWISE PROVIDED FOR
    • B60N2/00Seats specially adapted for vehicles; Arrangement or mounting of seats in vehicles
    • B60N2/02Seats specially adapted for vehicles; Arrangement or mounting of seats in vehicles the seat or part thereof being movable, e.g. adjustable
    • B60N2002/0288Adjustable seat width
    • BPERFORMING OPERATIONS; TRANSPORTING
    • B60VEHICLES IN GENERAL
    • B60NSEATS SPECIALLY ADAPTED FOR VEHICLES; VEHICLE PASSENGER ACCOMMODATION NOT OTHERWISE PROVIDED FOR
    • B60N2205/00General mechanical or structural details
    • B60N2205/30Seat or seat parts characterised by comprising plural parts or pieces

Landscapes

  • Engineering & Computer Science (AREA)
  • Aviation & Aerospace Engineering (AREA)
  • Transportation (AREA)
  • Mechanical Engineering (AREA)
  • Seats For Vehicles (AREA)
  • Chair Legs, Seat Parts, And Backrests (AREA)

Abstract

本発明は、前縁部(16;16.1,16.2)と後縁部(17)とを備えた座面(2)と、後縁部(17)に配置されていて座面(2)に対して角度を成して位置しているバックレスト(3)とを有する乗物用シートに関する。座面(2)は1つの主部分(4)と少なくとも1つの前側部分(5;5.1,5.2)とに分割されている。主部分(4)と少なくとも1つの前側部分(5;5.1,5.2)とは、調節装置を用いて相対的に可動であり、座面(2)の前縁部(16;16.1,16.2)と後縁部(17)との間における間隔(D;D1,D2)を動的に調節することができる。主部分(4)と少なくとも1つの前側部分(5;5.1,5.2)との間に、少なくとも2つの膨張可能な室(6,7;6.1,6.2,7.1,7.2)が配置されていて、該膨張可能な室(6,7;6.1,6.2,7.1,7.2)は、後縁部(17)に対する前縁部(16;16.1,16.2)の間隔(D;D1,D2)に関連して膨張可能および収縮可能である。

Description

本発明は、座面の前縁部と後縁部との間における間隔を動的に変化させることができる乗物用シートに関する。
従来の技術
乗物用シートの分野において、調節可能な座面、特に長さを動的に調節することができる座面が公知である。
例えば独国特許出願公開第102012009591号明細書(DE102012009591A1)(GM Global Technology)に開示された乗物用シートでは、長手方向における座面の伸長は、エアベローズを膨張させることによって、一定の移動速度で変化させることができる。座面はシートの横方向において複数のシート分割エレメントに分割されていることができ、このとき少なくとも2つのエレメントの間には、各1つのエアベローズが配置されている。戻り移動は、特にばねである弾性エレメントによって行われる。エアベローズは、仕切り壁によって複数の部分空気室に分割されていてよく、これらの部分空気室は、好ましくは連通するように形成されている。移動方向をコントロールするために、少なくとも1つのガイドエレメントが乗物用シートに配置されている。
国際公開第06/060833号(WO06/060833A1)(Greiner Purtec)には、シート、特に航空機用シート用のシートクッションが記載されている。シート奥行きが、容積を可変に形成された調節エレメントを用いて適合可能である。この構成では調節エレメントは、空気室内に形成されたフォーム材料エレメントとして形成されている。
国際公開第04/030496号(WO04/030496A1)には、椅子の座面に取り付けることができる、空気力式に進出可能な装置が開示されている。この装置は、アコーディオン状に進出可能な空気力式の中空体を有しており、この中空体と一緒に、フロントプレートに固定されたガイド手段が進出可能である。ばねエレメントが、中空体内における圧力の増大に連れて伸長され、圧力消滅時に中空体を再び引き戻す。
公知の調節可能な座面における欠点は、戻し力に抗した移動が単に空気力式のエレメントによって行われることにあり、これによってこれらのエレメントは、比較的高い内圧を有するので、使用者にとっては不快に硬く感じられる。
さらに、座面の寸法を増大させるために、座面の複数部分を機械式の調節装置によって少なくとも一方向において移動可能であることが公知である。しかしながらこの場合には、これらの部分の調節によって、もはやクッション性を有しない中間室が形成されてしまうという欠点がある。これによってシート快適性が損なわれるおそれがある。
発明の開示
本発明の課題は、冒頭に述べた技術分野に属する乗物用シートを改良して、可能な限り単純な構造を有していて、良好な長さ調節可能性と同時に高いシート快適性とを可能にする乗物用シートを提供することである。
この課題の解決策は、請求項1の特徴によって定義されている。本発明によれば、乗物用シートは、前縁部と後縁部とを備えた座面と、後縁部に配置されていて座面に対して角度を成して位置しているバックレストとを有している。座面は1つの主部分と少なくとも1つの前側部分とに分割されている。主部分と前側部分とは、機械式の調節装置を用いて相対的に可動であり、これによって座面の前縁部と後縁部との間における間隔を動的に調節することができる。主部分と前側部分との間には、少なくとも2つの膨張可能な室が配置されていて、該膨張可能な室は、後縁部に対する前縁部の間隔に関連して膨張可能および収縮可能である。少なくとも2つの空気室はそれぞれ、弁および圧力センサを有している。本発明に係る乗物用シートは、さらに、膨張可能な室の内部において常に設定圧力が存在するように弁を切り換える制御ユニットを有している。
少なくとも2つの膨張可能な室によって、座面の主部分に対して前側部分を移動させた場合に、両方の部分の間に生じる間隙が満たされるので、座面に座っている使用者には、前縁部と後縁部との間における間隔とは無関係に、平らな座面が提供される。少なくとも2つの膨張可能な室は、従って膨張させられた状態において座面の1つの構成部分を形成している。膨張可能な室の内部において常に同じ設定圧力が維持されることによって、膨張可能な室は乗物用シートの使用者にとって常に同じ硬さに感じられ、このことは高いシート快適性を保証する。
膨張可能な室の内部において維持されることが望ましい同じ設定圧力は、好ましくは、例えば乗物用シートのメーカによって一定に予め設定されている。特に、この設定圧力は、制御ユニットのメモリ内に記憶されている。設定圧力は理想的には、少なくとも2つの膨張可能な室が乗物用シートの使用者にとって、主部分および少なくとも1つの前側部分のクッション性とほぼ同じ硬さに感じられるように選択されている。
択一的に、設定圧力が乗物用シートの使用者によって、特に確定された圧力範囲内において、変化可能であるようになっていてもよい。設定圧力は、特に好ましくは5kPa(50ミリバール)である。
座面とバックレストとの間の角度は、好ましくは別の調節機構によって変化させることができる。これによって乗物用シートの種々異なった配置構成を実現することができる。当該分野の当業者には、座面とバックレストとの間の角度を調節するための多数の可能な調節機構が知られている。
好ましくは、機械式の調節装置は、主部分に対して前側部分を電気的に移動させることができる電動モータとスピンドルとを有している。このことは、座面の適宜な長さの調節時において、使用者の快適性を高める。択一的に、移動を、例えばガイドエレメントのような他の適宜な手段によってサポートすることも可能である。
少なくとも2つの膨張可能な室は、好ましくは空気力式のクッションとして形成されている。所望の最大調節長さに応じて、2つよりも多い膨張可能な室を、例えば3つ、4つ、5つまたはそれ以上の膨張可能な室を設けることも可能である。
本出願において、「膨張可能な室」というのは、フレキシブルな面状材料によって取り囲まれた内室であって、流体、特にガス、特に好ましくは空気によって満たすことができる内室のことである。面状材料は、好ましくは、膨張可能な室が最大充填容積の到達時に予め確定された形状を有するように成形されている。本発明による膨張可能な室では、この予め確定された形状は、好ましくは直方体である。
好ましくは、各膨張可能な室は少なくとも1つの供給管路に接続されており、この供給管路を介して流体を膨張可能な室内に流入または室から流出させることができる。この少なくとも1つの供給管路は、好ましくは少なくとも1つの弁ブロックに接続されていて、この弁ブロックを用いて少なくとも1つの供給管路を、ポンプまたは圧縮空気系に接続することができる。好ましくは、少なくとも1つの弁ブロックは複数の弁を有しており、これらの弁を介して、複数の供給管路を選択的に、少なくとも1つのポンプまたは圧縮空気系に接続することができる。弁ブロックを設けることによって、乗物用シートの構造の複雑さが低減される。少なくとも1つの供給管路は、好ましくは、膨張可能な室の外壁に位置するフランジを介して、膨張可能な室に接続される。乗物用シートに所属の複数の弁は、好ましくはただ1つの弁ブロックにまとめられている。これによって複数の弁は中央箇所に配置されており、これによってこれらの弁の保守および交換が大幅に簡単になる。さらに制御ユニットと弁との間において必要な配線も大幅に単純になる。
特に好ましくは、少なくとも2つの膨張可能な室は、その内室内に少なくとも1つのウェブを有しており、このウェブは、内室を取り囲む面状材料の形状を安定化させる。
当業者が認識するように、本発明は、前側部分と主部分との間にただ1つの膨張可能な室を備えた構成によってもしくは2つの膨張可能な室を備えた構成によっても実現することができる。従って択一的に好適な態様は、前側部分と主部分との間にただ1つの膨張可能な室しか有していない。
少なくとも2つの膨張可能な室は、好ましくは、各1つの側面を介して互いに機械式に結合されている。これらの側面は、好ましくは互いに接着される。択一的に、例えばシームのようなまたは例えばベルクロファスナのような付着ファスナのような他の結合形式も適している。座面の主部分もしくは前側部分に接触している膨張可能な室は、特に接着結合または付着ファスナ、特にベルクロファスナを介して、座面の主部分もしくは前側部分に機械式に結合されている。これによって、乗物用シートの使用者は快適な連続した座面を得ることができ、つまり膨張可能な室は、使用者にとって、あたかもそれが座面の一部を形成しているかのように感じられる。
少なくとも2つの膨張可能な室は、好ましくは少なくとも1つの前側部分の移動方向において相前後して配置されている。択一的に、少なくとも2つの膨張可能な室の間に、少なくとも1つの別の剛性の中間部分が配置されていてもよい。
少なくとも2つの膨張可能な室は、好ましくは前側部分の移動方向において順番に膨張もしくは収縮するので、他の膨張可能な室が膨張させられる前に、まず1つの膨張可能な室が完全に膨張させられる。好ましくは、座面が小さくなる場合における膨張可能な室の収縮は、膨張とは逆の順序で行われ、このとき別の膨張可能な室が収縮させられる前に、まず1つの膨張可能な室が完全に収縮させられる。
膨張可能な室は、好ましくはすべて同じ寸法を有している。しかしながらまた、択一的に、膨張可能な室は、互いに異なった寸法を有することも可能である。
膨張可能な室の収縮時に、膨張可能な室内に存在する流体は、好ましくは、例えばポンプによって完全に吸い出される。前縁部と後縁部との間の間隔が小さくなる場合に、少なくとも2つの膨張可能な室のために存在する、前側部分と主部分との間における容積が小さくなるので、少なくとも2つの室の内部における圧力は、上昇させられる。しかしながら制御装置が室の内部における圧力を一定に保つので、制御装置によって、室内に存在する流体は排出される。
これは例えば、ポンプを用いた排出によってまたは流出弁の開放によって行われ、このとき流体は、前側部分と主部分との間における容積の減少によって、少なくとも2つの膨張可能な室から押し出される。
「乗物」というのは本出願では、人を陸上、空中または水上において運ぶことができるすべての運搬手段を意味する。これは特に、自動車、バス、列車、航空機、ヘリコプター、ボートまたは船舶である。従って「乗物用シート」という概念は、このような乗物において使用するシートを意味する。
制御ユニットは、好ましくは、個々の膨張可能な室の膨張および収縮が調節装置の運動と共に調整されて行われるように構成されている。例えば、座面の前側部分を移送させる、電動モータによって駆動されるスピンドルが存在する場合には、個々の膨張可能な室の膨張および収縮は、スピンドルの回転速度または回転数と共に調整されて行われ、これによって座面に座っている使用者は、常に、ほぼ一様な座面を感じる。これは、使用者による乗物用シートの可能な限り快適な操作を可能にする。
制御ユニットは、好ましくはマイクロチップを有しており、このマイクロチップは、乗物用シートに取り付けられた、例えば操作可能なボタンまたはスイッチとして形成された操作ユニットを介して制御される。制御ユニットは、主部分に対して前側部分を移動させるために、相応に調節装置に対して作用する。例えば使用者は、例えば「通常の着座位置」、「リラックス」等のような予め確定された形態を選択することができる。
制御ユニットは、好ましくは、少なくとも2つの膨張可能な室の弁が、各1つの設定間隔を得る場合に、前縁部と後縁部との間において開放されるように構成されている。
これによって、本発明に係る乗物用シートの構成が簡単になる。それというのは、制御ユニットは単に、特殊な点検ポイントの到達を、つまり前縁部と後縁部との間の設定間隔を監視するだけでよいからである。このような間隔が得られると、この間隔に対応配置された膨張可能な室の弁が開放される。制御ユニットは、少なくとも2つの膨張可能な室における圧力を、設定圧力に合わせて一定に調節するので、少なくとも2つの膨張可能な室のサイズは、前側部分と主部分との間における成長する間隔に自動的に合わせられる。これは、間隔の増大によって少なくとも2つの膨張可能な室が少なくとも1つの前側部分と主部分との間におけるより大きな容積を利用できることに基づいて行われる。しかしながら膨張可能な室の容積が、流体による等しいままの充填時に高められると、膨張可能な室の内部における流体の圧力は低下する。このことは圧力センサによって記録され、このとき制御ユニットは所属の弁を、膨張可能な室の内部において再び設定圧が存在するまで、流体が膨張可能な室内に流入するように切り換える。
好ましくは、制御装置はさらに、該制御装置が、各1つの設定間隔の到達時に前縁部と後縁部との間における間隔が減少した場合に閉鎖されるように構成されている。少なくとも2つの膨張可能な室の内部における圧力が、常に設定圧力に保たれるので、制御装置は、少なくとも2つの膨張可能な室の弁を切り換え、これによって前縁部と後縁部との間における間隔の減少時に、少なくとも2つの膨張可能な室から流体が押し出される。
好ましくは、少なくとも2つの膨張可能な室は、予め製造された目標折畳み箇所を備えた外壁を有している。このように構成されていると、膨張可能な室の収縮時に整然とした折畳みが可能になるので、収縮した膨張可能な室は可能な限り小さなスペースしか有さない。これによってさらに、収縮した室の乱雑な折畳みによって、使用者にとって不快な折り目が座面に生じることも回避することができる。
好ましくは、乗物用シートは、少なくとも1つのポンプを有していて、該ポンプは、膨張可能な室のうちの少なくとも1つに流体接続されている。これによって、膨張可能な室の可能な限り簡単でかつ迅速な膨張が可能になる。
特に好ましくは、少なくとも2つの膨張可能な室のそれぞれが、固有の供給管路を介してポンプに接続されている。さらにポンプは、流体を設定圧力までしか圧縮できないように構成されている。これによって少なくとも2つの膨張可能な室の内部に、設定圧力よりも高い圧力が存在することは、あり得なくなる。
少なくとも1つのポンプは、好ましくは、該ポンプが膨張可能な室を膨張およびアクティブに収縮させるように、つまり膨張可能な室における流体を吸い出すように構成されている。
好ましくは主部分、前側部分および少なくとも2つの膨張可能な室の上には、繊維カバーが配置されており、この繊維カバーは、座面の下に配置された、特に引張りばねとして形成された引張り装置を用いて、引張り応力下に保たれる。これによって、使用者にとって視覚的に魅力的でかつ接触時に快適な、座面の一様な表面が得られる。引張り装置によって、前縁部と後縁部との間における間隔のその都度の調節時に、繊維カバーは緊張下にあり、不都合な折り目が形成されることはなくなる。択一的に、繊維カバーは、種々異なった間隔に対して自動的に適合する弾性的な繊維から成っていてもよい。
少なくとも2つの膨張可能な室は、好ましくは、難燃性の織布によって覆われている。これによって乗物用シートは、乗物構造において定められた安全基準、特に航空機用の安全基準を維持することができる。
特に好ましくは、乗物用シートは、2つの前側部分と1つの主部分とを有しており、2つの前側部分の各1つと前記主部分との間に、少なくとも2つの膨張可能な室が配置されている。
このように構成されていると、本発明に係る乗物用シートを、個々に調節可能なレッグレストを備えて構成することができる。このことは特に、本発明に係るシートをドライバ用シートまたはパイロット用シートとして使用する場合に好適である。それというのは、フロアに位置するペダルに楽に到達することができるように、使用者はレッグレストを個別に調節することができるからである。
特に好ましくは、乗物用シートは、航空機用シートである。特に重量を節減する単純な構造形式によって、本発明に係る乗物用シートは、航空機内部構造のために好適な特性を有している。
以下における詳細な説明およびすべての請求項における記載から、本発明のその他の好適な態様および特徴の組合せが得られる。
本出願はさらに、乗物用シートの分割された座面の少なくとも1つの前側部分を、主部分に対して調節する方法に関する。本発明に係る方法は、好ましくは、上に述べた乗物用シートによって実施される。
方法の第1のステップにおいて、機械式の調節装置によって少なくとも1つの前側部分を主部分に対して移動させる。次のステップにおいて、少なくとも1つの前側部分と主部分との間において配置された、膨張可能な少なくとも2つの室のうちの少なくとも1つを、前縁部と後縁部との間の間隔に関連して膨張させる。この膨張は、好ましくはポンプによって行われる。少なくとも2つの膨張可能な室の内部における圧力はそれぞれ、圧力センサによって測定され、このとき制御装置が、少なくとも2つの膨張可能な室に対応配置された弁を、常に、設定圧力が少なくとも2つの膨張可能な室の内部において存在するように切り換える。
次に図面を参照しながら本発明の実施形態を説明する。
本発明に係る乗物用シートの第1実施形態を概略的に示す側面図である。 膨張可能な室が膨張させられた状態における、図1に示した乗物用シートを概略的に示す側面図である。 図3aおよび図3bは、本発明に係る乗物用シートの座面の異なった2つの状態を示す平面図である。 図4a、図4bおよび図4cは、本発明に係る乗物用シートの第2実施形態による座面の異なった3つの状態を示す平面図である。 図5aおよび図5bは、2つの前側部分を備えた別の実施形態による座面の異なった2つの状態を示す平面図である。
基本的に、図面において同一部材には同一符号が付されている。
本発明の実施形態
図1には、本発明に係る乗物用シート1の第1実施形態が概略的な側面図で示されている。図面を簡略化するために、乗物用シート1の下部構造は示されていない。
乗物用シート1は、座面2とバックレスト3とを有している。バックレスト3は、座面2の後縁部17に配置されていて、座面2に対して角度を成している。好ましくは、バックレスト3と座面2との間の角度は、機械装置(図示せず)によって変化させることができる。
座面2は、主部分4と前側部分5とを有している。前側部分5は、座面2の前縁部16を有していて、この前縁部16は、図示の実施形態では、乗物用シート1の使用者の快適性を改善するために丸く面取りされて形成されている。主部分4と前側部分5との間には、膨張可能な2つの室6,7が配置されている。図1には、両方の膨張可能な室6,7は、収縮状態で示されている。座面2は、前縁部16と後縁部17との間において可能な最小の間隔Dを有している。膨張可能な室6,7はそれぞれ、供給管路12,13を介してポンプ10に接続されている。
座面2およびバックレスト3の上には、繊維カバー9が配置されている。この繊維カバー9は、座面2の前側部分5の下側において引張り装置15に結合されており、この引張り装置15は、前縁部16と後縁部17との間における如何なる間隔においても、繊維カバー9を座面2の上において緊張させる。引張り装置15は、例えば引張りばねとして形成されていてよい。追加的に、繊維カバー9はバックレスト3の後側に固定されている。乗物用シートの構成に応じて、繊維カバー9は座面2および/またはバックレスト3の別の箇所に固定されていてもよい。
本発明に係る乗物用シートはさらに、機械式の調節装置を有しており、この調節装置を用いて、前縁部16と後縁部17との間の間隔を変化させることができる。機械式の調節装置は、スピンドル18とスピンドル駆動装置19とを有している。スピンドル駆動装置19を用いたスピンドル18の回転によって、前縁部16と後縁部17との間の間隔Dを変化させることができる。
図2には、図1に示した乗物用シートが概略的な側面図で示されており、このとき座面2の前縁部16と後縁部17との間の間隔Dは、スピンドル18の回転によって増大されており、つまり座面2は、図1の図示に比べて長くなっている。
第1の膨張可能な室6および第2の膨張可能な室7は、完全に膨張させられた状態で示されている。両方の膨張可能な室6,7は、前縁部16と後縁部17との間の間隔に関連して選択的に膨張させられている。膨張は、好ましくはコントロールユニット(図示せず)を介して制御される。両方の膨張可能な室6,7の選択的な膨張は、主部分4と前側部分5との間において発生した間隙を満たすことができるので、使用者には連続した座面2が提供される。このときコントロールユニットは、膨張可能な室6,7の内部において、一定の設定圧力が維持されるように構成されている。これは、好ましくは、弁(図示せず)の相応の制御によって達成される。コントロールユニットはさらに、前縁部16と後縁部17との間における設定間隔が得られた場合に、個々の膨張可能な空気室6,7がポンプによって膨張させられるように構成されている。これは例えば、相応の弁が開放されて、ポンプ10が相応の膨張可能な室6,7を流体によって膨張させることができることによって達成される。膨張可能な空気室6,7の内部における圧力を一定に保つことによって、膨張可能な空気室6,7は、前縁部16と後縁部17との間においてちょうど今存在する間隔に適合し、このとき前縁部16および後縁部17は、乗物用シート1に座っている使用者に対して常に等しい硬さの感触を与える。
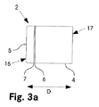
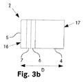
図3a,3bには、前縁部16と後縁部17との間において異なった間隔Dを備えた、本発明に係る乗物用シート1の座面2が平面図で示されている。図3aには、最小の間隔Dを備えた座面2が示されており、このとき膨張可能な室6,7は、完全に収縮されている。図3bには、前縁部16と後縁部17との間に最大の間隔Dを備えた座面2が示されており、このとき膨張可能な室6,7は、完全に膨張させられている。前縁部16と後縁部17との間における間隔Dが増大している様子が良く分かる。
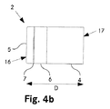
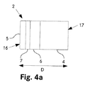
図4a〜図4cには、本発明に係る乗物用シート1の第2実施形態の座面2が示されている。この実施形態では、両方の膨張可能な室6,7は異なったサイズを有している。第1の膨張可能な室6および/または第2の膨張可能な室7を選択的に膨張させることによって、座面2の主部分4と前側部分5との間における異なった間隙を橋渡しすることができ、このような間隙は、前縁部16と後縁部17との間における間隔Dの異なった調節に合わせて発生する。当業者にとっては分かることであるが、膨張可能な室6,7のサイズを変化させることの他に、膨張可能な室の数を変化させることも可能である。
図4aに、完全に膨張させられた膨張可能な室6,7を備えた座面2が示されているのに対して、図4bには、第1の膨張可能な室6だけが膨張させられた場合の座面2が示されている。図4cには、第2の室7だけが完全に膨張させられた状態の座面2が示されている。
図5a,図5bには、本発明に係る乗物用シート1の別の実施形態の座面2が平面図で示されている。この実施形態では座面2は、1つの主部分4(4.1,4.2)と2つの前側部分5.1,5.2を有している。そして主部分4と両方の前側部分5.1,5.2との間には、各2つの膨張可能な室6.1,6.2,7.1,7.2が配置されている。相応に乗物用シート1は、2つの調節装置を有しており、これらの調節装置を用いて、両方の間隔D1,D2を個別に調節することができる。本発明に係る乗物用シート1のこの実施形態では、両方の前側部分5.1,5.2は、調節可能なレッグレストとして使用することができる。図5bに示すように、各前側部分のために、座面2の各前縁部16.1,16.2と後縁部17との間に異なった間隔D1,D2を調節することができる。

Claims (11)

  1. 前縁部(16;16.1,16.2)と後縁部(17)とを備えた座面(2)と、前記後縁部(17)に配置されていて前記座面(2)に対して角度を成して位置しているバックレスト(3)とを有し、前記座面(2)は1つの主部分(4)と少なくとも1つの前側部分(5;5.1,5.2)とに分割されていて、前記主部分(4)と前記前側部分(5;5.1,5.2)とは、機械式の調節装置を用いて相対的に可動であり、前記前縁部(16;16.1,16.2)と前記後縁部(17)との間における間隔(D;D1,D2)を動的に調節することができ、前記主部分(4)と前記少なくとも1つの前側部分(5;5.1,5.2)との間に、少なくとも2つの膨張可能な室(6,7;6.1,6.2,7.1,7.2)が配置されていて、該膨張可能な室(6,7;6.1,6.2,7.1,7.2)は、前記後縁部(17)と前記前縁部(16;16.1,16.2)の間隔(D;D1,D2)に相応して膨張可能および収縮可能である、乗物用シートであって、
    前記少なくとも2つの膨張可能な室(6,7;6.1,6.2,7.1,7.2)はそれぞれ、弁と圧力センサとを有しており、かつ当該乗物用シートは、前記膨張可能な室の内部において設定圧力が存在するように前記弁を切り換える制御ユニットを有していることを特徴とする、乗物用シート。
  2. 前記制御ユニットは、前記少なくとも2つの膨張可能な室(6,7;6.1,6.2,7.1,7.2)の膨張および収縮が前記機械式の調節装置の運動と調和して行われるように構成されている、請求項1記載の乗物用シート。
  3. 前記制御ユニットは、前記少なくとも2つの膨張可能な室の弁が、前記前縁部と前記後縁部との間における間隔が増大して、各1つの設定間隔が得られた際に開放されるように構成されている、請求項1または2記載の乗物用シート。
  4. 前記少なくとも2つの膨張可能な室(6,7;6.1,6.2,7.1,7.2)は、予め製造された目標折畳み箇所を備えた外壁を有している、請求項1から3までのいずれか1項記載の乗物用シート。
  5. 当該乗物用シート(1)は、少なくとも1つのポンプ(10)を有していて、該ポンプ(10)は、前記少なくとも2つの膨張可能な室(6,7;6.1,6.2,7.1,7.2)に流体接続されている、請求項1から4までのいずれか1項記載の乗物用シート。
  6. 前記ポンプ(10)は、前記少なくとも2つの膨張可能な室(6,7;6.1,6.2,7.1,7.2)を膨張させることおよび収縮させることができるように構成されている、請求項5記載の乗物用シート。
  7. 前記主部分(4)、前記少なくとも1つの前側部分(5;5.1,5.2)および前記少なくとも2つの膨張可能な室(6,7;6.1,6.2,7.1,7.2)の上に、繊維カバー(9)が配置されていて、該繊維カバー(9)は、前記座面(2)の下に配置された、特に引張りばねとして形成された引張り装置(15)を用いて、引張り応力を受けた状態に保たれる、請求項1から6までのいずれか1項記載の乗物用シート。
  8. 前記少なくとも2つの膨張可能な室(6,7;6.1,6.2,7.1,7.2)は、難燃性の織布によって覆われている、請求項1から7までのいずれか1項記載の乗物用シート。
  9. 当該乗物用シート(1)は、2つの前側部分(5.1,5.2)と1つの主部分(4)とを有しており、前記2つの前側部分(5.1,5.2)の各1つと前記主部分(4)との間に、少なくとも2つの膨張可能な室(6.1,6.2,7.1,7.2)が配置されている、請求項1から8までのいずれか1項記載の乗物用シート。
  10. 当該乗物用シート(1)は、航空機用シートである、請求項1から9までのいずれか1項記載の乗物用シート。
  11. 特に請求項1から10までのいずれか1項記載の乗物用シートの分割された座面の少なくとも1つの前側部分を、前記座面の主部分に対して調節する方法であって、以下に記載のステップ、すなわち、
    a)機械式の調節装置によって前記少なくとも1つの前側部分を前記主部分に対して移動させるステップと、
    b)前記少なくとも1つの前側部分と前記主部分との間において膨張可能な少なくとも2つの室のうちの少なくとも1つを、特にポンプによって流体でもって、後縁部(17)と前縁部(16;16.1,16.2)の間隔(D;D1,D2)に相応して膨張させるステップと、を有する方法であって、
    c)前記少なくとも2つの膨張可能な室(6,7;6.1,6.2,7.1,7.2)の内部における圧力をそれぞれ、圧力センサによって測定し、制御ユニットが、前記膨張可能な室(6,7;6.1,6.2,7.1,7.2)に対応配置された弁を、常に、設定圧力が前記少なくとも2つの膨張可能な室(6,7;6.1,6.2,7.1,7.2)の内部において存在するように調節することを特徴とする、座面を調節する方法。
JP2017512076A 2014-05-14 2015-04-28 調節可能な座面を備えた乗物用シートおよび調節可能な座面を調節する方法 Active JP6576436B2 (ja)

Applications Claiming Priority (3)

Application Number Priority Date Filing Date Title
EP14405042.4A EP2944510A1 (de) 2014-05-14 2014-05-14 Fahrzeugsitz mit einstellbarer Sitzfläche
EP14405042.4 2014-05-14
PCT/CH2015/000065 WO2015172258A1 (de) 2014-05-14 2015-04-28 Fahrzeugsitz mit einstellbarer sitzfläche und verfahren zum verstellen einer einstellbaren sitzfläche

Publications (2)

Publication Number Publication Date
JP2017518924A true JP2017518924A (ja) 2017-07-13
JP6576436B2 JP6576436B2 (ja) 2019-09-18

Family

ID=50846897

Family Applications (1)

Application Number Title Priority Date Filing Date
JP2017512076A Active JP6576436B2 (ja) 2014-05-14 2015-04-28 調節可能な座面を備えた乗物用シートおよび調節可能な座面を調節する方法

Country Status (5)

Country Link
US (1) US10300824B2 (ja)
EP (2) EP2944510A1 (ja)
JP (1) JP6576436B2 (ja)
CN (1) CN106660472B (ja)
WO (1) WO2015172258A1 (ja)

Families Citing this family (9)

* Cited by examiner, † Cited by third party
Publication number Priority date Publication date Assignee Title
CH712316A1 (de) * 2016-04-04 2017-10-13 Lantal Textiles Ag Fahrzeugsitz mit mindestens einem pneumatischen Kissen.
US11627816B2 (en) * 2017-01-16 2023-04-18 Textron Innovations, Inc. Automatically adjusting comfort system
GB2563389B (en) * 2017-06-09 2020-06-17 Ford Global Tech Llc Expandable seat for a vehicle
US20190143856A1 (en) * 2017-11-13 2019-05-16 Gulfstream Aerospace Corporation Seat assembly that includes a modular foam arrangement and a pneumatic bladder sub-assembly and method for fabricating the same
US10449878B2 (en) * 2018-02-02 2019-10-22 GM Global Technology Operations LLC Seat trim management system for seat cushion length adjustment
US12139058B2 (en) * 2019-12-20 2024-11-12 Ts Tech Co., Ltd. Vehicle seat
CN111762074B (zh) * 2020-06-10 2021-06-11 东风汽车集团有限公司 一种多功能汽车座椅及汽车
CN111791779A (zh) * 2020-06-12 2020-10-20 廊坊市金色时光科技发展有限公司 具备可移动腿托的汽车座椅
DE102021124331A1 (de) 2021-09-21 2023-03-23 Bayerische Motoren Werke Aktiengesellschaft Sitzvorrichtung für ein Fahrzeug sowie Fahrzeug mit einer derartigen Sitzvorrichtung

Citations (11)

* Cited by examiner, † Cited by third party
Publication number Priority date Publication date Assignee Title
JPS55153959U (ja) * 1979-04-23 1980-11-06
JPS5973331A (ja) * 1982-07-13 1984-04-25 カイパ−・レカロ・フエアヴアルツングスゲゼルシヤフト・ミツト・ベシユレンクテル・ハフツング 調節可能な脚支えを有する車両座席
JPS617345U (ja) * 1984-06-20 1986-01-17 オカモト株式会社 エア−サポ−ト装置用エア−バツグ
JPS6387336A (ja) * 1986-09-19 1988-04-18 ダイムラー−ベンツ アクチエンゲゼルシヤフト 自動車の座席
JPS63159544U (ja) * 1987-04-07 1988-10-19
JPH03124937A (ja) * 1989-10-09 1991-05-28 Nissan Motor Co Ltd 内燃機関の燃料供給装置
JPH03124937U (ja) * 1990-03-30 1991-12-18
JPH06284940A (ja) * 1993-03-31 1994-10-11 Mazda Motor Corp 車両のシート装置
JP2008143364A (ja) * 2006-12-11 2008-06-26 Honda Motor Co Ltd 車両用シート
US20100327648A1 (en) * 2007-12-11 2010-12-30 Be Aerospace, Inc. Insulating cover for flammable cushioning materials
US20130300171A1 (en) * 2012-05-11 2013-11-14 GM Global Technology Operations LLC Vehicle seat for a motor vehicle

Family Cites Families (17)

* Cited by examiner, † Cited by third party
Publication number Priority date Publication date Assignee Title
US4629248A (en) * 1985-06-03 1986-12-16 General Motors Corporation Thigh support for vehicle seats
US5263765A (en) * 1989-12-27 1993-11-23 Nissan Motor Co., Ltd. Automatic adjustable seat
US6088642A (en) * 1998-07-29 2000-07-11 Mccord Winn Textron Inc. Interactive, individually controlled, multiple bladder seating comfort adjustment system and method
EP1263304A2 (en) * 2000-03-02 2002-12-11 Verhees, Godefridus Josephus Maria Adjustable chair and method of use
AU2003260234A1 (en) 2002-10-02 2004-04-23 Prospective Concepts Ag Pneumatically extensible device
US6769146B2 (en) * 2003-01-07 2004-08-03 Milliken & Company Transportation seat with release barrier fabrics
US20060006704A1 (en) * 2003-12-15 2006-01-12 Be Aerospace, Inc. Vehicle seating with storage feature
DE102004042016B4 (de) * 2004-08-27 2010-01-07 Iav Gmbh Ingenieurgesellschaft Auto Und Verkehr Fahrzeugsitz
GB2420272B (en) * 2004-11-19 2008-06-04 Kongsberg Automotive Ltd Seat structure with a collapsible bolster
AT501818A1 (de) 2004-12-07 2006-11-15 Greiner Purtec Gmbh Sitzpolster für einen sitz, insbesondere flugzeugsitz
AT502779A1 (de) * 2005-10-27 2007-05-15 Hoerbiger Automatisierungstech System zur automatischen verstellung der sitz-kontur sowie sitz, insbesonders fahrzeugsitz für automobile, flugzeuge oder dergleichen
DE102009057435A1 (de) * 2009-12-09 2011-06-16 Koki Technik Seating Systems Gmbh Verfahren zum Verstellen der Sitztiefe eines Sitzes und/oder der Höhe einer Rücklehne
US8128167B2 (en) * 2010-01-05 2012-03-06 Ford Global Technologies, Llc Seat cushion extension mechanism
DE102012101433B4 (de) * 2012-02-23 2024-07-11 Dr. Ing. H.C. F. Porsche Aktiengesellschaft Vorrichtung zur Verstellung der Länge eines Kraftfahrzeugsitzes
JP5962490B2 (ja) * 2012-12-19 2016-08-03 トヨタ紡織株式会社 車両用シート
US9499072B2 (en) * 2014-02-17 2016-11-22 Lear Corporation Seat cushion length extender with sensor
US20150360597A1 (en) * 2014-06-13 2015-12-17 Lear Corporation Renewable fiber trim laminate

Patent Citations (14)

* Cited by examiner, † Cited by third party
Publication number Priority date Publication date Assignee Title
JPS55153959U (ja) * 1979-04-23 1980-11-06
JPS5973331A (ja) * 1982-07-13 1984-04-25 カイパ−・レカロ・フエアヴアルツングスゲゼルシヤフト・ミツト・ベシユレンクテル・ハフツング 調節可能な脚支えを有する車両座席
US4541669A (en) * 1982-07-13 1985-09-17 Keiper Recaro Gmbh & Co. Vehicle seat having an adjustable thigh supports
JPS617345U (ja) * 1984-06-20 1986-01-17 オカモト株式会社 エア−サポ−ト装置用エア−バツグ
JPS6387336A (ja) * 1986-09-19 1988-04-18 ダイムラー−ベンツ アクチエンゲゼルシヤフト 自動車の座席
US4773703A (en) * 1986-09-19 1988-09-27 Daimler-Benz Aktiengesellschaft Vehicle seat
JPS63159544U (ja) * 1987-04-07 1988-10-19
JPH03124937A (ja) * 1989-10-09 1991-05-28 Nissan Motor Co Ltd 内燃機関の燃料供給装置
JPH03124937U (ja) * 1990-03-30 1991-12-18
JPH06284940A (ja) * 1993-03-31 1994-10-11 Mazda Motor Corp 車両のシート装置
JP2008143364A (ja) * 2006-12-11 2008-06-26 Honda Motor Co Ltd 車両用シート
US20100327648A1 (en) * 2007-12-11 2010-12-30 Be Aerospace, Inc. Insulating cover for flammable cushioning materials
JP2011505979A (ja) * 2007-12-11 2011-03-03 ビー イー エアロスペイス,インク. 可燃性クッション材料用断熱カバー及び乗客用シート
US20130300171A1 (en) * 2012-05-11 2013-11-14 GM Global Technology Operations LLC Vehicle seat for a motor vehicle

Also Published As

Publication number Publication date
EP3142892A1 (de) 2017-03-22
US10300824B2 (en) 2019-05-28
EP2944510A1 (de) 2015-11-18
JP6576436B2 (ja) 2019-09-18
CN106660472B (zh) 2019-07-26
US20170151895A1 (en) 2017-06-01
CN106660472A (zh) 2017-05-10
WO2015172258A1 (de) 2015-11-19
EP3142892B1 (de) 2018-05-09

Similar Documents

Publication Publication Date Title
JP6576436B2 (ja) 調節可能な座面を備えた乗物用シートおよび調節可能な座面を調節する方法
RU2697321C2 (ru) Посадочный узел транспортного средства и узел подголовника транспортного средства (варианты)
US10214129B2 (en) Air bladder with stacked cell system
CN108928282B (zh) 用于调节座椅轮廓的装置和具有这种装置的座椅
US10470968B2 (en) Massage device for a vehicle seat
US9211824B2 (en) Adjustable firmness vehicle seat
JP6462906B2 (ja) 座席のランバーサポートの段階的調節システム
CN111391732B (zh) 用于车辆座椅头枕的颈托模块
US20080191531A1 (en) Adjustable depth vehicle seat system
WO2015049937A1 (ja) ショルダサポートアジャスタ及び車両用シート
EP3529154B1 (en) Passenger seat having side sleep support assembly
JP6563003B2 (ja) 可動のレストを備えた乗物用シートおよびレストを移動させる方法
CN106853783A (zh) 骶骨气囊组件
CN110127060A (zh) 采用铰接式气动座垫的乘客座椅
JP2019513614A (ja) 少なくとも1つの空気入りクッションを備える乗物用シート
JP2018095015A (ja) 車両用シート
JP6347220B2 (ja) 乗物用シートのサポート装置
JP2014151062A (ja) 車両シート用マッサージ装置
HK1233588B (zh) 具有能够调节的座椅面的车辆座椅以及用於调整能够调节的座椅面的方法
HK1233588A1 (en) Vehicle seat with an adjustable seat base and method for adjusting an adjustable seat base
JP2022189111A (ja) 車両
JP2013128696A (ja) オットマンを備える車両用シート
GB2510671A (en) Inflatable vehicle seat with at least two separate layers
JP2018154277A (ja) 乗物用シート
JP2020097287A (ja) 座席装置

Legal Events

Date Code Title Description
A621 Written request for application examination

Free format text: JAPANESE INTERMEDIATE CODE: A621

Effective date: 20180312

A977 Report on retrieval

Free format text: JAPANESE INTERMEDIATE CODE: A971007

Effective date: 20190129

A131 Notification of reasons for refusal

Free format text: JAPANESE INTERMEDIATE CODE: A131

Effective date: 20190204

TRDD Decision of grant or rejection written
A01 Written decision to grant a patent or to grant a registration (utility model)

Free format text: JAPANESE INTERMEDIATE CODE: A01

Effective date: 20190805

A61 First payment of annual fees (during grant procedure)

Free format text: JAPANESE INTERMEDIATE CODE: A61

Effective date: 20190820

R150 Certificate of patent or registration of utility model

Ref document number: 6576436

Country of ref document: JP

Free format text: JAPANESE INTERMEDIATE CODE: R150

R250 Receipt of annual fees

Free format text: JAPANESE INTERMEDIATE CODE: R250

R250 Receipt of annual fees

Free format text: JAPANESE INTERMEDIATE CODE: R250

R250 Receipt of annual fees

Free format text: JAPANESE INTERMEDIATE CODE: R250

R250 Receipt of annual fees

Free format text: JAPANESE INTERMEDIATE CODE: R250