JP2017192650A - フライヤー - Google Patents

フライヤー Download PDF

Info

Publication number
JP2017192650A
JP2017192650A JP2016086307A JP2016086307A JP2017192650A JP 2017192650 A JP2017192650 A JP 2017192650A JP 2016086307 A JP2016086307 A JP 2016086307A JP 2016086307 A JP2016086307 A JP 2016086307A JP 2017192650 A JP2017192650 A JP 2017192650A
Authority
JP
Japan
Prior art keywords
oil tank
oil
convection
fried
dregs
Prior art date
Legal status (The legal status is an assumption and is not a legal conclusion. Google has not performed a legal analysis and makes no representation as to the accuracy of the status listed.)
Granted
Application number
JP2016086307A
Other languages
English (en)
Other versions
JP6781420B2 (ja
Inventor
孝治 石崎
Koji Ishizaki
孝治 石崎
智行 石川
Satoyuki Ishikawa
智行 石川
Current Assignee (The listed assignees may be inaccurate. Google has not performed a legal analysis and makes no representation or warranty as to the accuracy of the list.)
Maruzen Co Ltd
Original Assignee
Maruzen Co Ltd
Priority date (The priority date is an assumption and is not a legal conclusion. Google has not performed a legal analysis and makes no representation as to the accuracy of the date listed.)
Filing date
Publication date
Application filed by Maruzen Co Ltd filed Critical Maruzen Co Ltd
Priority to JP2016086307A priority Critical patent/JP6781420B2/ja
Publication of JP2017192650A publication Critical patent/JP2017192650A/ja
Application granted granted Critical
Publication of JP6781420B2 publication Critical patent/JP6781420B2/ja
Active legal-status Critical Current
Anticipated expiration legal-status Critical

Links

Images

Landscapes

  • Frying-Pans Or Fryers (AREA)

Abstract

【課題】揚げカスが熱対流によって巻き上げられ、油槽上部で調理中の食材に付着し、食材の仕上がりや外観を損ねてしまうことを防止するフライヤーを提供する。
【解決手段】第1に、油槽2が、油槽内部に中央に向かって低くなる傾斜底面22aを有し、傾斜底面22aの低い部分の先により低く掘りこめられたカス溜め部21を有し、油槽2の外側より油槽を加熱する電磁誘導コイル3が配設されているIH加熱式のフライヤーとする。第2に、上面開放で周囲は油の通過はできるが揚げカスの通過は阻止される揚げカス収容篭6をカス溜め部21に配置する。第3に、油槽2の内側の加熱面に配置され、加熱面で発生する油の対流を制御し、油の対流を油槽内調理部より離れた油槽内の周縁付近へと導く対流制御板5を揚げカス収容篭6に連設した。
【選択図】図1

Description

本発明は、コンビニエンスストアやファーストフード店等で、フライドポテトやフライドチキンなどのフライ料理に使用されるフライヤーの改良に関するものである。
従来より、フライ料理に使用されるフライヤーとして、食品を揚げる油を貯留する油槽と該油槽を加熱する電磁誘導コイルとを具備するIH加熱式のフライヤーは公知であった。特許出願人は、既に、特許文献1に示すように、掃除しやすい、槽内温度分布が均一などの特徴を備えたIH式の卓上型フライヤーを開発し、特許権を取得済みである。
この特許文献1に示されるフライヤーは、油槽が、傾斜した傾斜底面を有し、傾斜底面の低い部分の先により低いカス溜め部を有するものである。このようなフライヤーでは、調理中に発生する揚げカスは、油槽底部(クールゾーン)にあるカス溜め部に落下、集積される。
カス溜め部は、電磁誘導加熱の影響を受けないので、揚げカスからの酸化が抑制される。即ち、油の寿命が延び、揚げ物の品質が維持できる特徴がある。更に、カス溜め部を、傾斜底面から一段掘り込まれているように形成すると、同部がホットゾーンの対流からはっきり隔離されて、カスが巻き上げられ難くなるので好ましいとされている。
しかし、フライヤー1で大量のフライ調理を行った際、食材Eから発生する揚げカスDが油槽2底部のカス溜め部21に溜まり、時として、図7に示すように、その揚げカスDが熱対流Nによって巻き上げられ、油槽2上部で調理中の食材Eに付着し、食材Eの仕上がり、外観を損ねてしまうことがあった。特に、溜まった揚げカスDは、時間の経過とともに、油槽2内部で低温炭化し、黒色化し、付着した食材Eの仕上がりは、まだらな黒カスが点在してしまう傾向があった。
また、調理中、油層2内の食用油は調理物である食材Eに徐々に吸収され、作業経過とともに減っていき、図9に示すようにユーザーは定期的に油槽2に足し油を行い、調理を継続していくが、足し油は食用油の容器Yから直接油層2に注ぎ込むため、その勢いによって、油槽2内の油に撹拌流Kが発生し、揚げカスDが油層2内に拡散し、直後に調理した食材Eに黒カスが付着してしまうことも問題となっていた。
上記黒カスが食材に付着してしまう現象は、特に揚げカスDがクールゾーンであるカス溜め部21に大量に溜まった場合に発生する傾向である。
特許第5436463号特許公報
そこで、本発明は、次の課題を解決しようとする。
第1に、溜まった揚げカスが巻き上げられないよう、油槽の底部にあるカス溜め部に位置させる揚げカス収容篭を設け、揚げカスを該揚げカス収容篭に収容すると共に、油槽内で発生する熱対流の循環経路を一方向として拡散せぬよう油槽内の加熱面と油槽内調理部とを仕切る対流制御板を設置することにより、揚げカスが熱対流によって巻き上げられ、油槽上部で調理中の食材に付着し、食材の仕上がりや外観を損ねてしまうことを防止しようとする。
第2、揚げカス収容篭の上面開放部の上方に撹拌流制御屋根を設けることにより、足し油を食用油の容器から直接油層に注ぎ込んだ場合にも、その勢いによって、油槽内の油に撹拌流が発生し、揚げカスが油層内に拡散することを防止し、直後に調理した食材に黒カスが付着してしまうことを防ごうとする。
上記課題を解決するために、第1の発明は、フライヤーに次の手段を採用する。
第1に、食品を揚げる油を貯留する油槽が、油槽内部に中央に向かって低くなる傾斜底面を有し、該傾斜底面の低い部分の先により低く掘りこめられたカス溜め部を有し、該油槽の外側より油槽を加熱する電磁誘導コイルが配設されているIH加熱式のフライヤーとする。
第2に、上面開放で周囲は油の通過はできるが揚げカスの通過は阻止される揚げカス収容篭を前記カス溜め部に配置する。
第3に、前記電磁誘導コイルが配設されている油槽の内側の加熱面に配置され、該加熱面で発生する油の対流を制御し、該油の対流を油槽内調理部より離れた油槽内の周縁付近へと導く対流制御板を前記揚げカス収容篭に連設した。
第2の発明は、第1の発明のフライヤーを次のように改良したものである。
第1に、前記外側より油槽を加熱する電磁誘導コイルを傾斜底面の外側下面に配設する。第2に、揚げカス収容篭を、上面開放で周囲は揚げカスの通過を遮る大きさの穴が多数穿設したものとする。
第3の発明は、第1及び第2の発明のフライヤーにおいて、上記揚げカス収容篭の上面開放部の上方に、該上面開放部より若干広く形成した撹拌流制御屋根を配置した。
本発明は、揚げカス収容篭を前記カス溜め部に配置し、加熱面で生じる対流を制御する対流制御板を前記揚げカス収容篭に連設して配置したので、揚げカス収容篭で揚げカスが除去された油のみが、対流制御板により油槽内の周縁付近に導かれ、揚げカスが対流熱によって巻き上げられ、油槽上部で調理中の食材に付着し、食材の仕上がりや外観を損ねてしまうといったことが防止できた。
本発明に、揚げカス収容篭の上面開放部の上方に、該上面開放部より若干広く形成した撹拌流制御屋根を配置すれば、足し油を食用油の容器から直接油層に注ぎ込んだ場合にも、その勢いによって、油槽内の油に撹拌流が発生し、揚げカスが油層内に拡散することを防止できる。従って、直後に調理した食材に黒カスが付着してしまうこともなくなった。
対流制御器を有するフライヤーの断面説明図 対流制御器の斜視図 同対流制御器の平面図 同対流制御器の正面断面図 揚げカス収容部に撹拌流制御屋根を設置した対流制御器を有するフライヤーの断面説明図 揚げカス収容部に撹拌流制御屋根を有する対流制御器の分解説明図 従来フライヤーでの調理中の油槽内の対流説明図 対流制御器を有するフライヤーでの調理中の油槽内対流説明図で、(A)は撹拌流制御屋根なしの場合を示し、(B)は撹拌流制御屋根ありの場合を示す。 従来のフライヤーへの足し油中の撹拌流の説明図 対流制御器を有するフライヤーへの足し油中の撹拌流の説明図で、(A)は撹拌流制御屋根なしの場合を示し、(B)は撹拌流制御屋根ありの場合を示す。
以下、本発明を実施するための形態につき実施例と共に説明する。
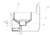
まず、図1を参照して、本発明の実施の形態に係るフライヤーの全体構造を説明する。
フライヤー1は、食品を揚げる油を貯留する油槽2と、油槽2を加熱する電磁誘導コイル3とを有する。これらは、本体ケーシング4内に収容されている。
油槽2は、図1に示されるように上面開口の直方体状の上部空間部20と、中心に向かって下方に傾斜した四角錐台状の傾斜底部22と、傾斜底部22の最下部(先の部分)に形成された、直方体状のカス溜め部21と、を有する。尚、本実施例で用いられる、油槽2は、従来より存在する油槽2であってよい。従って、各部の位置を明確にするため、各部の位置を図7及び図9においても示した。
上部空間部20は、ほぼ垂直な四面の側壁20aを有する。各側壁20aの上端は外方向に向かって折り返された折り返し部20bとなっている。この折り返し部20bが、本体ケーシング4の上面の開口の周囲に載置される。
傾斜底部22は、上部空間部20の各側壁20aの下端から連続して形成され、油槽2の中心に向かって下方向に傾斜した4枚の逆台形状の傾斜底面22aで構成される。傾斜底面22aの水平面に対する傾斜角度θは30〜40度が好ましい。実施例では30度に設定されている。尚、傾斜底面22aの外側下面には油槽2を加熱する電磁誘導コイル3が配設されている。即ち、外側に電磁誘導コイル3が配設された傾斜底面22aが、油槽2内の油を加熱する加熱面となる。
傾斜底部22の低い部分の先で、より低く掘りこめられた位置に、カス溜め部21が連設されている。カス溜め部21は、揚げカスDや食品カスを集める部位であり、傾斜底面22aの下端から連続して形成された下方に延びるほぼ垂直な側壁21aと、底壁21bとで構成され、底壁21bは図1中左方側に向かってやや下方に傾斜しており、底壁21bの最下部に形成された排油用の開口に排油管23が接続されている。
以上の油槽2の構造は、従来より公知の油槽であってよい。
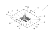
本実施例の特徴は、油槽2のカス溜め部21を、従来より深く(実施例では20cm深く)構成するとともに、図2乃至4に示されるように、該カス溜め部21に配置される揚げカス収容篭6と油槽2の傾斜底面22a上方に配置される対流制御板5とによりなる対流制御器7を設置したことである。尚、対流制御器7は、揚げカス収容篭6に収容された揚げカスを除去するため、対流制御器7を取り出すための取っ手50が対流制御板5の上端に取り付けている。
対流制御器7を構成する一方の要素である揚げカス収容篭6は、上端開口で周囲及び底面は油の通過はできるが揚げカスの通過は阻止される直方体の篭状のものである。
揚げカス収容篭6の大きさは、カス溜め部21に納まり、カス溜め部21の内壁との間に油の流れが確保できる間隔が確保されている上、図1に示されるように上端部61がカス溜め部21の上端21cより上方に至る高さを有する。揚げカス収容篭6の大きさは、揚げカス収容篭6が設置されるカス溜め部21の大きさにより決定される。実施例では、横125ミリメートル、縦96ミリメートル、深さ70ミリメートルの篭である。
実施例における揚げカス収容篭6では、周囲の側板及び底板に揚げカスの通過を遮る大きさの穴62が多数穿設されたパンチング板で形成されているが、これに限定されるものではない。実施例では、パンチング板の厚みは、1ミリメートル、穴62の大きさは直径1ミリメートルとしている。パンチング板の穴62の大きさについては、小さければ小さいほど、小さなカスが捕集できてよいが、実験の結果直径1ミリメートルであれば、フライ調理から発生する大体の揚げカスが捕集できているため、加工能力と調理能力を加味して、直径1ミリメートルを採用している。
対流制御器7を構成する他方の要素である対流制御板5は、図2及び図4に示されるように、揚げカス収容篭6の上面開口の上端部61の4辺に連続して接続され、該上端部61より上方外側に向かって逆台形状に広がる傾斜板である。
更に、対流制御板5は、傾斜が水平面に対して25度の角度で、揚げカス収容篭6の上端に連接したものである。実施例における油槽2の傾斜底面22aが30度の傾斜角を有していることによる。勿論、この角度に限定されるわけではない。
対流制御板5の上端部52は、加熱源である電磁誘導コイル3の設置上端とほぼ同じ高さ位置で、油槽2の側壁20aより13.4ミリメートル内側に離れた位置にくるように設計されている。
更に、図3及び図4に示されるように対流制御板5の上端部52の四隅には、傾斜底面22aと対流制御板5との間に対流空間Tを確保するための脚51が傾斜底面22aに向かって、8ミリメートルの長さで立ち下げ形成されている。対流空間Tの位置は、図1に示した。
対流空間T、即ち、対流制御板5と油槽2の傾斜底面22aとの間の幅は、カス溜め部21近くでは広く、上方に向かうほど狭くなっている。
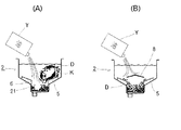
以下、油槽2内の揚げカスDの状態について説明する。対流制御器7を設置していない場合、図7に示すように、揚げカスDが多量に溜まると、揚げカスDが熱対流Nによって飛散することがある。また、油槽2の加熱面となる傾斜底面22aの付近の加熱された油は、上昇しカス溜め部21に落ちようとする揚げカスDを巻き上げてしまうこともあった。
対流制御器7を油槽2の底部のカス溜め部21に設置した場合、図8(A)に従って、油槽2内の揚げカスDの状態について説明する。傾斜底面22aが熱せられ、その付近の油が加熱されると、熱対流Nが生じる。熱対流Nは、一方向に循環するため、揚げカスDは揚げカス収容篭6により全て回収され、綺麗になった油のみが、穴62を通過し、対流空間Tを上昇し、対流制御板5と油槽2の内面との間から、油槽2の上部空間部20へと循環する。
このとき対流制御板5の内側にある油は、加熱面である傾斜底面22aから隔離されているため、熱影響は少なく上昇する熱対流Nは生じ難く、下方に向かう対流となり、油に含む揚げカスDを下方、即ち、揚げカス収納篭6へと誘導することが容易となる。この結果、油より揚げカスDの除去が効率的に行われることになる。尚、対流制御器7では、対流制御板5を揚げカス収容篭6に連設し、対流制御板5に取っ手50を取り付けてあるので、揚げカス収容篭6に集積された揚げカスDを対流制御器7ごと取り出すことができ、揚げカスDの廃棄処理が容易となった。
調理を継続し、足し油を必要とする場合、図9及び図10に示すように食用油の容器Yから直接油層に注ぎ込むことになる。この場合、図9に示すように従来からの油槽Y(対流制御板5を有しない油槽2)にあっては、足し油の勢いによって、油槽2内の油に撹拌流Kが発生し、底部のカス溜め部21に溜まった揚げカスDが油層2内に拡散してしまっていた。図10(A)に示されるように対流制御板5を有する場合でも、揚げカス収容篭6内のカス溜め部21に向かって直接足し油をしてしまうと揚げカスDの拡散を防ぐことはできなかった。
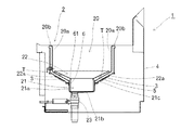
そこで、足し油時の揚げカスDの拡散を最小限にするため、揚げカス収容篭6の上部に撹拌流制御屋根8を配置した。
撹拌流制御屋根8は、図5に示すように揚げカス収容篭6の上方に位置する屋根板81と揚げカス収容篭6内に位置する支持脚82よりなる。図6に示すように、撹拌流制御屋根8は、いわゆる方形屋根の形状であり、背の低いピラミッドのような形をしており、寄棟屋根の一種である。鳥瞰すると四角形をした屋根の中心点から、4方向に傾斜する屋根板81で構成され、4つの屋根板81は横から見ると三角形になる。
撹拌制御屋根8は、足し油の流れが直接揚げカス収容篭6に向かうことを防止するため、揚げカス収容篭6の上端開口部より若干広い。屋根板81の傾斜角は水平面に対する傾斜角度θ15度から20度が好ましい。これにより、足し油で生じた流れは、揚げカス収容篭6から離れた方向への流れとなる。
支持脚82の高さは、油が揚げカス収容篭6に流れ込むことの障害とならない間隔を
屋根板81の下端部と対流制御板5との間に確保できる高さとなるよう設定される。尚、撹拌流制御屋根8は、図6に示されるように、対流制御器7の揚げカス収容篭6内に載置されているのみで取り外し可能である。
尚、揚げカス収容篭6に撹拌制御屋根8を載置した場合であれば、足し油の時以外の調理時にあっても、図8(B)に示されるように、揚げカス収容篭6の中央部に向かう熱対流(図8Aに示されている対流)を制御し、揚げカス収容篭6からの揚げカスDの拡散をより有効に防止することができる。
1・・・・・・・・・・フライヤー
2・・・・・・・・・・油槽
3・・・・・・・・・・電磁誘導コイル
4・・・・・・・・・・本体ケーシング
5・・・・・・・・・・対流制御板
6・・・・・・・・・・揚げカス収容篭
7・・・・・・・・・・対流制御器
8・・・・・・・・・・撹拌流制御屋根
20・・・・・・・・・上部空間部
20a・・・・・・・・側壁
20b・・・・・・・・折り返し部
21・・・・・・・・・カス溜め部
21a・・・・・・・・側壁
21b・・・・・・・・底壁
21c・・・・・・・・上端
22・・・・・・・・・傾斜底部
22a・・・・・・・・傾斜底面
23・・・・・・・・・排油管
50・・・・・・・・・取っ手
51・・・・・・・・・脚
52、61・・・・・・上端部
62・・・・・・・・・穴
81・・・・・・・・・屋根板
82・・・・・・・・・支持脚
D・・・・・・・・・・揚げカス
E・・・・・・・・・・食材
K・・・・・・・・・・撹拌流
N・・・・・・・・・・熱対流
T・・・・・・・・・・対流空間
Y・・・・・・・・・・容器

Claims (3)

  1. 食品を揚げる油を貯留する油槽が、油槽内部に中央に向かって低くなる傾斜底面を有し、該傾斜底面の低い部分の先により低く掘りこめられたカス溜め部を有し、該油槽の外側より油槽を加熱する電磁誘導コイルが配設されているIH加熱式のフライヤーにおいて、
    上面開放で周囲は油の通過はできるが揚げカスの通過は阻止される揚げカス収容篭を前記カス溜め部に配置し、
    前記電磁誘導コイルが配設されている油槽の内側の加熱面に配置され、該加熱面で発生する油の対流を制御し、該油の対流を油槽内調理部より離れた油槽内の周縁付近へと導く対流制御板を前記揚げカス収容篭に連設した
    ことを特徴とするフライヤー。
  2. 食品を揚げる油を貯留する油槽が、油槽内部に中央に向かって低くなる傾斜底面を有し、該傾斜底面の低い部分の先により低く掘りこめられたカス溜め部を有し、該傾斜底面の外側下面に油槽を加熱する電磁誘導コイルが配設されているIH加熱式のフライヤーにおいて、
    上面開放で周囲は揚げカスの通過を遮る大きさの穴が多数穿設された揚げカス収容篭を前記カス溜め部に配置し、
    前記傾斜底面の加熱面に配置され、該傾斜底面の加熱面で発生する油の対流を制御し、該油の対流を油槽内調理部より離れた油槽内の周縁付近へと導く対流制御板を前記揚げカス収容篭に連設した
    ことを特徴とするフライヤー。
  3. 上記揚げカス収容篭の上面開放部の上方に、該上面開放部より若干広く形成した撹拌流制御屋根を配置したことを特徴とする請求項1及び2記載のフライヤー。
JP2016086307A 2016-04-22 2016-04-22 フライヤー Active JP6781420B2 (ja)

Priority Applications (1)

Application Number Priority Date Filing Date Title
JP2016086307A JP6781420B2 (ja) 2016-04-22 2016-04-22 フライヤー

Applications Claiming Priority (1)

Application Number Priority Date Filing Date Title
JP2016086307A JP6781420B2 (ja) 2016-04-22 2016-04-22 フライヤー

Publications (2)

Publication Number Publication Date
JP2017192650A true JP2017192650A (ja) 2017-10-26
JP6781420B2 JP6781420B2 (ja) 2020-11-04

Family

ID=60154275

Family Applications (1)

Application Number Title Priority Date Filing Date
JP2016086307A Active JP6781420B2 (ja) 2016-04-22 2016-04-22 フライヤー

Country Status (1)

Country Link
JP (1) JP6781420B2 (ja)

Cited By (3)

* Cited by examiner, † Cited by third party
Publication number Priority date Publication date Assignee Title
CN110833078A (zh) * 2018-08-16 2020-02-25 山东瑞海自动化科技有限公司 一种自清洗全自动真空油炸锅
CN113163986A (zh) * 2018-11-28 2021-07-23 酷傅兰雅株式会社 油炸器
JP2022067034A (ja) * 2020-10-19 2022-05-02 株式会社マルゼン 自動フライヤー

Citations (5)

* Cited by examiner, † Cited by third party
Publication number Priority date Publication date Assignee Title
JPS49143480U (ja) * 1973-04-13 1974-12-11
JPS5930086B2 (ja) * 1979-03-06 1984-07-25 俊治 上村 フライヤ−
JPH07184792A (ja) * 1993-12-28 1995-07-25 Tiger Vacuum Bottle Co Ltd 電気揚げ物器
JPH11197029A (ja) * 1998-01-16 1999-07-27 Paloma Ind Ltd フライヤー
JP5436463B2 (ja) * 2011-01-07 2014-03-05 株式会社マルゼン フライヤー

Patent Citations (5)

* Cited by examiner, † Cited by third party
Publication number Priority date Publication date Assignee Title
JPS49143480U (ja) * 1973-04-13 1974-12-11
JPS5930086B2 (ja) * 1979-03-06 1984-07-25 俊治 上村 フライヤ−
JPH07184792A (ja) * 1993-12-28 1995-07-25 Tiger Vacuum Bottle Co Ltd 電気揚げ物器
JPH11197029A (ja) * 1998-01-16 1999-07-27 Paloma Ind Ltd フライヤー
JP5436463B2 (ja) * 2011-01-07 2014-03-05 株式会社マルゼン フライヤー

Cited By (4)

* Cited by examiner, † Cited by third party
Publication number Priority date Publication date Assignee Title
CN110833078A (zh) * 2018-08-16 2020-02-25 山东瑞海自动化科技有限公司 一种自清洗全自动真空油炸锅
CN113163986A (zh) * 2018-11-28 2021-07-23 酷傅兰雅株式会社 油炸器
JP2022067034A (ja) * 2020-10-19 2022-05-02 株式会社マルゼン 自動フライヤー
JP7499709B2 (ja) 2020-10-19 2024-06-14 株式会社マルゼン 自動フライヤー

Also Published As

Publication number Publication date
JP6781420B2 (ja) 2020-11-04

Similar Documents

Publication Publication Date Title
RU2693865C2 (ru) Вставка для устройства для жарки на основе воздуха, устройство, содержащее такую вставку
RU2678373C1 (ru) Воздухонаправляющий компонент в аэрогриле
CA2484213C (en) Method and steaming oven and collector plate
KR102381053B1 (ko) 에어프라이어
JP2017192650A (ja) フライヤー
US8642929B2 (en) Method and steaming oven and collector plate
CN113163986B (zh) 油炸器
JPH11197029A (ja) フライヤー
KR20050002675A (ko) 전기구이기의 가열체구조
JP2002065475A (ja) フライヤー
KR101297203B1 (ko) 직화구이기
JP2009189402A (ja) 調理装置
KR200306125Y1 (ko) 구이용 불판
KR20080075364A (ko) 생선구이용 내부 투시 프라이팬
JP2001137131A (ja) 調理用鍋
JP2010246629A (ja) 調理器具用蓋
JP2001275847A (ja) ホットプレート
JP2001061671A (ja) ホットプレート
JP5207762B2 (ja) 調理装置
JP3216930U (ja) 油水槽フライヤー装置
JP2024051669A (ja) 調理器
CN216876031U (zh) 炸桶组件以及具有该炸桶组件的空气炸锅
KR200337318Y1 (ko) 육류 구이판
JP2009268619A (ja) 無煙ロースター用整流リング
KR101134531B1 (ko) 튀김장치

Legal Events

Date Code Title Description
A621 Written request for application examination

Free format text: JAPANESE INTERMEDIATE CODE: A621

Effective date: 20190419

A977 Report on retrieval

Free format text: JAPANESE INTERMEDIATE CODE: A971007

Effective date: 20200123

A131 Notification of reasons for refusal

Free format text: JAPANESE INTERMEDIATE CODE: A131

Effective date: 20200303

A521 Request for written amendment filed

Free format text: JAPANESE INTERMEDIATE CODE: A523

Effective date: 20200424

TRDD Decision of grant or rejection written
A01 Written decision to grant a patent or to grant a registration (utility model)

Free format text: JAPANESE INTERMEDIATE CODE: A01

Effective date: 20200915

A61 First payment of annual fees (during grant procedure)

Free format text: JAPANESE INTERMEDIATE CODE: A61

Effective date: 20201002

R150 Certificate of patent or registration of utility model

Ref document number: 6781420

Country of ref document: JP

Free format text: JAPANESE INTERMEDIATE CODE: R150

R250 Receipt of annual fees

Free format text: JAPANESE INTERMEDIATE CODE: R250

R250 Receipt of annual fees

Free format text: JAPANESE INTERMEDIATE CODE: R250

R250 Receipt of annual fees

Free format text: JAPANESE INTERMEDIATE CODE: R250