JP2016104635A - 包装袋 - Google Patents
包装袋 Download PDFInfo
- Publication number
- JP2016104635A JP2016104635A JP2014242783A JP2014242783A JP2016104635A JP 2016104635 A JP2016104635 A JP 2016104635A JP 2014242783 A JP2014242783 A JP 2014242783A JP 2014242783 A JP2014242783 A JP 2014242783A JP 2016104635 A JP2016104635 A JP 2016104635A
- Authority
- JP
- Japan
- Prior art keywords
- cut line
- film
- packaging bag
- cut
- layer
- Prior art date
- Legal status (The legal status is an assumption and is not a legal conclusion. Google has not performed a legal analysis and makes no representation as to the accuracy of the status listed.)
- Granted
Links
Images
Landscapes
- Bag Frames (AREA)
Abstract
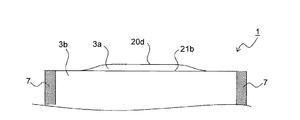
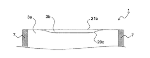
【解決手段】包装袋1を構成する表面側フィルム3aおよび裏面側フィルム3bは、外層12と、バリア層13と、中間層14と、熱接着性樹脂層からなる内層15とを積層したものである。包装袋1の両端の側部シール部7には開封用ノッチ10が設けられており、表面側フィルム3aと裏面側フィルム3bの外層には、それぞれ第1切目線20、第2切目線21が形成されている。中間層14は、開封方向の伝播抵抗値が40mN以上75mN以下の延伸フィルムである。
【選択図】図1
Description
[比較例1]
[比較例2]
[比較例3]
[比較例4]
[試験例]
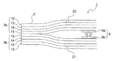
2 底部
3a 表面側フィルム(第1フィルム)
3b 裏面側フィルム(第2フィルム)
3c 底面フィルム
5 ガゼット部
6 底部シール部
7 側部シール部
8 収納部
9 開閉用チャック(咬合具)
10 開封用ノッチ(開封開始手段)
11 上部シール部
12 外層
13 バリア層
14 中間層
15 内層
20 第1切目線
20a 収斂状切目線(第1切目線)
20b 直線状切目線(第1切目線)
20c 下側切目線(第1切目線)
20d 上側切目線(第1切目線)
21 第2切目線
21a 収斂状切目線(第2切目線)
21b 直線状切目線(第2切目線)
21c 下側切目線(第2切目線)
21d 上側切目線(第2切目線)
Claims (10)
- 外層と、バリア層と、中間層と、熱接着性樹脂からなる内層と、を少なくとも有する第1フィルムおよび第2フィルムの前記内層同士を重ね合わせて形成され、左右両側の端縁部を閉鎖する一対の側部シール部と、底部の端縁部を閉鎖する底部シール部と、前記側部シール部および前記底部シール部で囲まれた内容物が封入される収納部と、を備え、前記底部シール部と対向する上部の端縁部には、内容物を充填する際に充填口として使用し、内容物の充填後にヒートシールして内容物を封入するための未シール状態の開口部を備える包装袋であって、
前記側部シール部の前記開口部近傍に形成される開封開始手段と、
該開封開始手段に隣接して前記収納部を横断するように前記第1フィルムの前記外層に形成される第1切目線および前記第2フィルムの前記外層に形成される第2切目線と、
を有し、
前記中間層は、前記第1切目線および前記第2切目線による開封方向の引裂伝播抵抗値が40mN以上75mN以下の延伸フィルムで形成されることを特徴とする包装袋。 - 前記第1フィルムの外層に、一方の前記側部シール部の外縁よりも内側に後退した位置を起点とし、該起点と前記側部シール部に平行する上下方向の位置を同じくする他方の前記側部シール部の外縁よりも内側に後退した位置を終点として連続する前記第1切目線を形成し、
前記第2フィルムの外層に、一方の前記側部シール部の外縁よりも内側に後退した位置を起点とし、該起点と前記側部シール部に平行する上下方向の位置を同じくする他方の前記側部シール部の外縁よりも内側に後退した位置を終点として連続する前記第2切目線を形成し、
前記第1切目線と前記第2切目線の前記起点および前記終点の上下方向の位置を略同じにするとともに、前記起点から前記終点までの軌跡を異なるものとすることで、前記第1切目線と前記第2切目線に沿って包装袋の上端側を前記左右の側部シール部に直交する方向に破断して開口部を形成する際に、前記第1フィルムおよび前記第2フィルムの一方の切断面の外縁と他方の切断面の外縁とに段差を生じさせることを特徴とする請求項1に記載の包装袋。 - 前記第1切目線は、前記包装袋の下端側に膨らむ下側切目線と上端側に膨らむ上側切目線とに分岐しており、前記第2切目線は、前記下側切目線と前記上側切目線との間に位置する直線状であることを特徴とする請求項2に記載の包装袋。
- 前記第1切目線および前記第2切目線は、前記包装袋の下端側に膨らむ下側切目線と上端側に膨らむ上側切目線とに分岐しており、それぞれ複数対の前記下側切目線と前記上側切目線を有することを特徴とする請求項2に記載の包装袋。
- 前記第1フィルムの外層に、一方の前記側部シール部の外縁よりも内側に後退した位置を起点とし、該起点と前記側部シール部に平行する上下方向の位置を同じくする他方の前記側部シール部の外縁よりも内側に後退した位置を終点として連続する直線状の前記第1切目線を形成し、
前記第2フィルムの外層に、一方の前記側部シール部の外縁よりも内側に後退した位置を起点とし、該起点と前記側部シール部に平行する上下方向の位置を同じくする他方の前記側部シール部の外縁よりも内側に後退した位置を終点として連続する直線状の前記第2切目線を形成したことを特徴とする請求項1に記載の包装袋。 - 前記第1切目線および前記第2切目線は、炭酸ガスレーザー照射により形成されることを特徴とする請求項1乃至請求項5のいずれかに記載の包装袋。
- 前記第1切目線および前記第2切目線は、カッターを用いて物理的に形成されることを特徴とする請求項1又は請求項5に記載の包装袋。
- 前記第1切目線および前記第2切目線は、左右の前記側部シール部の外縁よりも内側に後退した2箇所から前記側部シール部の内縁に向かう方向に進行して前記側部シール部の内縁よりも外側で収斂し、前記直線状切目線に連続する一対の収斂状切目線を有することを特徴とする請求項1乃至請求項7のいずれかに記載の包装袋。
- 前記第1フィルムおよび前記第2フィルムの内面には、前記第1切目線および前記第2切目線よりも下端側の対向する位置に、相互に咬合し合う凸条の雄部材と凹条の雌部材とからなる合成樹脂製の咬合具が設けられており、
前記雄部材と前記雌部材とを咬合することで再封止機能を備えることを特徴とする請求項1乃至請求項8のいずれかに記載の包装袋。 - 前記包装袋は、前記外層と前記内層とを少なくとも有する底面フィルムを、前記内層を外向きにして中央で山折りし、前記第1フィルムと前記第2フィルムの前記内層と前記底面フィルムの前記内層とが対向するように前記第1フィルムと前記第2フィルムの下端部に挿入し、前記第1フィルムおよび前記第2フィルムの前記内層と前記底面フィルムの前記内層とを前記底面フィルムの周縁部にてヒートシールして前記底部シール部を形成し、前記底部シール部より上側に位置する前記第1フィルムと前記第2フィルムの内層同士を重ね合わせて、左右両側の端縁部を閉鎖する一対の前記側部シール部を形成してなる自立性袋用途の包装袋であることを特徴とする請求項1乃至請求項9のいずれかに記載の包装袋。
Priority Applications (1)
| Application Number | Priority Date | Filing Date | Title |
|---|---|---|---|
| JP2014242783A JP6439411B2 (ja) | 2014-12-01 | 2014-12-01 | 包装袋 |
Applications Claiming Priority (1)
| Application Number | Priority Date | Filing Date | Title |
|---|---|---|---|
| JP2014242783A JP6439411B2 (ja) | 2014-12-01 | 2014-12-01 | 包装袋 |
Publications (2)
| Publication Number | Publication Date |
|---|---|
| JP2016104635A true JP2016104635A (ja) | 2016-06-09 |
| JP6439411B2 JP6439411B2 (ja) | 2018-12-19 |
Family
ID=56102665
Family Applications (1)
| Application Number | Title | Priority Date | Filing Date |
|---|---|---|---|
| JP2014242783A Active JP6439411B2 (ja) | 2014-12-01 | 2014-12-01 | 包装袋 |
Country Status (1)
| Country | Link |
|---|---|
| JP (1) | JP6439411B2 (ja) |
Cited By (2)
| Publication number | Priority date | Publication date | Assignee | Title |
|---|---|---|---|---|
| JP2020083356A (ja) * | 2018-11-21 | 2020-06-04 | 大日本印刷株式会社 | パウチ |
| WO2021030929A1 (zh) * | 2019-08-16 | 2021-02-25 | 山东碧海机械科技有限公司 | 一种用于制造液体包装容器的坯料及其包装容器 |
Citations (5)
| Publication number | Priority date | Publication date | Assignee | Title |
|---|---|---|---|---|
| JPS6394167U (ja) * | 1986-12-10 | 1988-06-17 | ||
| JP2001240074A (ja) * | 2000-02-29 | 2001-09-04 | Teikoku Seiyaku Co Ltd | 外用貼付剤用の包装袋 |
| JP2005289396A (ja) * | 2004-03-31 | 2005-10-20 | Dainippon Printing Co Ltd | 包装袋 |
| JP2013216334A (ja) * | 2012-04-05 | 2013-10-24 | Dainippon Printing Co Ltd | 包装袋 |
| JP2014046985A (ja) * | 2012-09-04 | 2014-03-17 | Toppan Printing Co Ltd | 包装袋 |
-
2014
- 2014-12-01 JP JP2014242783A patent/JP6439411B2/ja active Active
Patent Citations (5)
| Publication number | Priority date | Publication date | Assignee | Title |
|---|---|---|---|---|
| JPS6394167U (ja) * | 1986-12-10 | 1988-06-17 | ||
| JP2001240074A (ja) * | 2000-02-29 | 2001-09-04 | Teikoku Seiyaku Co Ltd | 外用貼付剤用の包装袋 |
| JP2005289396A (ja) * | 2004-03-31 | 2005-10-20 | Dainippon Printing Co Ltd | 包装袋 |
| JP2013216334A (ja) * | 2012-04-05 | 2013-10-24 | Dainippon Printing Co Ltd | 包装袋 |
| JP2014046985A (ja) * | 2012-09-04 | 2014-03-17 | Toppan Printing Co Ltd | 包装袋 |
Cited By (2)
| Publication number | Priority date | Publication date | Assignee | Title |
|---|---|---|---|---|
| JP2020083356A (ja) * | 2018-11-21 | 2020-06-04 | 大日本印刷株式会社 | パウチ |
| WO2021030929A1 (zh) * | 2019-08-16 | 2021-02-25 | 山东碧海机械科技有限公司 | 一种用于制造液体包装容器的坯料及其包装容器 |
Also Published As
| Publication number | Publication date |
|---|---|
| JP6439411B2 (ja) | 2018-12-19 |
Similar Documents
| Publication | Publication Date | Title |
|---|---|---|
| JP6346504B2 (ja) | 包装袋 | |
| JP5007742B2 (ja) | 易壊性シールを備えた複室パウチ | |
| US8827557B2 (en) | Gusseted bag with easy-open lap seal | |
| JP5998425B2 (ja) | 包装袋及びその製造方法 | |
| JP2013018230A (ja) | 積層体および包装袋 | |
| JP6790527B2 (ja) | 包装体 | |
| EP2414256A1 (en) | Polymeric packages | |
| JP5659824B2 (ja) | 包装袋 | |
| JP6439411B2 (ja) | 包装袋 | |
| JP6069975B2 (ja) | 包装袋およびその製造方法 | |
| JP3622465B2 (ja) | 分岐した小室を設けたパウチ | |
| JP2019147568A (ja) | 包装袋 | |
| JP6154335B2 (ja) | 包装袋 | |
| JP2014166881A (ja) | 包装袋 | |
| JP2019218103A (ja) | パウチおよびその製造方法 | |
| JP2019218066A (ja) | ピロー包装袋 | |
| JP2009132444A (ja) | 包装容器 | |
| JP2014166882A (ja) | 包装袋 | |
| JP2016108004A (ja) | 包装体 | |
| JP2019147565A (ja) | ピローパウチ | |
| JP4449964B2 (ja) | 分岐した小室を設けたスタンディングパウチ | |
| JP4079123B2 (ja) | 分岐した小室を設けたパウチ | |
| JP2019147579A (ja) | 包装袋 | |
| JP2021095160A (ja) | ピロー包装袋 | |
| JP7153219B2 (ja) | 袋 |
Legal Events
| Date | Code | Title | Description |
|---|---|---|---|
| A621 | Written request for application examination |
Free format text: JAPANESE INTERMEDIATE CODE: A621 Effective date: 20171030 |
|
| A977 | Report on retrieval |
Free format text: JAPANESE INTERMEDIATE CODE: A971007 Effective date: 20180704 |
|
| A131 | Notification of reasons for refusal |
Free format text: JAPANESE INTERMEDIATE CODE: A131 Effective date: 20180717 |
|
| A521 | Request for written amendment filed |
Free format text: JAPANESE INTERMEDIATE CODE: A523 Effective date: 20180911 |
|
| TRDD | Decision of grant or rejection written | ||
| A01 | Written decision to grant a patent or to grant a registration (utility model) |
Free format text: JAPANESE INTERMEDIATE CODE: A01 Effective date: 20181023 |
|
| A61 | First payment of annual fees (during grant procedure) |
Free format text: JAPANESE INTERMEDIATE CODE: A61 Effective date: 20181105 |
|
| R150 | Certificate of patent or registration of utility model |
Ref document number: 6439411 Country of ref document: JP Free format text: JAPANESE INTERMEDIATE CODE: R150 |
