JP2013540887A - Cmas耐性遮熱コーティング層を含む遮熱コーティング - Google Patents

Cmas耐性遮熱コーティング層を含む遮熱コーティング Download PDF

Info

Publication number
JP2013540887A
JP2013540887A JP2013520810A JP2013520810A JP2013540887A JP 2013540887 A JP2013540887 A JP 2013540887A JP 2013520810 A JP2013520810 A JP 2013520810A JP 2013520810 A JP2013520810 A JP 2013520810A JP 2013540887 A JP2013540887 A JP 2013540887A
Authority
JP
Japan
Prior art keywords
tbc
layer
cmas
mol
resistant
Prior art date
Legal status (The legal status is an assumption and is not a legal conclusion. Google has not performed a legal analysis and makes no representation as to the accuracy of the status listed.)
Granted
Application number
JP2013520810A
Other languages
English (en)
Other versions
JP5620577B2 (ja
Inventor
リー、カン、エヌ.
Original Assignee
ロールス−ロイス コーポレイション
Priority date (The priority date is an assumption and is not a legal conclusion. Google has not performed a legal analysis and makes no representation as to the accuracy of the date listed.)
Filing date
Publication date
Application filed by ロールス−ロイス コーポレイション filed Critical ロールス−ロイス コーポレイション
Publication of JP2013540887A publication Critical patent/JP2013540887A/ja
Application granted granted Critical
Publication of JP5620577B2 publication Critical patent/JP5620577B2/ja
Expired - Fee Related legal-status Critical Current
Anticipated expiration legal-status Critical

Links

Images

Classifications

    • FMECHANICAL ENGINEERING; LIGHTING; HEATING; WEAPONS; BLASTING
    • F01MACHINES OR ENGINES IN GENERAL; ENGINE PLANTS IN GENERAL; STEAM ENGINES
    • F01DNON-POSITIVE DISPLACEMENT MACHINES OR ENGINES, e.g. STEAM TURBINES
    • F01D5/00Blades; Blade-carrying members; Heating, heat-insulating, cooling or antivibration means on the blades or the members
    • F01D5/12Blades
    • F01D5/28Selecting particular materials; Particular measures relating thereto; Measures against erosion or corrosion
    • F01D5/284Selection of ceramic materials
    • CCHEMISTRY; METALLURGY
    • C09DYES; PAINTS; POLISHES; NATURAL RESINS; ADHESIVES; COMPOSITIONS NOT OTHERWISE PROVIDED FOR; APPLICATIONS OF MATERIALS NOT OTHERWISE PROVIDED FOR
    • C09DCOATING COMPOSITIONS, e.g. PAINTS, VARNISHES OR LACQUERS; FILLING PASTES; CHEMICAL PAINT OR INK REMOVERS; INKS; CORRECTING FLUIDS; WOODSTAINS; PASTES OR SOLIDS FOR COLOURING OR PRINTING; USE OF MATERIALS THEREFOR
    • C09D1/00Coating compositions, e.g. paints, varnishes or lacquers, based on inorganic substances
    • C09D1/02Coating compositions, e.g. paints, varnishes or lacquers, based on inorganic substances alkali metal silicates
    • CCHEMISTRY; METALLURGY
    • C23COATING METALLIC MATERIAL; COATING MATERIAL WITH METALLIC MATERIAL; CHEMICAL SURFACE TREATMENT; DIFFUSION TREATMENT OF METALLIC MATERIAL; COATING BY VACUUM EVAPORATION, BY SPUTTERING, BY ION IMPLANTATION OR BY CHEMICAL VAPOUR DEPOSITION, IN GENERAL; INHIBITING CORROSION OF METALLIC MATERIAL OR INCRUSTATION IN GENERAL
    • C23CCOATING METALLIC MATERIAL; COATING MATERIAL WITH METALLIC MATERIAL; SURFACE TREATMENT OF METALLIC MATERIAL BY DIFFUSION INTO THE SURFACE, BY CHEMICAL CONVERSION OR SUBSTITUTION; COATING BY VACUUM EVAPORATION, BY SPUTTERING, BY ION IMPLANTATION OR BY CHEMICAL VAPOUR DEPOSITION, IN GENERAL
    • C23C28/00Coating for obtaining at least two superposed coatings either by methods not provided for in a single one of groups C23C2/00 - C23C26/00 or by combinations of methods provided for in subclasses C23C and C25C or C25D
    • C23C28/04Coating for obtaining at least two superposed coatings either by methods not provided for in a single one of groups C23C2/00 - C23C26/00 or by combinations of methods provided for in subclasses C23C and C25C or C25D only coatings of inorganic non-metallic material
    • C23C28/042Coating for obtaining at least two superposed coatings either by methods not provided for in a single one of groups C23C2/00 - C23C26/00 or by combinations of methods provided for in subclasses C23C and C25C or C25D only coatings of inorganic non-metallic material including a refractory ceramic layer, e.g. refractory metal oxides, ZrO2, rare earth oxides
    • CCHEMISTRY; METALLURGY
    • C23COATING METALLIC MATERIAL; COATING MATERIAL WITH METALLIC MATERIAL; CHEMICAL SURFACE TREATMENT; DIFFUSION TREATMENT OF METALLIC MATERIAL; COATING BY VACUUM EVAPORATION, BY SPUTTERING, BY ION IMPLANTATION OR BY CHEMICAL VAPOUR DEPOSITION, IN GENERAL; INHIBITING CORROSION OF METALLIC MATERIAL OR INCRUSTATION IN GENERAL
    • C23CCOATING METALLIC MATERIAL; COATING MATERIAL WITH METALLIC MATERIAL; SURFACE TREATMENT OF METALLIC MATERIAL BY DIFFUSION INTO THE SURFACE, BY CHEMICAL CONVERSION OR SUBSTITUTION; COATING BY VACUUM EVAPORATION, BY SPUTTERING, BY ION IMPLANTATION OR BY CHEMICAL VAPOUR DEPOSITION, IN GENERAL
    • C23C28/00Coating for obtaining at least two superposed coatings either by methods not provided for in a single one of groups C23C2/00 - C23C26/00 or by combinations of methods provided for in subclasses C23C and C25C or C25D
    • C23C28/04Coating for obtaining at least two superposed coatings either by methods not provided for in a single one of groups C23C2/00 - C23C26/00 or by combinations of methods provided for in subclasses C23C and C25C or C25D only coatings of inorganic non-metallic material
    • C23C28/048Coating for obtaining at least two superposed coatings either by methods not provided for in a single one of groups C23C2/00 - C23C26/00 or by combinations of methods provided for in subclasses C23C and C25C or C25D only coatings of inorganic non-metallic material with layers graded in composition or physical properties
    • FMECHANICAL ENGINEERING; LIGHTING; HEATING; WEAPONS; BLASTING
    • F01MACHINES OR ENGINES IN GENERAL; ENGINE PLANTS IN GENERAL; STEAM ENGINES
    • F01DNON-POSITIVE DISPLACEMENT MACHINES OR ENGINES, e.g. STEAM TURBINES
    • F01D5/00Blades; Blade-carrying members; Heating, heat-insulating, cooling or antivibration means on the blades or the members
    • F01D5/12Blades
    • F01D5/28Selecting particular materials; Particular measures relating thereto; Measures against erosion or corrosion
    • F01D5/288Protective coatings for blades
    • YGENERAL TAGGING OF NEW TECHNOLOGICAL DEVELOPMENTS; GENERAL TAGGING OF CROSS-SECTIONAL TECHNOLOGIES SPANNING OVER SEVERAL SECTIONS OF THE IPC; TECHNICAL SUBJECTS COVERED BY FORMER USPC CROSS-REFERENCE ART COLLECTIONS [XRACs] AND DIGESTS
    • Y02TECHNOLOGIES OR APPLICATIONS FOR MITIGATION OR ADAPTATION AGAINST CLIMATE CHANGE
    • Y02TCLIMATE CHANGE MITIGATION TECHNOLOGIES RELATED TO TRANSPORTATION
    • Y02T50/00Aeronautics or air transport
    • Y02T50/60Efficient propulsion technologies, e.g. for aircraft
    • YGENERAL TAGGING OF NEW TECHNOLOGICAL DEVELOPMENTS; GENERAL TAGGING OF CROSS-SECTIONAL TECHNOLOGIES SPANNING OVER SEVERAL SECTIONS OF THE IPC; TECHNICAL SUBJECTS COVERED BY FORMER USPC CROSS-REFERENCE ART COLLECTIONS [XRACs] AND DIGESTS
    • Y10TECHNICAL SUBJECTS COVERED BY FORMER USPC
    • Y10TTECHNICAL SUBJECTS COVERED BY FORMER US CLASSIFICATION
    • Y10T428/00Stock material or miscellaneous articles
    • Y10T428/12All metal or with adjacent metals
    • Y10T428/12493Composite; i.e., plural, adjacent, spatially distinct metal components [e.g., layers, joint, etc.]
    • Y10T428/12535Composite; i.e., plural, adjacent, spatially distinct metal components [e.g., layers, joint, etc.] with additional, spatially distinct nonmetal component
    • Y10T428/12542More than one such component
    • Y10T428/12549Adjacent to each other
    • YGENERAL TAGGING OF NEW TECHNOLOGICAL DEVELOPMENTS; GENERAL TAGGING OF CROSS-SECTIONAL TECHNOLOGIES SPANNING OVER SEVERAL SECTIONS OF THE IPC; TECHNICAL SUBJECTS COVERED BY FORMER USPC CROSS-REFERENCE ART COLLECTIONS [XRACs] AND DIGESTS
    • Y10TECHNICAL SUBJECTS COVERED BY FORMER USPC
    • Y10TTECHNICAL SUBJECTS COVERED BY FORMER US CLASSIFICATION
    • Y10T428/00Stock material or miscellaneous articles
    • Y10T428/24Structurally defined web or sheet [e.g., overall dimension, etc.]
    • Y10T428/24942Structurally defined web or sheet [e.g., overall dimension, etc.] including components having same physical characteristic in differing degree
    • Y10T428/2495Thickness [relative or absolute]
    • Y10T428/24967Absolute thicknesses specified
    • YGENERAL TAGGING OF NEW TECHNOLOGICAL DEVELOPMENTS; GENERAL TAGGING OF CROSS-SECTIONAL TECHNOLOGIES SPANNING OVER SEVERAL SECTIONS OF THE IPC; TECHNICAL SUBJECTS COVERED BY FORMER USPC CROSS-REFERENCE ART COLLECTIONS [XRACs] AND DIGESTS
    • Y10TECHNICAL SUBJECTS COVERED BY FORMER USPC
    • Y10TTECHNICAL SUBJECTS COVERED BY FORMER US CLASSIFICATION
    • Y10T428/00Stock material or miscellaneous articles
    • Y10T428/26Web or sheet containing structurally defined element or component, the element or component having a specified physical dimension

Landscapes

  • Chemical & Material Sciences (AREA)
  • Engineering & Computer Science (AREA)
  • Materials Engineering (AREA)
  • Mechanical Engineering (AREA)
  • Inorganic Chemistry (AREA)
  • Organic Chemistry (AREA)
  • General Engineering & Computer Science (AREA)
  • Ceramic Engineering (AREA)
  • Chemical Kinetics & Catalysis (AREA)
  • Metallurgy (AREA)
  • Life Sciences & Earth Sciences (AREA)
  • Wood Science & Technology (AREA)
  • Turbine Rotor Nozzle Sealing (AREA)
  • Other Surface Treatments For Metallic Materials (AREA)
  • Laminated Bodies (AREA)
  • Paints Or Removers (AREA)
  • Coating By Spraying Or Casting (AREA)

Abstract

物品は、超合金基材、及び該超合金基材の上に重なるカルシア−マグネシア−アルミナ−シリケート(CMAS)耐性遮熱コーティング(TBC)層を含むことができる。一部の実施形態において、CMAS耐性TBC層は、約50wt%〜約90wt%のTBC組成物、及び約10wt%〜約50wt%のCMAS耐性組成物を含む。一部の例において、TBC組成物は、イットリア安定化ジルコニア、イットリア安定化ハフニア、少なくとも3つの希土類酸化物で安定化されたジルコニア、又は少なくとも3つの希土類酸化物で安定化されたハフニアの中の少なくとも1つを含む。一部の例において、CMAS耐性組成物は、アルミナと、シリカと、Sc、Y、La、Ce、Pr、Nd、Pm、Sm、Eu、Gd、Yb、Dy、Ho、Er、Tm、Tb又はLuの中の少なくとも1つの酸化物とを含む。

Description

本開示は、高温の機械システム用の遮熱コーティングに関する。
例えば、ガスタービンエンジンなどの高温の機械システムの部品は、過酷な環境中で稼動しなければならない。例えば、市販航空エンジン中で高温気体に暴露される高圧タービンの動翼及び固定翼は、典型的には、約1000℃の金属表面温度に、短期的ピークでは1100℃もの高さになる。高温の機械システムの典型的な部品は、Ni又はCoをベースにした超合金基材を含む。基材が受ける温度を低下させるために、該基材を遮熱コーティング(TBC)で被覆することができる。遮熱コーティングは、その下にある金属結合層によって基材に結合される断熱性セラミックのトップコートを含むことができる。TBCは、通常、エアープラズマ噴霧又は電子ビーム物理蒸着のいずれかによって塗布され、多くは、イットリア安定化ジルコニア(YSZ)からなる厚さが約100〜500μmの層である。YSZの特性としては、低い熱伝導率、高い酸素透過性、及び比較的大きな熱膨張係数が挙げられる。YSZのTBCも、典型的には、多数の細孔及び/又は通路を含む構造を堆積させることによって、「歪み耐性」になり、且つ熱伝導性がさらに低下する。
経済的及び環境的関心、すなわち、効率の向上及び放出の低減に関する要望が、より高い入口温度を有する高度なガスタービンエンジン開発を推進させ続けている。タービン入口温度が上昇し続けているので、温度安定性の向上したTBCが要求されている。
一般に、本開示は、少なくとも1種のCMAS耐性TBC層を含む遮熱コーティング(TBC)を対象とする。CMASは、ガスタービンエンジンの空気の取入れに付随する、シリカ系鉱物(塵、砂、火山灰、滑走路屑など)の吸込みに由来するカルシア−マグネシア−アルミナ−シリケートの堆積物である。
CMAS耐性TBC層は、CMAS耐性組成物と組み合わせたTBC組成物を含むことができる。一部の実施形態において、TBC組成物は、イットリア安定化ジルコニア、イットリア安定化ハフニア、少なくとも3つの希土類酸化物で安定化されたジルコニア、及び少なくとも3つの希土類酸化物で安定化されたハフニアの中の少なくとも1つを含むことができる。CMAS耐性組成物は、アルミナ、シリカ、及び少なくとも1つの希土類酸化物を含むことができる。付加的に又は代わりに、CMAS耐性TBC層は、酸化タンタル(Ta)、二酸化チタン(TiO)、ケイ酸ハフニウム(HfSiO)、アルカリ酸化物、アルカリ土類酸化物、又はこれらの組合せを含むことができる。
一部の実施形態において、TBCは、単一のCMAS耐性TBC層を、単独で又は結合層と組み合わせて含むことができる。
他の実施形態において、TBCは、CMAS耐性TBC層に加えて、TBC組成物を含有する層などの少なくとも1つの他の層を含む。TBC組成物を含有する層は、TBCに対してさらなるCMAS耐性を提供しても、或いはしなくてもよい。一部の実施形態において、TBC組成物は、イットリア安定化ジルコニア、イットリア安定化ハフニア、少なくとも3つの希土類酸化物で安定化されたジルコニア、又は少なくとも3つの希土類酸化物で安定化されたハフニアの中の少なくとも1つを含む。
一部の事例において、TBCは、TBC組成物層とCMAS耐性TBC層とを互い違いにした交互層型構造を含むことができる。例えば、TBCは、第1のTBC組成物を含有する層、CMAS耐性TBC層、及び第2のTBC組成物を含有する層を含むことができる。このような交互層構造は、任意の数の層まで拡張することができ、TBCの外側層は、TBC組成物を含有する層、又はCMAS耐性TBC層を含むことができる。
一態様において、本開示は、超合金基材、及び該超合金基材の上に重なるCMAS耐性TBC層を含む物品を対象とする。本開示のこの態様によれば、CMAS耐性TBC層は、約50wt%〜約90wt%のTBC組成物、及び約10wt%〜約50wt%のCMAS耐性組成物を含む。一部の実施形態において、TBC組成物は、イットリア安定化ジルコニア、イットリア安定化ハフニア、少なくとも3つの希土類酸化物で安定化されたジルコニア、又は少なくとも3つの希土類酸化物で安定化されたハフニアの中の少なくとも1つを含む。一部の実施形態において、CMAS耐性組成物は、アルミナと、シリカと、Sc、Y、La、Ce、Pr、Nd、Pm、Sm、Eu、Gd、Yb、Dy、Ho、Er、Tm、Tb又はLuの中の少なくとも1つの酸化物とを含む。
別の態様において、本開示は、超合金基材、及び該超合金基材の上に重なるTBCを含む物品を対象とする。本開示のこの態様によれば、TBCは、基材の上に重なる第1のTBC組成物を含有する層、及び該第1のTBC組成物を含有する層の上に重なるCMAS耐性TBC層を含む。一部の実施形態において、第1のTBC組成物は、イットリア安定化ジルコニア、イットリア安定化ハフニア、少なくとも3つの希土類酸化物で安定化されたジルコニア、又は少なくとも3つの希土類酸化物で安定化されたハフニアの中の少なくとも1つを含む。本開示のこの態様によれば、CMAS耐性TBC層は、第2のTBC組成物及びCMAS耐性組成物を含む。一部の実施形態において、第2のTBC組成物は、イットリア安定化ジルコニア、イットリア安定化ハフニア、少なくとも3つの希土類酸化物で安定化されたジルコニア、又は少なくとも3つの希土類酸化物で安定化されたハフニアの中の少なくとも1つを含む。一部の実施形態において、CMAS耐性組成物は、アルミナと、シリカと、Sc、Y、La、Ce、Pr、Nd、Pm、Sm、Eu、Gd、Yb、Dy、Ho、Er、Tm、Tb又はLuの中の少なくとも1つの酸化物とを含む。
さらなる態様において、本開示は、超合金基材、該超合金基材の上に重なる複数の第1のTBC組成物を含有する層、及び該超合金基材の上に重なる複数のCMAS耐性TBC層を含む物品を対象とする。本開示のこの態様によれば、第1のTBC組成物は、イットリア安定化ジルコニア、イットリア安定化ハフニア、少なくとも3つの希土類酸化物で安定化されたジルコニア、又は少なくとも3つの希土類酸化物で安定化されたハフニアの中の少なくとも1つを含む。一部の実施形態において、複数のCMAS耐性TBC層は、第2のTBC組成物及びCMAS耐性組成物を含む。第2のTBC組成物は、イットリア安定化ジルコニア、イットリア安定化ハフニア、少なくとも3つの希土類酸化物で安定化されたジルコニア、又は少なくとも3つの希土類酸化物で安定化されたハフニアの中の少なくとも1つを含むことができる。CMAS耐性組成物は、アルミナと、シリカと、Sc、Y、La、Ce、Pr、Nd、Pm、Sm、Eu、Gd、Yb、Dy、Ho、Er、Tm、Tb又はLuの中の少なくとも1つの酸化物とを含むことができる。さらに、本開示のこの態様によれば、複数のCMAS耐性TBC層のそれぞれの1つは、複数のTBC組成物を含有する層のそれぞれの1つと互い違いになっている。
別の態様において、本開示は、超合金基材を覆うCMAS耐性TBC層を形成することを含む方法を対象とする。本開示のこの態様によれば、CMAS耐性層は、約50wt%〜約90wt%のTBC組成物、及び約10wt%〜約50wt%のCMAS耐性組成物を含む。一部の例において、TBC組成物は、イットリア安定化ジルコニア、イットリア安定化ハフニア、少なくとも3つの希土類酸化物で安定化されたジルコニア、又は少なくとも3つの希土類酸化物で安定化されたハフニアの中の少なくとも1つを含む。一部の例において、CMAS耐性組成物は、アルミナと、シリカと、Sc、Y、La、Ce、Pr、Nd、Pm、Sm、Eu、Gd、Yb、Dy、Ho、Er、Tm、Tb又はLuの中の少なくとも1つの酸化物とを含む。
さらなる態様において、本開示は、超合金基材を覆う第1のTBC組成物を含有する層を形成し、そして、その第1のTBC組成物を含有する層を覆うCMAS耐性TBC層を形成することを含む方法を対象とする。本開示のこの態様によれば、その第1のTBC組成物は、イットリア安定化ジルコニア、イットリア安定化ハフニア、少なくとも3つの希土類酸化物で安定化されたジルコニア、又は少なくとも3つの希土類酸化物で安定化されたハフニアの中の少なくとも1つを含む。さらに、本開示のこの態様によれば、CMAS耐性TBC層は、第2のTBC組成物及びCMAS耐性組成物を含む。一部の実施形態において、第2のTBC組成物は、イットリア安定化ジルコニア、イットリア安定化ハフニア、少なくとも3つの希土類酸化物で安定化されたジルコニア、又は少なくとも3つの希土類酸化物で安定化されたハフニアの中の少なくとも1つを含む。一部の実施形態において、CMAS耐性組成物は、アルミナと、シリカと、Sc、Y、La、Ce、Pr、Nd、Pm、Sm、Eu、Gd、Yb、Dy、Ho、Er、Tm、Tb又はLuの中の少なくとも1つの酸化物とを含む。
1つ又は複数の実施形態の詳細を、添付の図面及び以下の説明中に示す。本開示のその他の特徴、目的及び利点は、該説明及び図面から、並びに特許請求の範囲から明らかであろう。
基材、該基材の上に重なる結合層、及び該結合層の上に重なるCMAS耐性TBC層を備える物品例を説明する断面概念図を示す図である。
基材、該基材の上に重なる結合層、該結合層の上に重なるTBC組成物を含有する層、及び該TBC組成物を含有する層の上に重なるCMAS耐性TBC層を備える物品例を説明する断面概念図を示す図である。
基材、該基材の上に重なる結合層、該結合層の上に重なる第1のTBC組成物を含有する層、該第1のTBC組成物を含有する層の上に重なるCMAS耐性TBC層、及び該CMAS耐性TBC層の上に重なる第2のTBC組成物を含有する層を備える物品例を説明する断面概念図を示す図である。
基材、該基材の上に重なる第1のTBC組成物を含有する層、該第1のTBC組成物を含有する層の上に重なる第1のCMAS耐性TBC層、該第1のCMAS耐性TBC層の上に重なる第2のTBC組成物を含有する層、及び該第2のTBC組成物を含有する層の上に重なる第2のCMAS耐性TBC層を備える物品例を説明する断面概念図を示す図である。
基材、該基材の上に重なる結合層、該結合層の上に重なる複数のTBC組成物を含有する層、及び該結合層の上に重なる複数のCMAS耐性TBC層を備える物品例を説明する断面概念図を示す図であり、ここで、複数のTBC組成物を含有する層のそれぞれの層は、CMAS耐性TBC層のそれぞれの層と互い違いになっている。
一般に、本開示は、少なくとも1つのCMAS耐性TBC層を含む遮熱コーティング(TBC)を対象とする。CMASは、ガスタービンエンジンの空気の取込みに付随する、シリカ系鉱物(塵、砂、火山灰、滑走路屑など)の吸込みに由来するカルシア−マグネシア−アルミナ−シリケートの堆積物である。
ガスタービンエンジンの運転費用を低減することを求めて、運転効率(例えば、燃料効率)を高めることが絶えず求められている。より高温でガスタービンエンジンを運転することは、該エンジンの運転効率を向上させるための1つの手法である。タービン入口温度は高くなり続けているので、ガスタービンエンジンの部品が暴露される温度に耐えることのできる新たな遮断コーティング、例えば、新たなTBCが要求されている。TBCは、多孔性又は円柱状構造として堆積させることができ、それらの構造は、非多孔性TBCに比較して、ストレス耐性を増し、且つTBCの熱伝導率を低減する。しかし、この多孔性TBC構造は、損傷を受けやすい可能性がある。
より高いタービン入口温度は、ガスタービンエンジンの空気の取込みに付随するシリカ系鉱物(塵、砂、火山灰、滑走路屑など)の吸込みによりCMASが形成される場合に、例えば、イットリア安定化ジルコニアを含む多孔性TBCの損傷につながる可能性がある。一部のCMAS堆積物は、約1200℃〜約1250℃(約2200°F〜約2300°F)の融点を有する。高度のガスタービンエンジンは、CMASの融点より高いTBC表面温度で作動し、それゆえ、TBCの表面でCMASが溶融する可能性があり、このことは、CMASが多孔性TBCの細孔中に浸透することを可能にする。TBCで被覆された部品がCMASの融点より低い温度に冷却されると、CMASは固化し、このことはTBCに歪みをもたらし、TBCの有用寿命を短縮する可能性がある。TBCの細孔を溶融CMASで満たすことは、TBCの熱伝導率を増大させる可能性もあり、このことは、TBCの性能に対して有害であり、且つ部品の基材を高められた温度に暴露することになる可能性がある。
さらに、TBCがイットリア安定化ジルコニアを含む実施形態において、溶融されたCMASは、イットリア安定化ジルコニアの粒界に沿ってTBCを溶解する可能性があり、且つ溶融の化学現象に応じて、より低いイットリア含有量のジルコニアは、溶融された溶液から沈殿する可能性がある。このより低いイットリア含有量を有するジルコニアは、ジルコニア及びより高含有量のイットリアを含むTBCと比較して、TBCの有効性を減少させる可能性がある。
本開示の実施形態によれば、TBCは、TBC組成物をCMAS耐性組成物と組み合わせて含むCMAS耐性TBC層を含むことができる。一部の実施形態において、TBC組成物は、イットリア安定化ジルコニア、イットリア安定化ハフニア、少なくとも3つの希土類酸化物で安定化されたジルコニア、又は少なくとも3つの希土類酸化物で安定化されたハフニアの中の少なくとも1つを含むことができる。CMAS耐性組成物は、アルミナ、シリカ、及び少なくとも1つの希土類酸化物を含むことができる。一部の実施形態において、CMAS耐性TBC層は、さらに、酸化タンタル(Ta)、二酸化チタン(TiO)、ケイ酸ハフニウム(HfSiO)、アルカリ酸化物、又はアルカリ土類酸化物の中の少なくとも1つを含む。
CMAS耐性TBC層は、TBCにCMASの有害効果に対する高められた耐性を提供することができる。一部の実施形態において、CMAS耐性TBC層中の少なくとも1つの成分は、CMASの成分と反応して、固体又は高粘性の反応生成物を形成し、この反応生成物が、溶融CMASによるCMAS耐性TBC層の細孔又は亀裂への浸透を低減、又は実質的に排除する。一部の例において、CMASとCMAS耐性TBC層中の成分との間の反応生成物は、CMAS耐性TBC層の表面上で反応層を形成することができ、該反応層は、溶融CMASによるCMAS耐性TBC層中の細孔又は亀裂への浸透を遅延させるのに役立つ可能性がある。
付加的に又は代わりに、CMAS耐性TBC層を、下にある層、例えばTBC組成物を含有する層などの細孔又は亀裂にCMASが浸透することを物理的に抑制又は防止する実質上非多孔性の層として形成することができる。
一部の実施形態において、TBCは、CMAS耐性TBC層に加えて、別の層を含むことができる。例えば、TBCは、基材の上に重なるTBC組成物から形成された層、及び該TBC組成物を含有する層の上に重なるCMAS耐性TBC層を含むことができる。別の例として、TBCは、複数のTBC組成物を含有する層と互い違いになっている複数のCMAS耐性TBC層を含むことができる。一部の実施形態において、1つを超える層を含むTBCは、TBCが堆積されている基材に対してTBCが提供する断熱に寄与することができる。例えば、多数の層を含むTBCは、2つの異なる材料(例えば、CMAS耐性TBC層及びTBC組成物を含有する層)間に界面を有することができ、これらの界面は、単一層のみを含むTBCに比較して低減された熱伝導率に寄与することができる。
理論によって拘束されることを望むものではないが、2つの異なる層の間の界面は、層間の界面がフォノン散乱点を提供するので、コーティングの熱伝導率を低下させることができる。したがって、一部の実施形態において、CMAS耐性TBC層は、CMASからの防護を提供し、さらに、CMAS耐性TBC層を含まないコーティングに比較して、TBCの熱伝導率を低下させる。
図1は、高温機械システム中で使用される物品10の例の断面図を示す。物品10は、基材12に塗布されたTBC14を含む。TBC14は、基材12の上に重ねた結合層16、及び該結合層16の上に重ねたCMAS耐性TBC層18を含む。
基材12は、高温機械システム、例えば、ガスタービンエンジンなどの部品である。一部の実施形態において、基材12は、超合金を含む。超合金から形成される基材12は、Ni、Co、Ni/Feなどをベースにした合金を含むことができる。超合金から形成される基材12は、当技術分野で周知のように、靭性、硬度、温度安定性、腐食耐性、酸化耐性などのその機械的特性を変えるために、その他の添加剤成分を含むことができる。例えば、Martin−Marietta社(メリーランド州、Bethesda)からMAR−M247の商品名で入手できるもの、Cannon−Muskegon社(ミシガン州、Muskegon)からCMSX−4及びCMSX−10の商品名で入手できるものなどを含む、任意の有用な超合金を基材12中で利用することができる。
図1に示すように、物品10は、基材12上に形成された結合層16を含むことができる。図1には図示しないが、他の実施形態において、物品10は、結合層16を含まなくてもよい。結合層16は、基材12と結合層16の上に重なる層(例えば、図1中のCMAS耐性TBC層)との間の接着性を改善することができる。結合層16は、基材12と上に重なる層との間の接着性を改善する任意の有用な材料を含むことができる。
例えば、基材12が超合金である場合、結合層16は、MCrAlY合金(ここで、MはNi、Co又はNiCoである)、(未改質、又はPt、Cr、Hf、Zr、Y、Si、及びこれらの組合せで改質された)β−NiAlニッケルアルミニド合金、(未改質、又はPt、Cr、Hf、Zr、Y、Si、及びこれらの組合せで改質された)γ−Ni+γ’−NiAlニッケルアルミニド合金などの合金を含むことができる。
結合層16の組成及び生じる相構成は、基材12及び結合層16の上に重なる層(図1でCMAS耐性TBC層18)の化学組成及び相構成を含むいくつかの考察に基づいて選択することができる。例えば、基材12がγ−Ni+γ’−NiAlの相構成を有する超合金を含む場合、結合層16は、超合金基材12の熱膨張係数により良く一致させるためにγ−Ni+γ’−NiAlの相構成を含むことができる。これにより、結合層16と基材12との間の機械的安定性(接着性)を増大させることができる。
一部の実施形態において、物品10は、結合層16を含まない。例えば、一部の実施形態において、CMAS耐性TBC層18は、基材12上に直接的に形成される。物品10は、CMAS耐性TBC層18及び基材12が化学的及び/又は機械的に十分に適合性があるなら、結合層16を含まなくてもよい。例えば、CMAS耐性TBC層18と基材12とが互いに十分強力に接着する実施形態において、物品10は、結合層16を含まなくてもよい。さらに、基材12とCMAS耐性TBC層18との熱膨張係数が十分に類似している実施形態において、物品10は結合層16を含まなくてもよい。このように、CMAS耐性TBC層18を、結合層16上に、又は基材12上に形成することができる。本明細書中で使用する場合、用語「〜を覆って形成される」は、1番目の層が2番目の層の上に直接的に形成される実施形態、1番目の層が2番目の層の上に、1番目の層と2番目の層との間に1つ又は複数の中間層を伴って、形成される実施形態を包含する。例えば、用語「CMAS耐性TBC層18は基材12を覆って形成される」は、次の実施形態:すなわち、CMAS耐性TBC層18が基材12上に直接的に形成される実施形態;CMAS耐性TBC層18が結合層16の上に形成され、その結合層16が基材12上に形成される実施形態;及びCMAS耐性TBC層18が、基材12とCMAS耐性TBC層18との間の別の中間層(結合層16に付加した又はその代わりの)上に形成される実施形態を包含する。同様に、本明細書中で使用する場合、用語「上に重なる」は、「〜を覆って形成される」と同様であり、すなわち、2番目の層の上に重る1番目の層は、2番目の層の上に直接形成されていてもよく、或いは2番目の層の上に重なる別の層の上に形成されていてもよい。
TBC14は、さらに、結合層16の上に重なるCMAS耐性TBC層18を含む。CMAS耐性TBC層18は、熱防護(すなわち、断熱)及びCMASの攻撃に対する耐性の中の少なくとも1つを提供することができる。CMAS耐性TBC層18は、一般に、TBC組成物及びCMAS耐性組成物を含む。TBC組成物は、例えば、基材12に対して断熱を提供するように選択された少なくとも1つの材料を含むことができる。一部の実施形態において、TBC組成物は、イットリア及び/又はハフニアを単独で又は少なくとも1つの他の元素又は化合物と組み合わせて含む。例えば、TBC組成物は、イットリア及び/又はハフニアを少なくとも1つの希土類酸化物と組み合わせて含むことができる。適切な希土類酸化物としては、Lu(ルテチウム)、Yb(イッテルビウム)、Tm(ツリウム)、Er(エルビウム)、Ho(ホルミウム)、Dy(ジスプロシウム)、Tb(テルビウム)、Gd(ガドリウム)、Eu(ユーロピウム)、Sm(サマリウム)、Pm(プロメチウム)、Nd(ネオジム)、Pr(プラセオジム)、Ce(セリウム)、La(ランタン)、Y(イットリウム)、又はSc(スカンジウム)の酸化物が挙げられる。
一部の実施形態において、TBC組成物は、イットリア安定化ジルコニア及び/又はイットリア安定化ハフニアを含む。一部の事例において、イットリアで安定化されたジルコニア又はハフニアは、約7wt%〜約8wt%のイットリアを含むことができ、残りはジルコニア及び/又はハフニアである。
一部の実施形態において、TBC組成物は、少なくとも3つの希土類酸化物で安定化されたハフニア及び/又はジルコニアを含む。TBC組成物は、任意の相対量の任意の組合せの希土類酸化物を含むことができる。
一部の例において、TBC組成物は、ベース酸化物、主たるドーパント、第1のコドーパント、及び第2のコドーパントを含む。ベース酸化物は、ジルコニア及びハフニアの中の少なくとも1つを含むことができる。主たるドーパントは、第1のコドーパント又は第2のコドーパントのどちらよりもより多い量で存在し(しかし、第1のコドーパントと第2のコドーパントとの全量に比べてより多い量とは限らない)、イッテルビアを含むことができる。第1のコドーパントは、サマリア(samaria)を含むことができ、第2のコドーパントは、ルテチア(lutetia)、スカンジア(scandia)、セリア(ceria)、ガドリニア(gadolinia)、ネオジミア(neodymia)又はユーロピア(europia)の中の少なくとも1つを含むことができる。
一部の実施形態において、ベース酸化物、主たるドーパント、第1のコドーパント及び第2のコドーパント(co−dopant)を含むTBC組成物は、望ましくは低い熱伝導率を有することができる。理論によって拘束されることを望むものではないが、ドーパントは、ベース酸化物イオンと比べて、異なるイオン半径又は結晶格子構造を有することができる。このようなドーパントを含めることによって、CMAS耐性TBC層18の結晶構造中に格子欠陥を導入できる。これを考察する目的で、格子欠陥を、2つの部類、点欠陥及びより大きな欠陥に大別することができる。置換型欠陥、格子間欠陥、ボイド欠陥などの点欠陥は、高振動数のフォノンを散乱することができ、一方、約100nmより小さな結晶の粒界などのより大きな欠陥は、より低周波数のフォノンを散乱することができる。どちらの場合も、フォノンの散乱は、CMAS耐性TBC層18の熱伝導率を低下させる。
付加的に又は代わりに、一部の実施形態において、CMAS耐性TBC層18中に特定の希土類元素又は希土類元素の組合せを含めることによって、所定の温度でのCMAS耐性TBC層18の焼結度合いを低下させることもできる。例えば、イットリウムよりも大きなイオン半径を有する希土類元素を組み込むことによって、イットリア安定化ジルコニアを含むTBC層に比較して、所定温度での焼結量を低下させることができる。理論によって拘束されることを望むものではないが、所定の温度において、イオン半径が大きいほど、より小さな(イオンの)拡散係数をもたらすことができる。焼結は、主として、拡散に関連する過程なので、所定の温度において、拡散係数が小さいほど、焼結量は低下する。
焼結を最小化する又は除去することによって、物品10の使用寿命を超えて、CMAS耐性TBC層18の熱伝導率の安定性を改善することできる。一部の例では、CMAS耐性TBC層18の熱伝導率を、CMAS耐性TBC層18を多孔性構造として堆積させることによって低下させることができる。CMAS耐性TBC層18の孔隙は、伝熱面積を縮小することによって、及び細孔とCMAS耐性TBC層18を形成する材料との間の大きな屈折率の差異(これは、放射による熱移動を低下させることができる)を提供することによって、非多孔性TBCに比較して、熱伝導率を低下させる。焼結は、構造の孔隙を縮小し、かくして、CMAS耐性TBC層18の熱伝導率を(放射及び伝導の両方を介して)増加させることが可能である。したがって、繰り返される熱サイクルにわたってCMAS耐性TBC層18の孔隙を保護すること(すなわち、焼結を低減すること)によって、CMAS耐性TBC層18の熱伝導率を、はじめに塗布されたCMAS耐性TBC層18のレベル又はその近傍に維持するのを助けることができる。
一部の実施形態において、ベース酸化物、主たるドーパント、第1のコドーパント、及び第2のコドーパントを含むTBC組成物は、準安定正方晶系(t’)相構成、立方晶系(c)相構成、t’とcとの相構成の混合、又は化合物の相構成を提供するように選択された組成物を含むことができる。
上記のように、主たるドーパントはイッテルビアを含むことができる。一部の例において、主たるドーパントは、イッテルビアから本質的になることができる。本明細書中で使用する場合、「〜から本質的になる」は、列挙された元素(単数又は複数)又は化合物(単数又は複数)からなることを意味するが、列挙された元素又は化合物の特性に実質的に影響を及ぼさないような少量で存在する不純物の包含は許容される。例えば、多くの希土類元素の精製は困難であり、それゆえ、ある名前の希土類元素は、少量の他の希土類元素を含む可能性がある。この混合物は、「〜から本質的になる」の文言に包含されると解釈される。一部の例において、TBC組成物は、約2モル%〜約40モル%のイッテルビアを含む。他の例において、TBC組成物は、約2モル%〜約20モル%のイッテルビア、又は約2モル%〜約10モル%のイッテルビアを含む。
TBC組成物は第1のコドーパントを含むこともでき、該第1のコドーパントは、サマリアを含むか、サマリアから本質的になる。一部の例において、TBC組成物は、約0.1モル%〜約20モル%のサマリアを含む。他の例において、TBC組成物は、約0.5モル%〜約10モル%のサマリア、又は約0.5モル%〜約5モル%のサマリアを含む。
TBC組成物は第2のコドーパントを含むこともでき、該第2のコドーパントは、ルテチア、スカンジア、セリア、ガドリニア、ネオジミア、又はユーロピアの中の少なくとも1つを含むことができる。一部の例において、TBC組成物は、約0.1モル%〜約20モル%の第2のコドーパントを含む。他の例において、TBC組成物は、約0.5モル%〜約10モル%の第2のコドーパント、又は約0.5モル%〜約5モル%の第2のコドーパントを含む。
TBC組成物の総合的構成は、所望の相構成を提供するように選択することができる。上述の通り、利用できる相構成としては、準安定な正方晶系、立方晶系、及びRE−ZrO(及び/又はHfO)化合物を含む化合物、例えばREZr及びREHf(ここで、REは希土類元素である)が挙げられる。
一部の実施形態において、RE−ZrO(及び/又はHfO)化合物の相構成を達成するために、TBC組成物は、約20モル%〜約40モル%の主たるドーパント、約10モル%〜約20モル%の第1のコドーパント、約10モル%〜約20モル%の第2のコドーパント、並びに残りのベース酸化物及び存在するなら任意の不純物を含むことができる。
一部の実施形態において、立方晶系相構成を達成するために、TBC組成物は、約4モル%〜約10モル%の主たるドーパント、約1モル%〜約5モル%の第1のコドーパント、約1モル%〜約5モル%の第2のコドーパント、並びに残りのベース酸化物及び存在するなら任意の不純物を含む。
一部の実施形態において、準安定正方晶系相構成を達成するために、TBC組成物は、約2モル%〜約5モル%の主たるドーパント、約0.5モル%〜約3モル%の第1のコドーパント、約0.5モル%〜約3モル%の第2のコドーパント、並びに残りのベース酸化物及び存在するなら任意の不純物を含む。
上述した通り、CMAS耐性TBC層は、さらに、CMAS耐性組成物を含む。CMAS耐性組成物は、例えば、アルミナ、シリカ、及び少なくとも1つの希土類酸化物を含むことができる。少なくとも1つの希土類酸化物としては、Lu、Yb、Tm、Er、Ho、Dy、Tb、Gd、Eu、Sm、Pm、Nd、Pr、Ce、La、Y又はScの中の少なくとも1つの酸化物が挙げられる。一部の実施形態において、CMAS耐性組成物中に含められる少なくとも1つの希土類酸化物は、TBC組成物中に含められる少なくとも1つの希土類酸化物と同一物でよい。他の実施形態において、TBC組成物は、CMAS耐性組成物中の少なくとも1つの希土類酸化物と異なる少なくとも1つの希土類酸化物を含む。
一部の実施形態において、CMAS耐性組成物は、約1モル%〜約99モル%の少なくとも1つの希土類酸化物、並びに約1モル%〜約99モル%のアルミナ及びシリカを含むことができる。他の実施形態において、CMAS耐性組成物は、約10モル%〜約90モル%の少なくとも1つの希土類酸化物、並びに約10モル%〜約90モル%のアルミナ及びシリカを含むことができる。他の実施形態において、CMAS耐性組成物は、約20モル%〜約80モル%の少なくとも1つの希土類酸化物、並びに約20モル%〜約80モル%のアルミナ及びシリカを含むことができる。
一部の実施形態において、CMAS耐性組成物は、任意選択で、TiO、Ta、HfSiO、アルカリ酸化物、及びアルカリ土類酸化物の中の少なくとも1つを含む。CMAS耐性組成物に付加的成分を添加して、CMAS耐性TBC層18の1つ又は複数の所望される特性を修正することができる。例えば、付加的成分は、CMAS耐性TBC層18のCMASとの反応速度を増減することができ、CMASとCMAS耐性TBC層18との反応による反応生成物の粘度を修正することができ、隣接層、例えば結合層16へのCMAS耐性TBC層18の接着性を増強することができ、CMAS耐性TBC層18などの化学的安定性を増減することができる。
CMAS耐性TBC層18は、TBC組成物とCMAS耐性組成物との混合物又は合金を含むことができる。一般に、CMAS耐性TBC層18は、約1wt%〜約99wt%のTBC組成物、及び約1wt%〜約99wt%のCMAS耐性組成物を含むことができる。一部の実施形態において、CMAS耐性TBC層18は、約50wt%〜約90wt%のTBC組成物、及び約10wt%〜約50wt%のCMAS耐性組成物を含む。他の実施形態において、CMAS耐性TBC層18は、約50wt%〜約70wt%のTBC組成物、及び約30wt%〜約50wt%のCMAS耐性組成物を含む。
さらに、CMAS耐性TBC層18は、実質的に密な微小構造、多孔性微小構造、又は柱状微小構造を含むことができる。CMAS耐性TBC層18は、例えば、プラズマ噴霧、物理蒸着(PVD)、化学蒸着(CVD)、又はスラリー堆積法によって堆積させることができる。CMAS耐性TBC層18を堆積させるのに使用できるPVDの1つが、電子ビーム物理蒸着(EB−PVD)である。CMAS耐性TBC層18を堆積させるのに使用できるEB−PVDの1つが、指向性蒸着(DVD)である。DVDでは、エネルギー供給源が、CMAS耐性TBC層18中に堆積させるべき成分を含むターゲット材料の一部を気化させる電子ビームを作り出す。気化した材料は、次いで、遷音速のガス流を使用して基材12に向けられる。このことが、EB−PVDに比べてより大きな堆積効率を可能にし、また、見通し外(non−line−of−sight)堆積を可能にすることができる。一部の実施形態において、CMAS耐性TBC層18は、柱状微小構造を含み、EB−PVD又はDVDを使用して堆積される。
一部の実施形態において、CMAS耐性TBC層18は、プラズマ堆積を使用して堆積させることができる。CMAS耐性TBC層18が多孔性微小構造を含む場合、CMAS耐性TBC層18を形成する材料を、CMAS耐性TBC層18の堆積後に除去されて細孔を形成する犠牲材料、例えばポリエステルと一緒に共堆積させることができる。
CMAS耐性TBC層18は、一般には、任意の厚さを有することができる。一部の例において、CMAS耐性TBC層18は、約0.5ミル〜約20ミル(1ミルは0.001インチに等しい)の厚さを含む。
上述の通り、一部の例において、CMAS耐性TBC層18中の成分は、層18と接触するCMASと反応して、固体又は高粘性の反応生成物を形成することができる。該反応生成物は、CMASよりも著しく高い(例えば、約1200〜1250℃よりも高い)溶融温度を有する可能性がある。CMAS耐性TBC層18は、それがCMASと反応するにつれて消費されるので、固体又は高粘性の反応生成物が望ましい。もし、例えば、CMAS耐性TBC層18とCMASとの反応生成物が比較的低粘度の液体であるならば、その低粘度液体は、多孔性又は柱状のCMAS耐性TBC層18の細孔又は亀裂内にさらに浸透することができ、CMAS耐性TBC層18は、まさにこの事態を防ぐように設計される。
しかし、反応生成物が固体又は高粘性であるなら、反応層は、CMAS耐性TBC層18の表面上又はその近傍(例えば、層18の外表面に近いCMAS耐性TBC層18中の細孔又は亀裂内)に生じる可能性があり、このことは、CMASとCMAS耐性TBC層18との反応速度を低下させる可能性がある。すなわち、いったん固体又は高粘性の反応層がCMAS耐性TBC層18の表面上又はその近傍に生じると、任意のさらなる反応は、CMASが反応層を通ってCMAS耐性TBC層18に遭遇するための拡散、又はCMAS耐性TBC層18の成分が反応層を通ってCMASに遭遇するための拡散を必要とするので、CMAS耐性TBC層18とCMASとの反応は減速する可能性がある。いずれの場合においても、いったん固体又は高粘性の反応層がCMAS耐性TBC層18の表面上に形成されると、拡散は最も遅い過程であると予想されるので、CMAS又はCMAS耐性TBC層18のどちらかの成分の拡散が、その反応における律速段階であると予想される。
図2は、CMAS耐性TBC層を含むTBCで被覆された別の物品例を説明する断面図である。結合層16の上に形成された単一のCMAS耐性TBC層18を含むTBC14を示す図1とは対照的に、図2で説明される物品20は、多層型TBC24を含む。多層型TBC24は、基材12の上に重なる結合層16、該結合層16の上に重なるTBC組成物を含有する層26、及び該TBC組成物を含有する層26の上に重なるCMAS耐性TBC層28を含む。
基材12及び結合層16は、図1について前に説明したと同様の組成物を含むことができる。例えば、基材12は、Ni、Co、Ni/Feなどをベースにした超合金を含むことができ、結合層16は、基材12とTBC組成物を含有する層26との接着性を改善する合金を含むことができる。例として、結合層16は、MCrAlY合金(ここで、MはNi、Co又はNiCoである)、β−NiAlニッケルアルミニド合金(未改質の、又はPt、Cr、Hf、Zr、Y、Si、及びこれらの組合せで改質された)、γ−Ni+γ’−NiAlニッケルアルミニド合金(未改質の、又はPt、Cr、Hf、Zr、Y、Si、及びこれらの組合せで改質された)などを含むことができる。
図2は、結合層16を含むような多層型TBC24を図示するが、他の実施形態において、多層型TBC24は、結合層16を含まなくてもよく、TBC組成物を含有する層26を基材12上に直接的に形成することができる。多層型TBC24は、TBC組成物を含有する層26及び基材12が化学的及び/又は機械的に十分適合性があるなら、結合層16を含まなくてもよい。例えば、TBC組成物を含有する層26と基材12とが互いに十分強く接着する実施形態において、多層型TBC24は、結合層16を含まなくてもよい。さらに、基材12とTBC組成物を含有する層26との熱膨張係数が十分に類似している実施形態において、多層型TBC24は、ボンディングコート16を含まなくてもよい。
多層型TBC24は、さらに、TBC組成物を含有する層26を含む。TBC組成物を含有する層26中のTBC組成物は、例えば、基材12に対して断熱を提供するように選択される少なくとも1つの材料を含むことができる。一部の実施形態において、TBC組成物は、イットリア及び/又はハフニアを、単独で又は少なくとも1つの他の元素又は化合物と組み合わせて含む。例えば、TBC組成物は、イットリア及び/又はハフニアを、少なくとも1つの希土類酸化物と組み合わせて含むことができる。適切な希土類酸化物としては、Lu、Yb、Tm、Er、Ho、Dy、Tb、Gd、Eu、Sm、Pm、Nd、Pr、Ce、La、Y又はScの酸化物が挙げられる。
一部の実施形態において、TBC組成物は、イットリア安定化ジルコニア及び/又はイットリア安定化ハフニアを含む。一部の事例において、イットリアで安定化されたジルコニア又はハフニアは、約7wt%〜約8wt%のイットリア、及び残りのジルコニア及び/又はハフニアを含むことができる。
一部の実施形態において、TBC組成物は、少なくとも3つの希土類酸化物で安定化されたハフニア及び/又はジルコニアを含む。TBC組成物は、任意の相対量の任意の組合せの希土類酸化物を含むことができる。
一部の例において、TBC組成物は、ベース酸化物、主たるドーパント、第1のコドーパント、及び第2のコドーパントを含む。ベース酸化物は、ジルコニア及びハフニアの中の少なくとも1つを含むことができる。主たるドーパントは、第1のコドーパント又は第2のコドーパントのどちらよりもより多い量で存在し(しかし、第1のコドーパントと第2のコドーパントとの全量に比べてより多い量とは限らない)、イッテルビアを含むことができる。第1のコドーパントは、サマリアを含むことができ、第2のコドーパントは、ルテチア、スカンジア、セリア、ガドリニア、ネオジミア又はユーロピアの中の少なくとも1つを含むことができる。
一部の実施形態において、ベース酸化物、主たるドーパント、第1のコドーパント、第2のコドーパントを含むTBC組成物は、望ましくは低い熱伝導率を有することができる。理論によって拘束されることを望むものではないが、ドーパントは、ベース酸化物イオンと異なるイオン半径又は結晶格子構造を有することができる。このようなドーパントを含めることによって、TBC組成物を含有する層26の結晶構造中に格子欠陥を導入することができる。これを考察する目的で、格子欠陥を、2つの部類、点欠陥及びより大きな欠陥に大別することができる。置換型欠陥、格子間欠陥、ボイド欠陥などの点欠陥は、高振動数のフォノンを散乱することができ、一方、約100nmより小さな結晶の粒界などのより大きな欠陥は、より低周波数のフォノンを散乱することができる。どちらの場合も、フォノンの散乱は、TBC組成物を含有する層26の熱伝導率を低下させる。
付加的に又は代わりに、一部の実施形態において、TBC組成物を含有する層26中に特定の希土類元素又は希土類元素の組合せを含めることによって、所定の温度でのTBC組成物を含有する層26の焼結度合いを低下させることができる。例えば、イットリウムより大きなイオン半径を有する希土類元素を組み込むことによって、所定の温度においてイットリア安定化ジルコニア含有TBC層に比較して、焼結量を低下させることができる。いずれの理論によって拘束されることを望むものではないが、イオン半径が大きいほど、所定の温度でより低い(イオンの)拡散係数をもたらすことができる。焼結は、主として、拡散に関連する過程なので、拡散係数が小さいほど、所定温度での焼結量が低下する。
焼結を最小化又は除去することによって、物品10の使用寿命を超えて、TBC組成物を含有する層26の熱伝導率の安定性を改善することができる。一部の例では、TBC組成物を含有する層26の熱伝導率を、TBC組成物を含有する層26を多孔性構造として堆積させることによって低下させることができる。TBC組成物を含有する層26の孔隙は、伝熱面積を縮小することによって、及び細孔とTBC組成物を含有する層26を形成する材料との間の大きな屈折率の差異(これは、放射による熱移動を低下させることができる)を提供することによって、非多孔性TBCに比較して、熱伝導率を低下させる。焼結は、構造の孔隙を縮小し、かくして、TBC組成物を含有する層26の熱伝導率を(放射及び伝導の両方を介して)増加させる可能性がある。したがって、繰り返される熱サイクルにわたってTBC組成物を含有する層26の孔隙を保護する(すなわち、焼結を低減すること)は、TBC組成物を含有する層26の熱伝導率を、はじめに塗布されたCMAS耐性TBC層18のレベル又はその近傍に維持するのを助ける可能性がある。
一部の実施形態において、ベース酸化物、主たるドーパント、第1のコドーパント、及び第2のコドーパントを含むTBC組成物は、準安定正方晶系(t’)相構成、立方晶系(c)相構成、t’とcとの相構成の混合、又は化合物の相構成を提供するように選択された組成物を含むことができる。
上述した通り、主たるドーパントは、イッテルビアを含むことができる。一部の例において、主たるドーパントは、イッテルビアから本質的になることができる。本明細書中で使用する場合、「〜から本質的になる」は、列挙された元素(単数又は複数)又は化合物(単数又は複数)からなることを意味するが、列挙された元素又は化合物の特性に実質的に影響を及ぼさないような少量で存在する不純物の包含は許容される。例えば、多くの希土類元素の精製は困難であり、それゆえ、ある名前の希土類元素は、少量の他の希土類元素を含む可能性がある。この混合物は、「〜から本質的になる」の文言に包含されると解釈される。一部の例において、TBC組成物は、約2モル%〜約40モル%のイッテルビアを含む。他の例において、TBC組成物は、約2モル%〜約20モル%のイッテルビア、又は約2モル%〜約10モル%のイッテルビアを含む。
TBC組成物は、また、第1のコドーパントを含むことができ、該第1のコドーパントは、サマリアを含むか、本質的にはサマリアからなることができる。一部の例において、TBC組成物は、約0.1モル%〜約20モル%のサマリアを含む。他の例において、TBC組成物は、約0.5モル%〜約10モル%のサマリア、又は約0.5モル%〜約5モル%のサマリアを含む。
TBC組成物は、また、第2のコドーパントを含むことができ、該第2のコドーパントは、ルテチア、スカンジア、セリア、ガドリニア、ネオジミア、又はユーロピアの中の少なくとも1つを含むことができる。一部の例において、TBC組成物は、約0.1モル%〜約20モル%の第2のコドーパントを含む。他の例において、TBC組成物は、約0.5モル%〜約10モル%の第2のコドーパント、又は約0.5モル%〜約5モル%の第2のコドーパントを含む。
TBC組成物の総合的な構成は、所望の相構成を提供するように選択することができる。上述した通り、利用できる相構成としては、準安定な正方晶、立方晶系、及びRE−ZrO(及び/又はHfO)化合物を含む化合物、例えばREZr及びREHf(ここで、REは希土類元素である)が挙げられる。
一部の実施形態において、RE−ZrO(及び/又はHfO)化合物の相構成を達成するために、TBC組成物は、約20モル%〜約40モル%の主たるドーパント、約10モル%〜約20モル%の第1のコドーパント、約10モル%〜約20モル%の第2のコドーパント、並びに残りのベース酸化物及び存在するなら任意の不純物を含むことができる。
一部の実施形態において、立方晶系相構成を達成するために、TBC組成物は、約4モル%〜約10モル%の主たるドーパント、約1モル%〜約5モル%の第1のコドーパント、約1モル%〜約5モル%の第2のコドーパント、並びに残りのベース酸化物及び存在するなら任意の不純物を含む。
一部の実施形態において、準安定正方晶系相構成を達成するために、TBC組成物は、約2モル%〜約5モル%の主たるドーパント、約0.5モル%〜約3モル%の第1のコドーパント、約0.5モル%〜約3モル%の第2のコドーパント、並びに残りのベース酸化物及び存在するなら任意の不純物を含む。
一部の実施形態において、多孔性層として堆積されることに代わって、TBC組成物を含有する層26を、実質的に非多孔性の層、又は柱状微小構造含有層として堆積させることができる。いずれの場合も、TBC組成物を含有する層26を、例えば、プラズマ噴霧、PVD、CVD、又はスラリー堆積法によって堆積させることができる。TBC組成物を含有する層26を堆積させるのに使用できるPVDの1つが、EB−PVDである。TBC組成物を含有する層26を堆積させるのに使用できるEB−PVDの1つが、DVDである。DVDにおいて、エネルギー供給源は、TBC組成物を含有する層26中に堆積させるべき成分を含むターゲット材料の一部を気化させる電子ビームを作り出す。気化した材料は、次いで、遷速のガス流を使用して基材12に向けられる。このことは、EB−PVDに比べてより大きな堆積効率を可能にし、且つ、非直視堆積も可能にできる。
一部の実施形態において、TBC組成物を含有する層26は、プラズマ堆積を使用して堆積させることができる。TBC組成物を含有する層26が多孔性微小構造を含む場合、TBC組成物を含有する層26を形成する材料を、TBC組成物を含有する層26の堆積後に除去されて細孔を形成するポリエステルなどの犠牲材料と一緒に共堆積させることができる。
TBC組成物を含有する層26は、基材12に対して予定量の防護を提供する任意の厚さに形成することができる。一部の実施形態において、TBC組成物を含有する層26は、約0.5ミル〜約20ミルの厚さを有することができる。
多層型TBC24は、図2に示す実施形態においてTBC組成物を含有する層26の上に重なるCMAS耐性TBC層28も含む。CMAS耐性TBC層28は、図1に示すCMAS耐性TBC層18に関して説明した組成物及び微小構造のいずれかを含むことができる。例えば、CMAS耐性TBC層28は、TBC組成物とCMAS耐性組成物との混合物又は合金を含むことができる。CMAS耐性TBC層28中のTBC組成物は、本明細書に記載のTBC組成物、例えば、イットリア安定化ジルコニア、イットリア安定化ハフニア、少なくとも3つの希土類酸化物で安定化されたジルコニア、又は少なくとも3つの希土類酸化物で安定化されたハフニアの中のいずれかを含むことができる。CMAS耐性TBC層28中で使用するのに適したTBC組成物の例については、図1で前に説明した。一部の実施形態において、CMAS耐性TBC層28中のTBC組成物は、TBC組成物を含有する層26中のTBC組成物と実質的に同様であってよい。他の実施形態において、CMAS耐性TBC層28中のTBC組成物は、TBC組成物を含有する層26中のTBC組成物と異なっていてもよい。
CMAS耐性TBC層28は、また、CMAS耐性組成物を含む。図1のCMAS耐性TBC層18に関して上述の通り、CMAS耐性組成物は、アルミナ、シリカ、及び少なくとも1つの希土類酸化物を含むことができる。一部の実施形態において、CMAS耐性組成物は、約1モル%〜約99モル%の少なくとも1つの希土類酸化物、並びに約1モル%〜約99モル%のアルミナ及びシリカを含むことができる。他の実施形態において、CMAS耐性組成物は、約10モル%〜約90モル%の少なくとも1つの希土類酸化物、並びに約10モル%〜約90モル%のアルミナ及びシリカを含むことができる。他の実施形態において、CMAS耐性組成物は、約20モル%〜約80モル%の少なくとも1つの希土類酸化物、並びに約20モル%〜約80モル%のアルミナ及びシリカを含むことができる。
任意選択で、CMAS耐性組成物は、さらに、添加物、例えば、TiO、Ta、HfSiO、アルカリ酸化物、又はアルカリ土類酸化物の中の少なくとも1つを含むことができる。一部の実施形態において、添加剤をCMAS耐性TBC層28に添加して、CMAS耐性TBC層28の1つ又は複数の特性を修正することができる。
図1のCMAS耐性TBC層18に関して上述の通り、CMAS耐性TBC層28は、TBC組成物とCMAS耐性組成物との混合物又は合金を含むことができる。例えば、CMAS耐性TBC層28は、約1wt%〜約99wt%のTBC組成物及び約1wt%〜約99wt%のCMAS耐性組成物を含むことができる。一部の実施形態において、CMAS耐性TBC層28は、約50wt%〜約90wt%のTBC組成物及び約10wt%〜約50wt%のCMAS耐性組成物を含む。他の実施形態において、CMAS耐性TBC層28は、約50wt%〜約70wt%のTBC組成物及び約30wt%〜約50wt%のCMAS耐性組成物を含む。
CMAS耐性TBC層28は、実質的に密な微小構造、多孔性微小構造、又は柱状微小構造を含むことができる。CMAS耐性TBC層28は、例えば、プラズマ噴霧、PVD、CVD、又はスラリー堆積法によって堆積させることができる。CMAS耐性TBC層28を堆積させるのに使用できるPVDの1つが、EB−PVDである。CMAS耐性TBC層28を堆積させるのに使用できるEB−PVDの1つが、DVDである。
CMAS耐性TBC層28は、層28が基材12に対して予定の防護を提供する任意の適する厚さに形成することができる。一部の実施形態において、CMAS耐性TBC層28は、約0.5ミル〜約20ミルの厚さに形成することができる。
一部の実施形態において、多層型TBC24は、層26と同様のTBC組成物の単一層に比べて基材12に対してより大きな熱防護を提供することができる。例えば、多層型TBC24は、異なる組成物を含む2つの層(CMAS耐性TBC層26及びTBC組成物を含有する層24)の間に界面を含む。理論によって拘束されることを望むものではないが、異なる組成を有する2つの層間の界面は、層間の界面がフォノンの散乱点を提供するので、多層型TBC20の熱伝導率を、同様の組成を有する単一層型TBCに比較して低下させることができる。フォノンの散乱点は、全体として考えて、多層型TBC20の有効熱伝導率を低下させる。
さらに、上述の通り、CMAS耐性TBC層28中の成分は、層28と接触して固体又は高粘性の反応生成物を形成するCMASと反応することができる。反応生成物は、CMASに比べて著しく高い融点(例えば、約1200〜1250℃より高い)を有する可能性がある。CMAS耐性TBC層28は、それがCMASと反応するにつれて消費されるので、固体又は高粘性の反応生成物が望ましい。例えば、CMAS耐性TBC層28とCMASとの反応生成物が、比較的低粘度の液体であるなら、該低粘度液体は、CMAS耐性TBC層28が消費されるにつれて、多孔性又は柱状の層26の細孔又は亀裂に浸透することができ、CMAS耐性TBC層28は、まさにこの事態を防ぐように設計される。
しかし、反応生成物が固体又は高粘性であるなら、反応層は、CMAS耐性TBC層28の表面上又はその近傍(例えば、層28の外表面に近いCMAS耐性TBC層28中の細孔又は亀裂内)に生じる可能性があり、これは、CMASとCMAS耐性TBC層28との反応速度を低下させることができる。すなわち、いったん固体又は高粘性の反応層がCMAS耐性TBC層28の表面上又はその近傍に生じると、任意のさらなる反応は、CMASが反応層を通ってCMAS耐性TBC層28に遭遇するための拡散、又はCMAS耐性TBC層18の成分が反応層を通ってCMASに遭遇するための拡散を必要とするので、CMAS耐性TBC層28とCMASとの反応は減速する可能性がある。いずれの場合においても、いったん固体又は高粘性の反応層がCMAS耐性TBC層28の表面上に形成されると、拡散は最も遅い過程であると予想されるので、CMAS又はCMAS耐性TBC層28のどちらかの成分の拡散が、反応における律速段階であると予想される。この方式で、CMAS耐性TBC層28は、多層型TBC24に対してCMAS耐性を提供することができる。
図3、4及び5に示すように、一部の実施形態において、TBCは、さらなる層を含むことができる。例えば、図3は多層型TBC34で被覆された基材を含む物品30を図示する。図3に示す実施形態において、多層型TBC34は、結合層16、該結合層16の上に重なる第1のTBC組成物を含有する層36、該第1の層36の上に重なるCMAS耐性TBC層38、及び該CMAS耐性TBC層38の上に重なる第2のTBC組成物を含有する層40を含む。
基材12及び結合層16は、図1及び2に関して前に説明したと同様の組成物を含むことができる。さらに、一部の実施形態において、多層型TBC34は、結合層16を含まなくてもよく、第1の層36を、上述した通り、基材の上に直接的に形成することができる。
第1の層36は、本明細書に記載の任意のTBC組成物を含むことができる。例えば、第1の層36は、イットリア安定化ジルコニア、イットリア安定化ハフニア、少なくとも3つの希土類酸化物で安定化されたジルコニア、又は少なくとも3つの希土類酸化物で安定化されたハフニアを含むことができる。上述した通り、一部の実施形態において、TBC組成物は、ベース酸化物、主たるドーパント、第1のコドーパント、及び第2のコドーパントを含むことができる。
第1の層36は、実質的に非多孔性の層として、多孔性層として、又は柱状層として形成することができる。一部の実施形態において、第1の層36は、例えば、プラズマ噴霧、PVD、CVD、又はスラリー堆積法によって堆積させることができる。TBC組成物を含有する層26を堆積させるのに使用できるPVDの1つが、EB−PVDである。TBC組成物を含有する層26を堆積させるのに使用できるEB−PVDの1つが、DVDである。第1の層36は、約0.5ミル〜約20ミルの厚さに形成することができる。
CMAS耐性TBC層38は、第1の層36の上に重なり、TBC組成物及びCMAS耐性組成物を含む。CMAS耐性TBC層38中のTBC組成物は、本明細書に記載のTBC組成物、例えば、イットリア安定化ジルコニア、イットリア安定化ハフニア、少なくとも3つの希土類酸化物で安定化されたジルコニア、又は少なくとも3つの希土類酸化物で安定化されたハフニアのいずれかを含むことができる。CMAS耐性TBC層38中で使用するのに適したTBC組成物の例については、図1に関して前に説明している。一部の実施形態において、CMAS耐性TBC層38中のTBC組成物は、第1のTBC組成物を含有する層36中のTBC組成物及び第2のTBC組成物を含有する層40中のTBC組成物の中の少なくとも1つと実質的に同様でよい。他の実施形態において、CMAS耐性TBC層38中のTBC組成物は、第1のTBC含有層36及び第2のTBC組成物を含有する層40中のTBC組成物と異なっていてもよい。
CMAS耐性TBC層38は、また、CMAS耐性組成物を含む。図1のCMAS耐性TBC層18に関して上述の通り、CMAS耐性組成物は、アルミナ、シリカ、及び少なくとも1つの希土類酸化物を含むことができる。一部の実施形態において、CMAS耐性組成物は、約1モル%〜約99モル%の少なくとも1つの希土類酸化物、並びに約1モル%〜約99モル%のアルミナ及びシリカを含むことができる。他の実施形態において、CMAS耐性組成物は、約10モル%〜約90モル%の少なくとも1つの希土類酸化物、並びに10モル%〜約90モル%のアルミナ及びシリカを含むことができる。他の実施形態において、CMAS耐性組成物は、約20モル%〜約80モル%の少なくとも1つの希土類酸化物、並びに約20モル%〜約80モル%のアルミナ及びシリカを含むことができる。
任意選択で、CMAS耐性組成物は、さらに、添加剤、例えば、TiO、Ta、HfSiO、アルカリ酸化物、及びアルカリ土類酸化物の中の少なくとも1つを含むことができる。一部の実施形態では、上述した通り、CMAS耐性TBC層38に添加物を添加して、CMAS耐性TBC層38の1つ又は複数の特性を修正することができる。
CMAS耐性TBC層38は、TBC組成物とCMAS耐性組成物との混合物又は合金を含むことができる。例えば、CMAS耐性TBC層28は、約1wt%〜約99wt%のTBC組成物及び約1wt%〜約99wt%のCMAS耐性組成物を含むことができる。一部の実施形態において、CMAS耐性TBC層38は、約50wt%〜約90wt%のTBC組成物及び約10wt%〜約50wt%のCMAS耐性組成物を含む。他の実施形態において、CMAS耐性TBC層38は、約50wt%〜約70wt%のTBC組成物及び約30wt%〜約50wt%のCMAS耐性組成物を含む。
CMAS耐性TBC層38は、実質的に密な微小構造、多孔性微小構造又は柱状微小構造を含むことができる。CMAS耐性TBC層38は、例えば、プラズマ噴霧、PVD、CVD、又はスラリー堆積法によって堆積させることができる。CMAS耐性TBC層38を堆積させるのに使用できるPVDの1つが、EB−PVDである。CMAS耐性TBC層38を堆積させるのに使用できるEB−PVDの1つが、DVDである。
CMAS耐性TBC層38は、該層38が基材12に対して予定の防護を提供するのに適した任意の厚さに形成することができる。一部の実施形態において、CMAS耐性TBC層38は、約0.5ミル〜約20ミルの厚さに形成することができる。
多層型EBC34は、さらに、第2のTBC組成物を含有する層40を含む。該第2の層40は、本明細書に記載の任意のTBC組成物を含むことができる。例えば、第2の層40は、イットリア安定化ジルコニア、イットリア安定化ハフニア、少なくとも3つの希土類酸化物で安定化されたジルコニア、又は少なくとも3つの希土類酸化物で安定化されたハフニアを含むことができる。上述の通り、一部の実施形態において、TBC組成物は、ベース酸化物、主たるドーパント、第1のコドーパント、及び第2のコドーパントを含むことができる。
一部の実施形態において、第2の層40は、第1の層36及びCMAS耐性TBC層38の中の少なくとも1つと同様のTBC組成物を含む。他の実施形態において、第2の層40は、第1の層36及びCMAS耐性TBC層38の中の少なくとも1つと異なるTBC組成物を含む。
第2の層40は、実質的に非多孔性の層として、多孔性層として、又は柱状層として形成することができる。一部の実施形態において、第2の層40は、例えば、プラズマ噴霧、PVD、CVD、又はスラリー堆積法によって堆積させることができる。第2のTBC組成物を含有する層40を堆積させるのに使用できるPVDの1つが、EB−PVDである。第2の層40を堆積させるのに使用できるEB−PVDの1つが、DVDである。
第2の層40は、任意の予定の厚さに形成することができる。一部の実施形態において、第2の層40は、第1の層36の厚さ未満である厚さを有することができる。他の実施形態において、第2の層40は、第1の層36の厚さと実質的に同一、又はそれを超える厚さを有することができる。一部の実施形態において、第2の層40は、約0.5ミル〜約20ミルの厚さを有することができる。
一部の実施形態において、第2の層40は、CMASがCMAS耐性TBC層38と接触する速度を低下させることによって、CMASとCMAS耐性TBC層38とが反応する速度を低下させることができる。第2の層40は、(図2に関して説明した)CMAS耐性TBC層28上に形成される固体又は高粘性の反応層と同様、CMASがCMAS耐性TBC層38と接触するために通過しなければならない層として機能することができる。有効な反応速度のこの低下により、CMAS耐性TBC層38の寿命を延長し、第2のTBC組成物を含有する層40を含まない物品30に比較して、CMAS耐性TBC層38によって第1の層36に付与される防護を増大させることができる。したがって、一部の実施形態において、第2の層40の存在と、CMAS耐性TBC層38とCMASとの反応からの固体又は高粘性の反応生成物の形成との組合せは、溶融されたCMASの第1の層26の細孔又は亀裂中への浸透を実質的に防止することができる。
付加的に又は代わりに、多層型TBC34は、第1の層36と同様の組成物からなる単一層型TBCに比べて、基材12に対してより大きな熱防護を提供することができる。例えば、多層型TBC34は、異なる組成物を含む2つの層間(第1の層36とCMAS耐性TBC層38との間、及びCMAS耐性TBC層38と第2の層40との間)に2つの界面を含む。理論によって拘束されることを望むものではないが、異なる組成を有する2つの層の間の界面は、層間の界面がフォノンの散乱点を提供するので、同様の組成物を有する単一層型TBCに比較して、多層型TBC34の熱伝導率を低下させることができる。フォノンの散乱点は、全体的に考えると、多層型TBC34の有効熱伝導率を低下させる。
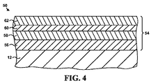
図4に示すような一部の実施形態において、物品50は、さらなる層を有する多層型TBC54で被覆された基材12を含むことができる。図4に示す例において、多層型TBC54は、第1のTBC組成物を含有する層56、第1のCMAS耐性TBC層58、第2のTBC組成物を含有する層60、及び第2のCMAS耐性TBC層62を含む。
図4には示さないが、一部の実施形態において、多層型TBC54は、図1〜3に関して上述の通り、結合層16を含むことができる。
第1の層56及び第2の層60は、図2及び3に関して前に説明したと類似した構造(図2のTBC組成物を含有する層26及び図3の第1の層36と第2の層40)と同様でよい。第1の層56及び第2の層60のそれぞれは、図2及び3中の同様の層に関して前に説明した任意の組合せの組成物及び厚さを含むことができる。例えば、第1の層56及び第2の層60は、それぞれ、遮熱コーティング組成物を含むことができる。第1の層56及び第2の層60の組成物は、独立に選択することができる。一部の実施形態において、第1の層56は、第2の層60と同様の組成物を有し、一方、他の実施形態において、第1の層56は、第2の層60と異なる組成物を有する。
第1のCMAS耐性TBC層58及び第2のCMAS耐性TBC層62は、それぞれ、図1のCMAS耐性TBC層18に関して前に説明したものと同様の組成物を含むことができる。例えば、第1のCMAS耐性TBC層58及び第2のCMAS耐性TBC層62の少なくとも一方は、TBC組成物及びCMAS耐性組成物を含むことができる。
第1のCMAS耐性TBC層58及び第2のCMAS耐性TBC層62の少なくとも一方のTBC組成物は、本明細書に記載のTBC組成物、例えば、イットリア安定化ジルコニア、イットリア安定化ハフニア、少なくとも3つの希土類酸化物で安定化されたジルコニア、又は少なくとも3つの希土類酸化物で安定化されたハフニアの中のいずれかを含むことができる。第1のCMAS耐性TBC層58及び/又は第2のCMAS耐性TBC層62中で使用するのに適したTBC組成物の例については、図1中のCMAS耐性TBC層18に関して前に説明している。
第1のCMAS耐性TBC層58及び第2のCMAS耐性TBC層62中のTBC組成物は、独立に選択することができる。一部の実施形態において、第1のCMAS耐性TBC層58及び第2のCMAS耐性TBC層62の少なくとも一方のTBC組成物は、第1のTBC組成物を含有する層56中のTBC組成物、及び第2のTBC組成物を含有する層60中のTBC組成物の中の少なくとも一方と実質的に同様でよい。他の実施形態において、第1のCMAS耐性TBC層58又は第2のCMAS耐性TBC層62の少なくとも一方のTBC組成物は、第1のTBC組成物を含有する層36及び第2のTBC組成物を含有する層40中のTBC組成物と異なっていてもよい。
第1のCMAS耐性TBC層58及び第2のCMAS耐性TBC層62は、また、CMAS耐性組成物を含む。図1でCMAS耐性TBC層18について上述の通り、CMAS耐性組成物は、アルミナ、シリカ、及び少なくとも1つの希土類酸化物を含むことができる。一部の実施形態において、CMAS耐性組成物は、約1モル%〜約99モル%の少なくとも1つの希土類酸化物、並びに約1モル%〜約99モル%のアルミナ及びシリカを含むことができる。他の実施形態において、CMAS耐性組成物は、約10モル%〜約90モル%の少なくとも1つの希土類酸化物、並びに約10モル%〜約90モル%のアルミナ及びシリカを含むことができる。他の実施形態において、CMAS耐性組成物は、約20モル%〜約80モル%の少なくとも1つの希土類酸化物、並びに約20モル%〜約80モル%のアルミナ及びシリカを含むことができる。
任意選択で、CMAS耐性組成物は、さらに、添加剤、例えば、TiO、Ta、HfSiO、アルカリ酸化物、及びアルカリ土類酸化物の中の少なくとも1つを含むことができる。一部の実施形態では、上述の通り、添加物を、CMAS耐性TBC層58又は第2のCMAS耐性TBC層62の少なくとも一方に添加して、CMAS耐性TBC層38の1つ又は複数の特性を修正することができる。さらに、第1のCMAS耐性TBC層58又は第2のCMAS耐性TBC層62は、同一又は異なっていてもよい、独立に選択されるCMAS組成物を含むことができる。
第1のCMAS耐性TBC層58及び第2のCMAS耐性TBC層62は、それぞれ、TBC組成物とCMAS耐性組成物との混合物又は合金を含むことができる。例えば第1のCMAS耐性TBC層58及び第2のCMAS耐性TBC層62は、約1wt%〜約99wt%のTBC組成物及び約1wt%〜約99wt%のCMAS耐性組成物を含むことができる。一部の実施形態において、第1のCMAS耐性TBC層58及び第2のCMAS耐性TBC層62の少なくとも一方は、約50wt%〜約90wt%のTBC組成物及び約10wt%〜約50wt%のCMAS耐性組成物を含む。他の実施形態において、第1のCMAS耐性TBC層58及び第2のCMAS耐性TBC層62の少なくとも一方は、約50wt%〜約70wt%のTBC組成物及び約30wt%〜約50wt%のCMAS耐性組成物を含む。
第1のCMAS耐性TBC層58及び第2のCMAS耐性TBC層62は、それぞれ、実質的に密な微小構造、多孔性微小構造、又は柱状微小構造を含むことができる。第1のCMAS耐性層58及び第2のCMAS耐性TBC層62の微小構造は、独立に選択することができ、同一又は異なっていてよい。第1のCMAS耐性TBC層58及び第2のCMAS耐性TBC層62は、それぞれ、例えば、プラズマ噴霧、PVD、CVD、又はスラリー堆積法によって堆積させることができる。第1のCMAS耐性TBC層58及び第2のCMAS耐性TBC層62の少なくとも一方を堆積させるのに使用できるPVDの1つが、EB−PVDである。第1のCMAS耐性TBC層58及び第2のCMAS耐性TBC層62の少なくとも一方を堆積させるのに使用できるEB−PVDの1つが、DVDである。
第1のCMAS耐性TBC層58及び第2のCMAS耐性TBC層62のそれぞれは、層58、62が基材12に対して予定の防護を提供するのに適した任意の厚さに形成することができる。一部の実施形態において、第1のCMAS耐性TBC層58及び第2のCMAS耐性TBC層62の少なくとも一方は、約0.5ミル〜約20ミルの厚さに形成することができる。
一部の実施形態において、第1のCMAS耐性TBC層58及び第2のCMAS耐性TBC層62を含む多層型TBC54は、単一のCMAS耐性TBC層のみを含むコーティングに比較して、CMASに対するさらなる抵抗性を提供することができる。例えば、第2のCMAS耐性TBC層62は、CMASからの初期防護を提供することができる。一部の実施形態において、第2のCMAS耐性TBC層62は、第2のCMAS耐性TBC層62の外表面上に存在するCMASと反応して、反応層を形成することができる。該反応層は、CMASと第2のCMAS耐性TBC層62との反応速度を低下させることのできる、固体又は高粘性の材料を含むことができる。すなわち、いったん固体又は高粘性の反応層が第2のCMAS耐性TBC層62の表面上に生じると、任意のさらなる反応は、CMASが反応層を通って第2のCMAS耐性TBC層62に遭遇するための拡散、又は第2のCMAS耐性TBC層62の成分が反応層を通ってCMASに遭遇するための拡散を必要とするので、第2のCMAS耐性TBC層62とCMASとの反応は減速する可能性がある。いずれの場合においても、固体又は高粘性の反応層が第2のCMAS耐性TBC層62の表面上に形成されると、CMAS、又は第2のCMAS耐性TBC層62中の成分のどちらかの拡散が、反応の律速段階であると予想される。
たとえ、反応層が第2のCMAS耐性TBC層62の表面上に形成されず、且つ/又は十分なCMASが第2のCMAS耐性TBC層62と反応することを可能にするのに十分な時間が経過し、結果として第2のCMAS耐性TBC層62が消費されるとしても、第1のCMAS耐性TBC層58(及び、一部の実施形態では、第2の層60)は、図3に関して上述の通り、第1の層56に対してCMASからの防護を提供することができる。この方式で、第2のCMAS耐性TBC層62、第1のCMAS耐性TBC層58、及び任意選択で第2の層60は、第1の層56及び基材12に対してCMASからの重層的防護を提供することができる。
付加的に又は代わりに、一部の実施形態において、多層型TBC54は、同等の厚さの単一の層のみを含む遮熱コーティングに比べて、基材12に対してより大きな熱防護を提供することができる。上述の通り、これは、それぞれの層の間の界面が、コーティング32を通って熱エネルギーを伝えるフォノンに対して散乱点を提供するためと考えられる。
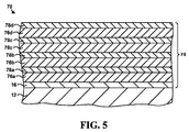
一部の実施形態において、TBC組成物を含有する層及びCMAS耐性TBC層を互い違いにする概念は、2つのTBC組成物を含有する層及び2つのCMAS耐性TBC層の範囲を超えて拡張することができる。例えば、図5に示すように、物品70は、4つのTBC組成物を含有する層76a、76b、76c、76d(まとめて「層76」)、及び4つのCMAS耐性TBC層78a、78b、78c、78d(まとめて「CMAS耐性TBC層78」)を含む多層型TBC74を含むことができる。図5は、4つのTBC組成物を含有する層76及び4つのCMAS耐性TBC層78を含む物品を示すが、物品は、任意の数のTBC組成物を含有する層76及び任意の数のCMAS耐性TBC層78を含むことができる。一部の実施形態において、物品は、同数のTBC組成物を含有する層76及びCMAS耐性TBC層78を含み、一方、他の実施形態で、物品は、CMAS耐性TBC層78とは異なる数のTBC組成物を含有する層76を含むことができる。物品がCMAS耐性TBC層78とは異なる数のTBC組成物を含有する層76を含む実施形態において、物品は、より多くの数のTBC組成物を含有する層76又はより少ない数のTBC組成物を含有する層76を含むことができる。
層76のそれぞれは、独立に選択されたTBC組成物を含むことができる。TBC組成物のそれぞれは、本明細書に開示のTBC組成物から選択することができる。
さらに、CMAS耐性TBC層78のそれぞれは、独立に選択される組成物を含むことができる。一部の実施形態において、CMAS耐性TBC層78の少なくとも2つは同一の組成を有することができる。個々のCMAS耐性TBC層78中の組成物は、図1〜4に関して前に説明した組成物のいずれか、例えば、TBC組成物とCMAS耐性組成物との混合物又は合金を含むことができる。
一部の実施形態において、多層型TBC74の最上層は、図5に示すように、CMAS耐性TBC層78dである。しかし、他の実施形態において、多層型TBC74の最上層は、TBC組成物を含有する層76でもよい。
一部の実施形態において、複数のTBC組成物を含有する層76と互い違いになった複数のCMAS耐性TBC層78を含む多層型TBC74は、利点を提供することができる。例えば、多層型TBC74は、多層型TBC74と同じ厚さの単一層を含むコーティングと比べて、より大きな熱防護(例えば、より小さな有効熱伝導率)を提供することができる。理論によって拘束されることを望むものではないが、上述の通り、異なる層の間の(例えば、層76aとCMAS耐性TBC層78aとの間の)界面は、異なる層の間の界面を有さないコーティングに比較して、多層型TBC74の熱伝導率を低下させることのできるフォノン散乱点を提供する。一部の実施形態において、交互層の数が多いほど、多層型TBC74の熱伝導率のより大きな低下を提供することができる。付加的に又は代わりに、多層型TBC74は、複数のCMAS耐性TBC層78が、層76の細孔又は亀裂中へのCMASの浸透に対して重層的防護を提供することができるので、単一のCMAS耐性TBC層を含むコーティングに比較して、基材12に対して改善されたCMAS耐性を提供することができる。
本開示の種々の実施形態を説明してきたが、これらの及びその他の実施形態は、以下の特許請求の範囲に包含される。

Claims (22)

  1. 超合金基材と、前記超合金基材の上に重なるカルシア−マグネシア−アルミナ−シリケート(CMAS)耐性遮熱コーティング(TBC)層とを備える物品であって、前記CMAS耐性TBC層が、約50wt%〜約90wt%のTBC組成物であって、イットリア安定化ジルコニア、イットリア安定化ハフニア、少なくとも3つの希土類酸化物で安定化されたジルコニア、及び少なくとも3つの希土類酸化物で安定化されたハフニアの中の少なくとも1つを含む前記TBC組成物と、約10wt%〜約50wt%のCMAS耐性組成物であって、アルミナと、シリカと、Sc、Y、La、Ce、Pr、Nd、Pm、Sm、Eu、Gd、Yb、Dy、Ho、Er、Tm、Tb又はLuの中の少なくとも1つの酸化物とを含む前記CMAS耐性組成物とを含む、前記物品。
  2. 前記TBC組成物が、少なくとも3つの希土類酸化物で安定化されたジルコニアを含み、前記少なくとも3つの希土類酸化物が、イッテルビアと、サマリアと、ルテチア、スカンジア、セリア、ガドリニア、ネオジミア又はユーロピアの中の少なくとも1つとを含む、請求項1に記載の物品。
  3. 前記TBC組成物が、約2モル%〜約40モル%のイッテルビアと、約0.5モル%〜約20モル%のサマリアと、約0.5モル%〜約20モル%の、ルテチア、スカンジア、セリア、ガドリニア、ネオジミア又はユーロピアの中の少なくとも1つとを含む、請求項2に記載の物品。
  4. 前記TBC組成物が、約20モル%〜約40モル%のイッテルビアと、約10モル%〜約20モル%のサマリアと、約10モル%〜約20モル%の、ルテチア、スカンジア、セリア、ガドリニア、ネオジミア又はユーロピアの中の少なくとも1つとを含む、請求項3に記載の物品。
  5. 前記TBC組成物が、約4モル%〜約10モル%のイッテルビアと、約1モル%〜約5モル%のサマリアと、約1モル%〜約5モル%の、ルテチア、スカンジア、セリア、ガドリニア、ネオジミア又はユーロピアの中の少なくとも1つとを含む、請求項3に記載の物品。
  6. 前記TBC組成物が、約2モル%〜約5モル%のイッテルビアと、約0.5モル%〜約3モル%のサマリアと、約0.5モル%〜約3モル%の、ルテチア、スカンジア、セリア又はネオジミアの中の少なくとも1つとを含む、請求項3に記載の物品。
  7. 前記TBC組成物が、少なくとも3つの希土類酸化物で安定化されたハフニアを含み、前記少なくとも3つの希土類酸化物が、イッテルビアと、サマリアと、ルテチア、スカンジア、セリア、ガドリニア、ネオジミア又はユーロピアの中の少なくとも1つとを含む、請求項1に記載の物品。
  8. 前記TBC組成物が、約2モル%〜約40モル%のイッテルビアと、約0.5モル%〜約20モル%のサマリアと、約0.5モル%〜約20モル%の、ルテチア、スカンジア、セリア、ガドリニア、ネオジミア又はユーロピアの中の少なくとも1つとを含む、請求項7に記載の物品。
  9. 前記TBC組成物が、約20モル%〜約40モル%のイッテルビアと、約10モル%〜約20モル%のサマリアと、約10モル%〜約20モル%の、ルテチア、スカンジア、セリア、ガドリニア、ネオジミア又はユーロピアの中の少なくとも1つとを含む、請求項8に記載の物品。
  10. 前記TBC組成物が、約4モル%〜約10モル%のイッテルビアと、約1モル%〜約5モル%のサマリアと、約1モル%〜約5モル%の、ルテチア、スカンジア、セリア、ガドリニア、ネオジミア又はユーロピアの中の少なくとも1つとを含む、請求項8に記載の物品。
  11. 前記TBC組成物が、約2モル%〜約5モル%のイッテルビアと、約0.5モル%〜約3モル%のサマリアと、約0.5モル%〜約3モル%の、ルテチア、スカンジア、セリア又はネオジミアの中の少なくとも1つとを含む、請求項8に記載の物品。
  12. 前記CMAS耐性TBC層が、酸化タンタル、酸化チタン、ケイ酸ハフニウム、アルカリ酸化物、又はアルカリ土類酸化物の中の少なくとも1つをさらに含む、請求項1から11までのいずれ一項に記載の物品。
  13. 前記CMAS耐性TBC層が、約0.5ミル〜約20ミルの厚さを有する、請求項1から12までのいずれか一項に記載の物品。
  14. 前記TBC組成物が第1のTBC組成物を含み、超合金基材の上に重なる第2のTBC組成物を含有する層をさらに備え、前記CMAS耐性TBC層が前記TBC組成物を含有する層の上に重なる、請求項1から13までのいずれか一項に記載の物品。
  15. 前記第2のTBC組成物が、少なくとも3つの希土類酸化物で安定化されたハフニアを含み、前記少なくとも3つの希土類酸化物が、イッテルビアと、サマリアと、ルテチア、スカンジア、セリア、ガドリニア、ネオジミア又はユーロピアの中の少なくとも1つとを含む、請求項14に記載の物品。
  16. 前記超合金基材の上に重なる結合層をさらに含み、前記第1のTBC組成物を含有する層が、前記結合層の上に重なる、請求項14又は15に記載の物品。
  17. 前記第2のTBC組成物を含有する層が第1の層を含み、前記CMAS耐性TBC層の上に重なる第3のTBC組成物を含む第2の層をさらに含み、前記第3のTBC組成物が、イットリア安定化ジルコニア、イットリア安定化ハフニア、少なくとも3つの希土類酸化物で安定化されたジルコニア、又は少なくとも3つの希土類酸化物で安定化されたハフニアの中の少なくとも1つを含む、請求項14から16までのいずれか一項に記載の物品。
  18. 第1の層が約0.5ミル〜約20ミルの厚さを有し、CMAS耐性TBC層が約0.5ミル〜約20ミルの厚さを有し、且つ第2の層が約0.5ミル〜約20ミルの厚さを有する、請求項17に記載の物品。
  19. 超合金基材を覆うカルシア−マグネシア−アルミナ−シリケート(CMAS)耐性遮熱コーティング(TBC)層を形成することを含む方法であって、前記CMAS耐性TBC層が、約50wt%〜約90wt%のTBC組成物であって、イットリア安定化ジルコニア、イットリア安定化ハフニア、少なくとも3つの希土類酸化物で安定化されたジルコニア、又は少なくとも3つの希土類酸化物で安定化されたハフニアの中の少なくとも1つを含む前記TBC組成物と、約10wt%〜約50wt%のCMAS耐性組成物であって、アルミナと、シリカと、Sc、Y、La、Ce、Pr、Nd、Pm、Sm、Eu、Gd、Yb、Dy、Ho、Er、Tm、Tb又はLuの中の少なくとも1つの酸化物とを含む前記CMAS耐性組成物とを含む、前記方法。
  20. 前記超合金基材を覆うCMAS耐性TBC層を形成することが、化学蒸着、プラズマ噴霧、物理蒸着、又はスラリー法の中の少なくとも1つを使用して、前記超合金基材を覆うCMAS耐性TBC層を堆積させることを含む、請求項19に記載の方法。
  21. 前記遮熱コーティング(TBC)組成物が第1のTBC組成物を含み、更に、超合金基材を覆う第2のTBC組成物を含有する層を形成することを含み、前記第2のTBC組成物は、イットリア安定化ジルコニア、イットリア安定化ハフニア、少なくとも3つの希土類酸化物で安定化されたジルコニア、又は少なくとも3つの希土類酸化物で安定化されたハフニアの中の少なくとも1つを含むものであって、前記超合金基材を覆うカルシア−マグネシア−アルミナ−シリケート(CMAS)耐性TBC層を形成することが、前記第2のTBC組成物を含有する層を覆うCMAS耐性TBC層を形成することを含む、請求項19又は20に記載の方法。
  22. CMAS耐性TBC層を覆う第3のTBC組成物を含有する層を形成することをさらに含み、前記第3のTBC組成物が、イットリア安定化ジルコニア、イットリア安定化ハフニア、少なくとも3つの希土類酸化物で安定化されたジルコニア、又は少なくとも3つの希土類酸化物で安定化されたハフニアの中の少なくとも1つを含む、請求項21に記載の方法。
JP2013520810A 2010-07-23 2011-07-19 Cmas耐性遮熱コーティング層を含む遮熱コーティング Expired - Fee Related JP5620577B2 (ja)

Applications Claiming Priority (3)

Application Number Priority Date Filing Date Title
US36706710P 2010-07-23 2010-07-23
US61/367,067 2010-07-23
PCT/US2011/044541 WO2012012431A1 (en) 2010-07-23 2011-07-19 Thermal barrier coatings including c mas-resistant thermal barrier coating layers

Publications (2)

Publication Number Publication Date
JP2013540887A true JP2013540887A (ja) 2013-11-07
JP5620577B2 JP5620577B2 (ja) 2014-11-05

Family

ID=44629513

Family Applications (1)

Application Number Title Priority Date Filing Date
JP2013520810A Expired - Fee Related JP5620577B2 (ja) 2010-07-23 2011-07-19 Cmas耐性遮熱コーティング層を含む遮熱コーティング

Country Status (5)

Country Link
US (1) US9194242B2 (ja)
EP (1) EP2596068B1 (ja)
JP (1) JP5620577B2 (ja)
CA (1) CA2806172C (ja)
WO (1) WO2012012431A1 (ja)

Cited By (6)

* Cited by examiner, † Cited by third party
Publication number Priority date Publication date Assignee Title
JP2014177702A (ja) * 2013-03-13 2014-09-25 General Electric Co <Ge> アルミノケイ酸カルシウムマグネシウム耐性コーティング及びアルミノケイ酸カルシウムマグネシウム耐性コーティングの形成方法
JP2015501375A (ja) * 2011-10-13 2015-01-15 ゼネラル・エレクトリック・カンパニイ 遮熱コーティング系およびそのための方法
US9023486B2 (en) 2011-10-13 2015-05-05 General Electric Company Thermal barrier coating systems and processes therefor
JP2018161883A (ja) * 2016-12-11 2018-10-18 ゼネラル・エレクトリック・カンパニイ 低い熱伝導率を有する遮熱コーティング
JP2021519386A (ja) * 2018-04-09 2021-08-10 エリコン メテコ(ユーエス)インコーポレイテッド Cmas耐性、高歪み許容性及び低熱伝導率の遮熱コーティング及び溶射コーティング方法
JP2021175826A (ja) * 2020-05-01 2021-11-04 ゼネラル・エレクトリック・カンパニイ 遮熱コーティング用の組成物

Families Citing this family (37)

* Cited by examiner, † Cited by third party
Publication number Priority date Publication date Assignee Title
US20090186237A1 (en) 2008-01-18 2009-07-23 Rolls-Royce Corp. CMAS-Resistant Thermal Barrier Coatings
EP2344590B1 (en) 2008-09-30 2016-11-30 Rolls-Royce Corporation Coating including a rare earth silicate-based layer including a second phase
EP2596068B1 (en) 2010-07-23 2015-09-02 Rolls-Royce Corporation Thermal barrier coatings including c mas-resistant thermal barrier coating layers
WO2012027442A1 (en) 2010-08-27 2012-03-01 Rolls-Royce Corporation Rare earth silicate environmental barrier coatings
US20140186656A1 (en) * 2012-12-31 2014-07-03 United Technologies Corporation Spallation-Resistant Thermal Barrier Coating
US9683448B2 (en) 2013-03-18 2017-06-20 Honeywell International Inc. Low conductivity thermal barrier coating
US9711334B2 (en) 2013-07-19 2017-07-18 Applied Materials, Inc. Ion assisted deposition for rare-earth oxide based thin film coatings on process rings
US9583369B2 (en) 2013-07-20 2017-02-28 Applied Materials, Inc. Ion assisted deposition for rare-earth oxide based coatings on lids and nozzles
US9725799B2 (en) * 2013-12-06 2017-08-08 Applied Materials, Inc. Ion beam sputtering with ion assisted deposition for coatings on chamber components
US11479846B2 (en) 2014-01-07 2022-10-25 Honeywell International Inc. Thermal barrier coatings for turbine engine components
US10775045B2 (en) * 2014-02-07 2020-09-15 Raytheon Technologies Corporation Article having multi-layered coating
DE102014205491A1 (de) * 2014-03-25 2015-10-01 Siemens Aktiengesellschaft Keramisches Wärmedämmschichtsystem mit Schutzschicht gegen CMAS
US10730798B2 (en) 2014-05-07 2020-08-04 Applied Materials, Inc. Slurry plasma spray of plasma resistant ceramic coating
US10329205B2 (en) 2014-11-24 2019-06-25 Rolls-Royce Corporation Bond layer for silicon-containing substrates
US10604454B1 (en) 2016-06-16 2020-03-31 United States Of America As Represented By The Administrator Of National Aeronautics And Space Administration Advanced high temperature environmental barrier coating for SiC/SiC ceramic matrix composites
WO2018015985A1 (ja) * 2016-07-22 2018-01-25 株式会社 東芝 遮熱コーティング部材、軸流タービン、および遮熱コーティング部材の製造方法
US10214457B2 (en) 2016-09-16 2019-02-26 General Electric Company Compositions containing gallium and/or indium and methods of forming the same
US9944563B2 (en) * 2016-09-16 2018-04-17 General Electric Company Silicon-based materials containing indium and methods of forming the same
US10822696B2 (en) 2016-12-14 2020-11-03 General Electric Company Article with thermal barrier coating and method for making
US20190003321A1 (en) 2017-06-28 2019-01-03 Honeywell International Inc. Methods for forming high temperature coating systems and gas turbine engine components including the same
US20190017177A1 (en) 2017-07-17 2019-01-17 Rolls-Royce Corporation Thermal barrier coatings for components in high-temperature mechanical systems
US11655543B2 (en) 2017-08-08 2023-05-23 Rolls-Royce Corporation CMAS-resistant barrier coatings
DE102017119387B4 (de) 2017-08-24 2024-03-07 Deutsches Zentrum für Luft- und Raumfahrt e.V. CMAS-resistente Schutzschicht sowie Gegenstand umfassend eine solche Schutzschicht
US10851656B2 (en) 2017-09-27 2020-12-01 Rolls-Royce Corporation Multilayer environmental barrier coating
CA3078298A1 (en) * 2017-12-19 2019-06-27 Oerlikon Metco (Us) Inc. Erosion and cmas resistant coating for protecting ebc and cmc layers and thermal spray coating method
FR3075692B1 (fr) * 2017-12-27 2020-11-27 Safran Piece revetue d'une composition de protection contre les cmas a fissuration controlee, et procede de traitement correspondant
CN108930012B (zh) * 2018-08-24 2020-07-07 大连工业大学 一种多氧化物共掺耐熔融玻璃腐蚀的热障涂层
US11028486B2 (en) 2018-12-04 2021-06-08 General Electric Company Coating systems including infiltration coatings and reactive phase spray formulation coatings
FR3096690B1 (fr) * 2019-05-27 2021-07-23 Safran Procédé de protection contre la corrosion
US12344565B2 (en) 2019-12-19 2025-07-01 Rolls-Royce Corporation CMAS-resistant abradable coatings
US11686208B2 (en) 2020-02-06 2023-06-27 Rolls-Royce Corporation Abrasive coating for high-temperature mechanical systems
US20220025523A1 (en) * 2020-07-22 2022-01-27 Honeywell International Inc. Cmas-resistant themal barrier coating for part of gas turbine engine
US11566531B2 (en) * 2020-10-07 2023-01-31 Rolls-Royce Corporation CMAS-resistant abradable coatings
US12054427B2 (en) 2021-05-07 2024-08-06 Rtx Corporation Environmental barrier coating
US12065382B2 (en) 2021-05-07 2024-08-20 Rtx Corporation Environmental barrier coating
US20230278930A1 (en) * 2022-03-07 2023-09-07 Honeywell International Inc. Cmas-resistant thermal barrier coating for aero-engine parts
US12545791B2 (en) * 2022-08-30 2026-02-10 Praxair S.T. Technology, Inc. Chromate-free and phosphate-free ceramic coating compositions for hot corrosion protection of substrates

Citations (3)

* Cited by examiner, † Cited by third party
Publication number Priority date Publication date Assignee Title
JPS62142789A (ja) * 1985-12-12 1987-06-26 ベ−ベ−ツエ−・アクチエンゲゼルシヤフト・ブラウン・ボバリ・ウント・シ− 高温防護被覆及びその製造方法
JP2009108856A (ja) * 2007-10-29 2009-05-21 General Electric Co <Ge> 遮熱コーティングの処理方法及び関連物品
EP2208805A1 (en) * 2008-12-24 2010-07-21 United Technologies Corporation Strain tolerant thermal barrier coating system

Family Cites Families (150)

* Cited by examiner, † Cited by third party
Publication number Priority date Publication date Assignee Title
DE2400705C3 (de) 1974-01-08 1984-05-03 Miele & Cie GmbH & Co, 4830 Gütersloh Beschichtungsbehälter mit Elektroden
US4094673A (en) 1974-02-28 1978-06-13 Brunswick Corporation Abradable seal material and composition thereof
US3964877A (en) 1975-08-22 1976-06-22 General Electric Company Porous high temperature seal abradable member
EP0048288B1 (de) 1980-09-19 1985-12-11 Ibm Deutschland Gmbh Verfahren zur Dotierung von Halbleiterbauelementen mittels Ionenimplantation
US4588607A (en) 1984-11-28 1986-05-13 United Technologies Corporation Method of applying continuously graded metallic-ceramic layer on metallic substrates
US4663250A (en) 1986-03-12 1987-05-05 Institute Of Gas Technology Reduction of electrode dissolution
US4914794A (en) 1986-08-07 1990-04-10 Allied-Signal Inc. Method of making an abradable strain-tolerant ceramic coated turbine shroud
US5955197A (en) 1989-08-15 1999-09-21 Boeing North American, Inc. Coating for carbon--carbon composites and method for producing same
WO1993024672A1 (en) 1992-05-29 1993-12-09 United Technologies Corporation Ceramic thermal barrier coating for rapid thermal cycling applications
US5350599A (en) 1992-10-27 1994-09-27 General Electric Company Erosion-resistant thermal barrier coating
US5391404A (en) 1993-03-15 1995-02-21 The United States Of America As Represented By The National Aeronautics And Space Administration Plasma sprayed mullite coatings on silicon-base ceramics
US5660885A (en) 1995-04-03 1997-08-26 General Electric Company Protection of thermal barrier coating by a sacrificial surface coating
US5871820A (en) 1995-04-06 1999-02-16 General Electric Company Protection of thermal barrier coating with an impermeable barrier coating
US5851678A (en) 1995-04-06 1998-12-22 General Electric Company Composite thermal barrier coating with impermeable coating
US5773141A (en) 1995-04-06 1998-06-30 General Electric Company Protected thermal barrier coating composite
US5714202A (en) 1995-06-07 1998-02-03 Lemelson; Jerome H. Synthetic diamond overlays for gas turbine engine parts having thermal barrier coatings
DE19680503B3 (de) 1995-06-26 2014-01-09 General Electric Co. Verbundmaterial mit durch mehrere Überzüge geschütztem Wärmesperren-Überzug und Verfahren zu seiner Herstellung
US6465090B1 (en) 1995-11-30 2002-10-15 General Electric Company Protective coating for thermal barrier coatings and coating method therefor
US5704759A (en) 1996-10-21 1998-01-06 Alliedsignal Inc. Abrasive tip/abradable shroud system and method for gas turbine compressor clearance control
US5759932A (en) 1996-11-08 1998-06-02 General Electric Company Coating composition for metal-based substrates, and related processes
US6835465B2 (en) 1996-12-10 2004-12-28 Siemens Westinghouse Power Corporation Thermal barrier layer and process for producing the same
US6261643B1 (en) 1997-04-08 2001-07-17 General Electric Company Protected thermal barrier coating composite with multiple coatings
US6849334B2 (en) 2001-08-17 2005-02-01 Neophotonics Corporation Optical materials and optical devices
US5869146A (en) 1997-11-12 1999-02-09 United Technologies Corporation Plasma sprayed mullite coatings on silicon based ceramic materials
US6057047A (en) 1997-11-18 2000-05-02 United Technologies Corporation Ceramic coatings containing layered porosity
US5876860A (en) 1997-12-09 1999-03-02 N.V. Interturbine Thermal barrier coating ceramic structure
US5985470A (en) 1998-03-16 1999-11-16 General Electric Company Thermal/environmental barrier coating system for silicon-based materials
US6299988B1 (en) 1998-04-27 2001-10-09 General Electric Company Ceramic with preferential oxygen reactive layer
US6485848B1 (en) 1998-04-27 2002-11-26 General Electric Company Coated article and method of making
US6289068B1 (en) 1998-06-22 2001-09-11 Xilinx, Inc. Delay lock loop with clock phase shifter
SG71925A1 (en) 1998-07-17 2000-04-18 United Technologies Corp Article having a durable ceramic coating and apparatus and method for making the article
US6296941B1 (en) 1999-04-15 2001-10-02 General Electric Company Silicon based substrate with yttrium silicate environmental/thermal barrier layer
US6296942B1 (en) 1999-04-15 2001-10-02 General Electric Company Silicon based substrate with calcium aluminosilicate environmental/thermal barrier layer
US6410148B1 (en) 1999-04-15 2002-06-25 General Electric Co. Silicon based substrate with environmental/ thermal barrier layer
US6485780B1 (en) 1999-08-23 2002-11-26 General Electric Company Method for applying coatings on substrates
GB2355005B (en) 1999-10-04 2004-03-24 Caterpillar Inc Rare earth silicate coating on a silicon-based ceramic component by controlled oxidation for improved corrosion resistance
US6723674B2 (en) 2000-09-22 2004-04-20 Inframat Corporation Multi-component ceramic compositions and method of manufacture thereof
US6645649B2 (en) 2000-10-31 2003-11-11 Kyocera Corporation Surface-coated sintered body of silicon nitride
US6812176B1 (en) 2001-01-22 2004-11-02 Ohio Aerospace Institute Low conductivity and sintering-resistant thermal barrier coatings
US7001859B2 (en) 2001-01-22 2006-02-21 Ohio Aerospace Institute Low conductivity and sintering-resistant thermal barrier coatings
US7879411B2 (en) 2001-04-30 2011-02-01 University Of Virginia Patent Foundation Method and apparatus for efficient application of substrate coating
US6869508B2 (en) 2001-10-19 2005-03-22 General Electric Company Physical vapor deposition apparatus and process
US6617036B2 (en) 2001-12-19 2003-09-09 United Technologies Corporation Barrier layer for silicon containing substrate
US6617037B2 (en) 2001-12-19 2003-09-09 United Technologies Corporation Silicon based substrate with a CTE compatible layer on the substrate
US20030138658A1 (en) 2002-01-22 2003-07-24 Taylor Thomas Alan Multilayer thermal barrier coating
US6720038B2 (en) 2002-02-11 2004-04-13 General Electric Company Method of forming a coating resistant to deposits and coating formed thereby
US6627323B2 (en) 2002-02-19 2003-09-30 General Electric Company Thermal barrier coating resistant to deposits and coating method therefor
US6902662B2 (en) 2002-04-29 2005-06-07 Champion Technologies, Inc. Method of reducing hydrolysis in hydrocarbon streams
US6759151B1 (en) 2002-05-22 2004-07-06 The United States Of America As Represented By The Administrator Of The National Aeronautics And Space Administration Multilayer article characterized by low coefficient of thermal expansion outer layer
US6733908B1 (en) 2002-07-08 2004-05-11 The United States Of America As Represented By The Administrator Of The National Aeronautics And Space Administration Multilayer article having stabilized zirconia outer layer and chemical barrier layer
US6730422B2 (en) 2002-08-21 2004-05-04 United Technologies Corporation Thermal barrier coatings with low thermal conductivity
US6890668B2 (en) 2002-08-30 2005-05-10 General Electric Company Thermal barrier coating material
US6933066B2 (en) 2002-12-12 2005-08-23 General Electric Company Thermal barrier coating protected by tantalum oxide and method for preparing same
US6893750B2 (en) 2002-12-12 2005-05-17 General Electric Company Thermal barrier coating protected by alumina and method for preparing same
US7226668B2 (en) 2002-12-12 2007-06-05 General Electric Company Thermal barrier coating containing reactive protective materials and method for preparing same
US20040115470A1 (en) 2002-12-12 2004-06-17 Ackerman John Frederick Thermal barrier coating protected by infiltrated alumina and method for preparing same
US6933061B2 (en) 2002-12-12 2005-08-23 General Electric Company Thermal barrier coating protected by thermally glazed layer and method for preparing same
US6887528B2 (en) 2002-12-17 2005-05-03 General Electric Company High temperature abradable coatings
US20050003172A1 (en) 2002-12-17 2005-01-06 General Electric Company 7FAstage 1 abradable coatings and method for making same
US6787195B2 (en) 2003-02-03 2004-09-07 General Electric Company Method of depositing a coating on Si-based ceramic composites
US7063894B2 (en) 2003-05-22 2006-06-20 United Technologies Corporation Environmental barrier coating for silicon based substrates
US6902836B2 (en) 2003-05-22 2005-06-07 United Technologies Corporation Environmental barrier coating for silicon based substrates such as silicon nitride
US6777093B1 (en) 2003-05-22 2004-08-17 United Technologies Corporation Bond layer for silicon containing substrate
US6969555B2 (en) 2003-10-06 2005-11-29 General Electric Company Aluminate coating for a silicon containing substrate
US20050129511A1 (en) 2003-12-11 2005-06-16 Siemens Westinghouse Power Corporation Turbine blade tip with optimized abrasive
US20050129973A1 (en) 2003-12-16 2005-06-16 Eaton Harry E. Velocity barrier layer for environmental barrier coatings
US7824744B2 (en) 2003-12-16 2010-11-02 General Electric Company Process and apparatus for depositing a ceramic coating
US6887595B1 (en) 2003-12-30 2005-05-03 General Electric Company Thermal barrier coatings having lower layer for improved adherence to bond coat
US7364802B2 (en) * 2003-12-30 2008-04-29 General Electric Company Ceramic compositions useful in thermal barrier coatings having reduced thermal conductivity
US6960395B2 (en) * 2003-12-30 2005-11-01 General Electric Company Ceramic compositions useful for thermal barrier coatings having reduced thermal conductivity
US7090894B2 (en) 2004-02-10 2006-08-15 General Electric Company Bondcoat for the application of TBC's and wear coatings to oxide ceramic matrix
EP1743395B1 (en) 2004-04-15 2018-10-10 Versa Power Systems, Ltd. Fuel cell shutdown with steam purging
US20050255648A1 (en) 2004-05-13 2005-11-17 Tania Bhatia Silicon based substrate hafnium oxide top environmental/thermal top barrier layer and method for preparing
JP4681841B2 (ja) 2004-06-18 2011-05-11 京セラ株式会社 耐食性窒化珪素セラミックス
US20060014029A1 (en) 2004-07-15 2006-01-19 General Electric Company Article including environmental barrier coating system, and method for making
US7927722B2 (en) 2004-07-30 2011-04-19 United Technologies Corporation Dispersion strengthened rare earth stabilized zirconia
US7306860B2 (en) 2004-07-30 2007-12-11 Honeywell International, Inc. Protective coating for oxide ceramic based composites
US7422671B2 (en) 2004-08-09 2008-09-09 United Technologies Corporation Non-line-of-sight process for coating complexed shaped structures
US7666512B2 (en) 2004-08-09 2010-02-23 United Technologies Corporation Thermal resistant environmental barrier coating
WO2006023894A2 (en) 2004-08-24 2006-03-02 Saint-Gobain Ceramics & Plastics, Inc. Semiconductor processing components and semiconductor processing utilizing same
US7374825B2 (en) 2004-12-01 2008-05-20 General Electric Company Protection of thermal barrier coating by an impermeable barrier coating
US20060115661A1 (en) 2004-12-01 2006-06-01 General Electric Company Protection of thermal barrier coating by a sacrificial coating
US7364807B2 (en) 2004-12-06 2008-04-29 General Electric Company Thermal barrier coating/environmental barrier coating system for a ceramic-matrix composite (CMC) article to improve high temperature capability
US7429424B2 (en) 2004-12-06 2008-09-30 General Electric Company Sintering resistant, low conductivity, high stability thermal barrier coating/environmental barrier coating system for a ceramic-matrix composite (CMC) article to improve high temperature capability
US20060154093A1 (en) 2005-01-13 2006-07-13 General Electric Company Multilayered environmental barrier coating and related articles and methods
US7449254B2 (en) 2005-01-21 2008-11-11 General Electric Company Environmental barrier coating with physical barrier layer for silicon-comprising materials
US20060211241A1 (en) 2005-03-21 2006-09-21 Christine Govern Protective layer for barrier coating for silicon-containing substrate and process for preparing same
US20060210800A1 (en) 2005-03-21 2006-09-21 Irene Spitsberg Environmental barrier layer for silcon-containing substrate and process for preparing same
US7374818B2 (en) 2005-05-23 2008-05-20 United Technologies Corporation Coating system for silicon based substrates
US20060280955A1 (en) 2005-06-13 2006-12-14 Irene Spitsberg Corrosion resistant sealant for EBC of silicon-containing substrate and processes for preparing same
US20060280954A1 (en) 2005-06-13 2006-12-14 Irene Spitsberg Corrosion resistant sealant for outer EBL of silicon-containing substrate and processes for preparing same
US7442444B2 (en) 2005-06-13 2008-10-28 General Electric Company Bond coat for silicon-containing substrate for EBC and processes for preparing same
US7354651B2 (en) 2005-06-13 2008-04-08 General Electric Company Bond coat for corrosion resistant EBC for silicon-containing substrate and processes for preparing same
US7357994B2 (en) 2005-06-14 2008-04-15 General Electric Company Thermal/environmental barrier coating system for silicon-containing materials
US8084086B2 (en) 2005-06-30 2011-12-27 University Of Virginia Patent Foundation Reliant thermal barrier coating system and related methods and apparatus of making the same
US7579085B2 (en) 2005-08-19 2009-08-25 General Electric Company Coated silicon comprising material for protection against environmental corrosion
US7740960B1 (en) 2005-08-26 2010-06-22 The United States Of America As Represented By The Secretary Of The Army Multifunctionally graded environmental barrier coatings for silicon-base ceramic components
US7247393B2 (en) 2005-09-26 2007-07-24 General Electric Company Gamma prime phase-containing nickel aluminide coating
US7723249B2 (en) 2005-10-07 2010-05-25 Sulzer Metco (Us), Inc. Ceramic material for high temperature service
US7780832B2 (en) 2005-11-30 2010-08-24 General Electric Company Methods for applying mitigation coatings, and related articles
US7595114B2 (en) 2005-12-09 2009-09-29 General Electric Company Environmental barrier coating for a component and method for fabricating the same
JP5065662B2 (ja) 2005-12-15 2012-11-07 新日鉄エンジニアリング株式会社 高炉用保護一体カーボン質ブロックおよび高炉のカーボン質ブロックの築炉方法
US7510777B2 (en) 2005-12-16 2009-03-31 General Electric Company Composite thermal barrier coating with improved impact and erosion resistance
US20070160859A1 (en) 2006-01-06 2007-07-12 General Electric Company Layered thermal barrier coatings containing lanthanide series oxides for improved resistance to CMAS degradation
EP1984173A2 (en) 2006-01-25 2008-10-29 Ceramatec, Inc. Environmental and thermal barrier coating to protect a pre-coated substrate
WO2007098152A2 (en) 2006-02-20 2007-08-30 Lee Kang N Article including enviromental barrier coating system
US20070207330A1 (en) 2006-03-01 2007-09-06 Sonia Tulyani Adhesive protective coatings, non-line of sight methods for their preparation, and coated articles
JP4959213B2 (ja) 2006-03-31 2012-06-20 三菱重工業株式会社 遮熱コーティング部材及びその製造方法ならびに遮熱コート材料、ガスタービン及び焼結体
US7695830B2 (en) 2006-09-06 2010-04-13 Honeywell International Inc. Nanolaminate thermal barrier coatings
US7951459B2 (en) 2006-11-21 2011-05-31 United Technologies Corporation Oxidation resistant coatings, processes for coating articles, and their coated articles
US20080274336A1 (en) 2006-12-01 2008-11-06 Siemens Power Generation, Inc. High temperature insulation with enhanced abradability
US7862901B2 (en) 2006-12-15 2011-01-04 General Electric Company Yttria containing thermal barrier coating topcoat layer and method for applying the coating layer
US8334062B1 (en) 2007-02-02 2012-12-18 Saint-Gobain Ceramics & Plastics, Inc. Environmental barrier coating
US20080206542A1 (en) 2007-02-22 2008-08-28 Siemens Power Generation, Inc. Ceramic matrix composite abradable via reduction of surface area
US7968217B2 (en) 2007-06-26 2011-06-28 General Electric Company Articles for high temperature service and methods for their manufacture
JP5275608B2 (ja) 2007-10-19 2013-08-28 株式会社半導体エネルギー研究所 半導体基板の作製方法
US20090162556A1 (en) 2007-12-20 2009-06-25 Brett Allen Boutwell Methods for making tape cast barrier coatings, components comprising the same and tapes made according to the same
US8273231B2 (en) 2007-12-21 2012-09-25 Rolls-Royce Corporation Methods of depositing coatings with γ-Ni + γ′-Ni3A1 phase constitution
US8062759B2 (en) 2007-12-27 2011-11-22 General Electric Company Thermal barrier coating systems including a rare earth aluminate layer for improved resistance to CMAS infiltration and coated articles
US20090186237A1 (en) 2008-01-18 2009-07-23 Rolls-Royce Corp. CMAS-Resistant Thermal Barrier Coatings
US20090184280A1 (en) 2008-01-18 2009-07-23 Rolls-Royce Corp. Low Thermal Conductivity, CMAS-Resistant Thermal Barrier Coatings
US20090252985A1 (en) 2008-04-08 2009-10-08 Bangalore Nagaraj Thermal barrier coating system and coating methods for gas turbine engine shroud
US20090324930A1 (en) 2008-06-25 2009-12-31 United Technologies Corporation Protective coatings for silicon based substrates with improved adhesion
EP2344590B1 (en) 2008-09-30 2016-11-30 Rolls-Royce Corporation Coating including a rare earth silicate-based layer including a second phase
US20100129673A1 (en) 2008-11-25 2010-05-27 Rolls-Royce Corporation Reinforced oxide coatings
US8124252B2 (en) 2008-11-25 2012-02-28 Rolls-Royce Corporation Abradable layer including a rare earth silicate
US8470460B2 (en) 2008-11-25 2013-06-25 Rolls-Royce Corporation Multilayer thermal barrier coatings
US8119247B2 (en) 2008-12-19 2012-02-21 General Electric Company Environmental barrier coatings providing CMAS mitigation capability for ceramic substrate components
US8658255B2 (en) 2008-12-19 2014-02-25 General Electric Company Methods for making environmental barrier coatings and ceramic components having CMAS mitigation capability
US8039113B2 (en) 2008-12-19 2011-10-18 General Electric Company Environmental barrier coatings providing CMAS mitigation capability for ceramic substrate components
FR2940278B1 (fr) 2008-12-24 2011-05-06 Snecma Propulsion Solide Barriere environnementale pour substrat refractaire contenant du silicium
US20110027559A1 (en) 2009-07-31 2011-02-03 Glen Harold Kirby Water based environmental barrier coatings for high temperature ceramic components
US9062564B2 (en) 2009-07-31 2015-06-23 General Electric Company Solvent based slurry compositions for making environmental barrier coatings and environmental barrier coatings comprising the same
US20110027467A1 (en) 2009-07-31 2011-02-03 Glen Harold Kirby Methods of making environmental barrier coatings for high temperature ceramic components using sintering aids
US9005716B2 (en) 2009-07-31 2015-04-14 General Electric Company Method for making solvent based environmental barrier coatings using sintering aids
US8501840B2 (en) 2009-07-31 2013-08-06 General Electric Company Water based slurry compositions for making environmental barrier coatings and environmental barrier coatings comprising the same
US9005717B2 (en) 2009-07-31 2015-04-14 General Electric Company Methods for making environmental barrier coatings using sintering aids
US20110027557A1 (en) 2009-07-31 2011-02-03 Glen Harold Kirby Solvent based environmental barrier coatings for high temperature ceramic components
US9023435B2 (en) 2009-07-31 2015-05-05 General Electric Company Methods for making water based environmental barrier coatings using sintering aids
US9212100B2 (en) 2009-07-31 2015-12-15 General Electric Company Environmental barrier coatings for high temperature ceramic components
US8999457B2 (en) 2009-07-31 2015-04-07 General Electric Company Methods for making environmental barrier coatings using sintering aids
US9056802B2 (en) 2009-07-31 2015-06-16 General Electric Company Methods for making environmental barrier coatings using sintering aids
US9073793B2 (en) 2009-07-31 2015-07-07 General Electric Company Slurry compositions for making environmental barrier coatings and environmental barrier coatings comprising the same
US20110027517A1 (en) 2009-07-31 2011-02-03 Glen Harold Kirby Methods of improving surface roughness of an environmental barrier coating and components comprising environmental barrier coatings having improved surface roughness
US20110033630A1 (en) 2009-08-05 2011-02-10 Rolls-Royce Corporation Techniques for depositing coating on ceramic substrate
EP2553027B1 (en) 2010-03-29 2021-05-12 Rolls-Royce Corporation Multilayer cmas-resistant barrier coating
EP2563743A1 (en) 2010-04-30 2013-03-06 Rolls-Royce Corporation Durable environmental barrier coatings for ceramic substrates
EP2596068B1 (en) 2010-07-23 2015-09-02 Rolls-Royce Corporation Thermal barrier coatings including c mas-resistant thermal barrier coating layers
US9945036B2 (en) 2011-03-22 2018-04-17 General Electric Company Hot corrosion-resistant coatings and components protected therewith
WO2012129431A1 (en) 2011-03-23 2012-09-27 Rolls-Royce Corporation Bond layers for ceramic or ceramic matrix composite substrates

Patent Citations (3)

* Cited by examiner, † Cited by third party
Publication number Priority date Publication date Assignee Title
JPS62142789A (ja) * 1985-12-12 1987-06-26 ベ−ベ−ツエ−・アクチエンゲゼルシヤフト・ブラウン・ボバリ・ウント・シ− 高温防護被覆及びその製造方法
JP2009108856A (ja) * 2007-10-29 2009-05-21 General Electric Co <Ge> 遮熱コーティングの処理方法及び関連物品
EP2208805A1 (en) * 2008-12-24 2010-07-21 United Technologies Corporation Strain tolerant thermal barrier coating system

Cited By (10)

* Cited by examiner, † Cited by third party
Publication number Priority date Publication date Assignee Title
JP2015501375A (ja) * 2011-10-13 2015-01-15 ゼネラル・エレクトリック・カンパニイ 遮熱コーティング系およびそのための方法
US9023486B2 (en) 2011-10-13 2015-05-05 General Electric Company Thermal barrier coating systems and processes therefor
US9034479B2 (en) 2011-10-13 2015-05-19 General Electric Company Thermal barrier coating systems and processes therefor
JP2014177702A (ja) * 2013-03-13 2014-09-25 General Electric Co <Ge> アルミノケイ酸カルシウムマグネシウム耐性コーティング及びアルミノケイ酸カルシウムマグネシウム耐性コーティングの形成方法
JP2018161883A (ja) * 2016-12-11 2018-10-18 ゼネラル・エレクトリック・カンパニイ 低い熱伝導率を有する遮熱コーティング
JP7154752B2 (ja) 2016-12-11 2022-10-18 ゼネラル・エレクトリック・カンパニイ 低い熱伝導率を有する遮熱コーティング
JP2021519386A (ja) * 2018-04-09 2021-08-10 エリコン メテコ(ユーエス)インコーポレイテッド Cmas耐性、高歪み許容性及び低熱伝導率の遮熱コーティング及び溶射コーティング方法
US11982194B2 (en) 2018-04-09 2024-05-14 Oerlikon Metco (Us) Inc. CMAS resistant, high strain tolerant and low thermal conductivity thermal barrier coatings and thermal spray coating method
JP7564711B2 (ja) 2018-04-09 2024-10-09 エリコン メテコ(ユーエス)インコーポレイテッド Cmas耐性、高歪み許容性及び低熱伝導率の遮熱コーティング及び溶射コーティング方法
JP2021175826A (ja) * 2020-05-01 2021-11-04 ゼネラル・エレクトリック・カンパニイ 遮熱コーティング用の組成物

Also Published As

Publication number Publication date
US9194242B2 (en) 2015-11-24
CA2806172A1 (en) 2012-01-26
WO2012012431A1 (en) 2012-01-26
US20130224457A1 (en) 2013-08-29
CA2806172C (en) 2015-04-28
EP2596068B1 (en) 2015-09-02
EP2596068A1 (en) 2013-05-29
JP5620577B2 (ja) 2014-11-05

Similar Documents

Publication Publication Date Title
JP5620577B2 (ja) Cmas耐性遮熱コーティング層を含む遮熱コーティング
US8470460B2 (en) Multilayer thermal barrier coatings
US20090184280A1 (en) Low Thermal Conductivity, CMAS-Resistant Thermal Barrier Coatings
US10179945B2 (en) CMAS resistant thermal barrier coatings
EP2553027B1 (en) Multilayer cmas-resistant barrier coating
CN103874580B (zh) 热障涂层系统及其方法
US11072566B2 (en) Thermal and environmental barrier coating compositions and methods of deposition
US20130136915A1 (en) Durable environmental barrier coatings for ceramic substrates
JP7221881B2 (ja) 被覆ターボ機械部品および関連製造方法
US20100129673A1 (en) Reinforced oxide coatings
US11655543B2 (en) CMAS-resistant barrier coatings
US11473432B2 (en) Anti-CMAS coating with enhanced efficiency
JP2003201586A (ja) 熱障壁被覆系および材料
JP5903244B2 (ja) バナジウム耐性皮膜系
JPWO2018073538A5 (ja)
US11845701B2 (en) EBC layer containing boron
JP5008060B2 (ja) セラミック被覆膜材料
JP2018184662A (ja) 高温用の物品
US11958786B1 (en) Calcium-magnesium aluminosilicate (CMAS) resistant thermal and environmental barrier coatings
WO2014184906A1 (ja) 遮熱コーティング部材

Legal Events

Date Code Title Description
A131 Notification of reasons for refusal

Free format text: JAPANESE INTERMEDIATE CODE: A131

Effective date: 20140401

A601 Written request for extension of time

Free format text: JAPANESE INTERMEDIATE CODE: A601

Effective date: 20140701

A602 Written permission of extension of time

Free format text: JAPANESE INTERMEDIATE CODE: A602

Effective date: 20140708

A521 Request for written amendment filed

Free format text: JAPANESE INTERMEDIATE CODE: A523

Effective date: 20140717

TRDD Decision of grant or rejection written
A01 Written decision to grant a patent or to grant a registration (utility model)

Free format text: JAPANESE INTERMEDIATE CODE: A01

Effective date: 20140826

A61 First payment of annual fees (during grant procedure)

Free format text: JAPANESE INTERMEDIATE CODE: A61

Effective date: 20140918

R150 Certificate of patent or registration of utility model

Ref document number: 5620577

Country of ref document: JP

Free format text: JAPANESE INTERMEDIATE CODE: R150

R250 Receipt of annual fees

Free format text: JAPANESE INTERMEDIATE CODE: R250

R250 Receipt of annual fees

Free format text: JAPANESE INTERMEDIATE CODE: R250

R250 Receipt of annual fees

Free format text: JAPANESE INTERMEDIATE CODE: R250

LAPS Cancellation because of no payment of annual fees