JP2012211684A - 管継手 - Google Patents

管継手 Download PDF

Info

Publication number
JP2012211684A
JP2012211684A JP2011229951A JP2011229951A JP2012211684A JP 2012211684 A JP2012211684 A JP 2012211684A JP 2011229951 A JP2011229951 A JP 2011229951A JP 2011229951 A JP2011229951 A JP 2011229951A JP 2012211684 A JP2012211684 A JP 2012211684A
Authority
JP
Japan
Prior art keywords
pipe
tightening
ring
peripheral surface
tightening ring
Prior art date
Legal status (The legal status is an assumption and is not a legal conclusion. Google has not performed a legal analysis and makes no representation as to the accuracy of the status listed.)
Granted
Application number
JP2011229951A
Other languages
English (en)
Other versions
JP4906973B1 (ja
Inventor
Tomohito Inoue
智史 井上
Tomokazu Hagino
智和 萩野
Kiyokazu Takahashi
清和 高橋
Katsuyuki Masui
克行 増井
Current Assignee (The listed assignees may be inaccurate. Google has not performed a legal analysis and makes no representation or warranty as to the accuracy of the list.)
Sekisui Chemical Co Ltd
Inoue Sudare Co Ltd
Higashio Mech Co Ltd
Original Assignee
Sekisui Chemical Co Ltd
Inoue Sudare Co Ltd
Higashio Mech Co Ltd
Priority date (The priority date is an assumption and is not a legal conclusion. Google has not performed a legal analysis and makes no representation as to the accuracy of the date listed.)
Filing date
Publication date
Priority to JP2011229951A priority Critical patent/JP4906973B1/ja
Application filed by Sekisui Chemical Co Ltd, Inoue Sudare Co Ltd, Higashio Mech Co Ltd filed Critical Sekisui Chemical Co Ltd
Priority to US14/001,568 priority patent/US20140070531A1/en
Priority to CN201280014084.3A priority patent/CN103429943B/zh
Priority to KR1020137021932A priority patent/KR20140008346A/ko
Priority to SG2013056940A priority patent/SG192149A1/en
Priority to PCT/JP2012/056583 priority patent/WO2012128152A1/ja
Priority to EP12760667.1A priority patent/EP2690337A4/en
Priority to CA2825807A priority patent/CA2825807C/en
Application granted granted Critical
Publication of JP4906973B1 publication Critical patent/JP4906973B1/ja
Publication of JP2012211684A publication Critical patent/JP2012211684A/ja
Active legal-status Critical Current
Anticipated expiration legal-status Critical

Links

Images

Classifications

    • FMECHANICAL ENGINEERING; LIGHTING; HEATING; WEAPONS; BLASTING
    • F16ENGINEERING ELEMENTS AND UNITS; GENERAL MEASURES FOR PRODUCING AND MAINTAINING EFFECTIVE FUNCTIONING OF MACHINES OR INSTALLATIONS; THERMAL INSULATION IN GENERAL
    • F16LPIPES; JOINTS OR FITTINGS FOR PIPES; SUPPORTS FOR PIPES, CABLES OR PROTECTIVE TUBING; MEANS FOR THERMAL INSULATION IN GENERAL
    • F16L37/00Couplings of the quick-acting type
    • F16L37/08Couplings of the quick-acting type in which the connection between abutting or axially overlapping ends is maintained by locking members
    • F16L37/12Couplings of the quick-acting type in which the connection between abutting or axially overlapping ends is maintained by locking members using hooks, pawls, or other movable or insertable locking members
    • FMECHANICAL ENGINEERING; LIGHTING; HEATING; WEAPONS; BLASTING
    • F16ENGINEERING ELEMENTS AND UNITS; GENERAL MEASURES FOR PRODUCING AND MAINTAINING EFFECTIVE FUNCTIONING OF MACHINES OR INSTALLATIONS; THERMAL INSULATION IN GENERAL
    • F16LPIPES; JOINTS OR FITTINGS FOR PIPES; SUPPORTS FOR PIPES, CABLES OR PROTECTIVE TUBING; MEANS FOR THERMAL INSULATION IN GENERAL
    • F16L21/00Joints with sleeve or socket
    • F16L21/08Joints with sleeve or socket with additional locking means
    • FMECHANICAL ENGINEERING; LIGHTING; HEATING; WEAPONS; BLASTING
    • F16ENGINEERING ELEMENTS AND UNITS; GENERAL MEASURES FOR PRODUCING AND MAINTAINING EFFECTIVE FUNCTIONING OF MACHINES OR INSTALLATIONS; THERMAL INSULATION IN GENERAL
    • F16LPIPES; JOINTS OR FITTINGS FOR PIPES; SUPPORTS FOR PIPES, CABLES OR PROTECTIVE TUBING; MEANS FOR THERMAL INSULATION IN GENERAL
    • F16L33/00Arrangements for connecting hoses to rigid members; Rigid hose-connectors, i.e. single members engaging both hoses
    • F16L33/02Hose-clips
    • F16L33/03Self-locking elastic clips
    • FMECHANICAL ENGINEERING; LIGHTING; HEATING; WEAPONS; BLASTING
    • F16ENGINEERING ELEMENTS AND UNITS; GENERAL MEASURES FOR PRODUCING AND MAINTAINING EFFECTIVE FUNCTIONING OF MACHINES OR INSTALLATIONS; THERMAL INSULATION IN GENERAL
    • F16LPIPES; JOINTS OR FITTINGS FOR PIPES; SUPPORTS FOR PIPES, CABLES OR PROTECTIVE TUBING; MEANS FOR THERMAL INSULATION IN GENERAL
    • F16L33/00Arrangements for connecting hoses to rigid members; Rigid hose-connectors, i.e. single members engaging both hoses
    • F16L33/22Arrangements for connecting hoses to rigid members; Rigid hose-connectors, i.e. single members engaging both hoses with means not mentioned in the preceding groups for gripping the hose between inner and outer parts
    • F16L33/227Arrangements for connecting hoses to rigid members; Rigid hose-connectors, i.e. single members engaging both hoses with means not mentioned in the preceding groups for gripping the hose between inner and outer parts the hose being introduced into or onto the connecting member and automatically locked
    • FMECHANICAL ENGINEERING; LIGHTING; HEATING; WEAPONS; BLASTING
    • F16ENGINEERING ELEMENTS AND UNITS; GENERAL MEASURES FOR PRODUCING AND MAINTAINING EFFECTIVE FUNCTIONING OF MACHINES OR INSTALLATIONS; THERMAL INSULATION IN GENERAL
    • F16LPIPES; JOINTS OR FITTINGS FOR PIPES; SUPPORTS FOR PIPES, CABLES OR PROTECTIVE TUBING; MEANS FOR THERMAL INSULATION IN GENERAL
    • F16L37/00Couplings of the quick-acting type
    • F16L37/08Couplings of the quick-acting type in which the connection between abutting or axially overlapping ends is maintained by locking members
    • F16L37/084Couplings of the quick-acting type in which the connection between abutting or axially overlapping ends is maintained by locking members combined with automatic locking
    • F16L37/088Couplings of the quick-acting type in which the connection between abutting or axially overlapping ends is maintained by locking members combined with automatic locking by means of a split elastic ring

Landscapes

  • Engineering & Computer Science (AREA)
  • General Engineering & Computer Science (AREA)
  • Mechanical Engineering (AREA)
  • Quick-Acting Or Multi-Walled Pipe Joints (AREA)
  • Joints With Sleeves (AREA)
  • Mutual Connection Of Rods And Tubes (AREA)

Abstract

【課題】十分なパイプ引抜力を有する管継手を提供する。
【解決手段】C型のクランプ用締付環体5を内層として有し、該弾発締付環体5の外層としてC型のクランプ力増強用弾発外嵌体10を、付加した2重弾発構造のパイプ締付環状ユニットUを、具備する。
【選択図】図2

Description

本発明は、管継手に関する。
従来から接続したパイプに対する引抜力を強化した管継手が多数提案されてきた。例えば、図14〜図17に示すように、被接続用のパイプ31の端部に挿入される挿入筒部32を有する継手本体33と、上記挿入筒部32の凹周溝34に装着されるシール材35と、上記挿入筒部32に外嵌された上記パイプ31の端部を弾発的な締め付け力F36で締め付けるためのスリット付きの締付環体36と、該締付環体36の弾発力に抗して該締付環体36を拡径するように上記スリットの端部に離脱可能に挟持されて、挿入される上記パイプ31の先端部に当接して離脱する拡径片37と、上記挿入筒部32に外嵌された上記パイプ31の外周面に抜け止め状態に内周面が掛止する抜け止めリング38と、を具備し、該抜け止めリング38の内周側には、周方向に等間隔に切り込み形成された複数個の歯部39が設けられた管継手が公知である(特許文献1参照)。
特許第3411546号公報
ところで、上述の図14〜図17に示した従来の管継手には、以下のような問題点があった。 (i) 締付環体36によってパイプ31の端部を弾発的な締め付け力F36(図17参照)にて締め付けてパイプ31の矢印G方向への引き抜けを防止せんとしているが引き抜け抑止力が不十分であった。(ii) 締付環体36の締め付け力F36のみでは引き抜け抑止力が不十分であったが故に、さらに、抜け止めリング38を必要とした。(iii) 図14からも判るように、この抜け止めリング38がパイプ31から受ける反力は、袋ナット40及び透明包囲筒体41を経て、さらに螺着部42を介して継手本体33へ伝達されることとなるので、袋ナット40,包囲筒体41,螺着部42等は強度上十分な肉厚を要し、かつ、相互連結強度も必要であった。 (iv) シール材35とシール溝(凹周溝)34を必要とし、このシール材35が無ければ流体の外部漏洩が避けられなかった。 (v) このようにシール材35とシール溝(凹周溝)34を必要としたために、挿入筒部32の肉厚寸法が増加して、挿入筒部32の貫通孔(流路孔)43が小径となり流体通過抵抗が増大する。そこで、本発明は、従来のこのような問題点(i)〜(v)を解決して、パイプの引抜けを確実に防ぐことが可能であり、構造も簡素で、部品点数も減少できて、製作も容易な管継手の提供を目的とする。
そこで、本発明に係る管継手は、被接続用のパイプの端部に挿入される挿入筒部を有する継手本体と、上記挿入筒部に外嵌された上記パイプの端部を弾発的な締め付け力で締め付けるためのスリット付きのC型の締付環体と、該締付環体の弾発力に抗して該締付環体を拡径するように上記スリットの端部に離脱可能に挟持されて、挿入される上記パイプの先端部を検知して離脱する拡径片と、を具備してなる管継手に於て、上記締付環体に外嵌され、上記弾発的な締め付け力を増大させるC型弾発外嵌体を具備するものである。
また、上記締付環体の外周面に対して、上記C型弾発外嵌体の内周面が常時密接するように嵌合している。
また、上記締付環体の外周面に対して、上記C型弾発外嵌体の内周面が、その円弧長の90%以上を非接触状態として、外嵌され、さらに、上記締付環体の上記スリットを形成する両端部の近傍に突設した係止突出子に、上記C型弾発外嵌体のスリット形成端部を係止させたものである。
また、上記C型弾発外嵌体が上記締付環体に外嵌された2重弾発構造により上記パイプの端部を締め付ける増強弾発力によって上記パイプの端部を、上記挿入筒部に高面圧にて圧接させて該挿入筒部にシール材を省略して密封するよう構成したものである。
本発明によれば、前述の従来の問題点(i)〜(v)を解決して、パイプの引抜けを確実に防ぐことが可能であり、構造も簡素で、部品点数も減少できて、製作も容易である。また、挿入筒部に於て、シール溝とシール材を省略することも可能となる場合も多くなり、挿入筒部の貫通孔(流路孔)の径を増大でき、流体通過抵抗も減少できる。
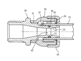
本発明の実施の一形態を示す要部断面図である。 パイプ接続完了状態の要部断面図である。 一部破断で示した要部正面図である。 図3の要部拡大右側面図である。 概略構成説明図である。 本発明の他の実施の形態を一部破断で示したパイプ未接続状態の要部正面図である。 図6の要部側面図である。 概略構成説明図である。 パイプ接続完了状態における縮径状態を説明した要部部品の正面図である。 弾発内リングの具体例を示す図であって、(A)は平面図、(B)は正面図である。 図6のパイプ未接続状態の斜視図である。 要部拡大説明図である。 本発明の変形例を示す要部拡大断面図である。 従来例を示す断面図である。 従来例に用いられている抜け止めリングの正面図である。 従来例の抜け止めリングの断面側面図である。 従来例の要部拡大説明図である。
以下、図示の実施の形態に基づき本発明を詳説する。図1〜図5は、本発明の実施の一形態を示している。
図1と図2に於て、1は被接続用のパイプであって、その端部1Aが矢印Aのように本発明に係る管継手Jに差込まれる。2は継手本体であって、パイプ1の端部1Aの内周面に挿入される挿入筒部3を一体に有している。
パイプ1は、内周面が合成樹脂であれば各種の材質・構造のものが使用できるが、好ましくは、PEX(架橋ポリエチレン)、PE(ポリエチレン)、PB(ポリブデン)等の合成樹脂管、あるいは、Al等の金属層を中間層として有する複合管が使用される。また、このパイプ1と管継手Jには給水、給湯等の液体、又は、エア,天然ガス,LPG等の気体が流れる。
そして、挿入筒部3に外嵌されたパイプ端部1Aを(図2と図3と図4に示すように)弾発的な締め付け力で締め付けるためのスリット5A付きのC型の締付環体5と、この締付環体5の弾発力に抗して締付環体5を拡径するようにスリット5Aに離脱可能に挟持された拡径片6を、備えている。この拡径片6は、図1から図2のように挿入されてくるパイプ1の先端部1Bを検知して離脱する。
図1のように、拡径片6の一部分6Aは内径方向へ、締付環体5の内面から突出状とし、挿入されてくるパイプ1の先端部1Bが当接することで、図2に示すように、離脱する。
そして、図1〜図5に示すように、締付環体5の外周面には、密嵌状にC型弾発外嵌体10が外嵌され、弾発的な締め付け力を増大させる2重弾発構造のパイプ締付環状ユニットUを構成している。
図5に概略図示したように、内層にC型の締付環体5を配設し、外層にC型弾発外嵌体10を配設して、相互に密接した2重弾発構造としたパイプ締付環状ユニットUは、(図2に示す)パイプ端部(1A)を増強弾発力Fuによって弾発的にラジアル内方向へ締め付ける。ここで、締付環体5、C型弾発外嵌体10のラジアル内方向への弾発力を、各々、F5 ,F10とすれば(図5参照)、上記ユニットUの増強弾発力Fuは、Fu=F5 +F10にて示すことができる。
このような2重弾発構造のパイプ締付環状ユニットUの強力な増強弾発力Fuによって、(拡径片6が図2のように離脱した状態下で)パイプ1の端部1Aを、挿入筒部3に対して高面圧で圧接させて、挿入筒部3にシール材(及びシール溝)を全く省略しても、十分な密封作用が得られる。
また、内側(内層)の締付環体5と外側(外層)のC型弾発外嵌体10とを相互に連結する、ピンやリベットやボルトやバンド等の連結部材を省略している。つまり、C型弾発外嵌体10の弾発力F10によって、相互に常時密接状態を保つようにユニット化され、前述のパイプ締付環状ユニットUを構成している。
図5(A)及び図3,図4に示すように、内側(内層)の締付環体5のスリット5Aと、外側(外層)のC型弾発外嵌体10のスリット10Aとを、周方向に同じ位置となるように組立てる場合と、図5(B)に示すように周方向に180°反対位置に組立てる場合とがある。
前者の場合には、図3,図4に示すような形状と構成の拡径片6が、ラジアル外方向へ飛散(離脱)しやすいという利点、及び、締付環体5と外嵌体10とがスムースに(軽く)拡径縮径変化しやすい利点がある。後者の場合、拡径片6の形状や構成が(図例以外のものであって)外嵌体10の一部に当てつつ飛散(離脱)させるようなときに有効であり、ラジアル内方向への弾発力Fuが全周に均一としやすいときがある。
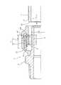
次に、図6〜図11は本発明の他の実施例を示している。
即ち、図1〜図5に於て既述した実施の一形態では、締付環体5の外周面5Yに対して、C型弾発外嵌体10の内周面10Zが常時密接するように嵌合―――密嵌―――している。これに対して、図6〜図11に於ては、締付環体5のスリット5Aを形成する両端部5E,5Eの近傍に、ラジアル外方向へ係止突出子51,51を突設し(合計で4個)、上記C型弾発外嵌体10のスリット形成端部10Eをこの係止突出子51,51に係止させることによって、C型弾性外嵌体10の内周面10Zは、その内周面10Zの円弧長L10の90%〜 100%を締付環体5の外周面5Yに対して非接触状態として、C型弾発外嵌体10は締付環体5に外嵌されている。
ここで、内周面10Zの 100%が非接触状態とは、図6及び図9のように、C型弾発外嵌体10のスリット10Aを形成する最端面10G、及び/又は、最端面内側角部10Hが強く接触(圧接)した状態である。
また、図6,図8,図9からも明らかなように、90%以上 100%未満では、(上述した最端面10G、及び/又は、角部10Hが圧接すると共に、)C型弾発外嵌体10の両端部10E,10Eの近傍の内面が、締付環体5の外周面5Yに接触している。そして、両端部10E,10Eから、中間部位へ周方向から近づくにつれて、間隙Gがしだいに増加し、この間隔Gは新月(乃至三ケ月)状である。
ところで、4個の係止突出子51は、図10(A)の2点鎖線、及び、図6,図7,図11に示した具体例では、折曲塑性加工によって形成され、端部5Eの幅寸法よりも側外方へ突出して形成されている。あるいは、鋳造等によって、図10(A)の実線、及び、図10(B),図9に示したように、端部5Eの幅寸法内で突出させるも好ましい。
このように、図6〜図11に示した実施の形態のように、締付環体5の外周面5Yに対して、C型弾発外嵌体10の内周面10Zを、円弧長L10の90%以上を非接触状態として、間隙Gを形成したことにより、次のような利点がある。即ち、図3〜図5に於ては、C型弾発外嵌体10からラジアル内方向への大きい弾発力F10が、図5に示す如く作用し、締付環体5の外周面5Yと、C型弾発外嵌体10の内周面10Zが(極めて)大きな面圧力をもって密接(圧接)し、それに伴って、締付環体5とC型弾発外嵌体10の相互の摩擦力が過大となり、図1と図3に示したパイプ未挿入状態(未接続状態)から図2に示すパイプ挿入状態(接続状態)に、スムーズに変化できない場合が予想される。つまり、上記相互の摩擦力は、(μ×F10)で示されるが、外周面5Yと内周面10Zの表面粗さや状況によっては、摩擦係数μが過大であり、かつ、弾発力F10も、C型弾発外嵌体10の肉厚や幅寸法が大きいときには、過大であり、密嵌した積層二重構造のユニットUがスムースに縮径できない場合も予想される。
図6〜図11の実施の形態では、このような問題を見事に解決して、図8に示すように、C型弾発外嵌体10からは、締付環体5の外周面5Yへは、(図5に示したラジアル内方向の弾発力F10が作用せずに、代りに)接線方向の大きな弾発力F100 を、係止突出子51,51に集中的に与える。
特に、パイプ1の外径公差の大小等に応じて、パイプ締付環状ユニットUがスムーズに縮径自在であり、図6〜図11の実施の形態の管継手は、一層の改良が加えられていると言える。なお、上述の間隙Gを常時有する以外は、図1と図2に示したところの構成は、図6〜図11の実施の形態の構成と同様である。
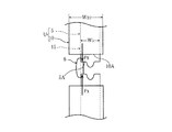
次に、図12は図2の要部拡大図であるが、この図12と図1,図2に於て、挿入筒部3の外周面には、(従来例の図14,図17に示したような)シール溝(凹周溝)34及びシール材35を省略して、複数本の低い(三角状の)係止突条8を独立円環状に突設している。図5(A)(B)又は、図8に示した弾発力による、パイプ端部1Aへの締め付け力によって、パイプ端部1Aの内周面に係止突条8を食い込ませて、矢印E方向へのパイプ抜けを阻止すると共に流体の外部漏洩を防止する。即ち、2重構造としたパイプ締付環状ユニットUの増強弾発力Fuによって、パイプ1の端部内周面に係止突条8を食い込ませて、抜け止め兼密封作用をなさしめている。
本発明に於て、係止突条8の本数は、3本〜9本程度が好ましく(特に、4〜6本が望ましく)、そのピッチP1 は2mm以下の細かいピッチとする。この際、締付環体5の幅寸法W5 の大小に対応して、係止突条8の本数を増減させるのが良い。また、係止突条8が低いとは、高さ寸法H8 が、 0.1mm〜 0.3mmであると定義する。(図1,図2,図12では9本の場合を示している。)
さらに、挿入筒部3の外周面に突設された複数本の低い係止突条8の軸心方向中間位置には、低い丸山型のシール用丸突条9が配設されている。この丸山型のシール用丸突条9が低いとは、その高さ寸法H9 が 0.1mm〜 0.3mmであると定義する。このように、係止突条8とシール用丸突条9の高さ寸法H8 ,H9 は略等しく設定され、従来公知のタケノ子状係止突条よりも十分に低く設定し、しかも、ピッチP1 は、上記2mm以下として、従来公知のタケノコ状係止突条よりも極めて小さく設定している。
また、図12に示すように、係止突条8,8相互の基本(間隔)ピッチP1 に対して、シール用丸突条9と隣り合う係止突条8Aとの間のピッチP2 ,P3 を、大きく設定する。後者のピッチP2 ,P3 とを同一としても良いが、僅かに差を設けても良い。
仮に、極めて大きい引抜力が矢印E方向に瞬間的に作用した際には、多数の係止突条8を越えてパイプ1の内面が矢印E方向へ移動するが、上記基本ピッチP1 の移動で再び係止突条8が元の三角凹溝13に係止すると想定され、図12中に矢印E′,E′で示すように基本ピッチP1 だけ移動する。
このとき、一ピッチ分だけ矢印E′のように移動した凹溝13が存在しない平坦円周面が、丸突条9に対応して丸い凹状に弾性変形して密接状態となり、しかも、摩耗傷のない上記平坦円周面が丸い凹状に弾性変形するので、流体の外部漏洩が生じず、安定した密封性を発揮する。
そして、係止突条8は、図12に示すように、管継手内方側に軸心直交状の辺18を有する直角三角形とするのが望ましい。
あるいは、図13の拡大図に示す如く、係止突条8としては、軸心直交状の鉛直部16を有すると共に、頂部17は、アール部R1 ,R2 と平坦辺19とを有する、平坦付丸型頂部、又は、図示省略の平坦辺19を省略の丸型の頂部を有する形状とするも望ましい。このような形状とすると、鍛造や鋳造等にて形成が容易となる利点があり、さらには、図12にて説明した丸突条9を省略して、シール(密封)機能を兼用の抜け止め機能を発揮する利点もある。なお、鉛直部16の付根隅部にもアール部R3 を形成するのが、上記鍛造や鋳造等にての形成が容易となるので好ましい。
さらに追加説明すれば、図1〜図5、及び、図6,図7,図11に於て、拡径片6は高剛性の鋼材等から成り、図1のパイプ未挿入状態では、パイプ1の外径よりも僅かに大きな内径寸法に締付環体5の内径を拡大している。
2重構造であるパイプ締付環状ユニットUは、内側の締付環体5を、いわば正確な真円に近い形状に作製すると共に、外側のC型弾発外嵌体10は強力な弾発力F10又はF100 を発揮させるように幅寸法W10を締付環体5の幅寸法W5 よりも大に設定するのが望ましい。さらには、外嵌体10の肉厚寸法T10を締付環体5の肉厚寸法T5 よりも大きく設定するのが望ましい。
2重構造であるパイプ締付環状ユニットUは、内側(内層)の締付環体5は、(1重の厚肉のものと比較して)バネ鋼材等をC型に塑性加工が容易であり、かつ、正確な真円状とすることも容易である。他方、外側(外層)の弾発外嵌体10も、(1重の厚肉のものと比較して)バネ鋼材等にてC型に塑性加工が容易であると共に、真円度は、それ程、厳密でなくて済むので、作製が容易で、十分に幅寸法W10と肉厚寸法T10を大きくしても、作製可能となるという利点を有する。
しかも、内側(内層)の締付環体5のみの構成について考察すれば、(図3と図4と図6と図7に於て、外嵌体10が存在しないとすれば、)軸心方向(幅寸法W5 の方向)に僅かに円錐状(テーパ状)に、拡径片6の存在によって変形する。つまり、拡径片6は、軸心方向(幅寸法W5 の方向)の中央ではなくて、図4,図7の左端側に偏在するため、弾性的に拡径した締付環体5は、図4,図7の左側から右側へ僅かに縮径するテーパ状に変形し、パイプ1のスムースな挿入を阻害する虞がある。しかしながら、図4,図7と図1に示す如く、外側(外層)の弾発外嵌体10は、図4,図7,図1の左方向(管継手内方向)に、拡径片6、及び、締付環体5の内端15より延伸状に配設されていて、その幅寸法W10の中央近傍に拡径片6を配設可能であるので、環状ユニットUの内径―――即ち、締付環体5の内径―――が、管継手内方向へ拡大するテーパ状(円錐状)となることを防止できる。
例えば、本発明に係る管継手Jの適用されるパイプ1の外径を、10mm〜30mmとした場合に、図3と図4,図7に於て、拡径片6を挟圧保持する挟圧力(弾発力)Fxは、200kg〜 800kgと極めて大きい。特に、図12に示したように、シール材を省略して密封を確実に行うには、係止突条8及びシール用丸突条9が十分にパイプ内周面に食い込む必要があり、既述のユニットUの弾発力Fu(=F5 +F10)を、十分に大きくせねばならないため、上記挟圧力(弾発力)Fxを、 200kg〜 800kgと極めて大きく設定せねばならない。
そこで、従来例の図14〜図17に示したような一枚の素材(バネ鋼帯板)からなる締付環体36では、従来は全く不可能と考えられていた上述の 200kg〜 800kgもの挟圧力を、本発明によって、初めて達成できたといえる。
言い換えると、特に厚さ寸法の大きいバネ鋼帯板を、内径を10mm強〜30mm強の小径筒型に塑性変形させようとすれば、(降伏点を越えて)製作中に破壊してしまう問題、真円状に加工することが至難であるという問題、及び、径寸法の変化に伴って弾発力(締め付け力)が極端に大小変化してしまうという問題があり、従来から、不可能と考えられていたのである。
また、図1と図2に於て、12はカバーであり、離脱した締付環体5が収納される空間を有し、透明樹脂とするのが好ましく、外から目視にて拡径片6が離脱したか否かを確認できる。そして、図1,図2から明らかなように、従来例の図14〜図17に図示した抜け止めリング38を全く省略している。従って、図14〜図17では、パイプ31の外周面に食い込んだ抜け止めリング38がパイプ31から受ける軸心方向の大きな抜け力を、カバー(包囲筒体)41によって受け持つ必要があり、螺着部42等にて強固に継手本体33に連結せねばならなかった。これに対し、本発明では、強度はほとんど必要なくなり、継手本体2に対して、簡易な連結を行うのみで十分であり、カバー12自体も薄い樹脂で済む。
ところで、内層側を成す締付環体5の幅寸法W5 について述べると、挿入筒部3の外径寸法をDとすれば、
0.4・D≦W5 ≦ 0.9・D
とする。特に好ましいのは、
0.6・D≦W5 ≦ 0.8・D
とすることであり、例えば、D=13mmではW5 =9mmとし、D=17mmではW5 =11mm等に設定する。
上記範囲内に幅寸法W5 が設定されることにより、確実に各係止突条8がパイプ1の内周面に食い込むと共に、パイプ1の内周面が、突条8と突条8の間の谷底面20に当接できる。さらに、突条8の本数が少なくて済み、同一の弾発力Fuから得られる各突条8のパイプ内周面への食い込み力(圧接面圧力)が大きくできる。なお、締付環体5の幅寸法W5 を図10(A)と図11に示したように周方向に変化している場合は、上記幅寸法W5 は平均値を採用する。
なお、本発明は、図1,図2に例示した雄ネジアダプター型に限らず、雌ネジアダプターやソケットやチーズ等の各種の形式の管継手に応用自由である。
本発明は以上述べたように、被接続用のパイプ1の端部1Aに挿入される挿入筒部3を有する継手本体2と、上記挿入筒部3に外嵌された上記パイプ1の端部1Aを弾発的な締め付け力で締め付けるためのスリット5A付きのC型の締付環体5と該締付環体5の弾発力に抗して該締付環体5を拡径するように上記スリット5Aの端部に離脱可能に挟持されて、挿入される上記パイプ1の先端部1Bを検知して離脱する拡径片6と、を具備してなる管継手に於て、上記締付環体5に外嵌され、上記弾発的な締め付け力を増大させるC型弾発外嵌体10を具備する構成であるので、締付環体5と弾発外嵌体10とは、各々、バネ鋼等から破損を生じない範囲内で、十分に小径(例えば、内径10mm〜30mm)の円筒形に加工して後に、内層と外層を成すように嵌合して2重構造にユニット化できるので、従来、不可能と考えられていた強大な締め付け弾発力をもって、パイプ1を締め付けて、大きな引抜け力に耐え、かつ、挿入筒部3のシール材も省略可能となる。そして、従来の抜け止めリング38(図14〜図17参照)を省略可能となり、管継手の構成が簡略化される。また、カバー12も強度を必要としない薄肉のものとでき、継手本体2に対する連結強度も弱いもので済む。
また、図14〜図17に示した従来例では、抜け止めリング38及びシール材35のいずれもが、パイプ挿入抵抗となり、挿入作業がスムースでなかったが、本発明では、両者が省略可能となって、拡径片6にパイプ先端(内端)15が当たるまで抵抗なくスムースに挿入できる。これによって、挿入未完了で施工を止めることがなくなる。しかも、パイプ1を手で引張れば、挿入未完了(不完全接続)ならばパイプ1が引き抜けてくるので、挿入未完了に気付くという利点がある。
また、本発明では、パイプ1挿入によって、拡径片6が飛んでいない場合(不完全接続)では、検査時に必ず漏水を発生し、容易に施工未完了(不完全接続)を発見できる利点がある。
また、上記締付環体5の外周面5Yに対して、上記C型弾発外嵌体10の内周面10Zが常時密接するように嵌合しているので、部品の製作、及び、組立てが容易である。
また、上記締付環体5の外周面5Yに対して、上記C型弾発外嵌体10の内周面10Zが、その円弧長L10の90%以上を非接触状態として、外嵌され、さらに、上記締付環体5の上記スリット5Aを形成する両端部5E,5Eの近傍に突設した係止突出子51に、上記C型弾発外嵌体10のスリット形成端部10Eを係止させた構成であるので、強力なクランプ力を発揮できるにかかわらず、スムースに縮径・拡径が行われ、パイプ1の外径寸法のバラツキに対応(適用)可能であり、かつ、無駄な摩擦損失を生ずることなく、C型弾発外嵌体の弾発力F100 を締付環体5に付加できる。
また、上記C型弾発外嵌体10が上記締付環体5に外嵌された2重弾発構造により上記パイプ1の端部1Aを締め付ける増強弾発力Fuによって上記パイプ1の端部1Aを、上記挿入筒部3に高面圧にて圧接させて該挿入筒部3にシール材を省略して密封するよう構成したので、挿入筒部3の肉厚寸法を減少でき、これに伴って、挿入筒部3の貫通孔を十分に大きく形成でき、流体通過抵抗の増加を防止できる。
1 パイプ
1A 端部
1B 先端部
3 挿入筒部
5 締付環体
5A スリット
5E 端部
5Y 外周面
6 拡径片
10 C型弾発外嵌体
10E 端部
10Z 内周面
51 係止突出子
Fu 増強弾発力
10 弾発力
100 弾発力
G 間隙
10 円弧長

Claims (4)

  1. 被接続用のパイプ(1)の端部(1A)に挿入される挿入筒部(3)を有する継手本体(2)と、上記挿入筒部(3)に外嵌された上記パイプ(1)の端部(1A)を弾発的な締め付け力で締め付けるためのスリット(5A)付きのC型の締付環体(5)と、該締付環体(5)の弾発力に抗して該締付環体(5)を拡径するように上記スリット(5A)の端部に離脱可能に挟持されて、挿入される上記パイプ(1)の先端部(1B)を検知して離脱する拡径片(6)と、を具備してなる管継手に於て、
    上記締付環体(5)に外嵌され、上記弾発的な締め付け力を増大させるC型弾発外嵌体(10)を具備することを特徴とする管継手。
  2. 上記締付環体(5)の外周面(5Y)に対して、上記C型弾発外嵌体(10)の内周面(10Z)が常時密接するように嵌合している請求項1記載の管継手。
  3. 上記締付環体(5)の外周面(5Y)に対して、上記C型弾発外嵌体(10)の内周面(10Z)が、その円弧長(L10)の90%以上を非接触状態として、外嵌され、さらに、上記締付環体(5)の上記スリット(5A)を形成する両端部(5E)(5E)の近傍に突設した係止突出子(51)に、上記C型弾発外嵌体(10)のスリット形成端部(10E)を係止させた請求項1記載の管継手。
  4. 上記C型弾発外嵌体(10)が上記締付環体(5)に外嵌された2重弾発構造により上記パイプ(1)の端部(1A)を締め付ける増強弾発力(Fu)によって上記パイプ(1)の端部(1A)を、上記挿入筒部(3)に高面圧にて圧接させて該挿入筒部(3)にシール材を省略して密封するよう構成した請求項1記載の管継手。
JP2011229951A 2011-03-22 2011-10-19 管継手 Active JP4906973B1 (ja)

Priority Applications (8)

Application Number Priority Date Filing Date Title
JP2011229951A JP4906973B1 (ja) 2011-03-22 2011-10-19 管継手
CN201280014084.3A CN103429943B (zh) 2011-03-22 2012-03-14 管接头
KR1020137021932A KR20140008346A (ko) 2011-03-22 2012-03-14 관 조인트
SG2013056940A SG192149A1 (en) 2011-03-22 2012-03-14 Pipe joint
US14/001,568 US20140070531A1 (en) 2011-03-22 2012-03-14 Pipe joint
PCT/JP2012/056583 WO2012128152A1 (ja) 2011-03-22 2012-03-14 管継手
EP12760667.1A EP2690337A4 (en) 2011-03-22 2012-03-14 PIPE JOINT
CA2825807A CA2825807C (en) 2011-03-22 2012-03-14 Pipe joint

Applications Claiming Priority (3)

Application Number Priority Date Filing Date Title
JP2011062383 2011-03-22
JP2011062383 2011-03-22
JP2011229951A JP4906973B1 (ja) 2011-03-22 2011-10-19 管継手

Publications (2)

Publication Number Publication Date
JP4906973B1 JP4906973B1 (ja) 2012-03-28
JP2012211684A true JP2012211684A (ja) 2012-11-01

Family

ID=46060774

Family Applications (1)

Application Number Title Priority Date Filing Date
JP2011229951A Active JP4906973B1 (ja) 2011-03-22 2011-10-19 管継手

Country Status (8)

Country Link
US (1) US20140070531A1 (ja)
EP (1) EP2690337A4 (ja)
JP (1) JP4906973B1 (ja)
KR (1) KR20140008346A (ja)
CN (1) CN103429943B (ja)
CA (1) CA2825807C (ja)
SG (1) SG192149A1 (ja)
WO (1) WO2012128152A1 (ja)

Cited By (2)

* Cited by examiner, † Cited by third party
Publication number Priority date Publication date Assignee Title
JP2019530839A (ja) * 2016-10-14 2019-10-24 ノルマ ジャーマニー ゲーエムベーハー 継手および継手アセンブリならびに継手を製造する方法
JP2021127776A (ja) * 2020-02-12 2021-09-02 株式会社イノアック住環境 ホース固定構造

Families Citing this family (11)

* Cited by examiner, † Cited by third party
Publication number Priority date Publication date Assignee Title
WO2014039867A2 (en) 2012-09-07 2014-03-13 Famous Industries, Inc. dba Heating & Cooling Products Company Sealed transverse locking pipe and fittings
JP2014219052A (ja) * 2013-05-08 2014-11-20 日本ピラー工業株式会社 管接続装置
US10859194B2 (en) 2013-05-20 2020-12-08 Steere Enterprises, Inc. Clean air duct and retaining clip and assembly thereof
US9664321B2 (en) 2013-05-20 2017-05-30 Steere Enterprises, Inc. Clean air duct and retaining clip and assembly thereof
JP5498617B1 (ja) * 2013-11-14 2014-05-21 井上スダレ株式会社 管継手
BR112016022346B1 (pt) * 2014-04-24 2021-04-13 Henn Gmbh & Co Kg. Módulo de conectores, veículo e processo para unir uma seção de união de um tubo para fluidos líquidos ou gasosos com um conector de plugue
ES2557333B1 (es) * 2014-07-25 2016-09-14 Ignacio Santiago De La Sota Conector de enchufe rápido de tubos flexibles
JP6294986B1 (ja) * 2017-03-24 2018-03-14 日東工器株式会社 直管パイプ用継手
WO2020125969A1 (de) * 2018-12-19 2020-06-25 Oetiker Schweiz Ag Federbandschelle
CN111734825B (zh) * 2020-05-20 2022-07-22 上海巨乾工贸有限公司 一种恒定压力推进挤压密封环
US11882984B1 (en) 2023-03-31 2024-01-30 Emerson Electric Co. Vacuum conduit attachment tools

Citations (5)

* Cited by examiner, † Cited by third party
Publication number Priority date Publication date Assignee Title
JPS6127387A (ja) * 1984-07-05 1986-02-06 ラスムツセン ジイエムビイエイチ ホース継手
JP2001027375A (ja) * 1999-07-16 2001-01-30 Higashio Mech Co Ltd 樹脂パイプ用継手
JP2002031282A (ja) * 2000-07-11 2002-01-31 Higashio Mech Co Ltd 管継手
JP2006242348A (ja) * 2005-03-04 2006-09-14 Ck Metals Co Ltd 管継手
JP2006242349A (ja) * 2005-03-04 2006-09-14 Ck Metals Co Ltd 管継手

Family Cites Families (10)

* Cited by examiner, † Cited by third party
Publication number Priority date Publication date Assignee Title
US4643466A (en) * 1984-03-29 1987-02-17 American Cast Iron Pipe Company Pipe joint assembly with snap ring and associated method
JP2677291B2 (ja) * 1988-09-14 1997-11-17 ブリヂストンフローテック株式会社 管継手
GB2326920A (en) * 1997-07-01 1999-01-06 Rasmussen Gmbh Clamp for clamping a hose on a pipe portion
JP3405966B2 (ja) * 2000-02-07 2003-05-12 東尾メック株式会社 管継手
JP2005291420A (ja) * 2004-04-01 2005-10-20 Sekisui Chem Co Ltd 管継手
JP3754059B1 (ja) * 2004-11-29 2006-03-08 井上スダレ株式会社 管継手
JP2008286259A (ja) * 2007-05-16 2008-11-27 Higashio Mech Co Ltd 管継手
JP2008286260A (ja) * 2007-05-16 2008-11-27 Higashio Mech Co Ltd 管継手
DE102007025931B3 (de) * 2007-06-02 2009-01-15 Uponor Innovation Ab Klemmfitting für ein Rohr
CN102330723A (zh) * 2010-07-13 2012-01-25 新秩序投资119股份有限公司 管配件

Patent Citations (5)

* Cited by examiner, † Cited by third party
Publication number Priority date Publication date Assignee Title
JPS6127387A (ja) * 1984-07-05 1986-02-06 ラスムツセン ジイエムビイエイチ ホース継手
JP2001027375A (ja) * 1999-07-16 2001-01-30 Higashio Mech Co Ltd 樹脂パイプ用継手
JP2002031282A (ja) * 2000-07-11 2002-01-31 Higashio Mech Co Ltd 管継手
JP2006242348A (ja) * 2005-03-04 2006-09-14 Ck Metals Co Ltd 管継手
JP2006242349A (ja) * 2005-03-04 2006-09-14 Ck Metals Co Ltd 管継手

Cited By (4)

* Cited by examiner, † Cited by third party
Publication number Priority date Publication date Assignee Title
JP2019530839A (ja) * 2016-10-14 2019-10-24 ノルマ ジャーマニー ゲーエムベーハー 継手および継手アセンブリならびに継手を製造する方法
US11215305B2 (en) 2016-10-14 2022-01-04 Norma Germany Gmbh Connector and connector assembly and method for producing a connector
JP2021127776A (ja) * 2020-02-12 2021-09-02 株式会社イノアック住環境 ホース固定構造
JP7512044B2 (ja) 2020-02-12 2024-07-08 株式会社イノアック住環境 ホース固定構造

Also Published As

Publication number Publication date
WO2012128152A1 (ja) 2012-09-27
CA2825807A1 (en) 2012-09-27
JP4906973B1 (ja) 2012-03-28
EP2690337A4 (en) 2014-10-01
EP2690337A1 (en) 2014-01-29
SG192149A1 (en) 2013-09-30
KR20140008346A (ko) 2014-01-21
CN103429943A (zh) 2013-12-04
US20140070531A1 (en) 2014-03-13
CN103429943B (zh) 2015-06-17
CA2825807C (en) 2018-07-24

Similar Documents

Publication Publication Date Title
JP4906973B1 (ja) 管継手
JP5311795B2 (ja) 管継手
JP4730972B2 (ja) プラスチック樹脂パイプ用の管継手
JP2016017543A (ja) 管継手
WO2013168306A1 (ja) 管継手
JP5269178B2 (ja) 管継手の組立て方法
JP5537982B2 (ja) 管継手
JP2008286259A (ja) 管継手
WO2015156198A1 (ja) 管継手
JP2011047467A (ja) スプリンクラー巻き出し配管
JP6343131B2 (ja) 継手
JP2006105269A (ja) 管継手
JP4939826B2 (ja) 管継手の組立て方法
JP5818855B2 (ja) 管継手
JP5736202B2 (ja) 管継手
JP2008038924A (ja) 管継手
CN100529499C (zh) 管接头
CN108443608B (zh) 管接头
JP6448229B2 (ja) 継手
JP7486786B2 (ja) 管継手
JP2022169971A (ja) 管継手構造
JP6294986B1 (ja) 直管パイプ用継手
JP2015055349A (ja) 管継手
JP5410469B2 (ja) 管継手
JP4100810B2 (ja) フレキシブルチューブ用継手

Legal Events

Date Code Title Description
TRDD Decision of grant or rejection written
A01 Written decision to grant a patent or to grant a registration (utility model)

Free format text: JAPANESE INTERMEDIATE CODE: A01

A61 First payment of annual fees (during grant procedure)

Free format text: JAPANESE INTERMEDIATE CODE: A61

Effective date: 20120110

FPAY Renewal fee payment (event date is renewal date of database)

Free format text: PAYMENT UNTIL: 20150120

Year of fee payment: 3

R150 Certificate of patent or registration of utility model

Ref document number: 4906973

Country of ref document: JP

Free format text: JAPANESE INTERMEDIATE CODE: R150

Free format text: JAPANESE INTERMEDIATE CODE: R150

R250 Receipt of annual fees

Free format text: JAPANESE INTERMEDIATE CODE: R250

R250 Receipt of annual fees

Free format text: JAPANESE INTERMEDIATE CODE: R250

R250 Receipt of annual fees

Free format text: JAPANESE INTERMEDIATE CODE: R250

R250 Receipt of annual fees

Free format text: JAPANESE INTERMEDIATE CODE: R250

R250 Receipt of annual fees

Free format text: JAPANESE INTERMEDIATE CODE: R250

R250 Receipt of annual fees

Free format text: JAPANESE INTERMEDIATE CODE: R250

R250 Receipt of annual fees

Free format text: JAPANESE INTERMEDIATE CODE: R250

R250 Receipt of annual fees

Free format text: JAPANESE INTERMEDIATE CODE: R250

R250 Receipt of annual fees

Free format text: JAPANESE INTERMEDIATE CODE: R250

R250 Receipt of annual fees

Free format text: JAPANESE INTERMEDIATE CODE: R250

R250 Receipt of annual fees

Free format text: JAPANESE INTERMEDIATE CODE: R250