JP2012190867A - 面発光レーザ素子 - Google Patents

面発光レーザ素子 Download PDF

Info

Publication number
JP2012190867A
JP2012190867A JP2011050939A JP2011050939A JP2012190867A JP 2012190867 A JP2012190867 A JP 2012190867A JP 2011050939 A JP2011050939 A JP 2011050939A JP 2011050939 A JP2011050939 A JP 2011050939A JP 2012190867 A JP2012190867 A JP 2012190867A
Authority
JP
Japan
Prior art keywords
semiconductor layer
reflector
electrode
semiconductor
emitting laser
Prior art date
Legal status (The legal status is an assumption and is not a legal conclusion. Google has not performed a legal analysis and makes no representation as to the accuracy of the status listed.)
Granted
Application number
JP2011050939A
Other languages
English (en)
Other versions
JP5633435B2 (ja
Inventor
Yutaka Higuchi
裕 樋口
Current Assignee (The listed assignees may be inaccurate. Google has not performed a legal analysis and makes no representation or warranty as to the accuracy of the list.)
Nichia Chemical Industries Ltd
Original Assignee
Nichia Chemical Industries Ltd
Priority date (The priority date is an assumption and is not a legal conclusion. Google has not performed a legal analysis and makes no representation as to the accuracy of the date listed.)
Filing date
Publication date
Application filed by Nichia Chemical Industries Ltd filed Critical Nichia Chemical Industries Ltd
Priority to JP2011050939A priority Critical patent/JP5633435B2/ja
Priority to US13/413,375 priority patent/US8855157B2/en
Publication of JP2012190867A publication Critical patent/JP2012190867A/ja
Application granted granted Critical
Publication of JP5633435B2 publication Critical patent/JP5633435B2/ja
Active legal-status Critical Current
Anticipated expiration legal-status Critical

Links

Images

Classifications

    • HELECTRICITY
    • H01ELECTRIC ELEMENTS
    • H01SDEVICES USING THE PROCESS OF LIGHT AMPLIFICATION BY STIMULATED EMISSION OF RADIATION [LASER] TO AMPLIFY OR GENERATE LIGHT; DEVICES USING STIMULATED EMISSION OF ELECTROMAGNETIC RADIATION IN WAVE RANGES OTHER THAN OPTICAL
    • H01S5/00Semiconductor lasers
    • H01S5/10Construction or shape of the optical resonator, e.g. extended or external cavity, coupled cavities, bent-guide, varying width, thickness or composition of the active region
    • H01S5/18Surface-emitting [SE] lasers, e.g. having both horizontal and vertical cavities
    • H01S5/183Surface-emitting [SE] lasers, e.g. having both horizontal and vertical cavities having only vertical cavities, e.g. vertical cavity surface-emitting lasers [VCSEL]
    • H01S5/18341Intra-cavity contacts
    • BPERFORMING OPERATIONS; TRANSPORTING
    • B82NANOTECHNOLOGY
    • B82YSPECIFIC USES OR APPLICATIONS OF NANOSTRUCTURES; MEASUREMENT OR ANALYSIS OF NANOSTRUCTURES; MANUFACTURE OR TREATMENT OF NANOSTRUCTURES
    • B82Y20/00Nanooptics, e.g. quantum optics or photonic crystals
    • HELECTRICITY
    • H01ELECTRIC ELEMENTS
    • H01SDEVICES USING THE PROCESS OF LIGHT AMPLIFICATION BY STIMULATED EMISSION OF RADIATION [LASER] TO AMPLIFY OR GENERATE LIGHT; DEVICES USING STIMULATED EMISSION OF ELECTROMAGNETIC RADIATION IN WAVE RANGES OTHER THAN OPTICAL
    • H01S5/00Semiconductor lasers
    • H01S5/04Processes or apparatus for excitation, e.g. pumping, e.g. by electron beams
    • H01S5/042Electrical excitation ; Circuits therefor
    • H01S5/0425Electrodes, e.g. characterised by the structure
    • H01S5/04252Electrodes, e.g. characterised by the structure characterised by the material
    • H01S5/04253Electrodes, e.g. characterised by the structure characterised by the material having specific optical properties, e.g. transparent electrodes
    • HELECTRICITY
    • H01ELECTRIC ELEMENTS
    • H01SDEVICES USING THE PROCESS OF LIGHT AMPLIFICATION BY STIMULATED EMISSION OF RADIATION [LASER] TO AMPLIFY OR GENERATE LIGHT; DEVICES USING STIMULATED EMISSION OF ELECTROMAGNETIC RADIATION IN WAVE RANGES OTHER THAN OPTICAL
    • H01S5/00Semiconductor lasers
    • H01S5/10Construction or shape of the optical resonator, e.g. extended or external cavity, coupled cavities, bent-guide, varying width, thickness or composition of the active region
    • H01S5/18Surface-emitting [SE] lasers, e.g. having both horizontal and vertical cavities
    • H01S5/183Surface-emitting [SE] lasers, e.g. having both horizontal and vertical cavities having only vertical cavities, e.g. vertical cavity surface-emitting lasers [VCSEL]
    • H01S5/18308Surface-emitting [SE] lasers, e.g. having both horizontal and vertical cavities having only vertical cavities, e.g. vertical cavity surface-emitting lasers [VCSEL] having a special structure for lateral current or light confinement
    • H01S5/18322Position of the structure
    • H01S5/18327Structure being part of a DBR
    • HELECTRICITY
    • H01ELECTRIC ELEMENTS
    • H01SDEVICES USING THE PROCESS OF LIGHT AMPLIFICATION BY STIMULATED EMISSION OF RADIATION [LASER] TO AMPLIFY OR GENERATE LIGHT; DEVICES USING STIMULATED EMISSION OF ELECTROMAGNETIC RADIATION IN WAVE RANGES OTHER THAN OPTICAL
    • H01S5/00Semiconductor lasers
    • H01S5/02Structural details or components not essential to laser action
    • H01S5/024Arrangements for thermal management
    • H01S5/02469Passive cooling, e.g. where heat is removed by the housing as a whole or by a heat pipe without any active cooling element like a TEC
    • HELECTRICITY
    • H01ELECTRIC ELEMENTS
    • H01SDEVICES USING THE PROCESS OF LIGHT AMPLIFICATION BY STIMULATED EMISSION OF RADIATION [LASER] TO AMPLIFY OR GENERATE LIGHT; DEVICES USING STIMULATED EMISSION OF ELECTROMAGNETIC RADIATION IN WAVE RANGES OTHER THAN OPTICAL
    • H01S5/00Semiconductor lasers
    • H01S5/04Processes or apparatus for excitation, e.g. pumping, e.g. by electron beams
    • H01S5/042Electrical excitation ; Circuits therefor
    • H01S5/0425Electrodes, e.g. characterised by the structure
    • H01S5/04252Electrodes, e.g. characterised by the structure characterised by the material
    • HELECTRICITY
    • H01ELECTRIC ELEMENTS
    • H01SDEVICES USING THE PROCESS OF LIGHT AMPLIFICATION BY STIMULATED EMISSION OF RADIATION [LASER] TO AMPLIFY OR GENERATE LIGHT; DEVICES USING STIMULATED EMISSION OF ELECTROMAGNETIC RADIATION IN WAVE RANGES OTHER THAN OPTICAL
    • H01S5/00Semiconductor lasers
    • H01S5/04Processes or apparatus for excitation, e.g. pumping, e.g. by electron beams
    • H01S5/042Electrical excitation ; Circuits therefor
    • H01S5/0425Electrodes, e.g. characterised by the structure
    • H01S5/04254Electrodes, e.g. characterised by the structure characterised by the shape
    • HELECTRICITY
    • H01ELECTRIC ELEMENTS
    • H01SDEVICES USING THE PROCESS OF LIGHT AMPLIFICATION BY STIMULATED EMISSION OF RADIATION [LASER] TO AMPLIFY OR GENERATE LIGHT; DEVICES USING STIMULATED EMISSION OF ELECTROMAGNETIC RADIATION IN WAVE RANGES OTHER THAN OPTICAL
    • H01S5/00Semiconductor lasers
    • H01S5/10Construction or shape of the optical resonator, e.g. extended or external cavity, coupled cavities, bent-guide, varying width, thickness or composition of the active region
    • H01S5/18Surface-emitting [SE] lasers, e.g. having both horizontal and vertical cavities
    • H01S5/183Surface-emitting [SE] lasers, e.g. having both horizontal and vertical cavities having only vertical cavities, e.g. vertical cavity surface-emitting lasers [VCSEL]
    • H01S5/18308Surface-emitting [SE] lasers, e.g. having both horizontal and vertical cavities having only vertical cavities, e.g. vertical cavity surface-emitting lasers [VCSEL] having a special structure for lateral current or light confinement
    • H01S5/18322Position of the structure
    • H01S5/18325Between active layer and substrate
    • HELECTRICITY
    • H01ELECTRIC ELEMENTS
    • H01SDEVICES USING THE PROCESS OF LIGHT AMPLIFICATION BY STIMULATED EMISSION OF RADIATION [LASER] TO AMPLIFY OR GENERATE LIGHT; DEVICES USING STIMULATED EMISSION OF ELECTROMAGNETIC RADIATION IN WAVE RANGES OTHER THAN OPTICAL
    • H01S5/00Semiconductor lasers
    • H01S5/30Structure or shape of the active region; Materials used for the active region
    • H01S5/34Structure or shape of the active region; Materials used for the active region comprising quantum well or superlattice structures, e.g. single quantum well [SQW] lasers, multiple quantum well [MQW] lasers or graded index separate confinement heterostructure [GRINSCH] lasers
    • H01S5/343Structure or shape of the active region; Materials used for the active region comprising quantum well or superlattice structures, e.g. single quantum well [SQW] lasers, multiple quantum well [MQW] lasers or graded index separate confinement heterostructure [GRINSCH] lasers in AIIIBV compounds, e.g. AlGaAs-laser, InP-based laser
    • H01S5/34333Structure or shape of the active region; Materials used for the active region comprising quantum well or superlattice structures, e.g. single quantum well [SQW] lasers, multiple quantum well [MQW] lasers or graded index separate confinement heterostructure [GRINSCH] lasers in AIIIBV compounds, e.g. AlGaAs-laser, InP-based laser with a well layer based on Ga(In)N or Ga(In)P, e.g. blue laser

Landscapes

  • Physics & Mathematics (AREA)
  • Optics & Photonics (AREA)
  • Condensed Matter Physics & Semiconductors (AREA)
  • General Physics & Mathematics (AREA)
  • Electromagnetism (AREA)
  • Chemical & Material Sciences (AREA)
  • Engineering & Computer Science (AREA)
  • Nanotechnology (AREA)
  • Life Sciences & Earth Sciences (AREA)
  • Biophysics (AREA)
  • Crystallography & Structural Chemistry (AREA)
  • Semiconductor Lasers (AREA)

Abstract

【課題】閾値電流を低下することができる面発光レーザ素子を提供する。
【解決手段】面発光レーザ素子は、第1半導体層11及び第2半導体層12を有する半導体部と、半導体部の第1半導体層側に設けられた第1反射器41と、半導体部の第2半導体層側に設けられた第2反射器42と、を有する。特に、第2半導体層12と第2反射器42との間に設けられ第2半導体層12と接続された第2電極32と、第2反射器42の周囲に設けられ第2電極32と接続された接続電極50と、第2半導体層12と前記接続電極50との間に設けられ半導体部10からの光を反射可能な電流狭窄部20と、を備える。
【選択図】図1

Description

本発明は面発光レーザ素子に関する。
これまでに半導体レーザ素子の一種として面発光レーザ素子が報告されている(例えば特許文献1)。特許文献1の図1に記載された面発光レーザ素子は、半導体部の一方の側に設けられた「第2ブラッグ反射器18」(本願発明の「第1反射器」に相当)と、半導体部の他方の側に設けられた「第1ブラッグ反射器12」(本願発明の「第2反射器」に相当)と、半導体部の他方の主面に設けられた「第1透明電極13」(本願発明の「第2電極」に相当)と、「第1透明電極13」の周囲に設けられた「絶縁層22」(本願発明の「電流狭窄部」に相当)と、「絶縁層22」上に設けられ「第1透明電極13」と接続された「接続電極23」(本願発明の「接続電極50」に相当)と、を備える。
特開2010-123921
従来の面発光レーザ素子では、「接続電極23」における光の損失は考慮されていなかった。
本願発明は、上記課題に鑑みてなされたものであり、閾値電流を低下することができる面発光レーザ素子を提供することを目的とする。
本実施形態に係る面発光レーザ素子は、第1半導体層及び第2半導体層を有する半導体部と、半導体部の第1半導体層側に設けられた第1反射器と、半導体部の第2半導体層側に設けられた第2反射器と、を有する。特に、第2半導体層と第2反射器との間に設けられ第2半導体層と接続された第2電極と、第2反射器の周囲に設けられ第2電極と接続された接続電極と、第2半導体層と前記接続電極との間に設けられ半導体部からの光を反射可能な電流狭窄部と、を備える。
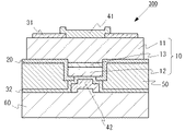
実施形態1に係る面発光レーザ素子を説明するための断面図である。 実施形態1に係る面発光レーザ素子の平面図である。 実施形態2に係る面発光レーザ素子を説明するための断面図である。 実施形態3に係る面発光レーザ素子を説明するための断面図である。
以下、図面を参照しながら、本発明を実施するための形態について説明する。ただし、以下に示す形態は、本発明の技術思想を具体化するための例示であって、特に記載しない限り本発明を以下に限定するものではない。さらに、同一の名称、符号については、原則として同一もしくは同質の部材を示しており、詳細説明は適宜省略する。
<実施形態1>
図1に、本実施形態に係る面発光レーザ素子の半導体積層方向における断面図を示す。本実施形態に係る面発光レーザ素子100は、第1半導体層11及び第2半導体層12を有する半導体部10と、半導体部10の第1半導体層11側に設けられた第1反射器41と、半導体部10の第2半導体層12側に設けられた第2反射器42と、を有する。特に、第2半導体層12と第2反射器42との間に設けられ第2半導体層12と接続された第2電極32と、第2反射器42の周囲に設けられ第2電極32と接続された接続電極50と、第2半導体層12と接続電極50との間に設けられ半導体部10からの光を反射可能な電流狭窄部20と、を備える。
第2半導体層12と接続電極50との間に半導体部10からの光を反射可能な電流狭窄部20を設けることで、接続電極50における光の吸収を抑制することができる。つまり、光反射が可能な電流狭窄部20を設けることで、接続電極50における光の損失を抑制することができる。これにより、閾値電流の低下や光出力の向上が期待できる。
以下、本実施の形態の面発光レーザ素子の主な構成要素について説明する
(半導体部10)
半導体部10は、少なくとも第1半導体層11及び第2半導体層12を有していれば良く、その構造は特に限定されない。第1半導体層11は第1電極31を接続するための部材であり、第2半導体層12と異なる極性を有している。同様に、第2半導体層12は第2電極32を接続するための部材であり、第1半導体層11と異なる極性を有している。本実施形態では、第1半導体層11をn型、第2半導体層12をp型としており、両者の間に活性層13を備えたものを半導体部としている。活性層13の構造は限定されず、多重量子井戸構造や単一量子井戸構造など公知のものを採用することができる。半導体部10を構成する各層の材料は限定されないが、本実施形態では、一般式がInAlGa1−x−yN(0≦x≦1、0≦y≦1、0≦x+y≦1)で示される窒化物半導体を用いている。
(電流狭窄部20)
電流狭窄部20は、所望の領域(電流狭窄領域)に電流を狭窄するために設けられ、半導体部10からの光を反射することを目的として設けられる。電流狭窄部20の構成は限定されないが、本実施形態では、電流狭窄部20を誘電体多層膜からなるDBRから構成している。誘電体多層膜を構成する各層としては、SiO、TiO、Nb、ZrO、Ta、HfO、AlN、SiN、Al、SiC、MgO等が例示される。これらの誘電体のうち、屈折率が異なる2種以上の材料層を所定の膜厚で交互に積層することにより半導体部10からの光を反射可能な誘電体多層膜からなる電流狭窄部20を得ることができる。例えば、SiO/Nb、SiO/ZrO、SiO/AlN等の多層膜が好ましい。電流狭窄部20の膜厚は、0.03μm以上7.0μm未満、好ましくは0.04μm以上5.0μm未満、より好ましくは0.05μm以上3.0μm未満とすることができる。用いる材料によって決まる電流狭窄部全体の熱伝導率と反射率から適宜調整することが好ましい。
電流狭窄部20は、半導体部10及び/又は第2電極31よりも屈折率が小さい材料であることが適している。このような屈折率を有することにより、横方向の光の閉じ込めを確実に行うことができる。
電流狭窄部20は、電流狭窄領域における定在波の位相と合うように調整されていることが好ましい。電流狭窄部20において、光の損失を効果的に低減させることができるからである。また、電流狭窄部20上の第2反射器42が形成されている領域と接続電極50が形成されている領域で層構造が異なっていても良い。光の損失をより低減させることができる。
(第1電極31)
本実施形態では、第1電極31はn電極として形成されている。n電極としての第1電極31は、Pd、Pt、Ni、Au、Ti、W、Cu、Ag、Zn、Sn、In、Al、Ir、Rh、V、ITO等のいずれかを含む構成とすることができる。
図2に、面発光レーザ素子100を第1反射器41側からみた平面図を示す。第1電極31は第1半導体層11が露出した開口部(図2の破線部分)を有しており、当該開口部が露出した領域で第1半導体層11と第1反射器41が接して設けられている。また、第1電極31の外縁は第1半導体層11の外縁近傍まで配置されている。
(第2電極32)
本実施形態では、第2電極32はp電極として形成されている。p電極としての第2電極32は、ZnO、In、SnO、ATO、ITO、MgO、Ni/Au、より好ましくはITOを用いることができる。その膜厚は特に限定されないが、5〜100nm程度とすることができる。なお、本実施の形態では活性層13からの光が第2電極32を透過して第2反射器42で反射されることを要するため、第2電極32はその光に対して実質的に透明である。
第2電極32は、電流狭窄部20の開口部内において第2半導体層12と直接接続されており、そこから更に電流狭窄部20と接続電極50の間において延在するように形成されている。
(接続電極50)
接続電極50は、第2電極32と電気的に接続される部材であり、第2反射器42を取り囲むようにその近傍に形成されている。換言すると、接続電極50は開口部を有しており、当該開口部内に第2反射器42が配されている。
接続電極50には、高い電気伝導率及び熱伝導率が求められるので、その材料及び膜厚の関係から、第2電極32よりも半導体部10からの光に対して透光性が低く、半導体部10からの光を吸収しやすい(例えば非透光性)。接続電極50は、例えば、Ni、Au、Ag、Cu、Pt、Al、Pd、Rh、Ti、Mo、Cr又はWの少なくともいずれか一種を含む材料から構成することができる。より具体的には、Ti−Rh−Au、Cr−Pt−Au、Ni−Au、Ni−Au−Pt、Pd−Pt、Ni−Pt等が挙げられる。
第2反射器42が誘電体多層膜から構成される場合、一般に誘電体は半導体よりも熱伝導率が低いので、半導体部10からの放熱の問題が顕著となる。つまり、半導体部10では電流が流れる領域は電流狭窄領域に制限されているので電流狭窄領域が主な発熱源となるが、熱伝導率の低い誘電体多層膜からなる第2反射器42が電流狭窄領域と支持基板60との間に介在する場合、放熱経路が分断されて放熱性が損なわれてしまうという問題がある。一方、放熱性を向上させるには、熱伝導率に優れた接続電極50を電流狭窄領域に近付ければよいが、接続電極50を電流狭窄領域に近づけすぎると、今度は接続電極50による光の吸収が問題となってしまう。そこで、接続電極50と第2半導体層12との間に、電流を狭窄するだけでなく光を反射する機能を有する電流狭窄部20を介在させることにより、放熱性を向上させつつ光損失を軽減させた面発光レーザ素子とすることができる。
電流狭窄部20の開口部の周縁は、接続電極50の開口部の周縁と実質的に一致しているか、好ましくは図1に示すように、接続電極50の開口部の周縁の内側に位置する(つまり、電流狭窄部20の開口部は接続電極50の開口部よりも小さい)ことが好ましい。電流狭窄部20で光が反射されることにより、接続電極50での光の吸収がより軽減できるからである。
図1では、接続電極50は、第2反射器42の周囲のみに設けられており、第2反射器42と支持基板60との間には設けられていない。ただ、必要に応じて、第2反射器42と支持基板60との間にも接続電極50を介在させてもよいことは言うまでもない。
(第1反射器41、第2反射器42)
第1反射器41及び第2反射器42は、半導体多層膜や誘電体多層膜から形成される。第1反射器41及び第2反射器42が誘電体多層膜からなる場合、誘電体多層膜を構成する各層としては、SiO、TiO、Nb、ZrO、Ta、HfO、AlN、SiN、Al、SiC、MgO等が例示される。これらの誘電体のうち、屈折率が異なる2種以上の材料層を所定の膜厚で交互に積層することにより誘電体多層膜からなる第1反射器41及び第2反射器42を得ることができる。例えば、SiO/Nb、SiO/ZrO、SiO/AlN等の多層膜が好ましい。第1反射器41、第2反射器42の膜厚としては、0.3μm以上7.0μm未満、好ましくは0.4μm以上6.0μm未満、より好ましくは0.5μm以上5.0μm未満とすることができる。用いる材料によって決まる第1反射器41及び第2反射器42全体の熱伝導率と反射率から適宜調整することが好ましい。
(支持基板60)
支持基板60は、接続電極50と接続される部材である。支持基板60としては種々のものを採用できるが、好ましくはSi、GaN、AlN、より好ましくはSiを用いることができる。
支持基板60は単層である必要はなく、多層であっても良い。さらに、本実施の形態では導電性の支持基板を用いているが、支持基板10は必ずしも導電性を備えている必要はなく、絶縁性であってもよい。支持基板10を絶縁性とする場合は、例えば支持基板に導電性のスルーホールを設け、スルーホールを介してコンタクト電極と通電させることもできる。
電流狭窄領域近傍において、第2反射器42側における支持基板60にAl等の高反射率部材を含有させることもできる。これにより、電流狭窄領域近傍における反射率をより向上させることができる。
<実施形態2>
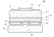
図3に、本実施形態に係る面発光レーザ素子200の断面図を示す。面発光レーザ素子200は、第2電極32と接続電極50が異なる以外は、実施形態1と実質的に同一である。
つまり、面発光レーザ素子200では、接続電極50は第2電極32を介在せずに電流狭窄部20と直接接しており、支持基板60は接続電極50を介在せずに第2電極32と直接接している。このような構成であっても実施形態1と同様の作用効果が期待できる。
<実施形態3>
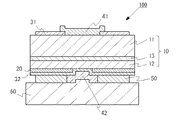
図4に、本実施形態に係る面発光レーザ素子300の断面図を示す。面発光レーザ素子300は、半導体部10において電流狭窄領域の周囲が電流狭窄領域に比較して薄くなったおり、それにより凸部が形成されていること、凸部の第2反射器42が設けられている側だけでなく側面(第1反射器41と第2反射器42とを結ぶ直線に平行な面)にも光反射が可能な電流狭窄部20が設けられていること、が実施形態2の面発光レーザ素子200と主に異なっている。
面発光レーザ素子300では、活性層13を含む凸部の側面に光を反射するための電流狭窄部20が形成されている。これにより、横方向における強い光閉じ込めが期待できる。
実施形態1〜3では、第1電極31と第2電極32とが半導体部10を介して互いに反対となるように構成しているが、本願発明に係る面発光レーザ素子はこれに限定されない。例えば、半導体部10の一部を第2半導体層12側から第1半導体層11が露出するように除去し、当該除去部分に第1電極31を形成してもよい。
10…半導体部
11…第1半導体層
12…第2半導体層
13…活性層
20…電流狭窄部
31…第1電極
32…第2電極
41…第1反射器
42…第2反射器
50…接続電極
60…支持基板

Claims (3)

  1. 第1半導体層及び第2半導体層を有する半導体部と、前記半導体部の第1半導体層側に設けられた第1反射器と、前記半導体部の第2半導体層側に設けられた第2反射器と、を有する面発光レーザ素子であって、
    前記第2半導体層と前記第2反射器との間に設けられ、前記第2半導体層と接続された第2電極と、
    前記第2反射器の周囲に設けられ、前記第2電極と接続された接続電極と、
    前記第2半導体層と前記接続電極との間に設けられ、前記半導体部からの光を反射可能な電流狭窄部と、を備えることを特徴とする面発光レーザ素子。
  2. 前記電流狭窄部は、誘電体多層膜からなるDBRであることを特徴とする請求項1に記載の面発光レーザ素子。
  3. 前記電流狭窄部は、開口部を有し、
    前記接続電極は、開口部を有し、
    前記電流狭窄部の開口部は、前記接続電極の開口部の内側に配置されていることを特徴とする請求項1又は2に記載の面発光レーザ素子。
JP2011050939A 2011-03-09 2011-03-09 面発光レーザ素子 Active JP5633435B2 (ja)

Priority Applications (2)

Application Number Priority Date Filing Date Title
JP2011050939A JP5633435B2 (ja) 2011-03-09 2011-03-09 面発光レーザ素子
US13/413,375 US8855157B2 (en) 2011-03-09 2012-03-06 Surface emitting laser element

Applications Claiming Priority (1)

Application Number Priority Date Filing Date Title
JP2011050939A JP5633435B2 (ja) 2011-03-09 2011-03-09 面発光レーザ素子

Publications (2)

Publication Number Publication Date
JP2012190867A true JP2012190867A (ja) 2012-10-04
JP5633435B2 JP5633435B2 (ja) 2014-12-03

Family

ID=46795550

Family Applications (1)

Application Number Title Priority Date Filing Date
JP2011050939A Active JP5633435B2 (ja) 2011-03-09 2011-03-09 面発光レーザ素子

Country Status (2)

Country Link
US (1) US8855157B2 (ja)
JP (1) JP5633435B2 (ja)

Cited By (1)

* Cited by examiner, † Cited by third party
Publication number Priority date Publication date Assignee Title
JPWO2014065332A1 (ja) * 2012-10-26 2016-09-08 大学共同利用機関法人情報・システム研究機構 光発生装置および光発生方法

Families Citing this family (5)

* Cited by examiner, † Cited by third party
Publication number Priority date Publication date Assignee Title
KR102420016B1 (ko) 2015-08-28 2022-07-12 삼성전자주식회사 반사층을 가지는 광변조기
CA3094046C (en) * 2018-03-19 2023-03-28 Ricoh Company, Ltd. Surface-emitting laser array, detection device, and laser device
JP7190865B2 (ja) 2018-10-18 2022-12-16 スタンレー電気株式会社 垂直共振器型発光素子
JP7166871B2 (ja) * 2018-10-18 2022-11-08 スタンレー電気株式会社 垂直共振器型発光素子
CN110277732A (zh) * 2019-07-16 2019-09-24 河北工业大学 具有高介电常数限制孔的vcsel器件及其制备方法

Citations (3)

* Cited by examiner, † Cited by third party
Publication number Priority date Publication date Assignee Title
JP2010123921A (ja) * 2008-10-22 2010-06-03 Nichia Corp 窒化物半導体発光素子の製造方法及び窒化物半導体発光素子
JP2011029607A (ja) * 2009-06-30 2011-02-10 Nichia Corp 垂直共振器型面発光レーザ
JP2011175993A (ja) * 2010-02-23 2011-09-08 Nichia Corp 窒化物半導体レーザ素子

Family Cites Families (18)

* Cited by examiner, † Cited by third party
Publication number Priority date Publication date Assignee Title
JPS63318195A (ja) * 1987-06-19 1988-12-27 Agency Of Ind Science & Technol 横方向埋め込み型面発光レ−ザ
US4943970A (en) * 1988-10-24 1990-07-24 General Dynamics Corporation, Electronics Division Surface emitting laser
US5070509A (en) * 1990-08-09 1991-12-03 Eastman Kodak Company Surface emitting, low threshold (SELTH) laser diode
US5331658A (en) * 1992-08-26 1994-07-19 Motorola, Inc. Vertical cavity surface emitting laser and sensor
KR100243656B1 (ko) * 1996-12-05 2000-02-01 정선종 수소화된 수직공진형 표면방출 레이저 및 그 제조방법
US6760357B1 (en) * 1998-04-14 2004-07-06 Bandwidth9 Vertical cavity apparatus with tunnel junction
EP1399994B1 (de) * 2001-06-20 2005-07-27 Infineon Technologies AG Photonen-emitter und datenübertragungsvorrichtung
JP3860494B2 (ja) * 2002-03-13 2006-12-20 富士通株式会社 面発光レーザおよびその製造方法
JP4590820B2 (ja) * 2002-12-16 2010-12-01 富士ゼロックス株式会社 面発光型半導体レーザおよびその製造方法
US7564887B2 (en) * 2004-06-30 2009-07-21 Finisar Corporation Long wavelength vertical cavity surface emitting lasers
JP5017804B2 (ja) * 2005-06-15 2012-09-05 富士ゼロックス株式会社 トンネル接合型面発光半導体レーザ装置およびその製造方法
JP2007142375A (ja) * 2005-10-20 2007-06-07 Furukawa Electric Co Ltd:The 面発光レーザ素子及びその製造方法
JP2007234824A (ja) * 2006-02-28 2007-09-13 Canon Inc 垂直共振器型面発光レーザ
US7573074B2 (en) * 2006-05-19 2009-08-11 Bridgelux, Inc. LED electrode
JP5027010B2 (ja) * 2007-03-01 2012-09-19 古河電気工業株式会社 面発光レーザ素子
JP4878322B2 (ja) * 2007-03-29 2012-02-15 古河電気工業株式会社 面発光レーザ素子および面発光レーザ素子の製造方法
JP2009246291A (ja) * 2008-03-31 2009-10-22 Furukawa Electric Co Ltd:The 面発光レーザアレイ素子
JP4902682B2 (ja) * 2009-03-27 2012-03-21 キヤノン株式会社 窒化物半導体レーザ

Patent Citations (3)

* Cited by examiner, † Cited by third party
Publication number Priority date Publication date Assignee Title
JP2010123921A (ja) * 2008-10-22 2010-06-03 Nichia Corp 窒化物半導体発光素子の製造方法及び窒化物半導体発光素子
JP2011029607A (ja) * 2009-06-30 2011-02-10 Nichia Corp 垂直共振器型面発光レーザ
JP2011175993A (ja) * 2010-02-23 2011-09-08 Nichia Corp 窒化物半導体レーザ素子

Cited By (1)

* Cited by examiner, † Cited by third party
Publication number Priority date Publication date Assignee Title
JPWO2014065332A1 (ja) * 2012-10-26 2016-09-08 大学共同利用機関法人情報・システム研究機構 光発生装置および光発生方法

Also Published As

Publication number Publication date
US20120230360A1 (en) 2012-09-13
JP5633435B2 (ja) 2014-12-03
US8855157B2 (en) 2014-10-07

Similar Documents

Publication Publication Date Title
JP5633477B2 (ja) 発光素子
JP5929714B2 (ja) 半導体発光素子
JP5719110B2 (ja) 発光素子
CN104471727B (zh) 半导体发光器件
KR101226706B1 (ko) 반도체 발광소자
JP5541261B2 (ja) Iii族窒化物半導体発光素子
JP5633435B2 (ja) 面発光レーザ素子
CN103946994B (zh) 半导体发光器件
US20080217634A1 (en) Vertical light-emitting diode structure with omni-directional reflector
JP6664688B2 (ja) 垂直共振器型発光素子
JP6149878B2 (ja) 発光素子
JP2017157650A (ja) 半導体発光素子
JP5724316B2 (ja) 窒化物半導体レーザ素子
US10396248B2 (en) Semiconductor light emitting diode
JP2017117904A (ja) 発光素子及びその製造方法
JP6651843B2 (ja) 発光素子
JP5378131B2 (ja) 窒化物半導体発光ダイオード素子
TW201505211A (zh) 發光元件
JP5857707B2 (ja) 面発光レーザ素子
JP7227469B2 (ja) 垂直共振器面発光レーザ素子
JP5745250B2 (ja) 発光デバイス
JP2006140234A (ja) 半導体発光素子およびその製造方法
JP5573222B2 (ja) 窒化物半導体レーザ素子
JP2012142339A (ja) 半導体素子
KR101895227B1 (ko) 반도체 발광소자

Legal Events

Date Code Title Description
A621 Written request for application examination

Free format text: JAPANESE INTERMEDIATE CODE: A621

Effective date: 20131010

A977 Report on retrieval

Free format text: JAPANESE INTERMEDIATE CODE: A971007

Effective date: 20140319

A131 Notification of reasons for refusal

Free format text: JAPANESE INTERMEDIATE CODE: A131

Effective date: 20140408

A521 Request for written amendment filed

Free format text: JAPANESE INTERMEDIATE CODE: A523

Effective date: 20140425

TRDD Decision of grant or rejection written
A01 Written decision to grant a patent or to grant a registration (utility model)

Free format text: JAPANESE INTERMEDIATE CODE: A01

Effective date: 20140916

A61 First payment of annual fees (during grant procedure)

Free format text: JAPANESE INTERMEDIATE CODE: A61

Effective date: 20140929

R150 Certificate of patent or registration of utility model

Ref document number: 5633435

Country of ref document: JP

Free format text: JAPANESE INTERMEDIATE CODE: R150

R250 Receipt of annual fees

Free format text: JAPANESE INTERMEDIATE CODE: R250

R250 Receipt of annual fees

Free format text: JAPANESE INTERMEDIATE CODE: R250

R250 Receipt of annual fees

Free format text: JAPANESE INTERMEDIATE CODE: R250

R250 Receipt of annual fees

Free format text: JAPANESE INTERMEDIATE CODE: R250

R250 Receipt of annual fees

Free format text: JAPANESE INTERMEDIATE CODE: R250

R250 Receipt of annual fees

Free format text: JAPANESE INTERMEDIATE CODE: R250

R250 Receipt of annual fees

Free format text: JAPANESE INTERMEDIATE CODE: R250

R250 Receipt of annual fees

Free format text: JAPANESE INTERMEDIATE CODE: R250