JP2012106932A - 合わせガラス用中間膜及び合わせガラス - Google Patents
合わせガラス用中間膜及び合わせガラス Download PDFInfo
- Publication number
- JP2012106932A JP2012106932A JP2012032680A JP2012032680A JP2012106932A JP 2012106932 A JP2012106932 A JP 2012106932A JP 2012032680 A JP2012032680 A JP 2012032680A JP 2012032680 A JP2012032680 A JP 2012032680A JP 2012106932 A JP2012106932 A JP 2012106932A
- Authority
- JP
- Japan
- Prior art keywords
- laminated glass
- interlayer film
- polyvinyl acetal
- acetal resin
- mol
- Prior art date
- Legal status (The legal status is an assumption and is not a legal conclusion. Google has not performed a legal analysis and makes no representation as to the accuracy of the status listed.)
- Granted
Links
- 239000005340 laminated glass Substances 0.000 title claims abstract description 177
- 239000011229 interlayer Substances 0.000 title claims abstract description 83
- 239000011354 acetal resin Substances 0.000 claims description 89
- 229920006324 polyoxymethylene Polymers 0.000 claims description 89
- 229920002554 vinyl polymer Polymers 0.000 claims description 89
- DHKHKXVYLBGOIT-UHFFFAOYSA-N 1,1-Diethoxyethane Chemical compound CCOC(C)OCC DHKHKXVYLBGOIT-UHFFFAOYSA-N 0.000 claims description 88
- 239000002344 surface layer Substances 0.000 claims description 76
- 239000010410 layer Substances 0.000 claims description 63
- 239000004014 plasticizer Substances 0.000 claims description 63
- 125000002887 hydroxy group Chemical group [H]O* 0.000 claims description 43
- 239000011521 glass Substances 0.000 claims description 25
- 229920005992 thermoplastic resin Polymers 0.000 claims description 19
- 239000000470 constituent Substances 0.000 claims description 14
- 230000035515 penetration Effects 0.000 abstract description 25
- XLYOFNOQVPJJNP-UHFFFAOYSA-N water Substances O XLYOFNOQVPJJNP-UHFFFAOYSA-N 0.000 abstract description 18
- 229920005989 resin Polymers 0.000 description 31
- 239000011347 resin Substances 0.000 description 31
- 229920002037 poly(vinyl butyral) polymer Polymers 0.000 description 29
- 230000021736 acetylation Effects 0.000 description 24
- 238000006640 acetylation reaction Methods 0.000 description 24
- 238000009413 insulation Methods 0.000 description 18
- 230000001965 increasing effect Effects 0.000 description 13
- 238000006359 acetalization reaction Methods 0.000 description 11
- 239000002356 single layer Substances 0.000 description 10
- 239000000853 adhesive Substances 0.000 description 9
- 230000001070 adhesive effect Effects 0.000 description 9
- FRQDZJMEHSJOPU-UHFFFAOYSA-N Triethylene glycol bis(2-ethylhexanoate) Chemical compound CCCCC(CC)C(=O)OCCOCCOCCOC(=O)C(CC)CCCC FRQDZJMEHSJOPU-UHFFFAOYSA-N 0.000 description 8
- LYCAIKOWRPUZTN-UHFFFAOYSA-N ethylene glycol Natural products OCCO LYCAIKOWRPUZTN-UHFFFAOYSA-N 0.000 description 8
- 125000000816 ethylene group Chemical group [H]C([H])([*:1])C([H])([H])[*:2] 0.000 description 8
- 238000000034 method Methods 0.000 description 8
- -1 organic acid esters Chemical class 0.000 description 8
- 239000005357 flat glass Substances 0.000 description 7
- 238000004519 manufacturing process Methods 0.000 description 7
- 238000005259 measurement Methods 0.000 description 7
- 230000004048 modification Effects 0.000 description 7
- 238000012986 modification Methods 0.000 description 7
- 150000001299 aldehydes Chemical class 0.000 description 6
- HORIEOQXBKUKGQ-UHFFFAOYSA-N bis(7-methyloctyl) cyclohexane-1,2-dicarboxylate Chemical compound CC(C)CCCCCCOC(=O)C1CCCCC1C(=O)OCCCCCCC(C)C HORIEOQXBKUKGQ-UHFFFAOYSA-N 0.000 description 6
- MTHSVFCYNBDYFN-UHFFFAOYSA-N diethylene glycol Chemical compound OCCOCCO MTHSVFCYNBDYFN-UHFFFAOYSA-N 0.000 description 6
- 239000005329 float glass Substances 0.000 description 6
- 239000000203 mixture Substances 0.000 description 6
- 239000004372 Polyvinyl alcohol Substances 0.000 description 5
- 150000007524 organic acids Chemical class 0.000 description 5
- 229920002451 polyvinyl alcohol Polymers 0.000 description 5
- SAOKZLXYCUGLFA-UHFFFAOYSA-N bis(2-ethylhexyl) adipate Chemical compound CCCCC(CC)COC(=O)CCCCC(=O)OCC(CC)CCCC SAOKZLXYCUGLFA-UHFFFAOYSA-N 0.000 description 4
- 238000001035 drying Methods 0.000 description 4
- 238000010438 heat treatment Methods 0.000 description 4
- 238000002156 mixing Methods 0.000 description 4
- 150000002895 organic esters Chemical class 0.000 description 4
- JEYLQCXBYFQJRO-UHFFFAOYSA-N 2-[2-[2-(2-ethylbutanoyloxy)ethoxy]ethoxy]ethyl 2-ethylbutanoate Chemical compound CCC(CC)C(=O)OCCOCCOCCOC(=O)C(CC)CC JEYLQCXBYFQJRO-UHFFFAOYSA-N 0.000 description 3
- 229920002799 BoPET Polymers 0.000 description 3
- 229910019142 PO4 Inorganic materials 0.000 description 3
- 239000002253 acid Substances 0.000 description 3
- 125000004432 carbon atom Chemical group C* 0.000 description 3
- 238000006243 chemical reaction Methods 0.000 description 3
- 239000003795 chemical substances by application Substances 0.000 description 3
- WGCNASOHLSPBMP-UHFFFAOYSA-N hydroxyacetaldehyde Natural products OCC=O WGCNASOHLSPBMP-UHFFFAOYSA-N 0.000 description 3
- 239000010452 phosphate Substances 0.000 description 3
- 230000035484 reaction time Effects 0.000 description 3
- 238000012360 testing method Methods 0.000 description 3
- ZIBGPFATKBEMQZ-UHFFFAOYSA-N triethylene glycol Chemical compound OCCOCCOCCO ZIBGPFATKBEMQZ-UHFFFAOYSA-N 0.000 description 3
- LCZVSXRMYJUNFX-UHFFFAOYSA-N 2-[2-(2-hydroxypropoxy)propoxy]propan-1-ol Chemical compound CC(O)COC(C)COC(C)CO LCZVSXRMYJUNFX-UHFFFAOYSA-N 0.000 description 2
- YJGHMLJGPSVSLF-UHFFFAOYSA-N 2-[2-(2-octanoyloxyethoxy)ethoxy]ethyl octanoate Chemical compound CCCCCCCC(=O)OCCOCCOCCOC(=O)CCCCCCC YJGHMLJGPSVSLF-UHFFFAOYSA-N 0.000 description 2
- 239000004925 Acrylic resin Substances 0.000 description 2
- 229920000178 Acrylic resin Polymers 0.000 description 2
- FERIUCNNQQJTOY-UHFFFAOYSA-N Butyric acid Chemical compound CCCC(O)=O FERIUCNNQQJTOY-UHFFFAOYSA-N 0.000 description 2
- PYGXAGIECVVIOZ-UHFFFAOYSA-N Dibutyl decanedioate Chemical compound CCCCOC(=O)CCCCCCCCC(=O)OCCCC PYGXAGIECVVIOZ-UHFFFAOYSA-N 0.000 description 2
- VYPSYNLAJGMNEJ-UHFFFAOYSA-N Silicium dioxide Chemical compound O=[Si]=O VYPSYNLAJGMNEJ-UHFFFAOYSA-N 0.000 description 2
- UWHCKJMYHZGTIT-UHFFFAOYSA-N Tetraethylene glycol, Natural products OCCOCCOCCOCCO UWHCKJMYHZGTIT-UHFFFAOYSA-N 0.000 description 2
- 125000004036 acetal group Chemical group 0.000 description 2
- WNLRTRBMVRJNCN-UHFFFAOYSA-N adipic acid Chemical compound OC(=O)CCCCC(O)=O WNLRTRBMVRJNCN-UHFFFAOYSA-N 0.000 description 2
- 150000001278 adipic acid derivatives Chemical class 0.000 description 2
- 239000007864 aqueous solution Substances 0.000 description 2
- 230000005540 biological transmission Effects 0.000 description 2
- 230000002708 enhancing effect Effects 0.000 description 2
- 150000002148 esters Chemical class 0.000 description 2
- 238000011156 evaluation Methods 0.000 description 2
- 238000001125 extrusion Methods 0.000 description 2
- FUZZWVXGSFPDMH-UHFFFAOYSA-N hexanoic acid Chemical compound CCCCCC(O)=O FUZZWVXGSFPDMH-UHFFFAOYSA-N 0.000 description 2
- KQNPFQTWMSNSAP-UHFFFAOYSA-N isobutyric acid Chemical compound CC(C)C(O)=O KQNPFQTWMSNSAP-UHFFFAOYSA-N 0.000 description 2
- BDJRBEYXGGNYIS-UHFFFAOYSA-N nonanedioic acid Chemical compound OC(=O)CCCCCCCC(O)=O BDJRBEYXGGNYIS-UHFFFAOYSA-N 0.000 description 2
- NBIIXXVUZAFLBC-UHFFFAOYSA-K phosphate Chemical compound [O-]P([O-])([O-])=O NBIIXXVUZAFLBC-UHFFFAOYSA-K 0.000 description 2
- 229920000139 polyethylene terephthalate Polymers 0.000 description 2
- 239000005020 polyethylene terephthalate Substances 0.000 description 2
- YPFDHNVEDLHUCE-UHFFFAOYSA-N propane-1,3-diol Chemical compound OCCCO YPFDHNVEDLHUCE-UHFFFAOYSA-N 0.000 description 2
- 238000005096 rolling process Methods 0.000 description 2
- CXMXRPHRNRROMY-UHFFFAOYSA-N sebacic acid Chemical compound OC(=O)CCCCCCCCC(O)=O CXMXRPHRNRROMY-UHFFFAOYSA-N 0.000 description 2
- 239000000741 silica gel Substances 0.000 description 2
- 229910002027 silica gel Inorganic materials 0.000 description 2
- 230000000007 visual effect Effects 0.000 description 2
- KZVBBTZJMSWGTK-UHFFFAOYSA-N 1-[2-(2-butoxyethoxy)ethoxy]butane Chemical compound CCCCOCCOCCOCCCC KZVBBTZJMSWGTK-UHFFFAOYSA-N 0.000 description 1
- DLZBUNUDESZERL-UHFFFAOYSA-N 1-o-heptyl 6-o-nonyl hexanedioate Chemical compound CCCCCCCCCOC(=O)CCCCC(=O)OCCCCCCC DLZBUNUDESZERL-UHFFFAOYSA-N 0.000 description 1
- RNFJDJUURJAICM-UHFFFAOYSA-N 2,2,4,4,6,6-hexaphenoxy-1,3,5-triaza-2$l^{5},4$l^{5},6$l^{5}-triphosphacyclohexa-1,3,5-triene Chemical compound N=1P(OC=2C=CC=CC=2)(OC=2C=CC=CC=2)=NP(OC=2C=CC=CC=2)(OC=2C=CC=CC=2)=NP=1(OC=1C=CC=CC=1)OC1=CC=CC=C1 RNFJDJUURJAICM-UHFFFAOYSA-N 0.000 description 1
- CKQNDABUGIXFCL-UHFFFAOYSA-N 2-(2-octanoyloxyethoxy)ethyl octanoate Chemical compound CCCCCCCC(=O)OCCOCCOC(=O)CCCCCCC CKQNDABUGIXFCL-UHFFFAOYSA-N 0.000 description 1
- OXQGTIUCKGYOAA-UHFFFAOYSA-N 2-Ethylbutanoic acid Chemical compound CCC(CC)C(O)=O OXQGTIUCKGYOAA-UHFFFAOYSA-N 0.000 description 1
- GCDUWJFWXVRGSM-UHFFFAOYSA-N 2-[2-(2-heptanoyloxyethoxy)ethoxy]ethyl heptanoate Chemical compound CCCCCCC(=O)OCCOCCOCCOC(=O)CCCCCC GCDUWJFWXVRGSM-UHFFFAOYSA-N 0.000 description 1
- SSKNCQWPZQCABD-UHFFFAOYSA-N 2-[2-[2-(2-heptanoyloxyethoxy)ethoxy]ethoxy]ethyl heptanoate Chemical compound CCCCCCC(=O)OCCOCCOCCOCCOC(=O)CCCCCC SSKNCQWPZQCABD-UHFFFAOYSA-N 0.000 description 1
- ALKCLFLTXBBMMP-UHFFFAOYSA-N 3,7-dimethylocta-1,6-dien-3-yl hexanoate Chemical compound CCCCCC(=O)OC(C)(C=C)CCC=C(C)C ALKCLFLTXBBMMP-UHFFFAOYSA-N 0.000 description 1
- ZUDPXPYGTYNSCK-UHFFFAOYSA-N 6-(1-hexylcyclohexyl)oxy-6-oxohexanoic acid Chemical compound OC(=O)CCCCC(=O)OC1(CCCCCC)CCCCC1 ZUDPXPYGTYNSCK-UHFFFAOYSA-N 0.000 description 1
- GPZYYYGYCRFPBU-UHFFFAOYSA-N 6-Hydroxyflavone Chemical compound C=1C(=O)C2=CC(O)=CC=C2OC=1C1=CC=CC=C1 GPZYYYGYCRFPBU-UHFFFAOYSA-N 0.000 description 1
- OIUGWVWLEGLAGH-UHFFFAOYSA-N 6-nonoxy-6-oxohexanoic acid Chemical compound CCCCCCCCCOC(=O)CCCCC(O)=O OIUGWVWLEGLAGH-UHFFFAOYSA-N 0.000 description 1
- ZTQSAGDEMFDKMZ-UHFFFAOYSA-N Butyraldehyde Chemical compound CCCC=O ZTQSAGDEMFDKMZ-UHFFFAOYSA-N 0.000 description 1
- LFQSCWFLJHTTHZ-UHFFFAOYSA-N Ethanol Chemical compound CCO LFQSCWFLJHTTHZ-UHFFFAOYSA-N 0.000 description 1
- FSRKEDYWZHGEGG-UHFFFAOYSA-N [2-(8-methylnonyl)phenyl] dihydrogen phosphate Chemical compound CC(C)CCCCCCCC1=CC=CC=C1OP(O)(O)=O FSRKEDYWZHGEGG-UHFFFAOYSA-N 0.000 description 1
- 239000006096 absorbing agent Substances 0.000 description 1
- 125000002777 acetyl group Chemical group [H]C([H])([H])C(*)=O 0.000 description 1
- 239000003377 acid catalyst Substances 0.000 description 1
- 229920006243 acrylic copolymer Polymers 0.000 description 1
- 239000000654 additive Substances 0.000 description 1
- 230000000996 additive effect Effects 0.000 description 1
- WNLRTRBMVRJNCN-UHFFFAOYSA-L adipate(2-) Chemical compound [O-]C(=O)CCCCC([O-])=O WNLRTRBMVRJNCN-UHFFFAOYSA-L 0.000 description 1
- 235000011037 adipic acid Nutrition 0.000 description 1
- 239000001361 adipic acid Substances 0.000 description 1
- 230000032683 aging Effects 0.000 description 1
- 229920000180 alkyd Polymers 0.000 description 1
- 239000003963 antioxidant agent Substances 0.000 description 1
- 230000003078 antioxidant effect Effects 0.000 description 1
- 239000002216 antistatic agent Substances 0.000 description 1
- ZFMQKOWCDKKBIF-UHFFFAOYSA-N bis(3,5-difluorophenyl)phosphane Chemical compound FC1=CC(F)=CC(PC=2C=C(F)C=C(F)C=2)=C1 ZFMQKOWCDKKBIF-UHFFFAOYSA-N 0.000 description 1
- WERYXYBDKMZEQL-UHFFFAOYSA-N butane-1,4-diol Chemical compound OCCCCO WERYXYBDKMZEQL-UHFFFAOYSA-N 0.000 description 1
- 239000003086 colorant Substances 0.000 description 1
- 238000013016 damping Methods 0.000 description 1
- GHVNFZFCNZKVNT-UHFFFAOYSA-N decanoic acid Chemical compound CCCCCCCCCC(O)=O GHVNFZFCNZKVNT-UHFFFAOYSA-N 0.000 description 1
- 230000007423 decrease Effects 0.000 description 1
- 230000003247 decreasing effect Effects 0.000 description 1
- 238000010586 diagram Methods 0.000 description 1
- XWVQUJDBOICHGH-UHFFFAOYSA-N dioctyl nonanedioate Chemical compound CCCCCCCCOC(=O)CCCCCCCC(=O)OCCCCCCCC XWVQUJDBOICHGH-UHFFFAOYSA-N 0.000 description 1
- SZXQTJUDPRGNJN-UHFFFAOYSA-N dipropylene glycol Chemical compound OCCCOCCCO SZXQTJUDPRGNJN-UHFFFAOYSA-N 0.000 description 1
- 229920001971 elastomer Polymers 0.000 description 1
- OBNCKNCVKJNDBV-UHFFFAOYSA-N ethyl butyrate Chemical compound CCCC(=O)OCC OBNCKNCVKJNDBV-UHFFFAOYSA-N 0.000 description 1
- 239000005038 ethylene vinyl acetate Substances 0.000 description 1
- 239000003063 flame retardant Substances 0.000 description 1
- 239000006260 foam Substances 0.000 description 1
- 238000005187 foaming Methods 0.000 description 1
- 239000012634 fragment Substances 0.000 description 1
- 230000009477 glass transition Effects 0.000 description 1
- MNWFXJYAOYHMED-UHFFFAOYSA-N heptanoic acid Chemical compound CCCCCCC(O)=O MNWFXJYAOYHMED-UHFFFAOYSA-N 0.000 description 1
- 125000003187 heptyl group Chemical group [H]C([*])([H])C([H])([H])C([H])([H])C([H])([H])C([H])([H])C([H])([H])C([H])([H])[H] 0.000 description 1
- 239000004615 ingredient Substances 0.000 description 1
- 238000004898 kneading Methods 0.000 description 1
- 238000010030 laminating Methods 0.000 description 1
- 239000004611 light stabiliser Substances 0.000 description 1
- 239000007788 liquid Substances 0.000 description 1
- OJXOOFXUHZAXLO-UHFFFAOYSA-M magnesium;1-bromo-3-methanidylbenzene;bromide Chemical compound [Mg+2].[Br-].[CH2-]C1=CC=CC(Br)=C1 OJXOOFXUHZAXLO-UHFFFAOYSA-M 0.000 description 1
- 239000000463 material Substances 0.000 description 1
- 238000013508 migration Methods 0.000 description 1
- 230000005012 migration Effects 0.000 description 1
- 238000006386 neutralization reaction Methods 0.000 description 1
- FBUKVWPVBMHYJY-UHFFFAOYSA-N nonanoic acid Chemical compound CCCCCCCCC(O)=O FBUKVWPVBMHYJY-UHFFFAOYSA-N 0.000 description 1
- WWZKQHOCKIZLMA-UHFFFAOYSA-N octanoic acid Chemical compound CCCCCCCC(O)=O WWZKQHOCKIZLMA-UHFFFAOYSA-N 0.000 description 1
- 125000005461 organic phosphorous group Chemical group 0.000 description 1
- 239000000049 pigment Substances 0.000 description 1
- 229920001200 poly(ethylene-vinyl acetate) Polymers 0.000 description 1
- 229920003229 poly(methyl methacrylate) Polymers 0.000 description 1
- 229920000515 polycarbonate Polymers 0.000 description 1
- 239000004417 polycarbonate Substances 0.000 description 1
- 229920001223 polyethylene glycol Polymers 0.000 description 1
- 229920005749 polyurethane resin Polymers 0.000 description 1
- 229920002689 polyvinyl acetate Polymers 0.000 description 1
- 239000011118 polyvinyl acetate Substances 0.000 description 1
- 238000003825 pressing Methods 0.000 description 1
- 150000003329 sebacic acid derivatives Chemical class 0.000 description 1
- 238000001228 spectrum Methods 0.000 description 1
- 238000003756 stirring Methods 0.000 description 1
- 229920003002 synthetic resin Polymers 0.000 description 1
- 239000000057 synthetic resin Substances 0.000 description 1
- OXFUXNFMHFCELM-UHFFFAOYSA-N tripropan-2-yl phosphate Chemical compound CC(C)OP(=O)(OC(C)C)OC(C)C OXFUXNFMHFCELM-UHFFFAOYSA-N 0.000 description 1
- WTLBZVNBAKMVDP-UHFFFAOYSA-N tris(2-butoxyethyl) phosphate Chemical compound CCCCOCCOP(=O)(OCCOCCCC)OCCOCCCC WTLBZVNBAKMVDP-UHFFFAOYSA-N 0.000 description 1
- 239000006097 ultraviolet radiation absorber Substances 0.000 description 1
- 238000001845 vibrational spectrum Methods 0.000 description 1
- 238000005406 washing Methods 0.000 description 1
- 230000002087 whitening effect Effects 0.000 description 1
Images
Classifications
-
- B—PERFORMING OPERATIONS; TRANSPORTING
- B32—LAYERED PRODUCTS
- B32B—LAYERED PRODUCTS, i.e. PRODUCTS BUILT-UP OF STRATA OF FLAT OR NON-FLAT, e.g. CELLULAR OR HONEYCOMB, FORM
- B32B17/00—Layered products essentially comprising sheet glass, or glass, slag, or like fibres
- B32B17/06—Layered products essentially comprising sheet glass, or glass, slag, or like fibres comprising glass as the main or only constituent of a layer, next to another layer of a specific material
- B32B17/10—Layered products essentially comprising sheet glass, or glass, slag, or like fibres comprising glass as the main or only constituent of a layer, next to another layer of a specific material of synthetic resin
- B32B17/10005—Layered products essentially comprising sheet glass, or glass, slag, or like fibres comprising glass as the main or only constituent of a layer, next to another layer of a specific material of synthetic resin laminated safety glass or glazing
- B32B17/1055—Layered products essentially comprising sheet glass, or glass, slag, or like fibres comprising glass as the main or only constituent of a layer, next to another layer of a specific material of synthetic resin laminated safety glass or glazing characterized by the resin layer, i.e. interlayer
- B32B17/10559—Shape of the cross-section
- B32B17/10568—Shape of the cross-section varying in thickness
-
- B—PERFORMING OPERATIONS; TRANSPORTING
- B32—LAYERED PRODUCTS
- B32B—LAYERED PRODUCTS, i.e. PRODUCTS BUILT-UP OF STRATA OF FLAT OR NON-FLAT, e.g. CELLULAR OR HONEYCOMB, FORM
- B32B17/00—Layered products essentially comprising sheet glass, or glass, slag, or like fibres
- B32B17/06—Layered products essentially comprising sheet glass, or glass, slag, or like fibres comprising glass as the main or only constituent of a layer, next to another layer of a specific material
- B32B17/10—Layered products essentially comprising sheet glass, or glass, slag, or like fibres comprising glass as the main or only constituent of a layer, next to another layer of a specific material of synthetic resin
- B32B17/10005—Layered products essentially comprising sheet glass, or glass, slag, or like fibres comprising glass as the main or only constituent of a layer, next to another layer of a specific material of synthetic resin laminated safety glass or glazing
- B32B17/10009—Layered products essentially comprising sheet glass, or glass, slag, or like fibres comprising glass as the main or only constituent of a layer, next to another layer of a specific material of synthetic resin laminated safety glass or glazing characterized by the number, the constitution or treatment of glass sheets
- B32B17/10036—Layered products essentially comprising sheet glass, or glass, slag, or like fibres comprising glass as the main or only constituent of a layer, next to another layer of a specific material of synthetic resin laminated safety glass or glazing characterized by the number, the constitution or treatment of glass sheets comprising two outer glass sheets
-
- B—PERFORMING OPERATIONS; TRANSPORTING
- B32—LAYERED PRODUCTS
- B32B—LAYERED PRODUCTS, i.e. PRODUCTS BUILT-UP OF STRATA OF FLAT OR NON-FLAT, e.g. CELLULAR OR HONEYCOMB, FORM
- B32B17/00—Layered products essentially comprising sheet glass, or glass, slag, or like fibres
- B32B17/06—Layered products essentially comprising sheet glass, or glass, slag, or like fibres comprising glass as the main or only constituent of a layer, next to another layer of a specific material
- B32B17/10—Layered products essentially comprising sheet glass, or glass, slag, or like fibres comprising glass as the main or only constituent of a layer, next to another layer of a specific material of synthetic resin
- B32B17/10005—Layered products essentially comprising sheet glass, or glass, slag, or like fibres comprising glass as the main or only constituent of a layer, next to another layer of a specific material of synthetic resin laminated safety glass or glazing
- B32B17/1055—Layered products essentially comprising sheet glass, or glass, slag, or like fibres comprising glass as the main or only constituent of a layer, next to another layer of a specific material of synthetic resin laminated safety glass or glazing characterized by the resin layer, i.e. interlayer
- B32B17/10559—Shape of the cross-section
-
- B—PERFORMING OPERATIONS; TRANSPORTING
- B32—LAYERED PRODUCTS
- B32B—LAYERED PRODUCTS, i.e. PRODUCTS BUILT-UP OF STRATA OF FLAT OR NON-FLAT, e.g. CELLULAR OR HONEYCOMB, FORM
- B32B17/00—Layered products essentially comprising sheet glass, or glass, slag, or like fibres
- B32B17/06—Layered products essentially comprising sheet glass, or glass, slag, or like fibres comprising glass as the main or only constituent of a layer, next to another layer of a specific material
- B32B17/10—Layered products essentially comprising sheet glass, or glass, slag, or like fibres comprising glass as the main or only constituent of a layer, next to another layer of a specific material of synthetic resin
- B32B17/10005—Layered products essentially comprising sheet glass, or glass, slag, or like fibres comprising glass as the main or only constituent of a layer, next to another layer of a specific material of synthetic resin laminated safety glass or glazing
- B32B17/1055—Layered products essentially comprising sheet glass, or glass, slag, or like fibres comprising glass as the main or only constituent of a layer, next to another layer of a specific material of synthetic resin laminated safety glass or glazing characterized by the resin layer, i.e. interlayer
- B32B17/10761—Layered products essentially comprising sheet glass, or glass, slag, or like fibres comprising glass as the main or only constituent of a layer, next to another layer of a specific material of synthetic resin laminated safety glass or glazing characterized by the resin layer, i.e. interlayer containing vinyl acetal
-
- C—CHEMISTRY; METALLURGY
- C08—ORGANIC MACROMOLECULAR COMPOUNDS; THEIR PREPARATION OR CHEMICAL WORKING-UP; COMPOSITIONS BASED THEREON
- C08J—WORKING-UP; GENERAL PROCESSES OF COMPOUNDING; AFTER-TREATMENT NOT COVERED BY SUBCLASSES C08B, C08C, C08F, C08G or C08H
- C08J5/00—Manufacture of articles or shaped materials containing macromolecular substances
- C08J5/18—Manufacture of films or sheets
-
- B—PERFORMING OPERATIONS; TRANSPORTING
- B32—LAYERED PRODUCTS
- B32B—LAYERED PRODUCTS, i.e. PRODUCTS BUILT-UP OF STRATA OF FLAT OR NON-FLAT, e.g. CELLULAR OR HONEYCOMB, FORM
- B32B2250/00—Layers arrangement
- B32B2250/03—3 layers
-
- B—PERFORMING OPERATIONS; TRANSPORTING
- B32—LAYERED PRODUCTS
- B32B—LAYERED PRODUCTS, i.e. PRODUCTS BUILT-UP OF STRATA OF FLAT OR NON-FLAT, e.g. CELLULAR OR HONEYCOMB, FORM
- B32B2307/00—Properties of the layers or laminate
- B32B2307/10—Properties of the layers or laminate having particular acoustical properties
- B32B2307/102—Insulating
-
- Y—GENERAL TAGGING OF NEW TECHNOLOGICAL DEVELOPMENTS; GENERAL TAGGING OF CROSS-SECTIONAL TECHNOLOGIES SPANNING OVER SEVERAL SECTIONS OF THE IPC; TECHNICAL SUBJECTS COVERED BY FORMER USPC CROSS-REFERENCE ART COLLECTIONS [XRACs] AND DIGESTS
- Y10—TECHNICAL SUBJECTS COVERED BY FORMER USPC
- Y10T—TECHNICAL SUBJECTS COVERED BY FORMER US CLASSIFICATION
- Y10T428/00—Stock material or miscellaneous articles
- Y10T428/24—Structurally defined web or sheet [e.g., overall dimension, etc.]
- Y10T428/24479—Structurally defined web or sheet [e.g., overall dimension, etc.] including variation in thickness
-
- Y—GENERAL TAGGING OF NEW TECHNOLOGICAL DEVELOPMENTS; GENERAL TAGGING OF CROSS-SECTIONAL TECHNOLOGIES SPANNING OVER SEVERAL SECTIONS OF THE IPC; TECHNICAL SUBJECTS COVERED BY FORMER USPC CROSS-REFERENCE ART COLLECTIONS [XRACs] AND DIGESTS
- Y10—TECHNICAL SUBJECTS COVERED BY FORMER USPC
- Y10T—TECHNICAL SUBJECTS COVERED BY FORMER US CLASSIFICATION
- Y10T428/00—Stock material or miscellaneous articles
- Y10T428/24—Structurally defined web or sheet [e.g., overall dimension, etc.]
- Y10T428/24479—Structurally defined web or sheet [e.g., overall dimension, etc.] including variation in thickness
- Y10T428/24612—Composite web or sheet
Landscapes
- Chemical & Material Sciences (AREA)
- Engineering & Computer Science (AREA)
- Manufacturing & Machinery (AREA)
- Materials Engineering (AREA)
- Health & Medical Sciences (AREA)
- Chemical Kinetics & Catalysis (AREA)
- Medicinal Chemistry (AREA)
- Polymers & Plastics (AREA)
- Organic Chemistry (AREA)
- Joining Of Glass To Other Materials (AREA)
- Laminated Bodies (AREA)
Abstract
【解決手段】合わせガラス用中間膜1は、一端1aの厚みが他端1bの厚みよりも薄い。合わせガラス用中間膜1の厚みの薄い領域の含水率は、厚みの厚い領域の含水率よりも高い。合わせガラス21は、第1の合わせガラス構成部材22と、第2の合わせガラス構成部材23と、該第1,第2の合わせガラス構成部材22,23の間に挟み込まれた合わせガラス用中間膜1を備える。
【選択図】図1
Description
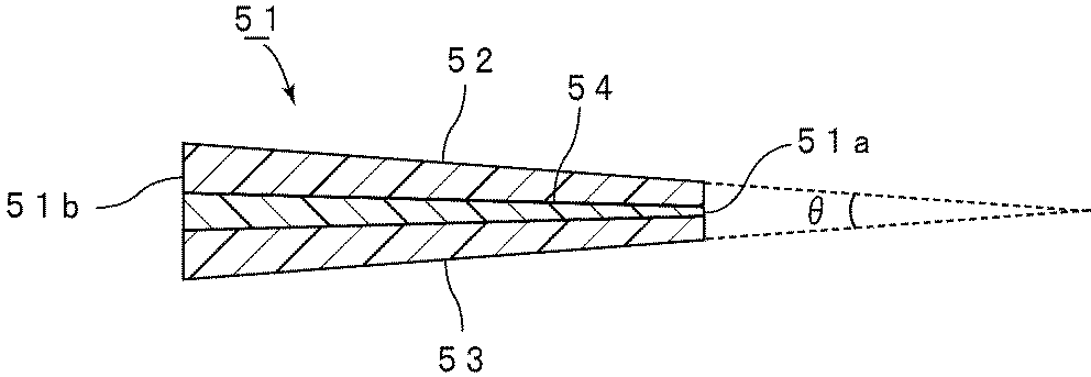
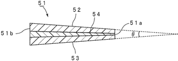
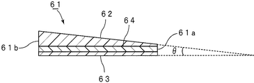
図1(a)及び(b)に、本発明の一実施形態に係る合わせガラス用中間膜を模式的に断面図及び平面図で示す。
上記熱可塑性樹脂は、従来公知の熱可塑性樹脂を用いることができ、特に限定されない。上記熱可塑性樹脂としては、ポリビニルアセタール樹脂、エチレン−酢酸ビニル共重合体樹脂、エチレン−アクリル共重合体樹脂、ポリウレタン樹脂及びポリビニルアルコール樹脂等が挙げられる。これら以外の熱可塑性樹脂を用いてもよい。上記熱可塑性樹脂は1種のみが用いられてもよく、2種以上が併用されてもよい。
上記可塑剤は特に限定されない。上記可塑剤として、従来公知の可塑剤を用いることができる。上記可塑剤は、1種のみが用いられてもよく、2種以上が併用されてもよい。
本発明に係る合わせガラス用中間膜は、必要に応じて、紫外線吸収剤、酸化防止剤、光安定剤、難燃剤、帯電防止剤、顔料、染料、接着力調整剤、耐湿剤、蛍光増白剤及び赤外線吸収剤等の添加剤を含有していてもよい。
本発明に係る合わせガラス用中間膜は、合わせガラスを得るために用いられる。
第1,第2の表面層の作製:
ポリビニルブチラール樹脂(PVB樹脂、水酸基量30モル%)100重量部に、可塑剤としてトリエチレングリコールジ−2−エチルヘキサノエート(3GO)40重量部を添加し、ミキシングロールで充分に混練し、第1,第2の表面層を作製するための組成物1を調製した。
ポリビニルブチラール樹脂(PVB樹脂、水酸基量25モル%)100重量部に、可塑剤としてトリエチレングリコールジ−2−エチルヘキサノエート(3GO)60重量部を添加し、ミキシングロールで充分に混練し、中間層を作製するための組成物2を調製した。
得られた組成物1及び組成物2を、押出機を用いて共押出することにより、第1,第2の表面層の間に、中間層が積層された積層体を得た。次に、得られた積層体を、温度が高く、かつ湿度が高い環境下、又は、温度が高く、かつ湿度が低い環境下で、温度及び湿度を部分的に異ならせて保管することにより含水率を部分的に変化させ、多層中間膜(縦1000mm×横350mm)を作製した。この多層中間膜では、縦方向における一端の厚みを、該一端とは反対側の他端の厚みよりも薄くし、横方向における厚みは均一にし、第1,第2の表面層及び中間層の各最大厚み及び各最小厚み、及び中間膜の楔角θを下記の表1に示すようにした。得られた中間膜の厚み方向の断面形状は楔状であり、中間膜は、一端から他端に向かって、厚みが次第に厚くなる形状を有していた。
得られた多層中間膜を、2枚の透明なフロートガラス(縦1000mm×横300mm×厚さ2.5mm)で挟み込んで、積層体を得た。230℃の加熱ロールを用いて、得られた積層体を仮圧着した。その後、加熱ロール法により、オートクレーブを用いて、135℃、圧力1.2MPaの条件で、仮圧着された積層体を20分間圧着し、合わせガラス(縦1000mm×横300mm)を作製した。
PVB樹脂の水酸基量、可塑剤の種類及び含有量、厚み方向の断面形状、最大厚み及び最小厚み、並びに楔角θを下記の表1に示すように設定したこと以外は実施例1と同様にして、多層中間膜及び合わせガラスを得た。
単層中間膜の作製:
ポリビニルブチラール樹脂(PVB樹脂、水酸基量30モル%)100重量部に、可塑剤としてトリエチレングリコールジ−2−エチルヘキサノエート(3GO)40重量部を添加し、ミキシングロールで充分に混練した後、押出機を用いて押出成形して、成形体を作製した。得られた成形体を温度が高く、かつ湿度が高い環境下、又は、温度が高く、かつ湿度が低い環境下で、温度及び湿度を部分的に異ならせて保管することにより含水率を部分的に変化させ、単層中間膜(縦1000mm×横350mm)を作製した。この単層中間膜では、縦方向における一端の厚みを、該一端とは反対側の他端の厚みよりも薄くし、横方向における厚みは均一にし、中間膜の最大厚み、最小厚み及び楔角θを下記の表2に示すようにした。
PVB樹脂の水酸基量、可塑剤の種類及び含有量、厚み方向の断面形状、最大厚み及び最小厚み、並びに楔角θを下記の表2に示すように設定したこと以外は実施例12と同様にして、単層中間膜及び合わせガラスを得た。
表面層を作製するための熱可塑性樹脂として、下記の3種のポリビニルブチラール樹脂を用意した。
ポリビニルブチラール樹脂(PVB樹脂、水酸基量30モル%、アセチル化度1モル%、ブチラール化度69モル%)
ポリビニルブチラール樹脂(PVB樹脂、水酸基量35モル%、アセチル化度1モル%、ブチラール化度64モル%)
ポリビニルブチラール樹脂(PVB樹脂、水酸基量22モル%、アセチル化度1モル%、ブチラール化度77モル%)
ポリビニルブチラール樹脂(PVB樹脂、水酸基量25モル%、アセチル化度12モル%、ブチラール化度63モル%)
ポリビニルブチラール樹脂(PVB樹脂、水酸基量30モル%、アセチル化度13モル%、ブチラール化度57モル%)
ポリビニルブチラール樹脂(PVB樹脂、水酸基量17モル%、アセチル化度4モル%、ブチラール化度79モル%)
(1)含水率
得られた中間膜(縦1000mm×横350mm、縦方向における厚みが異なる、多層中間膜又は単層中間膜)の厚みが薄い一端から内側に向かって100mm〜200mmの距離の領域A1の中間膜を切り出した。また、中間膜の厚みが厚い他端から内側に向かって100mm〜200mmの距離の領域B1の中間膜を切り出した。シリカゲルを内部に有するデシケータ内に、得られた中間膜を置いて、デシケータの蓋を閉め、密封した。なお、シリカゲルは中間膜に含まれる水を充分に吸収できる量で用いた。その後、該デシケータを23℃に保管し、中間膜の重量変化がなくなるまで、中間膜を乾燥させた。
合わせガラス用中間膜の含水率(重量%)={(乾燥前の中間膜の重量−乾燥後の中間膜の重量)×100}/(乾燥前の中間膜の重量) ・・・式(1)
実施例で得られた合わせガラス(縦1000mm×横300mm)における3つの部分(厚い部分、中央部分、薄い部分)による耐貫通性を評価するために、実施例で得られた中間膜(多層中間膜又は単層中間膜)を用いて、3つの合わせガラス(縦300mm×横300mm)を作製した。
実施例1〜11,22〜32において、上記(2)耐貫通性の評価で得られた合わせガラスC2(縦300mm×横300mm)をダンピング試験用の振動発生機(振研社製「加振機G21−005D」)により加振し、そこから得られた振動特性を機械インピーダンス測定装置(リオン社製「XG−81」)にて増幅し、振動スペクトルをFFTスペクトラムアナライザー(横河ヒューレッドパッカード社製「FFTアナライザー HP3582A」)により解析した。
得られた合わせガラス(縦1000mm×横300mm)をフロントガラスの位置に設置した。合わせガラスの下方に設置した表示ユニットから表示情報を合わせガラスに反射させ、所定の位置で二重像の有無を目視で確認した。二重像が確認されない場合を「○」、二重像が確認される場合を「×」として、結果を下記の表1〜4に示した。
1a…一端
1b…他端
2…第1の表面層
2a…外側の表面
3…第2の表面層
3a…外側の表面
4…中間層
11…中間膜
11a…一端
11b…他端
21…合わせガラス
22…第1の合わせガラス構成部材
23…第2の合わせガラス構成部材
51,61,71…中間膜
51a,61a,71a…一端
51b,61b,71b…他端
52,53,62,63,72,73…第1,第2の表面層
54,64,74…中間層
74a,74b…第1,第2の中間層
Claims (15)
- 一端の厚みが、該一端とは反対側の他端の厚みよりも薄く、厚みの薄い領域の含水率が厚みの厚い領域の含水率よりも高い、合わせガラス用中間膜。
- 前記一端と前記他端との間の距離をXとしたときに、
前記厚みの薄い領域が、前記一端から内側に向かって0.1X〜0.2Xの距離の領域であり、かつ前記厚みの厚い領域が、前記他端から内側に向かって0.1X〜0.2Xの距離の領域である、請求項1に記載の合わせガラス用中間膜。 - 前記厚みの薄い領域の含水率が、前記厚みの厚い領域の含水率の1倍を越え3倍以下である、請求項1又は2に記載の合わせガラス用中間膜。
- 前記厚みの薄い領域の含水率が0.2〜0.7重量%の範囲内である、請求項1〜3のいずれか1項に記載の合わせガラス用中間膜。
- 熱可塑性樹脂と可塑剤とを含有する、請求項1〜4のいずれか1項に記載の合わせガラス用中間膜。
- 前記熱可塑性樹脂がポリビニルアセタール樹脂である、請求項5に記載の合わせガラス用中間膜。
- 第1の表面層と、第2の表面層と、該第1,第2の表面層の間に配置された中間層とを備える、請求項1〜6のいずれか1項に記載の合わせガラス用中間膜。
- 前記第1,第2の表面層がそれぞれ、ポリビニルアセタール樹脂と可塑剤とを含有し、
前記中間層が、ポリビニルアセタール樹脂と可塑剤とを含有し、
前記第1,第2の表面層に含まれている前記ポリビニルアセタール樹脂の各水酸基量が、前記中間層に含まれている前記ポリビニルアセタール樹脂の水酸基量よりも高い、請求項7に記載の合わせガラス用中間膜。 - 前記第1,第2の表面層に含まれている前記ポリビニルアセタール樹脂の各水酸基量が、前記中間層に含まれている前記ポリビニルアセタール樹脂の水酸基量よりも1モル%以上高い、請求項8に記載の合わせガラス用中間膜。
- 前記第1,第2の表面層に含まれている前記ポリビニルアセタール樹脂の各水酸基量が、20〜38モル%である、請求項8又は9に記載の合わせガラス用中間膜。
- 前記中間層の前記ポリビニルアセタール樹脂100重量部に対する前記可塑剤の含有量が、前記第1,第2の表面層の前記ポリビニルアセタール樹脂100重量部に対する前記可塑剤の各含有量よりも多い、請求項8〜10のいずれか1項に記載の合わせガラス用中間膜。
- 前記中間層の前記ポリビニルアセタール樹脂100重量部に対する前記可塑剤の含有量が、前記第1,第2の表面層の前記ポリビニルアセタール樹脂100重量部に対する前記可塑剤の各含有量よりも5重量部以上多い、請求項11に記載の合わせガラス用中間膜。
- 前記中間層の前記ポリビニルアセタール樹脂100重量部に対する前記可塑剤の含有量が45〜75重量部であり、かつ前記第1,第2の表面層の前記ポリビニルアセタール樹脂100重量部に対する前記可塑剤の各含有量がそれぞれ20〜50重量部である、請求項11又は12に記載の合わせガラス用中間膜。
- 厚み方向の断面形状が楔状である、請求項1〜13のいずれか1項に記載の合わせガラス用中間膜。
- 第1の合わせガラス構成部材と、第2の合わせガラス構成部材と、該第1,第2の合わせガラス構成部材の間に挟み込まれた中間膜とを備え、
前記中間膜が、請求項1〜14のいずれか1項に記載の合わせガラス用中間膜である、合わせガラス。
Priority Applications (1)
| Application Number | Priority Date | Filing Date | Title |
|---|---|---|---|
| JP2012032680A JP5743921B2 (ja) | 2010-09-01 | 2012-02-17 | 合わせガラス用中間膜及び合わせガラス |
Applications Claiming Priority (3)
| Application Number | Priority Date | Filing Date | Title |
|---|---|---|---|
| JP2010195405 | 2010-09-01 | ||
| JP2010195405 | 2010-09-01 | ||
| JP2012032680A JP5743921B2 (ja) | 2010-09-01 | 2012-02-17 | 合わせガラス用中間膜及び合わせガラス |
Related Parent Applications (1)
| Application Number | Title | Priority Date | Filing Date |
|---|---|---|---|
| JP2011544726A Division JP4938913B2 (ja) | 2010-09-01 | 2011-09-01 | 合わせガラス用中間膜及び合わせガラス |
Related Child Applications (1)
| Application Number | Title | Priority Date | Filing Date |
|---|---|---|---|
| JP2015091279A Division JP2015180593A (ja) | 2010-09-01 | 2015-04-28 | 合わせガラス用中間膜及び合わせガラス |
Publications (3)
| Publication Number | Publication Date |
|---|---|
| JP2012106932A true JP2012106932A (ja) | 2012-06-07 |
| JP2012106932A5 JP2012106932A5 (ja) | 2014-05-01 |
| JP5743921B2 JP5743921B2 (ja) | 2015-07-01 |
Family
ID=45772991
Family Applications (3)
| Application Number | Title | Priority Date | Filing Date |
|---|---|---|---|
| JP2011544726A Active JP4938913B2 (ja) | 2010-09-01 | 2011-09-01 | 合わせガラス用中間膜及び合わせガラス |
| JP2012032680A Ceased JP5743921B2 (ja) | 2010-09-01 | 2012-02-17 | 合わせガラス用中間膜及び合わせガラス |
| JP2015091279A Pending JP2015180593A (ja) | 2010-09-01 | 2015-04-28 | 合わせガラス用中間膜及び合わせガラス |
Family Applications Before (1)
| Application Number | Title | Priority Date | Filing Date |
|---|---|---|---|
| JP2011544726A Active JP4938913B2 (ja) | 2010-09-01 | 2011-09-01 | 合わせガラス用中間膜及び合わせガラス |
Family Applications After (1)
| Application Number | Title | Priority Date | Filing Date |
|---|---|---|---|
| JP2015091279A Pending JP2015180593A (ja) | 2010-09-01 | 2015-04-28 | 合わせガラス用中間膜及び合わせガラス |
Country Status (5)
| Country | Link |
|---|---|
| US (1) | US20130149503A1 (ja) |
| EP (2) | EP2918563B1 (ja) |
| JP (3) | JP4938913B2 (ja) |
| CN (2) | CN104944806A (ja) |
| WO (1) | WO2012029916A1 (ja) |
Cited By (9)
| Publication number | Priority date | Publication date | Assignee | Title |
|---|---|---|---|---|
| JP2015180593A (ja) * | 2010-09-01 | 2015-10-15 | 積水化学工業株式会社 | 合わせガラス用中間膜及び合わせガラス |
| WO2017057497A1 (ja) * | 2015-09-30 | 2017-04-06 | 積水化学工業株式会社 | 合わせガラス用中間膜及び合わせガラス |
| WO2017057334A1 (ja) * | 2015-09-28 | 2017-04-06 | 積水化学工業株式会社 | 合わせガラス用中間膜及び合わせガラス |
| JP2017178676A (ja) * | 2016-03-30 | 2017-10-05 | 積水化学工業株式会社 | 合わせガラス用中間膜、合わせガラス及び合わせガラス用中間膜の製造方法 |
| WO2017170727A1 (ja) * | 2016-03-30 | 2017-10-05 | 積水化学工業株式会社 | 合わせガラス用中間膜及び合わせガラス |
| JP2017214276A (ja) * | 2015-12-18 | 2017-12-07 | 積水化学工業株式会社 | 合わせガラス用中間膜、ロール体及び合わせガラス |
| JPWO2018181418A1 (ja) * | 2017-03-28 | 2019-04-11 | 積水化学工業株式会社 | 合わせガラス用中間膜、ロール体及び合わせガラス |
| RU2715505C1 (ru) * | 2015-09-30 | 2020-02-28 | Секисуй Кемикал Ко., Лтд. | Межслойная пленка для ламинированного стекла и ламинированное стекло |
| JP2022060240A (ja) * | 2016-10-12 | 2022-04-14 | 積水化学工業株式会社 | 合わせガラス用中間膜及び合わせガラス |
Families Citing this family (40)
| Publication number | Priority date | Publication date | Assignee | Title |
|---|---|---|---|---|
| CA2646038C (en) * | 2006-05-12 | 2014-07-08 | Sekisui Chemical Co., Ltd. | Interlayer film for laminated glass and laminated glass |
| CN105408274A (zh) * | 2013-08-05 | 2016-03-16 | 旭硝子株式会社 | 车辆用的夹层玻璃 |
| US9994000B2 (en) * | 2013-10-08 | 2018-06-12 | Solutia Inc. | Multiple layer panels having reduced levels of edge defects |
| JP6355564B2 (ja) * | 2013-11-14 | 2018-07-11 | 積水化学工業株式会社 | 合わせガラス用中間膜及び合わせガラス |
| FR3013631B1 (fr) * | 2013-11-27 | 2017-04-28 | Saint Gobain | Intercalaire plastique viscoelastique pour un amortissement vibro-acoustique et vitrage comprenant un tel intercalaire |
| US10946620B2 (en) | 2014-01-15 | 2021-03-16 | Sekisui Chemical Co., Ltd. | Interlayer film for laminated glass, and laminated glass |
| KR102340501B1 (ko) | 2014-03-31 | 2021-12-20 | 세키스이가가쿠 고교가부시키가이샤 | 접합 유리용 중간막, 접합 유리용 중간막의 제조 방법 및 접합 유리 |
| WO2016017566A1 (ja) * | 2014-07-30 | 2016-02-04 | 旭硝子株式会社 | ガラス |
| KR20190112190A (ko) * | 2014-09-29 | 2019-10-02 | 세키스이가가쿠 고교가부시키가이샤 | 접합 유리용 중간막 및 접합 유리 |
| EA034319B1 (ru) * | 2014-12-08 | 2020-01-28 | Сэн-Гобэн Гласс Франс | Многослойное стекло, имеющее малую толщину, для индикатора на лобовом стекле (hud-дисплея) |
| CN107207338A (zh) * | 2015-01-26 | 2017-09-26 | 旭硝子株式会社 | 夹层玻璃 |
| CA2975582A1 (en) * | 2015-02-05 | 2016-08-11 | Sekisui Chemical Co., Ltd. | Interlayer film for laminated glass, and laminated glass |
| WO2016198679A1 (de) | 2015-06-11 | 2016-12-15 | Saint-Gobain Glass France | Projektionsanordnung für ein head-up-display (hud) |
| EA034780B1 (ru) | 2015-06-11 | 2020-03-19 | Сэн-Гобэн Гласс Франс | Проекционная система для дисплея на лобовом стекле (длс) в системе дополненной реальности |
| US10683694B2 (en) | 2015-09-11 | 2020-06-16 | Sekisui Chemical Co., Ltd. | Interlayer for laminated glass, and laminated glass |
| AU2016332390A1 (en) | 2015-09-30 | 2018-03-15 | Sekisui Chemical Co., Ltd. | Interlayer film for laminated glass and laminated glass |
| US10836143B2 (en) | 2016-01-18 | 2020-11-17 | Sekisui Chemical Co., Ltd. | Interlayer film for laminated glass, roll, and laminated glass |
| PL3429844T3 (pl) | 2016-03-17 | 2021-02-22 | Saint-Gobain Glass France | Szyba zespolona z powłoką elektroprzewodzącą dla wyświetlacza przeziernego |
| US10906273B2 (en) * | 2016-03-30 | 2021-02-02 | Sekisui Chemical Co., Ltd. | Interlayer for laminated glass, and laminated glass |
| US10737470B2 (en) | 2016-06-21 | 2020-08-11 | Solutia Inc. | Polymeric interlayers and multiple layer panels made therefrom exhibiting enhanced properties and performance |
| US10589495B2 (en) | 2016-06-21 | 2020-03-17 | Solutia Inc. | Polymeric interlayers and multiple layer panels made therefrom exhibiting enhanced properties and performance |
| US10926516B2 (en) | 2016-06-21 | 2021-02-23 | Solutia Inc. | Polymeric interlayers and multiple layer panels made therefrom exhibiting enhanced properties and performance |
| US10611906B2 (en) | 2016-06-21 | 2020-04-07 | Solutia Inc. | Polymeric interlayers and multiple layer panels made therefrom exhibiting enhanced properties and performance |
| US10668691B2 (en) | 2016-06-21 | 2020-06-02 | Solutia Inc. | Polymeric interlayers and multiple layer panels made therefrom exhibiting enhanced properties and performance |
| JP6484351B2 (ja) * | 2016-10-12 | 2019-03-13 | 積水化学工業株式会社 | 合わせガラス用中間膜、ロール体及び合わせガラス |
| WO2018079230A1 (ja) * | 2016-10-26 | 2018-05-03 | 旭硝子株式会社 | 合わせガラス |
| KR20190065310A (ko) * | 2016-10-28 | 2019-06-11 | 쿠라레이 아메리카 인코포레이티드 | 쐐기형 다층 중간층 및 유리 라미네이트 |
| RU2019134051A (ru) * | 2017-03-30 | 2021-04-30 | Секисуй Кемикал Ко., Лтд. | Межслойная пленка для ламинированных стекол и ламинированное стекло |
| KR102049495B1 (ko) | 2017-03-30 | 2019-11-28 | 세키스이가가쿠 고교가부시키가이샤 | 접합 유리용 중간막 및 접합 유리 |
| WO2018216574A1 (ja) * | 2017-05-23 | 2018-11-29 | Agc株式会社 | 合わせガラス |
| MX2019013233A (es) * | 2017-06-07 | 2020-02-03 | Sekisui Chemical Co Ltd | Pelicula intercalar para vidrio laminado, y vidrio laminado. |
| MX2019013236A (es) | 2017-06-07 | 2020-01-30 | Sekisui Chemical Co Ltd | Pelicula intercalar para vidrio laminado y vidrio laminado. |
| WO2019124374A1 (ja) * | 2017-12-19 | 2019-06-27 | 積水化学工業株式会社 | 合わせガラス |
| CN111225887B (zh) * | 2017-12-28 | 2023-03-28 | 积水化学工业株式会社 | 夹层玻璃用中间膜和夹层玻璃 |
| JPWO2020031558A1 (ja) * | 2018-08-09 | 2021-08-02 | 積水化学工業株式会社 | 合わせガラス用中間膜及び合わせガラス |
| JP7477974B2 (ja) * | 2018-10-09 | 2024-05-02 | 積水化学工業株式会社 | 合わせガラス用中間膜及び合わせガラス |
| JP7195454B2 (ja) | 2019-10-21 | 2022-12-23 | マクセル株式会社 | 光源装置、それを利用した情報表示システムおよびヘッドアップディスプレイ装置 |
| MX2022006271A (es) | 2019-12-19 | 2022-06-08 | Solutia Inc | Capa intermedia de multiples capas en forma de cu?a con capas de pelicula exterior de espesor variable. |
| EP4076941A4 (en) * | 2019-12-19 | 2024-03-13 | Solutia Inc. | MULTI-LAYER WEDGE-SHAPED MIDDLE LAYER WITH EXTERNAL SKIN LAYERS OF DIFFERENT THICKNESSES |
| DE112021002157T5 (de) * | 2020-04-03 | 2023-01-19 | AGC Inc. | Laminiertes glas |
Citations (4)
| Publication number | Priority date | Publication date | Assignee | Title |
|---|---|---|---|---|
| JP2000191348A (ja) * | 1998-12-25 | 2000-07-11 | Sekisui Chem Co Ltd | 合わせガラス用中間膜及び合わせガラス |
| WO2007132777A1 (ja) * | 2006-05-12 | 2007-11-22 | Sekisui Chemical Co., Ltd. | 合わせガラス用中間膜及び合わせガラス |
| JP2008532917A (ja) * | 2005-03-17 | 2008-08-21 | ソリユテイア・インコーポレイテツド | 音響を低減させる楔形ポリマー中間層 |
| JP2008201667A (ja) * | 2007-01-24 | 2008-09-04 | Asahi Glass Co Ltd | 車両用合わせガラス |
Family Cites Families (17)
| Publication number | Priority date | Publication date | Assignee | Title |
|---|---|---|---|---|
| US3262835A (en) * | 1964-11-02 | 1966-07-26 | Monsanto Co | Laminated safety glass |
| JPS58190846A (ja) * | 1982-05-01 | 1983-11-07 | Asahi Glass Co Ltd | 合わせガラスの製法 |
| MX171971B (es) * | 1989-10-16 | 1993-11-24 | Libbey Owens Ford Co | Panel exhibidor para un parabrisas de vehiculo |
| JP2002103455A (ja) * | 2000-10-04 | 2002-04-09 | Central Glass Co Ltd | シートの貼着方法 |
| UA77680C2 (en) * | 2001-07-11 | 2007-01-15 | Solutia Inc | Method for forming composite interlayer suitable for using laminated glass |
| MXPA05001115A (es) * | 2002-07-31 | 2005-04-28 | Du Pont | Hoja de entrecapa de polovinilbutiral con adhesion mejorada a vidrio y proceso para preparar la misma. |
| JP2005187271A (ja) * | 2003-12-26 | 2005-07-14 | Central Glass Co Ltd | シートの貼着方法 |
| EP1698600B1 (en) * | 2003-12-26 | 2020-04-22 | Sekisui Chemical Co., Ltd. | Intermediate film for laminated glass and laminated glass |
| US20060231189A1 (en) * | 2005-04-15 | 2006-10-19 | Solutia, Inc. | Low moisture polymer sheets |
| WO2008050517A1 (fr) * | 2006-10-23 | 2008-05-02 | Denki Kagaku Kogyo Kabushiki Kaisha | Feuille d'acetal de polyvinyle et son procede de production |
| JP2008156135A (ja) * | 2006-12-21 | 2008-07-10 | Nippon Sheet Glass Co Ltd | 合わせガラスの製造方法 |
| DE102008028353A1 (de) * | 2008-06-13 | 2009-12-17 | Dr. Ing. H.C. F. Porsche Aktiengesellschaft | Fahrzeugsitz |
| CN102089254B (zh) * | 2008-07-16 | 2016-11-02 | 积水化学工业株式会社 | 夹层玻璃用中间膜 |
| GB0817654D0 (en) * | 2008-09-26 | 2008-11-05 | Pilkington Automotive Deutschland Gmbh | Laminated glazing |
| JP4789025B2 (ja) * | 2009-12-25 | 2011-10-05 | 積水化学工業株式会社 | 合わせガラス用中間膜及び合わせガラス |
| US8734937B2 (en) * | 2009-12-28 | 2014-05-27 | Sekisui Chemical Co., Ltd. | Interlayer for laminated glass, and laminated glass |
| CN104944806A (zh) * | 2010-09-01 | 2015-09-30 | 积水化学工业株式会社 | 夹层玻璃用中间膜及夹层玻璃 |
-
2011
- 2011-09-01 CN CN201510275986.8A patent/CN104944806A/zh active Pending
- 2011-09-01 EP EP15165549.5A patent/EP2918563B1/en active Active
- 2011-09-01 WO PCT/JP2011/069928 patent/WO2012029916A1/ja not_active Ceased
- 2011-09-01 EP EP11821931.0A patent/EP2612843B1/en active Active
- 2011-09-01 JP JP2011544726A patent/JP4938913B2/ja active Active
- 2011-09-01 US US13/817,970 patent/US20130149503A1/en not_active Abandoned
- 2011-09-01 CN CN201180042296.8A patent/CN103080037B/zh active Active
-
2012
- 2012-02-17 JP JP2012032680A patent/JP5743921B2/ja not_active Ceased
-
2015
- 2015-04-28 JP JP2015091279A patent/JP2015180593A/ja active Pending
Patent Citations (4)
| Publication number | Priority date | Publication date | Assignee | Title |
|---|---|---|---|---|
| JP2000191348A (ja) * | 1998-12-25 | 2000-07-11 | Sekisui Chem Co Ltd | 合わせガラス用中間膜及び合わせガラス |
| JP2008532917A (ja) * | 2005-03-17 | 2008-08-21 | ソリユテイア・インコーポレイテツド | 音響を低減させる楔形ポリマー中間層 |
| WO2007132777A1 (ja) * | 2006-05-12 | 2007-11-22 | Sekisui Chemical Co., Ltd. | 合わせガラス用中間膜及び合わせガラス |
| JP2008201667A (ja) * | 2007-01-24 | 2008-09-04 | Asahi Glass Co Ltd | 車両用合わせガラス |
Cited By (30)
| Publication number | Priority date | Publication date | Assignee | Title |
|---|---|---|---|---|
| JP2015180593A (ja) * | 2010-09-01 | 2015-10-15 | 積水化学工業株式会社 | 合わせガラス用中間膜及び合わせガラス |
| KR20180061175A (ko) * | 2015-09-28 | 2018-06-07 | 세키스이가가쿠 고교가부시키가이샤 | 접합 유리용 중간막 및 접합 유리 |
| US10596784B2 (en) | 2015-09-28 | 2020-03-24 | Sekisui Chemical Co., Ltd. | Interlayer for laminated glass and laminated glass |
| WO2017057334A1 (ja) * | 2015-09-28 | 2017-04-06 | 積水化学工業株式会社 | 合わせガラス用中間膜及び合わせガラス |
| JPWO2017057334A1 (ja) * | 2015-09-28 | 2017-10-05 | 積水化学工業株式会社 | 合わせガラス用中間膜及び合わせガラス |
| KR102609898B1 (ko) * | 2015-09-28 | 2023-12-06 | 세키스이가가쿠 고교가부시키가이샤 | 접합 유리용 중간막 및 접합 유리 |
| KR20180061188A (ko) * | 2015-09-30 | 2018-06-07 | 세키스이가가쿠 고교가부시키가이샤 | 접합 유리용 중간막 및 접합 유리 |
| JP2021143122A (ja) * | 2015-09-30 | 2021-09-24 | 積水化学工業株式会社 | 合わせガラス用中間膜及び合わせガラス |
| JPWO2017057497A1 (ja) * | 2015-09-30 | 2017-11-02 | 積水化学工業株式会社 | 合わせガラス用中間膜及び合わせガラス |
| JP7104216B2 (ja) | 2015-09-30 | 2022-07-20 | 積水化学工業株式会社 | 合わせガラス用中間膜及び合わせガラス |
| JP2018199615A (ja) * | 2015-09-30 | 2018-12-20 | 積水化学工業株式会社 | 合わせガラス用中間膜及び合わせガラス |
| KR101935215B1 (ko) * | 2015-09-30 | 2019-01-03 | 세키스이가가쿠 고교가부시키가이샤 | 접합 유리용 중간막 및 접합 유리 |
| JP7193260B2 (ja) | 2015-09-30 | 2022-12-20 | 積水化学工業株式会社 | 合わせガラス用中間膜及び合わせガラス |
| RU2715505C1 (ru) * | 2015-09-30 | 2020-02-28 | Секисуй Кемикал Ко., Лтд. | Межслойная пленка для ламинированного стекла и ламинированное стекло |
| RU2715575C1 (ru) * | 2015-09-30 | 2020-03-02 | Секисуй Кемикал Ко., Лтд. | Межслойная пленка для ламинированного стекла и ламинированное стекло |
| WO2017057497A1 (ja) * | 2015-09-30 | 2017-04-06 | 積水化学工業株式会社 | 合わせガラス用中間膜及び合わせガラス |
| US10913244B2 (en) | 2015-09-30 | 2021-02-09 | Sekisui Chemical Co., Ltd. | Interlayer for laminated glass and laminated glass |
| JP2017214276A (ja) * | 2015-12-18 | 2017-12-07 | 積水化学工業株式会社 | 合わせガラス用中間膜、ロール体及び合わせガラス |
| US11186068B2 (en) | 2015-12-18 | 2021-11-30 | Sekisui Chemical Co., Ltd. | Interlayer for laminated glass, roll body, and laminated glass |
| KR102341992B1 (ko) * | 2016-03-30 | 2021-12-22 | 세키스이가가쿠 고교가부시키가이샤 | 접합 유리용 중간막 및 접합 유리 |
| JPWO2017170727A1 (ja) * | 2016-03-30 | 2019-02-14 | 積水化学工業株式会社 | 合わせガラス用中間膜及び合わせガラス |
| JP2022003009A (ja) * | 2016-03-30 | 2022-01-11 | 積水化学工業株式会社 | 合わせガラス用中間膜及び合わせガラス |
| US11298919B2 (en) | 2016-03-30 | 2022-04-12 | Sekisui Chemical Co., Ltd. | Interlayer for laminated glass, and laminated glass |
| KR20180130492A (ko) * | 2016-03-30 | 2018-12-07 | 세키스이가가쿠 고교가부시키가이샤 | 접합 유리용 중간막 및 접합 유리 |
| WO2017170727A1 (ja) * | 2016-03-30 | 2017-10-05 | 積水化学工業株式会社 | 合わせガラス用中間膜及び合わせガラス |
| JP2017178676A (ja) * | 2016-03-30 | 2017-10-05 | 積水化学工業株式会社 | 合わせガラス用中間膜、合わせガラス及び合わせガラス用中間膜の製造方法 |
| JP2022060240A (ja) * | 2016-10-12 | 2022-04-14 | 積水化学工業株式会社 | 合わせガラス用中間膜及び合わせガラス |
| JP7269390B2 (ja) | 2016-10-12 | 2023-05-08 | 積水化学工業株式会社 | 合わせガラス用中間膜及び合わせガラス |
| JPWO2018181418A1 (ja) * | 2017-03-28 | 2019-04-11 | 積水化学工業株式会社 | 合わせガラス用中間膜、ロール体及び合わせガラス |
| US11642872B2 (en) | 2017-03-28 | 2023-05-09 | Sekisui Chemical Co., Ltd. | Intermediate film for laminated glass, roll body, and laminated glass |
Also Published As
| Publication number | Publication date |
|---|---|
| EP2612843A1 (en) | 2013-07-10 |
| CN103080037A (zh) | 2013-05-01 |
| JP5743921B2 (ja) | 2015-07-01 |
| EP2612843A4 (en) | 2014-03-05 |
| JP2015180593A (ja) | 2015-10-15 |
| JP4938913B2 (ja) | 2012-05-23 |
| US20130149503A1 (en) | 2013-06-13 |
| EP2918563B1 (en) | 2017-12-13 |
| CN104944806A (zh) | 2015-09-30 |
| EP2612843B1 (en) | 2015-07-08 |
| CN103080037B (zh) | 2015-07-01 |
| JPWO2012029916A1 (ja) | 2013-10-31 |
| WO2012029916A1 (ja) | 2012-03-08 |
| EP2918563A1 (en) | 2015-09-16 |
Similar Documents
| Publication | Publication Date | Title |
|---|---|---|
| JP4938913B2 (ja) | 合わせガラス用中間膜及び合わせガラス | |
| JP6416337B2 (ja) | 合わせガラス用中間膜及び合わせガラス | |
| JP5286452B1 (ja) | 合わせガラス用中間膜及び合わせガラス | |
| JP6259438B2 (ja) | 合わせガラス用中間膜及び合わせガラス | |
| JP2015038019A (ja) | 合わせガラス用中間膜、合わせガラス用多層中間膜及び合わせガラス | |
| JP5749095B2 (ja) | 合わせガラス用中間膜及び合わせガラス | |
| JP2013001613A (ja) | 合わせガラス用中間膜及び合わせガラス | |
| JP2013006731A (ja) | 合わせガラス用中間膜及び合わせガラス | |
| JP2013006730A (ja) | 合わせガラス用中間膜及び合わせガラス | |
| JP5717522B2 (ja) | 合わせガラス用多層中間膜及び合わせガラス | |
| JP2013001595A (ja) | 合わせガラス用中間膜及び合わせガラス | |
| JP2013006728A (ja) | 合わせガラス用中間膜及び合わせガラス | |
| JP2013001594A (ja) | 合わせガラス用中間膜及び合わせガラス | |
| JP2015129078A (ja) | 合わせガラス用中間膜及び合わせガラス | |
| JP2018108928A (ja) | 合わせガラス用中間膜及び合わせガラス | |
| JP6286007B2 (ja) | 合わせガラス用中間膜及び合わせガラス |
Legal Events
| Date | Code | Title | Description |
|---|---|---|---|
| A521 | Written amendment |
Free format text: JAPANESE INTERMEDIATE CODE: A523 Effective date: 20140310 |
|
| A621 | Written request for application examination |
Free format text: JAPANESE INTERMEDIATE CODE: A621 Effective date: 20140818 |
|
| A977 | Report on retrieval |
Free format text: JAPANESE INTERMEDIATE CODE: A971007 Effective date: 20150312 |
|
| TRDD | Decision of grant or rejection written | ||
| A01 | Written decision to grant a patent or to grant a registration (utility model) |
Free format text: JAPANESE INTERMEDIATE CODE: A01 Effective date: 20150331 |
|
| A61 | First payment of annual fees (during grant procedure) |
Free format text: JAPANESE INTERMEDIATE CODE: A61 Effective date: 20150428 |
|
| RVOP | Cancellation by post-grant opposition |
