JP2012103003A - トルクセンサ - Google Patents

トルクセンサ Download PDF

Info

Publication number
JP2012103003A
JP2012103003A JP2010247387A JP2010247387A JP2012103003A JP 2012103003 A JP2012103003 A JP 2012103003A JP 2010247387 A JP2010247387 A JP 2010247387A JP 2010247387 A JP2010247387 A JP 2010247387A JP 2012103003 A JP2012103003 A JP 2012103003A
Authority
JP
Japan
Prior art keywords
voltage
signal
output
coil
torque detection
Prior art date
Legal status (The legal status is an assumption and is not a legal conclusion. Google has not performed a legal analysis and makes no representation as to the accuracy of the status listed.)
Granted
Application number
JP2010247387A
Other languages
English (en)
Other versions
JP5563956B2 (ja
Inventor
Tadatoshi Goto
忠敏 後藤
Yasuhiro Yuasa
康弘 湯浅
Hiroshi Sakamoto
宏 坂本
Taisuke Goto
太輔 後藤
Current Assignee (The listed assignees may be inaccurate. Google has not performed a legal analysis and makes no representation or warranty as to the accuracy of the list.)
Amitec Corp
Original Assignee
Amitec Corp
Priority date (The priority date is an assumption and is not a legal conclusion. Google has not performed a legal analysis and makes no representation as to the accuracy of the date listed.)
Filing date
Publication date
Application filed by Amitec Corp filed Critical Amitec Corp
Priority to JP2010247387A priority Critical patent/JP5563956B2/ja
Publication of JP2012103003A publication Critical patent/JP2012103003A/ja
Application granted granted Critical
Publication of JP5563956B2 publication Critical patent/JP5563956B2/ja
Active legal-status Critical Current
Anticipated expiration legal-status Critical

Links

Images

Landscapes

  • Power Steering Mechanism (AREA)

Abstract

【課題】簡素な構成でありながら、温度ドリフトの補償性能にも優れ、故障診断機能も具備したトルクセンサを提供する。
【解決手段】所定の励磁用交流信号を直流接続された2つのコイル11、12に印加し、該2つのコイルから生じる1つのコイル出力交流信号を、コイル等の故障若しくは異常に応答する直流電圧によりオフセットすることで、故障情報をコイル出力信号中の直流電圧成分に含める。この直流電圧成分を検出し、故障診断用のオフセット電圧として生成する。また、励磁用交流信号のピークレベルをチェックするために、該ピークレベルに相当する直流電圧をオフセット電圧に含めてよい。コイル検出出力交流電圧成分と基準交流電圧成分との差を求める回路において、求めた差信号を前記オフセット電圧でオフセットした出力を生じる。こうして、故障情報としてのオフセット電圧を含む差信号がトルク検出信号としてトルク測定用の回路に伝送される。
【選択図】図1

Description

この発明は2軸間の相対的回転位置を検出するトルクセンサに関し、例えば自動車のパワーステアリング軸に負荷されるねじり負荷を検出するためのトルクセンサとしての用途に適したものである。
トーションバーを介して連結された入力軸及び出力軸に発生するトルクを、該入力軸及び出力軸間のねじれ量(相対回転位置)として検出するトルクセンサが公知である。例えば、下記特許文献1では、円周方向に複数の開口窓を2列で設けたアルミニウム製の円筒体をそれぞれ入力軸及び出力軸に取り付け、両円筒体における2列の開口窓列が互いに重なり合うように配置し、各開口窓列に対応して検出コイルをそれぞれ配置し、ねじれ量(相対回転位置)に応じた各列における開口窓の重なりの変化を検出コイルで検出するようにしている。しかし、特許文献1のトルクセンサは、コイルを含むセンサ構成部品の温度ドリフト特性補償対策が不十分であるため、検出精度を出しにくく、また、検出出力信号のダイナミックレンジを大きくとることもできず、更に、センサ構成部品の故障時の対策も不十分であった。
下記特許文献2においては、トルクセンサにおいて温度補償用抵抗(サーミスタ等)を検出コイルに直列に設けることで検出コイルの温度ドリフト特性補償を行うようにしたことが示されている。また、検出コイルの出力交流電圧と励磁用交流電圧の位相を合わせた上でその差を差動増幅回路で求め、その差電圧をピーク位置でサンプルホールドすることにより、検出したトルクに応じたアナログ直流電圧を得るようにしたことが示されている。しかし、これでも検出出力信号のダイナミックレンジを十分に大きくとることができず、限界があった。例えば、差動増幅回路の増幅率を上げることで見掛け上ダイナミックレンジを大きくしようとした場合、S/N比が問題となるので好ましくない。また、サンプルホールド制御用のサンプリングパルスを生成するためのサンプリングパルス発生回路は励磁用交流電圧をアナログ処理するように構成されているので、そのアナログ回路部分で温度ドリフト特性を持ってしまい、検出精度に悪影響を与えるおそれがあった。
一方、下記特許文献3〜5においては、故障診断機能を備えたトルクセンサが示されている。これらの従来技術においては、検出コイルの出力交流信号の位相あるいはその直流成分のいずれか一方から、断線、半断線等の故障、異常等を検出するようにしている。しかし、検出コイルの出力交流信号の位相及びその直流成分の両方を考慮した総合的な故障診断機能を簡便な構成で具備することが望まれている。
しかし、従来技術においては、各種のタイプの故障診断が個別の診断用回路を用いて行われていたため、極端な場合は、個々のタイプの故障検知信号別に、個別の配線を介して診断結果を中央の制御装置(例えば自動車におけるECU)に通知しなければならず、配線数が増してしまう。例えば、検出コイルの出力交流信号の直流成分を考慮した故障診断にあっては、従来技術では、出力交流信号をローパスフィルタすることでその直流電圧成分を取り出し、取り出した直流電圧成分を評価するようにしていた。そのため、センサ部から中央の制御装置に対する出力ラインとして、出力交流信号ラインとは別に、ローパスフィルタから出力した直流電圧成分のラインを設ける必要があり、伝送線の配線数が増す、という問題があった。
特開平8−114518号 特許第3588684号 特許第3589053号 特許第3649057号 特許第4043116号
この発明は上述の点に鑑みてなされたもので、簡素な構成でありながら、温度ドリフトの補償性能にも優れ、故障診断機能も具備したトルクセンサを提供しようとするものである。また、直流電圧成分に基づき精度のよい故障診断を行えるトルクセンサを提供しようとするものであり、特に、直流電圧成分に基づく故障診断情報あるいは励磁信号振幅異常に基づく故障診断情報を少ない伝送線数で実現できるトルクセンサを提供しようとするものである。更に、検出出力信号のダイナミックレンジを大きくとれるように構成することで検出精度を向上させた、トルクセンサを提供しようとするものである。
本発明に係るトルクセンサは、トーションバーを介して連結された第1及び第2の回転軸に発生するトルクを検出するトルクセンサであって、直列接続された2つのコイル、前記第1の回転軸に連結された第1の磁気応答部材、前記第2の回転軸に連結された第2の磁気応答部材を含み、前記第1及び第2の回転軸の相対的回転位置に応答してインピーダンス変化を該コイルに生じさせるように前記第1及び第2の磁気応答部材を構成したセンサ部と、ここで、該センサ部は前記直列接続された2つのコイルから1つのコイル出力交流信号を生じるものであり、所定の励磁用交流信号を前記コイルに印加するコイル駆動回路と、前記コイル出力交流信号に含まれる検出出力交流電圧成分と前記励磁用交流信号に基づく基準交流電圧成分との差を求める第1回路と、前記コイル出力交流信号に含まれる検出出力交流電圧成分と前記励磁用交流信号に基づく基準交流電圧成分との差を、前記第1回路における差演算とは逆極性で、求める第2回路と、前記コイル出力交流信号に含まれる直流電圧成分及び前記励磁用交流信号のピーク振幅値に相当する直流電圧の少なくとも一方に対応する電圧を、故障診断用のオフセット電圧として生成するオフセット電圧生成回路と、前記第1回路の出力を第1の直流電圧でオフセットしてメイントルク検出信号を出力し、前記第2回路の出力を第2の直流電圧でオフセットしてサブトルク検出信号を出力する第1及び第2の増幅回路と、ここで、前記第1の直流電圧及び第2の直流電圧の少なくとも一方が前記オフセット電圧生成回路から生成された前記オフセット電圧であり、前記メイントルク検出信号又はサブトルク検出信号に含まれる交流成分の振れ幅を検出することにより、前記コイルの前記インピーダンス変化に応答する検出データをトルク検出データとして取得するトルク検出部と、前記オフセット電圧でオフセットされた前記メイントルク検出信号又はサブトルク検出信号に関して、該信号中の交流成分の振れの中心に相当する電圧を前記オフセット電圧として抽出するオフセット電圧抽出部と、前記抽出したオフセット電圧に基づいて、前記コイル出力交流信号に含まれる直流電圧成分及び前記励磁用交流信号のピーク振幅値に相当する直流電圧の少なくとも一方に関する故障の有無を判定する故障診断部とを具備することを特徴とする。
本発明によれば、所定の励磁用交流信号を直列接続された2つのコイルに印加し、該直列接続された2つのコイルから生じる1つのコイル出力交流信号を、コイルの断線、半断線等の故障若しくは異常等に応答する直流電圧(オフセット電圧)によりオフセットして、トルク検出信号(メイントルク検出信号又はサブトルク検出信号)として出力する。例えば、コイルの断線、半断線等の故障がなければ、コイル出力交流信号中の直流電圧成分は変動が生じないが、断線、半断線等の故障が起きた場合は、それに応じてコイル出力交流信号中の直流電圧成分は変動する。オフセット電圧生成回路において、そのようなコイルの出力に含まれる直流電圧成分を、故障診断用のオフセット電圧として生成することで、該オフセット電圧によってコイルの断線、半断線等の故障を知らせることができる。一方、励磁用交流信号のレベル(ピーク振幅値)の変動をチェックすることも、故障診断にとっては重要である。従って、オフセット電圧生成回路において、励磁用交流信号のピーク振幅値に相当する直流電圧を、故障診断用のオフセット電圧に含めて生成することで、該オフセット電圧によって励磁用交流信号のレベル(ピーク振幅値)の変動として顕在化する故障を知らせることができる。
一方、コイル出力交流信号に含まれる検出出力交流電圧成分と励磁用交流信号に基づく基準交流電圧成分との差を求めることで、トルク検出信号のダイナミックレンジを拡張することは既に公知である。本発明においても、そのように有利な第1回路及び第2回路を使用して、メインとサブそれぞれのトルク検出信号を得るようにしている。その場合において、本発明が特徴とするところは、上記のように生成した故障診断用のオフセット電圧を、第1回路及び第2回路で求めた検出出力交流電圧成分と基準交流電圧成分との差信号に組み込む、つまり、該差信号をオフセット電圧でオフセットした点にある。こうして得られる差信号(メイントルク検出信号及びサブトルク検出信号の一方)は1つの信号でありながら、交流成分の振幅レベル(ピーク振幅値)成分において検出対象たるトルクを示す情報を含んでおり、かつ、オフセット電圧成分において上述した故障情報を含んでいる。
かくして、本発明によれば、第1又は第2回路から出力される1つの差信号(メイントルク検出信号及びサブトルク検出信号の一方)の中に、トルク検出情報と、直流成分の変動として顕在化する故障情報とを含ませることができる。従って、トルク検出情報と故障情報を含むトルク検出信号を伝送できることになり、極めて簡素化された配線構成からなるものでありながら、高度の故障診断機能を持つトルクセンサを提供することができる、という優れた効果を奏する。しかも、上述のように、第1又は第2回路はダイナミックレンジを拡張したトルク検出信号を提供するので、検出精度を向上させたトルクセンサを提供することができる。かつ、直列接続された2つのコイルから1つのコイル出力交流信号を生じさせる(2つのコイルの中点からコイル出力交流信号を出力する)ことで、温度ドリフト補償したコイル出力信号を生成することができ、これによっても、検出精度を向上させたトルクセンサを提供することができる。
本発明に係るトルクセンサの一実施例を示す回路図。
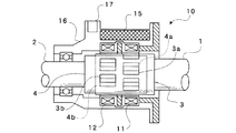
図1におけるセンサ部の機構の一例を示す一部断面側面図。
トルク検出処理及び故障診断処理の動作例を説明するためのタイムチャート。
図1におけるマイクロコンピュータが実行するトルク検出処理の一例を示すフローチャート。
第1(メイン)及び第2(サブ)のトルク検出データの値と検出トルク(相対回転位置)との間の相関関係の一例を示すグラフ。
図1におけるマイクロコンピュータが実行するオフセット電圧抽出処理の一例を示すフローチャート。
図1におけるマイクロコンピュータが実行する故障診断処理の一例を示すフローチャート。
以下、添付図面を参照してこの発明の実施の形態を詳細に説明する。
図1は、本発明に係るトルクセンサの一実施例を示す回路図である。トルクセンサは、センサ部10と、該センサ部10に近接配置された第1回路部20と、これらのセンサ部10及び第1回路部20から離隔して配置される第2回路部30とで構成される。
図2は、センサ部10の機構の一例を示す一部断面側面図である。この実施例に係るトルクセンサは、自動車のステアリングシャフトのトーションバーに負荷されるねじれトルクを検出する。公知のように、ステアリングシャフトにおいては入力軸(第1の回転軸)1と出力軸(第2の回転軸)2とがトーションバー(図示せず)を介して連結されている。入力軸1及び出力軸2はトーションバーによるねじれ変形の許す限りの限られた角度範囲(例えば最大でも+6度〜−6度程度の範囲)で相対的に回転しうる。センサ部10は、トーションバーの周囲に設置される。センサ部10は、第1のコイル11、第2のコイル12、入力軸(第1の回転軸)1に連結された第1の磁気応答部材3、出力軸(第2の回転軸)2に連結された第2の磁気応答部材4を含む。第1及び第2の磁気応答部材3,4は、例えば、円筒形状を成した良導電性かつ非磁性(反磁性)の材質(例えば、アルミニウムあるいは銅など)からなり、それぞれ、円周方向に沿って所定ピッチ(角度)で複数の開口窓3a,3b,4a,4bを2列備えている。
図示のよう組み立てられた状態において、第1の磁気応答部材3の円筒と第2の磁気応答部材4の円筒とが重なり合い、該円筒の重なり合いの内側にトーションバー(図示せず)が位置する。第1の磁気応答部材3の開口窓3aの列と第2の磁気応答部材4の開口窓4aの列とが重複し、その周りに第1のコイル11が配置される。また、第1の磁気応答部材3の開口窓3bの列と第2の磁気応答部材4の開口窓4bの列とが重複し、その周りに第2のコイル12が配置される。第1の磁気応答部材3の円筒と第2の磁気応答部材4の円筒との相対的回転位置つまりトーションバーのねじれ角に応じて、各列における開口窓3a,4a,3b,4bの重なり具合が変化する。開口窓3aと4a(又は3bと4b)が全く重なっていない状態では、コイル11(又は12)の内周はすべて磁気応答部材3(又は4)の円筒材質で覆われ、渦電流損失が最大となり、該コイル11(又は12)のインダクタンス(インピーダンス)は最小となる。逆に、開口窓3aと4a(又は3bと4b)が完全に重なっている状態では、コイル11(又は12)の内周を覆う磁気応答部材3(又は4)の円筒材質の面積は最小となるので渦電流損失が最小となり、かつ、該重なった開口の空間を介して内側のトーションバー(磁性体)に対する磁気結合が最大となるので、該コイル11(又は12)のインダクタンス(インピーダンス)は最大となる。
一方、各列における開口窓3a,4a,3b,4bの重なり具合の変化は互いに逆特性となるように、開口窓の配置を適切にずらして設定している。例えば、第1の磁気応答部材3においては、開口窓3aの列(第1の列)と、開口窓3bの列(第2の列)とは、開口窓の繰り返しサイクルに関して、丁度の1/2サイクルの位相ずれを持つように開口窓列を形成(配置)する。その場合、第2の磁気応答部材4においては、開口窓4aの列(第1の列)と、開口窓4bの列(第2の列)とは、開口窓の繰り返しサイクルに関して、丁度、同相となるように開口窓列を形成(配置)する。また、トーションバーのねじれ角が0の状態において、図示例のように、第1の列における開口窓3a,4aの重なり具合は丁度半分となり、第2の列における開口窓3b,4bの重なり具合も丁度半分となるように、各開口窓列を形成(配置)する。ねじれ角が0の状態から、時計方向にねじれ角が生じると、例えば、第1の列における開口窓3a,4aの重なり具合が増大してそれに対応する第1のコイル11のインダクタンス(インピーダンス)が増加するのに対して、第2の列における開口窓3b,4bの重なり具合が減少してそれに対応する第2のコイル12のインダクタンス(インピーダンス)が減少する。また、ねじれ角が0の状態から、反時計方向にねじれ角が生じると、第1の列における開口窓3a,4aの重なり具合が減少してそれに対応する第1のコイル11のインダクタンス(インピーダンス)が減少するのに対して、第2の列における開口窓3b,4bの重なり具合が増加してそれに対応する第2のコイル12のインダクタンス(インピーダンス)が増加する。
このように、センサ部10においては、入出力軸(第1及び第2の回転軸)1,2の相対的回転位置に応答して互いに逆特性のインピーダンス変化を該第1及び第2のコイル11,12に生じさせるように、第1及び第2の磁気応答部材3,4を構成しかつ該第1及び第2のコイル11,12を配置している。なお、このようなセンサ部10の構成それ自体は、特開平8−114518号その他で公知である。よって、センサ部10の具体的構成は、図示の例に限らず、検出すべきトルク(ねじれ角)に対して逆特性の2つの出力を生じさせることのできる構成であれば、どのような構成であってもよい。
図1に戻り、センサ部10内において、前記第1のコイル11と第2のコイル12とは直列接続されており、第1のコイル11と第2のコイル12との接続点S(中点)からコイル出力交流電圧を取り出すようになっている。また、第1のコイル11と第2のコイル12とは近接して配置されて互いが同じ温度環境におかれるため、コイル11,12それぞれで生じうる温度ドリフトによるインピーダンス変化特性は同じとなる。直列接続されたコイル11,12のインピーダンスの分圧比に応じて取り出されるコイル出力交流電圧においては、分圧比の分子と分母に温度ドリフトによるインピーダンス変化分がそれぞれ含まれるので該温度ドリフトによるインピーダンス変化分が相殺又は除去されることになる。このように、センサ部10は簡単な構成であるにも関わらず、コイル11,12の温度ドリフト特性を補償するのに都合がよいものとなっている。図2において、第1回路部20内の各回路を搭載した回路基板がセンサ部10のケーシング16内の基板収納スペース15内に収納され、合成樹脂によってモールドされている。センサ部10と検出回路部20との間を接続する電気配線を着脱するために、センサ部10のケーシング16にはコネクタ17が設けられている。
ケーシング16の側(センサ部10及び第1回路部20の側)と第2回路部30との間を接続する伝送線(電気配線)は、コイル励磁用交流信号供給ライン18a、メイン検出出力ライン18b、サブ検出出力ライン18c、直流電源ライン18d、アースライン18eからなる。
第2回路部30は、自動車のECU(電子制御装置)に相当し、ECUのプリント回路基板上に搭載されたマイクロコンピュータ31と周辺回路素子とを含んでいる。マイクロコンピュータ31は、内部クロックに基づき所定の交流周波数の信号波形Aをデジタル的に発生するように構成されている。一例として、マイクロコンピュータ31が持つクロック発生機能を使用して、センサ部10のコイル11、12を励磁するための交流信号の所望周波数に等しいクロック信号(例えばデューティ比50%)を信号波形Aとして発生し、出力ポートから出力する。クロック信号波形Aはオープンコレクタ出力回路32及びコイル励磁用交流信号供給ライン18aを介して第1回路部20内の疑似SIN波生成回路22に供給される。疑似SIN波生成回路22は、供給されたクロック信号波形Aに基づき、所定の直流電圧が加算された疑似SIN波励磁用交流信号Bを生成する。疑似SIN波生成回路22は、矩形波を疑似SIN波に変換するアナログ回路と電圧加算回路とで構成することができる。なお、励磁用交流信号を生成するための回路22としては、疑似SIN波生成回路に限らず、三角波状の交流信号を生成するもの、あるいはより精密なSIN波を生成するものなど、如何なる構成のものであってもよい。
なお、マイクロコンピュータ31は、自動車におけるECU内に搭載されている既存のマイクロコンピュータを使用する形態に限らず、本発明に係るトルクセンサのために専用のものを用意してもよい。勿論、マイクロコンピュータ31に代えて、本発明を実施するために必要な制御・演算性能と同等の機能を達成するように構成した専用デジタル回路(クロック発生器、論理回路、計算回路、メモリ等を含むディスクリート回路若しくはICあるいはDSPなど)を用いてもよい。マイクロコンピュータ及び専用デジタル回路を総称してデジタル処理装置という。
交流信号生成回路22で生成した励磁用交流信号Bはコイル駆動回路21に供給される。コイル駆動回路21は、直流バイアスされているコイル励磁用交流信号をコイル11、12の直列回路に印加する。基準電圧発生回路23は、第2回路部30から直流電源ライン18dを介して供給される所定の直流電圧に基づいて、第1回路部20内において所定の交流電圧を直流バイアスするための任意の電圧値の直流電圧を発生する。
第1のコイル11と第2のコイル12との接続点S(中点)から取り出されたコイル出力交流電圧は、第1の差動増幅回路26(第1の回路に相当)の「+入力」に入力される。第1の基準信号生成回路25はコイル駆動回路21から出力されたコイル励磁用交流信号を入力し、該コイル励磁用交流信号のオフセットレベル(トルク0のときの振幅レベル)を調節し、該オフセットレベル調節された基準交流電圧を出力する。第1の基準信号生成回路25から出力された基準交流電圧は、第1の差動増幅回路26の「-入力」に入力される。第1の差動増幅回路26では、コイル出力交流電圧(+入力)とコイル励磁用交流信号に基づく基準交流電圧(−入力)との差信号を求める。このように差動増幅演算を行う理由は、コイル出力交流電圧から検出トルクに起因する成分を抽出し、トルク検出のダイナミックレンジを大きくとる(感度を上げる)ことができるようにするためである。第1の差動増幅回路26から出力されるトルク検出信号(交流信号)はコンデンサC1を介して第1の増幅回路27に入力され、基準電圧発生回路23から与えられる所定の基準直流電圧Vref(オフセット電圧OF1)と加算されることで、直流バイアスされ、正電圧側にオフセットされる。すなわち、第1の差動増幅回路26から出力される差信号は、オフセット電圧OF1の加算(オフセット)によって、正電圧の領域でのみ振動するものとなる。第1の増幅回路27から出力される直流バイアスされたトルク検出信号(交流信号)は、メイントルク検出信号Cとしてメイン検出出力ライン18bを介して第2回路部30に伝送され、マイクロコンピュータ31のA/Dポート(アナログ/デジタル変換入力ポート)#1に入力される。これにより、トルク検出値のサンプリングを行う際に、正の値でのみトルク検出値のサンプリング値が得られるようにすることを可能にする。
また、第1のコイル11と第2のコイル12との接続点S(中点)から取り出されたコイル出力交流電圧は、第2の差動増幅回路26´の「−入力」にも入力される。第2の基準信号生成回路25´はコイル駆動回路21から出力されたコイル励磁用交流信号を入力し、該コイル励磁用交流信号のオフセットレベル(トルク0のときの振幅レベル)を調節し、該オフセットレベル調節された基準交流電圧を出力する。第2の基準信号生成回路25´から出力された基準交流電圧は、第2の差動増幅回路26´(第2の回路に相当)の「+入力」に入力される。第2の差動増幅回路26´では、コイル出力交流電圧(−入力)とコイル励磁用交流信号に基づく基準交流電圧(+入力)との差信号を求める。第2の差動増幅回路26´から出力されるトルク検出信号(交流信号)はコンデンサC2を介して第2の増幅回路27´に入力され、直流電圧(オフセット電圧OF2)と加算されることで、直流バイアスされる。
コイル直流抵抗検出回路28は、第1のコイル11と第2のコイル12との接続点S(中点)から取り出されたコイル出力交流電圧に含まれる直流電圧成分を抽出する。ここで抽出される直流電圧成分は、コイル11又は12に断線、半断線等の故障がなければ、コイル駆動回路21によりバイアスされた所定の直流電圧に対応するものとなり、変動が生じないが、断線、半断線等の故障が起きた場合は、それに応じて変動したレベルを持つものとなる。すなわち、コイル11又は12に関する断線、半断線等に関する故障情報を含んでいる。
励磁信号振幅検出&加算回路29は、コイル駆動回路21から出力されたコイル励磁用交流信号の交流成分のみを整流し、該励磁用交流信号のピーク振幅値に相当する直流電圧を抽出する。ここで抽出される直流電圧は、励磁用交流信号に異常がなければ所定レベルを維持しているが、励磁用交流信号供給ライン18aのコネクタの外れや接触不良、断線、半断線など、なんらかの異常があれば、それに応じて変動したレベルを持つものとなる。すなわち、励磁用交流信号の供給系統に関する故障情報を含んでいる。
そして、励磁信号振幅検出&加算回路29は、コイル直流抵抗検出回路28によって抽出したコイル出力交流電圧に含まれる直流電圧成分と、コイル励磁用交流信号の交流成分のみを整流して抽出した直流電圧とを加算した直流電圧(オフセット電圧OF2)を生成する。これにより、オフセット電圧OF2は、コイル11又は12に関する断線、半断線等に関する故障情報と励磁用交流信号の供給系統に関する故障情報の両方を含むものとなる。ただし、こうした故障が生じていない場合、オフセット電圧OF2は基準電圧発生回路23から第1の増幅回路27に対して与えられる所定の基準直流電圧Vref(オフセット電圧OF1)と同じ電圧値となるように調節される。これらのコイル直流抵抗検出回路28,励磁信号振幅検出&加算回路29は、オフセット電圧生成回路に該当する。
第2の増幅回路27´では、前記オフセット電圧OF2を前記差信号に加算し、該差信号をオフセット電圧OF2によって正側にオフセットする。すなわち、第2の差動増幅回路26´から出力される差信号は、オフセット電圧OF2の加算(オフセット)によって、正電圧の領域でのみ振動するものとなり、かつ、該オフセット電圧OF2が持つ上記故障情報を含むものとなる。第2の増幅回路27´から出力される直流バイアスされたトルク検出信号(交流信号)は、サブトルク検出信号としてサブ検出出力ライン18cを介して第2回路部30に伝送され、マイクロコンピュータ31のA/Dポート(アナログ/デジタル変換入力ポート)#2に入力される。これによって、1本のサブ検出出力ライン18cで伝送されるサブトルク検出信号D中に、トルク検出情報と故障情報を含ませることができる。なお、メイントルク検出信号Cを求めるための第1の差動増幅回路26と、サブトルク検出信号Dを求めるための第2の差動増幅回路26´との間では、その+入力及び−入力に入力されるコイル出力交流電圧と基準交流電圧の関係が逆(逆極性)になっているので、検出対象トルクに対するメイントルク検出信号Cとサブトルク検出信号Dの特性が互いに逆特性となるようにされている。例えば、トルクの漸次増大に伴って、メイントルク検出信号Cのトルク検出値が漸次増大するとすると、サブトルク検出信号Dのトルク検出値は漸次減少するような関係(逆特性)となるようにされている。
なお、第1又は第2の基準信号生成回路25,25´及び第1又は第2の増幅回路27,27´に付属して設けられている可変抵抗器として、デジタルポテンショ(デジタル制御可能な可変抵抗器)が用いられており、デジタルポテンショ通信インターフェース24を介して、マイクロコンピュータ31からの制御に従いこれらの抵抗値が可変調整されるようになっており、これにより、第1又は第2の基準信号生成回路25,25´に対するコイル励磁用交流信号のオフセットレベル(トルク0のときの振幅レベル)調整及び第1又は第2の増幅回路27,27´に対するゲイン調節を行うことができる。
図3はトルク検出処理及び故障診断処理の動作例を説明するためのタイムチャートであり、横軸が時間軸である。図3において、Aはマイクロコンピュータ31が発生する所定の交流周波数の信号波形(クロック信号)Aを示し、Bは該信号波形Aに応じて疑似SIN波生成回路22が発生する励磁用交流信号Bを示し、疑似SIN波からなり、所定の直流電圧が加算されている。
CKsは、マイクロコンピュータ31内で発生されるサンプリングクロックを示し、クロック信号Aと同一周期であって、クロック信号Aの立ち上がり時から時間Ts経過した時に発生される。図中、時間Tgは、励磁用交流信号Bの疑似SIN波における最小値から最大値までの時間を示し、通常、クロック信号Aの半周期の時間である。また、サンプリングクロックCKmは、クロック信号Aと同一周期であって、サンプリングクロックCKsの発生タイミングから時間Tg後に発生される。すなわち、サンプリングクロックCKsとCKmは、半周期の位相ずれを持つ2相クロックである。
図3において、Cは、第1の増幅回路27からメイン検出出力ライン18bを経てマイクロコンピュータ31のA/Dポート#1に入力されるメイントルク検出信号Cの一例を示す。Dは、第2の増幅回路27´からサブ検出出力ライン18cを経てマイクロコンピュータ31のA/Dポート#2に入力されるサブトルク検出信号Dの一例を示す。なお、サンプリングクロックCKsは、クロック信号Aと同一周期に限らず、クロック信号Aの2倍周期等であってもよく、要するに整数倍の周期であればよい。
概して、検出したトルクに対応するコイルのインピーダンスを検出するためには、その出力交流電圧のピーク値のレベルを検出する。一方、特定の位相タイミングでサンプリングを行う場合は、必ずしも、ピーク値のタイミングでサンプリングを行わなくてもインピーダンス検出は可能であり、要は、常に同じ位相タイミングでサンプリングを行えばよい。例えば、サンプリングクロックCKsは、コイル出力交流電圧のピーク値の近傍に対応して前記差信号をサンプリングするように、サンプリングタイミングを設定している。
サンプリングクロックCKsは、検出出力交流電圧C,Dの正のピークの近傍で発生し、該検出出力交流電圧C,Dの正(上)のピークの近傍の値をサンプリングするために使用される。サンプリングクロックCKmは、前記検出出力交流電圧C,Dの負のピークの近傍で発生し、該検出出力交流電圧C,Dの負(下)のピークの近傍の値をサンプリングするために使用される。
図4は、マイクロコンピュータ31が実行するトルク検出処理の一例を示す。ステップS1では、上サンプリングクロックCKsの発生タイミングかを判定する。上サンプリングクロックCKsのタイミングであれば、ステップS2では、A/Dポート#1,#2からの前記各トルク検出信号C,Dのデジタルデータをサンプリングし、サンプリングした各データを上ピークのホールド値U1,U2として所定のレジスタ内にホールドする。次に、ステップS3では、下サンプリングクロックCKmの発生タイミングかを判定する。下サンプリングクロックCKmのタイミングであれば、ステップS4では、A/Dポート#1,#2からの前記各トルク検出信号C,Dのデジタルデータをサンプリングし、サンプリングした各データを下ピークのホールド値D1,D2として所定のレジスタ内にホールドする。ステップS5では、それぞれ、第1のコイル11に関する上ピークのホールド値U1と下ピークのホールド値D1の差U1−D1と、第2のコイル12に関する上ピークのホールド値U2と下ピークのホールド値D2の差U2−D2を演算し、メイントルク検出信号Cに関する第1(メイン)のトルク検出データTDD1とサブトルク検出信号Dに関する第2(サブ)のトルク検出データTDD2を得る。次のステップS6では、第1(メイン)のトルク検出データTDD1をトルク検出データとして出力する。第2(サブ)のトルク検出データTDD2は、後述の故障診断に際して利用される。なお、各トルク検出信号C又はDにはオフセット電圧OF1又はOF2が含まれているが、上述のように、上ピークと下ピークの差を演算することによりトルク検出データTDD1又はTDD2を得ているので、オフセット電圧OF1又はOF2が自動的に相殺される。なお、ステップS6において、第2(サブ)のトルク検出データTDD2をトルク検出データとして出力するようにしてもよい。
例えば、図3に示されたCの例では、サンプリングクロックCKsの発生タイミングにおけるメイントルク検出信号Cのデジタル値がL1であり、この値L1が上ピークのホールド値U1としてレジスタ内にホールドされる。また、サンプリングクロックCKmの発生タイミングにおけるメイントルク検出信号Cのデジタル値がL2であり、この値L2が下ピークのホールド値D1としてレジスタ内にホールドされる。そして、上ピークのホールド値U1と下ピークのホールド値D1の差U1−D1は、「L1−L2」であり、これが第1のトルク検出データTDD1としてホールドされ、出力される。
例えば、第1のトルク検出データTDD1のとりうる最小値は、上ピークのホールド値U1のとりうる最小値(例えば略OF1)と下ピークのホールド値D1のとりうる最大値(例えば略OF1)との差であるから略0であり(例えばU1−D1=略OF1−略OF1=0)、一方、トルク検出データTDD1のとりうる最大値は、U1のとりうる最大値とD1のとりうる最小値との差であるから、差Dのとりうる所定の最大値に近いものとなる。従って、ダイナミックレンジが拡大されていることが理解できる。従って、高感度でトルク検出を行うことができる。
なお、図3に示されたDの例では、サンプリングクロックCKsの発生タイミングにおけるサブトルク検出信号Dのデジタル値がL2であり、この値L2が上ピークのホールド値U2としてレジスタ内にホールドされる。また、サンプリングクロックCKmの発生タイミングにおけるサブトルク検出信号Dのデジタル値がL1であり、この値L1が下ピークのホールド値D2としてレジスタ内にホールドされる。そして、上ピークのホールド値U2と下ピークのホールド値D2の差U2−D2は、「L2−L1」であり、これが第2のトルク検出データTDD2としてホールドされ、出力される。
図5は、第1(メイン)及び第2(サブ)のトルク検出データTDD1,TDD2の値と検出トルク(相対回転位置)との間の相関関係の一例を示すグラフである。このように、第1(メイン)のトルク検出データTDD1の関数と第2(サブ)のトルク検出データTDD2の関数とは、検出トルク(相対回転位置)に関して逆特性を示し、正常であれば、両者を加算した値TCは常に略一定値となる。なお、横軸において、「0」の位置はトルク0の位置を示し、その右側の「+」で記した領域は例えば時計方向のねじれに応じた領域を示し、左側の「−」で記した領域は例えば反時計方向のねじれに応じた領域を示す。図5では、トルク検出データTDD1,TDD2の値と検出トルク(相対回転位置)との間の相関関係は、リニア特性を示しているが、これに限らず、非リニア特性であってもよい。
図6は、マイクロコンピュータ31が実行するオフセット電圧抽出処理の一例を示す。ステップS7では、前記ステップS2及びS4でホールドしたデータを用い、交流成分の振れの中心に相当する電圧を抽出するための、
OF2={(U2−D2)/2}+D2
なる式に従い、第2(サブ)のオフセット電圧OF2を抽出する。つまり、第2(サブ)の検出データ(サブトルク検出信号D)の上ピークホールド値U2から下ピークのホールド値D2を引き、それを2で割り、D2を加算することにより、オフセット電圧OF2を抽出する。なお、本実施例においては故障判定処理に当たってオフセット電圧OF2のみを用いているので図6の電圧抽出処理においてはオフセット電圧OF2のみを抽出するようにしているが、オフセット電圧OF1も使用する実施形態を採用する場合は、
OF1={(U1−D1)/2}+D1
なる式に従い、第1(メイン)のオフセット電圧OF1を抽出する処理ステップを追加するようにすればよい。
図7は、マイクロコンピュータ31が実行する故障診断処理の一例を示すものである。ステップS10は、第1(メイン)のトルク検出データTDD1と第2(サブ)のトルク検出データTDD2との加算値TC(=TDD1+TDD2)が所定の正常値の範囲内であるか否かを判定する。前述の通り、正常であれば該加算値TCは常に略一定の正常値を示すので、該ステップS10がNOの場合は、コイルが異常である旨の警報信号を出力する(ステップS15)。
ステップS11〜S14では、上記抽出したオフセット電圧OF2に基づき故障診断を行う。前述の通り、コイル内の断線、半断線(切れかかり)、あるいはショートなどが生じている場合、あるいはコイル接続端子部分での接触不良、接続外れ、接続コネクタの異常、接続ケーブルの異常などが生じている場合などには、サブトルク検出信号D中の直流成分に異常が生じる。このようなサブトルク検出信号D中の直流成分の異常を検出するために、オフセット電圧OF2がトルク検出信号D中に含まれるようになっており、これは図6のルーチンで抽出される。従って、ステップS11〜S14において、抽出したオフセット電圧OF2に基づきこれらの異常検出を容易に行うことができる。
ステップS11では、サブトルク検出信号Dから抽出したオフセット電圧OF2が所定の上限値OFmaxより大きいかを判定する。ステップS12では、オフセット電圧OF2が所定の下限値OFminより小さいかを判定する。オフセット電圧OF2が所定の上限値OFmaxと下限値OFminの範囲内に収まっていれば、サブトルク検出信号Dに含まれる直流成分が異常ではないことを意味する。ステップS11とS12が共にNOであれば、検出用コイル11,12の直流成分に異常がないことを意味する。その場合は、ステップS13でコイル11,12が正常である旨の判定を行う。一方、ステップS11又はS12がYESであれば、検出用コイル11,12の直流成分に異常があることを意味する。その場合は、ステップS14でコイルの直流成分が異常である旨の判定を下し、その旨の警報信号を出力する。
なお、オフセット電圧OF1及びOF2の両方を用いてコイル直流成分に関連する故障判定を行うことも可能である。その場合は、ステップS11〜S14に代えて、例えばOF1=OF2が成立するか否かの判定を行い、YESである場合には正常と判定し、NOである場合には異常であると判定する。すなわち、正常であればOF2がOF1(所定の基準直流電圧Vref)と同じであるはずであるからである。なお、その場合、OF1=OF2が成立するとは、両者の値が完全に一致していることのみを意味するのではなく、所定の許容範囲内で両者の値が略一致している場合をも含む。すなわち、|OF1−OF2|(OF1とOF2の差の絶対値)が所定範囲(許容範囲)内であるときを正常と判定し、所定範囲外であるときを異常と判定するようにしてもよい。
なお、励磁信号振幅検出&加算回路29から出力される、コイル11又は12に関する断線、半断線等に関する故障情報と励磁用交流信号の供給系統に関する故障情報の両方を含むオフセット電圧OF2を第1の増幅回路27に入力するようにしてもよく、その場合は、該第1の増幅回路27では該オフセット電圧OF2を前記第1の差動増幅回路26からの差信号に加算し、該第1の増幅回路27から出力されるメイントルク検出信号Cにトルク検出情報と故障情報とが含まれることになる。なお、その場合、第2の増幅回路27´に入力するオフセット電圧としてはOF2に代えてOF1を用いるようにしてよい。あるいは、前記オフセット電圧OF2を第1の増幅回路27と第2の増幅回路27´の両方に入力するようにしてもよく、その場合はメイントルク検出信号C及びサブトルク検出信号Dの両方にトルク検出情報と故障情報とが含まれることになる。すなわち、メイントルク検出信号C又はサブトルク検出信号Dの少なくとも一方にトルク検出情報と故障情報とが含まれていればよい。その場合、トルク検出情報と故障情報との双方を含むトルク検出信号(メイントルク検出信号C又はサブトルク検出信号D)から抽出したオフセット電圧(OF2)に基づいて故障判定を行えばよい。
1…入力軸
2…出力軸
3,4…磁気応答部材
3a,3b,4a,4b…開口窓
10…センサ部
11,12…コイル
15…基板収納スペース
16…ケーシング
17…コネクタ
18a…コイル励磁用交流信号供給ライン
18b…メイン検出出力ライン
18c…サブ検出出力ライン
18d…直流電源ライン
18e…アースライン
20…第1回路部
21…コイル駆動回路
22…疑似SIN波生成回路
23…基準電圧発生回路
24…デジタルポテンショ通信インターフェース
25…第1の基準信号生成回路
25´…第2の基準信号生成回路
26…第1の差動増幅回路
26´…第2の差動増幅回路
27…第1の増幅回路
27´…第2の増幅回路
28…コイル直流抵抗検出回路
29…励磁信号振幅検出&加算回路
30…第2回路部
31…マイクロコンピュータ
32…オープンコレクタ回路

Claims (8)

  1. トーションバーを介して連結された第1及び第2の回転軸に発生するトルクを検出するトルクセンサであって、
    直列接続された2つのコイル、前記第1の回転軸に連結された第1の磁気応答部材、前記第2の回転軸に連結された第2の磁気応答部材を含み、前記第1及び第2の回転軸の相対的回転位置に応答してインピーダンス変化を該コイルに生じさせるように前記第1及び第2の磁気応答部材を構成したセンサ部と、ここで、該センサ部は前記直列接続された2つのコイルから1つのコイル出力交流信号を生じるものであり、
    所定の励磁用交流信号を前記コイルに印加するコイル駆動回路と、
    前記コイル出力交流信号に含まれる検出出力交流電圧成分と前記励磁用交流信号に基づく基準交流電圧成分との差を求める第1回路と、
    前記コイル出力交流信号に含まれる検出出力交流電圧成分と前記励磁用交流信号に基づく基準交流電圧成分との差を、前記第1回路における差演算とは逆極性で、求める第2回路と、
    前記コイル出力交流信号に含まれる直流電圧成分及び前記励磁用交流信号のピーク振幅値に相当する直流電圧の少なくとも一方に対応する電圧を、故障診断用のオフセット電圧として生成するオフセット電圧生成回路と、
    前記第1回路の出力を第1の直流電圧でオフセットしてメイントルク検出信号を出力し、前記第2回路の出力を第2の直流電圧でオフセットしてサブトルク検出信号を出力する第1及び第2の増幅回路と、ここで、前記第1の直流電圧及び第2の直流電圧の少なくとも一方が前記オフセット電圧生成回路から生成された前記オフセット電圧であり、
    前記メイントルク検出信号又はサブトルク検出信号に含まれる交流成分の振れ幅を検出することにより、前記コイルの前記インピーダンス変化に応答する検出データをトルク検出データとして取得するトルク検出部と、
    前記オフセット電圧でオフセットされた前記メイントルク検出信号又はサブトルク検出信号に関して、該信号中の交流成分の振れの中心に相当する電圧を前記オフセット電圧として抽出するオフセット電圧抽出部と、
    前記抽出したオフセット電圧に基づいて、前記コイル出力交流信号に含まれる直流電圧成分及び前記励磁用交流信号のピーク振幅値に相当する直流電圧の少なくとも一方に関する故障の有無を判定する故障診断部と
    を具備することを特徴とするトルクセンサ。
  2. 前記センサ部は、前記直列接続された2つのコイルの中点から前記コイル出力交流信号を出力することを特徴とする請求項1に記載のトルクセンサ。
  3. 前記オフセット電圧生成回路は、前記コイルの出力に含まれる直流電圧成分と前記励磁用交流信号のピーク振幅値に相当する直流電圧との加算電圧に対応する電圧を前記オフセット電圧として生成する、請求項1又は2に記載のトルクセンサ。
  4. 前記第2の増幅回路は、前記第2の直流電圧として前記オフセット電圧生成回路から生成された前記オフセット電圧を使用して、前記第2回路の出力をオフセットして前記サブトルク検出信号を出力することを特徴とする請求項1乃至3のいずれかに記載のトルクセンサ。
  5. 前記故障診断部は、前記抽出したオフセット電圧が所定範囲内であるとき正常と判定し、所定範囲外のとき異常と判定することを特徴とする請求項1乃至4のいずれかに記載のトルクセンサ。
  6. 前記第1の直流電圧及び第2の直流電圧の一方が所定の基準直流電圧であり、他方が前記オフセット電圧生成回路から生成された前記オフセット電圧であり、
    前記オフセット電圧生成回路は、正常時の前記オフセット電圧として前記所定の基準直流電圧に対応する電圧を生成し、
    前記オフセット電圧抽出部は、前記メイントルク検出信号から前記第1の直流電圧に対応する電圧を抽出し、前記サブトルク検出信号から前記第2の直流電圧に対応する電圧を抽出し、該抽出した電圧の一方が前記オフセット電圧に対応しており、
    前記故障診断部は、前記抽出した第1及び第2の直流電圧に対応する電圧の差が所定範囲内であるとき正常と判定し、所定範囲外のとき異常と判定することを特徴とする請求項1乃至4のいずれかに記載のトルクセンサ。
  7. 前記トルク検出部は、前記メイントルク検出信号に含まれる交流成分の振れ幅を検出することにより第1のトルク検出データを取得し、前記サブトルク検出信号に含まれる交流成分の振れ幅を検出することにより前記第1のトルク検出データとは逆特性の第2のトルク検出データを取得し、
    前記故障診断部は、さらに、前記第1及び第2のトルク検出データの加算値に基づき異常の有無を判定することを特徴とする請求項1乃至6のいずれかに記載のトルクセンサ。
  8. 前記トルク検出部は、
    所定のクロック信号の整数倍周期で正振幅領域に対応する第1のサンプリングタイミング信号と負振幅領域に対応する第2のサンプリングタイミング信号とを生成し、
    前記差動増幅回路が出力する差信号の振幅値を前記第1及び第2のサンプリングタイミング信号でそれぞれサンプリングし、サンプリングした振幅値の差を求めることで前記トルク検出データを取得する、ことを特徴とする請求項1乃至7のいずれかに記載のトルクセンサ。
JP2010247387A 2010-10-15 2010-11-04 トルクセンサ Active JP5563956B2 (ja)

Priority Applications (1)

Application Number Priority Date Filing Date Title
JP2010247387A JP5563956B2 (ja) 2010-10-15 2010-11-04 トルクセンサ

Applications Claiming Priority (3)

Application Number Priority Date Filing Date Title
JP2010233056 2010-10-15
JP2010233056 2010-10-15
JP2010247387A JP5563956B2 (ja) 2010-10-15 2010-11-04 トルクセンサ

Publications (2)

Publication Number Publication Date
JP2012103003A true JP2012103003A (ja) 2012-05-31
JP5563956B2 JP5563956B2 (ja) 2014-07-30

Family

ID=46393598

Family Applications (3)

Application Number Title Priority Date Filing Date
JP2010247387A Active JP5563956B2 (ja) 2010-10-15 2010-11-04 トルクセンサ
JP2011226694A Pending JP2012103242A (ja) 2010-10-15 2011-10-14 トルクセンサ
JP2011227489A Pending JP2012103243A (ja) 2010-10-15 2011-10-14 トルクセンサ

Family Applications After (2)

Application Number Title Priority Date Filing Date
JP2011226694A Pending JP2012103242A (ja) 2010-10-15 2011-10-14 トルクセンサ
JP2011227489A Pending JP2012103243A (ja) 2010-10-15 2011-10-14 トルクセンサ

Country Status (1)

Country Link
JP (3) JP5563956B2 (ja)

Cited By (1)

* Cited by examiner, † Cited by third party
Publication number Priority date Publication date Assignee Title
CN117091754A (zh) * 2023-10-20 2023-11-21 山东远盾网络技术股份有限公司 基于数据分析的大型设备故障检测方法及系统

Families Citing this family (3)

* Cited by examiner, † Cited by third party
Publication number Priority date Publication date Assignee Title
JP6048060B2 (ja) * 2012-10-18 2016-12-21 日本精工株式会社 トルク検出装置及び電動パワーステアリング装置
JP2014224740A (ja) * 2013-05-16 2014-12-04 株式会社小野測器 トルクセンサ
JP7166552B2 (ja) * 2019-07-24 2022-11-08 多摩川精機株式会社 トルクセンサ用金属ケースと樹脂ホルダとの締結構造

Citations (4)

* Cited by examiner, † Cited by third party
Publication number Priority date Publication date Assignee Title
JP2001281081A (ja) * 2000-03-31 2001-10-10 Toyoda Mach Works Ltd トルクセンサ
JP2001336995A (ja) * 2000-05-30 2001-12-07 Mitsubishi Electric Corp トルク検出装置
JP2002107110A (ja) * 2000-09-28 2002-04-10 Tadatoshi Goto 相対的回転位置検出装置
JP2004264316A (ja) * 2004-06-25 2004-09-24 Koyo Seiko Co Ltd トルクセンサ

Family Cites Families (5)

* Cited by examiner, † Cited by third party
Publication number Priority date Publication date Assignee Title
JPH08240492A (ja) * 1995-03-06 1996-09-17 Nippon Seiko Kk トルクセンサ
JP3824957B2 (ja) * 2001-03-28 2006-09-20 古河電気工業株式会社 回転センサとロータ
JP5016165B2 (ja) * 2001-04-11 2012-09-05 株式会社アミテック 相対回転位置検出装置
JP3936225B2 (ja) * 2001-04-12 2007-06-27 古河電気工業株式会社 回転センサ
JP4484491B2 (ja) * 2003-10-29 2010-06-16 日立オートモティブシステムズ株式会社 トルクセンサ

Patent Citations (4)

* Cited by examiner, † Cited by third party
Publication number Priority date Publication date Assignee Title
JP2001281081A (ja) * 2000-03-31 2001-10-10 Toyoda Mach Works Ltd トルクセンサ
JP2001336995A (ja) * 2000-05-30 2001-12-07 Mitsubishi Electric Corp トルク検出装置
JP2002107110A (ja) * 2000-09-28 2002-04-10 Tadatoshi Goto 相対的回転位置検出装置
JP2004264316A (ja) * 2004-06-25 2004-09-24 Koyo Seiko Co Ltd トルクセンサ

Cited By (2)

* Cited by examiner, † Cited by third party
Publication number Priority date Publication date Assignee Title
CN117091754A (zh) * 2023-10-20 2023-11-21 山东远盾网络技术股份有限公司 基于数据分析的大型设备故障检测方法及系统
CN117091754B (zh) * 2023-10-20 2023-12-19 山东远盾网络技术股份有限公司 基于数据分析的大型设备故障检测方法及系统

Also Published As

Publication number Publication date
JP2012103243A (ja) 2012-05-31
JP5563956B2 (ja) 2014-07-30
JP2012103242A (ja) 2012-05-31

Similar Documents

Publication Publication Date Title
JP5398713B2 (ja) トルクセンサ
CN101506620B (zh) 转向角传感器
JP6550793B2 (ja) 温度検出装置及び回転角検出装置
KR101637756B1 (ko) 레졸버 고장 진단 방법
JP5563956B2 (ja) トルクセンサ
US8466646B2 (en) Apparatus and method for determining angular position
JP5832751B2 (ja) 自己診断可能な電子回路及び磁界検出装置
US9507006B2 (en) Method for calibrating a current transducer of the rogowski type
CN106796118A (zh) 用于无接触地检测旋转构件的转动角度的传感器组件
JP5423762B2 (ja) 信号検出装置の絶縁不良診断装置
CN109412485B (zh) 用于补偿解角器的位置误差的装置和方法
JP4107134B2 (ja) トルクセンサ
JP2007315856A (ja) レゾルバ角度検出における補償方法及びこれを用いた角度検出装置
JP3836046B2 (ja) 測定値検出装置及びトルク検出装置
JP2017198515A (ja) 磁気センサこれを用いた回転検出装置
EP4105608B1 (en) Magnetic sensor devices, systems and methods with error detection
JP5473769B2 (ja) トルクセンサ
JP2002131084A (ja) 位置検出装置
JP4828090B2 (ja) 相対回転位置検出装置
JP4429986B2 (ja) 回転センサ
JP2002340612A (ja) 差動トランスの故障検出方法及び装置
CN119469499A (zh) 一种电涡流相位差式转轴扭矩测量装置及其扭矩测量方法
JP2003207365A (ja) 回転角度センサ
JP2007024556A (ja) 回転センサ
JP2007271457A (ja) 変位センサ及び回転センサ

Legal Events

Date Code Title Description
A621 Written request for application examination

Free format text: JAPANESE INTERMEDIATE CODE: A621

Effective date: 20130909

A977 Report on retrieval

Free format text: JAPANESE INTERMEDIATE CODE: A971007

Effective date: 20140129

A131 Notification of reasons for refusal

Free format text: JAPANESE INTERMEDIATE CODE: A131

Effective date: 20140204

A521 Request for written amendment filed

Free format text: JAPANESE INTERMEDIATE CODE: A523

Effective date: 20140404

TRDD Decision of grant or rejection written
A01 Written decision to grant a patent or to grant a registration (utility model)

Free format text: JAPANESE INTERMEDIATE CODE: A01

Effective date: 20140513

A61 First payment of annual fees (during grant procedure)

Free format text: JAPANESE INTERMEDIATE CODE: A61

Effective date: 20140613

R150 Certificate of patent or registration of utility model

Ref document number: 5563956

Country of ref document: JP

Free format text: JAPANESE INTERMEDIATE CODE: R150

R250 Receipt of annual fees

Free format text: JAPANESE INTERMEDIATE CODE: R250

R250 Receipt of annual fees

Free format text: JAPANESE INTERMEDIATE CODE: R250

R250 Receipt of annual fees

Free format text: JAPANESE INTERMEDIATE CODE: R250

R250 Receipt of annual fees

Free format text: JAPANESE INTERMEDIATE CODE: R250

R250 Receipt of annual fees

Free format text: JAPANESE INTERMEDIATE CODE: R250

R250 Receipt of annual fees

Free format text: JAPANESE INTERMEDIATE CODE: R250

R250 Receipt of annual fees

Free format text: JAPANESE INTERMEDIATE CODE: R250

R250 Receipt of annual fees

Free format text: JAPANESE INTERMEDIATE CODE: R250

R250 Receipt of annual fees

Free format text: JAPANESE INTERMEDIATE CODE: R250