JP2012024969A - 印刷装置 - Google Patents

印刷装置 Download PDF

Info

Publication number
JP2012024969A
JP2012024969A JP2010163882A JP2010163882A JP2012024969A JP 2012024969 A JP2012024969 A JP 2012024969A JP 2010163882 A JP2010163882 A JP 2010163882A JP 2010163882 A JP2010163882 A JP 2010163882A JP 2012024969 A JP2012024969 A JP 2012024969A
Authority
JP
Japan
Prior art keywords
opening
closing lid
lock member
engaging portion
printing
Prior art date
Legal status (The legal status is an assumption and is not a legal conclusion. Google has not performed a legal analysis and makes no representation as to the accuracy of the status listed.)
Granted
Application number
JP2010163882A
Other languages
English (en)
Other versions
JP5578976B2 (ja
Inventor
Shinga Nakajima
真我 中島
Current Assignee (The listed assignees may be inaccurate. Google has not performed a legal analysis and makes no representation or warranty as to the accuracy of the list.)
Canon Inc
Original Assignee
Canon Inc
Priority date (The priority date is an assumption and is not a legal conclusion. Google has not performed a legal analysis and makes no representation as to the accuracy of the date listed.)
Filing date
Publication date
Application filed by Canon Inc filed Critical Canon Inc
Priority to JP2010163882A priority Critical patent/JP5578976B2/ja
Priority to US13/184,898 priority patent/US8740485B2/en
Publication of JP2012024969A publication Critical patent/JP2012024969A/ja
Application granted granted Critical
Publication of JP5578976B2 publication Critical patent/JP5578976B2/ja
Expired - Fee Related legal-status Critical Current
Anticipated expiration legal-status Critical

Links

Images

Classifications

    • BPERFORMING OPERATIONS; TRANSPORTING
    • B41PRINTING; LINING MACHINES; TYPEWRITERS; STAMPS
    • B41JTYPEWRITERS; SELECTIVE PRINTING MECHANISMS, i.e. MECHANISMS PRINTING OTHERWISE THAN FROM A FORME; CORRECTION OF TYPOGRAPHICAL ERRORS
    • B41J11/00Devices or arrangements  of selective printing mechanisms, e.g. ink-jet printers or thermal printers, for supporting or handling copy material in sheet or web form
    • B41J11/66Applications of cutting devices
    • B41J11/70Applications of cutting devices cutting perpendicular to the direction of paper feed
    • BPERFORMING OPERATIONS; TRANSPORTING
    • B41PRINTING; LINING MACHINES; TYPEWRITERS; STAMPS
    • B41JTYPEWRITERS; SELECTIVE PRINTING MECHANISMS, i.e. MECHANISMS PRINTING OTHERWISE THAN FROM A FORME; CORRECTION OF TYPOGRAPHICAL ERRORS
    • B41J13/00Devices or arrangements of selective printing mechanisms, e.g. ink-jet printers or thermal printers, specially adapted for supporting or handling copy material in short lengths, e.g. sheets
    • B41J13/10Sheet holders, retainers, movable guides, or stationary guides
    • B41J13/106Sheet holders, retainers, movable guides, or stationary guides for the sheet output section
    • BPERFORMING OPERATIONS; TRANSPORTING
    • B41PRINTING; LINING MACHINES; TYPEWRITERS; STAMPS
    • B41JTYPEWRITERS; SELECTIVE PRINTING MECHANISMS, i.e. MECHANISMS PRINTING OTHERWISE THAN FROM A FORME; CORRECTION OF TYPOGRAPHICAL ERRORS
    • B41J29/00Details of, or accessories for, typewriters or selective printing mechanisms not otherwise provided for
    • B41J29/02Framework
    • BPERFORMING OPERATIONS; TRANSPORTING
    • B41PRINTING; LINING MACHINES; TYPEWRITERS; STAMPS
    • B41JTYPEWRITERS; SELECTIVE PRINTING MECHANISMS, i.e. MECHANISMS PRINTING OTHERWISE THAN FROM A FORME; CORRECTION OF TYPOGRAPHICAL ERRORS
    • B41J29/00Details of, or accessories for, typewriters or selective printing mechanisms not otherwise provided for
    • B41J29/12Guards, shields or dust excluders

Landscapes

  • Accessory Devices And Overall Control Thereof (AREA)
  • Handling Of Sheets (AREA)

Abstract

【課題】印刷時にユーザが不用意に開閉蓋を閉じられたとしても開閉蓋が閉じた状態で保持されず、印刷動作が妨げられないようにすることを目的とする。
【解決手段】記録用紙の用紙搬送経路を閉塞または開放する開閉蓋12と、前記開閉蓋12の係合部12aと係合することにより、前記開閉蓋12を閉塞状態に保つロック部材14であって、前記開閉蓋12の係合部12aと係合可能な位置または前記開閉蓋12の係合部12aと係合可能な位置から退避する位置に移動可能なロック部材14と、を備えた印刷装置1であって、前記ロック部材14は、非印刷時には前記開閉蓋12の係合部12aと係合可能な位置に移動しており、印刷時には前記開閉蓋12の係合部12aと係合可能な位置から退避する位置に移動していることを特徴とする。
【選択図】図2

Description

本発明は、印刷装置に関するものである。特に、記録用紙の搬送経路を閉塞したり開放したりする開閉蓋を備えた印刷装置に用いられて好適である。
従来から画像を記録用紙に印刷する手段として様々な方式による印刷装置が提案されている。印刷装置では、給紙部から画像印刷用の記録用紙を給紙および搬送し、内部の印刷部で印刷する。印刷装置は印刷された記録用紙をさらに下流の用紙搬送経路を通って搬送した後、外部に排出するための開口部が設けられている。
特に、近年では持ち運びが容易なコンパクトプリンタが多くなっており、使用する環境が室内に限らず、バッテリを装着可能にし、電力供給を行う際にコンセントにケーブルを接続して使用することが必須ではなくなっている。そのため、屋外での使用も考慮した印刷装置の構成が必要となる。
すなわち、印刷装置の記録用紙が排出される開口部が常時、開放状態になっていると、開口部から印刷装置の内部に塵埃や異物が混入してしまう。特に、屋外に持ち運びを行う際は、移動時に砂埃が印刷装置の内部に混入する可能性が高くなる。
異物が印刷装置の内部に混入してしまうと、記録用紙の表面に付着した状態で印刷され、印刷物の品質を悪化させてしまったり、印刷部を傷つけて、印刷装置の劣化を早めてしまうおそれがある。したがって、近年では異物混入を防ぐために開口部を閉塞したり開放したりすることができる開閉可能な蓋を備えた印刷装置がある。
また、記録用紙が印刷装置から外部に排出される際に床に落下してしまうのを防ぐために、排紙トレイ等の用紙積載部が備えられた印刷装置もある。
さらに、外装ケースの一部で蓋を構成させて、印刷装置の内部の異物混入防止と排紙トレイとの機能を両立させた蓋を備えた印刷装置もある。
しかしながら、用紙搬送経路上に蓋を設けると、ユーザが蓋を閉じた状態で不用意に印刷を開始した場合、用紙搬送経路が閉塞されているため、搬送された記録用紙の先端が蓋の内側に衝突してしまう。この場合、その後の記録用紙の搬送が行えず、印刷装置の内部に記録用紙が留まってジャムが生じてしまうという問題があった。
例えば、特許文献1には、ジャムが発生しないようにするためのジャム防止機構として、排紙口の開閉蓋における閉塞状態を検出センサにより検出する技術が開示されている。これは、開閉蓋を開放することで、被検出部材が待機位置から移動し、検出センサが被検出部材のフラグ部を検出するようになっている。この状態は、印刷動作を開始および続行することが可能となるオン状態である。一方、開閉蓋を閉塞することで、被検出部材が待機位置、すなわち被検出部材が検出されない位置に移動する。この状態は、印刷動作が行えないオフ状態である。したがって、印刷中に不用意に開閉蓋を閉じてしまうと、被検出部材を検出しているオン状態から被検出部材を検出しないオフ状態となるため印刷が停止されることになる。
また、特許文献2には、開口部に装置の電源と連動して付勢させるソレノイドと、ソレノイドの通電により稼動するレバーとを有し、レバーが開閉蓋とラッチされる構成となっている。電源オン時にソレノイドに通電することによりレバーを回動させて、レバーが係合している開閉蓋のフック部から退避し、ラッチが解除されると同時に、開閉蓋を開く方向に付勢しているばねにより、開口部が開く構成となっている。
特開2007−217165号公報 特開平8−67051号公報
しかしながら、特許文献1に開示された開閉蓋の開閉を検出する検出センサを設ける構成では、開閉検出用のセンサが通常動作で必要なセンサとは別に必要となる。また、検出センサを制御するための回路を別途設ける必要があり、コストアップ、且つ複雑な構成となってしまうという問題がある。また、印刷動作を開始していながら、用紙積載部に印刷物がない等の理由で、ユーザが印刷中に開閉蓋を閉じてしまうと閉じた際に検出センサによる信号がオフ状態となり、印刷が停止してしまうという問題がある。
また、特許文献2に開示されたソレノイドの通電によりロックを解除する構成では、通電時のみロック解除を行う構成としているため、印刷開始後にユーザが不用意に開閉蓋を閉じると閉じた状態で保持されてしまう。また、印刷開始後もロック解除しようとするとソレノイドに常に通電する必要がある。さらに、開閉蓋のロック制御のために、ソレノイドを使用する構成としているので、大幅なコストアップとなってしまうという問題があった。
本発明は上述したような問題点に鑑みてなされたものであり、印刷時にユーザが不用意に開閉蓋を閉じたとしても開閉蓋が閉じた状態で保持されず、印刷動作が妨げられないようにすることを目的とする。
本発明は、記録用紙の用紙搬送経路を閉塞または開放する開閉蓋と、前記開閉蓋の係合部と係合することにより、前記開閉蓋を閉塞状態に保つロック部材であって、前記開閉蓋の係合部と係合可能な位置または前記開閉蓋の係合部と係合可能な位置から退避する位置に移動可能なロック部材と、を備えた印刷装置であって、前記ロック部材は、非印刷時には前記開閉蓋の係合部と係合可能な位置に移動しており、印刷時には前記開閉蓋の係合部と係合可能な位置から退避する位置に移動していることを特徴とする。
本発明によれば、印刷時にユーザが不用意に開閉蓋を閉じたとしても開閉蓋が閉じた状態で保持されず、印刷動作が妨げられない。
印刷装置の開閉蓋を閉塞および開放した状態を示す斜視図である。 印刷装置の一部の内部構成を示す分解斜視図である。 ロック部材の構成を示す斜視図である。 非印刷時において開閉蓋を閉じた状態で保持する構成を示す図である。 非印刷時において開閉蓋を閉めるときのロック部材の動作を示す図である。 印刷時の状態において開閉蓋の保持を解除する構成を示す図である。 レバー部材、ベース部材およびロック部材を左側からみた側面図である。
以下に、本発明の好ましい実施形態について図面を参照して詳細に説明する。なお、各図では必要に応じて、印刷装置の前方をFrで示し、後方をRrで示し、右側をRで示し、左側をLで示している。本実施形態では、印刷装置として昇華型プリンタ(以下、プリンタという)を例にして説明する。
図1(a)、(b)はプリンタの開閉蓋を閉塞および開放した状態を示す斜視図である。
図1に示すように、プリンタ1は外装部材11によって形状が整えられて形成されている。プリンタ1の前斜め上方には、ユーザが印刷設定をするための操作部2と、設定内容を確認するための表示部3とが配置されている。
プリンタ1の後斜め上方には、プリンタ1によって印刷された後、プリンタ1外部に排出された記録用紙を積載するための用紙積載部4が備えられている。用紙積載部4はプリンタ1内から外部に記録用紙を排出するための開口部5と、開口部5に近接した位置であって外装部材11に形成された回動軸11a(後述する図4(b)、図6(b)を参照)を中心に回動自在に軸支された開閉蓋12とを備えている。
開口部5は記録用紙を排出するときの用紙搬送経路の一部である。開閉蓋12は開口部5、すなわち用紙搬送経路を閉塞したり開放したりすることが可能である。図1(a)は開閉蓋12が開口部5を閉塞している状態を示している。開口部5から塵埃や異物がプリンタ1内部に入り込むと、内部のサーマルヘッドや用紙搬送経路を構成する部材に付着したり、内部に収容された記録用紙に付着したり、印刷時の記録用紙に貼り付いて印刷面を傷つけたりしてしまう。したがって、非印刷時では、図1(a)に示すように、開閉蓋12を閉めることで、塵埃や異物がプリンタ1内部に入り込むのを防止し、印刷の品質を向上させることができる。ここで、印刷時とは印刷を行っている状態、記録用紙を搬送している状態または印刷を中断している状態をいい、非印刷時とは印刷を行っていない状態、記録用紙を搬送していない状態および印刷を中断していない状態をいう。
図1(b)は開閉蓋12が開口部5を開放している状態を示している。本実施形態では、開閉蓋12を開くことで、開閉蓋12の前側と開口部5とにより用紙積載部4が構成される。用紙積載部4は、開口部5から上方に排出された記録用紙を縦のまま開閉蓋12が支持することで、複数の記録用紙を積載することが可能となる。したがって、ユーザは印刷設定を行う位置から記録用紙を容易に取り出すことが可能となる。
このように、開閉蓋12に防塵蓋の機能と用紙積載部4の機能とを両立させることにより、非印刷時には開閉蓋12を閉じた状態で防塵を行うことができると共に、印刷時には別途排紙トレイを装着する必要がなく印刷の利便性を向上させることができる。
また、プリンタ1の内部にはサーマルヘッドをはじめとして記録用紙に印刷を行う不図示の印刷部や、記録用紙を搬送する不図示の搬送部を備えている。搬送部は記録用紙を印刷部に搬送したり、印刷部から下流に搬送して開口部5の上方に排出して記録用紙を用紙積載部4に積載させたりする。
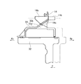
次に、開閉蓋12をロックする構成について図2および図3を参照して説明する。図2は印刷装置の一部の内部構成を示す分解斜視図である。
上述したように、開閉蓋12は外装部材11の回動軸11a(後述する図4(b)、図6(b)を参照)を中心に回動することで開閉する。回動軸11aの付近には、図2に示すような開閉蓋付勢ばね部材13が装着されている。開閉蓋付勢ばね部材13は常時、開閉蓋12を開く方向に付勢している。また、開閉蓋12の右側の前方には、前斜め下方に突出する係合部12aが設けられている。係合部12aには、後述するロック部材14と係合する係合孔12bが形成されている。なお、ロック部材14と係合する部分は、係合孔12bのような孔状に限られず突起状であってもよい。
プリンタ1の内部の右側には、開閉蓋12を閉じた状態で保持するロック部材14が設けられている。図3はロック部材の構成を示す斜視図である。図3に示すように、ロック部材14は外装部材11に設けられた回動軸11bを中心に回動自在に軸支されている。ロック部材14の上方には、鉤状のロック部14aが形成されている。ロック部材14が回動軸11bを中心に図3に示す矢印A方向に回動することで、ロック部14aが、閉塞状態の開閉蓋12の係合孔12b内に入り込み、係合部12aと係合する。したがって、ロック部材14のロック部14aが係合部12aと係合した状態では、開放する方向に付勢されている開閉蓋12を閉じた状態で保持することができる。
一方、ロック部材14のロック部14aは係合部12aと係合している状態から図3に示す矢印B方向に回動することで、開閉蓋12の係合部12aとの係合が解除される。
このように、ロック部材14のロック部14aが、図3に示すような略左右方向に沿って移動することで、開閉蓋12の係合部12aとの係合および解除が可能となっている。
また、ロック部材14には、ロック部材付勢ばね部材15が装着されている。ロック部材付勢ばね部材15は一方の端部が外装部材11に設けられたばね保持部11c(図2を参照)と当接し、他方の端部がロック部材14の一部と当接している。したがって、ロック部材付勢ばね部材15は常時、ロック部14aを係合部12aと係合する方向(図3に示す矢印A方向)に付勢している。ロック部材14の左端には、下方向に突出するカムフォロア部14bが形成されている。カムフォロア部14bには、後述するベース部材33のカム面33bと当接するカムフォロア面14cが傾斜して形成されている。
次に、プリンタ1の内部の構成について図2を参照して説明する。プリンタ1の内部には、不図示の印刷部、用紙切断機構30、用紙搬送ガイド部材41、搬送部の一部である排紙機構50、不図示の記録紙供給部などを備えられたユニットが外装部材11に位置決めされ、ネジで取り付けられている。
用紙切断機構30は用紙積載部4に近接した位置に配置され、駆動モータ31、ギア列34、可動刃35および固定刃36などから構成されている。用紙切断機構30は駆動モータ31を動力源にギア列34を回転させて可動刃35を記録用紙に対して略垂直方向(図2に示す前後方向)に移動させて、記録用紙を切断する。可動刃35の右端にはレバー部材32が結合されていて、レバー部材32の上部にはベース部材33が結合されている。ベース部材33の上部には、上方向に隆起するカム部33aが形成されている。カム部33aには、上述したロック部材14のカムフォロア面14cと当接するカム面33bが傾斜して形成されている。
このように可動刃35、レバー部材32およびベース部材33が一体的に結合していることから、プリンタ1内では、記録用紙を切断する可動刃35の前後方向の動作に連動して、レバー部材32およびベース部材33が同時に移動する。ベース部材33の移動によって、ロック部材14の回動を規制したり、許容したりすることができる。ベース部材33によるロック部材14の動作については、後述する。
また、搬送部は印刷部によって印刷された記録用紙を下流に搬送し、予め印刷設定時に設定された設定内容のデータ信号によって、所定の位置で搬送を停止する。用紙切断機構30の駆動モータ31への通電により、可動刃35が固定刃36側に移動して記録用紙が切断されることで、記録紙はユーザが設定したサイズ(Lサイズ、2Lサイズ等)に形成される。
次に、非印刷時の状態において開閉蓋を閉じた状態で保持する構成について図4を参照して説明する。図4(a)は非印刷時において開閉蓋を保持している状態を正面から見た図である。図4(b)は図4(a)に示すI−I線を矢印方向から見た断面図である。
上述したように、非印刷時では塵埃や異物がプリンタ1内部に入り込むのを防止するために、ロック機構により開閉蓋12を閉めた状態で保持する。
ロック機構は、上述した開閉蓋12の係合部12aと、この係合部12aに係合可能なロック部材14とから構成される。図4(a)に示すように、非印刷時の状態においては、ロック部材付勢ばね部材15の付勢により、ロック部材14が回動軸11bを中心にして回動し、開閉蓋12の係合部12aに係合する。
このとき、係合部12aがロック部材付勢ばね部材15の付勢力によりロック部材14から受ける負荷を低減させるために外装部材11にはロック部材14と当接するストッパ11dが突設されている(図2も参照)。ロック部材14がストッパ11dと当接することで、ロック部材付勢ばね部材15の付勢によるロック部材14の一定範囲以上の回転を規制する。
また、ロック部材14が開閉蓋12の係合部12aを係合する位置(ロック位置)にある場合であっても、開閉蓋12が開いたままの状態がある。この場合、ユーザは開いている開閉蓋12を手動で閉めることができる。図5は、非印刷時においてユーザが開閉蓋12を手動で閉めるときのロック部材の動作を示す図である。
図5(a)に示すように、ロック部材14がロック位置にある状態において、ユーザは開閉蓋12を矢印C方向に押下する。開閉蓋12が閉じられていくと、図5(b)に示すように、開閉蓋12の係合部12aの下端に位置する当接部12cがロック部14aの側面に形成された傾斜状のガイド部14dと当接する。このとき、ロック部材14のガイド部14dが係合部12aの当接部12cから受ける荷重によって、ロック部材14はロック部材付勢ばね部材15の付勢に抗して回動軸11bを中心に矢印D方向に回動する。すなわち、ロック部材14はロック位置から退避する位置に移動する。さらに、開閉蓋12が閉じられていくと、ロック部材14のロック部14aが係合部12aの係合孔12bに入り込むので、ガイド部14dが受ける荷重が解除され、図5(c)に示すように、ロック部材14のロック部14aが開閉蓋12の係合部12aと係合する。
一方、図5(c)のように、ロック部材14のロック部14aが開閉蓋12の係合部12aと係合している状態であっても、ユーザは閉じている開閉蓋12を手動で開けることができる。この場合、例えば、外装部材11と開閉蓋12の間に開閉蓋12を引っ張るための把手を設ければよい。ユーザが把手を引っ張ることにより開閉蓋12が回動軸11aを中心に回動し、徐々に上方に開いていく。このとき、開閉蓋12の係合部12aがロック部材付勢ばね部材15の付勢に抗して、ロック部材14を回動軸11bを中心にして回動させる。したがって、ロック部材14はロック位置から退避する位置に移動する。ユーザが開閉蓋12を所定距離、引っ張ることにより、ロック部材14のロック部14aと係合部12aとの係合が完全に外れるため、その後、開閉蓋12は開閉蓋付勢ばね部材13の付勢力によって開く。
次に、非印刷時において用紙切断機構の状態について図4(b)を参照して説明する。
プリンタ1の内部には、印刷部で印刷された記録用紙をガイドする用紙搬送ガイド部材41が設けられている。用紙搬送ガイド部材41間が記録用紙の用紙搬送経路Pr(図4(b)に示す破線参照)の一部となる。また、用紙搬送ガイド部材41の下流には可動刃35および固定刃36などの用紙切断機構30が備えられている。非印刷時では、図4(b)に示すように、用紙切断機構30では、用紙搬送経路Pr上にある可動刃35を後方に移動させた状態にして、搬送経路Prを閉塞する。すなわち、用紙切断機構30では、可動刃35と固定刃36との間を閉じることで、可動刃35により搬送経路Prを閉塞した状態にする。可動刃35が閉じた状態にある場合、後述するようにロック部材14が開閉蓋12を閉じた状態で保持することが可能となる。
なお、本実施形態では、非印刷時において、不図示のインクリボンカセットまたはロール紙カセットの装着、脱着が可能である。プリンタ1には、印刷時においてインクリボンカセットまたはロール紙カセットを装着した状態から取り外せないようにすることが可能な不図示のインターロック機構が設けられている。可動刃35と固定刃36との間が閉じた状態にあるとき、インターロック機構が解除されインクリボンカセット等の抜き差しが可能となる。
次に、印刷時の状態において開閉蓋の保持を解除する構成について図6を参照して説明する。図6(a)は印刷時において開閉蓋の保持を解除している状態を正面から見た図である。図6(b)は図6(a)に示すII−II線を矢印方向から見た断面図である。
上述したように、印刷時では記録用紙を排出できるように、ロック機構により保持している開閉蓋12の係合を解除する。
印刷が開始されると、プリンタ1の内部では、記録紙供給部が記録用紙を印刷部に搬送し、印刷部が記録用紙に印刷処理を開始する。また、用紙切断機構30の駆動モータ31に対して通電が行われ、駆動モータ31がギア列34を回転し、ギア列34の回転に連動して可動刃35が移動する。すなわち、印刷時では、図6(b)に示すように、用紙搬送経路上にある可動刃35を開いた状態として、用紙搬送経路を開放する。具体的には、可動刃35を前方に移動させて、可動刃35と固定刃36との間を開くことで、可動刃35により用紙搬送経路を開放する。なお、可動刃35と固定刃36とが開いた状態にあるとき、連動してカセットインターロック機構がロックされインクリボンカセット等が取り出せないように制御されている。
上述したように可動刃35にはレバー部材32が結合され、レバー部材32にはベース部材33が結合されている。すなわち、可動刃35が移動すると可動刃35に結合されたレバー部材32およびベース部材33も同様に移動する。図7はレバー部材、ベース部材およびロック部材を左側からみた側面図である。図7に示すように、ベース部材33の上方には、ロック部材14のカムフォロア部14bが位置している。したがって、可動刃35に連動して、ベース部材33が二点鎖線の位置から実線の位置まで矢印E方向に所定距離、移動することで、ベース部材33のカム部33aがロック部材14のカムフォロア部14bに当接する。
具体的には、ロック部材14のカムフォロア面14cとベース部材33のカム面33b同士が当接する。ロック部材14のカムフォロア面14cは、ベース部材33と当接するにしたがって、下方に傾斜している。一方、ベース部材33のカム面33bはロック部材14と当接するにしたがって、上方に傾斜している。そのため、カムフォロア面14cとカム面33bとが当接した後、互いに摺動することで、ロック部材14のカムフォロア部14bがカム面33bに沿って徐々に上方に移動する。このとき、回動軸11bによって回動可能に軸支されたロック部材14はロック部材付勢ばね部材15の付勢に抗して、ベース部材33からの外力によって、図6(a)に示すように矢印F方向に回動する。
ロック部材14が回動することにより、ロック部材14のロック部14aは開閉蓋12の係合部12aに係合する位置から退避する位置に移動し、開閉蓋12の保持が解除される。保持が解除された開閉蓋12は、開閉蓋付勢ばね部材13の付勢によって回動軸11aを中心に、開く方向に回動する。図6(b)に示すように開閉蓋12がストッパ11dに当接することにより回動が規制される。
可動刃35と固定刃36との間が開いている状態では、ロック部材14とベース部材33とが当接している状態にあるため、ロック部材14のロック部14aは開閉蓋12の係合部12aと係合する位置から退避した状態に保持される。
次に、印刷が終了してから、用紙積載部に記録用紙が積載されるまでの動作について図6(b)を参照して説明する。
印刷が終了した記録用紙Pは、図6(b)に示すように、排紙機構50まで搬送され、排紙機構50の排紙ローラ51を構成する駆動ローラ51aと従動ローラ51bとにより挟まれる。記録用紙Pは駆動ローラ51aと従動ローラ51bとによって印刷設定時に設定されたサイズ分、搬送され、用紙切断機構30によって切断される。このとき、用紙切断機構30の可動刃35が後方に移動し、可動刃35と固定刃36との間が閉じられるため、ロック部材14が連動し一時的に開閉蓋12の係合部12aに係合する位置に移動してしまう。しかしながら、開口部5にはすでに切断された記録用紙Pが露出しているために、ユーザによって不用意に開閉蓋12が閉じられることはない。
切断された記録用紙は駆動ローラ51aと従動ローラ51bとによって、さらに下流に搬送される。記録用紙は駆動ローラ51aと従動ローラ51bとの間から離間した後、図6(b)に示す排紙ガイド部材52により、開閉蓋12方向に押し出され、開閉蓋12により移動がガイドされ、用紙積載部4に積載される。
また、印刷動作が終了すると、図4(b)に示すように用紙切断機構30が搬送経路Prを閉じた状態にする。ベース部材33は用紙切断機構30に連動して、ロック部材14との当接が解除する方向に移動するので、ロック部材14は、ロック部材付勢ばね部材15の付勢により、開閉蓋12の係合部12aに係合する位置に戻る。ユーザが開閉蓋12を手動で閉じることで、上述した図5(a)〜(c)に示すような経過を経て、ロック部材14が開閉蓋12を閉じた状態で保持することができる。また、プリンタ1の電源がオフの状態であっても、印刷動作が終了したときと同様、用紙切断機構30が搬送経路Prを閉じた状態にする。
なお、本実施形態で説明した昇華型プリンタは、一度記録用紙がプリンタ1の外部に排出されるまで搬送された後、用紙切断機構30によって直ぐに切断されるのではなく、記録用紙を再度プリンタ1の内部に収納する。そして、印刷部により、イエロ、マゼンタ、シアン、オーバーコートとインクリボンのインクを記録用紙に昇華させるため、複数回、開口部5を記録用紙が出入りする。このような用紙搬送動作中、用紙切断機構30は動作しておらず、用紙搬送経路Prを開放した状態にしている。
また、上述した印刷動作を連続で行う連続印刷の場合、サーマルヘッドや、プリンタ1の内部の基板が熱くなる。このような場合、プリンタ1内の温度上昇を一定温度以上にならないようにするため、プリンタ1は通電を停止し、印刷を中断させ、発熱を停止することがある。
これは、サーマルヘッドの熱でインクリボンのインクを記録用紙に昇華させる際に、サーマルヘッドの温度が必要以上に上昇してしまうと、必要以上のインクを昇華させてしまい、画像品位を劣化させる現象が生じてしまうためである。
このように印刷が中断してしまうと、印刷動作を行っているにも関わらず、記録用紙が排出されていない状態のため、ユーザは印刷が終了または開始されないと勘違いしてしまい、不用意に開閉蓋12を閉じてしまう可能性がある。
従来では、印刷動作中に開閉蓋を閉じてしまうと、開閉蓋が閉じた状態で保持されてしまい、印刷動作が再開すると、搬送中の記録用紙が用紙積載部の開口部に排出されたときに記録用紙の先端が開閉蓋の内側に衝突することがあった。
しかしながら、本実施形態では、可動刃35と固定刃36との間が開いた状態にある場合、ベース部材33が図7に示す実線の位置に移動することから、ロック部材14は図6(a)に示すように開閉蓋12の係合部12aと係合する位置から退避する。したがって、印刷動作中に開閉蓋12をユーザが不用意に閉じたとしても係合部12aが係合するロック部材14が退避しているので開閉蓋12が閉じた状態で保持されることはない。すなわち、印刷動作が開始されたときと同様、プリンタ1の開口部5は開放され、記録用紙の排出時に記録用紙の先端が開閉蓋12に接触して印刷動作に影響を与えることはない。
また、従来では、印刷動作が開始されたとき、排出される記録用紙の先端を開閉蓋12の内側に衝突させずに不具合なく搬送させるために、ユーザが開閉蓋12を開くことが必要なものがあった。
しかしながら、本実施形態では、印刷動作が開始されると、可動刃35と固定刃36との間が開放されるために、可動刃35の移動に連動して、開閉蓋12の係合部12aを係合しているロック部材14は、係合部12aに係合する位置から退避する。このとき、開閉蓋12は開閉蓋付勢ばね部材13の付勢力により自動的に開くため、ユーザが開閉蓋12を開けなくても、記録用紙の先端が開閉蓋12に衝突して印刷動作に影響を与えることはない。
このように、本実施形態によれば、開閉蓋12を閉じた状態でロック部材14が開閉蓋12と係合する位置または係合する位置から退避する位置に移動可能であり、ロック部材14が用紙切断機構30の動作に連動するように制御されている。すなわち、印刷動作中ではない場合、用紙切断機構30では可動刃35と固定刃36との間を閉じた状態にすることで、ロック部材14は開閉蓋12に係合する位置に移動する。この場合、ユーザは開閉蓋12を閉じることで開閉蓋12が閉じた状態で保持されるので、プリンタ1の内部への異物混入を防ぐことができる。
また、印刷動作中の場合、印刷動作を開始した直後から用紙切断機構30では可動刃35と固定刃36との間を開いた状態にすることで、ロック部材14は開閉蓋12に係合する位置から退避する位置に移動する。この場合、ユーザは開閉蓋12を閉じたとしても開閉蓋12が閉じた状態で保持されないので、記録用紙が開閉蓋12の内側に衝突して印刷動作に影響を与えることを防ぐことができる。
また、ロック部材14は、用紙切断機構30の動作に連動させることで駆動するので、新たな駆動源を必要とせず、プリンタ1の製造コストを削減させることができる。また、用紙切断機構30は他の駆動源に比べて、ロック部材14に近接して配置されているために、ロック部材14を簡単な構成で用紙切断機構30の動作に連動させ易く、従来のような複雑な制御や構成にする必要がない。
また、印刷動作を開始し、用紙切断機構30で可動刃35と固定刃36との間が開放すると同時に、ロック部材14が係合部12aに係合する位置から退避することで、開閉蓋12が開くので、開閉蓋12の開き忘れを防ぐことができる。
以上、本発明を上述したような実施形態と共に説明したが、本発明は上述した実施形態にのみ限定されるものではなく、本発明の範囲内で変更等が可能である。
例えば、本実施形態では、開閉蓋12がプリンタ1の開口部5の蓋と用紙積載部4の一部とを両立させる構成について説明したが、この場合に限られない。例えば、開閉蓋12が用紙積載部4の一部である必要はなく、防塵蓋の機能のみを有するものであってもよい。
また、本実施形態では、開閉蓋12をプリンタ1の開口部5に近接させて設ける場合について説明したが、この場合に限られず、プリンタ1の記録用紙の用紙搬送経路を閉塞したり開放したりする開閉蓋であれば、どのような蓋であってもよい。
また、本実施形態では、開閉蓋12が回動軸11aを中心に回動する場合について説明したが、この場合に限られず、スライド構造によって用紙搬送経路を閉塞したり開放したりする閉塞蓋であってもよい。
また、本実施形態では、ロック部材14が回動軸11bを中心に回動することにより、開閉蓋12の係合部12aと係合する位置に移動したり、係合部12aと係合する位置から退避する位置に移動したりする場合について説明したが、この場合に限らない。例えば、ロック部材をスライド可能に構成して、ロック部材がスライドすることにより、開閉蓋12の係合部12aと係合する位置に移動したり、係合部12aと係合する位置から退避する位置に移動したりする構成であってもよい。この場合、ロック部材をスライド方向であって、係合部12aと係合する方向にばねで付勢することが好ましい。さらに、ロック部材には開閉蓋12の当接部12cと当接する傾斜状のガイド部が形成されることが好ましい。また、傾斜状のガイド部は、ロック部14aおよび開閉蓋12の係合部12aの少なくとも何れか一方に形成してもよい。
また、本実施形態では、レバー部材32にベース部材33を結合し、ベース部材33がロック部材14と当接する構成について説明したが、この場合に限らない。例えば、ベース部材33とレバー部材32とを一体で形成してもよい。
また、本実施形態では、開閉蓋付勢ばね部材13により常時、開閉蓋12を開く方向に付勢する場合について説明したが、この場合に限られない。開閉蓋12が用紙搬送経路を開放する方向に力が加えられる構成であれば、自重を用いたりゴムを用いたりする構成であってもよい。
また、本実施形態では、ロック部材付勢ばね部材15により常時、ロック部材14を開閉蓋12の係合部12aと係合する方向に付勢する場合について説明したが、この場合に限られない。ロック部材14が開閉蓋12の係合部12aと係合する方向に力が加えられる構成であれば、自重を用いたりゴムを用いたりする構成であってもよい。
また、本実施形態では、印刷時に可動刃35の移動によって制御されるインターロック機構により、インクリボンカセットまたはロール紙カセットの脱着ができないようにする構成について説明したが、この場合に限られない。例えば、記録用紙の用紙搬送経路を確保する状態や記録用紙の搬送中に、インクリボンカセットまたはロール紙カセットの脱着ができないようにする構成であってもよい。
また、本実施形態では、プリンタ1として昇華型プリンタを例にして説明したが、この場合に限られず、他型のプリンタ、複写機、ファクシミリ装置または複合機に備えられているプリンタであってもよい。
1:プリンタ 4:用紙積載部 5:開口部 11:外装部材 11a:回動軸 11b:回動軸 11c:ばね保持部 11d:ストッパ 12:開閉蓋 12a:係合部 12b:係合孔 12c:当接部 13:開閉蓋付勢ばね部材 14:ロック部材 14a:ロック部 14b:カムフォロア部 14c:カムフォロア面 14d:ガイド部 15:ロック部材付勢ばね部材 30:用紙切断機構 31:駆動モータ 32:レバー部材 33:ベース部材 33a:カム部 33b:カム面 34:ギア列 35:可動刃 36:固定刃 41:用紙搬送ガイド部材 50:排紙機構 51:排紙ローラ 51a:駆動ローラ 51b:従動ローラ 52:排紙ガイド部材 P:記録用紙 Pr:用紙搬送経路

Claims (10)

  1. 記録用紙の用紙搬送経路を閉塞または開放する開閉蓋と、
    前記開閉蓋の係合部と係合することにより、前記開閉蓋を閉塞状態に保つロック部材であって、前記開閉蓋の係合部と係合可能な位置または前記開閉蓋の係合部と係合可能な位置から退避する位置に移動可能なロック部材と、を備えた印刷装置であって、
    前記ロック部材は、非印刷時には前記開閉蓋の係合部と係合可能な位置に移動しており、印刷時には前記開閉蓋の係合部と係合可能な位置から退避する位置に移動していることを特徴とする印刷装置。
  2. 前記記録用紙を切断する用紙切断機構を備え、
    前記ロック部材は、前記用紙切断機構の動作に連動して、前記開閉蓋の係合部と係合可能な位置または前記開閉蓋の係合部と係合可能な位置から退避する位置に移動することを特徴とする請求項1に記載の印刷装置。
  3. 前記用紙切断機構は、前記用紙搬送経路に対して略垂直方向に移動する可動刃と固定刃とを有し、
    前記ロック部材は、前記可動刃の動作に連動し、前記可動刃と前記固定刃との間が閉じている場合、前記開閉蓋の係合部と係合可能な位置になり、前記可動刃と前記固定刃との間が開いている場合、前記開閉蓋の係合部と係合可能な位置から退避する位置になることを特徴とする請求項2に記載の印刷装置。
  4. 前記可動刃と連動して動作するベース部材を備え、
    前記ベース部材および前記ロック部材の何れか一方には他方と当接するカム部が形成されていることを特徴とする請求項3に記載の印刷装置。
  5. 前記ロック部材は、回動自在に軸支され、
    前記ロック部材が一方の方向に回動することで、前記開閉蓋の係合部と係合可能な位置になり、他方の方向に回動することで、前記開閉蓋の係合部と係合可能な位置から退避する位置になることを特徴とする請求項1ないし4の何れか1項に記載の印刷装置。
  6. 前記ロック部材は、前記開閉蓋の係合部と係合するロック部が形成され、
    前記ロック部は、前記可動刃が移動する方向に対して略垂直方向に移動することで、前記開閉蓋の係合部と係合可能な位置または前記開閉蓋の係合部と係合可能な位置から退避する位置に移動することを特徴とする請求項3ないし5の何れか1項に記載の印刷装置。
  7. 前記開閉蓋は、前記用紙搬送経路を開放する方向に付勢されていることを特徴とする請求項1ないし6の何れか1項に記載の印刷装置。
  8. 前記ロック部材は、前記開閉蓋の係合部と係合する方向に付勢されていることを特徴とする請求項1ないし7の何れか1項に記載の印刷装置。
  9. 該印刷装置の電源がオフの状態では、
    前記可動刃と前記固定刃との間が閉じていることを特徴とする請求項3ないし8の何れか1項に記載の印刷装置。
  10. 前記開閉蓋は、前記用紙搬送経路を経て、排出された記録用紙を積載する用紙積載部の一部であることを特徴とする請求項1ないし9の何れか1項に記載の印刷装置。
JP2010163882A 2010-07-21 2010-07-21 印刷装置 Expired - Fee Related JP5578976B2 (ja)

Priority Applications (2)

Application Number Priority Date Filing Date Title
JP2010163882A JP5578976B2 (ja) 2010-07-21 2010-07-21 印刷装置
US13/184,898 US8740485B2 (en) 2010-07-21 2011-07-18 Printing apparatus including an open/close lid

Applications Claiming Priority (1)

Application Number Priority Date Filing Date Title
JP2010163882A JP5578976B2 (ja) 2010-07-21 2010-07-21 印刷装置

Publications (2)

Publication Number Publication Date
JP2012024969A true JP2012024969A (ja) 2012-02-09
JP5578976B2 JP5578976B2 (ja) 2014-08-27

Family

ID=45493733

Family Applications (1)

Application Number Title Priority Date Filing Date
JP2010163882A Expired - Fee Related JP5578976B2 (ja) 2010-07-21 2010-07-21 印刷装置

Country Status (2)

Country Link
US (1) US8740485B2 (ja)
JP (1) JP5578976B2 (ja)

Cited By (1)

* Cited by examiner, † Cited by third party
Publication number Priority date Publication date Assignee Title
JP2018144282A (ja) * 2017-03-02 2018-09-20 セイコーエプソン株式会社 搬送装置

Families Citing this family (3)

* Cited by examiner, † Cited by third party
Publication number Priority date Publication date Assignee Title
US10277519B2 (en) * 2006-01-31 2019-04-30 Silicon Laboratories Inc. Response time for a gateway connecting a lower bandwidth network with a higher speed network
JP5660072B2 (ja) * 2012-04-02 2015-01-28 コニカミノルタ株式会社 用紙処理装置及び画像形成システム
JP5856989B2 (ja) * 2013-02-26 2016-02-10 京セラドキュメントソリューションズ株式会社 画像形成装置

Citations (3)

* Cited by examiner, † Cited by third party
Publication number Priority date Publication date Assignee Title
JPH08274914A (ja) * 1995-03-30 1996-10-18 Nec Eng Ltd ファクシミリ装置
JP2000043370A (ja) * 1998-07-31 2000-02-15 Matsushita Electric Ind Co Ltd 印刷装置
JP2010137506A (ja) * 2008-12-15 2010-06-24 Canon Inc プリンタ装置

Family Cites Families (9)

* Cited by examiner, † Cited by third party
Publication number Priority date Publication date Assignee Title
JPH0642850Y2 (ja) * 1988-06-30 1994-11-09 沖電気工業株式会社 電子写真プリンタ
JPH04192396A (ja) * 1990-11-26 1992-07-10 Hitachi Ltd 電子機器筐体構造
JPH0867051A (ja) 1994-08-30 1996-03-12 Citizen Watch Co Ltd 熱転写型シリアルプリンタ外装ケースの構造
JPH1049498A (ja) * 1996-07-31 1998-02-20 Pentel Kk ハンディタ−ミナルの用紙排出部防水カバ−
JP2000127556A (ja) * 1998-10-30 2000-05-09 Seiko Epson Corp プリンタ
US7273325B2 (en) * 2003-08-12 2007-09-25 Fujitsu Component Limited Thermal printer and cutter
US7287850B2 (en) * 2004-01-22 2007-10-30 Casio Computer Co., Ltd. Portable electronic apparatus
JP4881031B2 (ja) 2006-02-20 2012-02-22 キヤノン株式会社 画像形成装置
US7785025B2 (en) * 2007-08-30 2010-08-31 International Business Machines Corporation Point of sale printer including an automated cover opening apparatus

Patent Citations (3)

* Cited by examiner, † Cited by third party
Publication number Priority date Publication date Assignee Title
JPH08274914A (ja) * 1995-03-30 1996-10-18 Nec Eng Ltd ファクシミリ装置
JP2000043370A (ja) * 1998-07-31 2000-02-15 Matsushita Electric Ind Co Ltd 印刷装置
JP2010137506A (ja) * 2008-12-15 2010-06-24 Canon Inc プリンタ装置

Cited By (1)

* Cited by examiner, † Cited by third party
Publication number Priority date Publication date Assignee Title
JP2018144282A (ja) * 2017-03-02 2018-09-20 セイコーエプソン株式会社 搬送装置

Also Published As

Publication number Publication date
US20120020717A1 (en) 2012-01-26
US8740485B2 (en) 2014-06-03
JP5578976B2 (ja) 2014-08-27

Similar Documents

Publication Publication Date Title
JP4877394B2 (ja) 画像記録装置
CN101445003B (zh) 记录设备
US9156637B2 (en) Tray unit and image recording device
JP5578976B2 (ja) 印刷装置
JP7002016B2 (ja) 画像記録装置
JP6368077B2 (ja) 記録装置
US20060181556A1 (en) Read/write processing device
JP2007160816A (ja) カバー開閉機構及び電子機器
US8317187B2 (en) Recording apparatus
JP6210281B2 (ja) 記録装置
JP2012001331A (ja) 画像記録装置
JP4497013B2 (ja) 被記録媒体の媒体給送装置及び該媒体給送装置を備えた記録装置と液体噴射装置
JP2010195005A (ja) 画像形成装置
JP7251285B2 (ja) 画像形成装置
JPH11208970A (ja) 画像形成装置
JP6683054B2 (ja) 給送装置、画像読取装置及び記録装置
JP4572337B2 (ja) 給紙装置及びこれを用いた情報処理装置
JP2004009404A (ja) インクジェット記録装置
JP5725223B2 (ja) 画像記録装置
JP2004167985A (ja) 画像形成装置
JP5776211B2 (ja) 記録媒体カセット
JP2006117389A (ja) 媒体給送装置の駆動方法、駆動制御プログラム及び記録装置
JP2011057354A (ja) 記録媒体搬送装置
JPH0541815U (ja) ジヤム処理装置
JP2010195547A (ja) プリンタ

Legal Events

Date Code Title Description
A621 Written request for application examination

Free format text: JAPANESE INTERMEDIATE CODE: A621

Effective date: 20130705

A977 Report on retrieval

Free format text: JAPANESE INTERMEDIATE CODE: A971007

Effective date: 20140306

A131 Notification of reasons for refusal

Free format text: JAPANESE INTERMEDIATE CODE: A131

Effective date: 20140311

A521 Written amendment

Free format text: JAPANESE INTERMEDIATE CODE: A523

Effective date: 20140501

TRDD Decision of grant or rejection written
A01 Written decision to grant a patent or to grant a registration (utility model)

Free format text: JAPANESE INTERMEDIATE CODE: A01

Effective date: 20140610

A61 First payment of annual fees (during grant procedure)

Free format text: JAPANESE INTERMEDIATE CODE: A61

Effective date: 20140708

LAPS Cancellation because of no payment of annual fees