JP2012024959A - 保持部材の取付位置の確認方法、保持部材、及び記録装置 - Google Patents

保持部材の取付位置の確認方法、保持部材、及び記録装置 Download PDF

Info

Publication number
JP2012024959A
JP2012024959A JP2010163656A JP2010163656A JP2012024959A JP 2012024959 A JP2012024959 A JP 2012024959A JP 2010163656 A JP2010163656 A JP 2010163656A JP 2010163656 A JP2010163656 A JP 2010163656A JP 2012024959 A JP2012024959 A JP 2012024959A
Authority
JP
Japan
Prior art keywords
holding member
recording medium
roll paper
recording
opening
Prior art date
Legal status (The legal status is an assumption and is not a legal conclusion. Google has not performed a legal analysis and makes no representation as to the accuracy of the status listed.)
Granted
Application number
JP2010163656A
Other languages
English (en)
Other versions
JP5552935B2 (ja
Inventor
Satoru Kataue
悟 片上
Shigeki Kato
茂樹 加藤
Current Assignee (The listed assignees may be inaccurate. Google has not performed a legal analysis and makes no representation or warranty as to the accuracy of the list.)
Seiko Epson Corp
Original Assignee
Seiko Epson Corp
Priority date (The priority date is an assumption and is not a legal conclusion. Google has not performed a legal analysis and makes no representation as to the accuracy of the date listed.)
Filing date
Publication date
Application filed by Seiko Epson Corp filed Critical Seiko Epson Corp
Priority to JP2010163656A priority Critical patent/JP5552935B2/ja
Publication of JP2012024959A publication Critical patent/JP2012024959A/ja
Application granted granted Critical
Publication of JP5552935B2 publication Critical patent/JP5552935B2/ja
Expired - Fee Related legal-status Critical Current
Anticipated expiration legal-status Critical

Links

Images

Classifications

    • BPERFORMING OPERATIONS; TRANSPORTING
    • B41PRINTING; LINING MACHINES; TYPEWRITERS; STAMPS
    • B41JTYPEWRITERS; SELECTIVE PRINTING MECHANISMS, i.e. MECHANISMS PRINTING OTHERWISE THAN FROM A FORME; CORRECTION OF TYPOGRAPHICAL ERRORS
    • B41J11/00Devices or arrangements  of selective printing mechanisms, e.g. ink-jet printers or thermal printers, for supporting or handling copy material in sheet or web form
    • B41J11/0045Guides for printing material

Landscapes

  • Handling Of Continuous Sheets Of Paper (AREA)
  • Ink Jet (AREA)

Abstract

【課題】保持部材が所定の位置に取り付けられているか否かを確実に確認できる保持部材の取付位置の確認方法、保持部材、及び記録装置を提供する。
【解決手段】媒体支持面で被記録媒体の裏面を吸着保持する媒体支持部と、被記録媒体の搬送方向と略直交する方向の側縁部において被記録媒体を覆って保持する保持部材と、を備えた記録装置における被記録媒体に対する保持部材の取付位置の確認方法である。被記録媒体の幅方向におけるエッチ又は保持部材に形成された被記録媒体に対する位置決め用の開口部の幅方向におけるエッチを検出する検出部が被記録媒体の幅方向に沿って保持部材側に走査する位置検出工程を有する。この位置検出工程は、第1のエッチを検出する第1の検出ステップS1と、第2のエッチを検出する第2の検出ステップS2と、第3のエッチを検出する第3の検出ステップS3と、を含む。
【選択図】図6

Description

本発明は、保持部材の取付位置の確認方法、保持部材、及び記録装置に関するものである。
従来では、被記録媒体において、何らかの原因によってカールが生じた場合の対策として、被記録媒体の両側部に薄い樹脂シートからなる押さえ部材(保持部材)を設け、押さえ部材とプラテンの媒体支持面との間に形成された隙間に被記録媒体を挿入することにより、カールに起因する不具合を回避する技術が提供されている(例えば、特許文献1参照)。
特開平8−197799号公報
しかしながら、上述したような従来技術には、以下のような問題が存在する。
押さえ部材の取り付け時に位置ズレが生じると、押さえ部材が記録ヘッドの記録領域に重なることで記録動作を妨げてしまう、或いは押さえ部材が被記録媒体を確実に押さえることができないといった問題を生じさせてしまう。
本発明はこのような事情に鑑みてなされたものであって、保持部材が所定の位置に取り付けられているか否かを確実に確認できる保持部材の取付位置の確認方法、保持部材、及び記録装置を提供することを目的とする。
上記の課題を解決するために、本発明の保持部材の取付位置の確認方法は、媒体支持面で被記録媒体の裏面を吸着保持する媒体支持部と、前記被記録媒体の搬送方向と略直交する方向の側縁部において前記被記録媒体を覆って保持する保持部材と、を備えた記録装置における前記被記録媒体に対する前記保持部材の取付位置の確認方法であって、前記被記録媒体の幅方向におけるエッチ又は前記保持部材に形成された前記被記録媒体に対する位置決め用の開口部の前記幅方向におけるエッチを検出する検出部が前記被記録媒体の幅方向に沿って前記保持部材側に走査する位置検出工程を有し、前記位置検出工程は、第1のエッチを検出する第1の検出ステップと、前記第1のエッチを検出した場合において、第2のエッチを検出する第2の検出ステップと、前記第2のエッチを検出した場合において、第3のエッチを検出する第3の検出ステップと、を含むことを特徴とする。
本発明の保持部材の取付方法によれば、第1〜第3の検出ステップにより被記録媒体のエッチ及び開口部のエッチを検出することができ、検出したエッチに基づき、被記録媒体に対する保持部材の位置が良好であるか否かを検出することができる。また、保持部材は開口部以外の領域にて被記録媒体の側縁部を覆っているので、被記録媒体の搬送する場合であっても該被記録媒体が保持部材に引っ掛かる等の不具合が生じることを防止できる。
また、上記保持部材の取付位置の確認方法においては、前記検出部は、前記保持部材における前記被記録媒体の搬送方向上流側において前記位置検出工程を行うのが好ましい。
この構成によれば、被記録媒体の搬送方向上流側において保持部材の取付位置を確認できるので、取付位置不良により良好に保持部材により保持されていない被記録媒体が記録装置による記録領域に搬送されてしまうのを防止できる。
本発明の保持部材は、媒体支持面で被記録媒体の裏面を吸着保持する媒体支持部を備えた記録装置に用いられ、前記被記録媒体の搬送方向と略直交する方向の側縁部において前記被記録媒体を覆って保持する保持部材であって、前記被記録媒体の端部に対する位置合わせを行うための位置合わせマークと、前記位置合わせマークに隣接して配置される開口部と、を有することを特徴とする。
本発明の保持部材によれば、位置合わせマークを参照しつつ、開口部内に被記録媒体の端部を配置することで被記録媒体との位置合わせ作業を容易に行うことができる。また、例えば開口部を介して被記録媒体の端部を検出することで、被記録媒体に対する保持部材の取付位置の確認を容易に行うことができる。また、保持部材は開口部以外の領域において被記録媒体の側縁部を覆っているので、被記録媒体の搬送時に該被記録媒体が保持部材に引っ掛る等の不具合を生じることがない。
上記保持部材においては、前記位置合わせマークは、前記保持部材の延在方向に沿って延びる一対の直線部からなるのが好ましい。
この構成によれば、例えば、一対の直線部の間に被記録媒体の端部を配置するように被記録媒体に対する保持部材の位置合わせ作業を行うことで、位置合わせ作業を効率的に行うことができる。
上記保持部材においては、略矩形状からなる前記開口部は前記一対の直線部の延在方向における一端に配置されており、該開口部は前記一対の直線部の中心線に対して対称となっているのが望ましい。
この構成によれば、開口部の中心に被記録媒体の端部が一致すると一対の直線部間に被記録媒体の端部が配置されることとなるので、開口部及び一対の直線部を参照することで保持部材による位置合わせ作業を効率的に行うことができる。
本発明の記録装置は、媒体支持面で被記録媒体の裏面を吸着保持する媒体支持部と、前記被記録媒体の搬送方向と略直交する方向の側縁部において前記被記録媒体を覆って保持する上記保持部材と、前記開口部を用いて前記被記録媒体の側縁部を検出し、前記保持部材との前記被記録媒体との位置関係を検出する検出部と、を備えることを特徴とする。
本発明の記録装置によれば、保持部材の開口部を用いて被記録媒体の端部及び保持部材の開口部との位置を検出することができる。これにより、被記録媒体に対する保持部材の位置を良好に検出することができ、該検出結果に基づいて保持部材の位置調整を行うことで保持部材を被記録媒体に対して所定の位置に取り付けることができる。
本発明に係るプリンターの全体の概略を示す側面図。 本発明に係るプリンターに係る平面図。 (a)(b)は本発明のカール押さえ手段の作用を示す正面断面図。 保持部材の要部を示す拡大図。 開口部及び直線部の寸法関係の一例を示す図。 位置検出工程を示すフローチャート図。 被記録媒体の端部と保持部材の位置関係を示す図。
以下、本発明の記録装置の実施の形態を、図1ないし図7を参照して説明する。
なお、以下の実施の実施形態は、本発明の一態様を示すものであり、この発明を限定するものではなく、本発明の技術的思想の範囲内で任意に変更可能である。また、以下の図面においては、各構成をわかりやすくするために、実際の構造と各構造における縮尺や数等を異ならせている。
図1に示すのは、本発明に係る「記録装置」の一例として示される「液体噴射装置」としてのインクジェットプリンター(以下「プリンター」と言う)1の全体の概略を示す側面図である。また、図2に示すのはプリンター1に係る平面図である。
ここで、液体噴射装置とは、液体噴射ヘッドとしての記録ヘッドから記録紙等の被記録材へインクを噴射して被記録材への記録を実行するインクジェット式噴射装置や、複写機及びファクシミリ等の記録装置に用いられ、インクに代えて特定の用途に対応する液体を前述した記録ヘッドに相当する液体噴射ヘッドから、被記録材に相当する被噴射材に噴射して、液体を被噴射材に付着させて記録する記録装置に含まれるものである。
またさらに、液体噴射ヘッドとしては、前述した記録ヘッド以外に、液晶ディスプレイ等のカラーフィルタ製造に用いられる色材噴射ヘッド、有機ELディスプレイや面発光ディスプレイ(FED)等の電極形成に用いられる電極材(導電ペースト)噴射ヘッド、バイオチップ製造に用いられる生体有機物噴射ヘッド、精密ピペットとしての試料を噴射する試料噴射ヘッド等が挙げられる。
図1および図2に示す如く、プリンター1は、給送部10と、記録部20と、排出部40とを備えている。このうち、給送部10は、被噴射媒体および被記録媒体の一例であるロール紙Rを記録部20へ給送することができるように設けられている。
具体的には、ロール媒体ホルダ11を有し、ロール媒体ホルダ11がロール状のロール紙Rを保持している。そして、ロール状のロール紙Rを回動させることにより、送り方向下流側(搬送方向;Y軸の矢印方向)の記録部20へ第1ローラー12を介してロール状態を解いた状態のロール紙Rを給送することができるように構成されている。
尚、本実施形態では、被記録媒体の一例としてロール紙Rを挙げて説明するが、単票紙やフィルム材でもよいのは勿論である。
また、記録部20は、給送部10から送られたロール紙Rに対して液体(流体)の一例であるインクを吐出して記録を実行することができるように設けられている。
具体的には、媒体支持部であるプラテン24と、キャリッジ21と、記録ヘッド22と、カール押さえ手段30とを有している。このうち、プラテン24は、支持面(媒体支持面)24aにおいてロール紙Rを裏面から支持することができるように設けられている。
また、キャリッジ21は、プラテン24と対向し、図示しない第1ガイド軸に案内されながら、図示しないキャリッジモーターの動力によって、ロール紙Rの送り方向Yに移動することができるように設けられている。
尚、図1に示すのは、プラテン24より送り方向上流側へ退避した状態である。キャリッジ21がプラテン24より上流側へ移動可能に設けられているのは、後述するカール押さえ部材31の取り付け・取り外しおよび幅方向Xへの移動をオペレーターが容易に行うことができるようにするためである。
記録ヘッド22は、キャリッジ21に設けられ、送り方向Yにおいてキャリッジ21と一体に移動することができるように設けられている。さらに、記録ヘッド22は、ロール紙Rの幅方向であるX方向において、キャリッジ21に対して相対的に移動することができるように構成されている。具体的には、図示しない第2ガイド軸に案内されながら、図示しない記録ヘッドモーターの動力によって、幅方向Xに移動することができるように設けられている。即ち、記録ヘッド22は、プラテン24と対向する範囲において、送り方向Yおよび幅方向Xへ2次元で移動することができるように構成されている。そして、記録ヘッド22におけるプラテン24と対向する面に設けられたノズル列23からインクを吐出することにより、ロール紙Rに対する記録処理を実行することができる。
またさらに、プラテン24には、吸引手段28、圧力室27、複数の吸引孔26、26…および加熱手段25が設けられている。このうち、吸引手段28は、圧力室27の内部の空気を吸引して負圧にすることができるように設けられている。具体的には、一例である軸流ファン29を有し、軸流ファン29が圧力室27の内部の空気を吸引するように構成されている。
また、圧力室27は、プラテン24におけるロール紙Rを支持する側である鉛直方向上方(Z軸の矢印方向)に設けられた複数の吸引孔26、26…と繋がっている。従って、吸引手段28の吸引により、複数の吸引孔26、26…を介してプラテン24の上方の空気を吸引することができる。尚、本実施形態では、吸引孔26、26…をプラテン24の全領域に設けたが、少なくとも、ロール紙Rの両側側縁および一対のカール押さえ部材31,32と対向する範囲に設ければよい。
また、加熱手段25は、プラテン24上のロール紙Rを加熱することができるように設けられている。記録実行に伴い、ロール紙Rの表面に着弾したインクの乾燥を促進するためである。具体的には、一例であるニクロム線25aを有している。ニクロム線25aは、プラテン24全領域の内部に、プラテン24の上面から一定の距離となるように配設されている。そして、通電されることにより、ニクロム線25a自体が発熱し、プラテン24を介して接触しているプラテン24上のロール紙Rの裏面へ熱を伝導することができる。
ここで、ニクロム線25aは、プラテン24の全領域に設けられているので、プラテン24の全領域において発熱することができる。そして、プラテン24上は、凹凸のない滑らかな面となっているので、プラテン24の上面は、ロール紙Rと均一に接触することができる。また、ニクロム線25aからプラテン24の上面までの距離は一定である。従って、プラテン24上のロール紙Rに対して熱を均一に伝導することができる。即ち、ロール紙Rを均一に温めることができる。
その結果、ロール紙Rの同じ箇所にインクを重ねて吐出する所謂、重ね打ちを実行してもインクが濁ったり、滲んだりする虞がない。即ち、重ねてインクを吐出するときまでに、前に吐出したインクを既に乾燥させておくことができるので、重ね打ちを実行してもインクが濁ったり、滲んだりする虞がない。また、記録時にロール紙Rに着弾したインクをすぐに乾燥させることができるので、後述する排出部40において巻き取られても、ロール紙Rの表面のインクが先行するロール紙Rの裏面に付着する虞がない。
カール押さえ手段30は、ロール紙Rの幅方向の側縁部R1を押さえて保持することにより、ロール紙Rの側縁部R1がカールしてプラテン24から離間する力である所謂、浮き上がり力に対抗する。そして、ロール紙Rの側縁部R1の浮き上がりを防止するように構成されている。具体的には、カール押さえ手段30は、プラテン24と、可撓性素材で一例としてフィルム状に形成された一対のカール押さえ部材(保持部材)31、32と、複数の吸引孔26、26…と、吸引手段28とから構成されている。
詳しくは、後述するようにロール紙Rの側縁部R1において、プラテン24と、カール押さえ部材31,32と、ロール紙Rとによって密閉空間A(図3(a)参照)が構成される。そして、吸引孔26、26…を介して吸引手段28が該密閉空間Aの内部の空気を吸引することにより、カール押さえ部材31,32がロール紙Rの側縁部R1を上から押さえ付けるように作用する。
本実施例では、カール押さえ部材31,32は、柔軟性および可撓性を有した帯状の薄いフィルム状に形成されている。ヤング率は10000MPa(メガパスカル)以下であり、厚みは0.5mm以下である。素材は、例えば「ポリイミド」等が挙げられる。
図1及び図2に示すように、プラテン24より送り方向(搬送方向)上流側(−Y側)には、第1カール押さえ取り付け部35が配設されている。一方、プラテン24より送り方向下流側(+Y側)には、第2カール押さえ取り付け部36が配設されている。
一対のカール押さえ部材31、32の一端は、固定用ピン37および固定用補助部材38によって、第1カール押さえ取り付け部35に取り付けられている。本実施形態では、カール押さえ部材31の一端が第1カール押さえ取り付け部35において幅方向Xへ延設された第1長穴部35aに、固定用ピン37が嵌合することにより、X方向の位置が調整可能な状態となっている。カール押さえ部材32の一端が第1カール押さえ取り付け部35に固定されている。
一方、一対のカール押さえ部材31、32の他端は、前記一端と同様に固定用ピン37および固定用補助部材38によって、第2カール押さえ取り付け部36に取り付けられている。第2カール押さえ取り付け部36は、プリンター1の基体部2に固定されている。
カール押さえ部材31の他端は、第2カール押さえ取り付け部36において幅方向Xへ延設された第2長穴部36aに、固定用ピン37…が嵌合することにより、X方向の位置が調整可能な状態で取り付けられる。また、カール押さえ部材32の他端が第2カール押さえ取り付け部36に固定されている。このように本実施形態では、カール押さえ部材31が第1長穴部35a及び第2長穴部36aに沿って移動することで、一対のカール押さえ部材31、32の間隔を種々の記録部20の幅に対応可能としている。
続いて、カール押さえ手段31、32の具体的な構成及びその作用について説明する。
図3は、プラテン24においてX方向に沿って断面した図であり、図3(a)はカール押さえ部材をロール紙の側縁部に乗せたときに、密閉空間が形成された様子を示す図であり、図3(b)は吸引手段によって密閉空間が略消滅し、ロール紙の側端の浮き上がりが無くなった様子を示す図である。
図3(a),(b)に示すように、各カール押さえ部材31、32は、プラテン24上にロール紙Rとは間隔をあけて配置されるベース部51と、ベース部51上に設けられベース部51から支持面24a上に延出してロール紙Rの側縁部R1を被覆し、支持面24aとの間でロール紙Rを保持する保持部材52とを有している。ベース部51はロール紙Rと略同じ厚みに設定されており、保持部材52がロール紙Rを保持する際に当該保持部材52の下面とロール紙Rの上面とが面一になるようにしている。
図3(a)に示すように、ロール紙Rがプラテン24上に設けられた状態でオペレーターが一対のカール押さえ部材31、32の位置を幅方向Xにおいて、ロール紙Rの側縁部R1と対向する位置に合わせる。具体的には、固定用ピン37…を緩め、オペレーターがカール押さえ部材31を第1長穴部35a及び第2長穴部36aに沿って移動することで、一対のカール押さえ部材31、32の間隔をロール紙Rの紙幅に合わせる。そして、カール押さえ部材31がロール紙Rの側縁部R1の上に乗るように配置する。なお、本実施形態に係るカール押さえ部材32は、ロール紙Rがセットされると該ロール紙Rの側縁部R1の上に乗るように固定されている。
このとき、カール押さえ部材31、32の中、ベース部51はロール紙Rと離間し、保持部材52はロール紙Rの側縁部R1を覆うように配置する。その後、固定用ピン37…を締めて固定する。
ロール紙Rの側縁部R1は、加熱手段25により加熱され、カールする傾向にある。従って、側縁部R1は、上方へ浮き上がるようにカールする。
そこで、一対のカール押さえ部材31、32の保持部材52をロール紙Rの側縁部R1に乗せて、プラテン24、ロール紙Rの側縁部R1近傍および保持部材52によって送り方向Yから視て三角形の密閉空間Aを構成する。
即ち、プラテン24を底辺、ロール紙Rの側縁部R1近傍を一の斜辺、保持部材52を他の斜辺とした閉じられた三角形の密閉空間Aである。
ここで、一対のカール押さえ部材31、32には、下方へ押さえる力が多少なりとも作用しているので、一対のカール押さえ部材31,32の一の側端E1をプラテン24と少なくとも線接触させることができる。同様に、一対のカール押さえ部材31,32の他の側端E2側の面をロール紙Rの側縁部R1と少なくとも線接触させることができる。
また、複数の吸引孔26、26…は、プラテン24上の領域において、少なくともロール紙Rの側縁部R1、R1およびカール押さえ部材31,32と対向する領域に設けられている。従って、吸引手段28は、密閉空間Aの空気を、吸引孔26、26…を介して吸引することができる。
図3(b)に示したように、吸引孔26、26…を介して密閉空間Aの空気が吸引されると、密閉空間Aの内部が負圧となる。従って、ロール紙Rの両側側縁部R1、R1および一対のカール押さえ部材31,32は、プラテン24の支持面24aに密に接触した状態となる。即ち、ロール紙Rは、側縁部R1も含めてプラテン24の支持面24aに吸着保持された状態となる。
このとき、ロール紙Rを下方へ「押さえる力」は、「吸引力」と「空間表面積」との積となる。ここで、「吸引力」とは、吸引手段28が吸引孔26、26…を介して吸引する圧力をいう。また、「空間表面積」とは、密閉空間Aの空気がカール押さえ部材31およびロール紙Rの側縁部R1近傍と接触する面積をいう。
従って、カール押さえ部材31を有さない構成と比較して、大きな力でロール紙Rの側縁部R1を押さえることができる。その結果、ロール紙Rの浮き上がり力に十分に対抗することができ、ロール紙Rの両側側縁部R1、R1を、プラテン24に密に接触させることができる。即ち、結果的に浮き上がりを防止することができる。
ここで、仮に、ロール紙Rの両側側縁部R1、R1の浮き上がり力が徐々に強くなり、一対のカール押さえ部材31,32を上方へ押し上げるように作用した場合、再び、密閉空間Aが大きく形成されようとするが、負圧が非常に強く作用する。従って、一度、図3(b)のように密閉空間Aが消滅した後は、吸引手段28がOFFにならない限り、ロール紙Rの両側側縁部R1、R1が浮き上がる虞は殆どない。
なお、カール押さえ部材31,32は、前述したように可撓性素材で形成されているので、仮に記録ヘッド22と接触した場合であっても、記録ヘッド22が破損する虞は殆どない。
ところで、カール押さえ部材31の位置を固定する際、何らかの理由により当該カール押さえ部材31がロール紙Rの側縁部R1に対して位置がずれる虞がある。このような位置ズレがカール押さえ部材31に生じると、ロール紙Rの側縁部R1のカールを良好に防止できなくなる、或いは記録部20の記録領域にカール押さえ部材31が重なることで記録動作が妨げられるといった不具合が生じる可能性がある。
そこで、本実施形態に係るプリンター1は、オペレーターがカール押さえ部材31を取り付けた後、記録動作を行うに先んじてカール押さえ部材31のロール紙Rに対する取付位置を確認するようにしている。この取付位置の確認により、カール押さえ部材31の取付位置が不良であると判定された場合、オペレーターは再度カール押さえ部材31の位置を調整する。そして、その後、再度、カール押さえ部材31の取付位置を確認する。これにより、プリンター1は、カール押さえ部材31がロール紙Rに対して所定の位置に配置された状態で信頼性の高い記録動作を行うことができる。
プリンター1は、カール押さえ部材31における保持部材52と、ロール紙Rの幅方向(X方向)における端部とが所定の位置関係に配置されているか否かの検出を行うための位置検出部(検出部)60を備えている。プリンター1は、不図示の制御装置を備えており、制御装置は上述したキャリッジ21、記録ヘッド22の駆動やロール紙Rの搬送、吸引手段28、加熱手段25、位置検出部60の駆動等を統括的に制御する。
位置検出部60は、上記エッチを検出するためのセンサー62を主体として構成され、このセンサー62はロール紙Rの紙幅方向(X方向)に沿って移動可能とされており、詳細については後述するが、例えば保持部材52或いはロール紙Rからの反射光を検出し、これにより紙端の有無を検出できる反射型センサーから構成されている。なお、センサー62はロール紙Rの紙端を検出するセンサーとしても機能する。
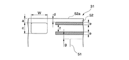
図4はカール押さえ部材31の保持部材52の要部を示す拡大図である。
保持部材52は、図4に示す予に該保持部材52の延在方向(Y方向)に沿って延び、各々が平行に配置された一対の直線部60a、60b(位置合わせマーク)と、直線部60a、60bの一端(第1カール押さえ取り付け部35)側に設けられた開口部61と、を有している。なお、センサー62は開口部61の中央部を通過する延長線上をX方向に沿って移動可能に設けられている。すなわち、開口部61は直線部60a,60bの中心線に対して対称となっている。この構成によれば、一対の直線部60a、60bを参照しつつ、開口部61内にロール紙Rの紙端を配置することでロール紙Rとの位置合わせ作業を容易に行うことができる。また、後述のように開口部61を介してロール紙Rの端部を検出することで、ロール紙Rに対する保持部材52の取付位置の確認を容易に行うことが可能となっている。また、保持部材52は開口部61以外の領域においてロール紙Rの側縁部を覆っているため、ロール紙Rの搬送時に該ロール紙Rが保持部材52に引っ掛る等の不具合を生じることがない。
本実施形態では、開口部61がロール紙Rの搬送方向上流側に形成されている。これにより、ロール紙Rの搬送方向上流側において保持部材52の取付位置を確認できるので、取付位置不良により保持部材によって良好に保持されていないロール紙Rが記録部20の下方に搬送されてしまうのを防止している。
図4に示すように、開口部61は略矩形状からなり四隅がR面取り加工されている。このように四隅をR面取り加工することで開口部61の角部から保持部材52に切り込みが入る等の不具合を防止し、保持部材52の強度を向上させている。また、開口部61の横方向(同図Y方向)における寸法をWとし、カール押さえ部材31等の組立公差を±αとした場合、W=2αの関係を満たすのが好ましい。このような寸法で開口部61を形成することで保持部材52の取付位置にバラツキが生じた場合でも位置検出部60が開口部61内のロール紙Rを確実に検出できるようになっている。また、開口部61の縦方向(同図X方向)における中央部の延長上は位置検出部60を構成する直線部60a、60bの中央部に一致するのが好ましい。このようにすれば、オペレーターがカール押さえ部材31の保持部材52とロール紙Rとを位置合わせする際、開口部61を目安として例えば一対の直線部60a、60bの間にロール紙Rの紙端を配置するようにロール紙Rに対する保持部材52の位置合わせ作業を行うことができる。なお、開口部61の中心にロール紙Rの端部が一致すると一対の直線部60a,60b間にロール紙Rの紙端が配置されることとなる。よって、オペレーターの保持部材52の位置決め時の作業性を向上させている。
図5は本実施形態における保持部材52における開口部61及び直線部60a、60b等の寸法関係の一例を示す図である。図5に示すように、開口部61は保持部材52の端部から寸法Wが2mmに設定されており、上記横方向(同図Y方向)の寸法bが5mm、上記縦方向の(同図X方向)の寸法cが4.1mmとなっている。また、直線部60aは保持部材52の端部52aからの寸法dが1.5mmに設定され、その幅eは1.5mmに設定されている。また、直線部60bは直線部60aに対する間隔fが2.1mmに設定されており、直線部60aと同様、その幅eは1.5mmに設定されている。また、直線部60bから寸法gとして0.1mmだけ離間した位置にベース部51が配置されている。
次に、プリンター1が行う上記取付方法の確認方法について詳述する。この確認方法は、位置検出部60がロール紙Rの幅方向である−X方向に走査することでロール紙Rの幅方向におけるエッチ又は保持部材52の開口部61の幅方向(X方向)におけるエッチを検出する位置検出工程を含んでいる。
(位置検出工程)
図6は位置検出工程を示すフローチャート図であり、図7は被記録媒体の端部と保持部材の位置関係を示す図である。
位置検出工程では検出部62がロール紙R及び開口部61の開口端を検出することでロール紙Rに対するカール押さえ部材31の取り付け位置が正しいか否かを検出することができる。位置検出工程は、第1のエッチを検出する第1の検出ステップS1と、第1のエッチを検出した場合において、第2のエッチを検出する第2の検出ステップと、第2のエッチを検出した場合において、第3のエッチを検出する第3の検出ステップと、を含む。
プリンター1は、まず第1の検出ステップS1を開始する。
第1の検出ステップS1では、検出部62がロール紙Rの紙端の内側の所定位置(例えば、3mm内側の位置)から外側に向かって5mmだけ移動し、この間に第1のエッチを検出する。ここで、本実施形態に係るセンサー62は反射型センサーであるため、ロール紙R及び押さえ部材52と対向する場合にはロール紙R及び押さえ部材52の表面による反射光を受光する(以下、反射光を受光する場合を「センサーON状態」と称する)。一方、センサー62がロール紙Rの紙端或いは開口部61と対向する場合には反射光を受光しないこととなる(以下、反射光を受光しない場合を「センサーOFF状態」と称する)。
ここで、保持部材52とロール紙Rの紙端との位置関係としては、第1として、図7(a)に示されるように保持部材52とロール紙Rの紙端とが平面視で重なっており、且つロール紙Rが開口部61を覆っている状態がある。また、第2として、図7(b)に示されるように保持部材52とロール紙Rの紙端とが平面視で重なっており、且つ保持部材52が端部52a及び開口部61の外側端部61a間に位置している状態がある。
また、第3として、図7(c)に示されるようにロール紙Rの紙端が開口部61内に位置するものの直線部60aに重なっている状態がある。また、第4として、図7(d)に示されるようにロール紙Rの紙端が開口部61内の所定の範囲(直線部60a、60bの間)に位置している状態がある。また、第5として、図7(e)に示されるようにロール紙Rの紙端が開口部61内に位置するものの直線部60bに重なっている状態がある。また、第6として、図7(f)に示されるようにロール紙Rの紙端と保持部材52とが重なっていない状態がある。
図7(a)に示した状態では、センサー62が所定位置から5mm移動したとしても開口部61或いはロール紙Rの紙端を検出することができない。すなわち、センサー62は第1のエッチを検出することができない。この場合、センサー62はON状態のままとなる。したがって、プリンター1は、センサー62がON状態を検出した場合(YESの場合)、オペレーターに対してエラー信号を通知する。これにより、カール押さえ部材31がロール紙Rに対して所定の位置に取り付けられていないことをオペレーターに通知し、カール押さえ部材31の取付位置の調整を行わせることができる。
一方、センサー62がOFF状態を検出した場合(NOの場合)、プリンター1は第2の検出ステップS2を行う。第1の検出ステップS1においてセンサー62がOFF状態を検出した場合とは、センサー62が第1のエッチとしてロール紙Rの紙端(例えば、図7(d)、(f)の場合)或いは開口部61の開口端(例えば、図7(b)の場合)のいずれかを検出したことを意味する。この場合、図7(b)〜(f)の状態のいずれとなっている。
第2の検出ステップS2では、センサー62がさらに3.1mmだけ移動し、第2のエッチとして開口部61の外側端部61a又は内側端部61bを検出する。ここで、図7(b)、(c)に示した状態では、センサー62が3.1mm移動したとしても開口部61の縦方向の寸法4.1mmを超えることがないので、開口部61の外側端部61aが検出されない。この場合、センサー62はOFF状態のままとなる。したがって、プリンター1は、センサー62がOFF状態のままである場合(NOの場合)、オペレーターに対してエラー信号を通知する。これにより、カール押さえ部材31がロール紙Rに対して所定の位置に取り付けられていないことをオペレーターに通知し、カール押さえ部材31の取付位置の調整を行わせることができる。
また、図7(e)に示される状態では、センサー62は1.0mm移動するまでに開口部61の内側端部61bが検出され、ON状態を検出する。すなわち、センサー62が1.0mmよりも短い距離移動する間にON状態を検出した場合(NOの場合)、オペレーターに対してエラー信号を通知する。
また、図7(f)に示される状態においてロール紙Rと保持部材52とが3.1mmよりも長い距離離間していると、センサー62がOFF状態のままとなるので、オペレーターに対してエラー信号を通知する。これにより、図7(f)の状態を判別することができる。
ところで、図7(e)に示される状態においてロール紙Rと保持部材52とが3.1mmよりも短い距離離間していると、第1の検出ステップS1においてセンサー62がロール紙Rの紙端によりOFF状態を検出し、第2の検出ステップS2においてセンサー62が保持部材52の端部52aによりON状態を検出する可能性がある。
そこで、本実施形態では第2の検出ステップS2においてセンサー62がON状態を検出した場合(YESの場合)、第3の検出ステップS3を行うようにしている。第3の検出ステップS3では、検出部62がさらに3.1mmだけ移動する。
図7(d)に示されるようにロール紙Rの紙端が所定の範囲(直線部60a、60bの間)に位置している場合、センサー62が3.1mmだけ移動する間に開口部61の内側端部61bを検出し、ON状態(YESの場合)となる。なお、ロール紙Rの紙端が直線部60aの内側端部或いは直線部60bの内側端部に重なっている場合(同図中一点鎖線で示される場合)においては、センサー62が1.0mm以上3.1mm以下だけ移動する間に開口部61の内側端部61bを検出し、ON状態(YESの場合)となる。
一方、図7(e)に示される状態においてロール紙Rと保持部材52とが1.0mmよりも短い場合、センサー62が3.1mmだけ移動する間に開口部61の外側端部61aを必ず検出し、ON状態(NOの場合)となる。このように第3の検出ステップS3により、図7(e)に示される状態においてロール紙Rと保持部材52とが1.0mmよりも短い場合を除外することができる。
このように第1の検出ステップS1乃至第3の検出ステップS3を経ることで、カール押さえ部材31がロール紙Rに対して所定の位置に取り付けられているかを検出することができる。したがって、オペレーターは上記位置検出工程に基づき、カール押さえ部材31を所定の位置に取り付けられることができる。
以上述べたように、本実施形態に係るプリンター1によれば、カール押さえ部材31,32がロール紙Rを安定して保持するので、記録部20による記録動作を良好に行うことができる。
また、本実施形態に係るプリンター1によれば、保持部材52に形成した開口部61を介してセンサー62がロール紙Rの紙端を検出可能となっている。そのため、保持部材52におけるセンサー62の移動領域に対応する部分を切り欠く等の加工を行う必要が無いため、ロール紙Rが保持部材52の切欠部分に引っ掛かることで保持部材52が切れる等の不具合の発生を防止できる。
以上、添付図面を参照しながら本発明に係る好適な実施形態について説明したが、本発明は係る例に限定されないことは言うまでもない。上述した例において示した各構成部材の諸形状や組み合わせ等は一例であって、本発明の主旨から逸脱しない範囲において設計要求等に基づき種々変更可能である。
例えば、上記実施形態では、カール押さえ部材32を固定し、カール押さえ部材31のみを移動することで種々のロール紙Rに対応させる構成としたが、カール押さえ部材32が第1長穴部35a及び第2長穴部36aに沿って移動する構成であってもよい。この場合において、カール押さえ部材32についても位置検出部60を設けるようにしてもよい。
また、上記実施形態では、加熱手段25が熱伝導式(接触式ともいう)の構成としたが、対流式でもよい。ここで、「熱伝導式」とは、物体の内部を通って高温部から低温部へ熱を伝える方式をいう。即ち、高温の物体がロール紙と接触することにより、ロール紙側へ熱を伝導する方式である。また、「対流式」とは、気体や液体などの流体によって熱を伝える方式をいう。
1…インクジェットプリンター(記録装置)、24…プラテン(媒体支持部)、24a…支持面(媒体支持面)、31…カール押さえ部材(保持部材)、60…位置検出部(検出部)、60a,60b…直線部(位置合わせマーク)、61…開口部、R…ロール紙(被記録媒体)

Claims (6)

  1. 媒体支持面で被記録媒体の裏面を吸着保持する媒体支持部と、前記被記録媒体の搬送方向と略直交する方向の側縁部において前記被記録媒体を覆って保持する保持部材と、を備えた記録装置における前記被記録媒体に対する前記保持部材の取付位置の確認方法であって、
    前記被記録媒体の幅方向におけるエッチ又は前記保持部材に形成された前記被記録媒体に対する位置決め用の開口部の前記幅方向におけるエッチを検出する検出部が前記被記録媒体の幅方向に沿って前記保持部材側に走査する位置検出工程を有し、
    前記位置検出工程は、第1のエッチを検出する第1の検出ステップと、前記第1のエッチを検出した場合において、第2のエッチを検出する第2の検出ステップと、前記第2のエッチを検出した場合において、第3のエッチを検出する第3の検出ステップと、を含むことを特徴とする保持部材の取付位置の確認方法。
  2. 前記検出部は、前記保持部材における前記被記録媒体の搬送方向上流側において前記位置検出工程を行うことを特徴とする請求項1に記載の保持部材の取付位置の確認方法。
  3. 媒体支持面で被記録媒体の裏面を吸着保持する媒体支持部を備えた記録装置に用いられ、前記被記録媒体の搬送方向と略直交する方向の側縁部において前記被記録媒体を覆って保持する保持部材であって、
    前記被記録媒体の端部に対する位置合わせを行うための位置合わせマークと、
    前記位置合わせマークに隣接して配置される開口部と、を有することを特徴とする保持部材。
  4. 前記位置合わせマークは、前記保持部材の延在方向に沿って延びる一対の直線部からなることを特徴とする請求項3に記載の保持部材。
  5. 略矩形状からなる前記開口部は前記一対の直線部の延在方向における一端に配置されており、該開口部は前記一対の直線部の中心線に対して対称となっていることを特徴とする請求項4に記載の保持部材。
  6. 媒体支持面で被記録媒体の裏面を吸着保持する媒体支持部と、
    前記被記録媒体の搬送方向と略直交する方向の側縁部において前記被記録媒体を覆って保持する請求項3〜5のいずれか一項に記載の保持部材と、
    前記開口部を用いて前記被記録媒体の側縁部を検出し、前記保持部材との前記被記録媒体との位置関係を検出する検出部と、
    を備えることを特徴とする記録装置。
JP2010163656A 2010-07-21 2010-07-21 保持部材の取付位置の確認方法、及び記録装置 Expired - Fee Related JP5552935B2 (ja)

Priority Applications (1)

Application Number Priority Date Filing Date Title
JP2010163656A JP5552935B2 (ja) 2010-07-21 2010-07-21 保持部材の取付位置の確認方法、及び記録装置

Applications Claiming Priority (1)

Application Number Priority Date Filing Date Title
JP2010163656A JP5552935B2 (ja) 2010-07-21 2010-07-21 保持部材の取付位置の確認方法、及び記録装置

Publications (2)

Publication Number Publication Date
JP2012024959A true JP2012024959A (ja) 2012-02-09
JP5552935B2 JP5552935B2 (ja) 2014-07-16

Family

ID=45778507

Family Applications (1)

Application Number Title Priority Date Filing Date
JP2010163656A Expired - Fee Related JP5552935B2 (ja) 2010-07-21 2010-07-21 保持部材の取付位置の確認方法、及び記録装置

Country Status (1)

Country Link
JP (1) JP5552935B2 (ja)

Cited By (3)

* Cited by examiner, † Cited by third party
Publication number Priority date Publication date Assignee Title
US20180093497A1 (en) * 2016-10-04 2018-04-05 Océ Holding B.V. Method for processing a web in an apparatus
JP2018202743A (ja) * 2017-06-05 2018-12-27 セイコーエプソン株式会社 印刷装置
JP2019038070A (ja) * 2017-08-25 2019-03-14 ローランドディー.ジー.株式会社 カッティング装置

Citations (8)

* Cited by examiner, † Cited by third party
Publication number Priority date Publication date Assignee Title
JPH01294078A (ja) * 1988-05-23 1989-11-28 Seiko Epson Corp プリンタにおける記録シートの支持装置
JPH0476792A (ja) * 1990-07-19 1992-03-11 Ricoh Co Ltd ハンディスキャナー装置及び単語領域抽出装置
JPH11208046A (ja) * 1998-01-29 1999-08-03 Fuji Photo Film Co Ltd インクジェットプリンタの記録紙押さえ機構
JP2004230839A (ja) * 2003-01-31 2004-08-19 Konica Minolta Holdings Inc インクジェットプリンタの記録紙押さえ構造
JP2004341280A (ja) * 2003-05-16 2004-12-02 Dainippon Printing Co Ltd カラーフィルタの製造装置、カラーフィルタの製造方法、及びカラーフィルタ
JP2008273002A (ja) * 2007-04-27 2008-11-13 Canon Inc 記録装置
JP2010089875A (ja) * 2008-10-06 2010-04-22 Murata Machinery Ltd 用紙トレイユニット
JP2010149317A (ja) * 2008-12-24 2010-07-08 Seiko Epson Corp 記録装置

Patent Citations (8)

* Cited by examiner, † Cited by third party
Publication number Priority date Publication date Assignee Title
JPH01294078A (ja) * 1988-05-23 1989-11-28 Seiko Epson Corp プリンタにおける記録シートの支持装置
JPH0476792A (ja) * 1990-07-19 1992-03-11 Ricoh Co Ltd ハンディスキャナー装置及び単語領域抽出装置
JPH11208046A (ja) * 1998-01-29 1999-08-03 Fuji Photo Film Co Ltd インクジェットプリンタの記録紙押さえ機構
JP2004230839A (ja) * 2003-01-31 2004-08-19 Konica Minolta Holdings Inc インクジェットプリンタの記録紙押さえ構造
JP2004341280A (ja) * 2003-05-16 2004-12-02 Dainippon Printing Co Ltd カラーフィルタの製造装置、カラーフィルタの製造方法、及びカラーフィルタ
JP2008273002A (ja) * 2007-04-27 2008-11-13 Canon Inc 記録装置
JP2010089875A (ja) * 2008-10-06 2010-04-22 Murata Machinery Ltd 用紙トレイユニット
JP2010149317A (ja) * 2008-12-24 2010-07-08 Seiko Epson Corp 記録装置

Cited By (5)

* Cited by examiner, † Cited by third party
Publication number Priority date Publication date Assignee Title
US20180093497A1 (en) * 2016-10-04 2018-04-05 Océ Holding B.V. Method for processing a web in an apparatus
EP3305533A1 (en) * 2016-10-04 2018-04-11 OCE Holding B.V. Method for processing a web in an apparatus
US10589546B2 (en) 2016-10-04 2020-03-17 Canon Production Printing Holding B.V. Method for processing a web in an apparatus
JP2018202743A (ja) * 2017-06-05 2018-12-27 セイコーエプソン株式会社 印刷装置
JP2019038070A (ja) * 2017-08-25 2019-03-14 ローランドディー.ジー.株式会社 カッティング装置

Also Published As

Publication number Publication date
JP5552935B2 (ja) 2014-07-16

Similar Documents

Publication Publication Date Title
JP5720345B2 (ja) 記録装置
US8882372B2 (en) Conveying device utilizing suction unit to attract print medium and printing apparatus using same
JP5451199B2 (ja) 記録装置
CN101870199A (zh) 记录装置
JP2004224505A (ja) シート分離装置・シート給送装置・画像形成装置
CN101954801A (zh) 记录设备和片材处理方法
JP5311019B2 (ja) 記録装置
JP2008254218A (ja) 被記録材の搬送案内装置、記録装置及び液体噴射装置
JP5552935B2 (ja) 保持部材の取付位置の確認方法、及び記録装置
JP2013199380A (ja) 給紙装置及び画像形成装置
JP5304278B2 (ja) インクジェット記録装置
US9511607B2 (en) Printhead protection device for direct-to-paper continuous-feed inkjet printer
JP7379890B2 (ja) 画像形成装置
JP5488107B2 (ja) 記録装置及び記録方法
JP5751501B2 (ja) 記録装置
JP2009083350A (ja) インクジェット記録装置
JP5440317B2 (ja) 記録装置
JP2006306616A (ja) エッジガイド、記録装置及び液体噴射装置
JP2017193136A (ja) インクジェット印刷装置および位置調整方法
JP2010070335A (ja) インクジェットプリンタ
KR20140000655A (ko) 매체 홀드 다운 장치
JP4692763B2 (ja) 被記録媒体支持装置、記録装置、液体噴射装置
KR100824119B1 (ko) 감열기록장치
JP3774958B2 (ja) インクジェット記録装置
JP2017109364A (ja) 印刷装置の制御方法および印刷装置

Legal Events

Date Code Title Description
A621 Written request for application examination

Free format text: JAPANESE INTERMEDIATE CODE: A621

Effective date: 20130403

A131 Notification of reasons for refusal

Free format text: JAPANESE INTERMEDIATE CODE: A131

Effective date: 20140121

A521 Request for written amendment filed

Free format text: JAPANESE INTERMEDIATE CODE: A523

Effective date: 20140303

TRDD Decision of grant or rejection written
A01 Written decision to grant a patent or to grant a registration (utility model)

Free format text: JAPANESE INTERMEDIATE CODE: A01

Effective date: 20140430

A61 First payment of annual fees (during grant procedure)

Free format text: JAPANESE INTERMEDIATE CODE: A61

Effective date: 20140513

R150 Certificate of patent or registration of utility model

Ref document number: 5552935

Country of ref document: JP

Free format text: JAPANESE INTERMEDIATE CODE: R150

S531 Written request for registration of change of domicile

Free format text: JAPANESE INTERMEDIATE CODE: R313531

R350 Written notification of registration of transfer

Free format text: JAPANESE INTERMEDIATE CODE: R350

LAPS Cancellation because of no payment of annual fees