JP2012024945A - 記録装置および記録装置の制御方法 - Google Patents

記録装置および記録装置の制御方法 Download PDF

Info

Publication number
JP2012024945A
JP2012024945A JP2010163020A JP2010163020A JP2012024945A JP 2012024945 A JP2012024945 A JP 2012024945A JP 2010163020 A JP2010163020 A JP 2010163020A JP 2010163020 A JP2010163020 A JP 2010163020A JP 2012024945 A JP2012024945 A JP 2012024945A
Authority
JP
Japan
Prior art keywords
suction force
suction
recording
medium
continuous paper
Prior art date
Legal status (The legal status is an assumption and is not a legal conclusion. Google has not performed a legal analysis and makes no representation as to the accuracy of the status listed.)
Granted
Application number
JP2010163020A
Other languages
English (en)
Other versions
JP5585262B2 (ja
Inventor
Yuji Uchiyama
雄二 内山
Current Assignee (The listed assignees may be inaccurate. Google has not performed a legal analysis and makes no representation or warranty as to the accuracy of the list.)
Seiko Epson Corp
Original Assignee
Seiko Epson Corp
Priority date (The priority date is an assumption and is not a legal conclusion. Google has not performed a legal analysis and makes no representation as to the accuracy of the date listed.)
Filing date
Publication date
Application filed by Seiko Epson Corp filed Critical Seiko Epson Corp
Priority to JP2010163020A priority Critical patent/JP5585262B2/ja
Priority to US13/177,688 priority patent/US8469478B2/en
Priority to CN201110208113.7A priority patent/CN102336343B/zh
Publication of JP2012024945A publication Critical patent/JP2012024945A/ja
Priority to US13/903,540 priority patent/US8628162B2/en
Priority to US14/099,265 priority patent/US9073352B2/en
Application granted granted Critical
Publication of JP5585262B2 publication Critical patent/JP5585262B2/ja
Priority to US14/731,763 priority patent/US9895906B2/en
Active legal-status Critical Current
Anticipated expiration legal-status Critical

Links

Images

Classifications

    • BPERFORMING OPERATIONS; TRANSPORTING
    • B41PRINTING; LINING MACHINES; TYPEWRITERS; STAMPS
    • B41JTYPEWRITERS; SELECTIVE PRINTING MECHANISMS, i.e. MECHANISMS PRINTING OTHERWISE THAN FROM A FORME; CORRECTION OF TYPOGRAPHICAL ERRORS
    • B41J11/00Devices or arrangements  of selective printing mechanisms, e.g. ink-jet printers or thermal printers, for supporting or handling copy material in sheet or web form
    • B41J11/0085Using suction for maintaining printing material flat
    • BPERFORMING OPERATIONS; TRANSPORTING
    • B41PRINTING; LINING MACHINES; TYPEWRITERS; STAMPS
    • B41JTYPEWRITERS; SELECTIVE PRINTING MECHANISMS, i.e. MECHANISMS PRINTING OTHERWISE THAN FROM A FORME; CORRECTION OF TYPOGRAPHICAL ERRORS
    • B41J11/00Devices or arrangements  of selective printing mechanisms, e.g. ink-jet printers or thermal printers, for supporting or handling copy material in sheet or web form
    • B41J11/0005Curl smoothing, i.e. smoothing down corrugated printing material, e.g. by pressing means acting on wrinkled printing material

Landscapes

  • Handling Of Sheets (AREA)
  • Ink Jet (AREA)
  • Registering, Tensioning, Guiding Webs, And Rollers Therefor (AREA)

Abstract

【課題】本発明は、被記録媒体を良好に保持できるともに円滑に搬送することのできる記録装置および記録装置の制御方法を提供する。
【解決手段】本発明のプリンターは、ファンの吸引力を第1の吸引力F1にして連続紙を搬送し、プラテンに供給された連続紙を支持面上で停止させ、ファンの吸引力を第1の吸引力F1よりも大きい第2の吸引力F2に変化させて支持面上で停止された連続紙に対して記録処理を実施し、記録処理中にファンの吸引力を第2の吸引力F2よりも低下させて第1の吸引力F1となった後に連続紙を搬送する。
【選択図】図5

Description

本発明は、記録装置および記録装置の制御方法に関するものである。
インクジェットプリンター等の記録装置では、記録用紙等の被記録媒体に対して記録処理を行う際に、被記録媒体が記録ヘッドに対して一定の姿勢(平行)となるようにプラテンで支持する必要がある。
従来では、被記録媒体において、何らかの原因によってカールが生じた場合の対策として、被記録媒体の両側部に薄い樹脂シートからなる押さえ部材を設け、押さえ部材とプラテンの媒体支持面との間に形成された隙間に被記録媒体を挿入することにより、カールに起因する不具合を回避する技術が提供されている(例えば、特許文献1参照)。
特開平8−197799号公報
特に、被記録媒体としてロール紙を用いる場合には、ロール紙の端部が巻きぐせ(カール)によりプラテンから浮き上がってしまうので、浮き上がりを押さえるためにプラテンにロール紙を吸引する紙吸引部を設けたものがある。
この紙吸引部は、通常、プラテンに多数の吸引孔を設けて、プラテンの裏面側に内蔵したファンにより各吸引孔を介して外気を吸引することで、ロール紙をプラテン上に吸着保持(負圧吸引)するようになっている。
しかしながら、ロール紙をプラテン上に吸着させることで搬送力が低下してしまうことがある。
本発明は、以上のような点を考慮してなされたもので、被記録媒体を良好に保持できるともに円滑に搬送することのできる記録装置および記録装置の制御方法を提供することを目的とする。
本発明の記録装置は、多数の吸引孔を有する媒体支持面で被記録媒体を支持する媒体支持部と、媒体支持部に支持された被記録媒体に対して記録処理を施す記録処理部と、媒体支持部に接続され、吸引孔を介して被記録媒体に対して吸引力を作用させる吸引装置と、吸引装置を駆動制御する制御部と、を備え、制御部は、被記録媒体が媒体支持部へ供給される前に吸引装置の吸引力を第1の吸引力にし、被記録媒体が媒体支持部に供給された後に吸引装置の吸引力を第1の吸引力よりも大きい第2の吸引力に変化させ、媒体支持面上に停止された被記録媒体に対する記録処理中に吸引装置の吸引力を第2の吸引力よりも低下させることで被記録媒体の搬送前に第1の吸引力まで低下させることを特徴とする。
これによれば、媒体支持面上に停止された被記録媒体に対して、吸引装置における、被記録媒体を搬送する際の第1の吸引力よりも大きい第2の吸引力を作用させることにより、被記録媒体のシワなどが解消されて搬送支持面上において平坦性が確保される。よって、平坦性が維持された被記録媒体に対して印刷処理を行うことができるので、高品質の印刷が可能となる。
また、印刷処理が終了した後に吸引装置の吸引力を第2の吸引力から第1の吸引力まで低下させた後に被記録媒体を搬送させることとしたので、被記録媒体を円滑に搬送することができる。本発明においては、吸引装置の吸引力を、印刷処理が終了する前に第2の吸引力から低下させることとしたので、印刷処理終了後、すぐに被記録媒体を搬送させることができる。
また、吸引装置としてファンを備え、制御部は、記録処理が終了する前にファンの回転数を減少させる構成としてもよい。
これによれば、吸引力の設定が容易である。
また、媒体支持部に接続された圧力検出部を備え、制御部は、記録処理の終了後における圧力検出部からの検出結果が、第1の吸引力に略等しい圧力値であることを確認する構成としてもよい。
これによれば、記録処理の終了後における圧力検出部からの検出結果が第1の吸引力に略等しい圧力であることを確認してから被記録媒体の搬送を開始することにより、被記録媒体に対するストレスがない状態ですばやく搬送させることができる。
本発明の記録装置の制御方法は、多数の吸引孔を有する媒体支持面で被記録媒体を支持する媒体支持部と、媒体支持部に支持された被記録媒体に対して記録処理を施す記録処理部と、吸引孔を介して被記録媒体に対して吸引力を作用させる吸引装置と、媒体支持部に接続された圧力検出部と、圧力検出部からの検出結果に基づいて吸引装置を駆動制御する制御部と、を備えた記録装置の制御方法であって、吸引装置の吸引力を第1の吸引力にして被記録媒体を搬送し、媒体支持部に供給された被記録媒体を媒体支持面上で停止させ、吸引装置の吸引力を第1の吸引力よりも大きい第2の吸引力に変化させて媒体支持面上で停止された被記録媒体に対して記録処理を実施し、記録処理中に吸引装置の吸引力を第2の吸引力よりも低下させて第1の吸引力となった後に被記録媒体を搬送することを特徴とする。
これによれば、媒体支持面上に停止された被記録媒体に対して、吸引装置における、被記録媒体を搬送する際の第1の吸引力よりも大きい第2の吸引力を作用させることにより、被記録媒体のシワなどが解消されて搬送支持面上において平坦性が確保される。よって、平坦性が維持された被記録媒体に対して印刷処理を行うことができるので、高品質の印刷が可能となる。
また、印刷処理が終了した後に吸引装置の吸引力を第2の吸引力から第1の吸引力まで低下させた後に被記録媒体を搬送させることとしたので、被記録媒体を円滑に搬送することができる。本発明においては、吸引装置の吸引力を、印刷処理が終了する前に第2の吸引力から低下させることとしたので、印刷処理終了後、すぐに被記録媒体を搬送させることができる。
また、記録処理中に吸引装置の吸引力を第2の吸引力よりも低下させる際、吸引装置として用いられるファンの回転数を減少させる方法としてもよい。
これによれば、吸引力の設定が容易である。
また、記録処理が施された被記録媒体を搬送する前に、媒体支持部に接続された圧力検出部からの検出結果が第1の吸引力に略等しい圧力値であることを確認する方法としてもよい。
これによれば、記録処理の終了後における圧力検出部からの検出結果が第1の吸引力に略等しい圧力であることを確認してから被記録媒体の搬送を開始することにより、被記録媒体に対するストレスがない状態ですばやく搬送させることができる。
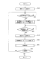
実施形態のプリンターの概略構成を示す図。 プリンターにおいて印刷を実行する印刷領域の平面図。 プリンター全体の概略構成を示す断面図。 プラテンの概略構成を示す平面図。 搬送処理および印刷処理に関する処理ルーチンを示すフローチャート。 印刷処理ルーチンを示す図。 吸引ファンによる吸引シーケンスを示す図。 吸引ファンによる負圧室内の減圧状態を示す図。 キャリッジの走査動作を説明するための図。
以下、図面を用いて記録装置の実施の形態について説明する。
なお、本発明の範囲は、以下の実施の形態に限定されるものではなく、本発明の技術的思想の範囲内で任意に変更可能である。また、以下の図面においては、各構成をわかりやすくするために、実際の構造と各構造における縮尺や数等を異ならせる場合がある。
図1は、本実施形態のプリンターの概略構成を示す図である。図2は、プリンターにおいて印刷を実行する印刷領域の平面図である。図3は、プリンター全体の概略構成を示す断面図である。
プリンター(記録装置)11は、印刷方式として、複数の記録ヘッド(液体噴射ヘッド)から連続紙12上に液体を噴射するインクジェット方式を採用したものであり、ロール状に巻回された長尺状の連続紙(被記録媒体)12を順次繰り出しつつ印刷処理を行い、印刷後の連続紙12を再びロール状に巻回する。
なお、本実施形態では、水平面内における連続紙12の幅方向をX方向、X方向と直交する連続紙12の搬送方向をY方向、鉛直方向をZ方向とするXYZ直交座標系を設定している。
プリンター11は、印刷処理を実行する本体部14と、本体部14に対して連続紙12を供給する繰り出し部13と、本体部14から排出される連続紙12を巻き取る巻き取り部15とを備えている。
本体部14は本体ケース16を備えており、繰り出し部13は本体ケース16の搬送方向上流側(−Y側)に設置され、巻き取り部15は本体ケース16の搬送方向下流側(+Y側)に設置されている。本体ケース16の搬送方向上流側(−Y側)の側壁16Aに設けられた媒体供給部16aに繰り出し部13が接続される一方、搬送方向下流側(+Y側)の側壁16Bに設けられた媒体排出部16bに巻き取り部15が接続されている。
繰り出し部13は、本体ケース16の側壁16Aの下部に取り付けられた支持板17と、支持板17に設けられた巻き軸18と、本体ケース16の媒体供給部16aに接続された繰り出し台19と、繰り出し台19の先端に設けられた中継ローラー20とを備えている。巻き軸18にロール状に巻回された連続紙12が回転可能に支持されている。ロールから繰り出された連続紙12は中継ローラー20に巻き掛けられて繰り出し台19の上面に転換され、繰り出し台19の上面に沿って媒体供給部16aへ搬送される。
巻き取り部15は、巻き取りフレーム41と、巻き取りフレーム41に設けられた中継ローラー42及び巻き取り駆動軸43とを備えている。媒体排出部16bから排出される連続紙12は中継ローラー42に巻き掛けられて巻き取り駆動軸43に案内され、巻き取り駆動軸43の回転駆動によりロール状に巻き取られる。
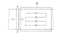
本体部14の本体ケース16内には、板状の基台21が水平に設置され、基台21により本体ケース内が2つの空間に区画されている。基台21より上側の空間が連続紙12に印刷処理を施す印刷室22である。印刷室22には、基台21上に固定されたプラテン(媒体支持部)28と、プラテン28の上方に設けられた記録ヘッド(記録処理部)36と、記録ヘッド36を支持するキャリッジ35aと、キャリッジ35aを支持する2本のガイド軸35(図2参照)と、バルブユニット37とが設けられている。2本のガイド軸35は搬送方向(Y方向)に沿って互いに平行に配置され、キャリッジ35aが搬送方向に往復移動可能に構成されている。
プラテン28は、図1から図3に示すように、上面が開口した箱状の支持台28aと、支持台28aの開口に取り付けられた載置板28bと、を有する。支持台28aは基台21上に固定されており、支持台28aと載置板28bとにより囲まれた内部が負圧室31とされている。載置板28bの支持面(媒体支持面)PL(図示上面)に連続紙12が載置される。
載置板28bには、載置板28bを厚さ方向に貫通する多数の吸引孔28Aが形成されており、支持台28aの一側壁(本実施形態では−Y側の側壁)に、当該側壁を貫通する排気口28Bが形成されている。排気口28Bには吸引ファン(吸引装置)29が接続されている。吸引ファン29により負圧室31内を吸引することで、多数の吸引孔28Aを介して連続紙12に吸引力を作用させ、連続紙12を載置板28bの支持面PLに吸着させて平坦化することができる。
プラテン28には、負圧室31内の圧力を検出する圧力検出センサー32が接続されている。圧力検出センサー32は、一端側が支持台28aの底部に接続され他端側が真空源61に接続された通気ライン32a上に配置されており、通気ライン32aを通じて供給される負圧室31内の空気圧を測定する。そして、その検出結果を吸引ファンモータードライバー(制御部)54(図2)へと出力する。
プラテン28の搬送方向上流側(−Y側)には、複数の搬送ローラーを含む供給搬送系が設けられている。供給搬送系は、プラテン28近傍の印刷室22内に設けられた第1搬送ローラー対25と、本体ケース16の下段側の空間に設けられた中継ローラー24と、媒体供給部16a近傍に設けられた中継ローラー23とを含む。
第1搬送ローラー対25は、第1駆動ローラー25aと、第1従動ローラー25bとからなる。第1駆動ローラー25aには、図2に示すように、第1搬送モーター26と、第1エンコーダ26Eとが連結されている。
供給搬送系において、繰り出し部13から媒体供給部16aを介して本体ケース16内に搬入された連続紙12は、中継ローラー23、24を経由して第1駆動ローラー25aに下方から巻き掛けられ、第1搬送ローラー対25にニップされる。そして、第1搬送モーター26により駆動される第1駆動ローラー25aの回転に伴って、第1搬送ローラー対25からプラテン28の支持面PL上に水平に繰り出される。
一方、プラテン28の搬送方向下流側(+Y側)には、複数の搬送ローラーを含む排出搬送系が設けられている。排出搬送系は、プラテン28に対して第1搬送ローラー対25と反対側に設けられた第2搬送ローラー対33と、本体ケース16の下段側の空間に設けられた反転ローラー38及び中継ローラー39と、媒体排出部16b近傍に設けられた送り出しローラー40とを含む。
第2搬送ローラー対33は、第2駆動ローラー33aと、第2従動ローラー33bとからなる。第2駆動ローラー33aには、図2に示すように、第2搬送モーター34と、第2エンコーダ34Eとが連結されている。なお、第2従動ローラー33bは、連続紙12の印刷面側(上面側)に配置されるため、印刷された画像の損傷を回避するために、連続紙12の幅方向(X方向)の端縁部にのみ当接する構成としてもよい。
排出搬送系において、連続紙12をニップした第2搬送ローラー対33は、第2搬送モーター34により駆動される第2駆動ローラー33aの回転に伴ってプラテン28上から連続紙12を搬出する。第2搬送ローラー対33から繰り出された連続紙12は、反転ローラー38及び中継ローラー39を経由して送り出しローラー40へ搬送され、送り出しローラー40により媒体排出部16bを介して巻き取り部15へ繰り出される。
本実施形態の場合、複数の記録ヘッド36は、ヘッド取付板36aを介してキャリッジ35aに取り付けられている。ヘッド取付板36aはキャリッジ35a上で媒体幅方向(X方向)に移動可能に構成されている。ヘッド取付板36aはキャリッジ35aに接続されたヘッド位置制御部35bにより位置制御可能であり、ヘッド取付板36aを媒体幅方向(X方向)に移動させることで、複数の記録ヘッド36を一体的に改行動作させることができる。記録ヘッド36は、ヘッド取付板36a上において、隣り合う記録ヘッド36が媒体搬送方向(Y方向)で互い違いに2段になるように、媒体幅方向に一定間隔に並べて配置されている。
なお、ヘッド位置制御部35bは、記録ヘッド36の媒体幅方向(X方向)の位置制御とともに、キャリッジ35aの媒体搬送方向(Y方向;ヘッド走査方向)の位置制御を行い、連続紙12上の所望の位置に記録ヘッド36を配置することができる。
複数の記録ヘッド36は、それぞれ図示しないインク供給チューブを介してバルブユニット37と接続されている。バルブユニット37は印刷室22内における本体ケース16の内壁に設けられており、図示しないインクタンク(インク貯留部)と接続されている。バルブユニット37は、インクタンクから供給されるインクを一時貯留しつつ記録ヘッド36に供給する。
記録ヘッド36の下面(ノズル形成面)には、多数のインク吐出ノズルが媒体幅方向(X方向)に列設されている。記録ヘッド36はバルブユニット37から供給されるインクをインク吐出ノズルからプラテン28上の連続紙12に向けて噴射し、印刷を行う。
なお、記録ヘッド36は、複数のインク吐出ノズル列を有していてもよい。この場合には、4色や6色のカラー印刷を行う際に、それぞれのインク吐出ノズル列に色種毎にインクを割り当てれば、1つの記録ヘッド36で複数色のインクの噴射が可能となる。
印刷室22において、プラテン28上の領域が、インク吐出ノズルからのインク噴射により連続紙12に対して印刷が行われる印刷領域Rである。連続紙12は、上述した供給搬送系及び排出搬送系により間欠的に搬送される。具体的には、印刷領域Rに相当する長さの連続紙12が印刷を行う毎にプラテン28上にロードされ、印刷処理後に排出搬送系へ送出される。
印刷室22内に延在するガイド軸35は、図1及び図2に示すように、印刷領域Rよりも媒体搬送方向の外側にまで延びている。これにより、キャリッジ35aは印刷領域Rの外側の領域まで移動可能とされている。印刷領域Rの媒体搬送方向上流側(−Y側)に第1メンテナンス領域R1が設けられ、媒体搬送方向下流側(+Y側)に第2メンテナンス領域R2が設けられている。
第1メンテナンス領域R1には、メンテナンスユニット60が設けられている。メンテナンスユニット60は、例えば、個々の記録ヘッド36に対応して設けられたキャップ部材及びワイピング部材と、キャップ部材に接続されキャップ部材内部を吸引する吸引装置とを備えた構成である。
第2メンテナンス領域R2には、メンテナンスユニットなどは設けられておらず、作業者の手や腕を挿入可能な作業空間とされている。第2メンテナンス領域R2にキャリッジ35aを配置することで上記作業空間内に記録ヘッド36のノズル形成面を露出させることができ、作業者によるノズル形成面の清拭や記録ヘッド36の交換作業などが可能となる。
なお、印刷処理後の連続紙12は、排出搬送系内を搬送される間に自然乾燥されるが、インクを強制的に乾燥させ連続紙12に固着させるための加熱装置を備えた構成としてもよい。例えば、プラテン28に載置板28bを加熱するプラテンヒーターを備えた構成としてもよく、排出搬送系内に加熱装置内を設けた構成としてもよい。
図4は、プラテンの概略構成を示す平面図である。
図4に示すように、プラテン28には、例えば、内径数mm程度の多数の貫通孔からなる吸引孔28Aが、略全面に亘って形成されている。具体的には、内径2〜3mmの吸引孔28Aが、プラテン28の長手方向(連続紙12の搬送方向)と幅方向(搬送方向に直交する方向)に、それぞれ列状に配列形成されている。
負圧室31は、プラテン28を天面とする密閉空間であり、その底面に吸引ファン29が複数設けられている。吸引ファン29は、負圧室31の内部の空気を吸引して負圧にするものである。これにより、プラテン28に形成された多数の吸引孔28Aを介して外気が吸引され、プラテン28の表面(上面)に載置した連続紙12をプラテン28の表面に吸着保持するようになっている。
カール押さえ70は、プラテン28の表面に載置した連続紙12の側端12aを、プラテン28に向けて押さえることにより、連続紙12の側端12aがカールしてプラテン28から離間する、所謂浮き上がりを防止するものである。
具体的には、カール押さえ70は、柔軟性および可僥性を有した一対の帯状フィルムからなるカール押さえ部材71を備えている。カール押さえ部材71は、例えば厚みが0.5mm以下、幅が30mm程度である。また、素材としては、例えばポリイミド等を用いることができる。
各カール押さえ部材71の両端(長さ方向の端部)は、それぞれ、プリンター11の基体部(不図示)に固定されたカール押さえ取付部75に連結されている。カール押さえ取付部75は、各カール押さえ部材71を互いに近接および離間させる方向へ移動可能に連結している。したがって、プラテン28の上面に載置した連続紙12の幅方向両側の側端12aを、プラテン28上に載置された長さ全域に亘って押さえることが可能となっている。
次に、本実施形態のプリンター11における搬送制御および印刷制御について図5〜図9を参照して説明する。図5は、搬送処理および印刷処理に関する処理ルーチンを示すフローチャートである。図6は、印刷処理ルーチンを示す図である。図7は、吸引ファンによる吸引シーケンスを示す図である。図8は、吸引ファンによる負圧室内の減圧状態を示す図である。図9は、キャリッジの走査動作を説明するための図である。
(搬送用吸引)
まず、ステップS10において、コントローラー44は、吸引ファンモーター30の回転速度を設定することにより、吸引ファン29による負圧室31内の吸引力をF1(第1の吸引力)に設定する。
そして、コントローラー44は、吸引ファンモータードライバー(制御部)54に対して制御信号を送信する。すると、吸引ファンモーター30の回転駆動に伴って吸引ファン29が回転駆動を開始することにより負圧室31内に負圧(−140Pa)が生成し、プラテン28に多数形成された吸引孔28Aから外気が吸引される(図8(A))。その結果、プラテン28の支持面PL上の連続紙12には、負圧室31内から吸引孔28Aを介して吸着力が作用する。なお、この場合、連続紙12は、吸引ファン29の吸引力F1とほぼ等しい第1の吸着力でプラテン28の支持面PL上に吸着されるようになっている(図8(B))。
続いて、ステップS11において、コントローラー44は、プラテン28(負圧室31)に接続された圧力検出センサー(圧力検出部)32からの検出信号に基づいて、負圧室31内の圧力が吸引ファン29の回転駆動に伴って吸引ファン29の吸引力F1とほぼ等しい圧力値となるまで減圧されたか否かを判定する。
そして、コントローラー44は、ステップS11での判定結果が肯定判定(負圧室31の圧力=F1)である場合、負圧室31内の圧力が所望の圧力値となるまで吸引ファン29による減圧が完了したと判断し、本処理をステップS12に移行する。
一方、コントローラー44は、ステップS11での判定結果が否定判定(負圧室31の圧力≠F1)である場合、吸引ファン29による負圧室31内の減圧が完了していないと判断する。そして、コントローラー44は、負圧室31内の圧力が所望の圧力値となるまで減圧されるように、吸引ファン29による負圧室31内の減圧を継続する。
(搬送)
次に、ステップS12において、コントローラー44は、第1搬送モーター26の回転量をCに設定することにより、第1駆動ローラー25aによる連続紙12の搬送量を設定する。なお、第1搬送モーター26の回転量Cは、第1搬送モーター26の回転駆動に伴って第1駆動ローラー25aが回転駆動された場合に、第1駆動ローラー25aによる連続紙12の搬送量がその搬送方向におけるプラテン28の左端から右端までの印刷領域Rに対応する距離となるように設定されている。
また、コントローラー44は、第2搬送モーター34の管理トルク値をT1に設定することにより、第2駆動ローラー33aから連続紙12に作用させる張力の大きさを設定する。なお、第2搬送モーター34の管理トルク値T1は、第2駆動ローラー33aが第2搬送モーター34のトルクに基づいてプラテン28上の連続紙12に作用させる張力の大きさが、搬送時における連続紙12のばたつきを十分に抑制することができる程度の大きさとなるように設定されている。
次に、コントローラー44は、第1搬送モータードライバー50及び第2搬送モータードライバー52に対して制御信号を送信する。すると、第1搬送モーター26の回転駆動に伴って第1駆動ローラー25aが回転駆動を開始することにより、第1駆動ローラー25aが連続紙12を搬送するようになる。また同時に、第2搬送モーター34の回転駆動に伴って第2駆動ローラー33aが回転駆動を開始することにより、第2駆動ローラー33aが連続紙12に対して張力を作用させるようになる。
なお、連続紙12は、第2駆動ローラー33aによってプラテン28の支持面PL上から搬送方向の下流側に引っ張られたとしても、巻き取り駆動軸43によって順次巻き取られる。そのため、連続紙12は、第2駆動ローラー33aよりも搬送方向の下流側位置で撓むことがほとんどないため、第1駆動ローラー25aによって搬送経路に沿って安定した状態で搬送されるようになっている。
また、連続紙12の搬送時には、コントローラー44は、回転量検出センサー51からの検出信号に基づいて第1駆動ローラー25aの回転量を随時監視すると共に、トルク検出センサー53からの検出信号に基づいて第2駆動ローラー33aから連続紙12に作用している張力の大きさを随時監視し、更には、圧力検出センサー32からの検出信号に基づいて吸引ファン29の回転駆動に伴う負圧室31内の圧力変化を随時監視している。
また、第2駆動ローラー33aの回転速度は、第1駆動ローラー25aの回転速度よりも速くなるように設定されている。そのため、第2駆動ローラー33aは、搬送途中の連続紙12に対して張力を作用させることにより、プラテン28上における連続紙12の平面性を向上させるようになっている。
また、吸引ファン29の吸引力F1は、第1駆動ローラー25aによる連続紙12の搬送を阻害することがないように、連続紙12がプラテン28の支持面PLに対して強固に張り付くことがない程度の大きさに設定されている。本実施形態では、−140Paに設定されている。
そのため、第2駆動ローラー33aからプラテン28の支持面PL上の連続紙12に対して確実に張力が作用するため、第2駆動ローラー33aは、連続紙12に対して作用させる張力の大きさを高精度に調整することが可能となっている。また、プラテン28の支持面PLから連続紙12に作用する吸着力が低廉となるため、連続紙12の搬送時における第1搬送モーター26及び第2搬送モーター34の駆動負荷が過大となることが回避されるようになっている。
ちなみに、本実施形態において、吸引ファン29の吸引力F1、及び、第2搬送モーター34の管理トルク値T1は、外部入力装置48からコントローラー44に入力されるデータに基づいて任意に変更することが可能となっている。そのため、吸引ファン29の吸引力F1をより小さく設定することにより、搬送時における連続紙12のばたつきを抑制可能な範囲内で第2搬送モーター34の管理トルク値T1をより小さく設定することが可能となっている。そして、第2搬送モーター34の管理トルク値T1をより小さく設定することにより、第2搬送モーター34の駆動負荷が低減されるため、第2搬送モーター34が過熱状態となることを防止できると共に、装置全体の省エネルギー化を図ることが可能となっている。
次に、ステップS13において、コントローラー44は、回転量検出センサー51からの検出信号に基づいて、第1搬送モーター26の回転量がステップS12にて設定した回転量Cに到達したか否かを判定する。
そして、コントローラー44は、ステップS13での判定結果が肯定判定(第1搬送モーター26の回転量=C)である場合、連続紙12の搬送量が所望の搬送量となるまで第1駆動ローラー25aによる連続紙12の搬送が完了したと判断し、本処理をステップS17に移行する。
一方、コントローラー44は、ステップS13での判定結果が否定判定(第1搬送モーター26の回転量≠C)である場合、第1駆動ローラー25aによる連続紙12の搬送が完了していないと判断する。そして、コントローラー44は、第1駆動ローラー25aによる連続紙12の搬送量が所望の搬送量となるまで、第1駆動ローラー25aによる連続紙12の搬送を継続する。
続いて、ステップS14において、コントローラー44は、吸引ファンモーター30の回転速度を設定することにより、吸引ファン29によって負圧室31内を吸引する吸引力をF2(第2の吸引力:−530Pa)に変更する。なお、吸引ファン29の吸引力F2は、ステップS10にて設定される吸引ファン29の吸引力F1(−140Pa)よりも大きな値となるように設定される。これにより負圧室31内に所定の負圧を発生させることができる。
そして、連続紙12は、吸引ファン29の吸引力F2とほぼ等しい第2の吸着力でプラテン28の支持面PL上に吸着されるようになっている。すなわち、吸引ファン29は、印刷処理の実行時には第1の吸着力で連続紙12をプラテン28の支持面PLに吸着させ、搬送処理の実行時には第2の吸着よりも小さい第1の吸着力で連続紙12をプラテン28の支持面PLに吸着させるようになっている。
そして、コントローラー44は、吸引ファンモータードライバー54に対して制御信号を送信する。すると、吸引ファンモーター30の回転速度が低下するように変更されることにより、吸引ファン29の駆動に伴って負圧室31内に生成される負圧が−140Paから−580Paへと迅速に変化する。その結果、プラテン28の支持面PL上の連続紙12は、吸引ファン29の吸引力F2とほぼ等しい吸着力でプラテン28の支持面PL上に吸着されるようになる。
この場合、搬送が停止された状態にある連続紙12にはプラテン28の支持面PL上で相対的に大きな吸着力が作用するため、連続紙12のシワなどが解消されてプラテン28の支持面PL上において平坦性が維持されることになる。また、連続紙12がプラテン28上に吸着されることにより、支持面PL上において位置ずれを生じることはほとんどない。
続いて、ステップS15において、コントローラー44は、第2搬送モーター34の管理トルク値をT2に設定することにより、第2駆動ローラー33aから連続紙12に作用させる張力の大きさを変更する。なお、第2搬送モーター34の管理トルク値T2は、ステップS12にて設定される第2搬送モーター34の管理トルク値T1よりも小さな値となるように設定される。
そして次に、コントローラー44は、第2搬送モータードライバー52に対して制御信号を送信する。すると、第2搬送モーター34から第2駆動ローラー33aに伝達されるトルクの大きさが変更されることにより、第2駆動ローラー33aが連続紙12に対して作用させる張力の大きさが変化する。この場合、搬送が停止された状態の連続紙12には、第2駆動ローラー33aから連続紙12に対して相対的に小さな張力が作用する。したがって、第2駆動ローラー33aを回転駆動する第2搬送モーター34の駆動負荷が低減されると共に、装置全体の省エネルギー化が図られるようになっている。
なお、本実施形態において、コントローラー44は、ステップS14において吸引ファン29の吸引力の大きさをF2に増大させた後、ステップS15において第2搬送モーター34の管理トルク値をT2に減少させる。すなわち、第2駆動ローラー33aから連続紙12に作用させる張力の大きさが相対的に大きい状態で吸引ファン29の吸引力が増大されるため、連続紙12は、高い平面性を維持しつつプラテン28の支持面PL上で吸着される。したがって、第2駆動ローラー33aから連続紙12に対して作用する張力の大きさが減少したとしても、連続紙12はプラテン28の支持面PL上で強固に吸着されているため、連続紙12がプラテン28の支持面PL上で位置ずれを生じることはほとんどない。
続いて、ステップS16において、コントローラー44は、連続紙12に対する印刷データをRAM(図示略)から読み出し、読み出した印刷データをヘッドドライバー49に送信する。すると、ヘッドドライバー49は、プラテン28の支持面PL上に支持された連続紙12に対して記録ヘッド36のインク吐出ノズルからインクを噴射させることにより連続紙12に対する印刷動作を開始する。すなわち、記録ヘッド36は、第1搬送モータードライバー50により間欠的に行われる第1駆動ローラー25aの各回転動作間において連続紙12に対する印刷処理を実行するようになっている。
このとき、プラテン28の支持面PL上に位置する連続紙12はその幅方向全体にわたって確実に吸引されて平坦となっているので、記録ヘッド36は、平坦性が維持された状態の連続紙12に対して高品質の印刷処理を施すことが可能となっている。
本実施形態では、上述したように、プラテン28上で平坦性が維持された連続紙12の所定領域(プラテン28の大きさに対応して設定される印刷領域R)に対して印刷を実施する。実際には、図9に示すように、キャリッジ35aを連続紙12の搬送方向へ移動させるとともに、連続紙12の幅方向(X方向)に移動させながら複数の記録ヘッド36を一体的に改行動作させることで、連続紙12に対して所定の印刷を実施する。ここでは、キャリッジ35aを連続紙12の幅方向(X方向)に複数回(3回)改行させながら、キャリッジ35aを連続紙12の搬送方向(Y方向)に沿って、第1走査(1)→第2走査(2)→第3走査(3)→第4走査(4)の順に往復移動させる。各走査は約2秒ごとに実施される。
このようにしてプラテン28上に平坦に吸着された連続紙12に対して印刷を実施する。
本実施形態では、印刷処理実行中における負圧室31の内部の圧力を変化させている。
まず、吸引ファン29を回転駆動させることにより負圧室31の内部が所定の負圧(−580Pa)に達した状態で、キャリッジ35aを連続紙12の搬送方向に沿う往復移動と連続紙12の幅方向への改行とを繰り返すことによって、第1走査(1)→第2走査(2)→第3走査(3)の順に走査させ、印刷を実施する(ステップS20)。
そして、第4走査(4)において、キャリッジ35aを連続紙12の搬送方向下流側から搬送方向上流側へ移動させながら印刷を行う(ステップS21)。そして、第4走査(4)中の所定のタイミングで、コントローラー44は、吸引ファンモーター30の回転速度を設定することにより、吸引ファン29による負圧室31内の吸引力をF1に設定する(ステップS22)。そして、コントローラー44は、吸引ファンモータードライバー54に対して制御信号を送信し、吸引ファンモーター30の駆動力を弱めて吸引ファン29の回転数を徐々に減少させる。吸引ファンモーター30の駆動力を弱めるタイミングは適宜設定される。
コントローラー44は、吸引ファンモーター30の回転速度を変化させる制御信号を吸引ファンモータードライバー54に対して送信する。具体的には、吸引ファン29によって負圧室31内を吸引する吸引力がF2からF1となるまで、吸引ファンモーター30の回転速度を漸次低下させる制御信号を吸引ファンモータードライバー54に対して送信する。すると、吸引ファンモーター30の回転速度が徐々に低下し、これに伴って負圧室31内の圧力が変化(上昇)していく。
そして、コントローラー44は、連続紙12の所定領域に対する印刷処理が終了したか否かを判断し(ステップS23)、印刷処理が終了したと判断した場合には本処理をステップS17に移行する。
続いて、ステップS17において、コントローラー44は、連続紙12に対する印刷処理を継続するか否かを判断する。そして、コントローラー44は、ステップS17において連続紙12に対する印刷処理を継続すると判断した場合には、本処理をステップS11に再帰して、圧力検出センサー32からの検出信号に基づいて、吸引ファン29の回転数の減少に伴って、負圧室31内の圧力が吸引ファン29の吸引力F1と略等しい圧力となるまで上昇されたか否かを判定する。
そして、コントローラー44は、ステップS11での判定結果が肯定判定(負圧室31の圧力=F1)である場合、負圧室31内の圧力が連続紙12の搬送に最適な圧力値となるまで上昇したと判断する。そして、本処理をステップS21へと移行し、ステップS21において連続紙12の所定領域に対する印刷が終了したと判断されると、本処理をステップS17へと移行する。
一方、コントローラー44は、ステップS22での判定結果が否定判定(負圧室31の圧力≠F2)である場合、負圧室31内の圧力が連続紙12の搬送に最適な圧力値に至っていないと判断する。そして、コントローラー44は、負圧室31内の圧力が吸引ファン29の吸引力F1と略等しい圧力となるまで吸引ファン29の回転数を減少させていき、負圧室31内の圧力を所定の圧力値(−140Pa程度)まで上昇させていく。
そして、コントローラー44は、ステップS11での判定結果が肯定判定になるまで、圧力検出センサー32による負圧室31内の圧力を監視する。
このように、印刷処理を継続する場合、ステップS11からステップS17までの処理を再帰的に実行する。
一方、コントローラー44は、ステップS17において連続紙12に対する印刷処理を継続しないと判断した場合には、連続紙12に対する搬送処理及び印刷処理に関する処理ルーチンのプログラムを終了する。
以上、詳細に説明したように、本実施形態のプリンター11では、吸引ファン29の回転駆動に伴って吸引ファン29の吸引力F2とほぼ等しい圧力値となるまで負圧室31内の圧力を減圧することで、プラテン28上に供給された連続紙12をプラテン28の支持面PLに吸着させた後、連続紙12に対する印刷処理を実施することとしている。
プラテン28上に供給されて搬送が停止された状態にある連続紙12には、プラテン28の支持面PL上で搬送時のときとは相対的に大きな吸着力が作用するため、連続紙12のシワなどが解消されてプラテン28の支持面PL上において平坦性が維持される。よって、記録ヘッド36は、プラテン28上において平坦性が維持された連続紙12の所定領域に対して印刷処理を施すことができ、高品質の印刷が可能となる。
また、プラテン28上に載置された連続紙12の所定領域に対する印刷処理が終了する前に、吸引ファン29の回転数を減少させて吸引ファン29の吸引力F2を連続紙12の搬送時における吸引力F1まで低下させることとした。所定の印刷処理が終了した後に吸引ファン29の回転数を減少させて吸引ファン29の吸引力F2を連続紙12の搬送時における吸引力F1まで低下させ、負圧室31内の圧力を所定の圧力値(搬送時における圧力値:−140Pa)まで上昇させる場合よりも、より早いタイミングで連続紙12の搬送を開始することができる。
なお、吸引ファン29の回転数を減少させるタイミングは上述したタイミングに限らない。本実施形態のプリンター11は、印刷処理の実行時に搬送処理時とは相対的に大きい第2の吸着力(吸引力F2)で連続紙12をプラテン28の支持面PLに吸着させる一方、搬送処理の実行時には印刷処理時の第2の吸着よりも小さい第1の吸着力(吸引力F1)で連続紙12をプラテン28の支持面PLに吸着させている。一旦、連続紙12のプラテン28上に供給された部分をプラテン28の支持面PL上に強固に吸着させて平坦化した後は、その後、吸着力が弱まったとしても平坦性は維持されることになる。このため、連続紙12をプラテン28上に第2の吸着力で吸着させた後は、第1走査(1)〜第3走査(3)のいずれの途中であっても所定のタイミングで吸引ファン29の回転数を漸次低下させて吸引力を弱めていくようにしてもよい。
印刷処理によってインクが染み込んだ連続紙12からは、その下方に位置する吸引孔28Aを介して外気が吸引されにくくなる。よって、印刷処理によりインクが供給された連続紙12の吸着状態は、インクの重力に加えて、プラテン28の多数の吸引孔28Aを介して連続紙12に作用する吸引力がインクの存在によって増大し、その結果、連続紙12に対する吸着力が弱まった場合でも連続紙12の平坦性が維持されることになる。つまり、印字後は水分が多いため乾燥した部分(非印字部分)よりも空気の漏れがなく、吸着力が大きくなる。
よって、印刷処理が終了する前であれば、いずれのタイミングで吸引ファン29の回転数を減少させてもよい。
印刷処理が終了した後に、負圧室31の減圧状態を緩和させるために吸引ファン29の回転数を減少させると、所定の圧力値まで達するまでに時間がかかる。また、負圧室31の圧力が所定の圧力値に達する前に搬送を開始してしまうと、連続紙12に対してストレスが作用することとなり、搬送速度が低下する。
このため、印刷処理終了後、負圧室31内の圧力が所定の圧力値(吸引力F1)に達してから搬送処理を実施することにする。
また、吸引ファン29の回転数を減少させることで負圧室31内の圧力を所定の圧力値にすることとしたが、吸引ファン29の吸引力がF1に達する前に吸引ファン29を停止させてもよい。吸引ファン29が停止した後も、負圧室31内の減圧状態がある程度緩和されるまで、継続的に吸引孔28Aを介して外気が吸引されて連続紙12に対する吸着力が作用することも考えられるため、印刷処理が完了する前までに吸引ファン29の回転駆動を停止させてもかまわない。
また、吸引ファン29の回転数の減少タイミングが印刷処理中におけるいずれのタイミングであっても、印刷処理(記録ヘッド36の第1走査(1)〜第4走査(1))が終了するのと同時に搬送時の吸着力(吸引力F1)となるように吸引ファン29の回転数を制御すれば、印刷処理終了後すぐに連続紙12の搬送を開始することが可能となる。
よって、印刷処理時においてはプラテン28上での平坦性を維持しつつ、搬送時には吸着力を弱めて連続紙12に対する搬送負荷を低下させることで、小さい駆動力ですばやく搬送させることができる。プラテン28上に連続紙12を強固に吸着させたまま搬送しようとすると、連続紙12に対するストレスが大きくなってしまい、素早く搬送させることが難しくなる。
なお、プラテン28に負圧室31内を大気開放する大気開放弁を設けてもよい。吸引ファン29による吸引力調整と大気開放弁を併用することにより、負圧室31内の減圧度を速やかに低下させることができ、より早いタイミングで連続紙12の搬送を開始することができる。
上記実施形態に係る圧力検出センサー32に代えて、吸引ファン29を介して排気される空気の流量を検出する流量検出センサーを設けてもよい。吸引ファン29により負圧室31内を排気すると、圧力の低下に伴って排気流量が低下するため、流量検出センサーにより検出される排気流量に基づいて負圧室31内の圧力を推定することができる。
また、被記録媒体として、長尺状のプラスチックフィルム等を用いてもよい。
上記実施形態では、記録装置をインクジェット式プリンターに具体化したが、この限りではなく、インク以外の他の液体(機能材料の粒子が液体に分散又は混合されてなる液状体、ゲルのような流状体を含む)を噴射したり吐出したりする液体噴射装置に具体化することもできる。
例えば、液晶ディスプレイ、EL(エレクトロルミネッセンス)ディスプレイ及び面発光ディスプレイの製造などに用いられる電極材や色材(画素材料)などの材料を分散又は溶解のかたちで含む液体(液状体)を噴射する液体噴射装置、バイオチップ製造に用いられる生体有機物を噴射する液体噴射装置、精密ピペットとして用いられ試料となる液体を噴射する液体噴射装置であってもよい。さらに、時計やカメラ等の精密機械にピンポイントで潤滑油を噴射する液体噴射装置、光通信素子等に用いられる微小半球レンズ(光学レンズ)などを形成するために紫外線硬化樹脂等の透明樹脂液を基板上に噴射する液体噴射装置、基板などをエッチングするために酸又はアルカリ等のエッチング液を噴射する液体噴射装置、ゲル(例えば物理ゲル)などの液体(流状体)を噴射する液体噴射装置であってもよい。そして、これらのうち何れか一種の液体噴射装置に本発明を適用することができる。
11…プリンター(記録装置)、12…連続紙(被記録媒体)、28…プラテン(媒体支持部)、28A…吸引孔、29…ファン(吸引装置)、32…圧力検出センサー(圧力検出部)、36…記録ヘッド(記録処理部)、54…吸引ファンモータードライバー(制御部)、F1…吸引力(第1の吸引力)、F2…吸引力(第2の吸引力)、PL…支持面(媒体支持面)

Claims (6)

  1. 多数の吸引孔を有する媒体支持面で被記録媒体を支持する媒体支持部と、
    前記媒体支持部に支持された前記被記録媒体に対して記録処理を施す記録処理部と、
    前記媒体支持部に接続され、前記吸引孔を介して前記被記録媒体に対して吸引力を作用させる吸引装置と、
    前記吸引装置を駆動制御する制御部と、を備え、
    前記制御部は、前記被記録媒体が前記媒体支持部へ供給される前に前記吸引装置の前記吸引力を第1の吸引力にし、前記被記録媒体が前記媒体支持部に供給された後に前記吸引装置の前記吸引力を前記第1の吸引力よりも大きい第2の吸引力に変化させ、前記媒体支持面上に停止された前記被記録媒体に対する前記記録処理中に前記吸引装置の吸引力を前記第2の吸引力よりも低下させることで前記被記録媒体の搬送前に前記第1の吸引力まで低下させる
    ことを特徴とする記録装置。
  2. 前記吸引装置としてファンを備え、
    前記制御部は、前記記録処理が終了する前に前記ファンの回転数を減少させる
    ことを特徴とする請求項1に記載の記録装置。
  3. 前記媒体支持部に接続された圧力検出部を備え、
    前記制御部は、前記記録処理の終了後における前記圧力検出部からの検出結果が、前記第1の吸引力に略等しい圧力値であることを確認することを特徴とする請求項1または2に記載の記録装置。
  4. 多数の吸引孔を有する媒体支持面で被記録媒体を支持する媒体支持部と、前記媒体支持部に支持された前記被記録媒体に対して記録処理を施す記録処理部と、前記吸引孔を介して前記被記録媒体に対して吸引力を作用させる吸引装置と、前記媒体支持部に接続された圧力検出部と、前記圧力検出部からの検出結果に基づいて前記吸引装置を駆動制御する制御部と、を備えた記録装置の制御方法であって、
    前記吸引装置の前記吸引力を第1の吸引力にして前記被記録媒体を搬送し、
    前記媒体支持部に供給された前記被記録媒体を前記媒体支持面上で停止させ、
    前記吸引装置の前記吸引力を前記第1の吸引力よりも大きい第2の吸引力に変化させて前記媒体支持面上で停止された前記被記録媒体に対して記録処理を実施し、
    前記記録処理中に前記吸引装置の吸引力を前記第2の吸引力よりも低下させて前記第1の吸引力となった後に前記被記録媒体を搬送する
    ことを特徴とする記録装置の制御方法。
  5. 前記記録処理中に前記吸引装置の前記吸引力を前記第2の吸引力よりも低下させる際、
    前記吸引装置として用いられるファンの回転数を減少させる
    ことを特徴とする請求項4に記載の記録装置の制御方法。
  6. 記録処理が施された前記被記録媒体を搬送する前に、前記媒体支持部に接続された圧力検出部からの検出結果が前記第1の吸引力に略等しい圧力値であることを確認する
    ことを特徴とする請求項4または5記載の記録装置の制御方法。
JP2010163020A 2010-07-20 2010-07-20 記録装置および記録装置の制御方法 Active JP5585262B2 (ja)

Priority Applications (6)

Application Number Priority Date Filing Date Title
JP2010163020A JP5585262B2 (ja) 2010-07-20 2010-07-20 記録装置および記録装置の制御方法
US13/177,688 US8469478B2 (en) 2010-07-20 2011-07-07 Recording device and method for controlling recording device
CN201110208113.7A CN102336343B (zh) 2010-07-20 2011-07-20 记录装置以及记录装置的控制方法
US13/903,540 US8628162B2 (en) 2010-07-20 2013-05-28 Recording device and method for controlling recording device
US14/099,265 US9073352B2 (en) 2010-07-20 2013-12-06 Recording device and method for controlling recording device
US14/731,763 US9895906B2 (en) 2010-07-20 2015-06-05 Recording device and method for controlling recording device

Applications Claiming Priority (1)

Application Number Priority Date Filing Date Title
JP2010163020A JP5585262B2 (ja) 2010-07-20 2010-07-20 記録装置および記録装置の制御方法

Publications (2)

Publication Number Publication Date
JP2012024945A true JP2012024945A (ja) 2012-02-09
JP5585262B2 JP5585262B2 (ja) 2014-09-10

Family

ID=45493254

Family Applications (1)

Application Number Title Priority Date Filing Date
JP2010163020A Active JP5585262B2 (ja) 2010-07-20 2010-07-20 記録装置および記録装置の制御方法

Country Status (3)

Country Link
US (4) US8469478B2 (ja)
JP (1) JP5585262B2 (ja)
CN (1) CN102336343B (ja)

Cited By (2)

* Cited by examiner, † Cited by third party
Publication number Priority date Publication date Assignee Title
JP2014008625A (ja) * 2012-06-28 2014-01-20 Seiko Epson Corp プリンターおよびその吸引ファンの制御方法
JP2018202743A (ja) * 2017-06-05 2018-12-27 セイコーエプソン株式会社 印刷装置

Families Citing this family (4)

* Cited by examiner, † Cited by third party
Publication number Priority date Publication date Assignee Title
JP2012183799A (ja) * 2011-03-08 2012-09-27 Seiko Epson Corp プリンターの制御方法及びプリンタードライバー
JP6819313B2 (ja) * 2017-01-20 2021-01-27 セイコーエプソン株式会社 印刷装置、及びプラテンユニット
JP7314623B2 (ja) * 2019-05-30 2023-07-26 セイコーエプソン株式会社 印刷装置、及び、印刷装置の制御方法
EP4592083A1 (en) * 2024-01-29 2025-07-30 Canon Production Printing Holding B.V. Pressure regulation for overpressures in a suction chamber of a flatbed printer

Citations (2)

* Cited by examiner, † Cited by third party
Publication number Priority date Publication date Assignee Title
JP2007175948A (ja) * 2005-12-27 2007-07-12 Fujifilm Corp インクジェットプリンタ
JP2007276929A (ja) * 2006-04-04 2007-10-25 Seiko Epson Corp 搬送装置、搬送方法、記録装置、及び搬送記録方法

Family Cites Families (11)

* Cited by examiner, † Cited by third party
Publication number Priority date Publication date Assignee Title
JPH08197799A (ja) 1995-01-23 1996-08-06 Mutoh Ind Ltd 画像形成装置の紙押え機構
WO2000034049A1 (fr) * 1998-12-07 2000-06-15 Copyer Co., Ltd. Dispositif de formation d'image de type a jet d'encre
JP4522015B2 (ja) * 2001-05-10 2010-08-11 キヤノン株式会社 記録装置
ATE367931T1 (de) * 2001-10-17 2007-08-15 Seiko Epson Corp Transportgerät für aufzeichnungsträger, tintenstrahldrucker mit einem solchen transportgerät und einer saugeinrichtung für den aufzeichnungsträger im tintenstrahldrucker
JP2004216652A (ja) * 2003-01-10 2004-08-05 Noritsu Koki Co Ltd インクジェット式プリンタ
DE602004012177D1 (de) * 2003-03-07 2008-04-17 Seiko Epson Corp Aufzeichnungsmaterialtransportvorrichtung und Aufzeichnungsgerät
JP2006176243A (ja) * 2004-12-21 2006-07-06 Canon Inc 画像記録装置
JP4740665B2 (ja) * 2005-07-05 2011-08-03 オリンパス株式会社 画像記録装置
JP5159590B2 (ja) * 2008-12-09 2013-03-06 富士フイルム株式会社 画像形成方法
US20100171782A1 (en) * 2009-01-05 2010-07-08 Kabushiki Kaisha Toshiba Image recording apparatus
JP5440027B2 (ja) * 2009-08-27 2014-03-12 セイコーエプソン株式会社 搬送装置及び記録装置

Patent Citations (2)

* Cited by examiner, † Cited by third party
Publication number Priority date Publication date Assignee Title
JP2007175948A (ja) * 2005-12-27 2007-07-12 Fujifilm Corp インクジェットプリンタ
JP2007276929A (ja) * 2006-04-04 2007-10-25 Seiko Epson Corp 搬送装置、搬送方法、記録装置、及び搬送記録方法

Cited By (2)

* Cited by examiner, † Cited by third party
Publication number Priority date Publication date Assignee Title
JP2014008625A (ja) * 2012-06-28 2014-01-20 Seiko Epson Corp プリンターおよびその吸引ファンの制御方法
JP2018202743A (ja) * 2017-06-05 2018-12-27 セイコーエプソン株式会社 印刷装置

Also Published As

Publication number Publication date
US20130249993A1 (en) 2013-09-26
US20140092194A1 (en) 2014-04-03
US9073352B2 (en) 2015-07-07
US8469478B2 (en) 2013-06-25
CN102336343B (zh) 2015-06-03
US20150266317A1 (en) 2015-09-24
US20120019584A1 (en) 2012-01-26
JP5585262B2 (ja) 2014-09-10
CN102336343A (zh) 2012-02-01
US9895906B2 (en) 2018-02-20
US8628162B2 (en) 2014-01-14

Similar Documents

Publication Publication Date Title
CN102815090B (zh) 记录装置及其控制方法
JP5549452B2 (ja) 記録装置
JP5708076B2 (ja) 記録装置
JP5585262B2 (ja) 記録装置および記録装置の制御方法
JP5556574B2 (ja) 画像記録装置、及び、画像記録方法
JP5573450B2 (ja) 記録装置
JP5540428B2 (ja) 記録装置
JP2014188816A (ja) 記録装置
JP5794342B2 (ja) 記録装置
JP2012201062A (ja) 記録装置
JP5663992B2 (ja) 記録装置
JP2012062135A (ja) 記録装置及びその制御方法
JP5614192B2 (ja) 記録装置、及び記録装置の制御方法
JP5831618B2 (ja) 記録装置の制御方法、及び記録装置
JP6070806B2 (ja) 記録装置の制御方法、及び記録装置
JP2014184727A (ja) 画像記録装置、及び、画像記録方法
JP5663991B2 (ja) 記録装置の制御方法、及び記録装置
JP5803168B2 (ja) 塗布物乾燥装置及び記録装置
JP5790107B2 (ja) 塗布物乾燥装置及び記録装置
JP5871027B2 (ja) 記録装置
JP2012061621A (ja) 記録装置、及び、記録装置の制御方法

Legal Events

Date Code Title Description
RD04 Notification of resignation of power of attorney

Free format text: JAPANESE INTERMEDIATE CODE: A7424

Effective date: 20120203

A621 Written request for application examination

Free format text: JAPANESE INTERMEDIATE CODE: A621

Effective date: 20130401

A131 Notification of reasons for refusal

Free format text: JAPANESE INTERMEDIATE CODE: A131

Effective date: 20140114

A521 Request for written amendment filed

Free format text: JAPANESE INTERMEDIATE CODE: A523

Effective date: 20140220

A131 Notification of reasons for refusal

Free format text: JAPANESE INTERMEDIATE CODE: A131

Effective date: 20140325

A521 Request for written amendment filed

Free format text: JAPANESE INTERMEDIATE CODE: A523

Effective date: 20140521

TRDD Decision of grant or rejection written
A01 Written decision to grant a patent or to grant a registration (utility model)

Free format text: JAPANESE INTERMEDIATE CODE: A01

Effective date: 20140624

A61 First payment of annual fees (during grant procedure)

Free format text: JAPANESE INTERMEDIATE CODE: A61

Effective date: 20140707

R150 Certificate of patent or registration of utility model

Ref document number: 5585262

Country of ref document: JP

Free format text: JAPANESE INTERMEDIATE CODE: R150

S531 Written request for registration of change of domicile

Free format text: JAPANESE INTERMEDIATE CODE: R313531

R350 Written notification of registration of transfer

Free format text: JAPANESE INTERMEDIATE CODE: R350