JP2011199936A - リニアモータおよびその電機子構造 - Google Patents

リニアモータおよびその電機子構造 Download PDF

Info

Publication number
JP2011199936A
JP2011199936A JP2010060931A JP2010060931A JP2011199936A JP 2011199936 A JP2011199936 A JP 2011199936A JP 2010060931 A JP2010060931 A JP 2010060931A JP 2010060931 A JP2010060931 A JP 2010060931A JP 2011199936 A JP2011199936 A JP 2011199936A
Authority
JP
Japan
Prior art keywords
armature
tooth
width dimension
root
teeth
Prior art date
Legal status (The legal status is an assumption and is not a legal conclusion. Google has not performed a legal analysis and makes no representation as to the accuracy of the status listed.)
Granted
Application number
JP2010060931A
Other languages
English (en)
Other versions
JP5452299B2 (ja
Inventor
Yukinari Fujisawa
勧也 藤澤
Toshihiko Sakai
俊彦 酒井
Current Assignee (The listed assignees may be inaccurate. Google has not performed a legal analysis and makes no representation or warranty as to the accuracy of the list.)
Hitachi Ltd
Original Assignee
Hitachi Ltd
Priority date (The priority date is an assumption and is not a legal conclusion. Google has not performed a legal analysis and makes no representation as to the accuracy of the date listed.)
Filing date
Publication date
Application filed by Hitachi Ltd filed Critical Hitachi Ltd
Priority to JP2010060931A priority Critical patent/JP5452299B2/ja
Publication of JP2011199936A publication Critical patent/JP2011199936A/ja
Application granted granted Critical
Publication of JP5452299B2 publication Critical patent/JP5452299B2/ja
Expired - Fee Related legal-status Critical Current
Anticipated expiration legal-status Critical

Links

Images

Classifications

    • HELECTRICITY
    • H02GENERATION; CONVERSION OR DISTRIBUTION OF ELECTRIC POWER
    • H02KDYNAMO-ELECTRIC MACHINES
    • H02K41/00Propulsion systems in which a rigid body is moved along a path due to dynamo-electric interaction between the body and a magnetic field travelling along the path
    • H02K41/02Linear motors; Sectional motors
    • H02K41/03Synchronous motors; Motors moving step by step; Reluctance motors
    • H02K41/031Synchronous motors; Motors moving step by step; Reluctance motors of the permanent magnet type
    • HELECTRICITY
    • H02GENERATION; CONVERSION OR DISTRIBUTION OF ELECTRIC POWER
    • H02KDYNAMO-ELECTRIC MACHINES
    • H02K1/00Details of the magnetic circuit
    • H02K1/06Details of the magnetic circuit characterised by the shape, form or construction
    • H02K1/12Stationary parts of the magnetic circuit
    • H02K1/16Stator cores with slots for windings
    • H02K1/165Shape, form or location of the slots

Landscapes

  • Engineering & Computer Science (AREA)
  • Physics & Mathematics (AREA)
  • Chemical & Material Sciences (AREA)
  • Combustion & Propulsion (AREA)
  • Electromagnetism (AREA)
  • Power Engineering (AREA)
  • Linear Motors (AREA)

Abstract

【課題】より小さい可動子重量でありながら大推力を発生可能なリニアモータおよびその電機子構造を提供する。
【解決手段】複数の永久磁石を並べて配置した磁極と、上記永久磁石列と磁気的空間を介して対向すると共に、対向面に複数のスロットとティースを有する電機子に電機子コイルを巻装した電機子とを備え、上記磁極と上記電機子との何れか一方を固定子に、他方を可動子として、上記磁極と上記電機子を相対的に走行するようにしたリニアモータにおいて、上記電機子の上記ティース幅寸法がティース先端から付根部に向い漸次増加し、ティースとスロットとの幅寸法の比率(ティース幅寸法/スロットとの幅寸法)がティース先端から付根部に向い漸次増加している。
【選択図】図1

Description

本発明は、リニアモータおよびその電機子構造に関し、特にサーボ制御に用いるのに適した低推力脈動、低ディテント推力でありながら大推力を発生可能なリニアモータに関するものである。また、本発明は、特に大出力や大推力を発生させて射出成形機の射出軸やプレス機械の加圧ラム(主軸)などに要求される高加速動作を実現するための駆動用モータを主たる対象とするものである。
リニアモータは、所定の設計形状の電磁鋼板を積層して作ったコアに電線を巻回して固定子コイルとした固定子と、構造部品に設けた磁石挿入用空間に永久磁石を挿入し固定した可動子とを組合せて構成されか、または、上記と逆にコアに電線を巻回して可動子コイルとした可動子と、構造部品に設けた磁石挿入用空間に永久磁石を挿入し固定した固定子とを組合せて構成される。
近年、大出力や大推力が必要な射出成形機の射出軸やプレス機械の加圧ラムなどにおいても、制御性能の向上や高加速動作などを目的にこの種のモータを用いる需要が強くなってきている。しかし、リニアモータはその原理上、大推力を得るにはコア付方式が必要であり、固定子に対する可動子の位置に応じての磁気特性の変化が大きいため、可動子のどの位置でも安定した動作特性が望まれる位置決め特性が重要な自動加工機の機械軸の駆動用としては、出力範囲に限界がある。例えば、位置に応じて可動子に発生する外乱推力であるディテント推力(無励磁の状態で可動子に変位を与えようとした場合に発生する反発力)や、推力対推力電流の比率である推力定数の可動子位置ごとの変動(推力脈動率)は大きいものである。
従来のこの種のリニアモータに採用される固定子側(または可動子側)の電磁鋼板の形状としては、図4に示すようにティース23の幅W1が可動子対向側(または固定子対向側)であるティース先端側23bからティース付根部側23aに向けて同一とし、かつ、スロット25の幅W2が開口部側25bから底部側25aに向けて同一となした、いわゆる「平行ティース、平行スロット」が一般的であった。このため、選択できる形状パラメータが少なく、最適設計を妨げていた。
また、前記用途のリニアモータに対しては、大推力であるとともに、高加速度を実現しやすいように可動子重量が小さいことが求められる。しかし、可動子重量を小さくするには可動子の寸法を小さくすることになるが、総磁束量が小さくなる問題がある。これを補うためにコイル電流を大きくして出力トルクを増大させようとすると、ティースの磁束密度が大きくなりすぎて隣接するティース間の漏れ磁束が増加して特性が頭打ちとなる。すなわち、大推力と高加速度の両者を満足させることは困難であった。
上記の対策として、固定子コア(または可動子コア)のティースの幅寸法を大きくすることが考えられるが、その分スロット幅が小さくなってコイルの断面積が少なくなって電流を増加できないという問題がある。
特許文献1(特開2008−017694号)、特許文献2(特開2006−025505号)には、磁気飽和限界を高くして推力を向上させたリニアモータが示されている。可動子の磁極を固定子から遠ざかるほど広くなるように形成することにより、磁気飽和限界を高く設定している。
特開2008−017694号公報 特開2006−025505号公報
しかしながら、外乱推力である上記ディテント推力は、可動子(または固定子)に接近して対向する固定子(または可動子)のティース幅とスロット幅の関係によって左右され、それぞれの寸法の関係を吟味しないと、外乱の低減と大きな推力を得る上でよい結果が得られない。また、他の外乱トルクとして、推力対推力電流の比率である推力定数の可動子位置ごとの変動(推力脈動率)についても同様である。特許文献1、特許文献2においては、出力可能最大推力、水力脈動率、ディテント推力について要求性能を満たす上での最適設定については考慮されていない。
本発明は、電機子コイルが巻装されるティースとスロットの幅に関して適切な関係を設定することにより、外乱推力を少なくし、これによって可動子の移動位置に沿って一様で大きな推力が得られ、かつ、高加速度制御を行えるリニアモータ及びその電機子構造を提供するものである。
上記課題を解決するため本発明は、複数の永久磁石を並べて配置した磁極と、上記永久磁石列と磁気的空間を介して対向すると共に、対向面に複数のスロットとティースを有する電機子に電機子コイルを巻装した電機子とを備え、上記磁極と上記電機子との何れか一方を固定子に、他方を可動子として、上記磁極と上記電機子を相対的に走行するようにしたリニアモータにおいて、
上記電機子の上記ティース幅寸法がティース先端から付根部に向い漸次増加し、ティースとスロットとの幅寸法の比率(ティース幅寸法/スロットとの幅寸法)がティース先端から付根部に向い漸次増加していることを特徴とする。
また、本発明は、複数の永久磁石を並べて配置した磁極と、上記永久磁石列と磁気的空間を介して対向すると共に、対向面に複数のスロットとティースを有する電機子に電機子コイルを巻装した電機子とを備え、上記磁極と上記電機子との何れか一方を固定子に、他方を可動子として、上記磁極と上記電機子を相対的に走行するようにしたリニアモータにおいて、
上記電機子の上記ティース幅寸法がティース先端から付根部に向い所定の長さ区間一定であり、上記区間からティース付根部に向い漸次増加し、ティースとスロットとの幅寸法の比率(ティース幅寸法/スロットとの幅寸法)がティース先端から付根部に向い漸次増加していることを特徴とする。
また、上記のリニアモータにおいて、上記電機子に巻装される電機子コイルの巻回数が、ティース先端側よりティース付根部側で少なく設定されたことを特徴とする。
また、電機子構造として、上記電機子の上記ティース幅寸法がティース先端から付根部に向い漸次増加し、ティースとスロットとの幅寸法の比率(ティース幅寸法/スロットとの幅寸法)がティース先端から付根部に向い漸次増加していることを特徴とする。
また、電機子構造として、上記電機子の上記ティース幅寸法がティース先端から付根部に向い所定の長さ区間一定であり、上記区間からティース付根部に向い漸次増加し、ティースとスロットとの幅寸法の比率(ティース幅寸法/スロットとの幅寸法)がティース先端から付根部に向い漸次増加していることを特徴とする。
また、上記電機子構造において、上記電機子に巻装される電機子コイルの巻回数が、ティース先端側よりティース付根部側で少なく設定されたことを特徴とする。
本発明によれば、外乱推力を少なくすることで可動子の移動位置に沿って一様で大きな推力が得られ、高加速度制御を行うことができる。
本発明実施例1の固定子のティースとスロットの構造説明図。 本発明実施例2の固定子のティースとスロットの構造説明図。 従来の固定子のティースとスロットの構造説明図。 本発明実施例のスロット奥部の電機子コイルによる磁気線の説明図。 本発明実施例のスロット開口部の電機子コイルによる磁気線の説明図。
以下、本発明の各実施例について図面を用いて説明する。実施例においては、複数の永久磁石を並べて配置した界磁極を可動子とし、上記界磁極に磁気的空間を介して対向する電機子コアに電機子コイルを巻装した電機子を固定子としている。
本発明の実施例1を図1に示す。1は電磁鋼板を積層して構成されたコアが直線状に延びる電機子(固定子)、2は電機子の背部、3は電機子に形成された複数のティース(図では3個のティースを示す。)、5はティース3の間に形成された複数のスロット、4は各ティース3を巻回するように各スロット5内に挿入された複数の電機子コイルである。ティース3には電機子の背部側の付根部3aとティース先端側3bとがあり、スロット5には電機子の背部側の底部5aと先端側の開口部5bとがある。8は電機子1のティース先端3bおよびスロット開口部5b側と磁気的空間を介して対向し、直線状に延びる所定長さの可動子であり、対向面に複数の永久磁石7が所定ピッチで並べて埋設されている。図では、コイル4が1個のスロットの一部にのみ挿入された状態を示している。
上記構成において、固定子の電機子1に巻回された複数の電機子コイル4に三相交流を流すことにより、電機子1に移動磁界を発生させ、この移動磁界に永久磁石7を順次磁気吸引することにより、可動子としての磁極8を、矢印方向に直線移動させる。実際には、磁極8には移動テーブルなどを固定して直線移動させることになる。
本実施例では、付根部3aでのティース3の幅寸法をWt5、ティース先端3bでの幅寸法をWt4とし、スロット5の底部5aの幅寸法をS5、開口部5bでの幅寸法をS4としている。そして、電機子1のティース3の幅寸法がティース先端3bからティース付根部3aに向い漸次増加し、Wt4<Wt5になるように設定されている。また、スロット5の幅寸法が開口部4bから底部4aに向い漸次減少し、S4>S5になるように設定されている。
上記のように実施例1は、ティース付根部の幅WT5に対してティース先端部の幅WT4を小さくし、また、スロット底部5aでの幅S5に対して、スロット開口部5bでの幅S4を大きくした形状となっている。
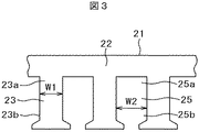
図3に従来例の電機子(固定子)形状を示す。ここで電機子21は図1の電機子1と同一外形寸法あるとし、ティース形状は付根部23aの幅寸法(図1のWT5に相当)とティース先端23bの幅寸法(図1のWT4に相当)とが同じW1であり、スロットの幅寸法は底部25aと開口部25bで同じ幅寸法W2である。
電機子のティースに巻回される巻線の巻回数および並列本数が同じであり、巻線に流入する電流が同じ場合、図3において電機子21のティースの幅をできるだけ大きくとることにより、ティース部分での磁気飽和が緩和され、ティース部分の有効磁束量が増大する。これにより、出力できるトルクの最大値を増大させることが可能となる。しかし、ティースの幅を広げるとスロットの幅が狭まるので、巻線の巻回数が減って発生磁束が減少する問題がある。電機子21のコアのティース23に流れ込んだ磁束が磁気抵抗の小さい背部22に流れようとしてティースの付根部3aに磁気が集中して飽和し易くなる。そこで実施例1では、ティース3の先端3bより付根部3aの幅を広げて、磁気飽和を緩和することで、ティース部分の有効磁束量を増大させている。
ここで、ティース及びスロットについての形状は自由に選定していくことは可能であるが、最大出力推力と、各位置での一様な推力特性とを両立させることは容易ではない。特に、機械の可動部分の加速性能を向上するには駆動するモータ自体の可動子重量を小さくすることが必要であり、これによって可動子の長さは決まってしまう。固定子の可動子側の形状(ティース、スロットの寸法)は可動子長さと関連付けられているため、ティースなどに与えられる寸法をあまり小さくできず限界が生じる。
本発明の実施例2を図2に示す。図1と同一部分には同一符号で示す。本実施例2では、前記電機子1のティース部3の幅寸法(Wt4)がティース先端側3bから付根側3aに向けて、ティース部3の長さの約中央の位置3cまでの区間(所定の長さ区間)で一定(Wt4)である。そして、前記位置3cから付根側3aに向けて漸次増加し、付根側3aで幅寸法Wt5となる。さらに、スロット5の幅寸法(S4)が開口部5bから底部5aに向けて、スロット部5の長さの約中央の位置5cまでの区間(所定の長さ区間)で一定(S4)である。そして、前記位置5cから底部5aに向けて漸次減少し、底部5aで幅寸法S5となる。
本実施例2は先の実施例と同様に、ティース3とスロット5との幅寸法の比率(ティース幅寸法/スロット幅寸法)がティース先端から付根部に向かい漸次増加している。
従って、実施例1と同様にティースの付根3aの幅寸法をできるだけ大きくWt5としており、磁気飽和が緩和されてティース部分の有効磁束量が増大する。
上記実施例によれば、スロット5の開口部5bと底部5aでは幅寸法が異なって、S4>S5の関係にあるため、電機子コイル4の巻回数が開口部5b付近で多く、底部5aで少なくなる。従って、コイル電流による磁束がスロット5の開口部5b付近での増加し、底部5aで減少することになる。図4にスロット5の底部5aのコイルによる磁束の流れを示し、図5にスロット5の開口側5b付近のコイルによる磁束の流れを示す。
スロット5の底部5aのコイル4による磁束は、この底部5aを中心とする円形の磁束が発生するため、図4に示すようにティース先端まで届きにくく、ティース間を横切る漏れ磁束が生じ易い。本実施例では、スロット5の底部5a付近のコイルによる磁束が減少するようにスロットの幅寸法が設定されているので、ティース間での漏れ磁束を少なく抑えることができる。
スロット5の開口部5b付近のコイル4による磁束は、このコイル4を中心とした円形の磁束を発生するが、図5に示すようにティース先端5bが近いために、可動子8を流れる磁束となって可動子の推力として有効に作用する。本実施例では、スロット5の開口部5b側のコイルによる磁束が増加するようにスロットの幅寸法が設定されているため、可動子の推力をより大きくすることができる。また、ティース付根3aの幅寸法を大きく設定しているのでティース付根3aの磁気抵抗が下がるため、開口部5b側のコイルによる磁束は、ほぼ全て電機子1の背部2を通すことができ、磁気飽和による特性低下やティース間の漏れ磁束を防止することができる。
本実施例の固定子としての電機子1を用い、これと可動子としての磁極8を組合せてリニアモータを構成した場合、同じサイズおよび可動子の重量でありながら、要求される出力可能最大推力と可動子重量について、最も有利なリニアモータの特性を実現でき、射出成形機の射出性能の向上や制御性能の向上、また、プレス機械のプレス性能の向上や品質向上が実現できる。
1…電機子コア(固定子)、2…電機子の背部、3…ティース、3a…ティース付根、3b…ティース先端、3c…ティース中央位置、4…電機子コイル、5…スロット、5a…スロット底部、5b…スロット開口部、5c…スロット中央部、7…永久磁石、8…可動子。

Claims (8)

  1. 複数の永久磁石を並べて配置した磁極と、上記永久磁石列と磁気的空間を介して対向すると共に、対向面に複数のスロットとティースを有する電機子に電機子コイルを巻装した電機子とを備え、上記磁極と上記電機子との何れか一方を固定子に、他方を可動子として、上記磁極と上記電機子を相対的に走行するようにしたリニアモータにおいて、
    上記電機子の上記ティース幅寸法がティース先端から付根部に向い漸次増加し、ティースとスロットとの幅寸法の比率(ティース幅寸法/スロットとの幅寸法)がティース先端から付根部に向い漸次増加していることを特徴とするリニアモータ。
  2. 請求項1記載のリニアモータにおいて、上記電機子に巻装される電機子コイルの巻回数が、ティース先端側よりティース付根部側で少なく設定されたことを特徴とするリニアモータ。
  3. 複数の永久磁石を並べて配置した磁極と、上記永久磁石列と磁気的空間を介して対向すると共に、対向面に複数のスロットとティースを有する電機子に電機子コイルを巻装した電機子とを備え、上記磁極と上記電機子との何れか一方を固定子に、他方を可動子として、上記磁極と上記電機子を相対的に走行するようにしたリニアモータにおいて、
    上記電機子の上記ティース幅寸法がティース先端から付根部に向い所定の長さ区間一定であり、上記区間からティース付根部に向い漸次増加し、ティースとスロットとの幅寸法の比率(ティース幅寸法/スロットとの幅寸法)がティース先端から付根部に向い漸次増加していることを特徴とするリニアモータ。
  4. 請求項3記載のリニアモータにおいて、上記電機子に巻装される電機子コイルの巻回数が、ティース先端側よりティース付根部側で少なく設定されたことを特徴とするリニアモータ。
  5. 複数の永久磁石を並べて配置した磁極と、上記永久磁石列と磁気的空間を介して対向すると共に、対向面に複数のスロットとティースを有する電機子に電機子コイルを巻装した電機子とを備え、上記磁極と上記電機子との何れか一方を固定子に、他方を可動子として、上記磁極と上記電機子を相対的に走行するようにしたリニアモータの電機子構造において、
    上記電機子の上記ティース幅寸法がティース先端から付根部に向い漸次増加し、ティースとスロットとの幅寸法の比率(ティース幅寸法/スロットとの幅寸法)がティース先端から付根部に向い漸次増加していることを特徴とする電機子構造。
  6. 請求項5記載の電機子構造において、上記電機子に巻装される電機子コイルの巻回数が、ティース先端側よりティース付根部側で少なく設定されたことを特徴とする電機子構造。
  7. 複数の永久磁石を並べて配置した磁極と、上記永久磁石列と磁気的空間を介して対向すると共に、対向面に複数のスロットとティースを有する電機子に電機子コイルを巻装した電機子とを備え、上記磁極と上記電機子との何れか一方を固定子に、他方を可動子として、上記磁極と上記電機子を相対的に走行するようにしたリニアモータの電機子構造において、
    上記電機子の上記ティース幅寸法がティース先端から付根部に向い所定の長さ区間一定であり、上記区間からティース付根部に向い漸次増加し、ティースとスロットとの幅寸法の比率(ティース幅寸法/スロットとの幅寸法)がティース先端から付根部に向い漸次増加していることを特徴とする電機子構造。
  8. 請求項7記載の電機子構造において、上記電機子に巻装される電機子コイルの巻回数が、ティース先端側よりティース付根部側で少なく設定されたことを特徴とする電機子構造。
JP2010060931A 2010-03-17 2010-03-17 リニアモータおよびその電機子構造 Expired - Fee Related JP5452299B2 (ja)

Priority Applications (1)

Application Number Priority Date Filing Date Title
JP2010060931A JP5452299B2 (ja) 2010-03-17 2010-03-17 リニアモータおよびその電機子構造

Applications Claiming Priority (1)

Application Number Priority Date Filing Date Title
JP2010060931A JP5452299B2 (ja) 2010-03-17 2010-03-17 リニアモータおよびその電機子構造

Publications (2)

Publication Number Publication Date
JP2011199936A true JP2011199936A (ja) 2011-10-06
JP5452299B2 JP5452299B2 (ja) 2014-03-26

Family

ID=44877460

Family Applications (1)

Application Number Title Priority Date Filing Date
JP2010060931A Expired - Fee Related JP5452299B2 (ja) 2010-03-17 2010-03-17 リニアモータおよびその電機子構造

Country Status (1)

Country Link
JP (1) JP5452299B2 (ja)

Cited By (10)

* Cited by examiner, † Cited by third party
Publication number Priority date Publication date Assignee Title
WO2014020695A1 (ja) * 2012-07-31 2014-02-06 株式会社安川電機 リニアモータ
JP2014166131A (ja) * 2013-02-26 2014-09-08 Toru Nagaike 推力モーター及び移動体への取り付け方法
CN107565716A (zh) * 2016-06-30 2018-01-09 罗伯特·博世有限公司 绕组载体
WO2019202919A1 (ja) * 2018-04-17 2019-10-24 Kyb株式会社 筒型リニアモータ
JP2020142912A (ja) * 2019-03-08 2020-09-10 株式会社日立ハイテク 搬送装置、およびそれを備えた検体分析システム、検体前処理装置
JP2020201167A (ja) * 2019-06-12 2020-12-17 株式会社日立ハイテク 搬送装置
EP3637600A4 (en) * 2017-11-24 2021-03-03 KYB Corporation TUBULAR LINEAR MOTOR
WO2021166338A1 (ja) * 2020-02-18 2021-08-26 株式会社日立ハイテク 搬送装置及び搬送装置を有する検体分析システム
CN115622301A (zh) * 2022-10-26 2023-01-17 浙江大学 动子可自供电的双励磁源永磁直线电机及其优化设置方法
WO2023135893A1 (ja) * 2022-01-14 2023-07-20 日立Astemo株式会社 リニアモータ及びこれを備えた電動サスペンション装置、制振システム

Families Citing this family (1)

* Cited by examiner, † Cited by third party
Publication number Priority date Publication date Assignee Title
JP7628801B2 (ja) * 2020-10-27 2025-02-12 株式会社日立ハイテク 搬送装置

Citations (2)

* Cited by examiner, † Cited by third party
Publication number Priority date Publication date Assignee Title
JPH11155277A (ja) * 1997-11-25 1999-06-08 Nippon Otis Elevator Co リニアモータ
JP2007143398A (ja) * 2007-02-26 2007-06-07 Nsk Ltd リニアモータ

Patent Citations (2)

* Cited by examiner, † Cited by third party
Publication number Priority date Publication date Assignee Title
JPH11155277A (ja) * 1997-11-25 1999-06-08 Nippon Otis Elevator Co リニアモータ
JP2007143398A (ja) * 2007-02-26 2007-06-07 Nsk Ltd リニアモータ

Cited By (26)

* Cited by examiner, † Cited by third party
Publication number Priority date Publication date Assignee Title
JP5472489B1 (ja) * 2012-07-31 2014-04-16 株式会社安川電機 リニアモータ
WO2014020695A1 (ja) * 2012-07-31 2014-02-06 株式会社安川電機 リニアモータ
JP2014166131A (ja) * 2013-02-26 2014-09-08 Toru Nagaike 推力モーター及び移動体への取り付け方法
CN107565716A (zh) * 2016-06-30 2018-01-09 罗伯特·博世有限公司 绕组载体
EP3637600A4 (en) * 2017-11-24 2021-03-03 KYB Corporation TUBULAR LINEAR MOTOR
US11456654B2 (en) 2017-11-24 2022-09-27 Kyb Corporation Tubular linear motor
WO2019202919A1 (ja) * 2018-04-17 2019-10-24 Kyb株式会社 筒型リニアモータ
JP2019187209A (ja) * 2018-04-17 2019-10-24 Kyb株式会社 筒型リニアモータ
JP7079444B2 (ja) 2018-04-17 2022-06-02 Kyb株式会社 筒型リニアモータ
WO2020183889A1 (ja) * 2019-03-08 2020-09-17 株式会社日立ハイテク 搬送装置、およびそれを備えた検体分析システム、検体前処理装置
JP2020142912A (ja) * 2019-03-08 2020-09-10 株式会社日立ハイテク 搬送装置、およびそれを備えた検体分析システム、検体前処理装置
CN113474980A (zh) * 2019-03-08 2021-10-01 株式会社日立高新技术 输送装置和具有它的受检体分析系统、受检体前处理装置
JP2020201167A (ja) * 2019-06-12 2020-12-17 株式会社日立ハイテク 搬送装置
WO2020250555A1 (ja) * 2019-06-12 2020-12-17 株式会社日立ハイテク 搬送装置
US11772911B2 (en) 2019-06-12 2023-10-03 Hitachi High-Tech Corporation Conveying device
CN113905964A (zh) * 2019-06-12 2022-01-07 株式会社日立高新技术 输送装置
JP7319096B2 (ja) 2019-06-12 2023-08-01 株式会社日立ハイテク 搬送装置
JP2021130519A (ja) * 2020-02-18 2021-09-09 株式会社日立ハイテク 搬送装置及び搬送装置を有する検体分析システム
CN115023405B (zh) * 2020-02-18 2023-07-07 株式会社日立高新技术 搬送装置及具有搬送装置的检体分析系统
JP7304831B2 (ja) 2020-02-18 2023-07-07 株式会社日立ハイテク 搬送装置及び搬送装置を有する検体分析システム
CN115023405A (zh) * 2020-02-18 2022-09-06 株式会社日立高新技术 搬送装置及具有搬送装置的检体分析系统
WO2021166338A1 (ja) * 2020-02-18 2021-08-26 株式会社日立ハイテク 搬送装置及び搬送装置を有する検体分析システム
US11933801B2 (en) 2020-02-18 2024-03-19 Hitachi High-Tech Corporation Transport device and specimen analysis system including transport device
WO2023135893A1 (ja) * 2022-01-14 2023-07-20 日立Astemo株式会社 リニアモータ及びこれを備えた電動サスペンション装置、制振システム
CN115622301A (zh) * 2022-10-26 2023-01-17 浙江大学 动子可自供电的双励磁源永磁直线电机及其优化设置方法
CN115622301B (zh) * 2022-10-26 2023-08-04 浙江大学 动子可自供电的双励磁源永磁直线电机及其优化设置方法

Also Published As

Publication number Publication date
JP5452299B2 (ja) 2014-03-26

Similar Documents

Publication Publication Date Title
JP5452299B2 (ja) リニアモータおよびその電機子構造
JP5370313B2 (ja) リニアモータ
JP6125267B2 (ja) 埋込磁石型誘導子リニアモータ
JP2010130871A (ja) リニアモータ
US8884473B2 (en) Mover, armature, and linear motor
CN102195431A (zh) 永久磁铁同步电动机
JP5511713B2 (ja) リニアモータ
JP2005168243A (ja) 永久磁石型同期リニアモータ
JP2011217591A (ja) 永久磁石形同期リニアモータおよびそれを用いたテーブル送り装置
CN103490534B (zh) 一种减小定位力的定子永磁型游标电机结构
KR20190112153A (ko) 리니어 모터
JP2018050430A (ja) リニアモータ
CN203617800U (zh) 一种减小定位力的定子永磁型游标电机结构
JP5678025B2 (ja) 推力発生機構
JP2010098880A (ja) 円筒形リニアモータ
JP5525416B2 (ja) リニアアクチュエータ
JP2010148167A (ja) リニアモータ
CN216056755U (zh) 永磁体内嵌式直线电机
JP5874246B2 (ja) リニア駆動装置の可動子
JP2022119042A (ja) リニアモータ
CN101005217B (zh) 自励磁电机及其定子结构
JPH0628502B2 (ja) リニアモ−タ
JP2019122072A (ja) 筒型リニアモータ
JP2019097377A (ja) 筒型リニアモータ
CN108110987A (zh) 双定子无动子轭有取向硅钢片永磁直线电机

Legal Events

Date Code Title Description
A711 Notification of change in applicant

Free format text: JAPANESE INTERMEDIATE CODE: A711

Effective date: 20110916

A621 Written request for application examination

Free format text: JAPANESE INTERMEDIATE CODE: A621

Effective date: 20120517

A977 Report on retrieval

Free format text: JAPANESE INTERMEDIATE CODE: A971007

Effective date: 20130830

A131 Notification of reasons for refusal

Free format text: JAPANESE INTERMEDIATE CODE: A131

Effective date: 20130903

A521 Written amendment

Free format text: JAPANESE INTERMEDIATE CODE: A523

Effective date: 20131031

TRDD Decision of grant or rejection written
A01 Written decision to grant a patent or to grant a registration (utility model)

Free format text: JAPANESE INTERMEDIATE CODE: A01

Effective date: 20131203

A61 First payment of annual fees (during grant procedure)

Free format text: JAPANESE INTERMEDIATE CODE: A61

Effective date: 20131227

R150 Certificate of patent or registration of utility model

Ref document number: 5452299

Country of ref document: JP

Free format text: JAPANESE INTERMEDIATE CODE: R150

Free format text: JAPANESE INTERMEDIATE CODE: R150

LAPS Cancellation because of no payment of annual fees