JP2011123767A - 自動販売機 - Google Patents

自動販売機 Download PDF

Info

Publication number
JP2011123767A
JP2011123767A JP2009282198A JP2009282198A JP2011123767A JP 2011123767 A JP2011123767 A JP 2011123767A JP 2009282198 A JP2009282198 A JP 2009282198A JP 2009282198 A JP2009282198 A JP 2009282198A JP 2011123767 A JP2011123767 A JP 2011123767A
Authority
JP
Japan
Prior art keywords
product
unit
main body
vending machine
unit main
Prior art date
Legal status (The legal status is an assumption and is not a legal conclusion. Google has not performed a legal analysis and makes no representation as to the accuracy of the status listed.)
Pending
Application number
JP2009282198A
Other languages
English (en)
Inventor
Yuki Ono
雄喜 大野
Takeshi Kasai
武司 笠井
Toshinori Katsuta
俊紀 勝田
Norio Fujimoto
規夫 藤本
Hiroyuki Sugino
弘之 杉野
Yoshito Shibata
義人 柴田
Current Assignee (The listed assignees may be inaccurate. Google has not performed a legal analysis and makes no representation or warranty as to the accuracy of the list.)
Fuji Electric Retail Systems Co Ltd
Original Assignee
Fuji Electric Retail Systems Co Ltd
Priority date (The priority date is an assumption and is not a legal conclusion. Google has not performed a legal analysis and makes no representation as to the accuracy of the date listed.)
Filing date
Publication date
Application filed by Fuji Electric Retail Systems Co Ltd filed Critical Fuji Electric Retail Systems Co Ltd
Priority to JP2009282198A priority Critical patent/JP2011123767A/ja
Publication of JP2011123767A publication Critical patent/JP2011123767A/ja
Pending legal-status Critical Current

Links

Images

Landscapes

  • Control Of Vending Devices And Auxiliary Devices For Vending Devices (AREA)
  • Vending Machines For Individual Products (AREA)

Abstract

【課題】販売ユニットの前後方向の寸法を低減させて扉体より前方に突出する突出長さを小さくすることができるとともに、商品の補充を簡単に行うことができる自動販売機を提供すること。
【解決手段】本体キャビネット1の前面開口を開閉する外扉2と、ユニット本体11が外扉2の前面から直方状に露出する態様で配設され、ユニット本体11の前面の中央域下部に商品取出口14が形成された販売ユニット10とを備え、販売ユニット10は、商品を直積みした状態で収納する収納ラック30と、販売指令が与えられた場合に左右方向に沿って移動することにより収納ラック30により収納された最下位の商品に当接して、該商品を商品取出口14の後方域に払い出す払出機構40とを内蔵するユニット本体11が外扉2に対して独立して開閉可能となる態様で配設されたものである。
【選択図】図7

Description

本発明は、自動販売機に関し、より詳細には、例えば缶入り飲料やペットボトル入り飲料等の商品を販売するものであって、外扉の前面から露出する態様で組み込み配設され、自動販売機本体の内部に収納された商品とは別個の商品を収納して販売する販売ユニットを備えた自動販売機に関するものである。
従来、例えば缶入り飲料やペットボトル入り飲料等の商品を販売する自動販売機において、内部の商品収納ラックに収納された商品とは別個の商品を販売する販売ユニットを備えたものが知られている。
販売ユニットは、自身の前面が自動販売機の前面である外扉の前面から露出する態様で組み込み配設されており、内部に商品を直積みした状態で上下方向に沿って収納する収納ラックを備えている。
このような販売ユニットでは、販売指令が与えられた場合に、該当する商品を収納する収納ラックを下方に向けて移動させ、左右方向に移動する当接部材により該収納ラックの最下位にある商品を当接して払い出し、更に前後方向に移動する押出部材により該商品を押し出して、前面の下方部に設けられた商品取出口より取り出し可能にしている(例えば、特許文献1参照)。
特開2006−99638号公報
ところで、上述したような自動販売機の販売ユニットは、販売指令が与えられた場合に、該当する商品を収納する収納ラックを下方に向けて移動させ、当接部材が左右方向に沿って移動して該収納ラックの最下位にある商品に当接して払い出し、押出部材が前方に向けて移動して払い出された商品を押し出して、商品取出口より取り出し可能にしているので、販売ユニットの前後方向の寸法を大きくする必要がある。そのため、自動販売機の外扉より前方に突出する販売ユニットの突出長さが大きくなってしまう、という問題があった。また、販売ユニットは、外扉に配設されているために該販売ユニットに対して商品補充等を行う場合には、外扉を開扉動作させることが必要であり、補充動作が煩雑なものとなっていた。
本発明は、上記実情に鑑みて、販売ユニットの前後方向の寸法を低減させて扉体より前方に突出する突出長さを小さくすることができるとともに、商品の補充を簡単に行うことができる自動販売機を提供することを目的とする。
上記目的を達成するために、本発明の請求項1に係る自動販売機は、前面に開口を有した直方状をなし、商品を内部に収納する自動販売機本体と、前記自動販売機本体の前面開口を開閉する扉体と、ユニット本体が前記扉体の前面から直方状に露出する態様で配設され、前記ユニット本体の前面の中央域下部に商品取出口が形成された販売ユニットとを備えた自動販売機において、前記販売ユニットは、前記自動販売機本体に収納された商品とは別個の商品を直積みした状態で収納する収納手段と、販売指令が与えられた場合に左右方向に沿って移動することにより前記収納手段により収納された最下位の商品に当接して、該商品を前記商品取出口の後方域に払い出す払出手段とを内蔵する前記ユニット本体が前記扉体に対して独立して開閉可能となる態様で配設されたことを特徴とする。
また、本発明の請求項2に係る自動販売機は、上述した請求項1において、前記収納手段は、前記ユニット本体に対して着脱可能に配設され、前記ユニット本体から離脱した場合には、自身への商品の補充を可能にする一方、前記ユニット本体に装着した場合には、前記払出手段による商品の払い出しを可能にすることを特徴とする。
また、本発明の請求項3に係る自動販売機は、上述した請求項1において、前記収納手段は、自身の軸状部の軸心回りに揺動可能に配設され、前記ユニット本体から離反する態様で揺動した場合には、自身への商品の補充を可能にする一方、前記ユニット本体に近接する態様で揺動した場合には、前記払出手段による商品の払い出しを可能にすることを特徴とする。
本発明の自動販売機によれば、販売ユニットが、自動販売機本体に収納された商品とは別個の商品を直積みした状態で収納する収納手段と、販売指令が与えられた場合に左右方向に沿って移動することにより収納手段により収納された最下位の商品に当接して、該商品を商品取出口の後方域に払い出す払出手段とを内蔵するユニット本体が扉体に対して独立して開閉可能となる態様で配設されたので、従来のように前後方向に沿って移動する押出部材を必要とせず、販売ユニットの前後方向の寸法を小さくすることができる。従って、販売ユニットの前後方向の寸法を低減させて、扉体より前方に突出する販売ユニットの突出長さ、すなわち扉体の前面から販売ユニットの前面までの突出長さを小さくすることができる。また、扉体を開扉動作させることなく、ユニット本体を開扉移動させることにより補充動作を行うことができる。よって、販売ユニットの前後方向の寸法を低減させて扉体より前方に突出する突出長さを小さくすることができるとともに、商品の補充を簡単に行うことができるという効果を奏する。
図1は、本発明の実施の形態1である自動販売機を模式的に示す斜視図である。 図2は、図1に示した外扉の後方側を示す斜視図である。 図3は、図2に示した収納ラックの内部構造を後方側から示す断面背面図である。 図4は、図3に示した払出機構を示す斜視図である。 図5は、図2に示した収納ラックの内部構造を後方側から示す断面背面図であり、ハッチングを省略している。 図6は、図2に示した収納ラックの内部構造を後方側から示す断面背面図であり、ハッチングを省略している。 図7は、図1に示した販売ユニットの開扉移動した状態を示す斜視図である。 図8は、外扉の前面から突出するユニット本体の前面部分を拡大して示すものであり、右側斜め前方から見た場合の斜視図である。 図9は、外扉の前面から突出するユニット本体の前面部分を拡大して示すものであり、右側斜め後方から見た場合の斜視図である。 図10は、外扉の前面から突出するユニット本体の前面部分を拡大して示す正面図である。 図11は、販売ユニットの後方側を拡大して示す斜視図である。 図12は、図11に示した商品ラックを後方側見た場合を示す背面図である。 図13は、図2に示した販売ユニットの後方側を拡大して示す斜視図である。 図14は、図11〜図13に示した収納ラックの変形例を示すもので、外扉の後方側を示す斜視図である。 図15は、図14に示した販売ユニットの後方側を拡大して示す斜視図である。 図16は、外扉の前面から突出する販売ユニットを拡大して示す正面図である。 図17は、図16に示した販売ユニットを後方から見た場合を模式的に示す背面図である。 図18は、本発明の実施の形態2である自動販売機の販売ユニットを拡大して示す正面図である。 図19は、図18に示した販売ユニットの内部構造を示す縦断面図である。 図20は、本発明の実施の形態2である自動販売機の販売ユニットの変形例を拡大して示す正面図である。 図21は、本発明の実施の形態2である自動販売機の販売ユニットの他の変形例を拡大して示す正面図である。
以下に添付図面を参照して、本発明に係る自動販売機の好適な実施の形態について詳細に説明する。
<実施の形態1>
図1は、本発明の実施の形態1である自動販売機を模式的に示す斜視図である。ここで例示する自動販売機は、例えば缶入り飲料やペットボトル入り飲料を主要商品として販売するもので、自動販売機本体である本体キャビネット1を備えている。
本体キャビネット1は、前面が開口した直方状の断熱筐体として形成されたものである。この本体キャビネット1の内部には、図には明示しないが、複数の独立した商品収容庫が左右に並設してある。これら商品収容庫は、缶入り飲料やペットボトル入り飲料等の商品を所望の温度に維持した状態で収容するためのものである。各商品収容庫には、それぞれの上方部に商品投入口を通じて投入された商品を横倒し姿勢で収容するための商品収納ラックが配設してある一方、搬出シュータによって区画される下方に熱交換器(図示せず)が配設してあり、該熱交換器の駆動により、商品収納ラックに収納された飲料缶やペットボトルを所望の冷却温度、あるいは加熱温度に維持することが可能である。
尚、本実施の形態1においては、自動販売機を正面から見た場合の左方を左側とし、自動販売機を正面から見た場合の右方を右側として説明する。
上記自動販売機には、本体キャビネット1の一側縁部に内扉(図示せず)及び外扉2を開閉可能に設けて構成してある。内扉は、本体キャビネット1に設けた商品収容庫の前面を覆うのに十分な大きさを有したものであり断熱構造を有している。
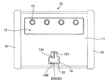
外扉2は、本体キャビネット1の前面開口を覆うのに十分な大きさを有した扉体である。この外扉2には、その前面側にディスプレイウィンドウ3、商品選択ボタン(図示せず)、硬貨投入口4、紙幣挿入口5、硬貨返却口6、商品取出口7が主に設けてある。
ディスプレイウィンドウ3は、外扉2の左端側にヒンジ結合された片開き式の中扉9(図2参照)に配設されたディスプレイ台に載置される商品見本等を利用者に視認させるための窓である。商品選択ボタンは、利用者が購入商品を選択するための押ボタンスイッチであり、ディスプレイウィンドウ3を通じて視認される商品見本毎に用意してある。硬貨投入口4は、利用者が硬貨を投入するための開口である。紙幣挿入口5は、利用者が紙幣を挿入するための開口である。硬貨返却口6は、釣銭となる硬貨を利用者に返却するための開口である。商品取出口7は、商品収納ラックから払い出された商品を利用者が受け取るための開口である。この商品取出口7は、商品取出扉8により開閉可能となっている。
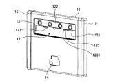
図2は、図1に示した外扉の後方側を示す斜視図である。この図2にも示すように外扉2の左側中央部には販売ユニット10が配設してある。この販売ユニット10は、鋼板を屈曲してなる後面が開口する直方状のユニット本体11を備えている。このユニット本体11の前面が外扉2の前面より前方に突出する態様で配設してある。より詳細に説明すると、販売ユニット10は、自身の前面が外扉2の前面から露出する態様で組み込まれて配設してある。
このようなユニット本体11は、正面から見た場合にそれぞれの縁部が屈曲加工されて略矩形状をなしている。かかるユニット本体11の前面には、展示部12、選択ボタン13及び商品取出口14が配設してある。展示部12は、商品見本を展示するための部位である。選択ボタン13は、利用者が購入商品を選択するための押ボタンスイッチであり、展示部12に展示される商品見本毎に用意してある。商品取出口14は、ユニット本体11の前面の中央域下部に形成された開口で、内部から払い出された商品を利用者が受け取るための開口である。この商品取出口14の詳細については後述する。尚、この選択ボタン13が押下された場合、その旨の信号は、本体キャビネット1に搭載されている制御装置(図示せず)に与えられることになる。
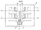
かかるユニット本体11の背面には、商品受部20と、商品受部20を挟んで左右両側に複数(図示の例では3つ)の収納ラック(収納手段)30とが取り付けてある。商品受部20は、商品取出口14の後方域に配設されており、該商品取出口14の後方域に商品受スペース20Sを画成するものである。
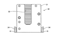
収納ラック30は、商品受部20よりも上方であって、更に左右側となる個所にそれぞれ配設(図示の例では商品受部20を挟んで右側に上下2段、左側に1段として配設)してある直方状のものである。この収納ラック30は、商品を直積みした状態で上下方向に沿って収納するものであり、上面が開口するとともに、後面31にも該上面開口に連続する態様で下方に向けて舌片状に拡がる開口(舌片状開口)32が形成してある。
図3は、図2に示した収納ラックの内部構造を後方側から示す断面背面図である。尚、ハッチングは省略している。ここで例示する収納ラック30は、商品受部20よりも右側上部域に配設されたものを示している。このような収納ラック30は、最下段に払出機構(払出手段)40が配設してある。払出機構40は、図4に示すように、商品を直積みした状態で載置するための載置台41を備えるとともに、モータの駆動により載置台41の上面を左右方向に沿って進出移動及び退行移動するスライダ42を備えている。ここで、図4中の符号43は、売切検知スイッチである。売切検知スイッチ43は、自身の上に商品が載置される場合には、該商品の自重により載置台41よりも下方に位置してオフ状態となる。その一方、自身の上に商品が載置されない場合には、載置台41よりも上方に位置してオン状態となり、商品が売り切れた旨を上記制御装置に与えるものである。
このような収納ラック30においては、制御装置から販売指令が与えられた場合に、モータが駆動することにより、図5に示すように、スライダ42が左方向に沿って進出移動し、最下位の商品W1に当接して該商品W1を左方向に押し出す。このとき最下位から2番目の商品W2は、その左端がストッパ片33に当接することにより、最下位の商品W1と同じように左方向に向けて移動することが規制される。
また、図中の符号44は、規制部材である。規制部材44は、常態においては載置台41よりも上方に突出した姿勢となり(図3及び図4参照)、載置台41に載置されて収納される商品が払い出されてしまうことを回避しており、販売指令が与えられた場合には、載置台41よりも下方に退避した姿勢となり(図5参照)、スライダ42による商品の払い出しを許容するものである。
そして、図6に示すようにスライダ42により押し出された商品W1は、商品受部20に画成された商品受スペース20Sに払い出され、該商品取出口14を通じて利用者が取り出し可能な状態になる。かかるスライダ42が最下位の商品W1を押し出す場合でも、図6に示すように該スライダ42の上面には最下位から2番目の商品W2が載置しており、スライダ42が右方向に向けて退行移動して初期位置に戻ると、当該商品W2が載置台41に載置されて最下位の商品として収納されることになる。
上述したような販売ユニット10のユニット本体11は、図7に示すように、自身の左側縁部に形成されたヒンジ軸(図示せず)の軸心回りに揺動可能に配設されており、前方に向けて開扉移動、後方に向けて閉扉移動可能となっている。つまり、収納ラック30や払出機構40を内蔵するユニット本体11が外扉2に対して独立して開閉可能となる態様で配設されている。尚、図示の例では、収納ラック30が商品受部20を挟んで左右両側に複数(図示の例では4つ)設けられている場合を示している。このように収納ラック30が左右両側に4つ設けられている場合には、商品受部20の形状が収納ラック30が3つ設けられている場合とは異なるが、商品受部20が果たす機能は同じものである。
図8〜図10は、それぞれ外扉の前面から突出するユニット本体の前面部分を拡大して示すものであり、図8は右側斜め前方から見た場合の斜視図、図9は右側斜め後方から見た場合の斜視図、図10は正面図である。これら図8〜10に示すように、ユニット本体11は、鋼板を屈曲して形成したものであり、それぞれの頂部15には図示せぬ切り欠きが形成してある。そして、予めユニット本体11のうち外扉2の前面から突出する矩形状の突出部分の一対の側縁部を覆う態様で、4つの頂部15を被覆する樹脂製の化粧枠材16が図示せぬ締結手段により締結されることにより配設してある。
そして、ユニット本体11の前面に形成された展示部12においては、展示台座部121に収納ラック30に収納される商品の種類に応じた商品見本(図示せず)が展示されることとなるが、かかる展示台座部121の上方域の天井部122には、LED等の光源を内蔵する照射部材123が取り付けられている。照射部材123は、光源を内蔵するとともに、自身に左右に突出する態様で形成された突出片1231が天井部122に形成された取付孔1221に進入することにより取り付けられている。つまり、展示部12は、商品見本を照射するための光源を取り付け可能に構成してある。
図11は、上記販売ユニットの後方側を拡大して示す斜視図である。この図11に示すように、販売ユニット10を構成する複数(図示の例では3つ)の収納ラック30のうち、商品受部20の左側上部域に配設される収納ラック30、すなわちインバータを内蔵する筐体100の下方に位置する収納ラック30は、商品の収容数を増やすために上面開口が筐体100に近接して位置するように形成されていることから上面開口から商品を補充するのが困難であり、このことから次のような構成を有している。すなわち、かかる収納ラック30は、図12に示すように、左右の下部にローラ34が設けてあり、かかるローラ34がユニット本体11に配設されたレール部材Rに転動可能に係合することにより、ユニット本体11の前面部分に対して近接離反する態様でスライド移動可能となっている。そして、図13に示すように、ユニット本体11の前面部分から離反する態様でスライド移動することにより、かかる収納ラック30の上端開口を通じて商品の補充を可能にするものである。
かかる商品の補充を行った後は、収納ラック30がユニット本体11の前面部分に近接する態様でスライド移動し、図示せぬ磁石により生ずる磁力等により上記筐体100の下方に位置することになる。
このように収納ラック30は、ユニット本体11から離反する態様でスライド移動した場合には、自身への商品の補充を可能にする一方、ユニット本体11に近接する態様でスライド移動して磁力により装着された場合には、払出機構40による商品の払い出しを可能にするものである。
これら図11〜図13に例示した収納ラック30は、ローラ34がレール部材Rを転動することによりユニット本体11に対して近接離反する態様でスライド移動するものであったが、本実施の形態1においては、以下のような収納ラック30であっても良い。以下に収納ラック30の変形例について説明する。尚、説明の便宜上、同一の符号を付して説明する。
図14及び図15は、上記図11〜図13に示した収納ラックの変形例を示すもので、図14は外扉の後方側を示す斜視図であり、図15は、図14に示した販売ユニットの後方側を拡大して示す斜視図である。尚、図示の例では、収納ラック30が商品受部20を挟んで左右両側に複数(図示の例では4つ)設けられている場合を示している。
これら図14及び図15に例示するように、左側上部域に配設される収納ラック30や、右側上部域に配設される収納ラック30は、自身の軸状部35の軸心回りに揺動可能に配設されている。より詳細には、左側上部域に配設される収納ラック30は、自身の左側縁部の軸状部35がユニット本体11に軸支され、かかる軸状部35の軸心回りに揺動可能に配設されている。これにより図15に示すように、収納ラック30がユニット本体11から離反する態様で後方に向けて揺動した場合には、自身への商品の補充を可能にするとともに、下部側の収納ラック30への商品の補充を可能にする。その一方、ユニット本体11に近接する態様で前方に向けて揺動して、図示せぬ磁石により生ずる磁力等によりユニット本体11に装着された場合には、払出機構40による商品の払い出しを可能にするものである。図には明示していないが、右側上部域に配設される収納ラック30は、自身の右側縁部の軸状部がユニット本体11に軸支され、かかる軸状部の軸心回りに揺動可能に配設されている。これにより、収納ラック30がユニット本体11から離反する態様で後方に向けて揺動した場合には、自身への商品の補充を可能にするとともに、下部側の収納ラック30への商品の補充を可能にする。その一方、ユニット本体11に近接する態様で前方に向けて揺動して、磁石により生ずる磁力等によりユニット本体11に装着された場合には、払出機構40による商品の払い出しを可能にするものである。
ここで図15中の符号36は、ガイド部材であり、収納ラック30が商品受部20を挟んで左右両側に4つ設けられている場合に配設してある。かかるガイド部材36は、左右の上部域のそれぞれの収納ラック30から払い出された商品を商品受部20により画成される商品受スペース20Sに案内するためのものである。
図16は、外扉の前面から突出する販売ユニットを拡大して示す正面図であり、図17は、図16に示した販売ユニットを後方から見た場合を模式的に示す背面図である。尚、図示の例では、収納ラック30が商品受部20を挟んで左右両側に複数(図示の例では4つ)設けられている場合を示している。
ここで例示する販売ユニット10は、上述したようにユニット本体11の前面の中央域下部に商品取出口14が形成されている。このような商品取出口14の後方域には、商品受部20により商品受スペース20Sが画成されており、図示せぬ支持部材を通じて該商品受スペース20Sを左右に区画する態様で板状の区画部材21が配設してある。この区画部材21は、左右の上部域の収納ラック30から払い出された商品を自身に寄り掛かった姿勢のまま商品取出口14より取り出し可能に保持するものである。一方、この区画部材21と、商品受部20の底部、すなわち商品受スペース20Sを画成する受底部22との間には間隙が設けてられており、左右の下部域の収納ラック30から払い出された商品については、受底部22に横倒し姿勢となることを許容し、当該姿勢のまま商品取出口14より取り出すことを可能にするものである。
そして、上記商品取出口14は、前面から見た場合に凸形状をなしている。より詳細に説明すると、商品取出口14は、区画部材21に寄り掛かった姿勢の商品を当該姿勢のまま取り出すことを可能にする第1開口部141と、受底部22に横倒し姿勢となった商品を当該姿勢のまま取り出すことを可能にする第2開口部142とが連続する態様で形成されて凸形状をなしている。
以上説明したような本実施の形態1である自動販売機においては、次のようにして販売ユニット10に収納された商品を販売することができる。すなわち、当該自動販売機において販売ユニット10に収納された商品を販売するのに十分な金銭が硬貨投入口4若しくは紙幣挿入口5を通じて投入された場合、販売ユニット10は、制御装置からの指令に応じて選択ボタン13を点灯させる。そして、いずれかの選択ボタン13が利用者に押下されると、押下された旨が制御装置に与えられ、制御装置から選択された商品を収納する収納ラック30の払出機構40に販売指令が与えられる。かかる販売指令が与えられた払出機構40は、モータの駆動によりスライダ42が進出移動する(商品受部20の右側上部域に配設された収納ラック30ではスライダ42が左方向に向けて進出移動し、商品受部20の左側上部域に配設された収納ラック30ではスライダ42が右方向に向けて進出移動する。)。
進出移動するスライダ42が最下位に収納される商品W1に当接して、該商品W1を押し出すことにより、該商品W1は、必要に応じてガイド部材36に案内等されて商品受部20により画成された商品受スペース20Sに払い出されて商品取出口14を通じて取り出し可能な状態になる。
本実施の形態1である自動販売機によれば、外扉2に組み込まれて配設される販売ユニット10が、収納ラック30が商品を直積みした状態で収納し、かつ払出機構40が販売指令が与えられた場合に、左右方向に沿って移動して収納ラック30により収納された最下位の商品W1に当接して、該商品W1を商品取出口14の後方域にある商品受部20に払い出すので、従来のように前後方向に沿って移動する押出部材を必要とせず、販売ユニット10の前後方向の寸法を小さくすることができる。従って、販売ユニット10の前後方向の寸法を低減させて、外扉2より前方に突出する販売ユニット10の突出長さ、すなわち外扉2の前面から販売ユニット10の前面までの突出長さを小さくすることができる。また、商品受スペース20Sを左右に区画する板状の区画部材21が、特定の収納ラック30(左右の上部域の収納ラック30)から払い出された商品を自身に寄り掛かった姿勢のまま商品取出口14より取り出し可能に保持するので、利用者は、当該区画部材21に寄り掛かった姿勢の商品を指で摘むようにして商品取出口14より取り出すことが可能になり、商品の取り出し性を向上させることができる。しかも、悪意を持つ者が商品取出口14より手指等を進入させても区画部材21が邪魔板として作用して、収納ラック30に収納された商品に触れることを防止することができ、これにより防盗性を確保することができる。従って、販売ユニット10の前後方向の寸法を低減させて外扉2より前方に突出する突出長さを小さくすることができるとともに、商品の取り出し性の向上及び防盗性の確保等を図ることができる。
上記自動販売機によれば、区画部材21は、左右の下部域の収納ラック30から払い出された商品については、受底部22に横倒し姿勢となることを許容し、当該姿勢のまま商品取出口14より取り出すことを可能にするので、利用者は、受底部22に横倒し姿勢となる商品を該受底部22に摺接させるようにして商品取出口14より取り出すことが可能になり、商品の取り出し性を向上させることができる。
上記自動販売機によれば、商品取出口14が、区画部材21に寄り掛かった姿勢の商品を当該姿勢のまま取り出すことを可能にする第1開口部141と、受底部22に横倒し姿勢となった商品を当該姿勢のまま取り出すことを可能にする第2開口部142とが連続する態様で形成されて凸形状をなしているので、これによっても商品の取り出し性を向上させることができるとともに、かかる形状により悪意を持つ者が手指等を進入させることを抑制することが可能になる。
上記自動販売機によれば、販売ユニット10は、収納ラック30や払出機構40を内蔵するユニット本体11が外扉2に対して独立して開閉可能となる態様で配設されているので、外扉2を開扉動作させることなく、ユニット本体11を開扉移動させることにより補充動作を行うことができる。よって、販売ユニット10の前後方向の寸法を低減させて外扉2より前方に突出する突出長さを小さくすることができるとともに、商品の補充を簡単に行うことができる。
上記自動販売機によれば、販売ユニット10の収納ラック30が、ユニット本体11から離反する態様でスライド移動した場合には、自身への商品の補充を可能にする一方、ユニット本体11に近接する態様でスライド移動して磁力により装着された場合には、払出機構40による商品の払い出しを可能にするので、商品の補充を容易にすることができるとともに、収納ラック30の高さ寸法を設置個所で許容される最大限の大きさにすることができ、商品の収納数を増大化させることができる。
上記自動販売機によれば、変形例として示した販売ユニット10の商品ラックが、自身の軸状部35の軸心回りに揺動可能に配設され、ユニット本体11から離反する態様で後方に向けて揺動した場合には、自身への商品の補充を可能にするとともに、下部側の収納ラック30への商品の補充を可能にする一方、ユニット本体11に近接する態様で前方に向けて揺動して、図示せぬ磁石により生ずる磁力等によりユニット本体11に装着された場合には、払出機構40による商品の払い出しを可能にするので、このような構成によっても商品の補充を容易にすることができるとともに、収納ラック30の高さ寸法を設置個所で許容される最大限の大きさにすることができ、商品の収納数を増大化させることができる。
上記自動販売機によれば、販売ユニット10の展示部12が、商品見本を照射するための光源を取り付け可能に構成してあるので、該光源を取り付けた場合には、商品見本を照射することが可能になり、これにより、販売ユニット10の前後方向の寸法を低減させて外扉2より前方に突出する突出長さを小さくすることができるとともに、商品見本の視認性の向上を図ることができる。
<実施の形態2>
図18は、本発明の実施の形態2である自動販売機の販売ユニットを拡大して示す正面図であり、図19は、図18に示した販売ユニットの内部構造を示す縦断面図である。尚、上述した本発明の実施の形態1である自動販売機と同一の構成を有するものには同一の符号を付してその説明を省略する。
ここで例示する販売ユニット50は、ユニット本体51の上部511は、後方に向かうに連れて、すなわち外扉2の前面に近接するに連れて漸次上方に傾斜しており、ユニット本体51の下部512は、後方に向かうに連れて、すなわち外扉2の前面に近接するに連れて漸次下方に傾斜している。このユニット本体51の上部511には、複数の選択ボタン13が左右方向に沿って配設してある。選択ボタン13は、利用者が購入商品を選択するための押ボタンスイッチである。この選択ボタン13が押下された場合、その旨の信号は、本体キャビネット1に搭載されている制御装置(図示せず)に与えられることになる。
このユニット本体51の前面には、展示部12が着脱可能に配設してある。展示部12は、商品見本を展示するための部位である。また、ユニット本体51には商品受部60が配設してある。商品受部60は、ユニット本体51の下部512の中央域において下方に突出する態様で形成され、かつ自身の前面開口が商品取出口61となるものである。このような商品受部60は、商品受スペース60Sを画成しており、より詳細には、商品取出口61の後方域に商品受スペース60Sを画成するものである。
以上説明したような本実施の形態2である自動販売機においては、次のようにして販売ユニット50に収納された商品を販売することができる。すなわち、当該自動販売機において販売ユニット50に収納された商品を販売するのに十分な金銭が硬貨投入口4若しくは紙幣挿入口5を通じて投入された場合、販売ユニット50は、制御装置からの指令に応じて選択ボタン13を点灯させる。そして、いずれかの選択ボタン13が利用者に押下されると、押下された旨が制御装置に与えられ、制御装置から選択された商品を収納する収納ラック30の払出機構40に販売指令が与えられる。かかる販売指令が与えられた払出機構40は、モータの駆動によりスライダ42が進出移動する(商品受部60の右側上部511域に配設された収納ラック30ではスライダ42が左方向に向けて進出移動し、商品受部60の左側上部域に配設された収納ラック30ではスライダ42が右方向に向けて進出移動する。)。
進出移動するスライダ42が最下位に収納される商品に当接して、該商品を押し出すことにより、該商品は、必要に応じてガイド部材36に案内等されて商品受部60により画成された商品受スペース60Sに払い出されて商品取出口61を通じて取り出し可能な状態になる。
本実施の形態2である自動販売機によれば、外扉2に組み込まれて配設される販売ユニット50が、収納ラック30が商品を直積みした状態で収納し、かつ払出機構40が販売指令が与えられた場合に、左右方向に沿って移動して収納ラック30により収納された最下位の商品に当接して、該商品を商品取出口61の後方域にある商品受部60に払い出すので、従来のように前後方向に沿って移動する押出部材を必要とせず、販売ユニット50の前後方向の寸法を小さくすることができる。従って、販売ユニット50の前後方向の寸法を低減させて、外扉2より前方に突出する販売ユニット50の突出長さ、すなわち外扉2の前面から販売ユニット50の前面までの突出長さを小さくすることができる。また、自身の前面開口が商品取出口61となる商品受部60が、ユニット本体51の中央下部512より下方に突出する態様で形成されているので、該商品受部60と、収納ラック30との距離を十分に確保することができ、悪意を持つ者が商品取出口61より手指等を進入させても収納ラック30に収納された商品に触れることを防止することができ、これにより防盗性を確保することができる。しかも、利用者は、商品取出口61より手指等を進入させて商品取出口61より商品を取り出すだけなので、商品の取り出し性を向上させることができる。従って、販売ユニット50の前後方向の寸法を低減させて外扉2より前方に突出する突出長さを小さくすることができるとともに、商品の取り出し性の向上及び防盗性の確保等を図ることができる。
上記自動販売機によれば、ユニット本体51の上部511に収納ラック30に収納された商品を選択するための選択ボタン13が設けてあるので、これにより販売ユニット50の前後方向の寸法を低減させて外扉2より前方に突出する突出長さを小さくすることができる。
上記自動販売機によれば、ユニット本体51の前面に展示部12が着脱可能に配設してあるので、展示部12をユニット本体51から離脱させることにより、販売ユニット50の前後方向の寸法を更に低減させて外扉2より前方に突出する突出長さを小さくすることができる。
以上、本発明の好適な実施の形態1及び実施の形態2について説明したが、本発明はこれらに限定されるものではなく、種々の変更を行うことができる。
上述した実施の形態2においては、展示部12をユニット本体51の前面に着脱可能に配設していたが、本発明においては、展示部を選択ボタンとともにユニット本体の上部に配設しても良い。このような構成によっても販売ユニットの前後方向の寸法を更に低減させて外扉2より前方に突出する突出長さを小さくすることができる。
また、上述した実施の形態2においては、商品受部60が画成する商品受スペース60Sには区画部材を設けていなかったが、本発明においては、図20に示すように、商品受スペース60Sを左右に区画する区画部材21を設けても良い。この区画部材21は、実施の形態1で説明したものと同様に、区画部材21は、左右の上部域の収納ラック30から払い出された商品を自身に寄り掛かった姿勢のまま商品取出口61より取り出し可能に保持するものである。このような構成によっても、商品の取り出し性を向上させることができる。
また、上述した実施の形態2においては、ユニット本体51の上部511や、側部を構成する化粧枠材16、下部512には単色のものであったが、本発明においては、図21に示すように、ユニット本体51の上部511、下部512、両側部となる化粧枠材16の外扉2に近接する部分を該外扉2と同色にしても良い。これによれば、販売ユニット50の前後方向の寸法を視覚的に低減させることができ、これにより外扉2より前方に突出する突出長さを視覚的に小さくすることができる。
以上のように、本発明に係る自動販売機は、例えば缶入り飲料やペットボトル入り飲料等の商品を販売するのに有用である。
1 本体キャビネット
2 外扉
7 商品取出口
10,50 販売ユニット
11,51 ユニット本体
12 展示部
121 展示台座部
122 天井部
1221 取付孔
123 照射部材
1231 突出片
13 選択ボタン
14,61 商品取出口
141 第1開口部
142 第2開口部
15 頂部
16 化粧枠材
20,60 商品受部
20S,60S 商品受スペース
21 区画部材
30 収納ラック
31 後面
32 舌片状開口
33 ストッパ片
34 ローラ
35 軸状部
36 ガイド部材
40 払出機構
41 載置台
42 スライダ
43 売切検知スイッチ
44 規制部材
511 上部
512 下部
R レール部材

Claims (3)

  1. 前面に開口を有した直方状をなし、商品を内部に収納する自動販売機本体と、
    前記自動販売機本体の前面開口を開閉する扉体と、
    ユニット本体が前記扉体の前面から直方状に露出する態様で配設され、前記ユニット本体の前面の中央域下部に商品取出口が形成された販売ユニットと
    を備えた自動販売機において、
    前記販売ユニットは、前記自動販売機本体に収納された商品とは別個の商品を直積みした状態で収納する収納手段と、販売指令が与えられた場合に左右方向に沿って移動することにより前記収納手段により収納された最下位の商品に当接して、該商品を前記商品取出口の後方域に払い出す払出手段とを内蔵する前記ユニット本体が前記扉体に対して独立して開閉可能となる態様で配設されたことを特徴とする自動販売機。
  2. 前記収納手段は、前記ユニット本体に対して着脱可能に配設され、前記ユニット本体から離脱した場合には、自身への商品の補充を可能にする一方、前記ユニット本体に装着した場合には、前記払出手段による商品の払い出しを可能にすることを特徴とする請求項1に記載の自動販売機。
  3. 前記収納手段は、自身の軸状部の軸心回りに揺動可能に配設され、前記ユニット本体から離反する態様で揺動した場合には、自身への商品の補充を可能にする一方、前記ユニット本体に近接する態様で揺動した場合には、前記払出手段による商品の払い出しを可能にすることを特徴とする請求項1に記載の自動販売機。
JP2009282198A 2009-12-11 2009-12-11 自動販売機 Pending JP2011123767A (ja)

Priority Applications (1)

Application Number Priority Date Filing Date Title
JP2009282198A JP2011123767A (ja) 2009-12-11 2009-12-11 自動販売機

Applications Claiming Priority (1)

Application Number Priority Date Filing Date Title
JP2009282198A JP2011123767A (ja) 2009-12-11 2009-12-11 自動販売機

Publications (1)

Publication Number Publication Date
JP2011123767A true JP2011123767A (ja) 2011-06-23

Family

ID=44287579

Family Applications (1)

Application Number Title Priority Date Filing Date
JP2009282198A Pending JP2011123767A (ja) 2009-12-11 2009-12-11 自動販売機

Country Status (1)

Country Link
JP (1) JP2011123767A (ja)

Citations (4)

* Cited by examiner, † Cited by third party
Publication number Priority date Publication date Assignee Title
JPS63139678U (ja) * 1987-03-04 1988-09-14
JPH07234966A (ja) * 1994-02-22 1995-09-05 Sanyo Electric Co Ltd 自動販売機
JP2002063639A (ja) * 2000-06-09 2002-02-28 Master Foods Ltd 小型自動販売機
JP2006099638A (ja) * 2004-09-30 2006-04-13 Silver Seiko Ltd 組込み式自動販売機

Patent Citations (4)

* Cited by examiner, † Cited by third party
Publication number Priority date Publication date Assignee Title
JPS63139678U (ja) * 1987-03-04 1988-09-14
JPH07234966A (ja) * 1994-02-22 1995-09-05 Sanyo Electric Co Ltd 自動販売機
JP2002063639A (ja) * 2000-06-09 2002-02-28 Master Foods Ltd 小型自動販売機
JP2006099638A (ja) * 2004-09-30 2006-04-13 Silver Seiko Ltd 組込み式自動販売機

Similar Documents

Publication Publication Date Title
KR101387222B1 (ko) 자동 판매기
JP2001014543A (ja) 自動販売機の商品収納装置および商品収納方法
JP4840262B2 (ja) 自動販売機
JP5668545B2 (ja) 商品収納装置
JP5434553B2 (ja) 自動販売機
JP2011123766A (ja) 自動販売機
JP2011123767A (ja) 自動販売機
MX2015001875A (es) Aparato de almacenamiento de productos.
JP2011123768A (ja) 自動販売機
JP5458866B2 (ja) 自動販売機
JP5440102B2 (ja) 自動販売機
JP5458853B2 (ja) 自動販売機
JP2008262488A (ja) 自動販売機
JP5375530B2 (ja) 自動販売機
JP5434487B2 (ja) 自動販売機
JP5434488B2 (ja) 自動販売機
JP2011197828A (ja) 自動販売機の商品収納装置
KR101974684B1 (ko) 상품 수납 장치
JP4839926B2 (ja) 扉体の支持構造
JP5691963B2 (ja) 自動販売機
JP5742328B2 (ja) 商品収納装置
JP5668546B2 (ja) 商品収納装置
JP2001101496A (ja) 自動販売機の商品取出口装置
JP4631737B2 (ja) 自動販売機の商品取出装置
JP2009037324A (ja) 商品搬出装置

Legal Events

Date Code Title Description
A625 Written request for application examination (by other person)

Free format text: JAPANESE INTERMEDIATE CODE: A625

Effective date: 20120313

A711 Notification of change in applicant

Free format text: JAPANESE INTERMEDIATE CODE: A712

Effective date: 20121025

A977 Report on retrieval

Effective date: 20130819

Free format text: JAPANESE INTERMEDIATE CODE: A971007

A131 Notification of reasons for refusal

Effective date: 20130827

Free format text: JAPANESE INTERMEDIATE CODE: A131

A02 Decision of refusal

Free format text: JAPANESE INTERMEDIATE CODE: A02

Effective date: 20140107