JP2011069461A - 動力伝達用ベルトおよび動力伝達用ベルトの組み付け方法 - Google Patents
動力伝達用ベルトおよび動力伝達用ベルトの組み付け方法 Download PDFInfo
- Publication number
- JP2011069461A JP2011069461A JP2009222587A JP2009222587A JP2011069461A JP 2011069461 A JP2011069461 A JP 2011069461A JP 2009222587 A JP2009222587 A JP 2009222587A JP 2009222587 A JP2009222587 A JP 2009222587A JP 2011069461 A JP2011069461 A JP 2011069461A
- Authority
- JP
- Japan
- Prior art keywords
- power transmission
- transmission belt
- laminated
- laminated ring
- ring
- Prior art date
- Legal status (The legal status is an assumption and is not a legal conclusion. Google has not performed a legal analysis and makes no representation as to the accuracy of the status listed.)
- Pending
Links
Images
Landscapes
- Transmissions By Endless Flexible Members (AREA)
Abstract
【課題】複数のエレメントを積層リングに容易に組み付けることができ、動力伝達用ベルトの組み付け作業の作業性を向上させることができる動力伝達用ベルトおよび動力伝達用ベルトの組み付け方法を提供すること。
【解決手段】エレメント16の抜け止め部25、26の先端面25a、26aを、エレメント16の板厚方向に対して傾斜させることにより、積層リング23、24の周方向と抜け止め部25、26の先端面25a、26aの傾斜方向とが一致しないときの開口27の第1の開口幅W1を積層リング23、24のリング幅W0よりも小さくするとともに、積層リング23、24の周方向と抜け止め部25、26の先端面25a、26aの傾斜方向とが一致したときの開口27の第2の開口幅W2が、第1の開口幅W1に比べて大きくなるようにした。
【選択図】図2
【解決手段】エレメント16の抜け止め部25、26の先端面25a、26aを、エレメント16の板厚方向に対して傾斜させることにより、積層リング23、24の周方向と抜け止め部25、26の先端面25a、26aの傾斜方向とが一致しないときの開口27の第1の開口幅W1を積層リング23、24のリング幅W0よりも小さくするとともに、積層リング23、24の周方向と抜け止め部25、26の先端面25a、26aの傾斜方向とが一致したときの開口27の第2の開口幅W2が、第1の開口幅W1に比べて大きくなるようにした。
【選択図】図2
Description
本発明は、動力伝達用ベルトおよび動力伝達用ベルトの組み付け方法に関し、特に、複数のエレメントを隣接させて配置し、エレメントを並列に配列された無端状の積層リングに組み付けることにより環状に結束して構成した動力伝達用ベルトおよび動力伝達用ベルトの組み付け方法に関する。
一般に、複数の回転部材同士の間で動力の伝達を行う場合に用いる変速機として、変速比を段階的に変化させることができる有段変速機と、変速比を連続して、すなわち、無段階に変化させることができる無段変速機とがあり、後者の無段変速機としてはベルト式無段変速機およびトロイダル式無段変速機等が知られている。
このうち、ベルト式無段変速機(ベルト式CVT:Continuously Variable Transmission)は、駆動プーリおよび従動プーリの2組のプーリと、駆動プーリおよび従動プーリに巻き掛けられる動力伝達用ベルトとを使用して変速比を無段階に変化させる変速機である。
このようなベルト式無段変速機に用いられる動力伝達用ベルトとして、例えば、エレメントあるいはブロック等と称される多数の板片をその板厚方向に互いに重ね合わせて環状に配列するとともに、それらの板片をリング、バンドあるいはキャリア等と称される環状の帯状体で環状に結束することにより、無端状に形成されたベルトが知られている。
このような動力伝達用ベルトが、駆動プーリおよび従動プーリの2組のプーリに巻き掛けられた状態で駆動プーリが駆動されると、エレメントには、エレメントと駆動プーリとの接触部分の摩擦力および駆動プーリのトルクに応じて駆動プーリからエレメントに対して加えられるエレメントの積層方向、すなわち、エレメントの板厚方向の圧縮力(エレメントの押し出し力)が作用する。
そして、駆動プーリに接触しているエレメントに伝達された圧縮力は、駆動プーリに巻き掛けられていないエレメントを経由して、従動プーリに接触しているエレメントに伝達される。
この従動プーリに接触しているエレメントに圧縮力が伝達されると、そのエレメントと従動プーリとの接触部分の摩擦力および伝達された圧縮力に応じて従動プーリを回転させようとするトルクが発生する。このようにして、駆動プーリと従動プーリとの間で動力伝達用ベルトを介して動力伝達が行われる。
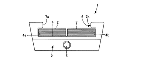
このような従来の動力伝達用ベルトとしては、図12〜図15に示すようなものが知られている(例えば、特許文献1参照)。図12において、動力伝達用ベルト1は、それぞれが無端状のフープを積層してなり、並列に配列される一対の積層リング2、3(図13参照)と、一対の積層リング2、3を並列に収容する凹部4を介して環状に結束された複数のエレメント5(図示1個)とから構成されている。
エレメント5は、凹部4における左右の内側面4a、4bからエレメント5の幅方向内方に向かって突出するとともに、並列に配列された積層リング2、3の幅の総和よりも小さい開口6を有し、凹部4内に並列に配列された積層リング2、3に対向する突出部7a、7bを備えており、突出部7a、7bに積層リング2、3が係合することにより、積層リング2、3がエレメント5から外れないように積層リング2、3が凹部4内に収容されている。
また、図14に示すようにエレメント5の積層リング2、3の周方向の前後面にはそれぞれディンプル8とホール9とが設けられており、前後のエレメント5同士の間でこれらのディンプル8をホール9に遊嵌させることにより、動力伝達用ベルト1の走行中にエレメント5を整列させるようになっている。
このような構成を有する動力伝達用ベルト1においては、積層リング2、3にエレメント5を組み付ける場合に、並列に配列される積層リング2、3の一部を互いに重ね合わせた状態を実現させる必要がある。
すなわち、図15に示すように、並列に配列された積層リング2、3に対してエレメント5を組み付ける場合には、並列に配列された積層リング2、3のうちの一方の積層リング3にねじりを加えて積層リング2、3の一部を互いに重ね合わせることにより、並列に配列された積層リング2、3の幅の総和をエレメント5の開口6の開口幅よりも小さくする必要がある。
ここで、並列に配列された積層リング3にねじりを加えて積層リング2、3の一部を互いに重ね合わせた状態にするためには、隣接しているエレメント5同士を、それぞれの隣接する面で相対回転、すなわち、ローリングさせる必要がある。
従来のエレメント5では、ホール9を支点としてディンプル8がホール9に対して回動するようにエレメント5同士をローリングさせることにより、積層リング3にねじりを作用させ、積層リング2、3の一部を容易に重ね合わせた状態を設定することができるため、エレメント5を積層リング2、3に容易に組み付けることができる。
しかしながら、このような従来の動力伝達用ベルト1にあっては、並列に配列された積層リング2、3の幅の総和をエレメント5の開口6の開口幅よりも狭くするために、並列に配列された積層リング2、3の一部を互いに重ね合わせる必要があり、このようにした場合には、積層リング2、3が並列に配列された状態に戻ろうとする張力が発生するため、エレメント5を積層リング2、3に組み付ける作業が面倒となって動力伝達用ベルト1の組み付け作業の作業性が低下してしまい、未だ改善の余地がある。
また、エレメント5を積層リング2、3に容易に組み付けるためには、エレメント5の開口6の開口幅に対して、並列に配列された積層リング2、3の幅の総和を小さくしたり、エレメント5の開口6の開口幅を並列に配列された積層リング2、3の幅の総和よりも大きくすることが考えられるが、このようにした場合には、動力伝達用ベルトの走行時にエレメント5が積層リング2、3から脱落するおそれがあり、動力伝達用ベルトの信頼性が低下しまうおそれがあった。
本発明は、上述のような従来の問題を解決するためになされたもので、複数のエレメントを積層リングに容易に組み付けることができ、動力伝達用ベルトの組み付け作業の作業性を向上させることができる動力伝達用ベルトおよび動力伝達用ベルトの組み付け方法を提供することを目的とする。
本発明に係る動力伝達用ベルトは、上記目的を達成するため、(1)無端状のフープを積層してなる積層リングと、前記積層リングを収容する凹部を介して環状に結束された複数のエレメントとを含んで構成される動力伝達用ベルトにおいて、前記複数のエレメントが、前記凹部における左右の内側面の上部から前記エレメントの幅方向内方に向かって突出するとともに、突出方向先端面によって前記凹部の開口を形成し、前記凹部内に収容された前記積層リングに対向する突出部を備え、前記一対の突出部の突出方向先端面を、前記エレメントの板厚方向に対して傾斜させることにより、前記積層リングの周方向と前記突出部の突出方向先端面の傾斜方向とが一致しないときの前記開口の第1の開口幅を前記積層リングの幅よりも小さくするとともに、前記積層リングの周方向と前記突出部の突出方向先端面の傾斜方向とが一致したときの前記開口の第2の開口幅が、前記第1の開口幅に比べて大きくなるようにしたものから構成されている。
この構成により、一対の突出部の突出方向先端面を、エレメントの板厚方向に対して傾斜させることにより、積層リングの周方向と突出部の突出方向先端面の傾斜方向とが一致しないときの開口の第1の開口幅を積層リングの幅よりも小さくするとともに、積層リングの周方向と突出部の突出方向先端面の傾斜方向とが一致したときの開口の第2の開口幅を第1の開口幅に比べて大きくしたので、積層リングの周方向と突出部の突出方向先端面の傾斜方向とが一致するようにエレメントの板厚方向を積層リングの周方向に対して傾けたときに、第1の開口幅よりも大きい第2の開口幅を通してエレメントを積層リングに容易に組み付けることができる。
また、積層リングの周方向と前記突出部の突出方向先端面の傾斜方向とが一致しないようにエレメントの板厚方向と積層リングの周方向を一致させたときに、積層リングに対して開口の第1の開口幅を積層リングの幅よりも小さくすることができるため、凹部に収容された積層リングを突出部に係合させることができ、エレメントが積層リングから脱落してしまうのを確実に防止することができる。
この結果、複数のエレメントを積層リングに容易に組み付けることができ、動力伝達用ベルトの組み付け作業の作業性を向上させることができる。
この結果、複数のエレメントを積層リングに容易に組み付けることができ、動力伝達用ベルトの組み付け作業の作業性を向上させることができる。
上記(1)に記載の動力伝達用ベルトにおいて、(2)前記凹部における左右の内側面が、前記突出部の突出方向先端面と同方向に傾斜しているものから構成されている。
この構成により、凹部における左右の内側面を突出部の突出方向先端面と同方向に傾斜させたので、積層リングの周方向と突出部の突出方向先端面の傾斜方向とが一致するようにエレメントの板厚方向を積層リングの周方向に対して傾けた状態で、エレメントを積層リングに組み付けたときに、凹部の左右の内側面が積層リングに引っ掛かるのを防止して、積層リングをエレメントの凹部に確実に収容することができる。
この構成により、凹部における左右の内側面を突出部の突出方向先端面と同方向に傾斜させたので、積層リングの周方向と突出部の突出方向先端面の傾斜方向とが一致するようにエレメントの板厚方向を積層リングの周方向に対して傾けた状態で、エレメントを積層リングに組み付けたときに、凹部の左右の内側面が積層リングに引っ掛かるのを防止して、積層リングをエレメントの凹部に確実に収容することができる。
上記(1)または(2)に記載の動力伝達用ベルトにおいて、(3)前記凹部における左右の内側面の上部の開口の開口幅が、前記積層リングの幅よりも大きく形成される少なくとも1個以上の解放型エレメントを有するものから構成されている。
このようにしたのは、突出部を有するエレメントを積層リングに組み付けた後、最後の1個または数個のエレメントを積層リングに組み付ける場合に、エレメントの間隔が小さくなってエレメント間の小さい隙間内において、最後のエレメントを積層リングに対して傾けることなく組み付けることができるようにするためである。
すなわち、本発明では、エレメントの凹部における左右の内側面の上部の開口の開口幅が、積層リングの幅よりも大きく形成される解放型エレメントを積層リングに最後に組み付けることで、解放型エレメントを傾けることなく隙間の小さいエレメント間に解放型エレメントを組み付けることができる。このため、複数のエレメントの最後のエレメントを積層リングに容易に組み付けることができ、動力伝達用ベルトの組み付け作業の作業性をより一層向上させることができる。
上記(3)に記載の動力伝達用ベルトにおいて、(4)前記解放型エレメントが、前記解放型エレメントに隣接する突出部を有する前記エレメントまたは前記解放型エレメントに対して前記積層リングの径方向に所定距離以上移動するのを規制する規制手段を有するものから構成されている。
この構成により、解放型エレメントが、解放型エレメントに隣接する突出部を有するエレメントまたは解放型エレメントに対して積層リングの径方向に所定距離以上移動するのを規制することができるため、解放型エレメントが積層リングから脱落するのを防止することができ、動力伝達用ベルトの信頼性が低下するのを防止することができる。
上記(1)ないし(4)に記載の前記エレメントを前記積層リングに組み付ける動力伝達用ベルトの組み付け方法において、(5)前記積層リングの周方向と前記突出部の突出方向先端面の傾斜方向とが一致するように前記積層リングの周方向に対して前記エレメントの板厚方向を傾けた状態で、前記エレメントの凹部に前記積層リングが収容されるように前記エレメントを前記積層リングに組み付け、次いで、前記積層リングの周方向と前記突出部の突出方向先端面の傾斜方向とがずれるように前記エレメントの板厚方向と前記積層リングの周方向とを一致させるようにした。
この方法により、積層リングの周方向と突出部の突出方向先端面の傾斜方向とが一致するようにエレメントの板厚方向を積層リングの周方向に対して傾けたときに、第1の開口幅よりも大きい第2の開口幅を通してエレメントを積層リングに容易に組み付けることができる。
また、積層リングの周方向と前記突出部の突出方向先端面の傾斜方向とが一致しないようにエレメントの板厚方向と積層リングの周方向を一致させたときに、積層リングに対して開口の第1の開口幅を積層リングの幅よりも小さくすることができるため、凹部に収容された積層リングを突出部に係合させることができ、エレメントが積層リングから脱落してしまうのを確実に防止することができる。
上記(5)に記載の前記エレメントを前記積層リングに組み付ける動力伝達用ベルトの組み付け方法において、(6)前記積層リングに最後にエレメントを組み付ける際に、前記解放型エレメントの凹部に前記積層リングが収容されるように前記解放型エレメントを前記積層リングに組み付けるようにした。
この方法により、最後のエレメントの組み付け作業時に、解放型エレメントを傾けることなく隙間の小さいエレメント間に解放型エレメントを組み付けることができる。このため、複数のエレメントの最後のエレメントを積層リングに容易に組み付けることができ、動力伝達用ベルトの組み付け作業の作業性をより一層向上させることができる。
本発明によれば、複数のエレメントを積層リングに容易に組み付けることができ、動力伝達用ベルトの組み付け作業の作業性を向上させることができる動力伝達用ベルトおよび動力伝達用ベルトの組み付け方法を提供することができる。
以下、本発明に係る動力伝達用ベルトの実施の形態について、図面を用いて説明する。
(第1の実施の形態)
図1〜図8は、本発明に係る動力伝達用ベルトおよび動力伝達用ベルトの組み付け方法の第1の実施の形態を示す図である。
(第1の実施の形態)
図1〜図8は、本発明に係る動力伝達用ベルトおよび動力伝達用ベルトの組み付け方法の第1の実施の形態を示す図である。
まず、構成を説明する。
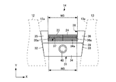
図1、図2において、駆動プーリ11は、駆動プーリ11の駆動軸11aに平行な方向に移動可能な可動シーブ12と、固定軸11aに固定された固定シーブ13とを含んで構成されており、可動シーブ12に形成されたシーブ面12aと固定シーブ13に形成されたシーブ面13aとの間に動力伝達用ベルト14が挟持されている。
図1、図2において、駆動プーリ11は、駆動プーリ11の駆動軸11aに平行な方向に移動可能な可動シーブ12と、固定軸11aに固定された固定シーブ13とを含んで構成されており、可動シーブ12に形成されたシーブ面12aと固定シーブ13に形成されたシーブ面13aとの間に動力伝達用ベルト14が挟持されている。
可動シーブ12のシーブ面12aおよび固定シーブ13のシーブ面13aは、シーブ面12a、13a同士の間隔が駆動プーリ11の径方向内側ほど狭くなるとともに、駆動プーリ11の径方向外側ほど広くなるように、駆動プーリ11の径方向に対して傾斜しており、このシーブ面12a、13aによって駆動プーリ11のV溝が構成されている。なお、従動プーリ15についても駆動プーリ11と同様の構成である。
可動シーブ12には、可動シーブ12に供給される油圧力によって駆動軸11aに平行な方向の推力が作用するようになっており、この推力によって、可動シーブ12が駆動軸11aに平行な方向に移動することで、シーブ面12aとシーブ面13aの間隔が変化するとともに、動力伝達用ベルト14がシーブ面12a、13aに対して駆動プーリ11の径方向に摺動する。
ベルト式無段変速機は、この動力伝達用ベルト14の駆動プーリ11の径方向の摺動によって、動力伝達用ベルト14の駆動プーリ11および従動プーリ15への掛かり径が連続的に変化することで、変速比が連続的に変化する。
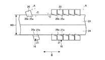
動力伝達用ベルト14は、多数のエレメント16を備えており、このエレメント16は、例えば、金属製の板片状の部材から構成されている。また、エレメント16は、エレメント16の幅方向(図2のX軸方向)の左右の側面17、18がテーパ状に傾斜した面として形成された本体19を有し、そのテーパ状に傾斜した側面17、18がベルト式無段変速機の駆動プーリ11のシーブ面12a、13aあるいは従動プーリ15のシーブ面に摩擦接触することにより、駆動プーリ11から従動プーリ15にトルクを伝達するようになっている。
エレメント16の本体19の幅方向(図2のX軸方向)における左右の両端部分にはエレメント16の上下方向(図2のY軸方向)で本体19から上方に延びた左右の柱部20、21がそれぞれ形成されており、本体19の上側のエッジ部分である上端面19aと、柱部20、21の本体19の幅方向における中央を向いた左右の内側面20a、21aとによって、エレメント16の上側(図2のY軸方向での上側)、すなわち、動力伝達用ベルト14の外周側に開口した凹部22が形成されている。このため、内側面20a、21aは凹部22の内側面を構成している。
凹部22は、互いに密着して環状に配列されたエレメント16を環状に結束するための無端状の積層リング23、24(図4参照)を並列に配列して収容するようになっており、上端面19aが、積層リング23、24の内周面を接触させて載置するためのサドル面を構成している。
積層リング23、24は、例えば、金属製の環状のフープを径方向に複数枚積層させて形成したものから構成されており、積層リング23、24は、互いに材質、強度および周長(具体的には最内周面の周長)が等しいものから構成されている。本実施の形態では、エレメント16および積層リング23、24が動力伝達用ベルト14を構成している。
柱部20、21の上端部分には、柱部20、21から本体19の幅方向内方に向かって突出する突出部としての抜け止め部25、26が形成されており、この抜け止め部25、26は、凹部22に収容された積層リング23、24に対向するとともに、先端面(突出方向先端面)25a、26aによって凹部22の開口27を形成している。
この動力伝達用ベルト14を構成する多数のエレメント16は、環状に配列された状態で積層リング23、24によって結束されており、この結束された状態で駆動プーリ11および従動プーリ15に巻き掛けられている。したがって、駆動プーリ11および従動プーリ15に巻き掛けられた状態では、各エレメント16が、駆動プーリ11および従動プーリ15の中心に対して扇状に拡がり、かつ互いに密着する必要があるため、各エレメント16の図2中、下方部分(環状に配列した状態での中心側の部分)が薄肉に形成されている。
すなわち、本体19の一方の面(例えば、図3における左側の面)における上端面19aより所定寸法下がった(オフセットされた)部分から下側の部分が削り落とされた状態で次第に薄肉化されている。したがって、各エレメント16が扇形に拡がって接触する状態、言い換えると、各エレメント16が駆動プーリ11および従動プーリ15に巻き掛かり円弧状に湾曲して配列されて動力伝達用ベルト14が湾曲する状態で、その板厚の変化する境界部分で接触する。
この境界部分のエッジが、所謂、ロッキングエッジ28となっており、各エレメント16が円弧状に湾曲した配列状態となった場合に、ロッキングエッジ28が隣接する他のエレメント16に接触する。
また、エレメント16の本体19の幅方向における中央部分には、各エレメント16が駆動プーリ11および従動プーリ15に巻き掛からず直線状に配列される直線状態において各エレメント16の相対的な位置を決めるためのディンプル29とホール30とが形成されている。
具体的には、本体19の一方の面側(図3の例では、ロッキングエッジ28のある面側)に凸となる円錐台形のディンプル29が形成されており、このディンプル29とは反対側の面に、隣接するエレメント16におけるディンプル29を遊嵌させる有底円筒状のホール30が形成されている。ここで、遊嵌とは、ディンプル29とホール30の間に隙間が画成されるようにディンプル29をホール30に緩く嵌合させることである。
したがって、動力伝達用ベルト14の直線状態でディンプル29をホール30に遊嵌することによって、その状態におけるエレメント16同士の図2での左右方向および上下方向の相対位置を決めることができ、例えば、ベルト式無段変速機が運転される場合に、動力伝達用ベルト14のがたつきを防止して動力伝達用ベルト14を安定して走行させることができる。
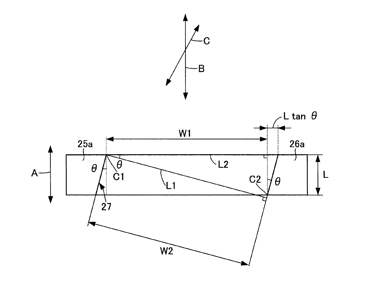
一方、図1、図5に示すように、本実施の形態のエレメント16の抜け止め部25、26の先端面25a、26aは、エレメント16の板厚方向Aに対して所定角度だけ傾斜しており、柱部20、21の内側面20a、21aは、抜け止め部25、26の先端面25a、26aの傾斜方向と同方向に傾斜している。
したがって、図5(b)に示すように、積層リング23、24は、柱部20、21のエッジ部20b、21bに当接するようにして凹部22に収容されることになる。
したがって、図5(b)に示すように、積層リング23、24は、柱部20、21のエッジ部20b、21bに当接するようにして凹部22に収容されることになる。
本実施の形態では、抜け止め部25、26の先端面25a、26aをエレメント16の板厚方向Aに対してθ(所定角度に相当)だけ傾斜させることにより、図6に示すように、積層リング23、24の周方向Bと抜け止め部25、26の先端面25a、26aの傾斜方向とが一致しないときの開口27の第1の開口幅W1を積層リング23、24の幅の総和(以下、リング幅W0という、図2参照)よりも小さくするとともに、積層リング23、24の周方向Bと抜け止め部25、26の先端面25a、26aの傾斜方向Cとが一致したときの開口27の第2の開口幅W2が、第1の開口幅W1に比べて大きくなるようにしている。
具体的には、図6において、積層リング23、24の周方向Bと抜け止め部25、26の先端面25a、26aの傾斜方向Cとが一致しないときの開口27の開口幅(第1の開口幅)W1は、抜け止め部25、26の先端面25a、26aのエッジC1、C2を結んだ直線のエレメント16の幅方向の距離に相当し、積層リング23、24の周方向Bと抜け止め部25、26の先端面25a、26aの傾斜方向Cとが一致したときの開口27の開口幅(第2の開口幅)W2は、先端面25aと先端面26aとの距離W2に相当する。
このとき、先端面25aと先端面26aとは平行であり、先端面25a、26aがエレメント16の板厚方向Aに対して傾斜しているため、エレメント16の板厚方向Aに対する先端面25a、26aの傾斜角度はθとなる。また、エッジC1から先端面26aに向かい先端面25aに垂直な線L1とエレメント16の幅方向の線L2との交点の角度はθとなる。したがって、エレメント16の板厚方向に対する先端面25a、26aの傾斜角度θと、仮想線の交点の角度θとは、同じ角度となる。そのため、開口27の第1の開口幅W1と第2の開口幅W2の関係がW1<W2となる条件を求めると、下記の式(1)で表される。
したがって、上記の式(1)から明らかなように傾斜角度θ、開口幅W1、エレメント16の板厚Lを適宜設定することにより、第1の開口幅W1に対して第2の開口幅W2を大きくすることができる。
次に、動力伝達用ベルト14の組み付け方法を説明する。
図7、図8に示すように、積層リング23、24を並列に配列し、積層リング23、24の周方向Bとエレメント16の抜け止め部25、26の先端面25a、26aの傾斜方向とが一致するようにエレメント16を傾ける。このときに、図6に示すように、エレメント16の開口27の開口幅W2が開口幅W1よりも大きくなるため、積層リング23、24のリング幅W0に対して積層リング23、24の開口幅W2を開口幅W1に対して大きくすることができる。
図7、図8に示すように、積層リング23、24を並列に配列し、積層リング23、24の周方向Bとエレメント16の抜け止め部25、26の先端面25a、26aの傾斜方向とが一致するようにエレメント16を傾ける。このときに、図6に示すように、エレメント16の開口27の開口幅W2が開口幅W1よりも大きくなるため、積層リング23、24のリング幅W0に対して積層リング23、24の開口幅W2を開口幅W1に対して大きくすることができる。
この状態で、図7に示すように、エレメント16の開口27を通して凹部22に積層リング23、24に挿通する。このときには、片側の柱部20の抜け止め部25の先端面25aを積層リング23側に摺接させて柱部20の内側面20aを積層リング23の側面を当接させる。この柱部20の内側面20aが抜け止め部25の先端面25aの傾斜方向Cと同方向に傾斜しているため、柱部20の内側面20aに積層リング23の側面が引っ掛かることがなく、エレメント16が傾斜した姿勢を維持する。
次いで、柱部21の抜け止め部26の先端面26aを積層リング24側に摺接させ、エレメント16の凹部22に積層リング23、24が収容されるようにエレメント16を積層リング23、24に組み付ける。
次いで、積層リング23、24の周方向Bと抜け止め部25、26の先端面25a、26aの傾斜方向Cとがずれるようにエレメント16の板厚方向Aと積層リング23、24の周方向Bとを一致させる。このとき、抜け止め部25、26に積層リング23、24が係合可能となり、積層リング23、24が凹部22から抜け出てしまうのを防止することができる。
次いで、ディンプル29をホール30(図3参照)に遊嵌して、今回、積層リング23、24に組み付けられたエレメント16を先に組み付けられた隣接するエレメント16に取付ける。
次いで、ディンプル29をホール30(図3参照)に遊嵌して、今回、積層リング23、24に組み付けられたエレメント16を先に組み付けられた隣接するエレメント16に取付ける。
なお、本実施の形態では、エレメント16を1個ずつ積層リング23、24に組み付けているが、2個以上纏めて組み付けるようにしてもよい。
このように本実施の形態では、エレメント16の抜け止め部25、26の先端面25a、26aを、エレメント16の板厚方向Aに対して傾斜させることにより、積層リング23、24の周方向Bと抜け止め部25、26の先端面25a、26aの傾斜方向Cとが一致しないときの開口27の第1の開口幅W1を積層リング23、24のリング幅W0よりも小さくするとともに、積層リング23、24の周方向Bと抜け止め部25、26の先端面25a、26aの傾斜方向Cとが一致したときの開口27の第2の開口幅W2が、第1の開口幅W1に比べて大きくなるようにした。
そして、積層リング23、24の周方向Bと抜け止め部25、26の先端面25a、26aの傾斜方向Cとが一致するようにエレメント16を傾けた状態で、エレメント16の凹部22に積層リング23、24が収容されるようにエレメント16を積層リング23、24に組み付け、次いで、積層リング23、24の周方向Bと抜け止め部25、26の先端面25a、26aの傾斜方向Cとがずれるようにエレメント16の板厚方向Aと積層リング23、24の周方向Bとを一致させるようにして動力伝達用ベルト14を組み付けるようにした。
このため、積層リング23、24の周方向Bと抜け止め部25、26の先端面25a、26aの傾斜方向Cとが一致するようにエレメント16を積層リング23、24の周方向Bに対して傾けたときに、積層リング23、24のリング幅W0に対して開口27の第2の開口幅W2を大きくすることができ、エレメント16を積層リング23、24に容易に組み付けることができる。
このため、積層リング23、24の周方向Bと抜け止め部25、26の先端面25a、26aの傾斜方向Cとが一致するようにエレメント16を積層リング23、24の周方向Bに対して傾けたときに、積層リング23、24のリング幅W0に対して開口27の第2の開口幅W2を大きくすることができ、エレメント16を積層リング23、24に容易に組み付けることができる。
また、積層リング23、24の周方向Bと抜け止め部25、26の先端面25a、26aの傾斜方向Cとが一致しないようにエレメント16の板厚方向Aと積層リング23、24の周方向Bを一致させたときに、積層リング23、24に対して開口27の第1の開口幅W1を積層リング23、24のリング幅W0よりも小さくすることができるため、凹部22に収容された積層リング23、24を抜け止め部25、26に係合させることができ、エレメント16が積層リング23、24から脱落してしまうのを確実に防止することができる。
この結果、複数のエレメント16を積層リング23、24に容易に組み付けることができ、動力伝達用ベルト14の組み付け作業の作業性を向上させることができる。
また、本実施の形態では、凹部22における左右の内側面20a、21aを、抜け止め部25、26の先端面25a、26aと同方向に傾斜させたので、積層リング23、24の周方向Bと抜け止め部25、26の先端面25a、25bの傾斜方向Cとが一致するようにエレメント16を積層リング23、24の周方向Bに対して傾けた状態で、エレメント16を積層リング23、24に組み付けたときに、凹部22の左右の内側面20a、21aが積層リング23、24に引っ掛かるのを防止して、積層リング23、24をエレメント16の凹部22に確実に収容することができる。
なお、本実施の形態では、並列に配列されるように一対の積層リング23、24から構成しているが、積層リングは、1個であってもよい。この場合には、1個の積層リングのリング幅は、積層リング23、24のリング幅W0と同一幅となる。
(第2の実施の形態)
図9〜図11は、本発明に係る動力伝達用ベルトおよび動力伝達用ベルトの組み付け方法の第2の実施の形態を示す図であり、第1の実施の形態と同一の構成には同一番号を付して説明を省略する。
図9〜図11は、本発明に係る動力伝達用ベルトおよび動力伝達用ベルトの組み付け方法の第2の実施の形態を示す図であり、第1の実施の形態と同一の構成には同一番号を付して説明を省略する。
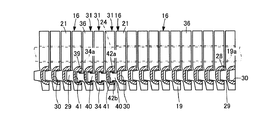
動力伝達用ベルト14は、エレメント16以外のエレメントとして、図1に示す解放型エレメント31を備えている。図9、図10に示すように、解放型エレメント31は、3個設けられており、この解放型エレメント31は、例えば、金属製の板片状の部材から構成されている。
また、解放型エレメント31は、解放型エレメント31の幅方向(図9のX軸方向)の左右の側面32、33がテーパ状に傾斜した面として形成された本体34を有し、そのテーパ状に傾斜した側面32、33がベルト式無段変速機の駆動プーリ11のシーブ面12a、13aあるいは従動プーリ15のシーブ面に摩擦接触するようになっている。
解放型エレメント31の本体34の幅方向(図9のX軸方向)における左右の両端部分には解放型エレメント31の上下方向(図9のY軸方向)で本体34から上方に延びた左右の柱部35、36がそれぞれ形成されており、本体34の上側のエッジ部分である上端面34aと、柱部35、36の本体34の幅方向における中央を向いた左右の内側面35a、36aとによって、解放型エレメント31の上側(図9のY軸方向での上側)、すなわち、動力伝達用ベルト14の外周側に開口した凹部37が形成されている。
凹部37は、互いに密着して環状に配列された解放型エレメント31を環状に結束するための無端状の積層リング23、24を並列に配列して収容するようになっており、上端面34aが積層リング23、24の内周面を接触させて載置するためのサドル面を構成している。本実施の形態では、エレメント16、解放型エレメント31および積層リング23、24が動力伝達用ベルト14を構成している。
また、柱部35、36の上端部分には、凹部37の開口38が形成されている。すなわち、本実施の形態の解放型エレメント31は、凹部37における左右の柱部35、36の内側面35a、36aに形成された開口38を通して積層リング23、24を並列に収容する凹部37を備えている。
また、凹部37の開口38の開口幅W3は、凹部22内に並列に配列された積層リング23、24のリング幅W0よりも大きくなっている。
この動力伝達用ベルト14を構成する多数の解放型エレメント31は、環状に配列された状態で積層リング23、24によって結束され、エレメント16と共に駆動プーリ11および従動プーリ15に巻き掛けられる。
したがって、駆動プーリ11および従動プーリ15に巻き掛けられた状態では、各解放型エレメント31が、エレメント16と共に駆動プーリ11および従動プーリ15の中心に対して扇状に拡がり、エレメント16に、または、互いに密着する必要があるため、各解放型エレメント31の図9中、下方部分(環状に配列した状態での中心側の部分)が薄肉に形成されている。
すなわち、本体34の一方の面(例えば、図10における左側の面)における上端面34aより所定寸法下がった(オフセットされた)部分から下側の部分が削り落とされた状態で次第に薄肉化されている。したがって、各解放型エレメント31が駆動プーリ11および従動プーリ15に巻き掛かり円弧状に湾曲して配列されて動力伝達用ベルト14が湾曲する状態で、その板厚の変化する境界部分で接触する。
この境界部分のエッジが、ロッキングエッジ39となっており、各解放型エレメント31が円弧状に湾曲した配列状態となった場合に、ロッキングエッジ39が隣接する他の解放型エレメント31またはエレメント16に接触する。
一方、解放型エレメント31の本体34の幅方向における中央部分には、各解放型エレメント31が駆動プーリ11および従動プーリ15に巻き掛からず直線状に配列される直線状態において各解放型エレメント31の相対的な位置を決めるためのディンプル40とホール41とが形成されている。
具体的には、本体34の一方の面側(図10の例では、ロッキングエッジ39のある面側)に凸となる円錐台形のディンプル40が形成されており、このディンプル40とは反対側の面(他方の面)に、隣接する解放型エレメント31またはエレメント16におけるディンプル29またはディンプル40を遊嵌させる有底円筒状のホール41が形成されている。
したがって、動力伝達用ベルト14の直線状態でディンプル29、40がホール30、41に遊嵌することによって、その状態における解放型エレメント31同士の図9での左右方向および上下方向の相対位置を決めることができ、例えば、ベルト式無段変速機が運転される場合に、動力伝達用ベルト14のがたつきを防止して動力伝達用ベルト14を安定して走行させることができる。
また、ディンプル40は、図11(a)に示すように、小径の第1の軸部40aと、第1の軸部40aの先端から突出し、第1の軸部40aよりも大径でかつ、突出方向先端に行くに従って漸次小径となる第2の軸部40bとから構成されており、このディンプル40は、解放型エレメント31の一方の面と図10中、右端に設けられた解放型エレメント31に隣接するエレメント16の一方の面に形成されている。また、ホール41は、左端に設けられた解放型エレメント31に隣接するエレメント16の他方に形成されている。
このため、ディンプル40がホール41に遊嵌された状態では、解放型エレメント31が隣接する解放型エレメント31またはエレメント16に対して積層リング23、24の径方向に所定距離以上移動することが規制される。本実施の形態では、ディンプル40およびホール41が規制手段を構成している。
ここで、解放型エレメント31が隣接する解放型エレメント31またはエレメント16に対して積層リング23、24の径方向に移動できる所定距離とは、ホール41とディンプル40の隙間の距離に対応するものとなる。
図11(b)に示すように、ホール41内には一対のバネ部材42a、42bが設けられており、このバネ部材42a、42bの両端部は、ホール41の内周面に嵌合している。また、バネ部材42a、42bは、ディンプル40の第2の軸部40bの最大直径よりも短い距離でホール41の径方向に一定距離だけ離隔しており、この一定距離だけ離隔した初期位置と初期位置からホール41の径方向外方に離隔した離隔位置との間で弾性変形自在となっている。
次に、動力伝達用ベルト14の組み付け方法を説明する。
エレメント16の組み付けが満遍なく行われ、最後のエレメント16を積層リング23、24に組み付ける場合には、エレメント16の間の隙間が小さくなってしまい、エレメント16を傾けて積層リング23、24に組み付け難くなる。
エレメント16の組み付けが満遍なく行われ、最後のエレメント16を積層リング23、24に組み付ける場合には、エレメント16の間の隙間が小さくなってしまい、エレメント16を傾けて積層リング23、24に組み付け難くなる。
本実施の形態では、このように最後のエレメント16を積層リング23、24に組み付ける状況になったときに、積層リング23、24のリング幅W0よりも大きい開口38を有する解放型エレメント31を使用する。
まず、解放型エレメント31のディンプル40をホール41に遊嵌させるようにして3個の解放型エレメント31を板厚方向に重ね合わせる。本実施の形態では、ディンプル40をホール41に遊嵌させるときに、先細り形状となっている第2の軸部40bの最大直径の部位がホール41内のバネ部材42a、42bを通過する際に、バネ部材42a、42bを初期位置から離隔位置に弾性変形させた後、第2の軸部40bよりも小径の第1の軸部40aがバネ部材42a、42bを通過したときにバネ部材42a、42bが離隔位置から初期位置に弾性変形して、第2の軸部40bの最大直径よりも短い距離でホール41の径方向に一定距離だけ離隔する。
このため、バネ部材42a、42bに第1の軸部40aを挟み込ませて第2の軸部40bをバネ部材42a、42bに引っ掛けることができ、ディンプル40をホール41に抜け止め係止させて、解放型エレメント31が隣接する解放型エレメント31から抜け出てしまうのを防止することができる。
次いで、積層リング23、24を並列に配列した状態で3個に纏められた解放型エレメント31の凹部37が積層リング23、24の下方に位置するようにして解放型エレメント31を積層リング23、24の下方に位置させる。
次いで、積層リング23、24を凹部37に収容するようにして解放型エレメント31を積層リング23、24に組み付ける。このとき、図10中、右端の解放型エレメント31に隣接するエレメント16のディンプル40を解放型エレメント31のホール41に遊嵌させるとともに、図3中、左端の解放型エレメント31に隣接するエレメント16のホール41に解放型エレメント31のディンプル40を遊嵌させる。
このとき、バネ部材42a、42bに第1の軸部40aを挟み込ませて第2の軸部40bをバネ部材42a、42bに引っ掛けることができるので、ディンプル40をホール41に抜け止め係止させて、解放型エレメント31が隣接する解放型エレメント31またはエレメント16から抜け出てしまうのを防止することができる。また、この状態において、解放型エレメント31が隣接する解放型エレメント31またはエレメント16に対して積層リング23、24の径方向に所定距離以上移動しない。
このように本実施の形態では、積層リング23、24のリング幅W0よりも開口幅W3が大きい開口を有する3個の解放型エレメント31を設け、エレメント16の組み付けが終了した後、最後の解放型エレメント31の組み付け作業時に、解放型エレメント31を傾けることなく隙間の小さいエレメント16間に解放型エレメント31を組み付けることができる。このため、最後に解放型エレメント31を積層リング23、24に容易に組み付けることができ、動力伝達用ベルト14の組み付け作業の作業性をより一層向上させることができる。
このように本実施の形態では、積層リング23、24のリング幅W0よりも開口幅W3が大きい開口を有する3個の解放型エレメント31を設け、エレメント16の組み付けが終了した後、最後の解放型エレメント31の組み付け作業時に、解放型エレメント31を傾けることなく隙間の小さいエレメント16間に解放型エレメント31を組み付けることができる。このため、最後に解放型エレメント31を積層リング23、24に容易に組み付けることができ、動力伝達用ベルト14の組み付け作業の作業性をより一層向上させることができる。
また、本実施の形態では、解放型エレメント31が、解放型エレメント31に隣接する解放型エレメント31またはエレメント16に対して積層リング23、24の径方向に所定距離以上移動するのを規制するディンプル40とホール41とを設けたので、ディンプル40をホール41に遊嵌させることによって、開口27の開口幅W1および開口幅W2よりも開口幅W3が大きい開口38を有する解放型エレメント31が、解放型エレメント31に隣接する解放型エレメント31またはエレメント16に対して積層リング23、24の径方向に所定距離以上移動しないようにすることができる。このため、解放型エレメント31が積層リング23、24から脱落するのを防止することができ、動力伝達用ベルト14の信頼性が低下するのを防止することができる。
なお、本実施の形態では、3個の解放型エレメント31を設けているが、解放型エレメント31は、1個以上あればよい。
また、今回開示された実施の形態は、全ての点で例示であってこの実施の形態に制限されるものではない。本発明の範囲は、上記した実施の形態のみの説明ではなくて特許請求の範囲によって示され、特許請求の範囲と均等の意味および範囲内での全ての変更が含まれることが意図される。
以上のように、本発明に係る動力伝達用ベルトおよび動力伝達用ベルトの組み付け方法は、複数のエレメントを積層リングに容易に組み付けることができ、動力伝達用ベルトの組み付け作業の作業性を向上させることができるという効果を有し、複数のエレメントを隣接させて配置し、エレメントを並列に配列された無端状の積層リングに組み付けることにより環状に結束して構成した動力伝達用ベルトおよび動力伝達用ベルトの組み付け方法等として有用である。
14 動力伝達用ベルト
16 エレメント
20a、21a 内側面
22 凹部
23、24 積層リング
25、26 抜け止め部(突出部)
25a、26a 先端面(突出方向先端面)
27 開口
31 解放型エレメント
35a、36a 内側面
37 凹部
38 開口
40 ディンプル(規制手段)
41 ホール(規制手段)
W1 開口幅(第1の開口幅)
W2 開口幅(第2の開口幅)
W3 開口幅
W0 リング幅(積層リングの幅)
16 エレメント
20a、21a 内側面
22 凹部
23、24 積層リング
25、26 抜け止め部(突出部)
25a、26a 先端面(突出方向先端面)
27 開口
31 解放型エレメント
35a、36a 内側面
37 凹部
38 開口
40 ディンプル(規制手段)
41 ホール(規制手段)
W1 開口幅(第1の開口幅)
W2 開口幅(第2の開口幅)
W3 開口幅
W0 リング幅(積層リングの幅)
Claims (6)
- 無端状のフープを積層してなる積層リングと、前記積層リングを収容する凹部を介して環状に結束された複数のエレメントとを含んで構成される動力伝達用ベルトにおいて、
前記複数のエレメントが、前記凹部における左右の内側面の上部から前記エレメントの幅方向内方に向かって突出するとともに、突出方向先端面によって前記凹部の開口を形成し、前記凹部内に収容された前記積層リングに対向する突出部を備え、
前記一対の突出部の突出方向先端面を、前記エレメントの板厚方向に対して傾斜させることにより、前記積層リングの周方向と前記突出部の突出方向先端面の傾斜方向とが一致しないときの前記開口の第1の開口幅を前記積層リングの幅よりも小さくするとともに、前記積層リングの周方向と前記突出部の突出方向先端面の傾斜方向とが一致したときの前記開口の第2の開口幅が、前記第1の開口幅に比べて大きくなるようにしたことを特徴とする動力伝達用ベルト。 - 前記凹部における左右の内側面が、前記突出部の突出方向先端面と同方向に傾斜していることを特徴とする請求項1に記載の動力伝達用ベルト。
- 前記凹部における左右の内側面の上部の開口の開口幅が、前記積層リングの幅よりも大きく形成される少なくとも1個以上の解放型エレメントを有することを特徴とする請求項1または請求項2に記載の動力伝達用ベルト。
- 前記解放型エレメントが、前記解放型エレメントに隣接する突出部を有する前記エレメントまたは前記解放型エレメントに対して前記積層リングの径方向に所定距離以上移動するのを規制する規制手段を有することを特徴とする請求項3に記載の動力伝達用ベルト。
- 請求項1ないし請求項4のいずれか1の請求項に記載の前記エレメントを前記積層リングに組み付ける動力伝達用ベルトの組み付け方法において、
前記積層リングの周方向と前記突出部の突出方向先端面の傾斜方向とが一致するように前記積層リングの周方向に対して前記エレメントの板厚方向を傾けた状態で、前記エレメントの凹部に前記積層リングが収容されるように前記エレメントを前記積層リングに組み付け、次いで、前記積層リングの周方向と前記突出部の突出方向先端面の傾斜方向とがずれるように前記エレメントの板厚方向と前記積層リングの周方向とを一致させるようにしたことを特徴とする動力伝達用ベルトの組み付け方法。 - 前記積層リングに最後にエレメントを組み付ける際に、前記解放型エレメントの凹部に前記積層リングが収容されるように前記解放型エレメントを前記積層リングに組み付けることを特徴とする請求項5に記載の動力伝達用ベルトの組み付け方法。
Priority Applications (1)
| Application Number | Priority Date | Filing Date | Title |
|---|---|---|---|
| JP2009222587A JP2011069461A (ja) | 2009-09-28 | 2009-09-28 | 動力伝達用ベルトおよび動力伝達用ベルトの組み付け方法 |
Applications Claiming Priority (1)
| Application Number | Priority Date | Filing Date | Title |
|---|---|---|---|
| JP2009222587A JP2011069461A (ja) | 2009-09-28 | 2009-09-28 | 動力伝達用ベルトおよび動力伝達用ベルトの組み付け方法 |
Publications (1)
| Publication Number | Publication Date |
|---|---|
| JP2011069461A true JP2011069461A (ja) | 2011-04-07 |
Family
ID=44014914
Family Applications (1)
| Application Number | Title | Priority Date | Filing Date |
|---|---|---|---|
| JP2009222587A Pending JP2011069461A (ja) | 2009-09-28 | 2009-09-28 | 動力伝達用ベルトおよび動力伝達用ベルトの組み付け方法 |
Country Status (1)
| Country | Link |
|---|---|
| JP (1) | JP2011069461A (ja) |
Cited By (3)
| Publication number | Priority date | Publication date | Assignee | Title |
|---|---|---|---|---|
| EP3404288A1 (en) * | 2017-05-19 | 2018-11-21 | Jatco Ltd. | Transverse segment for a drive belt for a continuously variable transmission and a drive belt and a continuously variable trans-mission provided therewith |
| CN109578514A (zh) * | 2017-09-29 | 2019-04-05 | 丰田自动车株式会社 | 传动带 |
| CN109578515A (zh) * | 2017-09-29 | 2019-04-05 | 丰田自动车株式会社 | 传动带及其制造方法 |
-
2009
- 2009-09-28 JP JP2009222587A patent/JP2011069461A/ja active Pending
Cited By (7)
| Publication number | Priority date | Publication date | Assignee | Title |
|---|---|---|---|---|
| EP3404288A1 (en) * | 2017-05-19 | 2018-11-21 | Jatco Ltd. | Transverse segment for a drive belt for a continuously variable transmission and a drive belt and a continuously variable trans-mission provided therewith |
| WO2018210456A1 (en) * | 2017-05-19 | 2018-11-22 | Jatco Ltd. | Transverse segment for a drive belt for a continuously variable transmission and a drive belt and a continuously variable transmission provided therewith |
| CN110637174A (zh) * | 2017-05-19 | 2019-12-31 | 加特可株式会社 | 用于无级变速器的传动带的横向部段以及随其提供的传动带和无级变速器 |
| CN110637174B (zh) * | 2017-05-19 | 2021-12-21 | 加特可株式会社 | 用于无级变速器的传动带的横向部段以及随其提供的传动带和无级变速器 |
| US11365783B2 (en) | 2017-05-19 | 2022-06-21 | Jatco Ltd | Transverse segment for a drive belt for a continuously variable transmission and a drive belt and a continuously variable transmission provided therewith |
| CN109578514A (zh) * | 2017-09-29 | 2019-04-05 | 丰田自动车株式会社 | 传动带 |
| CN109578515A (zh) * | 2017-09-29 | 2019-04-05 | 丰田自动车株式会社 | 传动带及其制造方法 |
Similar Documents
| Publication | Publication Date | Title |
|---|---|---|
| JP4710900B2 (ja) | ベルト用エレメントおよび伝動ベルト | |
| KR101121409B1 (ko) | 전동 벨트 및 그 조립 방법 | |
| EP2058556A1 (en) | Power transmission belt, assembling device for the belt, and assembling method for the belt | |
| WO2010103656A1 (ja) | Vベルト | |
| WO2014196254A1 (ja) | 無段変速機用金属ベルト | |
| KR20090035621A (ko) | 전동 벨트 및 그 조립 방법 | |
| WO2014156432A1 (ja) | 無段変速機用金属ベルト | |
| JP4685732B2 (ja) | 伝動ベルト | |
| US20190032750A1 (en) | Transverse member for a drive belt for a continuously variable transmission | |
| JP2011069461A (ja) | 動力伝達用ベルトおよび動力伝達用ベルトの組み付け方法 | |
| CN102691750B (zh) | 车辆的带驱动无级变速器的驱动动力传递带的元件 | |
| JP2011089588A (ja) | 動力伝達用ベルト | |
| KR101026973B1 (ko) | 전동 벨트의 조립 장치 및 조립 방법 그리고 제조 방법 | |
| JP4356635B2 (ja) | 伝動ベルト | |
| JP2011069462A (ja) | 動力伝達用ベルトおよび動力伝達用ベルトの組み付け方法 | |
| JP5625485B2 (ja) | 動力伝達装置 | |
| JP5228790B2 (ja) | チェーンベルトおよびベルト式無段変速機 | |
| JP5158259B2 (ja) | 動力伝達用ベルト | |
| JP5678588B2 (ja) | 無段変速機用ベルト | |
| EP3140567B1 (en) | Transverse member for a drive belt for a continuously variable transmission and a drive belt provided therewith | |
| EP1953413B1 (en) | Power transmission chain and power transmission apparatus | |
| JP2010242946A (ja) | 伝動ベルト | |
| JP2010174933A (ja) | 伝動ベルト | |
| JP4545709B2 (ja) | 無段変速機用ベルト | |
| JP2020085124A (ja) | 伝動ベルト |
