JP2010523398A - 膨張可能なクッションを制御するための装置及び方法 - Google Patents

膨張可能なクッションを制御するための装置及び方法 Download PDF

Info

Publication number
JP2010523398A
JP2010523398A JP2010502290A JP2010502290A JP2010523398A JP 2010523398 A JP2010523398 A JP 2010523398A JP 2010502290 A JP2010502290 A JP 2010502290A JP 2010502290 A JP2010502290 A JP 2010502290A JP 2010523398 A JP2010523398 A JP 2010523398A
Authority
JP
Japan
Prior art keywords
inflatable cushion
releasable
retaining device
releasable retaining
secured
Prior art date
Legal status (The legal status is an assumption and is not a legal conclusion. Google has not performed a legal analysis and makes no representation as to the accuracy of the status listed.)
Pending
Application number
JP2010502290A
Other languages
English (en)
Inventor
ウェバー,ジェームズ・エル
ホーソン,ローラ
ピンセンシャウム,ライアン
Original Assignee
デルファイ・テクノロジーズ・インコーポレーテッド
Priority date (The priority date is an assumption and is not a legal conclusion. Google has not performed a legal analysis and makes no representation as to the accuracy of the date listed.)
Filing date
Publication date
Application filed by デルファイ・テクノロジーズ・インコーポレーテッド filed Critical デルファイ・テクノロジーズ・インコーポレーテッド
Publication of JP2010523398A publication Critical patent/JP2010523398A/ja
Pending legal-status Critical Current

Links

Images

Classifications

    • BPERFORMING OPERATIONS; TRANSPORTING
    • B60VEHICLES IN GENERAL
    • B60RVEHICLES, VEHICLE FITTINGS, OR VEHICLE PARTS, NOT OTHERWISE PROVIDED FOR
    • B60R21/00Arrangements or fittings on vehicles for protecting or preventing injuries to occupants or pedestrians in case of accidents or other traffic risks
    • B60R21/02Occupant safety arrangements or fittings, e.g. crash pads
    • B60R21/16Inflatable occupant restraints or confinements designed to inflate upon impact or impending impact, e.g. air bags
    • B60R21/23Inflatable members
    • B60R21/231Inflatable members characterised by their shape, construction or spatial configuration
    • B60R21/233Inflatable members characterised by their shape, construction or spatial configuration comprising a plurality of individual compartments; comprising two or more bag-like members, one within the other
    • BPERFORMING OPERATIONS; TRANSPORTING
    • B60VEHICLES IN GENERAL
    • B60RVEHICLES, VEHICLE FITTINGS, OR VEHICLE PARTS, NOT OTHERWISE PROVIDED FOR
    • B60R21/00Arrangements or fittings on vehicles for protecting or preventing injuries to occupants or pedestrians in case of accidents or other traffic risks
    • B60R21/02Occupant safety arrangements or fittings, e.g. crash pads
    • B60R21/16Inflatable occupant restraints or confinements designed to inflate upon impact or impending impact, e.g. air bags
    • B60R21/23Inflatable members
    • B60R21/231Inflatable members characterised by their shape, construction or spatial configuration
    • B60R21/2334Expansion control features
    • B60R21/2338Tethers
    • BPERFORMING OPERATIONS; TRANSPORTING
    • B60VEHICLES IN GENERAL
    • B60RVEHICLES, VEHICLE FITTINGS, OR VEHICLE PARTS, NOT OTHERWISE PROVIDED FOR
    • B60R21/00Arrangements or fittings on vehicles for protecting or preventing injuries to occupants or pedestrians in case of accidents or other traffic risks
    • B60R21/01Electrical circuits for triggering passive safety arrangements, e.g. airbags, safety belt tighteners, in case of vehicle accidents or impending vehicle accidents
    • B60R21/015Electrical circuits for triggering passive safety arrangements, e.g. airbags, safety belt tighteners, in case of vehicle accidents or impending vehicle accidents including means for detecting the presence or position of passengers, passenger seats or child seats, and the related safety parameters therefor, e.g. speed or timing of airbag inflation in relation to occupant position or seat belt use
    • B60R21/01512Passenger detection systems
    • B60R21/0153Passenger detection systems using field detection presence sensors
    • B60R21/01534Passenger detection systems using field detection presence sensors using electromagneticwaves, e.g. infrared
    • BPERFORMING OPERATIONS; TRANSPORTING
    • B60VEHICLES IN GENERAL
    • B60RVEHICLES, VEHICLE FITTINGS, OR VEHICLE PARTS, NOT OTHERWISE PROVIDED FOR
    • B60R21/00Arrangements or fittings on vehicles for protecting or preventing injuries to occupants or pedestrians in case of accidents or other traffic risks
    • B60R21/01Electrical circuits for triggering passive safety arrangements, e.g. airbags, safety belt tighteners, in case of vehicle accidents or impending vehicle accidents
    • B60R21/015Electrical circuits for triggering passive safety arrangements, e.g. airbags, safety belt tighteners, in case of vehicle accidents or impending vehicle accidents including means for detecting the presence or position of passengers, passenger seats or child seats, and the related safety parameters therefor, e.g. speed or timing of airbag inflation in relation to occupant position or seat belt use
    • B60R21/01512Passenger detection systems
    • B60R21/0153Passenger detection systems using field detection presence sensors
    • B60R21/01538Passenger detection systems using field detection presence sensors for image processing, e.g. cameras or sensor arrays
    • BPERFORMING OPERATIONS; TRANSPORTING
    • B60VEHICLES IN GENERAL
    • B60RVEHICLES, VEHICLE FITTINGS, OR VEHICLE PARTS, NOT OTHERWISE PROVIDED FOR
    • B60R21/00Arrangements or fittings on vehicles for protecting or preventing injuries to occupants or pedestrians in case of accidents or other traffic risks
    • B60R21/02Occupant safety arrangements or fittings, e.g. crash pads
    • B60R21/16Inflatable occupant restraints or confinements designed to inflate upon impact or impending impact, e.g. air bags
    • B60R21/23Inflatable members
    • B60R21/231Inflatable members characterised by their shape, construction or spatial configuration
    • B60R21/2334Expansion control features
    • BPERFORMING OPERATIONS; TRANSPORTING
    • B60VEHICLES IN GENERAL
    • B60RVEHICLES, VEHICLE FITTINGS, OR VEHICLE PARTS, NOT OTHERWISE PROVIDED FOR
    • B60R21/00Arrangements or fittings on vehicles for protecting or preventing injuries to occupants or pedestrians in case of accidents or other traffic risks
    • B60R21/01Electrical circuits for triggering passive safety arrangements, e.g. airbags, safety belt tighteners, in case of vehicle accidents or impending vehicle accidents
    • B60R2021/01204Actuation parameters of safety arrangents
    • B60R2021/01211Expansion of air bags
    • B60R2021/01238Expansion of air bags control of expansion shape
    • BPERFORMING OPERATIONS; TRANSPORTING
    • B60VEHICLES IN GENERAL
    • B60RVEHICLES, VEHICLE FITTINGS, OR VEHICLE PARTS, NOT OTHERWISE PROVIDED FOR
    • B60R21/00Arrangements or fittings on vehicles for protecting or preventing injuries to occupants or pedestrians in case of accidents or other traffic risks
    • B60R21/02Occupant safety arrangements or fittings, e.g. crash pads
    • B60R21/16Inflatable occupant restraints or confinements designed to inflate upon impact or impending impact, e.g. air bags
    • B60R21/23Inflatable members
    • B60R21/231Inflatable members characterised by their shape, construction or spatial configuration
    • B60R21/2334Expansion control features
    • B60R21/2338Tethers
    • B60R2021/23382Internal tether means
    • B60R2021/23384Internal tether means having ends which are movable or detachable during deployment
    • BPERFORMING OPERATIONS; TRANSPORTING
    • B60VEHICLES IN GENERAL
    • B60RVEHICLES, VEHICLE FITTINGS, OR VEHICLE PARTS, NOT OTHERWISE PROVIDED FOR
    • B60R21/00Arrangements or fittings on vehicles for protecting or preventing injuries to occupants or pedestrians in case of accidents or other traffic risks
    • B60R21/02Occupant safety arrangements or fittings, e.g. crash pads
    • B60R21/16Inflatable occupant restraints or confinements designed to inflate upon impact or impending impact, e.g. air bags
    • B60R21/23Inflatable members
    • B60R21/231Inflatable members characterised by their shape, construction or spatial configuration
    • B60R21/2334Expansion control features
    • B60R21/2338Tethers
    • B60R2021/23386External tether means
    • B60R2021/23388External tether means having ends which are movable or detachable during deployment

Landscapes

  • Engineering & Computer Science (AREA)
  • Mechanical Engineering (AREA)
  • Physics & Mathematics (AREA)
  • Electromagnetism (AREA)
  • Computer Vision & Pattern Recognition (AREA)
  • Air Bags (AREA)

Abstract

エアバッグモジュールの膨張可能なクッションの展開特性を修正するための制御装置において、制御装置は、解除可能な保持装置であって、解除可能な保持装置の第1の端部は、膨張可能なクッションの内面の第1の位置に解放可能に固定されていて、解除可能な保持装置が、膨張可能なクッションの第1の位置に固定されている時には、解除可能な保持装置は、膨張可能なクッションの第1の方向への展開を制限するように構成されている、解除可能な保持装置と、解除可能な保持装置を第1の位置から解放するための感知装置であって、感知装置は、膨張可能なクッションの内面の、第1の位置から離れている第2の位置に固定的に固定され、解除可能な保持装置に解放可能に固定されていて、感知装置は、膨張可能なクッションの第2の位置が膨張の間に所定の距離だけ移動すると、解除可能な保持装置を第1の位置から解放するように構成されている、感知装置と、を備えている。
【選択図】図2

Description

本発明は、概括的には、車両用のエアバッグ又は膨張可能なクッションに関する。より厳密には、本発明は、エアバッグモジュールの膨張可能なクッションの展開を制御するためのシステム及び方法に関する。
エアバッグモジュールは、現代の自動車では一般的になっている。エアバッグモジュールは、通常、ハウジングの中に、膨張可能なクッションとインフレータとを備えている。モジュールは、例えば、ステアリングホイール、ダッシュボード、シート、車両のドア、Aピラー、及び他の位置の様な車両の中の所望の位置に取り付けられる。膨張可能なクッションは、ハウジングの中に折り畳まれた状態で、インフレータと流体連通させて格納されている。起動事象又は事件に応えて、センサーは、インフレータを起動するための信号を提供する。インフレータは、クッションを膨張させるために、クッションへ膨張ガスを供給し、クッションをハウジングから車両の中へと展開させる。
膨張可能なクッションの膨張レベルを、特定の状態に繋ぐために、様々な方法が採用されてきた。この様なわけで、展開している膨張可能なクッションへの近接の状態に応じて膨張可能なクッションの展開を制御するための膨張可能なクッション及び/又は装置、又はシステムを提供することが望まれている。
ここに開示しているのは、エアバッグモジュールの膨張可能なクッションの展開特性を操作するための装置及び方法である。
1つの例示的な実施形態では、エアバッグモジュールの膨張可能なクッションの展開特性を修正する制御装置が提供されており、同制御装置は、解除可能な保持装置であって、解除可能な保持装置の第1の端部は、膨張可能なクッションの内面の第1の位置に解放可能に固定されていて、解除可能な保持装置が、膨張可能なクッションの第1の位置に固定されている時には、解除可能な保持装置は、膨張可能なクッションの第1の方向への展開を制限するように構成されている、解除可能な保持装置と、解除可能な保持装置を第1の位置から解放するための感知装置であって、感知装置は、膨張可能なクッションの内面の、第1の位置から離れている第2の位置に固定的に固定され、解除可能な保持装置に解放可能に固定されていて、感知装置は、膨張可能なクッションの第2の位置が膨張の間に所定の距離だけ移動すると、解除可能な保持装置を第1の位置から解放するように構成されている、感知装置と、を備えている。
別の例示的な実施形態では、エアバッグモジュールが提供されており、同エアバッグモジュールは、ハウジングと、ハウジングから展開するように構成されている膨張可能なクッションと、膨張可能なクッションを膨張させるためのインフレータであって、膨張可能なクッションと流体連通しているインフレータと、解除可能な保持装置であって、解除可能な保持装置の第1の端部は、膨張可能なクッションの内面の第1の位置に解放可能に固定されていて、解除可能な保持装置は、解除可能な保持装置が膨張可能なクッションの第1の位置に固定されている時には、解除可能な保持装置は、膨張可能なクッションの第1の方向への展開を制限するように構成されている、解除可能な保持装置と、解除可能な保持装置を第1の位置から解放するための感知装置であって、感知装置は、膨張可能なクッションの内面の、第1の位置から離れている第2の位置に固定的に固定され、解除可能な保持装置に解放可能に固定されていて、感知装置は、膨張可能なクッションの第2の位置が膨張の間に所定の距離だけ移動すると、解除可能な保持装置を第1の位置から解放するように構成されている、感知装置と、を備えている。
別の例示的な実施形態では、膨張可能なクッションの第1の方向への展開を制限するための方法が提供されており、同方法は、解除可能な保持装置を、膨張可能なクッションの内面の第1の位置に固定する段階であって、解除可能な保持装置は、解除可能な保持装置が膨張可能なクッションの第1の位置に固定されている時には、膨張可能なクッションの第1の方向への展開を制限するように構成されており、解除可能な保持装置は、感知装置の係合部材によって第1の位置に固定されている、解除可能な保持装置を固定する段階と、膨張可能なクッションの内面の、第1の位置から離れた第2の位置に固定的に固定されている感知装置の一部分が、膨張の間に所定の距離だけ移動し、係合部材が、解除可能な保持装置から取り外されると、解除可能な保持装置を第1の位置から解放する段階と、を備えている。
本出願の上記及びその他の特徴は、以下の詳細な説明、図面、及び、特許請求の範囲から、当業者には理解頂けるであろう。
格納又は非展開状態の助手席側エアバッグモジュールの膨張可能なクッションを示している、車両内部の部分図である。 本発明の1つの例示的実施形態によって構成された制御装置を備えている、妨害する物の在る状態で展開された膨張可能なクッションの断面図を示している車両内部の部分図である。 本発明の1つの例示的実施形態によって構成された制御装置を備えている、妨害する物の無い状態で展開された膨張可能なクッションの断面図を示している車室の部分図である。 本発明の1つの例示的実施形態による制御装置を図解している図である。 本発明の1つの例示的実施形態による制御装置を図解している図である。 本発明の1つの例示的実施形態による制御装置を図解している図である。 本発明の1つの例示的実施形態による制御装置の解除可能な保持部材の図である。 本発明の1つの例示的実施形態による制御装置の解除可能な保持部材の図である。 本発明の1つの例示的実施形態による制御装置の解除可能な保持部材の図である。 本発明の1つの例示的実施形態による制御装置の解除可能な保持部材の図である。 本発明の1つの例示的実施形態による制御装置の解除可能な保持部材の図である。 本発明の或る代替的な例示的実施形態による制御装置を図解している図である。 本発明の或る代替的な例示的実施形態による制御装置を図解している図である。 膨張可能なクッションの妨害する物の無い状態での展開を連続的に示す図を示している。 膨張可能なクッションの妨害する物の在る状態での展開を連続的に示す図を示している。 本発明の代替的な例示的実施形態を図解している。 本発明の代替的な例示的実施形態を図解している。 本発明の代替的な例示的実施形態を図解している。 本発明の代替的な例示的実施形態を図解している。 本発明の代替的な例示的実施形態を図解している。 本発明の代替的な例示的実施形態を図解している。 本発明の代替的な例示的実施形態を図解している。 本発明の代替的な例示的実施形態を図解している。
ここに開示しているのは、膨張可能なクッションの展開特性を制御するように作動する制御装置の使用を通して、エアバッグモジュールの膨張可能なクッションの展開又は膨張を選択的に制御するための方法と装置である。例示的な実施形態によれば、別の又は第2の方向で妨害されていない展開が検知されなければ、制御装置は、膨張可能なクッションの第1の方向の展開を制約する。
本発明の或る例示的な実施形態によれば、制御装置は、解除可能な保持装置であって、解除可能な保持装置が膨張可能なクッションに固定されている時には、膨張可能なクッションの第1の方向の展開を制限するように構成されている、解除可能な保持装置と、膨張可能なクッションが膨張の間に第2の方向に所定の距離だけ移動すると、解除可能な保持装置を膨張可能なクッションから解放するための感知装置と、を備えている。
次に図を参照してゆくが、具体的に図1は、車両10の内部の一部分を示している。車両10の室内には、座席構造12と、座席構造12に対して選択された空間的な関係に配置されているエアバッグモジュール14とが含まれている。エアバッグモジュール14は、ハウジング16と、インフレータ18と、膨張可能なエアバッグ又はクッション20とを備えている。モジュール14は、クッション20が座席構造12に向かって展開するように、車両10内に配置されている。
センサー又は感知及び診断モジュール22は、起動事象を検知するようになっており、その際、閾値事象が発生すると、起動信号24が発せられ、インフレータ18によって受信されることによって、インフレータが膨張可能なクッションを膨張させることになる。閾値事象の検知は、既知の技術によって車両の周囲に設置された1つ又はそれ以上のセンサーによって確定される。而して、起動信号24は、エアバッグモジュール14の起動を制御する。例示的な実施形態の感知及び診断モジュール22は、マイクロプロセッサ、マイクロコントローラー、又は、エアバッグモジュールの作動を制御する制御アルゴリズムを実行するためのコンピュータ読み取り可能データ又はプログラムのコマンドを実行することができる他の同等な処理装置を備えている。規定された機能及び所望の処理、並びにそのための計算を遂行(例えば、フーリエ解析アルゴリズム及びここで規定した制御処理などの実行)するために、コントローラーは、これらに限定するわけではないが、1つ又は複数のプロセッサ、1つ又は複数のコンピュータ、メモリ、記憶装置、1つ又は複数のレジスタ、タイミング、1つ又は複数のインタラプト、通信インターフェイス、及び入/出力信号インターフェイス、並びに、上記の少なくとも1つを備えているそれらの組み合わせ、を含んでいてもよい。例えば、コントローラーは、その様な信号を通信インターフェイスから正確にサンプリングし、変換し、又は取得することができるようにするため、入力信号フィルタリングを含んでいてもよい。上で説明したように、本発明の例示的な実施形態は、コンピュータが実施するプロセスと、これらのプロセスを実行するための装置とを通して実施することができる。
膨張可能なクッションは、ハウジング16の中に折り畳まれた又は展開していない状態で格納されている。クッションは、膨張ガスを発生させてクッションを膨張させることになるインフレータ18と流体連通するように配置されている。感知及び診断モジュール22によって起動事象が検知されると、インフレータ18は、信号24を介して起動され、膨張ガスを発生させる。膨張ガスは、クッション20を膨張させ、ハウジング16から車両の内部へと拡張させる。モジュール14は、ほんの一例として、車両のダッシュボードに含まれているように示されているものと理解頂きたい。無論、モジュール14は、例えば、これらに限定するわけではないが、ステアリングホイール、座席、Aピラー、ルーフ、及び他の場所、並びに図1に示している他の角度的又は位置的な関係で、車両の他の領域で展開させるために取り付けることもできると考えられる。更に、車両内部、インスツルメントパネル、エアバッグモジュールの特定な構成、及びそれらとの関係は、一例として提供されており、無論、これらの構成は、図1に示している特定の構成から変わってもよいものと理解頂きたい。
加えて、本開示は、更に、様々な型式の膨張可能なクッション及びインフレータと共に使用することも想定している。例えば、クッションは、様々な展開構成及び様々な型式のインフレータ(例えば、二段階式インフレータ)を実現するため特定の方式で構築され、及び/又は、折り畳まれている。
更に、本発明の代替的な例示的実施形態によれば、感知及び診断モジュールは、座席構造の1つ又はそれ以上の状態を検知できるようにすることもできる。例えば、感知及び診断モジュール22は、下記の、座席構造12の上の荷重又は荷重量(例えば、乗員重量)、座席構造の位置、座席構造の一部分の、別の部分に対する角度、座席構造のエアバッグモジュール14からの距離、及び、車両の周囲に配置された複数のセンサーからの入力を受信することでエアバッグが展開することに関連するその他のデータ、の内の1つ又はそれ以上を検知できるようにすることができる。
例えば、感知及び診断モジュールは、例えば、これらに限定するわけではないが、座席位置センサー26、光学式スキャナー28、荷重センサー30、座席リクライニングセンサー32、座席ベルト使用検知センサー(図示せず)、及びベルト張力センサー34の様な、1つ又はそれ以上のセンサーからの入力を受信することができる。センサーは、入力信号を1つ又はそれ以上の座席状態を示すモジュール22に提供するために設置されている。乗員のサイズ(例えば、センサーによって判定される重量)と組み合わされた1つ又はそれ以上の座席状態は、膨張可能なクッションに望ましい展開スキームを判定するために、感知及び診断モジュール内に設置されたマイクロプロセッサに常駐する制御アルゴリズムに入力される。例えば、データ入力は、マイクロプロセッサ又は他の読み取り可能なフォーマットのメモリに記憶された検索表と比較すると、アルゴリズムが、エアバッグの完全な展開又は部分的な展開の何れが望ましいかを判定することができる。(例えば、クッション展開特性を変更するように設計されているシステムを起動させるか又は起動させないことによって、エアバッグモジュールを特注仕様にする)。
様々なセンサーを連続的にサンプリングすると、起動事象(展開)が発生する前に、感知及び診断モジュールに様々な入力を提供することができる。なお、本開示のエアバッグ膨張システムは、上に述べたセンサーのどの様な組み合せとでも共に使用できると考えられており、上に論議した特定の型式のセンサーによって制限されるように意図されてはいない。
本発明の或る例示的な実施形態によれば、次に、図2から図8で示すように、第1の方向への膨張式クッションの展開は、エアバッグモジュールの膨張可能なクッションの展開特性を変更するために、制御装置50によって制御される。或る例示的な実施形態では、制御装置は、エアバッグモジュールの膨張可能なクッションの中に設置されている。本発明の或る例示的な実施形態によれば、制御装置は、膨張可能なクッションが矢印54で概略的に示されている第1の方向に展開することを制限するように構成されている、解除可能な保持装置52を備えている。
本発明の或る例示的な実施形態によれば、解除可能な保持装置は、膨張可能なクッションの運動学によって、エアバッグモジュールから遠くに、車両の乗員に向けて展開するための膨張可能なクッションの第1の部分となる膨張可能なクッションの第1の部分又は先導縁部の進行を妨げ又は拘束する。その結果、膨張可能なクッションのこの部分の進行を妨げることによって、クッションの他の部分又は第2の部分は、エアバッグモジュールから遠くの他の方向に素早く、又はより迅速に展開することになる。例えば、少なくとも、助手席側エアバッグモジュールの膨張可能なクッションを示している図1から図3では、下縁部は前縁部より先に外向きに展開し、その後、下縁部が妨害されなければ、前縁部は完全に展開することができる。更に、少なくとも、運転者席側エアバッグモジュールの膨張可能なクッションを示している図9Aから図11Bでは、上縁部は、進行を妨げられており、前縁部は、上縁部より先に外向きに展開し、その後、前縁部が妨害されなければ、上縁部は完全に展開することができる。加えて、運転者席側の膨張可能なクッションの上縁部が拘束される場合も、下縁部が最初に移動して出るので、下縁部が、乗員の下部(例えば、上側脚部と胴部)とステアリングホイールの間に位置することになる。
即ち、クッションの運動学のために、拘束されていない膨張可能なクッションは、モジュールから遠くに展開し、少なくとも1つ又は第1の部分が、膨張可能なクッションの他の部分又は第2の部分より前に対象物又は個人に接することになる先導縁部を提供する。従って、他の部分は、先導縁部に対応する第1の部分がモジュールから遠くに展開した後、外向きに、エアバッグモジュールから遠くに展開することになる。更に、膨張可能なクッションに対する乗員の位置次第で、先導縁部は、膨張可能なクッションの「他の部分」が通常接触する部分に比べ、より望ましくない乗員の領域に接触するかもしれない。
対照的に、本発明の或る例示的な実施形態によれば、制御装置は、膨張可能なクッションの第1の部分の進行を妨げることで、第2の部分又は他の部分を最初に展開させており、その際、他の部分は、他の部分又は第2の部分を感知装置として使用して、乗員が膨張可能なクッションに近接しているか否かを判定するために使用されている。更に、これらの他の部分は、それらの他の部分を、膨張可能なクッションとの接触により寛容な、乗員の領域に接触させることになる方向に展開することになる。
本発明の或る例示的な実施形態によれば、解除可能な保持装置は、膨張可能なクッションの内面58の第1の位置60に解放可能に固定された第1端部56を有しており、この第1の位置は、膨張可能なクッションの運動学によってエアバッグモジュールから遠くに車両の乗員に向かって展開する、膨張可能なクッションの第1の部分となる、膨張可能なクッションの先導縁部を提供している、膨張可能なクッションの第1の部分に対応している。
本発明の或る例示的な実施形態によれば、解除可能な保持装置は、繋ぎ紐又は膨張可能なクッションに加えられる膨張力に耐えるのに適した他の材料を備えている。或る例示的な実施形態では、解除可能な保持装置又は繋ぎ紐は、膨張可能なクッションの第1の位置60の、第1の方向54への展開に対応する、又は、固定点から第1の位置及び、1つの例示的な実施形態ではエアバッグモジュールハウジングである、別の固定点までの展開有効長「x」又は伸長時長「x」を有している。即ち、有効長「x」は、例えば、膨張可能なクッションの第1の方向への展開に対応し、図2で示すように、解除可能な保持装置52の一部分は、インスツルメントパネル又はエアバッグモジュールハウジングの部分の周りに曲がっている。
図3に示すように、解除可能な保持装置の有効長xは、膨張可能なクッションが妨害する物の無い展開の際に第1の方向54に展開する距離に対応する、距離「xl」より短くなっている。従って、本発明の或る例示的な実施形態によれば、解除可能な保持装置は、膨張可能なクッションの少なくとも1つの他の部分が、妨害されていない様式で展開していない場合には、膨張式クッションが、第1の方向に完全に展開することを防止する。更に、膨張可能なクッションの第1の部分を第1の方向に拘束することで、第2の部分又は他の部分を、膨張可能なクッションの展開時に最初に又は先に展開させ、その後、膨張可能なクッションの第1の部分が拘束されていなかった場合は、それらの部分が展開される。更に、より早い段階で展開している他方の部分は、他方の部分又は第2の部分を感知部材として使用することによって、乗員が膨張可能なクッションに近接しているか否かを判定するために使用される。即ち、解除可能な保持装置は、膨張可能なクッションが展開され、解除可能な保持装置が第1の位置に固定されている時には、膨張可能なクッションが距離xlに達するのを防止する。
或る例示的な実施形態によれば、解除可能な保持装置を解放するために、制御装置は、更に、感知装置62を備えている。感知装置は、膨張可能なクッションの第2の部分が、第2の方向68に妨害されること無く展開するか否かを検知するように構成されている。この第2の方向は、感知装置を解除可能な保持装置に解放可能に固定する点から、感知装置を、或る例示的な実施形態では、第2の部分64の先導縁部に近接している膨張可能なクッションの内面である、第2の部分に固定するもう1つの点に向けて、として説明することもできる、第2の部分64の第2の方向68への展開に対応している。
上記のように、解除可能な保持装置による第1の部分の拘束は、第2の部分を、拘束されていない膨張可能なクッションよりも速く展開させる。その後、第2の部分は、膨張可能なクッションが妨害されているか否かを判定するために使用される。
本発明の或る例示的な実施形態では、膨張可能なクッションの第2の部分は、膨張可能なクッションの下側前縁部70であり、第2の方向は、概ね、第1の方向から、下向き又は前向きで下向きの方向72であり、本発明の或る例示的な実施形態によれば、より望ましい接触位置に対応している。
或る例示的な実施形態によれば、感知装置は、更に、膨張可能なクッションの第2の部分が妨害されること無く第2の方向に展開する時に、膨張可能なクッションが第2の方向に展開する距離に対応する長さ「y1」より短い有効長、又は伸張時長「y」を有する繋ぎ紐を備えている。この様な次第で、本発明の或る実施形態によれば、膨張可能なクッションの第2の部分が第2の方向に、少なくとも「y」より大きい距離だけ展開すると、感知装置は、教示されることになり、而して、解除可能な保持装置を第1の位置に解放可能に固定しているピン又は他の等価な装置を引き抜き、解除可能な保持装置を膨張可能なクッションの第1の位置から、更には固定されたピンを有する感知装置の端部から解放し、それによって、膨張可能なクッションが第1の方向に「xl」の距離だけ展開することができるようにする。
本発明の或る例示的な実施形態によれば、解除可能な保持装置は、膨張可能なクッションの第2の部分が展開中に妨害されると、膨張可能なクッションが第1の方向に完全に展開するのを防止するが、これは、或る非限定的な例示的実施形態では、後ろ向きのチャイルドシート74が、展開している膨張可能なクッションの前に配置されている場合である(図2参照)。図示のように、後ろ向きのチャイルドシートは、膨張可能なクッションの第2の方向への展開を妨害することになり、その結果、解除可能な保持装置は、膨張可能なクッションに固定されたままとなり、而して、膨張可能なクッションの第1の方向への展開を制限することになる。即ち、膨張可能なクッションが第2の方向への展開を妨害されると、感知装置は、展開長に完全には達しなくなり、而して、感知装置は、解除可能な保持装置をクッションに固定しているピンを引き抜かないので、解除可能な保持装置は、膨張可能なクッションに固定されたままとなる。
この様な次第で、本発明の或る例示的な実施形態は、膨張可能なクッションの中に配置されている制御装置に着眼しており、制御装置は、膨張可能なクッションの少なくとも第2の方向の展開を制限するように構成されている解除可能な保持装置であって、膨張可能なクッションの内面の第1の位置に解放可能に固定されている、解除可能な保持装置と、膨張可能なクッションの第2の位置が、膨張中に所定の距離だけ移動すると、解除可能な保持装置を第1の位置から解放するための感知装置と、を備えている。感知装置は、膨張可能なクッションの内面の第2の位置に固定的に固定されており、更に、感知装置は、第2の位置が所定の距離だけ移動すると、解除可能な保持装置を第1の位置から解放するように構成されている。
或る例示する実施形態によれば、感知装置は、膨張可能なクッションの第2の位置76に固定されており、膨張可能なクッションの第2の位置が、第2の方向に所定の距離だけ展開すると、解除可能な保持装置を膨張可能なクッションの第1の位置から解放するための解除部材78を備えている。
1つの非限定的な例示的実施形態によれば、図4Aから6Bに示すように、解除部材は、端部82が保持部材84を通過した後で、解除可能な保持装置の端部82をそれ自身に解放可能に固定するための、感知装置の一方の端部に固定されているピン又は保持装置80を備えており、保持部材は、膨張可能なクッションの内面に固定され、端部をその中に通して、解除可能な保持装置を膨張可能なクッションの内面に固定できるようにする開口部86を提供している。ピン又は保持装置80の非限定的な例には、コッターピン構造が含まれ、同構造では、コッターピンの一部分が、解除可能な保持装置の端部82に通され、それを、それが保持部材の周囲を通過した後で、解除可能な保持装置の別の部分に固定するようになっている。例示的な実施形態によれば、ピン又は保持装置80は、曝されることになる引張力に十分に耐え、更に、解除可能な保持装置の材料に対して低い又は望ましい摩擦係数を提供するプラスチック材料又は金属材料(例えば、鋼)で形成されている。
1つの非限定的な例示的実施形態では、保持部材84は、膨張可能なクッションの前方部分又は第1の部分又は先導縁部の表面区域の周りに解除可能な保持装置52の拘束力を配分するように構成されている固定部材88に、両端が固定されたピン又はロッド(図4C)である。1つの非限定的な例示的実施形態では、固定部材は、少なくとも2つの端部が膨張可能なクッションの内面に固定された一片の材料であり、保持部材は、保持荷重を膨張可能なクッションの面の周りに分散させるために、2つの固定された端部の間で、材料の表面に固定されている。更に、開口部86は、保持部材と材料の表面の間に位置することになる。
更に、本発明の或る例示的な実施形態によれば、解除可能な保持装置の第1の部分に対する固定は、解除可能な保持装置を解放するのに、感知装置が最小限の量の力しか必要としないように構成されている。これは、少なくとも1つの非限定的な実施形態では、解除可能な保持装置を保持部材84の周りに輪にして、解除可能な保持装置の少なくとも2つの部分が、膨張可能なクッションの第1の部分の進行を妨げ又は拘束する張力を受けるようにすることで、実現し易くなっている。この様な次第で、保持装置80を解除可能な保持装置から取り外すために必要な力の量は、保持部材84の周囲に巻かれている解除可能な保持装置の2つの脚部又は部分の間に分割され、而して、解除可能な保持装置の2つの部分を保持部材に固定している保持装置80に掛かる張力を減らしている。
更に、解除可能な保持装置を解放する(例えば、ピンを引き出す)のに感知装置が最小限の量の力しか必要としないようにすることによって、対象物又は乗員に接触する部分又は第2の部分は、更に、拘束されている第1の部分又は先導縁部と比較して、接触力が低くなる。感知装置を解除可能な保持装置に固定しているピンが容易に取り外せるので、膨張可能なクッションの円滑な展開が促進されるようになる。この場合も、これは、クッションの運動学によって、最初にインスツルメントパネルから外側に向かってクッションの他の部分より大きな力を伴って展開する可能性が高いクッションの部分である、クッションの先導縁部の進行を妨げ又は拘束することによって実現し易くなっている。
この様な次第で、膨張可能なクッションの第2の部分が妨害されない場合には、感知装置は、解除可能な保持装置をクッションの前方部分から解放し(例えば、解除可能な保持装置の端部を自身に保持又は固定しているピンを引き抜く)、クッションの先導縁部は、完全に外に出るか、又は一杯に展開することができるようになる。そうではなく、感知装置が完全には伸張しない場合は、ピンは引き抜かれず、解除可能な保持装置は、膨張可能なクッションの先導縁部に固定されたままとなる。
図6Aと6Bには、解除可能な保持装置を膨張可能なクッションに解放可能に固定するための別の代替的な方法が、図解されている。ここでは、固定部及び保持部材は、それぞれ、2つの位置で膨張可能なクッションの内面に固定された単一片の材料90に置き換えられている。前の実施形態での様に、解除可能な保持装置の端部は、材料90の周囲に固定され、感知部材に固定された解除部材78は、端部82を解除可能な保持装置に、端部が材料90によって画定された開口部を通過した後に、固定しており、前と同じように、膨張可能なクッションの膨張力に耐えるために、解除可能な保持装置の2つの部分を提供している。
次に、再び図1から図6Bを参照すると、感知装置は、一端が解除部材78又はピン80に固定され、他端が膨張可能なクッションの第2の部分64に近接した内面の部分に固定された、繋ぎ紐92を備えている。この様な次第で、第2の部分が、感知装置又は繋ぎ紐92の長さより長い距離だけ妨害されること無く移動すると、繋ぎ紐は、教示され、ピンを解除可能な保持装置の端部82から引き抜き、而して、膨張可能なクッションの第1の部分は、端部82が、膨張可能なクッションに固定された保持部材84から翻り又は分離されるので、矢印44の方向に拡張又は展開することができるようになる。
更に、1つの非限定的な例示的実施形態では、膨張可能なクッションが展開され、解除可能な保持装置が膨張可能なクッションから解放されない時には、解除可能な保持装置の固定された端部を膨張力に耐えることのできる構造に固定するために、固定点94が、解除可能な保持装置の固定端部96を、膨張可能なクッションに、膨張可能なクッションの外面100に固定されたアンカー98に近接して固定すること(例えば、縫い付けるか、又は他の等価な固定手段)によって、提供される。或る例示的な実施形態によれば、アンカー98は、エアバッグモジュールハウジング又はインスツルメントパネルの構造部材の何れか又は両方の相補的開口部の中に受け入れられるように構成されている。
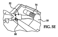
更に別の代替案では、図5Aから5Eに示すように、膨張可能なクッションが展開され、解除可能な保持装置が膨張可能なクッションから解放されない時には、解除可能な保持装置の固定された端部を膨張力に耐えることのできる構造に固定するために、固定点94が、解除可能な保持装置の端部分を膨張可能なクッションの開口部に通すことによって、提供され、その際、端部分は、そこに固定されたアンカー98を有しており、アンカー98は、エアバッグモジュールハウジング又はインスツルメントパネルの構造部材の何れか又は両方の相補的開口部102の中に受け入れられるように構成されている。
更に別の代替案では、アンカー98は、インフレータの一部分とインフレータを所定の位置に保持しているブラケット104の間に配置されている(図5D)。図5Aから5Eに示すように、解除可能な保持装置は、その固定された固定端部を、膨張可能なクッションの膨張開口部に通し、その後、解除可能な保持装置の一部分が、インフレータとエアバッグモジュールハウジングの間に配置される。更に、アンカーは、膨張可能なクッションが展開している間に、インフレータとエアバッグモジュールハウジングの間を通ることができないように構成されている。その上、図5Dに示すように、インフレータは、アンカーが中を通過するのを防ぐ機能もある取り付けプレート104によって所定の位置に保持されている。図5Eは、明瞭にするために膨張可能なクッションを取り除いた状態の、エアバッグモジュールハウジングに固定された解除可能な保持装置を示している。
無論、上に述べた実施形態は、解除可能な保持装置を膨張可能なクッションにしっかりと固定するための方法の例であり、本発明の例示的な実施形態は、ここに図解された特定の構成に限定されるよう意図されてはいない。
次に、図7には、膨張可能なクッションが、妨害する物の無い状態で展開している連続的な図が示されており、一方図8は、膨張可能なクッションが、妨害する物の在る状態で展開している連続的な図を示している。図8に明瞭に示されているように、膨張可能なクッションは、膨張可能なクッションの第2の部分が阻止又は妨害され、感知装置が最大の作動長さまで展開されていないので、解除可能な保持装置によって第1の方向に拘束されている。更に、図8に示すように、拘束された膨張可能なクッションは、明らかに、図7に示した膨張可能なクッションの展開された幅より大きな幅を有している。
図9から図16には、本発明の代替的な例示的実施形態が示されている。ここでは、同様の又は類似の機能を遂行している部品には、100番台の数字が付けられている。これらの図面には、運転者側エアバッグモジュールと共に使用するように構成された膨張可能なクッション108が示されている。先の実施形態と同様に、第1の方向に膨張可能なクッションは、膨張可能なクッションの中に設置されている制御装置150によって制御されている。
ここで、制御装置は、膨張可能なクッションが矢印154で概略的に示されている第1の方向に展開するのを制限するように構成されている、解除可能な保持装置152を備えている。例示的な実施形態によれば、解除可能な保持装置は、一方の端部157が膨張可能なクッションの膨張開口部159に近接して固定されている第1の部分155と、第1の位置160で膨張可能なクッションの内面に解放可能に固定されている第2の部分161とを有している。1つの非限定的な例示的実施形態では、第2の部分は、開口部163を画定するため少なくとも2つの部分で固定されている複数の部材165によって画定された複数の開口部163を通過させた、ナイロン製の織材料又は他の等価な材料のループを備えている。例示的な実施形態によれば、第2の部分は、それぞれの開口部163を通過しており(図13参照)、その際、第2の部分の幾つかの部分167は、第2の部分161と第1の部分155の間に1つの固定点169を提供するために一緒に引っ張られている。図13に示すように、第2の部分161の端部分と中間部分は、固定点を提供するために集められ、部材165も、一緒に集められている。本発明の或る例示的な実施形態によれば、部材165は、膨張可能なクッションの周辺縁部に位置しており、前方クッション部分173が、後方クッション部分175に固定されている区域に対応しており、膨張可能なクッションの周辺縁部を画定し、而して、第1の部分が第2の部分に固定されている時には、膨張可能なクッションの第1の方向の展開を制限又は拘束する。無論、部材165は、膨張可能なクッションの他の部分に配置されていてもよい。
図14に示すように、第1の部分は、部材の開口部を通過した後、第2の部分によって画定されたループを通過している。その後、第1の部分の端部分182は、第2の部分のループを通過した後で、第1の部分に固定される。
本発明の或る例示的な実施形態によれば、解除可能な保持装置の第1の部分と第2の部分は、膨張可能なクッションに加えられる膨張力に耐えるのに適した繋ぎ紐又は他の材料を備えている。
次に、図9から11Bに示すように、例示的な実施形態によれば、解除可能な保持装置又は繋ぎ紐の第1の部分と第2の部分を組み合わせた長さは、有効長「x」、又は、膨張可能なクッションの第1の位置160の第1の方向154への展開に対応する、伸張時長「x」を有している。即ち、有効長「x」は、膨張可能なクッションの第1の方向への展開に対応している。
図示のように、解除可能な保持装置の有効長xは、距離「x1」より短く、この距離は、妨害する物の無い展開の際に、膨張可能なクッションが第1の方向に展開する距離に対応している。この様な次第で、本発明の或る例示的な実施形態によれば、解除可能な保持装置は、膨張可能なクッションの少なくとも1つの他の部分が妨害されていない様式で展開しているのでなければ、膨張可能なクッションが第1の方向に完全に展開することを妨げる。即ち、解除可能な保持装置は、膨張可能なクッションが展開され、解除可能な保持装置が第1の位置に固定されている時には、膨張可能なクッションが距離xlに達するのを妨げる。
或る例示的な実施形態によれば、解除可能な保持装置を解放するために、制御装置は、感知装置162を更に備えている。感知装置は、膨張可能なクッションの164の第2の部分が、膨張可能なクッションの第2の部分164の第2の方向168への展開に、又は、解除可能な保持装置に対する解除可能な固定点から、1つの例示的な実施形態では第2の部分164に近接する膨張可能なクッションの内面である、もう1つの固定点までに対応する第2の方向に妨害されること無く展開しているか否かを検知するように構成されている。本発明の或る例示的な実施形態によれば、膨張可能なクッションの第2の部分は、膨張可能なクッションの前方又は中央面部分170であり、第2の方向は、第1の方向から概ね前方である。
本発明の或る例示的な実施形態によれば、感知装置は、膨張可能なクッションの第2の部分が第2の方向に妨害されること無く展開する時に、膨張可能なクッションが第2の方向に展開する距離に対応する長さ「y1」より短い有効長又は伸張時長「y」を有している。この様な次第で、本発明の或る例示的な実施形態によれば、膨張可能なクッションの第2の部分が、少なくとも、第2の方向に「y」より長い距離だけ展開すると、感知装置は、解除可能な保持装置を膨張可能なクッションの第1の位置から解放して、膨張可能なクッションが第1の方向に距離「x1」だけ展開することができるようにする。
これも図11Aに示されているが、膨張可能なクッションが第1の方向に拘束されていない時でも、膨張可能なクッションが第2の方向に拘束されるか、又は膨張可能なクッションが早期に第2の方向に拘束されると、下縁部187は、矢印189の方向に展開し、膨張可能なクッションの一部分が、乗員とステアリングホイールの間に位置することになる。助手席側エアバッグモジュールの膨張可能なクッションの拘束された展開の際にも、同じことが当てはまる。即ち、膨張可能なクッションが1つの方向に拘束されると、膨張可能なクッションは、膨張可能なクッションによって拘束されていない別の方向に展開することになる。
本発明の或る例示的な実施形態によれば、解除可能な保持装置は、膨張可能なクッションの第2の部分が展開の際に妨害されると、膨張可能なクッションが第1の方向に完全に展開するのを防ぐが、これは、1つの非限定的な例示的実施形態では、乗員185が、展開する膨張可能なクッションの正面の所定の距離に位置している場合である(少なくとも図9Aと図10A参照)。図示のように、乗員は、膨張可能なクッションの第2の方向への展開を妨害し、従って、解除可能な保持装置は、膨張可能なクッションに固定されたままとなり、而して、膨張可能なクッションの第1の方向への展開が制限されることになる。即ち、膨張可能なクッションを第2の方向に妨害すると、感知装置は、展開長に完全には達しなくなり、而して、解除可能な保持装置は、膨張可能なクッションに固定されたままとなる。
或る例示的な実施形態によれば、感知装置は、膨張可能なクッションの第2の位置176に固定され、膨張可能なクッションの第2の位置が第2の方向に所定の距離だけ展開すると、解除可能な保持装置を膨張可能なクッションの第1の位置から解放するための解除部材178を備えている。
1つの非限定的な例示的実施形態によれば、図15及び図16に示すように、解除部材は、解除可能な保持装置の第1の部分の端部182を、解除可能な保持装置の第2の部分に、端部が膨張可能なクッションの内面に解放可能に固定されている複数の第2の部分のループを通過した後で、固定するためのピン又は保持装置180を備えている。1つの非限定的な例示的実施形態では、各固定部材165は、保持荷重を膨張可能なクッションの所望の部分の周囲に分散させるために、少なくとも2つの部分で膨張可能なクッションの内面に固定された一片の材料である。
この様な次第で、膨張可能なクッションの第2の部分が妨害されなければ、感知装置は、解除可能な保持装置を、クッションの前方部分から解放し(例えば、解除可能な保持装置の端部を自身に保持又は固定しているピンを引き抜き)、クッションの先導縁部が完全に出てゆき又は展開できるようにする。そうではなく、感知装置が、完全には伸張しない場合には、ピンは、引き抜かれず、解除可能な保持装置は、膨張可能なクッションの先導縁部に固定されたままとなる。
無論、上に述べた実施形態は、解除可能な保持装置を膨張可能なクッションに解放可能に固定するための方法の例であり、本発明の例示的な実施形態は、ここに図解した特定の構造に制限されるよう意図されてはいない。
10 車両
12 座席構造
14 エアバッグモジュール
16 ハウジング
18 インフレータ
20 クッション
22 感知及び診断モジュール
24 起動信号
26 座席位置センサー
28 光学式スキャナー
30 荷重センサー
32 座席リクライニングセンサー
34 ベルト張力センサー
50 制御装置
52 保持装置
54 矢印、第1の方向
56 第1端部
58 内面
60 第1の位置
62 感知装置
64 第2の部分
68 第2の方向
70 下側前縁部
72 下向き方向
74 チャイルドシート
76 第2の位置
78 解除部材
80 保持装置
82 保持装置の端部
84 保持部材
86 開口部
88 固定部材
90 材料
92 繋ぎ紐
94 固定点
96 固定端部
98 アンカー
100 外面
104 ブラケット
108 クッション
150 制御装置
152 保持装置
154 矢印
155 第1の部分
157 端部
159 膨張開口部
160 第1の位置
161 第2の部分
163 開口部
165 部材
167 部分
169 固定点
173 前方のクッション部分
175 後方のクッション部分
176 第2の位置
178 解除部材
182 第1の部分の端部分
187 下縁部
189 矢印

Claims (20)

  1. エアバッグモジュールの膨張可能なクッションの展開特性を修正するための制御装置において、
    解除可能な保持装置であって、前記解除可能な保持装置の第1の端部は、前記膨張可能なクッションの内面の第1の位置に解放可能に固定されていて、前記解除可能な保持装置が、前記膨張可能なクッションの第1の位置に固定されている時には、前記解除可能な保持装置は、前記膨張可能なクッションの第1の方向への展開を制限するように構成されている、解除可能な保持装置と、
    前記解除可能な保持装置を前記第1の位置から解放するための感知装置であって、前記感知装置は、前記膨張可能なクッションの前記内面の前記第1の位置から離れている第2の位置に固定的に固定され、前記解除可能な保持装置に解放可能に固定されていて、前記感知装置は、前記膨張可能なクッションの前記第2の位置が膨張の間に所定の距離だけ移動すると、前記解除可能な保持装置を前記第1の位置から解放するように構成されている、感知装置と、を備えている制御装置。
  2. 前記所定の距離は、前記膨張可能なクッションの下縁部の妨害されていない様式での第2の方向への展開に対応している、請求項1に記載の制御装置。
  3. 前記解除可能な保持装置の前記第1の端部は、前記内面の前記第1の位置に固定された固定機構の周囲に巻かれており、前記第1の端部は、前記感知装置に固定された係合部材によって前記解除可能な保持装置に固定されており、前記係合部材を前記解除可能な保持装置から取り外すための力は、前記解除可能な保持装置が、前記膨張可能なクッションの前記第1の位置を拘束している時には、前記解除可能な保持装置に掛かる力より小さい、請求項1に記載の制御装置。
  4. 前記解除可能な保持装置は繋ぎ紐であり、前記感知装置は繋ぎ紐である、上記請求項の何れかに記載の制御装置。
  5. 前記固定機構は、前記内面の前記第1の位置に固定された部材と、何れかの端部が前記部材に固定され、前記解除可能な保持装置の前記第1の端部が通過する孔を画定しているピンと、を備えている、請求項3に記載の制御装置。
  6. 前記部材は、前記膨張可能なクッションが展開され、前記解除可能な保持装置が前記固定機構に固定されている時に、前記解除可能な保持装置によって前記第1の位置で提供される拘束力を分散するために、前記内面の前記第1の位置に少なくとも2つの縁部で固定されている平面的な部材である、請求項5に記載の制御装置。
  7. 前記係合部材は、前記解除可能な保持装置の一部分と前記解除可能な保持装置の前記第1の端部を通過させることによって、前記解除可能な保持装置の前記第1の端部を前記解除可能な保持装置に固定するピンであり、前記ピンは、前記膨張可能なクッションの前記第2の位置が前記膨張可能なクッションの膨張の間に前記所定の距離だけ移動すると、前記解除可能な保持装置から取り外すことができる、請求項6に記載の制御装置。
  8. 前記ピンはプラスチックであり、前記膨張可能なクッションは、前記膨張可能なクッションの外面に設置された固定機構を更に備えており、前記固定機構は、前記膨張可能なクッションの、前記解除可能な保持装置の第2の端部を前記膨張可能なクッションに固定する点に近接する位置に固定されており、前記固定機構は、前記膨張可能なクッションを前記エアバッグモジュールハウジングに固定するように構成されている、請求項7に記載の制御装置。
  9. 前記膨張可能なクッションは、運転者側のエアバッグモジュールに使用するように構成されており、前記所定の距離は、前記膨張可能なクッションの上縁部の妨害されていない様式での第2の方向への展開に対応している、請求項1に記載の制御装置。
  10. 前記解除可能な保持装置は、第1の部分と第2の部分を備えており、前記第1の部分は、前記膨張可能なクッションの膨張開口部に近接して固定されており、前記第2の部分は、前記膨張可能なクッションの内面と前記第1の部分に解放可能に固定されている、請求項9に記載の制御装置。
  11. 前記第1の部分と前記第2の部分は、それぞれループ状の材料を備えている、請求項10に記載の制御装置。
  12. 前記第2の部分は、前記膨張可能なクッションの前記内面の前記第1の位置に固定された複数のループ状の材料を通過しており、前記第2の部分は、前記感知装置に固定されている係合部材によって、前記第1の部分に解放可能に固定されている、請求項10に記載の制御装置。
  13. 前記係合部材は、前記解除可能な保持装置の前記第1及び第2の部分の一部を通過させることによって、前記解除可能な保持装置の前記第1の部分を前記解除可能な保持装置の前記第2の部分に固定するピンであり、前記ピンは、前記膨張可能なクッションの前記第2の位置が前記膨張可能なクッションの膨張の間に前記所定の距離だけ移動すると、前記解除可能な保持装置の前記第1及び第2の部分から取り外すことができる、請求項12に記載の制御装置。
  14. エアバッグモジュールにおいて、
    ハウジングと、
    前記ハウジングから展開するように構成されている膨張可能なクッションと、
    前記膨張可能なクッションを膨張させるためのインフレータであって、前記膨張可能なクッションと流体連通しているインフレータと、
    解除可能な保持装置であって、前記解除可能な保持装置の第1の端部は、前記膨張可能なクッションの内面の第1の位置に解放可能に固定されていて、前記解除可能な保持装置は、前記解除可能な保持装置が前記膨張可能なクッションの前記第1の位置に固定されている時には、前記解除可能な保持装置は、前記膨張可能なクッションの前記第1の方向への展開を制限するように構成されている、解除可能な保持装置と、
    前記解除可能な保持装置を前記第1の位置から解放するための感知装置であって、前記感知装置は、前記可膨張クッションの内面の、前記第1の位置から離れている第2の位置に固定的に固定され、前記解除可能な保持装置に解放可能に固定されていて、前記感知装置は、前記膨張可能なクッションの前記第2の位置が膨張の間に所定の距離だけ移動すると、前記解除可能な保持装置を前記第1の位置から解放するように構成されている、感知装置と、を備えているエアバッグモジュール。
  15. 前記所定の距離は、前記膨張可能なクッションの下縁部の妨害されていない様式での第2の方向への展開に対応している、請求項14に記載のエアバッグモジュール。
  16. 前記解除可能な保持装置の前記第1の端部は、前記内面の前記第1の位置に固定された固定機構の周囲に巻かれており、前記第1の端部は、前記感知装置に固定された係合部材によって、前記解除可能な保持装置に固定されている、請求項14に記載のエアバッグモジュール。
  17. 前記解除可能な保持装置は繋ぎ紐であり、前記感知装置は繋ぎ紐であり、前記固定機構は、前記内面の前記第1の位置に固定された部材と、何れかの端部が前記部材に固定され、前記解除可能な保持装置の前記第1の端部が通過する孔を画定しているピンと、を備えており、前記係合部材は、前記解除可能な保持装置の一部分と前記解除可能な保持装置の前記第1の端部を通過させることによって、前記解除可能な保持装置の前記第1の端部を前記解除可能な保持装置に固定するプラスチックピンであり、前記プラスチックピンは、前記膨張可能なクッションの前記第2の位置が前記膨張可能なクッションの膨張の間に前記所定の距離だけ移動すると、前記解除可能な保持装置から取り外すことができる、請求項16に記載のエアバッグモジュール。
  18. 前記膨張可能なクッションは、運転者側のエアバッグモジュールに使用するように構成されており、前記所定の距離は、前記膨張可能なクッションの上縁部の妨害されていない様式での第2の方向への展開に対応している、請求項14に記載のエアバッグモジュール。
  19. 前記解除可能な保持装置は、第1の部分と第2の部分を備えており、前記第1の部分は、前記膨張可能なクッションの膨張開口部に近接して固定されており、前記第2の部分は、前記膨張可能なクッションの内面と前記第1の部分に解放可能に固定されており、前記第1の部分と前記第2の部分は、それぞれループ状の材料を備えており、前記第2の部分は、前記膨張可能なクッションの前記内面の前記第1の位置に固定された複数のループ状の材料を通過し、前記第2の部分は、前記感知装置に固定された係合部材によって、前記第1の部分に解放可能に固定されている、請求項18に記載のエアバッグモジュール。
  20. 膨張可能なクッションの第1の方向への展開を制限するための方法において、
    解除可能な保持装置を、前記膨張可能なクッションの内面の第1の位置に固定する段階であって、前記解除可能な保持装置は、前記解除可能な保持装置が前記膨張可能なクッションの前記第1の位置に固定されている時には、前記膨張可能なクッションの第1の方向への展開を制限するように構成されており、前記解除可能な保持装置は、感知装置の係合部材によって前記第1の位置に固定されている、解除可能な保持装置を固定する段階と、
    前記膨張可能なクッションの前記内面の、前記第1の位置から離れた第2の位置に固定的に固定されている前記感知装置の一部分が、膨張の間に所定の距離だけ移動し、前記係合部材が、前記解除可能な保持装置から取り外されると、前記解除可能な保持装置を前記第1の位置から解放する段階と、を備える方法。
JP2010502290A 2007-04-03 2008-04-03 膨張可能なクッションを制御するための装置及び方法 Pending JP2010523398A (ja)

Applications Claiming Priority (2)

Application Number Priority Date Filing Date Title
US90993307P 2007-04-03 2007-04-03
PCT/US2008/059260 WO2008124497A1 (en) 2007-04-03 2008-04-03 Apparatus and method for controlling an inflatable cushion

Publications (1)

Publication Number Publication Date
JP2010523398A true JP2010523398A (ja) 2010-07-15

Family

ID=39826294

Family Applications (1)

Application Number Title Priority Date Filing Date
JP2010502290A Pending JP2010523398A (ja) 2007-04-03 2008-04-03 膨張可能なクッションを制御するための装置及び方法

Country Status (6)

Country Link
US (1) US7922199B2 (ja)
EP (1) EP2144789A4 (ja)
JP (1) JP2010523398A (ja)
KR (1) KR101047069B1 (ja)
CN (1) CN101668665B (ja)
WO (1) WO2008124497A1 (ja)

Cited By (1)

* Cited by examiner, † Cited by third party
Publication number Priority date Publication date Assignee Title
US9707923B2 (en) 2015-03-26 2017-07-18 Toyoda Gosei Co., Ltd. Airbag device for a front passenger seat

Families Citing this family (10)

* Cited by examiner, † Cited by third party
Publication number Priority date Publication date Assignee Title
US8419058B2 (en) * 2008-03-21 2013-04-16 Trw Vehicle Safety Systems Inc. Dual volume air bag
US8020890B2 (en) * 2008-10-10 2011-09-20 Autoliv Development Ab Apparatus and method for controlling an inflatable cushion
US10261648B2 (en) * 2009-10-07 2019-04-16 Magna Mirrors Of America, Inc. Exterior rearview mirror assembly
US11498486B2 (en) 2009-10-07 2022-11-15 Magna Mirrors Of America, Inc. Vehicular exterior rearview mirror assembly
KR101251836B1 (ko) * 2011-09-02 2013-04-09 현대자동차주식회사 적외선 센서를 이용한 운전자 상태감시 장치 및 그 방법
US9174578B2 (en) 2013-04-22 2015-11-03 Magna Mirrors Of America, Inc. Interior rearview mirror assembly
US9676364B2 (en) * 2015-09-30 2017-06-13 Autoliv Asp, Inc. Airbag systems with passive venting control
US10427639B2 (en) 2018-01-10 2019-10-01 Autoliv Asp, Inc. Airbag systems with passive venting control
US11345305B2 (en) * 2018-09-26 2022-05-31 Trw Vehicle Safety Systems Inc. Adaptive airbag for protecting occupants in a vehicle
FR3093483B1 (fr) * 2019-03-05 2022-04-01 Seva Tech Interface de communication pour une structure gonflable externe de sécurité piéton équipant un véhicule, protocole de communication structure gonflable-véhicule et module de sécurité associés

Citations (2)

* Cited by examiner, † Cited by third party
Publication number Priority date Publication date Assignee Title
US20050127653A1 (en) * 2003-12-11 2005-06-16 Williams Jeffrey D. Expansion-controlled joints in airbags for out-of-position occupants and cushion positioning
JP2005313675A (ja) * 2004-04-27 2005-11-10 Autoliv Development Ab エアバッグ装置

Family Cites Families (56)

* Cited by examiner, † Cited by third party
Publication number Priority date Publication date Assignee Title
DE3618060A1 (de) 1986-05-28 1987-12-03 Bayerische Motoren Werke Ag Gaskissen zum schutz der insassen von fahrzeugen
US5022675A (en) * 1989-11-30 1991-06-11 Allied-Signal Inc. Air bag and folding technique
JP2812076B2 (ja) * 1992-06-11 1998-10-15 池田物産株式会社 エアバッグ装置
MX9304559A (es) * 1992-09-01 1994-03-31 Morton Int Inc Cuerdas con costuras rascables para cojin de bolsa inflable.
US5280953A (en) * 1992-11-25 1994-01-25 General Motors Corporation Displacement responsive air bag vent
US5246250A (en) * 1992-11-25 1993-09-21 General Motors Corporation Air bag valve assembly
US5405166A (en) 1993-07-30 1995-04-11 Alliedsignal Inc. Air bag with inflation limiter
US5588675A (en) * 1993-12-20 1996-12-31 General Motors Corporation Air bag module with gas augmentation
US5540166A (en) * 1994-03-16 1996-07-30 Diversified Systems, Inc. Edge steer finishing device and method
GB2299550B (en) * 1995-04-03 1998-06-24 Autoliv Dev Improvements in or relating to a safety arrangement
JPH09142241A (ja) * 1995-11-24 1997-06-03 Honda Motor Co Ltd 乗員保護用エアバッグ装置
US5957490A (en) * 1996-08-22 1999-09-28 Volkswagen Ag Arrangement for protection of a vehicle occupant
SE510534C2 (sv) * 1996-12-17 1999-05-31 Aga Ab Förfarande för att fylla en tom, flexibel behållare samt en behållaranordning
US6039346A (en) * 1997-01-17 2000-03-21 General Motors Corporation Air bag module with variable inflation
US5746447A (en) * 1997-01-21 1998-05-05 Morton International, Inc. Airbag module
US5762367A (en) * 1997-04-10 1998-06-09 General Motors Corporation Air bag module with inflation control device
JPH11105664A (ja) * 1997-08-08 1999-04-20 Toyoda Gosei Co Ltd エアバッグ装置
DE19813832C2 (de) * 1998-03-20 2003-10-23 Takata Petri Ag Gassack für ein Airbagmodul
DE19816075A1 (de) * 1998-04-09 1999-10-14 Volkswagen Ag Sicherheitsvorrichtung für ein Kraftfahrzeug mit einem Mehrkammer-Airbag
US6116644A (en) * 1998-04-24 2000-09-12 Delphi Technologies, Inc. Frontal air bag system
US6123358A (en) * 1998-05-11 2000-09-26 General Motors Corporation Air bag module with variable inflation
GB2338214B (en) 1998-06-09 2002-02-13 Autoliv Dev Improvements in or relating to an air-bag arrangement
US6170871B1 (en) * 1998-06-24 2001-01-09 Breed Automotive Technology, Inc. Inflatable trim panel assembly for safety restraint systems
US6176511B1 (en) * 1998-10-07 2001-01-23 Trw Inc. Air bag module
US6213502B1 (en) * 1998-11-24 2001-04-10 Delphi Technologies, Inc. Air bag module with variable inflation
JP2000233704A (ja) * 1999-02-12 2000-08-29 Takata Corp エアバッグ装置
DE19912369A1 (de) 1999-03-19 2000-10-05 Bsrs Restraint Syst Gmbh Eigendynamisch gesteuertes Airbagmodul
JP3463598B2 (ja) * 1999-04-13 2003-11-05 トヨタ自動車株式会社 エアバッグ装置
DE29907618U1 (de) * 1999-04-29 1999-09-16 Trw Repa Gmbh Gassack-Rückhaltesystem
US6168191B1 (en) * 1999-06-11 2001-01-02 Delphi Technologies, Inc. Inflatable air bag for an automotive vehicle
US6203061B1 (en) * 1999-10-07 2001-03-20 Delphi Technologies, Inc. Variable output air bag module with PAV heat sink
US6439603B2 (en) * 1999-10-13 2002-08-27 Delphi Technologies, Inc. Air bag module with variable inflation
US6422597B1 (en) * 1999-11-12 2002-07-23 Delphi Technologies, Inc. Variable profile air bag restraint
US6390501B1 (en) * 1999-11-12 2002-05-21 Delphi Technologies, Inc. Variable profile air bag restraint
US6315323B1 (en) * 1999-12-21 2001-11-13 Trw Vehicle Safety Systems Inc. Apparatus for positioning an inflated air bag
US6371517B1 (en) * 1999-12-28 2002-04-16 Delphi Technologies, Inc. Adaptive inflation mechanism
DE20004076U1 (de) * 2000-01-21 2000-06-21 TRW Automotive Safety Systems GmbH & Co. KG, 63743 Aschaffenburg Gassack-Modul
US6511094B2 (en) * 2000-03-27 2003-01-28 General Motors Corporation Automotive vehicle air bag system
JP4560881B2 (ja) * 2000-04-21 2010-10-13 タカタ株式会社 エアバッグ装置
DE20018091U1 (de) * 2000-10-23 2001-03-08 Trw Repa Gmbh Fahrzeuginsassen-Schutzsystem
US6499765B2 (en) * 2000-10-31 2002-12-31 Delphi Technologies, Inc. Bias deployment inflatable air bag
US6454300B1 (en) * 2001-02-27 2002-09-24 Delphi Technologies, Inc. Air bag tether release assembly
US6431583B1 (en) * 2001-02-28 2002-08-13 Autoliv Asp, Inc. Inflatable knee bolster with external tethering
US6616184B2 (en) * 2001-04-25 2003-09-09 Trw Vehicle Safety Systems Inc. Vehicle occupant protection apparatus with inflation volume and shape control
US6991258B2 (en) * 2002-02-20 2006-01-31 Delphi Technologies, Inc. Frontal air bag system
JP2003260996A (ja) * 2002-03-07 2003-09-16 Takata Corp エアバッグ装置
US6832778B2 (en) * 2002-07-19 2004-12-21 Delphi Technologies, Inc. Air bag restraint including selectively operable venting elements
KR20040023323A (ko) * 2002-09-11 2004-03-18 현대모비스 주식회사 복수의 테더를 구비한 에어백 쿠션
US7083191B2 (en) * 2002-09-16 2006-08-01 Trw Vehicle Safety Systems Inc. Air bag module with vent controlled by tether
US6959945B2 (en) 2002-09-16 2005-11-01 Trw Vehicle Safety Systems Inc. Air bag module with vent controlled by tether
US6932384B2 (en) * 2002-11-15 2005-08-23 Delphi Technologies, Inc. Apparatus and method for controlling an inflatable cushion
US7192053B2 (en) 2003-09-12 2007-03-20 General Motors Corporation Automotive vehicle air bag system
JP2005096495A (ja) 2003-09-22 2005-04-14 Honda Motor Co Ltd エアバッグ装置
GB2432344A (en) * 2005-11-04 2007-05-23 Autoliv Dev An airbag with a releasable tether
US7506892B2 (en) * 2006-02-17 2009-03-24 Tk Holdings Inc. Cushion shaping sleeve and tether for airbags
US7621561B2 (en) * 2006-03-07 2009-11-24 Gm Global Technology Operations, Inc. Simplified restraining tether system for use with a vehicle air bag system

Patent Citations (2)

* Cited by examiner, † Cited by third party
Publication number Priority date Publication date Assignee Title
US20050127653A1 (en) * 2003-12-11 2005-06-16 Williams Jeffrey D. Expansion-controlled joints in airbags for out-of-position occupants and cushion positioning
JP2005313675A (ja) * 2004-04-27 2005-11-10 Autoliv Development Ab エアバッグ装置

Cited By (1)

* Cited by examiner, † Cited by third party
Publication number Priority date Publication date Assignee Title
US9707923B2 (en) 2015-03-26 2017-07-18 Toyoda Gosei Co., Ltd. Airbag device for a front passenger seat

Also Published As

Publication number Publication date
EP2144789A4 (en) 2011-05-25
EP2144789A1 (en) 2010-01-20
CN101668665B (zh) 2012-11-28
US20080246261A1 (en) 2008-10-09
US7922199B2 (en) 2011-04-12
CN101668665A (zh) 2010-03-10
KR101047069B1 (ko) 2011-07-07
WO2008124497A1 (en) 2008-10-16
KR20090125152A (ko) 2009-12-03

Similar Documents

Publication Publication Date Title
JP2010523398A (ja) 膨張可能なクッションを制御するための装置及び方法
JP4923559B2 (ja) 乗員拘束装置
US6932384B2 (en) Apparatus and method for controlling an inflatable cushion
US8020890B2 (en) Apparatus and method for controlling an inflatable cushion
US11447089B2 (en) Airbag assembly with reaction surface
KR100558180B1 (ko) 가변테더 시스템을 갖는 에어백 모듈
US7261320B2 (en) Airbag cushion with dual mode deployment for pre-impact and impact conditions
JP4923879B2 (ja) エアバッグ装置
JP2008290606A (ja) カーテンサイドエアバッグ装置
JP2006206043A (ja) 車両の拘束具システム
US7819425B2 (en) Apparatus and method for controlling an inflatable cushion
JP2008279977A (ja) 後席用乗員拘束装置、エアバック展開方法、および後席用乗員拘束装置を有した車両
JP2007161205A (ja) 乗員拘束装置
JP2007161203A (ja) 乗員拘束装置
CN101652274B (zh) 用于控制可充气垫的设备和方法
JP2001114065A (ja) 車両用乗員保護装置
JP2007161206A (ja) 乗員拘束装置
JP2010195328A (ja) カーテンエアバッグ用ストラップ収納構造
JP2008230485A (ja) カーテンエアバッグ装置

Legal Events

Date Code Title Description
A621 Written request for application examination

Free format text: JAPANESE INTERMEDIATE CODE: A621

Effective date: 20100601

A977 Report on retrieval

Free format text: JAPANESE INTERMEDIATE CODE: A971007

Effective date: 20120126

A131 Notification of reasons for refusal

Free format text: JAPANESE INTERMEDIATE CODE: A131

Effective date: 20120130

A601 Written request for extension of time

Free format text: JAPANESE INTERMEDIATE CODE: A601

Effective date: 20120426

A602 Written permission of extension of time

Free format text: JAPANESE INTERMEDIATE CODE: A602

Effective date: 20120508

A02 Decision of refusal

Free format text: JAPANESE INTERMEDIATE CODE: A02

Effective date: 20121003