JP2010146936A - 全固体電池 - Google Patents

全固体電池 Download PDF

Info

Publication number
JP2010146936A
JP2010146936A JP2008325282A JP2008325282A JP2010146936A JP 2010146936 A JP2010146936 A JP 2010146936A JP 2008325282 A JP2008325282 A JP 2008325282A JP 2008325282 A JP2008325282 A JP 2008325282A JP 2010146936 A JP2010146936 A JP 2010146936A
Authority
JP
Japan
Prior art keywords
electrode active
active material
positive electrode
solid electrolyte
solid
Prior art date
Legal status (The legal status is an assumption and is not a legal conclusion. Google has not performed a legal analysis and makes no representation as to the accuracy of the status listed.)
Pending
Application number
JP2008325282A
Other languages
English (en)
Inventor
Yasushi Tsuchida
靖 土田
Yukiyoshi Ueno
幸義 上野
Shigeki Hama
重規 濱
Hirobumi Nakamoto
博文 中本
Masato Kamiya
正人 神谷
Hiroshi Nagase
浩 長瀬
Kazunori Takada
和典 高田
Current Assignee (The listed assignees may be inaccurate. Google has not performed a legal analysis and makes no representation or warranty as to the accuracy of the list.)
National Institute for Materials Science
Toyota Motor Corp
Original Assignee
National Institute for Materials Science
Toyota Motor Corp
Priority date (The priority date is an assumption and is not a legal conclusion. Google has not performed a legal analysis and makes no representation as to the accuracy of the date listed.)
Filing date
Publication date
Application filed by National Institute for Materials Science, Toyota Motor Corp filed Critical National Institute for Materials Science
Priority to JP2008325282A priority Critical patent/JP2010146936A/ja
Publication of JP2010146936A publication Critical patent/JP2010146936A/ja
Pending legal-status Critical Current

Links

Images

Classifications

    • YGENERAL TAGGING OF NEW TECHNOLOGICAL DEVELOPMENTS; GENERAL TAGGING OF CROSS-SECTIONAL TECHNOLOGIES SPANNING OVER SEVERAL SECTIONS OF THE IPC; TECHNICAL SUBJECTS COVERED BY FORMER USPC CROSS-REFERENCE ART COLLECTIONS [XRACs] AND DIGESTS
    • Y02TECHNOLOGIES OR APPLICATIONS FOR MITIGATION OR ADAPTATION AGAINST CLIMATE CHANGE
    • Y02EREDUCTION OF GREENHOUSE GAS [GHG] EMISSIONS, RELATED TO ENERGY GENERATION, TRANSMISSION OR DISTRIBUTION
    • Y02E60/00Enabling technologies; Technologies with a potential or indirect contribution to GHG emissions mitigation
    • Y02E60/10Energy storage using batteries

Landscapes

  • Secondary Cells (AREA)
  • Battery Electrode And Active Subsutance (AREA)

Abstract

【課題】本発明は、正極活物質と、架橋カルコゲン含有固体電解質材料との界面抵抗の経時的な増加を抑制することができる全固体電池を提供することを主目的とする。
【解決手段】本発明は、正極活物質を含有する正極活物質層と、負極活物質を含有する負極活物質層と、上記正極活物質層および上記負極活物質層の間に形成された固体電解質層と、を有する全固体電池であって、上記正極活物質と、架橋カルコゲンを有する架橋カルコゲン含有固体電解質材料との界面に、第4族金属元素の酸化物からなる反応抑制部が形成されていることを特徴とする全固体電池を提供することにより、上記課題を解決する。
【選択図】図1

Description

本発明は、正極活物質と、架橋カルコゲン含有固体電解質材料との界面抵抗の経時的な増加を抑制することができる全固体電池に関する。
近年におけるパソコン、ビデオカメラおよび携帯電話等の情報関連機器や通信機器等の急速な普及に伴い、その電源として優れた電池(例えばリチウム電池)の開発が重要視されている。また、情報関連機器や通信関連機器以外の分野では、例えば自動車産業界において、電気自動車やハイブリッド自動車に用いられるリチウム電池等の開発が進められている。
ここで、従来市販されているリチウム電池には、可燃性の有機溶媒を用いた有機電解液が使用されているため、短絡時の温度上昇を抑える安全装置の取り付けや短絡防止のための構造・材料面での改善が必要となる。これに対して、液体電解質を固体電解質に変更した全固体電池は、電池内に可燃性の有機溶媒を用いないので、安全装置の簡素化が図れ、製造コストや生産性に優れると考えられている。
このような全固体電池の分野において、従来から、正極活物質および固体電解質材料の界面に着目し、全固体電池の性能向上を図る試みがある。例えば、非特許文献1、2においては、LiCoO(正極活物質)の表面にLiNbOまたはLiTi12を被覆した材料が開示されている。これらの技術は、LiCoOの表面にLiNbO等を被覆することで、LiCoOおよび固体電解質材料の界面抵抗を低減させ、電池の高出力化を図ったものである。なお、これらの文献に用いられている固体電解質は、架橋カルコゲンを有するものではなく、還元に弱く、実用的ではないものであった。
また、特許文献1においては、硫黄及び/またはリンで表面処理された全固体二次電池用の電極材料が開示されている。これは、表面処理により、イオン伝導パスの向上を図ったものである。また、特許文献2においては、正極活物質の表面にリチウム塩化物を担持した硫化物系固体電池が開示されている。これは、リチウム塩化物を担持することで、界面抵抗の低減を図ったものである。さらに、非特許文献3には、LiS−P系の様々な組成の固体電解質が開示されており、特に、架橋硫黄を有するものが高いイオン伝導性を示すことが開示されている。
Narumi Ohta et al., "LiNbO3-coated LiCoO2 as cathode material for all solid-state lithium secondary batteries", Electrochemistry Communications 9 (2007) 1486-1490 Narumi Ohta et al., "Enhancement of the High-Rate Capability of Solid-State Lithium Batteries by Nanoscale Interfacial Modification", Adv. Mater. 18 (2006) 2226-2229 Fuminori Mizuno et al., "High lithium ion conducting glass-ceramics in the system Li2S-P2S5", Solid State Ionics 177 (2006) 2721-2725 特開2008−027581号公報 特開2001−052733号公報
非特許文献1に記載されたように、LiCoOの表面にLiNbOを被覆すると、初期段階では、正極活物質および固体電解質材料の界面抵抗を低減させることができるものの、経時的にみると、界面抵抗が増加してしまう問題がある。特に、イオン伝導性に優れた、架橋カルコゲンを有する固体電解質材料(架橋カルコゲン含有固体電解質材料)において、経時的な界面抵抗の増加は顕著である。
本発明は、上記実情に鑑みてなされたものであり、正極活物質と、架橋カルコゲン含有固体電解質材料との界面抵抗の経時的な増加を抑制することができる全固体電池を提供することを主目的とする。
上記課題を解決すべく、本発明者等が鋭意研究を重ねた結果、界面抵抗の経時的な増加が生じる原因は、LiNbOが、接触する正極活物質および固体電解質材料と反応し、反応生成物が生じ、その反応生成物が高抵抗層として働くためであるという知見を得た。これは、LiNbOの電気化学的安定性が相対的に低いことに起因するものであると考えられる。同様に、架橋カルコゲン含有固体電解質材料は、架橋カルコゲンの電気化学的安定性が相対的に低いため、LiNbOと反応して高抵抗層を形成しやすく、経時的な界面抵抗の増加が顕著になると考えられる。そこで、LiNbOの代わりに、電気化学的安定性の高い第4族金属元素の酸化物を用いたところ、第4族金属元素の酸化物は、正極活物質、および架橋カルコゲン含有固体電解質材料とほとんど反応しないという知見を得た。本発明は、このような知見に基づいてなされたものである。
すなわち、本発明においては、正極活物質を含有する正極活物質層と、負極活物質を含有する負極活物質層と、上記正極活物質層および上記負極活物質層の間に形成された固体電解質層と、を有する全固体電池であって、上記正極活物質と、架橋カルコゲンを有する架橋カルコゲン含有固体電解質材料との界面に、第4族金属元素の酸化物からなる反応抑制部が形成されていることを特徴とする全固体電池を提供する。
本発明によれば、反応抑制部が、電気化学的安定性の高い第4族金属元素の酸化物から構成されているため、反応抑制部が、正極活物質および架橋カルコゲン含有固体電解質材料と反応することを抑制することができる。これにより、正極活物質と、架橋カルコゲン含有固体電解質材料との界面抵抗の経時的な増加を抑制することができ、その結果、耐久性に優れた全固体電池とすることができる。
上記発明においては、上記正極活物質層が、上記架橋カルコゲン含有固体電解質材料を含有することが好ましい。架橋カルコゲン含有固体電解質材料はイオン伝導性が高く、正極活物質層のイオン伝導性を向上させることができるからである。
上記発明においては、上記固体電解質層が、上記架橋カルコゲン含有固体電解質材料を含有することが好ましい。イオン伝導性に優れた全固体電池とすることができるからである。
上記発明においては、上記反応抑制部が、上記正極活物質の表面を被覆するように形成されていることが好ましい。正極活物質は、架橋カルコゲン含有固体電解質材料と比較して硬いため、被覆された反応抑制部が剥離されにくくなるからである。
上記発明においては、上記第4族金属元素が、チタンまたはジルコニウムであることが好ましい。電気化学的安定性の高い酸化物が得られ、汎用的な遷移金属元素だからである。
上記発明においては、上記第4族金属元素の酸化物が、さらに、伝導イオンとなる金属元素を含むことが好ましい。イオン伝導性に優れた酸化物とすることができるからである。
上記発明においては、上記伝導イオンとなる金属元素が、Liであることが好ましい。界面抵抗の経時的な増加を抑制した全固体リチウム電池を得ることができるからである。
上記発明においては、上記第4族金属元素の酸化物が、LiTi12であることが好ましい。界面抵抗の経時的な増加を抑制した全固体リチウム電池を得ることができるからである。
上記発明においては、上記架橋カルコゲンが、架橋硫黄または架橋酸素であることが好ましい。イオン伝導性に優れた固体電解質材料とすることができるからである。
上記発明においては、上記正極活物質が、酸化物系正極活物質であることが好ましい。エネルギー密度の高い全固体電池を得ることができるからである。
本発明においては、正極活物質と、架橋カルコゲン含有固体電解質材料との界面抵抗の経時的な増加を抑制することができるという効果を奏する。
以下、本発明の全固体電池について詳細に説明する。
本発明の全固体電池は、正極活物質を含有する正極活物質層と、負極活物質を含有する負極活物質層と、上記正極活物質層および上記負極活物質層の間に形成された固体電解質層と、を有する全固体電池であって、上記正極活物質と、架橋カルコゲンを有する架橋カルコゲン含有固体電解質材料との界面に、第4族金属元素の酸化物からなる反応抑制部が形成されていることを特徴とするものである。
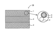
図1は、本発明の全固体電池の発電要素の一例を示す説明図である。図1に示される全固体電池の発電要素10は、正極活物質層1と、負極活物質層2と、正極活物質層1および負極活物質層2の間に形成された固体電解質層3とを有する。さらに、正極活物質層1は、正極活物質4と、架橋カルコゲン(例えば架橋硫黄)を有する架橋カルコゲン含有固体電解質材料5と、正極活物質4および架橋カルコゲン含有固体電解質材料5の界面に形成された反応抑制部6とを有する。図1において、反応抑制部6は、正極活物質4の表面を被覆するように形成されており、さらに、第4族金属元素の酸化物(例えばLiTi12)からなるものである。
本発明によれば、反応抑制部が、電気化学的安定性の高い第4族金属元素の酸化物から構成されているため、反応抑制部が、正極活物質および架橋カルコゲン含有固体電解質材料と反応することを抑制することができる。これにより、正極活物質と、架橋カルコゲン含有固体電解質材料との界面抵抗の経時的な増加を抑制することができ、その結果、耐久性に優れた全固体電池とすることができる。また、本発明によれば、架橋カルコゲン含有固体電解質材料を用いることにより、イオン伝導性を向上させることができ、電池の高出力化を図ることができる。上述したように、架橋カルコゲン含有固体電解質材料は、架橋カルコゲンの電気化学的安定性が相対的に低いため、従来の反応抑制部(例えばLiNbOからなる反応抑制部)と反応して高抵抗層を形成しやすく、経時的な界面抵抗の増加が顕著になると考えられる。これに対して、本発明における反応抑制部は、電気化学的安定性が高いため、反応抑制部が、架橋カルコゲン含有固体電解質材料と反応しにくく、高抵抗層の生成を抑制することができる。これにより、イオン伝導性を向上させつつ、界面抵抗の経時的な増加を抑制することができると考えられる。
以下、本発明の全固体電池について、構成ごとに説明する。
1.正極活物質層
まず、本発明における正極活物質層について説明する。本発明における正極活物質層は、少なくとも正極活物質を含有する層であり、必要に応じて、固体電解質材料および導電化材の少なくとも一方を含有していても良い。特に本発明においては、正極活物質層に含まれる固体電解質材料が、架橋カルコゲン含有固体電解質材料であることが好ましい。架橋カルコゲン含有固体電解質材料はイオン伝導性が高く、正極活物質層のイオン伝導性を向上させることができるからである。また、本発明において、正極活物質層が、正極活物質および架橋カルコゲン含有固体電解質材料の両方を含有する場合、通常、第4族金属元素の酸化物からなる反応抑制部も正極活物質層内に形成される。
(1)正極活物質
まず、本発明に用いられる正極活物質について説明する。本発明に用いられる正極活物質は、目的とする全固体電池の伝導イオンの種類により異なるものである。例えば、本発明の全固体電池が全固体リチウム二次電池である場合、正極活物質は、リチウムイオンを吸蔵・放出する。また、本発明に用いられる正極活物質は、通常、後述する固体電解質材料(架橋カルコゲン含有固体電解質材料)と反応し高抵抗層を形成するものである。
本発明に用いられる正極活物質としては、架橋カルコゲン含有固体電解質材料と反応し高抵抗層を形成するものであれば特に限定されるものではないが、例えば酸化物系正極活物質を挙げることができる。酸化物系正極活物質を用いることにより、エネルギー密度の高い全固体電池とすることができる。全固体リチウム電池に用いられる酸化物系正極活物質としては、例えば、一般式Li(Mは遷移金属元素であり、x=0.02〜2.2、y=1〜2、z=1.4〜4)で表される正極活物質を挙げることができる。上記一般式において、Mは、Co、Mn、Ni、V、FeおよびSiからなる群から選択される少なくとも一種であることが好ましく、Co、NiおよびMnからなる群から選択される少なくとも一種であることがより好ましい。このような酸化物系正極活物質としては、具体的には、LiCoO、LiMnO、LiNiO、LiVO、LiNi1/3Co1/3Mn1/3、LiMn、Li(Ni0.5Mn1.5)O、LiFeSiO、LiMnSiO等を挙げることができる。また、上記一般式Li以外の正極活物質としては、LiFePO、LiMnPO等のオリビン型正極活物質を挙げることができる。
正極活物質の形状としては、例えば粒子形状を挙げることができ、中でも真球状または楕円球状であることが好ましい。また、正極活物質が粒子形状である場合、その平均粒径は、例えば0.1μm〜50μmの範囲内であることが好ましい。正極活物質層における正極活物質の含有量は、例えば10重量%〜99重量%の範囲内であることが好ましく、20重量%〜90重量%の範囲内であることがより好ましい。
(2)架橋カルコゲン含有固体電解質材料
本発明においては、正極活物質層が、架橋カルコゲン含有固体電解質材料を含有することが好ましい。架橋カルコゲン含有固体電解質材料はイオン伝導性が高く、正極活物質層のイオン伝導性を向上させることができるからである。また、本発明に用いられる架橋カルコゲン含有固体電解質材料は、通常、上述した正極活物質と反応し高抵抗層を形成するものである。なお、高抵抗層の生成は、透過型電子顕微鏡(TEM)やエネルギー分散型X線分光法(EDX)により確認することができる。
本発明においては、上記架橋カルコゲンが、架橋硫黄(−S−)または架橋酸素(−O−)であることが好ましく、架橋硫黄であることがより好ましい。イオン伝導性に優れた固体電解質材料とすることができるからである。架橋硫黄を有する固体電解質材料としては、例えば、Li11、0.6LiS−0.4SiS、0.6LiS−0.4GeS等を挙げることができる。ここで、上記のLi11は、PS−S−PS構造と、PS構造とを有する固体電解質材料であり、PS−S−PS構造が架橋硫黄を有する。このように、本発明においては、架橋カルコゲン含有固体電解質材料が、PS−S−PS構造を有することが好ましい。本発明の効果を充分に発揮することができるからである。一方、架橋酸素を有する固体電解質材料としては、例えば、95(0.6LiS−0.4SiS)−5LiSiO、95(0.67LiS−0.33P)−5LiPO、95(0.6LiS−0.4GeS)−5LiPO等を挙げることができる。
また、架橋カルコゲン含有固体電解質材料の形状としては、例えば粒子形状を挙げることができ、中でも真球状または楕円球状であることが好ましい。また、架橋カルコゲン含有固体電解質材料が粒子形状である場合、その平均粒径は、例えば0.1μm〜50μmの範囲内であることが好ましい。正極活物質層における架橋カルコゲン含有固体電解質材料の含有量は、例えば1重量%〜90重量%の範囲内であることが好ましく、10重量%〜80重量%の範囲内であることがより好ましい。
(3)反応抑制部
本発明において、正極活物質層が、正極活物質および架橋カルコゲン含有固体電解質材料の両方を含有する場合、通常、第4族金属元素の酸化物からなる反応抑制部も正極活物質層内に形成される。これは、反応抑制部が、正極活物質と、架橋カルコゲン含有固体電解質材料との界面に形成される必要があるからである。反応抑制部は、電池使用時に生じる、正極活物質と、架橋カルコゲン含有固体電解質材料との反応を抑制する機能を有する。反応抑制部を構成する第4族金属元素の酸化物は、従来のニオブ酸化物(例えばLiNbO)と比較して、電気化学的安定性が高いため、界面抵抗の経時的な増加を抑制することができる。
まず、反応抑制部を構成する第4族金属元素の酸化物について説明する。本発明における第4族金属元素の酸化物は、少なくとも、第4族金属元素と、その金属元素に結合した酸素元素とを有するものである。本発明においては、上記第4族金属元素が、チタンまたはジルコニウムであることが好ましい。電気化学的安定性の高い酸化物が得られ、汎用的な遷移金属元素だからである。このような第4族金属元素の酸化物としては、例えば、TiOおよびZrO等を挙げることができる。また、第4族金属元素の酸化物は、チタンおよびジルコニウムの両方を有するものであっても良い。
本発明においては、第4族金属元素の酸化物が、さらに伝導イオンとなる金属元素を含むことが好ましい。イオン伝導性に優れた酸化物とすることができるからである。上記金属元素は、目的とする全固体電池の種類に応じて異なるものであるが、例えば、LiおよびNa等のアルカリ金属元素、並びに、MgおよびCa等のアルカリ土類金属元素等を挙げることができ、中でもアルカリ金属元素が好ましく、特にLiが好ましい。すなわち、本発明の全固体電池が全固体リチウム電池である場合は、第4族金属元素の酸化物が、さらにLiを含有することが好ましい。Liを有する第4族金属元素の酸化物としては、例えば、LiTi12、LiTiO、LiZrO等を挙げることができる。
また、正極活物質層における第4族金属元素の酸化物の含有量としては、例えば0.1重量%〜20重量%の範囲内であることが好ましく、0.5重量%〜10重量%の範囲内であることがより好ましい。
次に、正極活物質層における反応抑制部の形態について説明する。本発明において、正極活物質層が、架橋カルコゲン含有固体電解質材料を含有する場合、第4族金属元素の酸化物からなる反応抑制部は、通常、正極活物質層内に形成される。この場合における反応抑制部の形態としては、例えば図2に示すように、反応抑制部6が正極活物質4の表面を被覆するように形成される形態(図2(a))、反応抑制部6が、架橋カルコゲン含有固体電解質材料5の表面を被覆するように形成される形態(図2(b))、反応抑制部6が、正極活物質4および架橋カルコゲン含有固体電解質材料5の表面を被覆するように形成される形態(図2(c))等を挙げることができる。中でも、本発明においては、反応抑制部が、正極活物質の表面を被覆するように形成されていることが好ましい。正極活物質は、架橋カルコゲン含有固体電解質材料と比較して硬いため、被覆された反応抑制部が剥離されにくくなるからである。
なお、正極活物質と、架橋カルコゲン含有固体電解質材料と、第4族金属元素の酸化物とを単に混合しただけでも、図2(d)に示すように、正極活物質4と、架橋カルコゲン含有固体電解質材料5との界面に、第4族金属元素の酸化物6aが配置され、反応抑制部6を形成することができる。この場合、界面抵抗の経時的な増加を抑制する効果は若干劣るものの、正極活物質層の製造工程が簡略化されるという利点を有する。
また、正極活物質または架橋カルコゲン含有固体電解質材料を被覆する反応抑制部の厚さは、これらの材料が反応を生じない程度の厚さであることが好ましく、例えば1nm〜500nmの範囲内であることが好ましく、2nm〜100nmの範囲内であることがより好ましい。反応抑制部の厚さが小さすぎると、正極活物質と架橋カルコゲン含有固体電解質材料とが反応する可能性があり、反応抑制部の厚さが大きすぎると、イオン伝導性が低下する可能性があるからである。また、反応抑制部は、正極活物質等のより多くの面積を被覆していることが好ましく、正極活物質等の表面の全てを被覆していることがより好ましい。界面抵抗の経時的な増加を効果的に抑制することができるからである。
本発明における反応抑制部の形成方法は、上述した反応抑制部の形態に応じて、適宜選択することが好ましい。例えば、正極活物質を被覆する反応抑制部を形成する場合は、反応抑制部の形成方法として、第4族金属元素を含む原料化合物を有する原料組成物を正極活物質に塗布し、次に、原料組成物が塗布された正極活物質に、大気中で熱処理を加える方法等を挙げることができる。原料組成物の塗布方法としては、例えば、転動流動層を有するコート装置を用いる方法等を挙げることができる。また、反応抑制部の形成方法の他の例として、メカノフュージョン法、CVD法、PVD法等を挙げることができる。
(4)正極活物質層
本発明における正極活物質層は、さらに導電化材を含有していても良い。導電化材の添加により、正極活物質層の導電性を向上させることができる。導電化材としては、例えばアセチレンブラック、ケッチェンブラック、カーボンファイバー等を挙げることができる。また、正極活物質層における導電化材の含有量は、特に限定されるものではないが、例えば0.1重量%〜20重量%の範囲内であることが好ましい。また、正極活物質層の厚さは、目的とする全固体電池の種類によって異なるものであるが、例えば1μm〜100μmの範囲内であることが好ましい。
2.固体電解質層
次に、本発明における固体電解質層について説明する。本発明における固体電解質層は、少なくとも固体電解質材料を含有する層である。上述したように、正極活物質層が、架橋カルコゲン含有固体電解質材料を含有する場合、固体電解質層に用いられる固体電解質材料は、特に限定されるものではなく、架橋カルコゲン含有固体電解質材料であっても良く、それ以外の固体電解質材料であっても良い。一方、正極活物質層が、架橋カルコゲン含有固体電解質材料を含有しない場合、通常、固体電解質層は、架橋カルコゲン含有固体電解質材料を含有する。特に、本発明においては、正極活物質層および固体電解質層の両方が、架橋カルコゲン含有固体電解質材料を含有することが好ましい。イオン伝導性に優れた全固体電池とすることができるからである。また、固体電解質層に用いられる固体電解質材料は、架橋カルコゲン含有固体電解質材料のみであることが好ましい。
なお、架橋カルコゲン含有固体電解質材料については、上記「1.正極活物質層」に記載した内容と同様である。また、架橋カルコゲン含有固体電解質材料以外の固体電解質材料については、一般的な全固体電池に用いられる固体電解質材料と同様の材料を用いることができ、例えば、硫化物系固体電解質材料および酸化物系固体電解質材料等を挙げることができる。
本発明において、固体電解質層が、架橋カルコゲン含有固体電解質材料を含有する場合、第4族金属元素の酸化物からなる反応抑制部は、通常、正極活物質層内、固体電解質層内、または正極活物質層および固体電解質層の界面に形成される。この場合における反応抑制部の形態としては、例えば図3に示すように、反応抑制部6が、正極活物質4を含む正極活物質層1と、架橋カルコゲン含有固体電解質材料5を含む固体電解質層3との界面に形成される形態(図3(a))、反応抑制部6が、正極活物質4の表面を被覆するように形成される形態(図3(b))、反応抑制部6が、架橋カルコゲン含有固体電解質材料5の表面を被覆するように形成される形態(図3(c))、反応抑制部6が、正極活物質4、および架橋カルコゲン含有固体電解質材料5の表面を被覆するように形成される形態(図3(d))等を挙げることができる。中でも、本発明においては、反応抑制部が、正極活物質の表面を被覆するように形成されていることが好ましい。正極活物質は、架橋カルコゲン含有固体電解質材料と比較して硬いため、被覆された反応抑制部が剥離されにくくなるからである。
本発明における固体電解質層の厚さは、例えば0.1μm〜1000μmの範囲内、中でも0.1μm〜300μmの範囲内であることが好ましい。
3.負極活物質層
次に、本発明における負極活物質層について説明する。本発明における負極活物層は、少なくとも負極活物質を含有する層であり、必要に応じて、固体電解質材料および導電化材の少なくとも一方を含有していても良い。負極活物質としては、目的とする全固体電池の伝導イオンの種類により異なるものであるが、例えば金属活物質およびカーボン活物質を挙げることができる。金属活物質としては、例えばIn、Al、SiおよびSn等を挙げることができる。一方、カーボン活物質としては、例えばメソカーボンマイクロビーズ(MCMB)、高配向性グラファイト(HOPG)、ハードカーボン、ソフトカーボン等を挙げることができる。なお、負極活物質層に用いられる固体電解質材料および導電化材については、上述した正極活物質層における場合と同様である。また、負極活物質層の厚さは、例えば0.1μm〜1000μmの範囲内である。
4.その他の構成
本発明の全固体電池は、上述した正極活物質層、固体電解質層および負極活物質層を少なくとも有するものである。さらに通常は、正極活物質層の集電を行う正極集電体、および負極活物質の集電を行う負極集電体を有する。正極集電体の材料としては、例えばSUS、アルミニウム、ニッケル、鉄、チタンおよびカーボン等を挙げることができ、中でもSUSが好ましい。一方、負極集電体の材料としては、例えばSUS、銅、ニッケルおよびカーボン等を挙げることができ、中でもSUSが好ましい。また、正極集電体および負極集電体の厚さや形状等については、全固体電池の用途等に応じて適宜選択することが好ましい。また、本発明に用いられる電池ケースには、一般的な全固体電池の電池ケースを用いることができる。電池ケースとしては、例えばSUS製電池ケース等を挙げることができる。また、本発明の全固体電池は、発電要素を絶縁リングの内部に形成したものであっても良い。
5.全固体電池
本発明においては、電気化学的安定性の高い第4族金属元素の酸化物からなる反応抑制部を用いているため、伝導イオンの種類は特に限定されるものではない。本発明の全固体電池の種類としては、全固体リチウム電池、全固体ナトリウム電池、全固体マグネシウム電池および全固体カルシウム電池等を挙げることができ、中でも、全固体リチウム電池および全固体ナトリウム電池が好ましく、特に、全固体リチウム電池が好ましい。また、本発明の全固体電池は、一次電池であっても良く、二次電池であっても良いが、中でも、二次電池であることが好ましい。繰り返し充放電でき、例えば車載用電池として有用だからである。本発明の全固体電池の形状としては、例えば、コイン型、ラミネート型、円筒型および角型等を挙げることができ、中でも角型およびラミネート型が好ましく、特にラミネート型が好ましい。
また、本発明の全固体電池の製造方法は、上述した全固体電池を得ることができる方法であれば特に限定されるものではなく、一般的な全固体電池の製造方法と同様の方法を用いることができる。全固体電池の製造方法の一例としては、正極活物質層を構成する材料、固体電解質層を構成する材料、および負極活物質層を構成する材料を順次プレスすることにより、発電要素を作製し、この発電要素を電池ケースの内部に収納し、電池ケースをかしめる方法等を挙げることができる。
なお、本発明は、上記実施形態に限定されるものではない。上記実施形態は、例示であり、本発明の特許請求の範囲に記載された技術的思想と実質的に同一な構成を有し、同様な作用効果を奏するものは、いかなるものであっても本発明の技術的範囲に包含される。
以下に実施例を示して本発明をさらに具体的に説明する。
[実施例1]
(LiCoOをLiTi12で被覆した材料の作製)
まず、エタノール中で、リチウムエトキシドおよびチタンイソプロポキシドを、モル比4:5の割合で混合した。次に、得られた溶液を、転動流動層を用いたコート装置にて、正極活物質(LiCoO)上に、厚さが5nmになるように塗布し、温風で乾燥させた。次に、得られた粉末を、大気中、400℃の条件で30分間熱処理し、LiCoOをLiTi12で被覆した材料を得た。次に、得られた材料と、Li11とを、重量比7:3で混合し、正極合材を得た。
(全固体リチウム二次電池の作製)
まず、特開2005−228570号公報に記載された方法と同様の方法で、Li11(架橋硫黄を有する固体電解質材料)を得た。なお、Li11は、PS−S−PS構造と、PS構造とを有する固体電解質材料である。次に、プレス機を用いて、上述した図1に示すような発電要素10を作製した。正極活物質層1を構成する材料として上記の正極合材を用い、負極活物質層2を構成する材料としてIn箔を用い、固体電解質層3を構成する材料としてLi11を用いた。この発電要素を用いて、全固体リチウム二次電池を得た。
[比較例1]
チタンテトライソプロポキシドの代わりにニオブペンタエトキシドを用い、ニオブペンタエトキシドとリチウムエトキシドとのモル比を1:1としたこと以外(LiCoOをLiNbOで被覆した材料を作製したこと以外)は、実施例1と同様にして、全固体リチウム二次電池を得た。
[評価1]
実施例1および比較例1で得られた全固体リチウム二次電池に対して、放電容量維持率および界面抵抗変化率の測定、並びに界面のTEM観察を行った。
(放電容量維持率および界面抵抗変化率の測定)
まず、全固体リチウム二次電池の充電を行った。充電条件は、0.1Cで3.34Vまで定電流充電し、その後、3.34Vでの定電圧充電を2時間行うものとした。充電後、インピーダンス測定により、正極活物質層および固体電解質層の界面抵抗を求めた。インピーダンス測定の条件は、電圧振幅10mV,測定周波数1MHz〜0.1Hz、25℃とした。その後、放電条件(0.1Cの定電流で2Vまで)および充電条件(0.1Cの定電流で3.58Vまで)で、6サイクルの充放電を行った。放電容量維持率の結果を図4に示す。また、最初の充電後の界面抵抗値と、6サイクル目の充電後の界面抵抗値とから、界面抵抗変化率を求めた。その結果を、図5に示す。
図4および図5に示されるように、実施例1の全固体リチウム二次電池は、比較例1の全固体リチウム二次電池に比べて、放電容量維持率および界面抵抗変化率の結果が良好であった。これは、実施例1で用いたLiTi12が、比較例1で用いたLiNbOよりも電気化学的安定性が高く、反応抑制部としての機能が高いからであると考えられる。
(界面のTEM観察)
上記の充放電が終了した後、全固体リチウム二次電池を解体し、正極活物質と、架橋カルコゲン含有固体電解質材料との界面を、TEM(透過型電子顕微鏡)を用いて観察した。その結果、比較例1で得られた全固体リチウム二次電池では、正極活物質(LiCoO)と、架橋カルコゲン含有固体電解質材料(Li11)との界面に存在する反応抑制部(LiNbO)に、高抵抗層が形成されていることが確認された。これに対して、実施例1で得られた全固体リチウム二次電池では、反応抑制部(LiTi12)には、高抵抗層の形成が確認されなかった。これにより、LiTi12が、LiCoOおよびLi11に対して、安定であることが確認できた。
[実施例2]
実施例2においては、第4族金属元素の酸化物(LiTi12)および正極活物質(LiCoO)の経時的な反応性、並びに、第4族金属元素の酸化物(LiTi12)および架橋カルコゲン含有固体電解質材料(Li11)の経時的な反応性を評価した。ここでは、これらの材料に機械的エネルギーおよび熱エネルギーを加える手法で、これらの材料の界面状態を評価した。
まず、LiTi12およびLiCoOを体積比1:1でポットに投入し、回転数150rpm、20時間の条件でボールミルを行った。次に、得られた粉末を、Ar雰囲気、120℃、2週間の条件で熱処理し、評価用サンプルを得た(実施例2−1)。また、LiCoOの代わりに、Li11を用いたこと以外は、実施例2−1と同様にして、評価用サンプルを得た(実施例2−2)。
[比較例2]
LiTi12の代わりに、LiNbOを用いたこと以外は、実施例2−1および実施例2−2と同様にして、評価用サンプルを得た(比較例2−1、比較例2−2)。
[比較例3]
比較例3においては、正極活物質(LiCoO)および架橋カルコゲン含有固体電解質材料(Li11)の反応性を評価した。具体的には、LiCoOおよびLi11を体積比1:1としたこと以外は、実施例2−1と同様にして、評価用サンプルを得た(比較例3−1)。また、LiCoOおよびLi11を、比較例3−1と同じ割合で混合し、評価用サンプルを得た(比較例3−2)。
[評価2]
実施例2、比較例2、3で得られた評価用サンプルを用いて、X線回折(XRD)測定を行った。その結果を図6〜図8示す。図6(a)、(b)に示すように、LiTi12は、LiCoOおよびLi11のいずれに対しても、反応相を形成しないことが確認された。これは、LiTi12(第4族金属元素の酸化物)の電気化学的安定性が高いことに起因するものであると考えられる。これに対して、図7(a)、(b)に示すように、LiNbOは、LiCoOと反応することでCoO(NbO)が生成し、Li11と反応することでNbOやSを生成することが確認された。この結果から、これらの反応生成物が界面抵抗を増加させる高抵抗層として機能することが考えられる。また、図8(a)、(b)に示すように、LiCoOおよびLi11が反応すると、Co、CoSおよびCoSO等が生成することが確認された。この結果からも、これらの反応生成物が界面抵抗を増加させる高抵抗層として機能することが考えられる。
[参考例]
参考例においては、正極活物質と、架橋カルコゲン含有固体電解質材料との界面の状態を、ラマン分光スペクトル法により観察した。まず、正極活物質としてLiCoOを用意し、架橋カルコゲン含有固体電解質材料として、実施例1で合成したLi11を用意し、図9に示すように、架橋カルコゲン含有固体電解質材料5の一部に正極活物質4が組み込まれた2相ペレットを作製した。その後、架橋カルコゲン含有固体電解質材料5の領域である領域A、架橋カルコゲン含有固体電解質材料5および正極活物質4の界面領域である領域B、正極活物質4の領域である領域Cにおいて、ラマン分光スペクトルを測定した。その結果を図10に示す。
図10において、402cm−1のピークはPS−S−PS構造のピークであり、417cm−1のピークはPS構造のピークである。領域Aにおいて、402cm−1および417cm−1のピークは大きく検出されるのに対して、領域Bにおいて、これらのピークはいずれも小さくなっており、特に402cm−1のピーク(PS−S−PS構造のピーク)の減少は顕著であった。これらのことから、リチウムイオン伝導に大きく寄与するPS−S−PS構造が破壊されやすいことが確認された。また、このような固体電解質材料を用いることで、本発明の効果を充分に発揮できることが示唆された。
本発明の全固体電池の発電要素の一例を示す説明図である。 本発明における反応抑制部を説明する概略断面図である。 本発明における反応抑制部を説明する概略断面図である。 実施例1および比較例1で得られた全固体リチウム二次電池の放電容量維持率測定の結果である。 実施例1および比較例1で得られた全固体リチウム二次電池の界面抵抗変化率測定の結果である。 実施例2の評価用サンプルのXRD測定の結果である。 比較例2の評価用サンプルのXRD測定の結果である。 比較例3の評価用サンプルのXRD測定の結果である。 参考例で作製した2相ペレットを説明する説明図である。 2相ペレットのラマン分光測定の結果である。
符号の説明
1 … 正極活物質層
2 … 負極活物質層
3 … 固体電解質層
4 … 正極活物質
5 … 架橋カルコゲン含有固体電解質材料
6 … 反応抑制部
10 … 全固体電池の発電要素

Claims (10)

  1. 正極活物質を含有する正極活物質層と、負極活物質を含有する負極活物質層と、前記正極活物質層および前記負極活物質層の間に形成された固体電解質層と、を有する全固体電池であって、
    前記正極活物質と、架橋カルコゲンを有する架橋カルコゲン含有固体電解質材料との界面に、第4族金属元素の酸化物からなる反応抑制部が形成されていることを特徴とする全固体電池。
  2. 前記正極活物質層が、前記架橋カルコゲン含有固体電解質材料を含有することを特徴とする請求項1に記載の全固体電池。
  3. 前記固体電解質層が、前記架橋カルコゲン含有固体電解質材料を含有することを特徴とする請求項1または請求項2に記載の全固体電池。
  4. 前記反応抑制部が、前記正極活物質の表面を被覆するように形成されていることを特徴とする請求項1から請求項3までのいずれかの請求項に記載の全固体電池。
  5. 前記第4族金属元素が、チタンまたはジルコニウムであることを特徴とする請求項1から請求項4までのいずれかの請求項に記載の全固体電池。
  6. 前記第4族金属元素の酸化物が、さらに、伝導イオンとなる金属元素を含むことを特徴とする請求項1から請求項5までのいずれかの請求項に記載の全固体電池。
  7. 前記伝導イオンとなる金属元素が、Liであることを特徴とする請求項6に記載の全固体電池。
  8. 前記第4族金属元素の酸化物が、LiTi12であることを特徴とする請求項1から請求項7までのいずれかの請求項に記載の全固体電池。
  9. 前記架橋カルコゲンが、架橋硫黄または架橋酸素であることを特徴とする請求項1から請求項8までのいずれかの請求項に記載の全固体電池。
  10. 前記正極活物質が、酸化物系正極活物質であることを特徴とする請求項1から請求項9までのいずれかの請求項に記載の全固体電池。
JP2008325282A 2008-12-22 2008-12-22 全固体電池 Pending JP2010146936A (ja)

Priority Applications (1)

Application Number Priority Date Filing Date Title
JP2008325282A JP2010146936A (ja) 2008-12-22 2008-12-22 全固体電池

Applications Claiming Priority (1)

Application Number Priority Date Filing Date Title
JP2008325282A JP2010146936A (ja) 2008-12-22 2008-12-22 全固体電池

Publications (1)

Publication Number Publication Date
JP2010146936A true JP2010146936A (ja) 2010-07-01

Family

ID=42567112

Family Applications (1)

Application Number Title Priority Date Filing Date
JP2008325282A Pending JP2010146936A (ja) 2008-12-22 2008-12-22 全固体電池

Country Status (1)

Country Link
JP (1) JP2010146936A (ja)

Cited By (10)

* Cited by examiner, † Cited by third party
Publication number Priority date Publication date Assignee Title
WO2012164724A1 (ja) * 2011-06-02 2012-12-06 トヨタ自動車株式会社 固体電解質材料、固体電池、固体電解質材料の製造方法
JP2013089321A (ja) * 2011-10-13 2013-05-13 Samsung Yokohama Research Institute Co Ltd リチウムイオン二次電池及びリチウムイオン二次電池用正極活物質の製造方法
EP2609652A2 (en) 2010-08-26 2013-07-03 Toyota Jidosha Kabushiki Kaisha Sulfide solid electrolyte material, cathode body and lithium solid state battery
US8968939B2 (en) 2009-05-01 2015-03-03 Toyota Jidosha Kabushiki Kaisha Solid electrolyte material, electrode element that includes solid electrolyte material, all-solid battery that includes solid electrolyte material, and manufacturing method for solid electrolyte material
JPWO2013046443A1 (ja) * 2011-09-30 2015-03-26 トヨタ自動車株式会社 全固体電池およびその製造方法
JP2015201372A (ja) * 2014-04-09 2015-11-12 出光興産株式会社 活物質複合体の製造方法
JP2016024916A (ja) * 2014-07-17 2016-02-08 トヨタ自動車株式会社 全固体電池用電極及びその製造方法
US10340506B2 (en) 2014-11-28 2019-07-02 Samsung Electronics Co., Ltd. Positive electrode for lithium ion secondary battery and lithium ion secondary battery including the same
CN110121799A (zh) * 2016-12-16 2019-08-13 株式会社日立制作所 二次电池用电极、二次电池、它们的制造方法
CN115699211A (zh) * 2020-06-10 2023-02-03 昭和电工株式会社 固体电解质材料、固体电解质、固体电解质的制造方法和全固体电池

Citations (7)

* Cited by examiner, † Cited by third party
Publication number Priority date Publication date Assignee Title
JPH11219722A (ja) * 1998-02-03 1999-08-10 Matsushita Electric Ind Co Ltd リチウム二次電池
JP2001328816A (ja) * 2000-05-19 2001-11-27 National Institute For Materials Science 立方晶リチウム鉄塩化物およびその製造方法、ならびにこれを用いたリチウム二次電池
WO2007004590A1 (ja) * 2005-07-01 2007-01-11 National Institute For Materials Science 全固体リチウム電池
JP2008091328A (ja) * 2006-09-04 2008-04-17 Sumitomo Electric Ind Ltd リチウム二次電池およびその製造方法
JP2008103146A (ja) * 2006-10-18 2008-05-01 Idemitsu Kosan Co Ltd 固体電解質及びそれを用いた二次電池
JP2008103204A (ja) * 2006-10-19 2008-05-01 Idemitsu Kosan Co Ltd 正極活物質及びそれを用いた二次電池
JP2008103280A (ja) * 2006-10-20 2008-05-01 Idemitsu Kosan Co Ltd 正極合材及びそれを用いた全固体二次電池

Patent Citations (7)

* Cited by examiner, † Cited by third party
Publication number Priority date Publication date Assignee Title
JPH11219722A (ja) * 1998-02-03 1999-08-10 Matsushita Electric Ind Co Ltd リチウム二次電池
JP2001328816A (ja) * 2000-05-19 2001-11-27 National Institute For Materials Science 立方晶リチウム鉄塩化物およびその製造方法、ならびにこれを用いたリチウム二次電池
WO2007004590A1 (ja) * 2005-07-01 2007-01-11 National Institute For Materials Science 全固体リチウム電池
JP2008091328A (ja) * 2006-09-04 2008-04-17 Sumitomo Electric Ind Ltd リチウム二次電池およびその製造方法
JP2008103146A (ja) * 2006-10-18 2008-05-01 Idemitsu Kosan Co Ltd 固体電解質及びそれを用いた二次電池
JP2008103204A (ja) * 2006-10-19 2008-05-01 Idemitsu Kosan Co Ltd 正極活物質及びそれを用いた二次電池
JP2008103280A (ja) * 2006-10-20 2008-05-01 Idemitsu Kosan Co Ltd 正極合材及びそれを用いた全固体二次電池

Cited By (14)

* Cited by examiner, † Cited by third party
Publication number Priority date Publication date Assignee Title
US8968939B2 (en) 2009-05-01 2015-03-03 Toyota Jidosha Kabushiki Kaisha Solid electrolyte material, electrode element that includes solid electrolyte material, all-solid battery that includes solid electrolyte material, and manufacturing method for solid electrolyte material
US9680179B2 (en) 2010-08-26 2017-06-13 Toyota Jidosha Kabushiki Kaisha Sulfide solid electrolyte material, cathode body and lithium solid state battery
EP2609652A2 (en) 2010-08-26 2013-07-03 Toyota Jidosha Kabushiki Kaisha Sulfide solid electrolyte material, cathode body and lithium solid state battery
EP2609652B1 (en) * 2010-08-26 2015-06-24 Toyota Jidosha Kabushiki Kaisha Sulfide solid electrolyte material, cathode body and lithium solid state battery
JP5660210B2 (ja) * 2011-06-02 2015-01-28 トヨタ自動車株式会社 固体電解質材料、固体電池、固体電解質材料の製造方法
WO2012164724A1 (ja) * 2011-06-02 2012-12-06 トヨタ自動車株式会社 固体電解質材料、固体電池、固体電解質材料の製造方法
JPWO2013046443A1 (ja) * 2011-09-30 2015-03-26 トヨタ自動車株式会社 全固体電池およびその製造方法
JP2013089321A (ja) * 2011-10-13 2013-05-13 Samsung Yokohama Research Institute Co Ltd リチウムイオン二次電池及びリチウムイオン二次電池用正極活物質の製造方法
JP2015201372A (ja) * 2014-04-09 2015-11-12 出光興産株式会社 活物質複合体の製造方法
JP2016024916A (ja) * 2014-07-17 2016-02-08 トヨタ自動車株式会社 全固体電池用電極及びその製造方法
US10340506B2 (en) 2014-11-28 2019-07-02 Samsung Electronics Co., Ltd. Positive electrode for lithium ion secondary battery and lithium ion secondary battery including the same
CN110121799A (zh) * 2016-12-16 2019-08-13 株式会社日立制作所 二次电池用电极、二次电池、它们的制造方法
CN110121799B (zh) * 2016-12-16 2022-06-10 株式会社日立制作所 二次电池用电极、二次电池、它们的制造方法
CN115699211A (zh) * 2020-06-10 2023-02-03 昭和电工株式会社 固体电解质材料、固体电解质、固体电解质的制造方法和全固体电池

Similar Documents

Publication Publication Date Title
JP4948510B2 (ja) 全固体電池
US8968939B2 (en) Solid electrolyte material, electrode element that includes solid electrolyte material, all-solid battery that includes solid electrolyte material, and manufacturing method for solid electrolyte material
JP5455766B2 (ja) 複合正極活物質、全固体電池、および、それらの製造方法
JP5601157B2 (ja) 正極活物質材料、正極活物質層、全固体電池および正極活物質材料の製造方法
JP5158008B2 (ja) 全固体電池
JP5516755B2 (ja) 電極体および全固体電池
JP5277984B2 (ja) 正極活物質材料
JP5552974B2 (ja) 硫化物固体電解質材料、硫化物固体電解質材料の製造方法およびリチウム固体電池
JP2011165467A (ja) 固体電池
JP2010146936A (ja) 全固体電池
JP5682318B2 (ja) 全固体電池
WO2013084352A1 (ja) 正極活物質材料、正極活物質層、全固体電池および正極活物質材料の製造方法
JP2012048971A (ja) 硫化物固体電解質材料、正極体およびリチウム固体電池
JP2013037950A (ja) 複合正極活物質、全固体電池、および複合正極活物質の製造方法
JP2010067499A (ja) 正極合材の製造方法、及びそれを用いて得られる正極合材
JP2011187370A (ja) 全固体電池
JP2011159534A (ja) リチウム電池
JP2017103020A (ja) 活物質複合粒子

Legal Events

Date Code Title Description
A621 Written request for application examination

Free format text: JAPANESE INTERMEDIATE CODE: A621

Effective date: 20110803

RD04 Notification of resignation of power of attorney

Free format text: JAPANESE INTERMEDIATE CODE: A7424

Effective date: 20120704

A977 Report on retrieval

Free format text: JAPANESE INTERMEDIATE CODE: A971007

Effective date: 20130111

A131 Notification of reasons for refusal

Free format text: JAPANESE INTERMEDIATE CODE: A131

Effective date: 20130205

A02 Decision of refusal

Free format text: JAPANESE INTERMEDIATE CODE: A02

Effective date: 20130611