JP2010141729A - ズーム調整システムおよびカメラ - Google Patents

ズーム調整システムおよびカメラ Download PDF

Info

Publication number
JP2010141729A
JP2010141729A JP2008317518A JP2008317518A JP2010141729A JP 2010141729 A JP2010141729 A JP 2010141729A JP 2008317518 A JP2008317518 A JP 2008317518A JP 2008317518 A JP2008317518 A JP 2008317518A JP 2010141729 A JP2010141729 A JP 2010141729A
Authority
JP
Japan
Prior art keywords
zoom adjustment
magnification
displacement
zoom
locus
Prior art date
Legal status (The legal status is an assumption and is not a legal conclusion. Google has not performed a legal analysis and makes no representation as to the accuracy of the status listed.)
Pending
Application number
JP2008317518A
Other languages
English (en)
Inventor
Naohito Nakahara
尚人 中原
Satoru Yamaguchi
悟 山口
Current Assignee (The listed assignees may be inaccurate. Google has not performed a legal analysis and makes no representation or warranty as to the accuracy of the list.)
Hoya Corp
Original Assignee
Hoya Corp
Priority date (The priority date is an assumption and is not a legal conclusion. Google has not performed a legal analysis and makes no representation as to the accuracy of the date listed.)
Filing date
Publication date
Application filed by Hoya Corp filed Critical Hoya Corp
Priority to JP2008317518A priority Critical patent/JP2010141729A/ja
Priority to US12/629,961 priority patent/US8405741B2/en
Publication of JP2010141729A publication Critical patent/JP2010141729A/ja
Pending legal-status Critical Current

Links

Images

Classifications

    • HELECTRICITY
    • H04ELECTRIC COMMUNICATION TECHNIQUE
    • H04NPICTORIAL COMMUNICATION, e.g. TELEVISION
    • H04N23/00Cameras or camera modules comprising electronic image sensors; Control thereof
    • H04N23/60Control of cameras or camera modules
    • H04N23/69Control of means for changing angle of the field of view, e.g. optical zoom objectives or electronic zooming

Landscapes

  • Engineering & Computer Science (AREA)
  • Multimedia (AREA)
  • Signal Processing (AREA)
  • Studio Devices (AREA)
  • Camera Bodies And Camera Details Or Accessories (AREA)
  • Indication In Cameras, And Counting Of Exposures (AREA)

Abstract

【課題】被写体像の倍率を簡易な入力操作により迅速且つ正確に望まれる倍率に調整する。
【解決手段】デジタルカメラ10は変倍レンズ群11z、CPU14、タッチパネルモニタ15、および光学系駆動機構17を有する。撮影待機状態においてタッチパネルモニタ15にリアルタイム動画像を表示する。タッチパネルモニタ15はタッチパネルモニタ15への接触の有無および接触位置を検出する。タッチパネルモニタ15が接触を検出するとCPU14は接触が継続したまま接触位置が変位するか否かを判別する。接触位置が変位した場合にCPU14は変位軌跡の大きさを検出する。光学系駆動機構17は変位軌跡の大きさに応じて定められた位置に変倍レンズ群11zを変位させる。
【選択図】図1

Description

本発明は、簡易な入力操作でカメラの撮影光学系の倍率を調整するズーム調整システムに関する。
従来のカメラでは、撮影光学系の焦点距離を調整することにより撮影する被写体像の倍率を調整することが可能である。近年のコンパクトカメラにはズーム調整ボタンが設けられ、ズーム調整ボタンを押下することにより倍率の調整が可能である。また、ズーム調整ボタンを押下し続けることにより、倍率の増加または減少への調整が継続される。
しかし、ズーム調整ボタンの押下停止が遅れると、調整された倍率が使用者の希望する倍率を超えることがある。このような場合、逆方向の倍率調整が必要であり、迅速に被写体像の倍率を調整することが困難だった。
また、近年では、デジタルカメラにタッチパネルモニタを設けることが提案されている。また、タッチパネルモニタへの入力パターンに応じて様々な機能を実行することが提案されており(特許文献1参照)、簡易な方法で操作コマンドを入力することが可能である。
しかし、特許文献1に記載された発明を用いても、使用者の希望する倍率に迅速に且つ正確に調整することは、困難であった。
特開2003−338975号公報
したがって、本発明では、簡易な入力操作により、迅速且つ正確に使用者の望む倍率に調整するズーム調整システムの提供を目的とする。
本発明のズーム調整システムは、入力面を有し入力面上の任意の位置への接触の有無および接触された位置である接触位置を検出するタッチパネルと、入力面への接触が維持されたまま接触位置が変位する場合に接触位置の変位の軌跡である変位軌跡を検出する軌跡検出部と、軌跡検出部により検出された変位軌跡に応じて撮影光学系の倍率を調整する光学ズーム調整部とを備えることを特徴としている。
さらに、光学ズーム調整部は変位軌跡の大きさに応じて撮影光学系の倍率を調整することが好ましい。
また、光学ズーム調整部は入力面における第1の方向に沿った座標軸における変位軌跡の最大値と最小値とに基づいて変位軌跡の大きさを判別することが好ましい。
また、光学ズーム調整部は第1の方向に沿った座標軸における変位軌跡の最大値と最小値とに挟まれる幅を入力面の第1の方向に沿った幅に近づけるように撮影光学系の倍率を増加させることが好ましい。
また、光学ズーム調整部は変位軌跡の大きさが大きくなる程撮影光学系の倍率を減少させることが好ましい。
また、光学ズーム調整部は変位軌跡の大きさが入力面内における所定の大きさを超える場合に撮影光学系の倍率を減少させることが好ましい。
また、光学ズーム調整部は入力面内における変位軌跡が通過する領域に応じて撮影光学系の倍率を調整することが好ましい。
また、入力面には第1の領域および第1の領域を内部に含む第2の領域が定められ、光学ズーム調整部は変位軌跡が第2の領域のみを通過する場合に撮影光学系の倍率を増加させ変位軌跡の通過する領域が第1の領域のみである場合には第1の領域外の第2の領域を通過する場合に比べて大きくなるように倍率を増加させることが好ましい。
また、入力面には第2の領域を内部に含む第3の領域が定められ、光学ズーム調整部は変位軌跡が通過する領域に第3の領域が含まれる場合に撮影光学系の倍率を減少させることが好ましい。
また、撮影光学系が調整可能な最大倍率に調整される場合には撮影光学系を通過して到達する撮像素子に撮影される画像の一部を抽出して拡大するデジタルズームの倍率を増加させるデジタルズーム調整部を備えることが好ましい。
また、デジタルズーム調整部によりデジタルズームを実行開始するときに、入力面に任意の画像を表示可能なタッチパネルモニタであるタッチパネルにデジタルズームを開始することを表示する画像制御部を備えることが好ましい。
また、タッチパネルは入力面に撮影可能な現在の光景であるリアルタイム画像を表示するタッチパネルモニタであることが好ましい。
本発明のカメラは、倍率を調整可能な撮影光学系と、入力面を有し入力面上の任意の位置への接触の有無および接触された位置である接触位置を検出するタッチパネルと、入力面への接触が維持されたまま接触位置が変位する場合に接触位置の変位の軌跡である変位軌跡を検出する軌跡検出部と、記軌跡検出部により検出された変位軌跡に応じて撮影光学系の倍率を調整する光学ズーム調整機構とを備えることを特徴としている。
本発明によれば、タッチパネルの接触位置を変位すると変位軌跡に応じて定められた倍率になるように撮影光学系を調整することが可能である。したがって、簡易な入力操作により、迅速且つ正確な倍率調整が可能となる。
以下、本発明の実施形態について図面を参照して説明する。
図1は、本発明の一実施形態を適用したズーム調整システムを有するデジタルカメラの内部構成を概略的に示すブロック図である。
デジタルカメラ10は、撮影光学系11、撮像素子12、DSP(Digital Signal Processor)13、CPU14(軌跡検出部、デジタルズーム調整部、画像制御部)、タッチパネルモニタ15、光学系駆動回路16、光学系駆動機構17(光学ズーム調整部)などによって構成される。
撮影光学系11は、変倍レンズ群11zを含む複数のレンズにより構成される。変倍レンズ群11zを撮影光学系11の光軸方向に沿って変位させることにより、撮影光学系11の焦点距離が調整され、撮像素子12の受光面に到達する被写体像の倍率が調整される。なお、本実施形態では、第1〜第4の位置のいずれかに変倍レンズ群11zを変位させることが可能である。
変倍レンズ群11zは、光学系駆動機構17によって支持される。また、光学系駆動機構17はモータ(図示せず)を有しており、モータによって変倍レンズ群11zは第1〜第4の位置のいずれかに変位させられる。
なお、変倍レンズ群11zの変位範囲の中で、撮影光学系11の焦点距離を最小にする位置が第1の位置に定められる。一方、撮影光学系11の焦点距離を最大にする位置が第4の位置に定められる。また、第1の位置から第4の位置までの間に、第2、第3の位置が順番に定められる。したがって、変倍レンズ群11zの位置が第1の位置に近づけられるほど被写体像の倍率は低く、変倍レンズ群11zの位置が第4の位置に近づけられるほど被写体像の倍率は高くなる。
光学系駆動機構17は光学系駆動回路16に接続される。光学系駆動回路16によって光学系駆動機構17のモータは駆動される。光学系駆動回路16はCPU14に接続される。変倍レンズ群11zの変位はCPU14により制御される。
撮影光学系11は、撮像素子12に光学的に接続される。撮影光学系11を透過する被写体の光学像が撮像素子12の受光面に到達する。撮像素子12は、例えばCCDである。撮像素子12は、受光面において被写体の光学像を受光することにより、光学像に相当する画像信号を生成する。
なお、撮影待機中には、タッチパネルモニタ15にリアルタイムの動画像を表示するために、動画像撮像用の駆動方法により1/30秒毎に1フレームの動画用画像信号が生成される。一方、撮影待機中にレリーズ動作を実行するコマンドが入力されたときには、静止画像撮影用の駆動方法により1フレームの静止画用画像信号が生成される。
撮像素子12は、DSP13に接続される。生成したいずれの画像信号も、DSP13に送信される。DSP13では、受信した画像信号に対して所定の信号処理が施される。DSP13は、CPU14に接続される。所定の信号処理を施した画像信号は、CPU14に送信される。
動画用画像信号を受信するときには、CPU14からタッチパネルモニタ15のみに動画用画像信号が送信される。また、静止画用画像信号を受信するときには、CPU14からタッチパネルモニタ15および画像メモリ18に静止画用画像信号が送信される。
タッチパネルモニタ15は、ディスプレイ(図1において図示せず)と検出部(図示せず)とによって構成される。CPU14から送信される画像信号はディスプレイに受信される。ディスプレイには、受信した画像信号に相当する画像が表示される。
なお、前述のように、動画用画像信号は1/30秒毎に生成され、タッチパネルモニタ15に送信される。したがって、1/30秒毎に表示させる画像を切替えることにより、撮影待機状態においてリアルタイムの被写体の動画像がタッチパネルモニタ15に表示される。
なお、使用者やタッチペンなどによるディスプレイの表面(入力面)への接触の有無および接触位置が検出部によって検出される。タッチパネルモニタ15のディスプレイに表示される画像とディスプレイへの接触位置などとに対応するコマンドが、予め定められる。後述するように、タッチパネルモニタ15はデジタルカメラ10のコマンド入力手段としても用いられる。
画像メモリ18には、受信した静止画用画像信号が格納される。なお、デジタルカメラ10は再生モードを有しており、再生モードに設定されているときに、格納された静止画用画像信号がCPU14を介してタッチパネルモニタ15に送信され、静止画像がタッチパネルモニタ15に表示される。
CPU14は、電源ボタン(図示せず)、レリーズボタン(図示せず)などを有する入力部19に接続される。入力部19へのコマンド入力に基づいて、CPU14はデジタルカメラ10の各部位を制御する。
前述のように、タッチパネルモニタ15もデジタルカメラ10へのコマンド入力機器に用いられる。ディスプレイへの接触とともに接触位置が検出されると、表示している画像および接触位置などがCPU14に通知される。CPU14により、表示している画像および接触位置などに対応付けられたコマンドが入力されたと判別される。CPU14は入力されたと判別したコマンドに基づいて、デジタルカメラ10の各部位を制御する。
次に、デジタルカメラ10の撮影待機中におけるズーム調整について説明する。前述のように、撮影待機中にはタッチパネルモニタ15にリアルタイムの動画像が表示される。撮影待機中にディスプレイの表面上に軌跡が描かれる、すなわち接触状態が維持されたまま接触位置が変位するときに、ズーム調整が実行される。
指やタッチペンなどを用いたディスプレイへの接触位置が円を描くようにディスプレイ表面上を変位すると、描く円の大きさに応じて変倍レンズ群11zの位置が変位される。描く円が小さくなるほど、倍率が大きくなるように変倍レンズ群11zが変位される。
なお、円の大きさはどのような方法によって検知されてもよい。本実施形態では、接触位置の変位により通過する軌跡である変位軌跡の上下の幅、すなわちディスプレイの縦方向座標の最大値と最小値との差が円の大きさとして検出される。
例えば、図2に示すように、変倍レンズ群11zが第2の位置にある場合にディスプレイ15dに表示される画像に対して変位軌跡が第1の大きさの円C1である場合に、変倍レンズ群11zは第3の位置に変位させられる。また、表示される画像に対して変位軌跡が第1の大きさより小さな第2の大きさの円C2である場合に、変倍レンズ群11zは第4の位置に変位させられる。また、変位軌跡がディスプレイの枠に近い部位を通過する場合には、変倍レンズ群11zは第1の位置に変位させられる。
変倍レンズ群11zが第3の位置に変位させられることにより撮像素子12に到達する被写体像は拡大される。なお、光学ズームが実行されるので、元の被写体像の中心部が拡大される。また、変位軌跡が描いた円に表示される画像がディスプレイ15d全範囲に表示されるようにリアルタイム画像が拡大される(図3参照)。
また、変倍レンズ群11zが第4の位置に変位させられることにより、第3の位置に変位させられたときよりさらに高い倍率に拡大されたリアルタイム画像がディスプレイ15dに表示される(図4参照)。一方、変倍レンズ群11zが第1の位置に変位させられることにより、リアルタイム画像は縮小されて表示される(図5参照)。
なお、デジタルズームを使うことにより、変倍レンズ群11zによる第4の位置に変位させたときよりも拡大させたリアルタイム画像をディスプレイに表示可能である。すなわち、動画用画像信号の一部を抽出して拡大する信号処理を施すことにより、リアルタイム画像を拡大可能である。
例えば、変倍レンズ群11zが第2の位置にある場合にディスプレイに表示される画像に対して第2の大きさの円よりさらに小さな第3の大きさの円を描くように指などを摺り動かすと、変倍レンズ群11zが第4の位置に変位させられ、さらにデジタルズームが実行される。
なお、デジタルズームを機能させる場合には、デジタルズームを実行する旨を伝えるメッセージがリアルタイム画像の上に重畳されて、表示される。デジタルズームを用いると表示されるリアルタイム動画像や撮影される静止画像の解像度が低下するので、使用者に注意を促すためである。
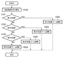
次に、CPU14によって行われるズーム調整制御を、図6〜図10のフローチャートを用いて説明する。ズーム調整制御は、撮影待機状態においてディスプレイ表面上に軌跡が描かれる、すなわち接触状態が継続されたまま接触位置が変位するときに実行される。
図6に示すように、ステップS100において、変位軌跡の大きさを検出する。前述のように、変位軌跡を構成する各点の中で、ディスプレイの縦方向座標の最大値から最小値を減じることにより変位軌跡の大きさxを算出する。変位軌跡の大きさxを算出すると、ステップS101に進む。
ステップS101〜ステップS103において、変倍レンズ群11zの現在位置を判別する。変倍レンズ群11zの現在位置が第1の位置であるときには、ステップS200に進み、第1の位置のズーム調整を実行する。変倍レンズ群11zの現在位置が第2の位置であるときには、ステップS300に進み、第2の位置のズーム調整を実行する。変倍レンズ群11zの現在位置が第3の位置であるときには、ステップS400に進み、第3の位置のズーム調整を実行する。変倍レンズ群11zの現在位置が第1〜第3のいずれでもなく、第4の位置であるときには、ステップS500に進み、第4の位置のズーム調整を実行する。
第1〜第4の位置のズーム調整(S200〜S400)のいずれかを実行後、ズーム調整制御は終了する。
次に、第1の位置のズーム調整のサブルーチン(S200)について説明する。図7に示すように、ステップS201において、変位軌跡の大きさxが第1の長さh1を超えるか否かを判別する。第1の長さh1を超えるときには、ステップS202に進む。第1の長さh1以下であるときには、ステップS203に進む。
ステップS202では、現在の撮影光学系11が調整可能な最小倍率に調整されており縮小できないことを通知するメッセージ、例えば、“縮小不可”をディスプレイのリアルタイム動画上に重畳する。メッセージの表示後、第1の位置のズーム調整のサブルーチン(S200)を終了する。
ステップS203では、変位軌跡の大きさxが第2の長さh2(<第1の長さh1)を超えるか否かを判別する。第2の長さh2を超えるときには、ステップS204に進む。第2の長さh2以下であるときには、ステップS205に進む。
ステップS204では、変倍レンズ群11zを第2の位置に変位させる。変倍レンズ群11zの変位後、第1の位置のズーム調整のサブルーチン(S200)を終了する。
ステップS205では、変位軌跡の大きさxが第3の長さh3(<第2の長さh2)を超えるか否かを判別する。第3の長さh3を超えるときには、ステップS206に進む。第3の長さh3以下であるときには、ステップS207に進む。
ステップS206では、変倍レンズ群11zを第3の位置に変位させる。変倍レンズ群11zの変位後、第1の位置のズーム調整のサブルーチン(S200)を終了する。
ステップS207では、変倍レンズ群11zを第4の位置に変位させる。変倍レンズ群11zの変位後ステップS208に進み、変位軌跡の大きさxが第4の長さh4(<第3の長さh3)を超えるか否かを判別する。
変位軌跡の大きさxが第4の長さh4を超える場合には、第1の位置のズーム調整のサブルーチン(S200)を終了する。
一方、第4の長さh4以下である場合には、ステップS209に進む。ステップS209では、デジタルズームの実行を通知するメッセージをリアルタイム画像上に重畳して表示する。メッセージの表示後ステップS210において、デジタルズームを実行する。デジタルズームの実行後、第1の位置のズーム調整のサブルーチン(S200)を終了する。
次に、第2の位置のズーム調整のサブルーチン(S300)について説明する。図8に示すように、ステップS301において、変位軌跡の大きさxが第1の長さh1を超えるか否かを判別する。第1の長さh1を超えるときには、ステップS302に進む。第1の長さh1以下であるときには、ステップS303に進む。
ステップS302では、変倍レンズ群11zを第1の位置に変位させる。変倍レンズ群11zの変位後、第2の位置のズーム調整のサブルーチン(S300)を終了する。
ステップS303では、変位軌跡の大きさxが第2の長さh2を超えるか否かを判別する。第2の長さh2を超えるときには、ステップS304に進む。第2の長さh2以下であるときには、ステップS305に進む。
ステップS304では、変倍レンズ群11zを第3の位置に変位させる。変倍レンズ群11zの変位後、第2の位置のズーム調整のサブルーチン(S300)を終了する。
ステップS305では、変倍レンズ群11zを第4の位置に変位させる。変倍レンズ群11zの変位後ステップS306に進み、変位軌跡の大きさxが第3の長さh3を超えるか否かを判別する。
変位軌跡の大きさxが第3の長さh3を超える場合には、第2の位置のズーム調整のサブルーチン(S300)を終了する。
一方、第3の長さh3以下である場合には、ステップS307に進む。ステップS307では、デジタルズームの実行を通知するメッセージをリアルタイム画像上に重畳して表示する。メッセージの表示後ステップS308において、デジタルズームを実行する。デジタルズームの実行後、第2の位置のズーム調整のサブルーチン(S300)を終了する。
次に、第3の位置のズーム調整のサブルーチン(S400)について説明する。図9に示すように、ステップS401において、変位軌跡の大きさxが第1の長さh1を超えるか否かを判別する。第1の長さh1を超えるときには、ステップS402に進む。第1の長さh1以下であるときには、ステップS403に進む。
ステップS402では、変倍レンズ群11zを第2の位置に変位させる。変倍レンズ群11zの変位後、第3の位置のズーム調整のサブルーチン(S400)を終了する。
ステップS403では、変倍レンズ群11zを第4の位置に変位させる。変倍レンズ群11zの変位後ステップS404に進み、変位軌跡の大きさxが第2の長さh2を超えるか否かを判別する。
変位軌跡の大きさxが第2の長さh2を超える場合には、第3の位置のズーム調整のサブルーチン(S400)を終了する。
一方、第2の長さh2以下である場合には、ステップS405に進む。ステップS405では、デジタルズームの実行を通知するメッセージをリアルタイム画像上に重畳して表示する。メッセージの表示後ステップS406において、デジタルズームを実行する。デジタルズームの実行後、第3の位置のズーム調整のサブルーチン(S400)を終了する。
次に、第4の位置のズーム調整のサブルーチン(S500)について説明する。図10に示すように、ステップS501において、変位軌跡の大きさxが第1の長さh1を超えるか否かを判別する。第1の長さh1を超えるときには、ステップS502に進む。第1の長さh1以下であるときには、ステップS503に進む。
ステップS502では、変倍レンズ群11zを第3の位置に変位させる。変倍レンズ群11zの変位後、第4の位置のズーム調整のサブルーチン(S500)を終了する。
ステップS503では、デジタルズームの実行を通知するメッセージをリアルタイム画像上に重畳して表示する。メッセージの表示後ステップS504において、デジタルズームを実行する。デジタルズームの実行後、第4の位置のズーム調整のサブルーチン(S500)を終了する。
以上のような構成である本実施形態のズーム調整システムによれば、タッチパネルモニタ15のディスプレイ15d入力面上に描かれる軌跡の大きさに応じて定められた位置に変倍レンズ群11zを変位させることが可能である。
このような入力方法によれば、変倍レンズ群11zを変位させる光学ズーム調整を迅速且つ正確に実行することが可能である。特に、本実施形態ではリアルタイム画像全体の中の変位軌跡内に表示される一部の光学像がディスプレイ全体に拡大されるように光学ズーム調整が実行されるので、使用者が望む倍率への調整が容易となる。
また、本実施形態のズーム調整システムによれば、倍率が最大となるように光学ズームを調整した後には、デジタルズームが実行される。したがって、さらなる望遠撮影が望まれる場合にも、容易に使用者の望む倍率に調整することが可能である。
なお、本実施形態において、変位軌跡の上下の幅を円の大きさとして検出する構成であるが、他の方法により円の大きさを検出してもよい。例えば、変位軌跡が通過する軌跡に応じて円の大きさを検出する構成でもよい。
軌跡に応じて円の大きさを検出する構成について簡単に説明する。図11に示すように、ディスプレイ15dの中心を中心とする第1の円形領域CA1と第1の円形領域CA1を内包する第2の円形領域CA2とが定められる。
変位軌跡が第2の円形領域CA2のみを通過するときに、被写体像の倍率を増加させるように変倍レンズ群11zの位置が変位される。さらに、変軌軌跡として描かれた円の大きさは第1の範囲または第1の範囲より大きな範囲である第2の範囲であるかが判別される。判別された円の大きさに基づく倍率で被写体像が拡大される。
変位軌跡が第1の円形領域CA1外であって第2の円形領域CA2のみを通過するときには描かれた円の大きさが第1の範囲に属すると判別して、所定の倍率で被写体像を拡大させるように変倍レンズ群11zの位置が変位される。また、変位軌跡が第1の円形領域CA1のみを通過するときには描かれた円の大きさが第2の範囲に属すると判別して、所定の倍率より大きな倍率で被写体像を拡大させるように変倍レンズ群11zの位置が変位される。このような構成によっても、円の大きさを検出可能である。
また、本実施形態において、変位軌跡の上下の幅を円の大きさとして検出する構成であるが、任意の方向における幅を円の大きさとして検出してもよい。または、複数の方向における幅を検出し、その中の最大値、最小値、または平均値などを円の大きさとして検出する構成であってもよい。
また、本実施形態において、ディスプレイへ15dの接触位置の変位軌跡が円形であるときに変倍レンズ群11zの位置が変位される構成であるが、円形に限定されない。変位軌跡が四角形でも三角形でもよく、閉じられていなくてもよい。さらには、ただの直線であってもよい。変移軌跡の大きさに応じてズーム調整することにより、本実施形態と同様の効果が得られる。
また、本実施形態において、変位軌跡が描く円が小さくなるほど倍率が高くなるように変倍レンズ群11zの位置を調整する構成であるが、大きさに応じて変位させる構成であればよい。
また、本実施形態では、変位軌跡の描く円の大きさがディスプレイの幅に近づくように倍率を調整し、描かれる円の内部に表示される画像がディスプレイ15d全面に拡大させる構成であるが、このような倍率調整を行わなくてもよい。このような倍率調整を行わなくても、簡易な入力方法で迅速に正確に倍率調整を行うことは可能である。
また、本実施形態では、変倍レンズ群11zは第1〜第4の位置のいずれかに変位可能な構成であるが、複数の位置のいずれかに変位可能な構成であって被写体の倍率を変えられればよい。
また、本実施形態では、変位軌跡の描く円の大きさが所定の大きさを超えるときに、倍率を減少させるように変倍レンズ群11zを変位させる構成であるが、倍率の減少は行われなくてもよい。
また、本実施形態では、変位軌跡がディスプレイの枠に近い部位を通過する場合に、変倍レンズ群11zの位置を変位させて被写体像の倍率を縮小させる構成であるが、拡大させるための入力方法とは異なる入力方法を検出するときに倍率を縮小する構成であってもよい。例えば、ディスプレイ上の任意の位置への複数回の接触を検出するときに、倍率を縮小してもよい。
また、本実施形態では、変倍レンズ群11zが第4の位置まで変位、すなわち倍率が最大となる位置に変倍レンズ群11zを移動した状態よりもさらに倍率を増加させる場合にはデジタルズームを実行する構成であるが、光学ズーム調整およびデジタルズーム調整のいずれか一方のみが実行される構成であってもよい。他方のズーム調整が従来のズームボタンなどの入力手段への入力であっても、一方のズーム調整を本実施形態に記載の方法に基づいて実行することにより、迅速かつ正確なズーム調整が可能である。
また、本実施形態では、光学ズーム調整からデジタルズーム調整に移行するときに、デジタルズーム実行を通知するメッセージが表示される構成であるが、このようなメッセージは表示されなくてもよい。
また、本実施形態では、タッチパネルモニタ15が用いられる構成であるが、接触位置を検出可能な入力面を有するポインティングデバイスであって画像が表示されないタッチパネルであってもよい。
本発明の一実施形態を適用したズーム調整システムを有するデジタルカメラの内部構成を概略的に示すブロック図である。 撮影待機状態においてリアルタイムの動画像を表示しているディスプレイの表示面の正面図である。 変倍レンズの位置を第2の位置から第3の位置に変位させることにより図2において表示されている動画像を拡大して表示しているディスプレイの表示面の正面図である。 変倍レンズの位置を第2の位置から第4の位置に変位させることにより図2において表示されている動画像を拡大して表示しているディスプレイの表示面の正面図である。 変倍レンズの位置を第2の位置から第1の位置に変位させることにより図2において表示されている動画像を縮小して表示しているディスプレイの表示面の正面図である。 CPUによって行なわれるズーム調整制御を説明するためのフローチャートである。 第1の位置のズーム調整のサブルーチンを説明するためのフローチャートである。 第2の位置のズーム調整のサブルーチンを説明するためのフローチャートである。 第3の位置のズーム調整のサブルーチンを説明するためのフローチャートである。 第4の位置のズーム調整のサブルーチンを説明するためのフローチャートである。 変位軌跡の描く円の大きさの検出のためにディスプレイにおいて定められる第1、第2の円形領域の場所と大きさを説明するための図である。
符号の説明
10 デジタルカメラ
11z 変倍レンズ群
12 撮像素子
14 CPU
15 タッチパネルモニタ
15d ディスプレイ
16 光学系駆動回路
17 光学系駆動機構
C1、C2 第1、第2の大きさの円
CA1、CA2 第1、第2の円形領域

Claims (13)

  1. 入力面を有し、前記入力面上の任意の位置への接触の有無および接触された位置である接触位置を検出するタッチパネルと、
    前記入力面への接触が維持されたまま前記接触位置が変位する場合に、前記接触位置の変位の軌跡である変位軌跡を検出する軌跡検出部と、
    前記軌跡検出部により検出された前記変位軌跡に応じて、撮影光学系の倍率を調整する光学ズーム調整部とを備える
    ことを特徴とするズーム調整システム。
  2. 前記光学ズーム調整部は前記変位軌跡の大きさに応じて前記撮影光学系の倍率を調整することを特徴とする請求項1に記載のズーム調整システム。
  3. 前記光学ズーム調整部は、前記入力面における第1の方向に沿った座標軸における前記変位軌跡の最大値と最小値とに基づいて前記変位軌跡の大きさを判別することを特徴とする請求項2に記載のズーム調整システム。
  4. 前記光学ズーム調整部は、前記第1の方向に沿った座標軸における前記変位軌跡の最大値と最小値とに挟まれる幅を前記入力面の前記第1の方向に沿った幅に近づくように、前記撮影光学系の倍率を増加させることを特徴とする請求項3に記載のズーム調整システム。
  5. 前記光学ズーム調整部は、前記変位軌跡の大きさが大きくなる程、前記撮影光学系の倍率を減少させることを特徴とする請求項2または請求項3に記載のズーム調整システム。
  6. 前記光学ズーム調整部は、前記変位軌跡の大きさが前記入力面内における所定の大きさを超える場合に、前記撮影光学系の倍率を減少させることを特徴とする請求項2〜請求項5のいずれか1項に記載のズーム調整システム。
  7. 前記光学ズーム調整部は、前記入力面内における前記変位軌跡が通過する領域に応じて前記撮影光学系の倍率を調整することを特徴とする請求項1に記載のズーム調整システム。
  8. 前記入力面には、第1の領域および前記第1の領域を内部に含む第2の領域が定められ、
    前記光学ズーム調整部は、前記変位軌跡が前記第2の領域のみを通過する場合に前記撮影光学系の倍率を増加させ、前記変位軌跡の通過する領域が前記第1の領域のみである場合には前記第1の領域外の前記第2の領域を通過する場合に比べて大きくなるように倍率を増加させる
    ことを特徴とする請求項7に記載のズーム調整システム。
  9. 前記入力面には、前記第2の領域を内部に含む第3の領域が定められ、
    前記光学ズーム調整部は、前記変位軌跡が通過する領域に前記第3の領域が含まれる場合に、前記撮影光学系の倍率を減少させる
    ことを特徴とする請求項8に記載のズーム調整システム。
  10. 前記撮影光学系が調整可能な最大倍率に調整される場合には、前記撮影光学系を通過して到達する撮像素子に撮影される画像の一部を抽出して、拡大するデジタルズームの倍率を増加させるデジタルズーム調整部を備えることを特徴とする請求項1〜請求項9のいずれか1項に記載のズーム調整システム。
  11. 前記デジタルズーム調整部により前記デジタルズームを実行開始するときに、前記入力面に任意の画像を表示可能な前記タッチパネルモニタである前記タッチパネルにデジタルズームを開始することを表示する画像制御部を備えることを特徴とする請求項10に記載のズーム調整システム。
  12. 前記タッチパネルは、前記入力面に撮影可能な現在の光景であるリアルタイム画像を表示するタッチパネルモニタであることを特徴とする請求項1〜請求項11に記載のズーム調整システム。
  13. 倍率を調整可能な撮影光学系と、
    入力面を有し、前記入力面上の任意の位置への接触の有無および接触された位置である接触位置を検出するタッチパネルと、
    前記入力面への接触が維持されたまま前記接触位置が変位する場合に、前記接触位置の変位の軌跡である変位軌跡を検出する軌跡検出部と、
    前記軌跡検出部により検出された前記変位軌跡に応じて、前記撮影光学系の倍率を調整する光学ズーム調整機構とを備える
    ことを特徴とするカメラ。
JP2008317518A 2008-12-12 2008-12-12 ズーム調整システムおよびカメラ Pending JP2010141729A (ja)

Priority Applications (2)

Application Number Priority Date Filing Date Title
JP2008317518A JP2010141729A (ja) 2008-12-12 2008-12-12 ズーム調整システムおよびカメラ
US12/629,961 US8405741B2 (en) 2008-12-12 2009-12-03 Zoom adjustment system and camera

Applications Claiming Priority (1)

Application Number Priority Date Filing Date Title
JP2008317518A JP2010141729A (ja) 2008-12-12 2008-12-12 ズーム調整システムおよびカメラ

Publications (1)

Publication Number Publication Date
JP2010141729A true JP2010141729A (ja) 2010-06-24

Family

ID=42240073

Family Applications (1)

Application Number Title Priority Date Filing Date
JP2008317518A Pending JP2010141729A (ja) 2008-12-12 2008-12-12 ズーム調整システムおよびカメラ

Country Status (2)

Country Link
US (1) US8405741B2 (ja)
JP (1) JP2010141729A (ja)

Families Citing this family (1)

* Cited by examiner, † Cited by third party
Publication number Priority date Publication date Assignee Title
US9877275B2 (en) 2016-01-05 2018-01-23 Blackberry Limited Method and apparatus for multi-SIM selection

Citations (5)

* Cited by examiner, † Cited by third party
Publication number Priority date Publication date Assignee Title
JPH08163541A (ja) * 1994-11-30 1996-06-21 Sharp Corp 撮影画像処理装置
JPH104531A (ja) * 1996-06-14 1998-01-06 Nikon Corp 情報処理装置
JPH11261872A (ja) * 1998-03-10 1999-09-24 Nikon Corp 電子スチルカメラ
JP2002091649A (ja) * 2000-09-14 2002-03-29 Ricoh Co Ltd タッチパネル式座標入力装置
JP2007306250A (ja) * 2006-05-10 2007-11-22 Ricoh Co Ltd 撮像装置、撮影時警告方法及びコンピュータ読み取り可能な記録媒体

Family Cites Families (6)

* Cited by examiner, † Cited by third party
Publication number Priority date Publication date Assignee Title
JP3977684B2 (ja) * 2002-05-21 2007-09-19 株式会社東芝 デジタルスチルカメラ
KR20050066305A (ko) * 2003-12-26 2005-06-30 삼성전자주식회사 출몰식 영상촬상장치
US20070249389A1 (en) * 2004-10-25 2007-10-25 Matsushita Electric Industrial Co., Ltd. Cellular Phone Device
EP1829361A1 (en) * 2004-12-23 2007-09-05 Nokia Corporation Method for extracting of multiple sub-windows of a scanning area by means of a digital video camera
US20070098395A1 (en) * 2005-10-31 2007-05-03 Battles Amy E Digital camera user interface
JP5117272B2 (ja) * 2008-04-30 2013-01-16 Hoya株式会社 ズームレンズの調整方法

Patent Citations (5)

* Cited by examiner, † Cited by third party
Publication number Priority date Publication date Assignee Title
JPH08163541A (ja) * 1994-11-30 1996-06-21 Sharp Corp 撮影画像処理装置
JPH104531A (ja) * 1996-06-14 1998-01-06 Nikon Corp 情報処理装置
JPH11261872A (ja) * 1998-03-10 1999-09-24 Nikon Corp 電子スチルカメラ
JP2002091649A (ja) * 2000-09-14 2002-03-29 Ricoh Co Ltd タッチパネル式座標入力装置
JP2007306250A (ja) * 2006-05-10 2007-11-22 Ricoh Co Ltd 撮像装置、撮影時警告方法及びコンピュータ読み取り可能な記録媒体

Also Published As

Publication number Publication date
US20100149405A1 (en) 2010-06-17
US8405741B2 (en) 2013-03-26

Similar Documents

Publication Publication Date Title
JP5620142B2 (ja) 撮像装置および撮像方法
CN107197141B (zh) 拍摄装置及其拍摄方法、存储能够由计算机来处理的追踪程序的存储介质
CN101996044B (zh) 使用触摸屏控制变焦的方法和设备
US9830947B2 (en) Image-capturing device
JP6102602B2 (ja) 画像処理装置、画像処理方法、画像処理プログラムおよび撮像装置
JP5539045B2 (ja) 撮像装置およびその制御方法、記憶媒体
US10560625B2 (en) Image shooting apparatus for setting image shooting condition easily and method thereof
JP5379118B2 (ja) 撮像装置、撮像装置制御方法およびそのプログラム
JP5281838B2 (ja) 撮影装置
JP6107354B2 (ja) 画像表示装置、画像表示装置の制御方法、画像表示プログラム、および、これを記録したコンピュータ読み取り可能な記録媒体
JP4843002B2 (ja) 撮像装置、および撮像装置制御方法、並びにコンピュータ・プログラム
JP2011259285A5 (ja) 撮像装置およびその制御方法、記憶媒体
JP2018066845A (ja) 顕微鏡システム
JP2016201626A (ja) シフト素子制御装置、シフト素子制御プログラムおよび光学機器
JP2016111652A (ja) 撮像装置、撮像方法およびプログラム
JP2009060435A (ja) カメラ
JP2010141729A (ja) ズーム調整システムおよびカメラ
JP6025954B2 (ja) 撮像装置及びその制御方法
JP5744527B2 (ja) 撮像装置及びその制御方法
JP5847659B2 (ja) 撮像装置及びその制御方法
JP5730097B2 (ja) 撮像装置
JP5220552B2 (ja) カメラ制御システムおよびデジタルカメラ
JP2017175304A (ja) 撮像装置
JP2013038632A (ja) 撮影装置、当該撮影装置を有する携帯情報処理端末、および携帯情報処理端末を制御するためのプログラム
JP2019003075A (ja) 撮像装置

Legal Events

Date Code Title Description
A625 Written request for application examination (by other person)

Free format text: JAPANESE INTERMEDIATE CODE: A625

Effective date: 20111129

A711 Notification of change in applicant

Free format text: JAPANESE INTERMEDIATE CODE: A712

Effective date: 20111221

A977 Report on retrieval

Free format text: JAPANESE INTERMEDIATE CODE: A971007

Effective date: 20121004

A131 Notification of reasons for refusal

Free format text: JAPANESE INTERMEDIATE CODE: A131

Effective date: 20121016

A521 Request for written amendment filed

Free format text: JAPANESE INTERMEDIATE CODE: A523

Effective date: 20121120

A02 Decision of refusal

Free format text: JAPANESE INTERMEDIATE CODE: A02

Effective date: 20130312