JP2010111368A - 車両扉の戸先ゴム - Google Patents
車両扉の戸先ゴム Download PDFInfo
- Publication number
- JP2010111368A JP2010111368A JP2008288106A JP2008288106A JP2010111368A JP 2010111368 A JP2010111368 A JP 2010111368A JP 2008288106 A JP2008288106 A JP 2008288106A JP 2008288106 A JP2008288106 A JP 2008288106A JP 2010111368 A JP2010111368 A JP 2010111368A
- Authority
- JP
- Japan
- Prior art keywords
- door
- rubber
- vehicle
- side wall
- dimension
- Prior art date
- Legal status (The legal status is an assumption and is not a legal conclusion. Google has not performed a legal analysis and makes no representation as to the accuracy of the status listed.)
- Granted
Links
- 229920001971 elastomer Polymers 0.000 title claims abstract description 82
- 239000005060 rubber Substances 0.000 title claims abstract description 81
- 239000010410 layer Substances 0.000 claims description 19
- 239000002783 friction material Substances 0.000 claims description 16
- 239000007787 solid Substances 0.000 claims description 7
- 239000002344 surface layer Substances 0.000 claims description 4
- 238000001514 detection method Methods 0.000 abstract description 10
- 230000035945 sensitivity Effects 0.000 abstract description 8
- 230000000052 comparative effect Effects 0.000 description 13
- 239000002184 metal Substances 0.000 description 7
- 238000012360 testing method Methods 0.000 description 5
- 208000034656 Contusions Diseases 0.000 description 2
- 208000027418 Wounds and injury Diseases 0.000 description 2
- 208000034526 bruise Diseases 0.000 description 2
- 230000006378 damage Effects 0.000 description 2
- 230000007423 decrease Effects 0.000 description 2
- 238000010586 diagram Methods 0.000 description 2
- 208000014674 injury Diseases 0.000 description 2
- 235000010724 Wisteria floribunda Nutrition 0.000 description 1
- 238000009530 blood pressure measurement Methods 0.000 description 1
- 238000006243 chemical reaction Methods 0.000 description 1
- 239000000806 elastomer Substances 0.000 description 1
- 238000000605 extraction Methods 0.000 description 1
- 239000000463 material Substances 0.000 description 1
- 238000005259 measurement Methods 0.000 description 1
- 238000012986 modification Methods 0.000 description 1
- 230000004048 modification Effects 0.000 description 1
- 230000003287 optical effect Effects 0.000 description 1
- 230000000704 physical effect Effects 0.000 description 1
- 229920001084 poly(chloroprene) Polymers 0.000 description 1
- -1 polytetrafluoroethylene Polymers 0.000 description 1
- 229920001343 polytetrafluoroethylene Polymers 0.000 description 1
- 239000004810 polytetrafluoroethylene Substances 0.000 description 1
- 239000011347 resin Substances 0.000 description 1
- 229920005989 resin Polymers 0.000 description 1
- 238000007789 sealing Methods 0.000 description 1
- 238000009751 slip forming Methods 0.000 description 1
- 230000009466 transformation Effects 0.000 description 1
Images
Landscapes
- Specific Sealing Or Ventilating Devices For Doors And Windows (AREA)
Abstract
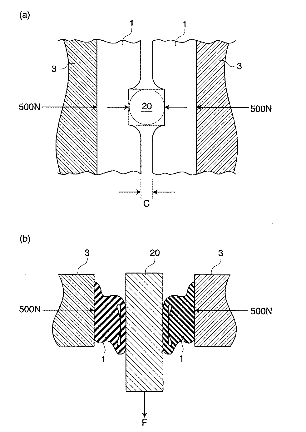
【解決手段】戸先ゴムの側壁部に側溝を設け、戸先ゴムが車内外方向で撓み変形しやすくする。戸先ゴムの当たり面に物が挟まれた場合、車外側または車内側に容易に引き抜くことができる。当たり面は平坦部とすることにより、物が挟まれ戸閉め力が作用しても、その力は戸先ゴムの側壁部および中央突起部に分散させ、挟み物に加わる最大圧力を低減する。さらに、中空部を扉の戸閉め方向の寸法を短かく、車両の内外方向の寸法を長く形成し、ゴム変形を小さくして扉間隔が大きくなることで検知感度を向上させる。
【選択図】 図3
Description
2 鉄道車両
3 乗降扉
3a 扉構体
3b 戸先
5 取付部
6 基部
7 当たり部
9 平坦部
10 中空部
11 低摩擦材層
12 ゴム突起
13 側溝
15 取付凹部
16 連結部
17 スリット
18 感知スイッチ
19 接触子
20 挟み物
Claims (7)
- 中空部を有する車両の引き戸式乗降扉の戸先ゴムであって、側壁部に戸先ゴムの撓み変形しやすくするための側溝が形成されたことを特徴とする車両の乗降扉用戸先ゴム。
- 前記戸先ゴムの当たり面が平坦部とされ、該平坦部の背面側に中空部が形成され、該中空部の戸先ゴムの基部側に前記平坦部に対向してゴム突起が突出形成されたことを特徴とする請求項1に記載の車両の乗降扉用戸先ゴム。
- 前記当たり面の表層に低摩擦材層が形成されたことを特徴とする請求項1または2に記載の車両の乗降扉用戸先ゴム。
- 前記中空部は、扉の戸閉め方向の寸法が車両の内外方向の寸法よりも短く形成されたことを特徴とする請求項1〜3のいずれかに記載の車両の乗降扉用戸先ゴム。
- 前記基部は中実に形成され、前記側溝は前記基部の側壁部に上下方向で凹条に形成されたことを特徴とする請求項1〜4のいずれかに記載の車両の乗降扉用戸先ゴム。
- 前記側溝は、扉の開閉方向で複数条形成されたことを特徴とする請求項5に記載の車両の乗降扉用戸先ゴム。
- 前記低摩擦材層がフッ素樹脂から構成されたことを特徴とする請求項3に記載の車両の乗降扉用戸先ゴム。
Priority Applications (1)
| Application Number | Priority Date | Filing Date | Title |
|---|---|---|---|
| JP2008288106A JP5180031B2 (ja) | 2008-11-10 | 2008-11-10 | 車両扉の戸先ゴム |
Applications Claiming Priority (1)
| Application Number | Priority Date | Filing Date | Title |
|---|---|---|---|
| JP2008288106A JP5180031B2 (ja) | 2008-11-10 | 2008-11-10 | 車両扉の戸先ゴム |
Publications (2)
| Publication Number | Publication Date |
|---|---|
| JP2010111368A true JP2010111368A (ja) | 2010-05-20 |
| JP5180031B2 JP5180031B2 (ja) | 2013-04-10 |
Family
ID=42300280
Family Applications (1)
| Application Number | Title | Priority Date | Filing Date |
|---|---|---|---|
| JP2008288106A Active JP5180031B2 (ja) | 2008-11-10 | 2008-11-10 | 車両扉の戸先ゴム |
Country Status (1)
| Country | Link |
|---|---|
| JP (1) | JP5180031B2 (ja) |
Cited By (2)
| Publication number | Priority date | Publication date | Assignee | Title |
|---|---|---|---|---|
| JP2016120782A (ja) * | 2014-12-24 | 2016-07-07 | 三菱電機株式会社 | ホームドア装置 |
| JP7515416B2 (ja) | 2021-01-05 | 2024-07-12 | 東京地下鉄株式会社 | 乗降扉用戸先ゴム |
Citations (4)
| Publication number | Priority date | Publication date | Assignee | Title |
|---|---|---|---|---|
| JPS6369286U (ja) * | 1986-10-25 | 1988-05-10 | ||
| JPH0972169A (ja) * | 1995-09-05 | 1997-03-18 | Nishiyama:Kk | 戸当たりゴム |
| JP2000247229A (ja) * | 1999-03-02 | 2000-09-12 | Nippon Gureebekashuu Kk | 鉄道車両のドアー及び/又はドアー収納部のゴム部分の滑りを改善する方法 |
| JP2001278043A (ja) * | 2000-03-30 | 2001-10-10 | Sunx Ltd | 車両用の戸挟み検出装置 |
-
2008
- 2008-11-10 JP JP2008288106A patent/JP5180031B2/ja active Active
Patent Citations (4)
| Publication number | Priority date | Publication date | Assignee | Title |
|---|---|---|---|---|
| JPS6369286U (ja) * | 1986-10-25 | 1988-05-10 | ||
| JPH0972169A (ja) * | 1995-09-05 | 1997-03-18 | Nishiyama:Kk | 戸当たりゴム |
| JP2000247229A (ja) * | 1999-03-02 | 2000-09-12 | Nippon Gureebekashuu Kk | 鉄道車両のドアー及び/又はドアー収納部のゴム部分の滑りを改善する方法 |
| JP2001278043A (ja) * | 2000-03-30 | 2001-10-10 | Sunx Ltd | 車両用の戸挟み検出装置 |
Cited By (2)
| Publication number | Priority date | Publication date | Assignee | Title |
|---|---|---|---|---|
| JP2016120782A (ja) * | 2014-12-24 | 2016-07-07 | 三菱電機株式会社 | ホームドア装置 |
| JP7515416B2 (ja) | 2021-01-05 | 2024-07-12 | 東京地下鉄株式会社 | 乗降扉用戸先ゴム |
Also Published As
| Publication number | Publication date |
|---|---|
| JP5180031B2 (ja) | 2013-04-10 |
Similar Documents
| Publication | Publication Date | Title |
|---|---|---|
| JP6341346B1 (ja) | 挟み込み検知スイッチ | |
| US11225818B2 (en) | Door leading edge sensor | |
| CN105620235B (zh) | 带有传感器的防护装置 | |
| JP2017516035A (ja) | 把持締結デバイス | |
| JP5180031B2 (ja) | 車両扉の戸先ゴム | |
| CN110206436B (zh) | 夹入检测开关 | |
| US20160305177A1 (en) | Pinching detection device | |
| JP2002371771A (ja) | 工業用のゲートと二重壁のセグメント | |
| CN205713629U (zh) | 带有传感器的防护装置 | |
| US20160129772A1 (en) | Vehicle press door structure and door glass run | |
| CN217326911U (zh) | 带有传感器的防护装置 | |
| JP7515416B2 (ja) | 乗降扉用戸先ゴム | |
| JP2011016419A (ja) | 戸挟み検知装置 | |
| CN107000560A (zh) | 用于轨道车辆的门密封装置、门密封系统和门扇 | |
| US5801347A (en) | Cord switch having alternate insulating members | |
| JP2009241622A (ja) | 自動車用ガラスラン | |
| JP6380701B1 (ja) | 挟み込み検知スイッチ、及び挟み込み検知方法 | |
| US11693142B2 (en) | Water intrusion detector for a touch sensor device | |
| JP2018154264A (ja) | 車両用バンパー構造 | |
| JP4382507B2 (ja) | リング状スイッチ | |
| CN217111255U (zh) | 一种医疗筛查设备的压力感应装置及其医疗筛查设备 | |
| JP2019145482A (ja) | 挟み込み検知方法、及び挟み込み検知スイッチ | |
| KR102596296B1 (ko) | 페달 스트로크 센서 장치 | |
| JP2023119665A (ja) | タッチセンサ | |
| KR101761663B1 (ko) | 출입문 장애물 감지장치 |
Legal Events
| Date | Code | Title | Description |
|---|---|---|---|
| A621 | Written request for application examination |
Free format text: JAPANESE INTERMEDIATE CODE: A621 Effective date: 20101104 |
|
| A977 | Report on retrieval |
Free format text: JAPANESE INTERMEDIATE CODE: A971007 Effective date: 20120223 |
|
| A131 | Notification of reasons for refusal |
Free format text: JAPANESE INTERMEDIATE CODE: A131 Effective date: 20120321 |
|
| A521 | Request for written amendment filed |
Free format text: JAPANESE INTERMEDIATE CODE: A523 Effective date: 20120511 |
|
| TRDD | Decision of grant or rejection written | ||
| A01 | Written decision to grant a patent or to grant a registration (utility model) |
Free format text: JAPANESE INTERMEDIATE CODE: A01 Effective date: 20121218 |
|
| A61 | First payment of annual fees (during grant procedure) |
Free format text: JAPANESE INTERMEDIATE CODE: A61 Effective date: 20130110 |
|
| R150 | Certificate of patent or registration of utility model |
Ref document number: 5180031 Country of ref document: JP Free format text: JAPANESE INTERMEDIATE CODE: R150 |
|
| R250 | Receipt of annual fees |
Free format text: JAPANESE INTERMEDIATE CODE: R250 |
|
| R250 | Receipt of annual fees |
Free format text: JAPANESE INTERMEDIATE CODE: R250 |
|
| R250 | Receipt of annual fees |
Free format text: JAPANESE INTERMEDIATE CODE: R250 |
|
| R250 | Receipt of annual fees |
Free format text: JAPANESE INTERMEDIATE CODE: R250 |
