JP2010100928A - フェライト付着体及びその製造方法 - Google Patents
フェライト付着体及びその製造方法 Download PDFInfo
- Publication number
- JP2010100928A JP2010100928A JP2009176209A JP2009176209A JP2010100928A JP 2010100928 A JP2010100928 A JP 2010100928A JP 2009176209 A JP2009176209 A JP 2009176209A JP 2009176209 A JP2009176209 A JP 2009176209A JP 2010100928 A JP2010100928 A JP 2010100928A
- Authority
- JP
- Japan
- Prior art keywords
- ferrite
- substrate
- manufacturing
- base
- film
- Prior art date
- Legal status (The legal status is an assumption and is not a legal conclusion. Google has not performed a legal analysis and makes no representation as to the accuracy of the status listed.)
- Granted
Links
Images
Classifications
-
- C—CHEMISTRY; METALLURGY
- C23—COATING METALLIC MATERIAL; COATING MATERIAL WITH METALLIC MATERIAL; CHEMICAL SURFACE TREATMENT; DIFFUSION TREATMENT OF METALLIC MATERIAL; COATING BY VACUUM EVAPORATION, BY SPUTTERING, BY ION IMPLANTATION OR BY CHEMICAL VAPOUR DEPOSITION, IN GENERAL; INHIBITING CORROSION OF METALLIC MATERIAL OR INCRUSTATION IN GENERAL
- C23C—COATING METALLIC MATERIAL; COATING MATERIAL WITH METALLIC MATERIAL; SURFACE TREATMENT OF METALLIC MATERIAL BY DIFFUSION INTO THE SURFACE, BY CHEMICAL CONVERSION OR SUBSTITUTION; COATING BY VACUUM EVAPORATION, BY SPUTTERING, BY ION IMPLANTATION OR BY CHEMICAL VAPOUR DEPOSITION, IN GENERAL
- C23C18/00—Chemical coating by decomposition of either liquid compounds or solutions of the coating forming compounds, without leaving reaction products of surface material in the coating; Contact plating
-
- H—ELECTRICITY
- H01—ELECTRIC ELEMENTS
- H01F—MAGNETS; INDUCTANCES; TRANSFORMERS; SELECTION OF MATERIALS FOR THEIR MAGNETIC PROPERTIES
- H01F41/00—Apparatus or processes specially adapted for manufacturing or assembling magnets, inductances or transformers; Apparatus or processes specially adapted for manufacturing materials characterised by their magnetic properties
- H01F41/14—Apparatus or processes specially adapted for manufacturing or assembling magnets, inductances or transformers; Apparatus or processes specially adapted for manufacturing materials characterised by their magnetic properties for applying magnetic films to substrates
- H01F41/24—Apparatus or processes specially adapted for manufacturing or assembling magnets, inductances or transformers; Apparatus or processes specially adapted for manufacturing materials characterised by their magnetic properties for applying magnetic films to substrates from liquids
-
- C—CHEMISTRY; METALLURGY
- C01—INORGANIC CHEMISTRY
- C01G—COMPOUNDS CONTAINING METALS NOT COVERED BY SUBCLASSES C01D OR C01F
- C01G49/00—Compounds of iron
- C01G49/0018—Mixed oxides or hydroxides
-
- C—CHEMISTRY; METALLURGY
- C23—COATING METALLIC MATERIAL; COATING MATERIAL WITH METALLIC MATERIAL; CHEMICAL SURFACE TREATMENT; DIFFUSION TREATMENT OF METALLIC MATERIAL; COATING BY VACUUM EVAPORATION, BY SPUTTERING, BY ION IMPLANTATION OR BY CHEMICAL VAPOUR DEPOSITION, IN GENERAL; INHIBITING CORROSION OF METALLIC MATERIAL OR INCRUSTATION IN GENERAL
- C23C—COATING METALLIC MATERIAL; COATING MATERIAL WITH METALLIC MATERIAL; SURFACE TREATMENT OF METALLIC MATERIAL BY DIFFUSION INTO THE SURFACE, BY CHEMICAL CONVERSION OR SUBSTITUTION; COATING BY VACUUM EVAPORATION, BY SPUTTERING, BY ION IMPLANTATION OR BY CHEMICAL VAPOUR DEPOSITION, IN GENERAL
- C23C18/00—Chemical coating by decomposition of either liquid compounds or solutions of the coating forming compounds, without leaving reaction products of surface material in the coating; Contact plating
- C23C18/02—Chemical coating by decomposition of either liquid compounds or solutions of the coating forming compounds, without leaving reaction products of surface material in the coating; Contact plating by thermal decomposition
- C23C18/12—Chemical coating by decomposition of either liquid compounds or solutions of the coating forming compounds, without leaving reaction products of surface material in the coating; Contact plating by thermal decomposition characterised by the deposition of inorganic material other than metallic material
-
- C—CHEMISTRY; METALLURGY
- C23—COATING METALLIC MATERIAL; COATING MATERIAL WITH METALLIC MATERIAL; CHEMICAL SURFACE TREATMENT; DIFFUSION TREATMENT OF METALLIC MATERIAL; COATING BY VACUUM EVAPORATION, BY SPUTTERING, BY ION IMPLANTATION OR BY CHEMICAL VAPOUR DEPOSITION, IN GENERAL; INHIBITING CORROSION OF METALLIC MATERIAL OR INCRUSTATION IN GENERAL
- C23C—COATING METALLIC MATERIAL; COATING MATERIAL WITH METALLIC MATERIAL; SURFACE TREATMENT OF METALLIC MATERIAL BY DIFFUSION INTO THE SURFACE, BY CHEMICAL CONVERSION OR SUBSTITUTION; COATING BY VACUUM EVAPORATION, BY SPUTTERING, BY ION IMPLANTATION OR BY CHEMICAL VAPOUR DEPOSITION, IN GENERAL
- C23C18/00—Chemical coating by decomposition of either liquid compounds or solutions of the coating forming compounds, without leaving reaction products of surface material in the coating; Contact plating
- C23C18/02—Chemical coating by decomposition of either liquid compounds or solutions of the coating forming compounds, without leaving reaction products of surface material in the coating; Contact plating by thermal decomposition
- C23C18/12—Chemical coating by decomposition of either liquid compounds or solutions of the coating forming compounds, without leaving reaction products of surface material in the coating; Contact plating by thermal decomposition characterised by the deposition of inorganic material other than metallic material
- C23C18/1204—Chemical coating by decomposition of either liquid compounds or solutions of the coating forming compounds, without leaving reaction products of surface material in the coating; Contact plating by thermal decomposition characterised by the deposition of inorganic material other than metallic material inorganic material, e.g. non-oxide and non-metallic such as sulfides, nitrides based compounds
- C23C18/1208—Oxides, e.g. ceramics
- C23C18/1216—Metal oxides
-
- Y—GENERAL TAGGING OF NEW TECHNOLOGICAL DEVELOPMENTS; GENERAL TAGGING OF CROSS-SECTIONAL TECHNOLOGIES SPANNING OVER SEVERAL SECTIONS OF THE IPC; TECHNICAL SUBJECTS COVERED BY FORMER USPC CROSS-REFERENCE ART COLLECTIONS [XRACs] AND DIGESTS
- Y10—TECHNICAL SUBJECTS COVERED BY FORMER USPC
- Y10T—TECHNICAL SUBJECTS COVERED BY FORMER US CLASSIFICATION
- Y10T428/00—Stock material or miscellaneous articles
- Y10T428/24—Structurally defined web or sheet [e.g., overall dimension, etc.]
- Y10T428/24942—Structurally defined web or sheet [e.g., overall dimension, etc.] including components having same physical characteristic in differing degree
- Y10T428/2495—Thickness [relative or absolute]
-
- Y—GENERAL TAGGING OF NEW TECHNOLOGICAL DEVELOPMENTS; GENERAL TAGGING OF CROSS-SECTIONAL TECHNOLOGIES SPANNING OVER SEVERAL SECTIONS OF THE IPC; TECHNICAL SUBJECTS COVERED BY FORMER USPC CROSS-REFERENCE ART COLLECTIONS [XRACs] AND DIGESTS
- Y10—TECHNICAL SUBJECTS COVERED BY FORMER USPC
- Y10T—TECHNICAL SUBJECTS COVERED BY FORMER US CLASSIFICATION
- Y10T428/00—Stock material or miscellaneous articles
- Y10T428/26—Web or sheet containing structurally defined element or component, the element or component having a specified physical dimension
Landscapes
- Chemical & Material Sciences (AREA)
- Engineering & Computer Science (AREA)
- Organic Chemistry (AREA)
- Inorganic Chemistry (AREA)
- Materials Engineering (AREA)
- Mechanical Engineering (AREA)
- Metallurgy (AREA)
- Chemical Kinetics & Catalysis (AREA)
- General Chemical & Material Sciences (AREA)
- Physics & Mathematics (AREA)
- Thermal Sciences (AREA)
- Power Engineering (AREA)
- Ceramic Engineering (AREA)
- Manufacturing & Machinery (AREA)
- Thin Magnetic Films (AREA)
- Compounds Of Iron (AREA)
- Chemically Coating (AREA)
Abstract
【解決手段】基体3とその基体3に付着したフェライト膜とを備えるフェライト付着体を製造する製造方法を提供する。この製造方法は、基体3の裏側に100μm以上のスペースを空けた状態で基体3を支持し、少なくとも第1鉄イオンを含む反応液と少なくとも酸化剤を含む酸化液とを反応液ノズル1及び酸化液ノズル2から基体3の表側に供給し、反応液と前記酸化液に対して重力以外に起因する2〜150m/s2の加速度を加える。
【選択図】図1
Description
2 酸化液ノズル
3 基体
4 支持部材
5 台(回転テーブル)
6 フェライト膜
Claims (12)
- 基体と該基体に付着したフェライト膜とを備えるフェライト付着体を製造する製造方法であって、
前記基体の裏側に100μm以上のスペースを空けた状態で前記基体を支持し、
少なくとも第1鉄イオンを含む反応液と少なくとも酸化剤を含む酸化液とを前記基体の表側に供給し、
前記反応液と前記酸化液に対して重力以外に起因する2〜150m/s2の加速度を加える
製造方法。 - 請求項1記載の製造方法であって、
前記基体の支持は、台の上に支持部材を配置し、前記台と前記基体との間に前記スペースを確保した状態で前記支持部材によって前記基体を支持することにより、行われる
製造方法。 - 請求項2記載の製造方法であって、
前記加速度は、前記台を回転させることにより生じる遠心力に起因するものである
製造方法。 - 請求項1又は請求項2記載の製造方法であって、
前記加速度は、前記基体に振動を与えることにより生じるものである
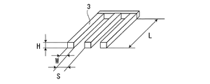
製造方法。 - 請求項1乃至請求項4のいずれかに記載の製造方法であって、
前記基体は、棒状の部位を有しており、
前記棒状の部位は、5mm以下の最大幅を有すると共に5mm以下の最大高さを有している
製造方法。 - 請求項1乃至請求項5のいずれかに記載の製造方法であって、
前記基体は、隙間を空けて設けられた複数の棒状の部位を有しており、
前記棒状の部位の夫々は、5mm以下の最大幅を有すると共に5mm以下の最大高さを有しており、
前記隙間は100μm以上である
製造方法。 - 請求項1乃至請求項6のいずれかに記載の製造方法であって、
前記基体の前記表側に対して前記反応液と前記酸化液を直接供給し且つ前記加速度を加えてフェライト膜を直接形成した後、前記基体の前記裏側に対して前記反応液と前記酸化液を直接供給し且つ前記加速度を加えてフェライト膜を直接形成する
製造方法。 - 三次元形状の基体と該基体に付着したフェライト膜とを備えるフェライト付着体であって、前記フェライト膜の平均膜厚xと膜厚の標準偏差σの比σ/xが1以下であるフェライト付着体。
- 請求項8記載のフェライト付着体であって、
前記基体は、少なくとも隣接する二つの面を備えており、
前記フェライト膜は、前記二つの面の夫々の上に直接形成されており、
前記二つの面の上に形成された前記フェライト膜は、互いに磁気的に結合している
フェライト付着体。 - 請求項8又は請求項9記載のフェライト付着体であって、
前記基体は、棒状の部位を有しており、
前記棒状の部位は、5mm以下の最大幅を有すると共に5mm以下の最大高さを有している
フェライト付着体。 - 請求項8又は請求項9記載のフェライト付着体であって、
前記基体は、隙間を空けて設けられた複数の棒状の部位を有しており、
前記棒状の部位の夫々は、5mm以下の最大幅を有すると共に5mm以下の最大高さを有しており、
前記隙間は100μm以上である
フェライト付着体。 - 請求項8乃至請求項11のいずれかに記載のフェライト付着体であって、
前記フェライト膜は、長軸及び短軸を有し且つ前記長軸を前記フェライト膜の膜厚方向に沿うようにして並べてなる複数の柱状結晶からなり、
前記柱状結晶の前記長軸は0.1〜10μmであり、前記短軸は0.01〜1μmである
フェライト付着体。
Priority Applications (1)
| Application Number | Priority Date | Filing Date | Title |
|---|---|---|---|
| JP2009176209A JP4410838B1 (ja) | 2008-09-25 | 2009-07-29 | フェライト付着体及びその製造方法 |
Applications Claiming Priority (2)
| Application Number | Priority Date | Filing Date | Title |
|---|---|---|---|
| JP2008245066 | 2008-09-25 | ||
| JP2009176209A JP4410838B1 (ja) | 2008-09-25 | 2009-07-29 | フェライト付着体及びその製造方法 |
Publications (2)
| Publication Number | Publication Date |
|---|---|
| JP4410838B1 JP4410838B1 (ja) | 2010-02-03 |
| JP2010100928A true JP2010100928A (ja) | 2010-05-06 |
Family
ID=41739256
Family Applications (1)
| Application Number | Title | Priority Date | Filing Date |
|---|---|---|---|
| JP2009176209A Active JP4410838B1 (ja) | 2008-09-25 | 2009-07-29 | フェライト付着体及びその製造方法 |
Country Status (5)
| Country | Link |
|---|---|
| US (1) | US20110183130A1 (ja) |
| JP (1) | JP4410838B1 (ja) |
| KR (1) | KR101596476B1 (ja) |
| CN (1) | CN102159749B (ja) |
| WO (1) | WO2010035383A1 (ja) |
Families Citing this family (2)
| Publication number | Priority date | Publication date | Assignee | Title |
|---|---|---|---|---|
| CN102330077A (zh) * | 2011-09-13 | 2012-01-25 | 南京航空航天大学 | 喷射化学镀加工多层膜的方法及装置 |
| CN113070196B (zh) * | 2021-03-01 | 2022-05-03 | 电子科技大学 | 一种改善旋转喷涂制备NiZn铁氧体薄膜性能的方法 |
Family Cites Families (11)
| Publication number | Priority date | Publication date | Assignee | Title |
|---|---|---|---|---|
| US4392013A (en) * | 1979-12-27 | 1983-07-05 | Asahi Kasei Kogyo Kabushiki Kaisha | Fine-patterned thick film conductor structure and manufacturing method thereof |
| JPS59111929A (ja) * | 1982-12-15 | 1984-06-28 | Masanori Abe | フエライト膜作製方法 |
| JPH11168010A (ja) * | 1997-12-04 | 1999-06-22 | Yamaha Corp | マイクロインダクタ |
| JP2002015415A (ja) * | 2000-06-29 | 2002-01-18 | Fuji Photo Film Co Ltd | 磁気ディスク |
| JP2005129766A (ja) * | 2003-10-24 | 2005-05-19 | Nec Tokin Corp | プリント回路基板及びその製造方法 |
| JP2005126776A (ja) * | 2003-10-24 | 2005-05-19 | Nec Tokin Corp | 柱状結晶を有するフェライト膜、及びその製造方法 |
| JP4480016B2 (ja) * | 2005-03-04 | 2010-06-16 | Necトーキン株式会社 | フェライト膜製造装置 |
| JP4515336B2 (ja) * | 2005-06-13 | 2010-07-28 | Necトーキン株式会社 | フェライト膜の製造装置 |
| CN101300648B (zh) * | 2005-11-01 | 2012-06-20 | 株式会社东芝 | 平面磁性元件及使用了该元件的电源ic组件 |
| JP2007250924A (ja) * | 2006-03-17 | 2007-09-27 | Sony Corp | インダクタ素子とその製造方法、並びにインダクタ素子を用いた半導体モジュール |
| JP2008091974A (ja) * | 2006-09-29 | 2008-04-17 | Nec Tokin Corp | アンテナおよびそれを用いたrfidタグ |
-
2009
- 2009-07-29 WO PCT/JP2009/003584 patent/WO2010035383A1/ja not_active Ceased
- 2009-07-29 JP JP2009176209A patent/JP4410838B1/ja active Active
- 2009-07-29 US US13/121,108 patent/US20110183130A1/en not_active Abandoned
- 2009-07-29 KR KR1020117006568A patent/KR101596476B1/ko active Active
- 2009-07-29 CN CN200980136558XA patent/CN102159749B/zh not_active Expired - Fee Related
Also Published As
| Publication number | Publication date |
|---|---|
| WO2010035383A1 (ja) | 2010-04-01 |
| KR20110066149A (ko) | 2011-06-16 |
| CN102159749A (zh) | 2011-08-17 |
| US20110183130A1 (en) | 2011-07-28 |
| CN102159749B (zh) | 2013-01-23 |
| JP4410838B1 (ja) | 2010-02-03 |
| KR101596476B1 (ko) | 2016-02-22 |
Similar Documents
| Publication | Publication Date | Title |
|---|---|---|
| JP2016056421A (ja) | 無電解ニッケル又はニッケル合金メッキ用のニッケルコロイド触媒液並びに無電解ニッケル又はニッケル合金メッキ方法 | |
| TW201335422A (zh) | 無電鍍鎳或無電鍍鎳合金用的前處理液及電鍍方法 | |
| JP4410838B1 (ja) | フェライト付着体及びその製造方法 | |
| US7160636B2 (en) | Ferrite thin film, method of manufacturing the same and electromagnetic noise suppressor using the same | |
| WO2014051061A1 (ja) | めっき処理のための触媒粒子を担持する基板の処理方法 | |
| JP2016528388A (ja) | 高速無電解めっきを用いる電導性イメージの形成 | |
| CN110230045A (zh) | 用于化学镀的催化剂溶液 | |
| Chakraborty et al. | Templated electroless nickel deposition for patterning applications | |
| Malki et al. | Thin electroless Co (W, P) film growth on titanium–nitride layer modified by self-assembled monolayer | |
| Rohan et al. | Electroless thin film CoNiFe–B alloys for integrated magnetics on Si | |
| US10294119B2 (en) | Zinc ferrite film and method for manufacturing zinc ferrite film | |
| JP4110286B2 (ja) | フェライト薄膜の軟磁気特性の評価方法、フェライト薄膜の製造方法 | |
| JP2005129766A (ja) | プリント回路基板及びその製造方法 | |
| JP4480016B2 (ja) | フェライト膜製造装置 | |
| JP2005126776A (ja) | 柱状結晶を有するフェライト膜、及びその製造方法 | |
| JP2009024193A (ja) | 金属ナノ粒子の製造方法、金属ナノ粒子、金属ナノ粒子分散体および金属被膜 | |
| KR20150014753A (ko) | 코어-쉘 금속 입자의 제조방법 | |
| JP2018009232A (ja) | 無電解めっき用前処理液 | |
| JP4515336B2 (ja) | フェライト膜の製造装置 | |
| JP3926780B2 (ja) | フェライト薄膜の製造方法 | |
| JP2005298875A (ja) | フェライト膜およびそれを用いた支持体、電子配線基板、および半導体集積ウェハ | |
| JP3964379B2 (ja) | フェライト膜の製造装置 | |
| JP3957183B2 (ja) | フェライト膜、及びその製造方法 | |
| JP4251482B2 (ja) | 電磁干渉抑制体 | |
| JP4521814B2 (ja) | フェライト膜の製造装置 |
Legal Events
| Date | Code | Title | Description |
|---|---|---|---|
| TRDD | Decision of grant or rejection written | ||
| A01 | Written decision to grant a patent or to grant a registration (utility model) |
Free format text: JAPANESE INTERMEDIATE CODE: A01 Effective date: 20091029 |
|
| A01 | Written decision to grant a patent or to grant a registration (utility model) |
Free format text: JAPANESE INTERMEDIATE CODE: A01 |
|
| A61 | First payment of annual fees (during grant procedure) |
Free format text: JAPANESE INTERMEDIATE CODE: A61 Effective date: 20091113 |
|
| R150 | Certificate of patent or registration of utility model |
Ref document number: 4410838 Country of ref document: JP Free format text: JAPANESE INTERMEDIATE CODE: R150 Free format text: JAPANESE INTERMEDIATE CODE: R150 |
|
| FPAY | Renewal fee payment (event date is renewal date of database) |
Free format text: PAYMENT UNTIL: 20121120 Year of fee payment: 3 |
|
| FPAY | Renewal fee payment (event date is renewal date of database) |
Free format text: PAYMENT UNTIL: 20131120 Year of fee payment: 4 |
|
| S533 | Written request for registration of change of name |
Free format text: JAPANESE INTERMEDIATE CODE: R313533 |
|
| R350 | Written notification of registration of transfer |
Free format text: JAPANESE INTERMEDIATE CODE: R350 |
|
| R250 | Receipt of annual fees |
Free format text: JAPANESE INTERMEDIATE CODE: R250 |
|
| R250 | Receipt of annual fees |
Free format text: JAPANESE INTERMEDIATE CODE: R250 |
|
| R250 | Receipt of annual fees |
Free format text: JAPANESE INTERMEDIATE CODE: R250 |
|
| R250 | Receipt of annual fees |
Free format text: JAPANESE INTERMEDIATE CODE: R250 |
|
| R250 | Receipt of annual fees |
Free format text: JAPANESE INTERMEDIATE CODE: R250 |
|
| R250 | Receipt of annual fees |
Free format text: JAPANESE INTERMEDIATE CODE: R250 |
|
| R250 | Receipt of annual fees |
Free format text: JAPANESE INTERMEDIATE CODE: R250 |
