JP2010089512A - 孔版両面印刷装置 - Google Patents

孔版両面印刷装置 Download PDF

Info

Publication number
JP2010089512A
JP2010089512A JP2009280640A JP2009280640A JP2010089512A JP 2010089512 A JP2010089512 A JP 2010089512A JP 2009280640 A JP2009280640 A JP 2009280640A JP 2009280640 A JP2009280640 A JP 2009280640A JP 2010089512 A JP2010089512 A JP 2010089512A
Authority
JP
Japan
Prior art keywords
paper
printing
roller
outer peripheral
printed
Prior art date
Legal status (The legal status is an assumption and is not a legal conclusion. Google has not performed a legal analysis and makes no representation as to the accuracy of the status listed.)
Granted
Application number
JP2009280640A
Other languages
English (en)
Other versions
JP4850280B2 (ja
Inventor
Takeshi Matsushita
健 松下
Tomoyuki Tachibana
知亨 橘
Current Assignee (The listed assignees may be inaccurate. Google has not performed a legal analysis and makes no representation or warranty as to the accuracy of the list.)
Duplo Seiko Corp
Original Assignee
Duplo Seiko Corp
Priority date (The priority date is an assumption and is not a legal conclusion. Google has not performed a legal analysis and makes no representation as to the accuracy of the date listed.)
Filing date
Publication date
Application filed by Duplo Seiko Corp filed Critical Duplo Seiko Corp
Priority to JP2009280640A priority Critical patent/JP4850280B2/ja
Publication of JP2010089512A publication Critical patent/JP2010089512A/ja
Application granted granted Critical
Publication of JP4850280B2 publication Critical patent/JP4850280B2/ja
Anticipated expiration legal-status Critical
Expired - Lifetime legal-status Critical Current

Links

Images

Landscapes

  • Delivering By Means Of Belts And Rollers (AREA)

Abstract

【課題】第2の画像形成部へ搬送する片面印刷済み用紙の汚れを防止し、確実に搬送する。
【解決手段】片面を印刷する第1の印刷部11と、他面を印刷する第2の印刷部12と、片面印刷済みの印刷用紙を積載する積載台30と、該積載台30に積載された片面印刷済みの印刷用紙の印刷済み面に接触し、積載順に吸引しつつ送り出す給紙ベルト66と、該給紙ベルト66から送り出された片面印刷済み用紙を前記第2の印刷部12に搬送する搬送装置33とを備える。前記第2の印刷部12の版胴39と押圧部材の間で形成される画像形成部の近傍に、版胴39の駆動タイミングと同期駆動し印刷用紙を挟持して上記画像形成部へ送り込むタイミングローラ35とガイドローラ37を対向配置し、前記タイミングローラ35には、微細粒状体により構成されると共に撥インク性材料が塗布された外周層を形成する。
【選択図】図2

Description

本発明は、孔版両面印刷装置に関し、特に、印刷部(版胴)を2組備え、印刷用紙の両面を印刷できる孔版両面印刷装置に適した技術に関する。
孔版印刷装置の給紙装置から排紙装置に至る用紙搬送経路には、版胴及びこの版胴に圧接可能な押圧ローラが配置されると共に、印刷用紙に接触して印刷用紙を移動するための各種搬送あるいは給紙部材が配置されている。たとえば、図15は従来の孔版両面印刷装置を示しており、印刷装置本体201内には給紙装置202から排紙装置203に至る用紙搬送経路が形成され、用紙搬送経路の途中には、第1の版胴205及びこれに圧接可能な第1の押圧ローラ206と、上記第1の版胴205よりも排紙装置側に位置する第2の版胴210及びこれに圧接可能な第2の押圧ローラ211が配置されている。各版胴205、210と押圧ローラ206、211間で形成される画像形成部A1、A2の給紙側の近傍には、各版胴205、210の駆動タイミングと同期して用紙を画像形成部内に送り込むタイミングローラ207、217が配置され、第1、第2の画像形成部A1、A2間には、第1の画像形成部A1から第2の画像形成部A2へ片面印刷済みの用紙を搬送する再給紙兼搬送ベルト220が配置されている。
このような孔版両面印刷装置により多数の印刷用紙を連続印刷する場合、第1の画像形成部A1で片面が印刷された用紙は、インクが乾く前に第2の画像形成部A2へ搬送されて他面が印刷されることになるため、第1の画像形成部A1より下流側に配置された各用紙移送用等の部材には、上記印刷済み片面のインクが転写し、この転写インクが後から搬送されてくる印刷用紙に再転写して、用紙を汚すという問題があった。
この再転写による用紙の汚れを防止する対策として、たとえば第2の押圧ローラ211の外周面に微小な凹凸を設けたり、あるいはインク転写防止用の液剤を塗布したものがある(特許文献1等参照)。
また、印刷後の用紙処理装置においては、印刷用紙の印刷面の余剰インクをこれに接触する接触ローラ表面のインク除去液により除去する手段と、接触ローラ表面の除去インクをクリーニングする手段を備えたものがあり(特許文献2参照)、これにより余剰インクを除去し、さらに、接触ローラから対向ローラへのインクの再転写を防ぐために、対向ローラを撥インク材料で形成している。
特開2002−219849号公報。 特開平8−132593号公報。
図15の孔版両面印刷装置では、第1の画像形成部A1から第2の画像形成部A2への搬送途中において、搬送ベルト220は非印刷面に接触するのでインク汚れの可能性は少ないが、そのために第2の版胴210と第2の押圧ローラ211との上下関係を、第1の版胴205と第1の押圧ローラ206との上下関係の逆にしなければならないと共に、第2の版胴210の内部のインク供給機構221を第2の版胴210内の上端部に配置しなければならず、印刷装置全体の上下方向のコンパクト性に問題がでてくると共に、インク供給機構がスペース的に配置しにくく、また、第2の画像形成部A2へのインク供給の安定性が損なわれるおそれもある。また、第2のタイミングローラ217は第1の画像形成部A1で印刷された直後の印刷面に接触し、また、排紙装置203のベルトは、第2の画像形成部A2で印刷された直後の印刷面が接触し、インクが転写する可能性が大きい。なお、第2の押圧ローラ216に対して転写防止液を塗布するのと同様に第2のタイミングローラ217等に転写防止液を塗布する場合には、塗布後、一定期間経つと液切れするおそれあり、メンテナンスにも手間がかかる。
さらに特許文献2のように、インク除去液により印刷面のインクを積極的に除去する構造では、構造が複雑になると共にメンテナンスに手間がかかる。
上記課題を解決するため、本発明は、印刷用紙の片面を印刷する第1の印刷部(11)と、第1の印刷部(11)により片面が印刷された印刷用紙の他面を印刷する第2の印刷部(12)と、第1の印刷部(11)から排出される片面印刷済みの印刷用紙を積載する積載台(30)と、該積載台(30)に積載された片面印刷済みの印刷用紙の印刷済み面に接触し、積載順に吸引しつつ送り出す給紙ベルト(66)と、該給紙ベルト(66)から送り出された片面印刷済み用紙を前記第2の印刷部(12)に搬送する搬送装置(33)とを備え、前記第2の印刷部(12)は、孔版原紙が装着される回転可能な版胴(39)と、該版胴(39)にインクを供給するインク供給部と、上記版胴(39)との間に印刷用紙を挟持し搬送することにより印刷用紙にインクを転写させる押圧部材を備えている孔版両面印刷装置において、前記第2の印刷部(12)の版胴(39)と押圧部材の間で形成される画像形成部の近傍に、版胴(39)の駆動タイミングと同期駆動し印刷用紙を挟持して上記画像形成部へ送り込むタイミングローラ(35)とガイドローラ(37)を対向配置し、前記タイミングローラ(35)には、微細粒状体により構成されると共に撥インク性材料が塗布された外周層を形成してある。
タイミングローラの外周面に微細粒状体により構成されると共に撥インク性材料が塗布された外周層を形成してあることにより、印刷用紙との間のスリップを防止でき、印刷用紙を確実に送り出しあるいは搬送することができる。
特に、2つの版胴を備え、連続して用紙の表面と裏面を印刷する孔版両面印刷装置において、表面印刷後、第2の版胴への再給紙及び搬送時並びに再送り込み時に発生し易いインク転写を効果的に防ぐことができ、利用価値が高くなる。
本発明が適用される孔版両面印刷装置であって、内部を透視して示す概略正面図である。 図1の孔版両面印刷装置内の要部の構造を示す拡大正面図である。 図2のIII-III範囲に相当する平面図である。 用紙積載台及び中間給紙装置の平面図である。 印刷部の拡大斜視図である。 押圧ローラの表面加工方法の一例を示す正面図である。 タイミングローラの斜視図である。 タイミングローラの正面拡大図である。 搬送ローラの斜視図である。 搬送ローラの正面図である。 給紙ベルトの部分拡大斜視図である。 本発明の実施例1であり、給紙ベルトの再転写による用紙汚れ試験の結果表である。 本発明の実施例2であり、搬送ローラの再転写による用紙汚れ試験の結果表である。 本発明の実施例3であり、押圧ローラ又はタイミングローラの再転写による用紙汚れ試験の結果表である。 従来例の縦断面略図である。 印刷に使用するインクの構造模式図である。
[孔版両面印刷装置の全体構造]
図1〜図4は、本発明に係るタイミングローラ、再給紙ベルト(給紙ベルト)、搬送ローラ及び押圧ローラを備えた孔版両面印刷装置である。説明の都合上、概略透視正面である図1に記載してあるように、給紙装置2の配置側を「後側」、排紙装置3の配置側を「前側」と称して、以下説明する。
図1において、印刷装置本体1には、前記排紙装置3及び給紙装置2と共に、上側に画像読取装置4、正面側に操作パネル5及び制御装置6等が設けられている。
印刷装置本体1内の後半部には第1の印刷部11が設けられ、前半部には上記第1の印刷部11と平行に第2の印刷部12が設けられ、両印刷部11、12はそれぞれ第1、第2の製版部13及び第1、第2の排版部14を備えている。
第1の印刷部11の前側には、第1の印刷部11で印刷されて排出される片面印刷済みの用紙Nを前方へ搬出する搬出ベルト28が設けられている。
第1の印刷部11の下方には、前上がり状に傾斜した再給紙用の用紙積載台30が配置されており、該用紙積載台30の前端と前記搬出ベルト28の前端の間には、反転搬送装置36が設けられ、さらに用紙積載台30の前端には、用紙積載台30と略同じ角度で傾斜したベルト式の吸引機構付再給紙装置31が配置され、該再給紙装置31の前端には前上方に延びる中間搬送装置33が配置され、該中間搬送装置33は第2の印刷部12の第2のタイミングローラ35に至っている。
[給紙装置]
前記給紙装置2は、給紙台18、給紙ローラ20、第1のタイミングローラ21及び該第1のタイミングローラ21に圧接するガイドローラ22等を備えており、給紙台18に載置された印刷用紙Nを、給紙ローラ20により上から1枚ずつ繰り出し、タイミングローラ21へ送り出すようになっている。第1のタイミングローラ21は第1の印刷部11の駆動と同期して適宜タイミングで回転し、ガイドローラ22と協同して印刷用紙Nを第1の印刷部11へ送り込むようになっている。
[排紙装置]
前記排紙装置3は、吸引ファン等の吸引機構26を有する排紙ベルト25と、両面印刷済みの用紙を積載する紙受台27とを備えており、排紙ベルト25には多数の貫通孔が形成され、下方に配置された前記吸引機構26により、排紙ベルト25上の用紙Nを排紙ベルト25に吸着するようになっている。
[第1、第2印刷部]
図2は印刷装置本体1の内部の正面図であり、第1の印刷部11は、内部にインクローラ41が内接すると共に矢印R方向に回転駆動する第1の版胴39と、該版胴39に下方から圧接可能に対向する第1の押圧ローラ40等から構成されており、版胴39の周壁には多数の孔が形成されると共に、製版された孔版原紙が装着されるようになっている。インクローラ41の外周面にはスキィージー42等からなるインク供給部が設けられ、該インク供給部には図示しないインクタンクからのインクが、インク供給管43から供給されるようになっている。第2の印刷部12も第2の版胴39と、該版胴39に下方から圧接可能に対向する第2の押圧ローラ42等から構成されており、基本的には第1の印刷部11と同様な構造となっており、対応する部品には同じ符号を付し、説明は省略する。
[反転搬送装置]
反転搬送装置36は、吸引ダクトを兼ねるベルトガイド筒45と、ゴム製の反転搬送ベルト46等から構成されている。ベルトガイド筒45は、たとえばステンレス鋼板により筒箱状に形成されており、上端が前記第1の印刷部11の搬出ベルト28と概ね同じ高さに位置し、前壁面は上半部が半円形状に前方へ突出し、下半部が前記中間用紙積載台30と概ね同じ傾斜角度で、後下方に直線状に延びている。ベルトガイド筒45の後壁の上下端近傍にはそれぞれ回転ローラ48、49が配置され、上記両回転ローラ48、49間にはテンションローラ50が配置され、各ローラ48、49、50とベルトガイド筒45の前壁表面に亘って、前記反転搬送ベルト46が巻き掛けられている。
反転搬送経路Mは上記反転搬送ベルト46の外周に沿って形成されている。すなわち、反転搬送経路Mは、前記搬出ベルト28の前端部(出口端部)近傍から前方に突出すると共に湾曲状に後下方に回り込み、後下方に延びて中間用紙積載台30の前端部上方近傍まで形成されている。ベルトガイド筒45内は吸引ファン(吸引機構)52の吸引口に接続しており、該吸引ファン52によりベルトガイド筒45内に負圧を発生させている。
上記反転搬送装置36には反転搬送ガイド47が備えられており、該反転搬送ガイド47は、ベルトガイド筒45の前壁に対して所定間隔をおいて配置されると共に、反転搬送経路Mに沿って形成されている。
図3は図2の範囲III部分の平面図であり、反転搬送ベルト46は多数の吸引孔53を有すると共に、たとえば左右方向に間隔をおいて3枚に分割配置されており、ベルトガイド筒45の周壁には、各反転搬送ベルト46に対応する位置に複数の吸引口54が形成され、該吸引口54から反転搬送ベルト46上の用紙を吸引するようになっている。吸引口54は反転搬送経路に沿って帯状に長く形成されている。
反転搬送ガイド47は、たとえばステンレス鋼の細い棒状部材でできており、合計5本が配置されている。
[再給紙用の用紙積載台]
図2において、用紙積載台30は、底板58と、該底板58の上面に前後位置調節可能に立設された後板59と、左右位置調節可能に立設された左右1対の側板60から構成されている。用紙積載台30の上方には、可撓性を有する樹脂帯板製のガイド板61が配置されており、該ガイド板61の前上端部は前記反転搬送経路Mの出口の上部に固定され、後方に行くに従い用紙積載台30の底板58に近付くように傾斜し、後端部は後板59の近傍位置で底板58に接触可能となっている。
[再給紙装置及び送風装置]
図4において、再給紙装置31は、前後一対のローラ65と、該ローラ65間に巻き掛けられた給紙ベルト66と、吸引ダクト兼ベルトガイド筒67から構成されており、一方のローラ65は駆動モータ88に連動連結している。
給紙ベルト66は、一例として左右方向に間隔を置いて5列又は7列に分割配置されている。ベルトガイド筒67は、吸引ファン69に連通すると共に、各再給紙ベルト66の左右両側に対応する位置にそれぞれ吸引口68が形成され、用紙を再給紙ベルト66に吸着できるようになっている。各吸引口68は、前後方向に長い長方形に形成されている。
再給紙装置31の前側には、用紙繰出し時に最下位置の用紙と2枚目以上の用紙を分離すると共に初期乾燥するために、送風装置71が配置されている。該送風装置71は、送風ファン73に連通するダクト72と、該ダクト72の後面から後方に向かって開口する送風ガイド板74を備えており、積載状態の用紙Nの前端縁の下端部に向って送風するようになっている。
用紙積載台30の後方には、図2のように補助の送風装置(送風ファン)64も配置されており、後板59に形成された孔を通して積載台30上の積載用紙Nの後端に風を送るようになっている。
[中間搬送装置]
図2において、中間搬送装置33は、複数枚の搬送ガイド板81と、該搬送ガイド板81を挟むように上下に対向配置された複数対の搬送ローラ80等から構成されている。搬送ガイド板81は、再給紙装置31の前端から第2の印刷部12の第2のタイミングローラ35に至るまで複数に分割されており、各搬送ローラ80の対は、搬送経路に間隔を置いて配置されている。
平面図を示す図3において、搬送ガイド板81は樹脂製の帯板でできており、たとえば左右方向に間隔を置いて複数例に分割配置されている。搬送ローラ80は、ローラ軸81aの上記各搬送ガイド板81間の部分に形成されている。
[押圧ローラの構造]
図5は第2の印刷部12の拡大斜視図であり、版胴39の下側に配置された第2の押圧ローラ42は、上下揺動可能な揺動アーム100に回転可能に支持されたローラ軸101と、該ローラ軸101の外周に固着されたゴム製(たとえばNBR製)の円筒状ローラ部(本体)103とを有し、該ローラ部103の外周面には、本発明にしたがって撥インク性を有する固体材料からなる外周層104が形成されている。上記撥インク性は、ウォーターインオイル型エマルジョンタイプのインクの使用を基準としているので、基本的には撥油性である。孔版印刷装置に用いられるインクはエマルジョンタイプであり、たとえばウォーターインオイル型は、図16のように水110の外周を油111が包み込み、油111中に顔料が分散する構成となっている。これとは逆に、オイルインウォーター型の場合、撥インク性は撥水性の意味であり、使用インクに対応させることが必要である。
第2の押圧ローラ42の外周層104を形成する固体材料としては、ポリエステル系樹脂、フッ素系樹脂又はシリコンゴムが用いられており、いずれの材料もインクに対して親和性を有しておらず、撥インク性を有している。
上記第2の押圧ローラ42の外周層104の形成方法として、テープ状又はフイルム状の外周層形成用の樹脂材を被覆することも可能である。
[第2のタイミングローラの構造]
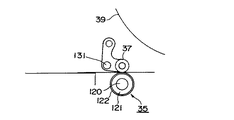
図7は第2印刷部12の第2のタイミングローラ35の斜視図であり、ローラ軸120の外周に、複数のローラ部121が軸心方向に間隔を置いて固着されており、各ローラ部121はニトリルゴム(NBR)又はアルミ等の金属で形成され、該ローラ部121の外周に形成される外周層122は、本発明にしたがって次のいずれかの構造となっている。
(1)撥インク性を有する固体材料からなる外周層122を形成する。たとえば撥インク性を有するフッ素系樹脂により外周層122を形成する。
(2)微細粒状体からなる外周層122を形成する。たとえば粉体セラミック(♯240、又は♯600)をローラ部121の外周面にコート処理することにより外周層122を形成する。そのコーティング方法としては、塗料の粉体セラミックを分散させ、吹き付け塗装を行なう方法、外周面に接着剤を塗布し粉体セラミックを接着させる方法、又は粉体セラミックを外周面に溶射する方法等が適用できる。この場合ローラ部121はアルミ等の金属製とされる。
(3)上記のように外周層122を微細粒状体により構成すると共に、撥インク性材料を塗布することも可能である。
なお、図8のように、第2のタイミングローラ35と対向配置されたガイドローラ37は、支軸131周りに揺動可能であり、第2の版胴39と同期して第2のタイミングローラ35との間で印刷用紙Nを挟持する。このガイドローラ37の外周面にも第2のタイミングローラ35と同様の外周層を形成することは可能である。
[給紙ベルトの構造]
図11は再給紙装置31の給紙ベルト66の部分拡大斜視図であり、給紙ベルト66の本体部分はエチレンプロピレンゴム(EPDM)で形成され、該本体部分の外周に形成される外周層126は、本発明にしたがって次のいずれかの構造となっている。
(1)微細粒状体を塗着した外周層126を形成する。たとえば表面粗さがサンドペーパーの♯400程度になるように外周層126を形成する。
(2)撥インク性を有する固体材料からなる外周層126を形成する。たとえば、表面に凹凸を有すると共に撥インク性も有する上質クレープ紙の表面と同等の外周層126を形成する。
[搬送ローラの構造]
図9は中間搬送装置33の搬送ローラ80の斜視図であり、上下の各ローラ軸80aの外周に、複数のローラ部132が軸心方向に間隔を置いて固着されており、各ローラ部132は本体部分がニトリルゴム(NBR)又はアルミ等の金属で形成されているが、図10に示すように、片面印刷済み用紙の印刷面に接触する下側のローラ部132はアルミ等の金属製とされ、本発明にしたがって、多数の点接触で用紙に当接する外周層133を有している。外周層の具体的構造は以下のいずれかである。
(1)外周面にローレット加工を施すことにより、たとえばあやめパターン(M=0.2)のローレット加工面を有する外周層133を形成する。
(2)微細粒状体からなる外周層133を形成する。たとえば粉体セラミック(♯240、又は♯600等)を外周面にコーティングすることにより外周層133を形成する。そのコーティング方法としては、前記タイミングローラ35と同様、塗料の粉体セラミックを分散させ、吹き付け塗装を行なう方法、外周面に接着剤を塗布し粉体セラミックを接着させる方法、又は粉体セラミックを外周面に溶射する方法等が適用できる。
(3)上記のように外周層133を微細粒状体により構成すると共に、撥インク性材料を塗布することも可能である。
[印刷工程]
(1)図1において、画像読取装置4で原稿の表裏各面をそれぞれ読み取り、それらを第1、第2の製版部13でそれぞれ製版し、製版後の孔版原紙(マスター)をそれぞれの版胴39に装着する。
(2)印刷スタートすると、給紙台18の印刷用紙は、給紙ローラ20により1枚ずつ連続して繰り出され、第1のタイミングローラ21により第1の印刷部11の版胴39の回転と同期して、版胴39の下端画像形成部分に送り込まれ、用紙の片面(上面)が印刷される。
(3)第1の印刷部11で片面が印刷された用紙は、図2において、搬出ベルト28を経て反転搬送装置36に送り込まれ、吸引ダクトを兼ねたベルトガイド筒45内の負圧により、未印刷面(下面)が反転搬送ベルト46の外周面に吸着される。そして、吸着された状態で湾曲状の反転搬送経路M内を搬送され、反転搬送経路Mの後下端出口から用紙積載台30上に放出される。
(4)用紙積載台30上に一定枚数の片面印刷用紙が積載されると、再給紙装置31、中間搬送装置33、第2の印刷部12及び排紙装置3が始動し、用紙積載台30の片面印刷済み用紙を積載順に再給紙し、搬送し、第2の印刷部12へ供給し、他面の印刷作業が行なわれる。
(5)再給紙装置31による再給紙過程において、用紙積載台30の最下位置の用紙は、その印刷面(下面)が給紙ベルト66に吸着されて前上方へ送り出されるが、給紙ベルトの外周面には、図11のように撥インク性を有する凹凸面又は微細粒状体を塗着した外周層126が形成されているので、給紙ベルト66の表面へのインクの転写は防がれる。また、印刷用紙のスリップも防止できる。
(6)図2において、再給紙装置31により送り出された片面印刷済みの用紙は、上下の搬送ローラ80の間で挟持され、搬送ローラ80の回転によりガイド板81上を前上方に搬送される。この搬送ローラ80による搬送過程において、用紙は、その印刷面(下面)が下側の搬送ローラ80に接触して前上方へ搬送されるが、図10のように下側搬送ローラ80のローラ部132の外周面には、前述のようにローレット加工又は粉体セラミックコーティングを施した外周層133が形成されているので、搬送ローラ80へのインクの転写は防がれる。
図2において、中間搬送装置33により第2のタイミングローラ35まで搬送された片面印刷済み用紙は、図8のようにガイドローラ37と第2のタイミングローラ35の間に挟持され、第2の印刷部12の版胴39と同期して版胴39の下端画像形成部分に送り込まれ、用紙の他面が印刷される。この時、第2のタイミングローラ35が片面印刷済み用紙の印刷面に接触することになるが、第2のタイミングローラ35の外周面は、前述のように撥インク性を有する外周層122又は粉体セラミック等でコーティングした外周層122を有しているので、第2のタイミングローラ35へのインクの転写は減少する。
(7)図2において、第2の印刷部12で他面が印刷された用紙は、両面印刷状態となり、吸引機構26付きの排出ベルト25を介して紙受台27に排出される。この時、第2の印刷部12で印刷された直後の印刷面は上側に位置し、既にインクが乾燥している下面側を搬出ベルト25に吸着するので、排出ベルト25にインクが転写されることもない。
なお、この実施の形態において、第1の印刷部11の第1のタイミングローラ21及び第1の押圧ローラ40の外周面に、それぞれ前記第2のタイミングローラ35及び第2の押圧ローラ42と同様の外周層122、104を形成することも可能である。
図12は、再給紙装置31の給紙ベルト66による再転写状態を調べた印刷結果であり、外周面構造の異なる4種類(試験No.1−1から1−4)の給紙ベルト66を、図2に示す孔版両面印刷装置の再給紙装置31に順次適用し、給紙ベルト66により用紙積載台30から再給紙された直後の片面印刷済み用紙を抜き取り、印刷用紙の汚れ具合を目視で調べたものである。すなわち、表面印刷→反転→中間積載台への積載→再給紙→抜き取り確認となる。試験条件は以下の通りである。
[試験条件]
印刷用紙:上質紙、特薄上質紙及びざら紙の3種類の紙を使用した。
インク:表裏の区別が明確となるように第1の印刷部のインクは黒色を使用し、第2の印刷部のインクは緑色を使用した。
バッファリング時間:中間の用紙積載台30に用紙30枚を20秒間滞留させた。
印刷速度:第1、第2の印刷部を、共に第3速(版胴回転数、78〜82rpm程度)の速度で印刷した。
印刷濃度及び製版濃度:第1、第2の印刷部を、共に標準濃度で印刷した。
印刷枚数:基準は100枚印刷した。
サンプリング間隔及び状態確認方法:給紙ベルト66から再給紙された直後の片面印刷済み用紙を、1枚目から10枚毎に抜き取り、目視で転写状態を確認した。
[給紙ベルトの構成及び試験結果]
図12の試験No.1−1は、7本(又は5本)の給紙ベルト66を間隔を置いて平行に備えた再給紙装置31において、総ての給紙ベルト66を、エチレンプロピレンゴムの本体部分のみから構成とした。すなわち、本発明にかかる転写防止対策を全く施していない再給紙装置31である。この試験No.1−1では、上質紙、特薄上質紙及びざら紙のいずれの場合でも、不定形の擦り汚れ及びベルト状模様の汚れが確認された。
試験No.1−2は、7本の給紙ベルト66を間隔を置いて平行に備えた再給紙装置31において、中央1本の給紙ベルト66の外周面にドラフティングテープを貼り、残り6本はエチレンプロピレンゴムの本体部分のみからなる構成とした。すなわち、本発明にかかる転写防止対策を殆ど施していない状態の再給紙装置31である。この試験No.1−2では、ドラフティングテープを貼り付けた給紙ベルトに対応する個所以外の個所は、上記試験No.1−1と同じ汚れが確認された。
試験No.1−3は、7本の給紙ベルト66を間隔を置いて平行に備えた再給紙装置31において、中間5本の給紙ベルト66の外周面にドラフティングテープを貼り、残りの両端2本はエチレンプロピレンゴムの本体部分のみからなる構成とした。すなわち、本発明にかかる転写防止対策を実質的に施した状態の給紙装置である。この試験No.1−3では、上記試験No.1−1及び1−2のような汚れは略解消されていた。
試験No.1−4は、図4のように、5本の給紙ベルト66を間隔を置いて平行に備えた再給紙装置31において、中間3本の給紙ベルト66の外周面にサンドペーパー(♯400)を貼り付け、残りの両端2本はエチレンプロピレンゴムの本体部分のみからなる構成とした。すなわち、本発明にかかる転写防止対策を実質的に施した状態の再給紙装置である。この試験No.1−4では、汚れは全く確認できなかった。
以上のことから、給紙ベルト66としては、表面にサンドペーパーを貼り付けることにより、微細粒状体を塗着した外周層126を形成するか、又はドラフティングテープを貼り付けることにより、撥インク性を持つ固体材料からなると共に凹凸面を有する外周層を形成すると、最も好結果が得られることが分かった。
図13は、中間搬送装置33の搬送ローラ80による再転写状態を調べた印刷結果であり、外周面構造の異なる5種類(試験No.2−1から2−5)の搬送ローラ80を、図2に示す孔版両面印刷装置の中間搬送装置33に順次適用し、中間搬送装置33による搬送が終了した直後の片面印刷済み用紙を抜き取り、印刷用紙の汚れ具合を目視で調べたものである。すなわち、表面印刷→反転→中間積載台への積載→再給紙→中間搬送→抜き取り確認となる。ただし、再給紙装置31の給紙ベルト66については、前記実施例1において全く汚れが認められなかった試験No.1−4の構成、すなわち、5本中3本の給紙ベルト66にサンドペーパーを貼付したものを利用した。その他の試験条件は前記実施例1と同じである。
[搬送ローラの構成及び試験結果]
図13の試験No.2−1は、下側の搬送ローラ80のアルミ製ローラ部132の外周面を、ポリオレフィン熱収縮チューブで包み込んだ構成とした。すなわち、本発明による転写防止対策を施していない状態の搬送ローラである。この試験No.2−1では、上質紙、特薄上質紙及びざら紙のいずれの場合でも、擦り汚れが確認された。
試験No.2−2は、下側の搬送ローラ80のアルミ製ローラ部132の外周面を、フッ素系熱収縮チューブで包み込んだ構成とした。すなわち、本発明による転写防止対策を施していない状態の搬送ローラである。この試験No.2−2でも、上質紙、特薄上質紙及びざら紙のいずれの場合でも、擦り汚れが確認された。
試験No.2−3は、下側の搬送ローラ80のアルミ製ローラ部132の外周面に、モジュールM=0.2、アヤメパターンのローレット加工面を有する外周層133を形成した構成である。すなわち、本発明による転写防止対策を施した搬送ローラである。この試験No.2−3では、上質紙、特薄上質紙及びざら紙のいずれの場合も、汚れは全く確認されなかった。
試験No.2−4は、下側の搬送ローラ80のアルミ製ローラ部132の外周面を、粉体セラミックでコート処理(♯240)した構成である。すなわち、本発明による転写防止対策を施した搬送ローラである。この試験No.2−4でも、上質紙、特薄上質紙及びざら紙のいずれの場合も、汚れは全く確認されなかった。
試験No.2−5は、下側の搬送ローラ80のアルミ製ローラ部132の外周面を、前記試験No.2−4とは粒径の異なる粉体セラミックでコート処理(♯640)した構成であり、本発明による転写防止対策を施した搬送ローラである。この表の試験No.2−5でも、上質紙、特薄上質紙及びざら紙のいずれの場合も、汚れは全く確認されなかった。
図14は、図2の第2の印刷部12における第2のタイミングローラ35と第2の押圧ローラ42による再転写状態を調べた印刷結果であり、外周面構造の異なる4種類の第2のタイミングローラ35と外周面構造の異なる5種類の第2の押圧ローラ42を各種組み合わせ、合計9つの組合せ(試験No.3−1から3−9)について、図1及び図2に示す第2の印刷部12及び第2のタイミングローラ35に順次適用し、他面印刷終了直後の両面印刷済み用紙を抜き取り、印刷用紙の汚れ具合を目視で調べたものである。すなわち、表面印刷→反転→中間積載台への積載→再給紙→中間搬送→第2のタイミングローラによる送り込み→他面印刷→抜き取り確認となる。ただし、再給紙装置31の給紙ベルト66については、前記実施例1において全く汚れが認められなかった試験No.1−4の構成を利用し、また、中間搬送装置33の搬送ローラ80については、前記実施例2において全く汚れが認められなかった試験No.2−5の構成を利用した。他の試験条件は前記実施例1と同じである。
[第2のタイミングローラ及び第2の押圧ローラの構成及び試験結果]
図14の試験No.3−1は、第2のタイミングローラ35及び第2の押圧ローラ42を、共にNBR製のローラ部121、103のみの構成とした。すなわち、本発明による転写防止対策を施していない状態の第2のタイミングローラ35及び第2の押圧ローラ42である。この試験No.3−1では、上質紙、特薄上質紙及びざら紙のいずれの場合でも、擦り汚れが多く確認された。
試験No.3−2は、第2のタイミングローラ35のローラ部121の外周面を、フッ素系熱収縮チューブで包み込み、一方、第2の押圧ローラ42はNBR製のローラ部103のみの構成とした。すなわち、第2のタイミングローラ35については、本発明による転写防止対策を施し、第2の押圧ローラ42については本発明による転写防止対策を施していない状態である。この試験No.3−2では、上質紙、特薄上質紙及びざら紙のいずれの場合でも擦り汚れは存在したが、試験No.3−1の場合よりも汚れはやや解消されていた。すなわち、第2のタイミングローラ35のローラ部121をフッ素系熱収縮チューブで包み込むことにより、試験No.3−1に比べて、第2のタイミングローラ35による再転写がなくなり、それにより汚れがやや解消されたものと推測される。
試験No.3−3は、第2のタイミングローラ35はNBR製ローラ部121のみとし、第2の押圧ローラ42は図6に示すようにローラ部103の外周にポリエステルテープ104aを巻いた構成とした。すなわち、第2のタイミングローラ35については、本発明による転写防止対策を施さず、第2の押圧ローラ42については本発明による転写防止対策を施した状態である。この試験No.3−3では、上質紙、特薄上質紙及びざら紙のいずれの場合でも擦り汚れは存在したが、試験No.3−1の場合よりも汚れはやや解消されていた。すなわち、第2の押圧ローラ42にポリエステルテープを巻くことにより、試験No.3−1に比べて、第2の押圧ローラ42による再転写がなくなり、それにより汚れがやや解消されたものと推測される。
試験No.3−4から3−9は、第2のタイミングローラ35及び第2の押圧ローラ42のいずれのローラ部121、103の外周面にも、本発明による転写防止対策を施した状態であり、これら試験No.3−4から3−9では、上質紙、特薄上質紙及びざら紙のいずれの場合でも汚れは全く見られなかった。
すなわち、試験No.3−4は、第2のタイミングローラ35の外周面をフッ素系熱収縮チューブで包み込み、第2の押圧ローラ42のローラ部103の外周面にポリエステルテープを巻いた構成である。試験No.3−5は、第2のタイミングローラ35のローラ部121をアルミ製として、該ローラ部121の外周面を粉体セラミック(♯240)でコート処理し、第2の押圧ローラ35のローラ部103の外周面にポリエステルテープを巻いた構成とである。試験No.3−6は、第2のタイミングローラ35の外周面をフッ素系熱収縮チューブで包み込み、第2の押圧ローラ35のローラ部103の外周面にPET(ポリエチレンテレフタレート)フイルムを巻いた構成である。試験No.3−7は、第2のタイミングローラ35のローラ部121をアルミ製として、該ローラ部121の外周面を粉体セラミック(♯600)でコート処理し、第2の押圧ローラ42のローラ部103の外周面にPETフイルムを巻いた構成である。試験No.3−8は、第2のタイミングローラ35のローラ部121をアルミ製として、該ローラ部121の外周面を粉体セラミック(♯240)でコート処理し、第2の押圧ローラ42のローラ部103の外周面をフッ素系熱収縮チューブで包み込んだ構成である。試験No.3−9は、第2のタイミングローラ35のローラ部121をアルミ製として、該ローラ部121の外周面を粉体セラミック(♯640)でコート処理し、押圧ローラ42のローラ部103の外周面をオフセット印刷用のオフセットマスターで巻いた構成である。
11 第1の印刷部
12 第2の印刷部
21 第1のタイミングローラ
30 中間の用紙積載台
31 再給紙装置
33 中間搬送装置
35 第2のタイミングローラ
36 反転搬送装置
80 搬送ローラ
81 搬送ガイド板
104 押圧ローラの外周層
122 第2のタイミングローラの外周層
126 給紙ベルトの外周層
133 搬送ローラの外周層

Claims (1)

  1. 印刷用紙の片面を印刷する第1の印刷部(11)と、第1の印刷部(11)により片面が印刷された印刷用紙の他面を印刷する第2の印刷部(12)と、
    第1の印刷部(11)から排出される片面印刷済みの印刷用紙を積載する積載台(30)と、
    該積載台(30)に積載された片面印刷済みの印刷用紙の印刷済み面に接触し、積載順に吸引しつつ送り出す給紙ベルト(66)と、該給紙ベルト(66)から送り出された片面印刷済み用紙を前記第2の印刷部(12)に搬送する搬送装置(33)と、を備え、
    前記第2の印刷部(12)は、孔版原紙が装着される回転可能な版胴(39)と、該版胴(39)にインクを供給するインク供給部と、上記版胴(39)との間に印刷用紙を挟持し搬送することにより印刷用紙にインクを転写させる押圧部材を備えている孔版両面印刷装置において、
    前記第2の印刷部(12)の版胴(39)と押圧部材の間で形成される画像形成部の近傍に、版胴(39)の駆動タイミングと同期駆動し印刷用紙を挟持して上記画像形成部へ送り込むタイミングローラ(35)とガイドローラ(37)を対向配置し、
    前記タイミングローラ(35)には、微細粒状体により構成されると共に撥インク性材料が塗布された外周層を形成してあることを特徴とする孔版両面印刷装置。
JP2009280640A 2009-12-10 2009-12-10 孔版両面印刷装置 Expired - Lifetime JP4850280B2 (ja)

Priority Applications (1)

Application Number Priority Date Filing Date Title
JP2009280640A JP4850280B2 (ja) 2009-12-10 2009-12-10 孔版両面印刷装置

Applications Claiming Priority (1)

Application Number Priority Date Filing Date Title
JP2009280640A JP4850280B2 (ja) 2009-12-10 2009-12-10 孔版両面印刷装置

Related Parent Applications (1)

Application Number Title Priority Date Filing Date
JP2003296631A Division JP4455849B2 (ja) 2003-08-20 2003-08-20 孔版両面印刷装置

Publications (2)

Publication Number Publication Date
JP2010089512A true JP2010089512A (ja) 2010-04-22
JP4850280B2 JP4850280B2 (ja) 2012-01-11

Family

ID=42252674

Family Applications (1)

Application Number Title Priority Date Filing Date
JP2009280640A Expired - Lifetime JP4850280B2 (ja) 2009-12-10 2009-12-10 孔版両面印刷装置

Country Status (1)

Country Link
JP (1) JP4850280B2 (ja)

Citations (9)

* Cited by examiner, † Cited by third party
Publication number Priority date Publication date Assignee Title
JPS58106562A (ja) * 1981-12-21 1983-06-24 Ricoh Co Ltd 電子写真複写機の搬送装置
JPH10147052A (ja) * 1996-11-20 1998-06-02 Tohoku Ricoh Co Ltd 孔版印刷装置
JPH11180019A (ja) * 1997-12-25 1999-07-06 Tohoku Ricoh Co Ltd 印刷装置
JP2001220033A (ja) * 2000-02-08 2001-08-14 Tohoku Ricoh Co Ltd 用紙送り装置
JP2002307798A (ja) * 2001-04-18 2002-10-23 Riso Kagaku Corp 孔版印刷装置
JP2003200645A (ja) * 2002-01-09 2003-07-15 Tohoku Ricoh Co Ltd 両面印刷装置
JP2004137048A (ja) * 2002-10-18 2004-05-13 Tohoku Ricoh Co Ltd 印刷装置
JP2004243738A (ja) * 2003-02-17 2004-09-02 Tohoku Ricoh Co Ltd 孔版印刷装置
JP2005029375A (ja) * 2003-07-11 2005-02-03 Duplo Seiko Corp 印刷機用の反転搬送装置及び両面印刷機並びに両面印刷方法

Patent Citations (9)

* Cited by examiner, † Cited by third party
Publication number Priority date Publication date Assignee Title
JPS58106562A (ja) * 1981-12-21 1983-06-24 Ricoh Co Ltd 電子写真複写機の搬送装置
JPH10147052A (ja) * 1996-11-20 1998-06-02 Tohoku Ricoh Co Ltd 孔版印刷装置
JPH11180019A (ja) * 1997-12-25 1999-07-06 Tohoku Ricoh Co Ltd 印刷装置
JP2001220033A (ja) * 2000-02-08 2001-08-14 Tohoku Ricoh Co Ltd 用紙送り装置
JP2002307798A (ja) * 2001-04-18 2002-10-23 Riso Kagaku Corp 孔版印刷装置
JP2003200645A (ja) * 2002-01-09 2003-07-15 Tohoku Ricoh Co Ltd 両面印刷装置
JP2004137048A (ja) * 2002-10-18 2004-05-13 Tohoku Ricoh Co Ltd 印刷装置
JP2004243738A (ja) * 2003-02-17 2004-09-02 Tohoku Ricoh Co Ltd 孔版印刷装置
JP2005029375A (ja) * 2003-07-11 2005-02-03 Duplo Seiko Corp 印刷機用の反転搬送装置及び両面印刷機並びに両面印刷方法

Also Published As

Publication number Publication date
JP4850280B2 (ja) 2012-01-11

Similar Documents

Publication Publication Date Title
JP5762220B2 (ja) 搬送装置および画像形成装置
JP2000103035A (ja) シ―ト状物コ―ティング装置
WO2011013442A1 (ja) 印刷機
JP2023100742A (ja) 反転装置を備えるシートを処理する機械、シートを搬送する方法およびイオン除去装置を含むシートガイド要素の使用
JP4340490B2 (ja) 両面印刷機
JP2000000957A (ja) 印刷機でシ―トを搬送する方法及びこの方法を実施する装置
JP2003334926A (ja) 枚葉紙輪転印刷機
WO2012102381A1 (ja) 位置決め搬送装置、電子印刷機、印刷機および位置決め搬送方法
JP4455849B2 (ja) 孔版両面印刷装置
JP3935797B2 (ja) 枚葉印刷機
JP4850280B2 (ja) 孔版両面印刷装置
WO2010095474A1 (ja) 両面印刷機
JP2013159465A (ja) 排紙装置
JP7624950B2 (ja) シート処理装置
JP4279382B2 (ja) 両面印刷方法
JP2012061602A (ja) 凹版印刷機
JP2013226654A (ja) シート印刷機
JP4242106B2 (ja) 粒子を取り除く装置を備えた印刷ユニット、およびこのような印刷ユニットを備えた、平坦な被印刷体を処理する機械
JP4452284B2 (ja) 枚葉印刷機
JP2002234654A (ja) シート搬送装置
JPH115291A (ja) 多色印刷装置および両面印刷方法
JP5156685B2 (ja) 枚葉印刷機の反転装置および枚葉印刷機
JP2001058734A (ja) 印刷装置
JP6090903B2 (ja) ロータリースクリーン印刷機
JP2008279754A (ja) 印刷機

Legal Events

Date Code Title Description
TRDD Decision of grant or rejection written
A01 Written decision to grant a patent or to grant a registration (utility model)

Free format text: JAPANESE INTERMEDIATE CODE: A01

Effective date: 20111004

A01 Written decision to grant a patent or to grant a registration (utility model)

Free format text: JAPANESE INTERMEDIATE CODE: A01

A61 First payment of annual fees (during grant procedure)

Free format text: JAPANESE INTERMEDIATE CODE: A61

Effective date: 20111018

R150 Certificate of patent or registration of utility model

Ref document number: 4850280

Country of ref document: JP

Free format text: JAPANESE INTERMEDIATE CODE: R150

Free format text: JAPANESE INTERMEDIATE CODE: R150

FPAY Renewal fee payment (event date is renewal date of database)

Free format text: PAYMENT UNTIL: 20141028

Year of fee payment: 3

R250 Receipt of annual fees

Free format text: JAPANESE INTERMEDIATE CODE: R250

R250 Receipt of annual fees

Free format text: JAPANESE INTERMEDIATE CODE: R250

R250 Receipt of annual fees

Free format text: JAPANESE INTERMEDIATE CODE: R250

R250 Receipt of annual fees

Free format text: JAPANESE INTERMEDIATE CODE: R250

R250 Receipt of annual fees

Free format text: JAPANESE INTERMEDIATE CODE: R250

R250 Receipt of annual fees

Free format text: JAPANESE INTERMEDIATE CODE: R250

R250 Receipt of annual fees

Free format text: JAPANESE INTERMEDIATE CODE: R250

R250 Receipt of annual fees

Free format text: JAPANESE INTERMEDIATE CODE: R250

R250 Receipt of annual fees

Free format text: JAPANESE INTERMEDIATE CODE: R250

EXPY Cancellation because of completion of term