JP2010080429A - イオン源 - Google Patents

イオン源 Download PDF

Info

Publication number
JP2010080429A
JP2010080429A JP2009122675A JP2009122675A JP2010080429A JP 2010080429 A JP2010080429 A JP 2010080429A JP 2009122675 A JP2009122675 A JP 2009122675A JP 2009122675 A JP2009122675 A JP 2009122675A JP 2010080429 A JP2010080429 A JP 2010080429A
Authority
JP
Japan
Prior art keywords
plasma generation
aluminum
electrode
plasma
hot cathode
Prior art date
Legal status (The legal status is an assumption and is not a legal conclusion. Google has not performed a legal analysis and makes no representation as to the accuracy of the status listed.)
Granted
Application number
JP2009122675A
Other languages
English (en)
Other versions
JP4428467B1 (ja
Inventor
Takatoshi Yamashita
貴敏 山下
Tadashi Ikejiri
忠司 池尻
Tetsuya Iai
哲也 井合
Current Assignee (The listed assignees may be inaccurate. Google has not performed a legal analysis and makes no representation or warranty as to the accuracy of the list.)
Nissin Ion Equipment Co Ltd
Original Assignee
Nissin Ion Equipment Co Ltd
Priority date (The priority date is an assumption and is not a legal conclusion. Google has not performed a legal analysis and makes no representation as to the accuracy of the date listed.)
Filing date
Publication date
Application filed by Nissin Ion Equipment Co Ltd filed Critical Nissin Ion Equipment Co Ltd
Priority to JP2009122675A priority Critical patent/JP4428467B1/ja
Priority to CN2009101520445A priority patent/CN101661862B/zh
Priority to US12/547,176 priority patent/US8253114B2/en
Application granted granted Critical
Publication of JP4428467B1 publication Critical patent/JP4428467B1/ja
Publication of JP2010080429A publication Critical patent/JP2010080429A/ja
Active legal-status Critical Current
Anticipated expiration legal-status Critical

Links

Images

Classifications

    • HELECTRICITY
    • H01ELECTRIC ELEMENTS
    • H01JELECTRIC DISCHARGE TUBES OR DISCHARGE LAMPS
    • H01J27/00Ion beam tubes
    • H01J27/02Ion sources; Ion guns
    • H01J27/08Ion sources; Ion guns using arc discharge
    • H01J27/14Other arc discharge ion sources using an applied magnetic field

Landscapes

  • Chemical & Material Sciences (AREA)
  • Engineering & Computer Science (AREA)
  • Combustion & Propulsion (AREA)
  • Electron Sources, Ion Sources (AREA)

Abstract

【課題】 アルミニウムイオンを含むイオンビームを発生させるイオン源において、部品点数の削減および構造の簡素化を可能にする。
【解決手段】 このイオン源は、フッ素を含むイオン化ガス8が導入されるプラズマ生成容器2と、この容器2内の一方側に設けられた熱陰極12と、プラズマ生成容器2内の他方側に設けられていて、バイアス電源24から当該容器2に対して負電圧VB が印加されて電子を反射する対向反射電極20と、プラズマ生成容器2内に、熱陰極12と対向反射電極20とを結ぶ線に沿う磁界28を発生させる磁石30とを備えている。対向反射電極20はアルミニウム含有物質から成る。
【選択図】 図1

Description

この発明は、例えば、アルミニウムイオンを炭化ケイ素(SiC)基板等のターゲットに注入するイオン注入装置等に用いられるものであって、アルミニウムイオンを含むイオンビームを発生させるイオン源に関する。
この種のイオン源の一例が特許文献1に記載されている。
この特許文献1に記載の従来のイオン源は、イオン化室内に、プラズマの生成・閉じ込め用の部品である電極(陰極)および反跳プレートとは別に、アルミニウム含有物質(例えば酸化アルミニウム)のプレートを設けておき、フッ化物ガス(例えば四フッ化ケイ素)を電離させて生成したプラズマによって当該アルミニウム含有物質のプレートを浸食させて、アルミニウムイオンをプラズマ中に放出させるものである。
特許第3325393号公報(段落0006−0011、0016−0021、図1、図2)
上記従来のイオン源においては、プラズマの生成・閉じ込め用の部品とは別に、アルミニウムイオン生成専用のアルミニウム含有物質のプレートを特別に設ける必要があるので、そのぶん部品点数が増えると共に構造が複雑になるという課題がある。
そこでこの発明は、アルミニウムイオンを含むイオンビームを発生させるイオン源において、部品点数の削減および構造の簡素化を可能にすることを主たる目的としている。
この発明に係るイオン源の一つは、アルミニウムイオンを含むイオンビームを発生させるイオン源であって、陽極を兼ねていて内部でプラズマを生成するための容器であって、フッ素を含むイオン化ガスが導入されるプラズマ生成容器と、前記プラズマ生成容器内の一方側に、前記プラズマ生成容器から電気的に絶縁して設けられた熱陰極と、前記プラズマ生成容器内の他方側に、前記プラズマ生成容器から電気的に絶縁して、かつ前記熱陰極に対向させて設けられていて、前記プラズマ生成容器の電位を基準にして負電圧が印加される電極であって、前記プラズマ生成容器内の電子を反射させる機能を有しており、かつアルミニウム含有物質から成る対向反射電極と、前記プラズマ生成容器内に、前記熱陰極と前記対向反射電極とを結ぶ線に沿う磁界を発生させる磁石とを備えていることを特徴としている。
このイオン源においては、アルミニウム含有物質から成る対向反射電極は、フッ素を含むイオン化ガスを電離させて生成されたプラズマに曝される。そしてこのプラズマ中のフッ素イオン、フッ素ラジカル等による浸食や、当該プラズマ中のフッ素イオン等のイオンによるスパッタリング等によって、対向反射電極から、アルミニウムイオン等のアルミニウム粒子がプラズマ中に放出され、プラズマ中にアルミニウムイオンが含まれるようになる。その結果、アルミニウムイオンを含むイオンビームを発生させることができる。
対向反射電極に負電圧を印加する代わりに、対向反射電極を浮遊電位にしても良い。浮遊電位にしても、対向反射電極にはプラズマ中のイオンよりも軽くて移動度の高い電子がイオンよりも遥かに多く入射するので、対向反射電極は負に帯電し、対向反射電極に負電圧を印加した場合と同様の作用を奏することができる。
前記プラズマ生成容器内であって前記熱陰極の電子放出部の背後に、前記対向反射電極に対向させて、かつ前記プラズマ生成容器から電気的に絶縁して設けられていて、前記プラズマ生成容器の電位を基準にして負電圧が印加される電極であって、前記プラズマ生成容器内の電子を反射させる機能を有しており、かつアルミニウム含有物質から成る背後反射電極を更に備えていても良い。また、この背後反射電極に負電圧を印加する代わりに、当該背後反射電極を浮遊電位にしても良い。
上記背後反射電極も、イオン源の運転中は、フッ素を含むイオン化ガスを電離させて生成されたプラズマに曝されるので、対向反射電極について上述したのと同様の作用によって、即ちプラズマ中のフッ素イオン等による浸食やスパッタリング等によって、背後反射電極からもアルミニウム粒子がプラズマ中に放出されるようになる。つまり、プラズマ中のフッ素イオン等による浸食やスパッタリングを受けるアルミニウム含有物質の面積を増やすことができる。従って、プラズマ中に放出されるアルミニウム粒子の量を増大させて、イオンビーム中に含まれるアルミニウムイオンの量を増大させることができる。
前記熱陰極は、加熱されることによって熱電子を放出する陰極部材および当該陰極部材を加熱するフィラメントを有している傍熱型の熱陰極であって、当該陰極部材は、前記プラズマ生成容器の開口部内に配置されており、前記プラズマ生成容器の前記開口部を含んでいる壁面を、電気絶縁性のアルミニウム含有物質で構成している、という構成を採用しても良い。
前記プラズマ生成容器の前記開口部を含んでいる壁面を、アルミニウム含有物質で構成しても良い。また、前記アルミニウム含有物質で構成された壁面を浮遊電位にしても良いし、当該壁面に前記プラズマ生成容器の電位を基準にして負電圧が印加されるようにしても良い。
上記アルミニウム含有物質で構成された壁面も、イオン源の運転中は、フッ素を含むイオン化ガスを電離させて生成されたプラズマに曝されるので、対向反射電極等について上述したのと同様の作用によって、即ちプラズマ中のフッ素イオン等による浸食やスパッタリング等によって、上記アルミニウム含有物質で構成された壁面からもアルミニウム粒子がプラズマ中に放出されるようになる。つまり、プラズマ中のフッ素イオン等による浸食やスパッタリングを受けるアルミニウム含有物質の面積を増やすことができる。従って、プラズマ中に放出されるアルミニウム粒子の量を増大させて、イオンビーム中に含まれるアルミニウムイオンの量を増大させることができる。
請求項1、2に記載の発明によれば、プラズマ生成容器内の電子を反射させる機能を有する対向反射電極からアルミニウムイオン等のアルミニウム粒子をプラズマ中に放出させて、プラズマ中にアルミニウムイオンを含ませることができるので、従来例のイオン源のようにアルミニウムイオン生成専用のプレートを特別に設けなくて済む。従って、部品点数の削減および構造の簡素化が可能である。
しかも、熱陰極と対向反射電極とを結ぶ線に沿う磁界を発生させる磁石を備えているので、プラズマ生成容器内の電子は熱陰極と対向反射電極との間を往復運動するようになり、熱陰極と対向反射電極との間において密度の高いプラズマを生成することができる。対向反射電極は、そのような密度の高いプラズマの端部に位置しており、しかもプラズマは上記磁界に沿う方向には移動しやすくその移動しやすい方向の端部に対向反射電極が位置しているので、対向反射電極は密度の高いプラズマに効率良く曝される。従って、対向反射電極からアルミニウムイオン等のアルミニウム粒子を効率良くプラズマ中に放出させることができる。その結果、イオンビーム中に含まれるアルミニウムイオンの量を増大させることが容易になる。
請求項3、4に記載の発明によれば次の更なる効果を奏する。即ち、プラズマ中のフッ素イオン等による浸食やスパッタリング等によって、対向反射電極からだけでなく、背後反射電極からもアルミニウム粒子がプラズマ中に放出されるようになるので、プラズマ中に放出されるアルミニウム粒子の量を増大させて、イオンビーム中に含まれるアルミニウムイオンの量を増大させることができる。
また、背後反射電極は、熱陰極が近傍にあってそれからの放射熱によって高温になる結果、スパッタ率の向上およびアルミニウム含有物質の蒸気圧の上昇が期待でき、それによってプラズマ中に放出されるアルミニウム粒子の量が増大するので、この観点からもイオンビーム中に含まれるアルミニウムイオンの量を増大させることができる。
しかもこの発明の場合も、プラズマ生成容器内の電子を反射させる機能を有する背後反射電極をアルミニウム粒子放出用に兼用しているので、従来のイオン源のようにアルミニウムイオン生成専用のプレートを特別に設けなくて済み、それを特別に設ける場合に比べて部品点数の削減および構造の簡素化が可能である。
請求項5、6、7に記載の発明によれば次の更なる効果を奏する。即ち、プラズマ中のフッ素イオン等による浸食やスパッタリング等によって、対向反射電極からだけでなく、プラズマ生成容器のアルミニウム含有物質で構成された壁面からもアルミニウム粒子がプラズマ中に放出されるようになるので、プラズマ中に放出されるアルミニウム粒子の量を増大させて、イオンビーム中に含まれるアルミニウムイオンの量を増大させることができる。
また、上記アルミニウム含有物質で構成された壁面は、熱陰極が近傍にあってそれからの放射熱によって高温になる結果、スパッタ率の向上およびアルミニウム含有物質の蒸気圧の上昇が期待でき、それによってプラズマ中に放出されるアルミニウム粒子の量が増大するので、この観点からもイオンビーム中に含まれるアルミニウムイオンの量を増大させることができる。
しかもこの発明の場合も、プラズマ生成容器を構成する壁面の内の一部の壁面を、即ち上記開口部を含んでいる壁面を、アルミニウム粒子放出用に兼用しているので、従来のイオン源のようにアルミニウムイオン生成専用のプレートを特別に設けなくて済み、それを特別に設ける場合に比べて部品点数の削減および構造の簡素化が可能である。
この発明に係るイオン源の一実施形態を示す概略断面図である。 この発明に係るイオン源の他の実施形態を示す概略断面図である。 熱陰極が傍熱型である場合の一実施形態を示す概略断面図である。 この発明に係るイオン源の更に他の実施形態を示す概略断面図である。 熱陰極が傍熱型である場合の他の実施形態を示す概略断面図である。 熱陰極が傍熱型である場合の更に他の実施形態を示す概略断面図である。 熱陰極が傍熱型である場合の更に他の実施形態を示す概略断面図である。
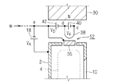
図1は、この発明に係るイオン源の一実施形態を示す概略断面図である。このイオン源は、アルミニウムイオンを含むイオンビーム34を発生させる(引き出す)イオン源であり、アーク放電の陽極を兼ねていて内部でプラズマ4を生成するためのプラズマ生成容器2を備えている。このプラズマ生成容器2は、例えば直方体状をしているが、この形状に限られるものではない。
プラズマ生成容器2内には、ガス導入口6を通して、フッ素を含むイオン化ガス8が導入される。ガス導入口6の位置は、図示例の位置に限定されるものではない。フッ素を含むイオン化ガス8を用いるのは、フッ素は化学作用が非常に強くて他の物質との反応性が強いので、フッ素を含むイオン化ガス8を電離させたプラズマ4によって、後述する対向反射電極20から、アルミニウムイオン等のアルミニウム粒子を放出させる作用が強いからである。
フッ素を含むイオン化ガス8は、例えば、フッ化ホウ素(BF3 )、四フッ化ケイ素(SiF4 )、フッ化ゲルマニウム(GeF4 )等のフッ化物ガスまたはフッ素(F2 )を含むガスである。このフッ素を含むイオン化ガス8は、例えば、フッ化物ガスそのものまたはフッ素そのものでも良いし、それらを適当な希釈ガス(例えばヘリウムガス)で希釈したガスでも良い。
プラズマ生成容器2内の一方側には、プラズマ生成容器2から電気的に絶縁して、プラズマ生成容器2内に熱電子を放出する熱陰極12が設けられている。
熱陰極12は、この実施形態のように直熱型のものでも良いし、後述する実施形態(図3等参照)のように傍熱型のものでも良い。
熱陰極12は、この実施形態では、U字状のフィラメントであり、絶縁物14によってプラズマ生成容器2から電気的に絶縁されている。なお、このフィラメントの向きは、加熱電源16との接続を明らかにするために便宜的に示したものであり、実際は、U字状に曲げたフィラメントを含む面が、後述するイオン引出し口10にほぼ平行になるように配置されている。図2に示す実施形態においても同様である。但し、フィラメントの形状はU字状以外でも良い。
熱陰極12の両端には、当該熱陰極12を加熱する直流の加熱電源16が接続されている。熱陰極12の一端とプラズマ生成容器2との間には、両者12、2間にアーク電圧VA を印加して両者12、2間でアーク放電を生じさせて、プラズマ生成容器2内に導入されたイオン化ガス8を電離させてプラズマ4を生成するための直流のアーク電源18が、プラズマ生成容器2を正極側にして接続されている。
プラズマ生成容器2内の他方側(熱陰極12とは反対側)に、熱陰極12に対向させて、プラズマ生成容器2内の電子(主として、熱陰極12から放出された熱電子。以下同様)を反射させる(換言すれば、跳ね返す、または追い返す。以下同様)機能を有する対向反射電極20が設けられている。この対向反射電極20は、絶縁物22によって、プラズマ生成容器2から電気的に絶縁されている。
対向反射電極20には、この実施形態では、直流のバイアス電源24から、プラズマ生成容器2の電位を基準にして負のバイアス電圧VB が印加される。バイアス電圧VB の大きさは、対向反射電極20によって電子を反射させる作用、対向反射電極20からアルミニウムイオン等のアルミニウム粒子を放出させる作用、プラズマ4中のイオンによって対向反射電極20の表面をスパッタする作用等の兼ね合いで決めれば良い。このような観点から、バイアス電圧VB の大きさは、例えば、40V〜150V程度が好ましい。その内でも、イオン化ガス8がフッ化ホウ素(BF3 )を含むガスである場合は、60V〜120V程度がより好ましい。
公知のイオン源における対向反射電極は、チタン(Ti )、タンタル(Ta )、モリブデン(Mo )等の高融点金属またはそれらの合金から成るが、上記対向反射電極20は、アルミニウム含有物質から成る。アルミニウム含有物質は、例えば、酸化アルミニウム(Al23 )、窒化アルミニウム(AlN)等のアルミニウム化合物である。温度制御を行えば、アルミニウム(Al )を用いることもできる。
プラズマ生成容器2の外部には、プラズマ生成容器2内に、熱陰極12と対向反射電極20とを結ぶ線26に沿う磁界28を発生させる磁石30が設けられている。磁石30は、例えば電磁石であるが、永久磁石でも良い。磁界28の向きは図示例とは逆向きでも良い。
上記のような対向反射電極20および磁界28の存在によって、プラズマ生成容器2内の電子は、磁界28の方向を軸として磁界28中で旋回しながら熱陰極12と対向反射電極20との間を往復運動するようになり、その結果、当該電子とイオン化ガス8のガス分子との衝突確率が高くなってイオン化ガス8の電離効率が高まるので、プラズマ4の生成効率が高まる。より具体的には、熱陰極12と対向反射電極20との間において密度の高いプラズマ4を生成することができる。
プラズマ生成容器2の壁面には、プラズマ4からイオンを引き出すためのイオン引出し口10が設けられている。イオン引出し口10は、この実施形態では、上記線26に沿う方向に長い形状をしている。より具体的には、上記線26に沿う方向に長いスリット状をしている。但し、イオン引出し口10の形状はこれに限られるものではない。
イオン引出し口10の出口付近には、プラズマ生成容器2内から(より具体的にはそこに生成されるプラズマ4から)イオンビーム34を引き出す引出し電極系32が設けられている。引出し電極系32は、図示例では1枚の電極で構成されているが、それに限られるものではなく、複数枚の電極で構成されていても良い。
このイオン源においては、アルミニウム含有物質から成る対向反射電極20は、フッ素を含むイオン化ガス8を電離させて生成されたプラズマ4に曝される。そしてこのプラズマ4中のフッ素イオン、フッ素ラジカル等による浸食や、当該プラズマ4中のフッ素イオン等のイオンによるスパッタリング等によって、対向反射電極20から、アルミニウムイオン等のアルミニウム粒子がプラズマ4中に放出され、プラズマ4中にアルミニウムイオンが含まれるようになる。対向反射電極20から放出されるアルミニウム粒子には、アルミニウムイオンとして放出されるものもあるし、中性のアルミニウム原子として放出されるものもある。中性のアルミニウム原子も、ある程度の割合で、プラズマ4中の電子と衝突することによって電離されてアルミニウムイオンになる。このようにして、プラズマ4中にアルミニウムイオン(例えばAl+ 、Al2+ 、Al3+ 。以下同様)が含まれるようになる。その結果、当該アルミニウムイオンを含むイオンビーム34を発生させることができる。
このようにこのイオン源によれば、プラズマ生成容器2内の電子を反射させる機能を有する対向反射電極20からアルミニウムイオン等のアルミニウム粒子をプラズマ4中に放出させて、プラズマ4中にアルミニウムイオンを含ませることができるので、即ちプラズマ生成容器2内の電子を反射させる対向反射電極20をアルミニウム粒子放出用に兼用しているので、前述した従来例のイオン源のようにアルミニウムイオン生成専用のプレートを特別に設けなくて済む。従って、部品点数の削減および構造の簡素化が可能である。
しかも、熱陰極12と対向反射電極20とを結ぶ線26に沿う磁界28を発生させる磁石30を備えているので、前述したようにプラズマ生成容器2内の電子は熱陰極12と対向反射電極20との間を往復運動するようになり、熱陰極12と対向反射電極20との間において密度の高いプラズマ4を生成することができる。対向反射電極20は、そのような密度の高いプラズマ4の端部に位置しており、しかもプラズマ4は上記磁界28に沿う方向には移動しやすくその移動しやすい方向の端部に対向反射電極20が位置しているので、対向反射電極20は密度の高いプラズマ4に効率良く曝される。従って、対向反射電極20からアルミニウムイオン等のアルミニウム粒子を効率良くプラズマ4中に放出させることができる。その結果、イオンビーム34中に含まれるアルミニウムイオンの量を増大させることが容易になる。
前述した従来例のイオン源では、アルミニウム含有物質のプレートは、イオン化室の底面に取り付けられている。このような位置のプレートよりも、上記対向反射電極20の方が上記磁界28との関係で密度の高いプラズマに効率良く曝されるので、より効率良く、アルミニウムイオン等のアルミニウム粒子をプラズマ4中に放出することができる。ひいては、アルミニウムイオンをより多量に含むイオンビーム34を発生させることができる。
なお、このイオン源の運転に伴って、即ちプラズマ4の生成に伴って、通常は、プラズマ4に曝される面に、対向反射電極20の表面も含めて、不要なパーティクルが堆積する。ここで対向反射電極20に着目すると、対向反射電極20はプラズマ生成容器2に対して負のバイアス電圧VB が印加されるので、上述した電子を反射させる作用に加えて、プラズマ4中のイオンをバイアス電圧VB で加速して引き込む作用をも奏する。この加速されたイオンによって、対向反射電極20の表面に堆積したパーティクルをスパッタして対向反射電極20の表面をクリーニングすることができるので、対向反射電極20の表面そのものを露出させてその表面からアルミニウム粒子を放出させる作用を、より長時間に亘って安定して維持することができる。
これに対して、前述した従来例のイオン源では、アルミニウム含有物質のプレートに、イオン化室に対して負電圧を印加する(あるいは当該プレートを浮遊電位にする)ようには構成されていないので、当該プレートの表面に堆積したパーティクルを、加速されたイオンによってスパッタして当該プレートの表面をクリーニングする作用は期待できない。従って、当該プレートからアルミニウム粒子を放出させる機能は早く低下する。
対向反射電極20からアルミニウム粒子を放出させることによって対向反射電極20は消耗するので、必要に応じて対向反射電極20を交換すれば良い。この点は、前述した従来例のイオン源におけるプレートの場合と同様である。
ところで、このイオン源をイオン注入装置に用いて、炭化ケイ素基板等のターゲットにアルミニウムイオンを注入する場合は、必要に応じて、このイオン源とターゲットとの間に、イオンビーム34の運動量(例えば質量)分離を行って、必要な運動量のアルミニウムイオンを選別する質量分離器を設ければ良い。以下に述べる実施形態のイオン源を用いる場合も同様である。
次に、この発明に係るイオン源の他の実施形態の幾つかを説明する。なお、以下の各実施形態の説明においては、それよりも先に説明した実施形態(例えば図1に示した実施形態)と同一または相当する部分には同一符号を付し、先に説明した実施形態との相違点を主体に説明する。
上記バイアス電源24を設ける代わりに、図2に示す実施形態のように、対向反射電極20を熱陰極12に接続して陰極電位に固定しても良い。より具体的には、対向反射電極20を、(a)図2に示す例のように加熱電源16の負極と熱陰極12の一端との接続部aに接続しても良いし、(b)加熱電源16の正極と熱陰極12の他端との接続部b(即ちアーク電源18の負極)に接続しても良い。いずれにしても、対向反射電極20に、プラズマ生成容器2の電位を基準にして負電圧を印加することができる。具体的には、上記(a)の場合はVA +VH の大きさの負電圧を、上記(b)の場合はVA の大きさの負電圧を、それぞれ印加することができる。VA は前述したアーク電源18の出力電圧であるアーク電圧、VH は加熱電源16の出力電圧である。アーク電圧VA の大きさは例えば40V〜120V程度、出力電圧VH の大きさは例えば2V〜4V程度である。
上記(a)の場合は、加熱電源16およびアーク電源18が、対向反射電極20に負電圧を印加する直流電源を兼ねており、上記(b)の場合は、アーク電源18が、対向反射電極20に負電圧を印加する直流電源を兼ねている。加熱電源16は交流電源でも良くその場合は、上記(b)を採用すれば良い。
この実施形態の場合も、対向反射電極20に、プラズマ生成容器2を基準にして負電圧を印加することができるので、対向反射電極20に関して、図1に示した実施形態の場合とほぼ同様の作用効果を奏することができる。
対向反射電極20に負電圧を印加する代わりに、対向反射電極20をどこにも電気的に接続せずに浮遊電位にしても良い。浮遊電位にしても、対向反射電極20にはプラズマ4中のイオンよりも軽くて移動度の高い電子がイオンよりも遥かに多く入射するので、対向反射電極20は負に帯電し、対向反射電極20に負電圧を印加した場合と同様の作用を奏することができる。即ち、対向反射電極20に関して、図1、図2に示した実施形態の場合とほぼ同様の作用効果を奏することができる。
(a)図1に示した実施形態のようにバイアス電源24を設ける場合、(b)図2に示した実施形態のように対向反射電極20を熱陰極12に接続する場合、(c)対向反射電極20をどこにも接続せずに浮遊電位にする場合を比べると、(a)の場合は、バイアス電圧VB を自由に選べるので、対向反射電極20に、アルミニウムイオン発生等に最適な電圧を印加することが容易である。(b)の場合は、アーク電源18等が、対向反射電極20に負電圧を印加する電源を兼ねていて、対向反射電極20専用の電源が不要になるので、電源構成を簡素化することができる。しかも対向反射電極20の電位を固定することができる。(c)の場合は、対向反射電極20専用の電源が不要になるので、電源構成を簡素化することができる。これと同様のことは、後述する他の実施形態についても言える。
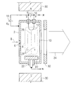
熱陰極12は、前述したように、傍熱型のものでも良い。その一例を図3に示す。
この熱陰極12は、加熱されることによって熱電子を放出する陰極部材36と、この陰極部材36を加熱するフィラメント38とを有している。なお、プラズマ生成容器2に対して陰極部材36およびフィラメント38を配置するより具体的な構造は、図3では簡略化して示しているが、例えば特許第3758667号公報等に記載されているような公知の構造を採用すれば良い。図5〜図7に示す実施形態においても同様である。
フィラメント38には、それを加熱する直流の加熱電源40が接続されている。フィラメント38と陰極部材36との間には、フィラメント38から放出された熱電子を陰極部材36に向けて加速して、当該熱電子の衝撃を利用して陰極部材36を加熱する直流のボンバード電源42が、陰極部材36を正極側にして接続されている。陰極部材36とプラズマ生成容器2との間には、前述したアーク電源18が接続されている。
この傍熱型の熱陰極12を設ける場合も、上記対向反射電極20には上記バイアス電圧VB を印加しても良いし、上記対向反射電極20を当該熱陰極12に接続して陰極電位に固定しても良い。より具体的には、対向反射電極20を、(a)加熱電源40の負極とフィラメント38の一端との接続部cに接続しても良いし、(b)加熱電源40の正極とフィラメント38の他端との接続部dに接続しても良いし、(c)図3中に二点鎖線で示すように、陰極部材36とアーク電源18との接続部e(即ちアーク電源18の負極)に接続しても良い。いずれにしても、対向反射電極20に、プラズマ生成容器2の電位を基準にして負電圧を印加することができる。具体的には、上記(a)の場合はVA +VD +VF の大きさの負電圧を、上記(b)の場合はVA +VD の大きさの負電圧を、上記(c)の場合はVA の大きさの負電圧を、それぞれ印加することができる。VA は前述したアーク電圧、VD はボンバード電源42の出力電圧、VF は加熱電源40の出力電圧である。アーク電圧VA の大きさは前述したように例えば40V〜120V程度、出力電圧VF の大きさは例えば2V〜4V程度、出力電圧VD の大きさは例えば300V〜600V程度である。
上記(a)の場合は、アーク電源18、ボンバード電源42および加熱電源40が、対向反射電極20に負電圧を印加する直流電源を兼ねており、上記(b)の場合は、アーク電源18およびボンバード電源42が、対向反射電極20に負電圧を印加する直流電源を兼ねており、上記(c)の場合は、アーク電源18が、対向反射電極20に負電圧を印加する直流電源を兼ねている。加熱電源40は交流電源でも良くその場合は、上記(b)または(c)を採用すれば良い。
ところで、イオン源には、例えば特許第3797160号公報にも記載されているように、対向反射電極に加えて、熱陰極側にも反射電極(背後反射電極)を備えているものもある。但し、公知のイオン源における両反射電極は、前述したように高融点金属またはその合金から成り、アルミニウム含有物質から成るものではない。この背後反射電極に相当する背後反射電極を更に備えているイオン源の実施形態を図4に示す。
この実施形態のイオン源は、プラズマ生成容器2内であって熱陰極12の電子放出部の背後に、対向反射電極20に対向させて、かつプラズマ生成容器2から電気的に絶縁して設けられていて、プラズマ生成容器2の電位を基準にして負電圧が印加される(または後述するように浮遊電位にされる)電極であって、プラズマ生成容器2内の電子を反射させる機能を有している背後反射電極44を更に備えている。そしてこの背後反射電極44を、前述したようなアルミニウム含有物質で構成している。
背後反射電極44をプラズマ生成容器2内にプラズマ生成容器2から電気的に絶縁して支持する手段には、公知のものが採用できる。この実施形態では一例として、電流導入端子を兼ねる絶縁物48で支持しているが、これに限られるものではない。図5に示す実施形態では、背後反射電極44の上記支持手段の図示を省略している。
熱陰極12の電子放出部というのは、熱陰極12の内でも特に多くの熱電子を放出する部分のことであり、具体的には熱陰極12の先端部分(プラズマ生成容器2内側の先端部分)のことである。図5に示す傍熱型の熱陰極12の場合は、その陰極部材36の先端部分(プラズマ生成容器2内側の先端部分)のことである。
背後反射電極44は、この実施形態では、熱陰極12(より具体的にはその脚部)を電気的に絶縁して通す穴46を有している。熱陰極12と背後反射電極44との間には、例えば3mm程度の間隔がある。従って、背後反射電極44は熱陰極12の近傍に設けられていると言うことができる。
背後反射電極44には、(a)図4に示す例のように、上記バイアス電源24を対向反射電極20と共用して当該バイアス電源24からプラズマ生成容器2の電位を基準にして負のバイアス電圧VB を印加しても良いし、(b)バイアス電源24とは別の直流のバイアス電源によってプラズマ生成容器2の電位を基準にして負のバイアス電圧を印加しても良いし、(c)図2に示した対向反射電極20の場合と同様に、背後反射電極44を上記接続部aまたはbに接続することによって、背後反射電極44にプラズマ生成容器2の電位を基準にして負電圧を印加するようにしても良い。
あるいは、背後反射電極44に負電圧を印加する代わりに、背後反射電極44をどこにも電気的に接続せずに浮遊電位にしても良い。浮遊電位にしても、前述した浮遊電位の対向反射電極20の場合と同様に、背後反射電極44にはプラズマ4中のイオンよりも軽くて移動度の高い電子がイオンよりも遥かに多く入射するので、背後反射電極44は負に帯電し、背後反射電極44に負電圧を印加した場合と同様の作用を奏することができる。
即ち、背後反射電極44は、上記対向反射電極20の場合と同様に、プラズマ生成容器2内の電子を反射させる作用を奏する。
しかも、この背後反射電極44も、当該イオン源の運転中は、フッ素を含むイオン化ガス8を電離させて生成されたプラズマ4に曝されるので、しかもこの背後反射電極44もアルミニウム含有物質から成るので、対向反射電極20について上述したのと同様の作用によって、即ちプラズマ4中のフッ素イオン、フッ素ラジカル等による浸食や、プラズマ4中のフッ素イオン等のイオンによるスパッタリング等によって、背後反射電極44からもアルミニウム粒子がプラズマ4中に放出されるようになる。つまり、対向反射電極20だけをアルミニウム含有物質で構成する場合よりも、プラズマ4中のフッ素イオン等による浸食やスパッタリングを受けるアルミニウム含有物質の面積を増やすことができる。従って、プラズマ4中に放出されるアルミニウム粒子の量を増大させて、イオンビーム34中に含まれるアルミニウムイオンの量を、即ちアルミニウムイオンビームの量を増大させることができる。
また、背後反射電極44は、前述したように熱陰極12が近傍に設けられていてそれからの放射熱によって高温になる結果、スパッタ率の向上およびアルミニウム含有物質の蒸気圧の上昇が期待でき、それによってプラズマ4中に放出されるアルミニウム粒子の量が増大するので、この観点からもイオンビーム34中に含まれるアルミニウムイオンの量を増大させることができる。
高温になると背後反射電極44のスパッタ率の向上が期待できるのは、簡単に言えば、背後反射電極44を構成するアルミニウム含有物質を構成しているアルミニウム原子や他の原子等の格子振動が高温になると活発になり、これらの原子等の化学結合が切れやすくなって、アルミニウム粒子が飛び出しやすくなるからである。
高温になるとアルミニウム含有物質の蒸気圧の上昇が期待できると言っているのは、背後反射電極44を構成するアルミニウム含有物質から前記作用によって放出されるアルミニウム粒子は厳密には蒸気とは言えないかも知れないけれども、高温になると蒸気圧が高まるのに似た現象によって、アルミニウム含有物質からアルミニウム粒子が雰囲気中(即ちプラズマ生成容器2内の真空雰囲気中)へ放出されやすくなるので、これを蒸気の場合と同様に蒸気圧の上昇と言っているのである。
しかもこの実施形態の場合も、プラズマ生成容器2内の電子を反射させる機能を有する背後反射電極44をアルミニウム粒子放出用に兼用しているので、従来のイオン源のようにアルミニウムイオン生成専用のプレートを特別に設けなくて済み、それを特別に設ける場合に比べて部品点数の削減および構造の簡素化が可能である。
対向反射電極20に加えて上記のような背後反射電極44を備えており、かつ熱陰極12が傍熱型の場合の実施形態を図5に示す。
この熱陰極12は、図3に示した熱陰極12とほぼ同じ構造をしているが、この実施形態では、陰極部材36はプラズマ生成容器2内に配置されている。そしてこの熱陰極12の電子放出部(即ち前述したように陰極部材36の先端部分)の背後に、上記対向反射電極20(図4等参照)に対向させて、かつプラズマ生成容器2から電気的に絶縁して上記背後反射電極44を設けている。背後反射電極44は、言い方を変えれば陰極部材36の先端部分の側方後方に設けられていると言うこともできるが、それもこの明細書では上記「背後」に含めている。
背後反射電極44は、この実施形態では、陰極部材36を電気的に絶縁して通す穴46を有している。陰極部材36と背後反射電極44との間には、例えば3mm程度の間隔がある。従ってこの背後反射電極44も、熱陰極12の、より具体的にはその陰極部材36の近傍に設けられていると言うことができる。
この実施形態における背後反射電極44にも、図4に示した実施形態の場合とほぼ同様にして、プラズマ生成容器2の電位を基準にして負電圧を印加しても良いし、背後反射電極44をどこにも電気的に接続せずに浮遊電位にしても良い。負電圧を印加する場合は、(a)上記バイアス電源24から負のバイアス電圧VB を印加しても良いし、(b)バイアス電源24とは別の直流のバイアス電源から負のバイアス電圧を印加しても良いし、(c)図3に示した実施形態の場合と同様に背後反射電極44を上記接続部e、dまたはcに接続しても良い。もっとも、背後反射電極44が図4の実施形態で説明した作用と同様の作用を奏するためには、背後反射電極44に上記出力電圧VD が含まれているほどの大きな負電圧を印加する必要はないので、背後反射電極44を接続部eに接続してそれに上記アーク電圧VA を印加すれば大きさとしては十分である。
この実施形態の場合も、背後反射電極44に関して、図4の実施形態について説明したのとほぼ同様の作用効果を奏することができる。即ち、プラズマ生成容器2内の電子を反射させる作用に加えて、プラズマ4中に放出されるアルミニウム粒子の量を増大させてイオンビーム34(図4参照)中に含まれるアルミニウムイオンの量を増大させることができる。熱陰極12が近傍にあるために背後反射電極44が高温になり、プラズマ4中に放出されるアルミニウム粒子の量が増大することも前記と同様である。また、背後反射電極44をアルミニウム粒子放出用に兼用しているので、部品点数の削減および構造の簡素化が可能である。
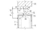
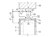
図6に示す実施形態では、上記熱陰極12の陰極部材36は、プラズマ生成容器2の開口部3内に配置されている。そしてこのプラズマ生成容器2の上記開口部3を含んでいる壁面2a(より具体的には開口部3を含んでいる一つの側面)を、電気絶縁性のアルミニウム含有物質で構成している。電気絶縁性のアルミニウム含有物質は、例えば、前述した酸化アルミニウム(Al23 )、窒化アルミニウム(AlN)等のアルミニウム化合物である。
上記アルミニウム含有物質で構成された壁面2aは、電気絶縁性のものであるので、浮遊電位にある。この壁面2aには、前述した浮遊電位の背後反射電極44の場合と同様に、イオン源運転中はプラズマ4中のイオンよりも軽くて移動度の高い電子がイオンよりも遥かに多く入射するので、当該壁面2aは負に帯電する。
従ってこの壁面2aも、上記背後反射電極44の場合と同様に、プラズマ生成容器2内の電子を反射させる作用を奏する。それに加えて、プラズマ4中に放出されるアルミニウム粒子の量を増大させてイオンビーム34中に含まれるアルミニウムイオンの量を増大させる作用効果も奏するが、これについては図7に示す実施形態と共に説明する。
図7に示す実施形態では、プラズマ生成容器2の上記開口部3を含んでいる壁面2aを、アルミニウム含有物質で構成し、かつ絶縁物50を介在させてプラズマ生成容器2の他の壁面から電気的に絶縁している。この実施形態では、アルミニウム含有物質は電気絶縁性でも良いし導電性でも良い。
上記アルミニウム含有物質で構成された壁面2aには、図5に示した実施形態における背後反射電極44の場合とほぼ同様にして、プラズマ生成容器2の電位を基準にして負電圧を印加しても良いし、当該壁面2aをどこにも電気的に接続せずに浮遊電位にしても良い。負電圧を印加する場合は、(a)上記バイアス電源24から負のバイアス電圧VB を印加しても良いし、(b)バイアス電源24とは別の直流のバイアス電源から負のバイアス電圧を印加しても良いし、(c)上記壁面2aを上記接続部e、dまたはcに接続しても良い。例えば前記と同様の理由から接続部eに接続すれば良い。
上記壁面2aを浮遊電位にしても、図6に示した実施形態における壁面2aの場合と同様の作用によって上記壁面2aは負に帯電するので、上記壁面2aに負電圧を印加した場合と同様の作用効果を奏することができる。
即ち、上記壁面2aは、上記背後反射電極44等の場合と同様に、プラズマ生成容器2内の電子を反射させる作用を奏する。
しかも、図6、図7に示したいずれの実施形態の場合も、上記アルミニウム含有物質で構成された壁面2aは、イオン源の運転中は、フッ素を含むイオン化ガス8を電離させて生成されたプラズマ4に曝されるので、対向反射電極20や背後反射電極44について上述したのと同様の作用によって、即ちプラズマ4中のフッ素イオン、フッ素ラジカル等による浸食や、プラズマ4中のフッ素イオン等のイオンによるスパッタリング等によって、上記アルミニウム含有物質で構成された壁面2aからもアルミニウム粒子がプラズマ4中に放出されるようになる。つまり、対向反射電極20だけをアルミニウム含有物質で構成する場合よりも、プラズマ4中のフッ素イオン等による浸食やスパッタリングを受けるアルミニウム含有物質の面積を増やすことができる。従って、プラズマ4中に放出されるアルミニウム粒子の量を増大させて、イオンビーム34中に含まれるアルミニウムイオンの量を、即ちアルミニウムイオンビームの量を増大させることができる。
また、上記アルミニウム含有物質で構成された壁面2aも、熱陰極12が(具体的にはその陰極部材36等が)近傍にあってそれからの放射熱によって高温になる結果、前記背後反射電極44の場合と同様に、当該壁面2aのスパッタ率の向上およびアルミニウム含有物質の蒸気圧の上昇が期待でき、それによってプラズマ4中に放出されるアルミニウム粒子の量が増大するので、この観点からもイオンビーム34中に含まれるアルミニウムイオンの量を増大させることができる。
しかも図6、図7いずれの実施形態の場合も、プラズマ生成容器2を構成する壁面の内の一部の壁面を、即ち上記開口部3を含んでいる壁面2aを、アルミニウム粒子放出用に兼用しているので、従来のイオン源のようにアルミニウムイオン生成専用のプレートを特別に設けなくて済み、それを特別に設ける場合に比べて部品点数の削減および構造の簡素化が可能である。
図6、図7の両実施形態を比べると、絶縁物50が不要であるので図6の実施形態の方がより構造が簡単であり、逆に絶縁物50を有している分、図7の実施形態の方が上記壁面2aとプラズマ生成容器2の他の壁面との間の電気絶縁を確実に取ることが容易になる。
なお、プラズマ生成容器2内側の絶縁物50の表面に、例えば溝を設ける等によって、沿面距離を増大させる構造を採用しても良く、そのようにすれば絶縁物50の表面の汚れによって絶縁性能が低下するのを抑制することができる。
2 プラズマ生成容器
2a アルミニウム含有物質で構成された壁面
4 プラズマ
8 イオン化ガス
12 熱陰極
20 対向反射電極
24 バイアス電源
28 磁界
30 磁石
34 イオンビーム
36 陰極部材
44 背後反射電極

Claims (7)

  1. アルミニウムイオンを含むイオンビームを発生させるイオン源であって、
    陽極を兼ねていて内部でプラズマを生成するための容器であって、フッ素を含むイオン化ガスが導入されるプラズマ生成容器と、
    前記プラズマ生成容器内の一方側に、前記プラズマ生成容器から電気的に絶縁して設けられた熱陰極と、
    前記プラズマ生成容器内の他方側に、前記プラズマ生成容器から電気的に絶縁して、かつ前記熱陰極に対向させて設けられていて、前記プラズマ生成容器の電位を基準にして負電圧が印加される電極であって、前記プラズマ生成容器内の電子を反射させる機能を有しており、かつアルミニウム含有物質から成る対向反射電極と、
    前記プラズマ生成容器内に、前記熱陰極と前記対向反射電極とを結ぶ線に沿う磁界を発生させる磁石とを備えていることを特徴とするイオン源。
  2. アルミニウムイオンを含むイオンビームを発生させるイオン源であって、
    陽極を兼ねていて内部でプラズマを生成するための容器であって、フッ素を含むイオン化ガスが導入されるプラズマ生成容器と、
    前記プラズマ生成容器内の一方側に、前記プラズマ生成容器から電気的に絶縁して設けられた熱陰極と、
    前記プラズマ生成容器内の他方側に、前記プラズマ生成容器から電気的に絶縁して、かつ前記熱陰極に対向させて設けられた浮遊電位の電極であって、前記プラズマ生成容器内の電子を反射させる機能を有しており、かつアルミニウム含有物質から成る対向反射電極と、
    前記プラズマ生成容器内に、前記熱陰極と前記対向反射電極とを結ぶ線に沿う磁界を発生させる磁石とを備えていることを特徴とするイオン源。
  3. 前記プラズマ生成容器内であって前記熱陰極の電子放出部の背後に、前記対向反射電極に対向させて、かつ前記プラズマ生成容器から電気的に絶縁して設けられていて、前記プラズマ生成容器の電位を基準にして負電圧が印加される電極であって、前記プラズマ生成容器内の電子を反射させる機能を有しており、かつアルミニウム含有物質から成る背後反射電極を更に備えている請求項1または2記載のイオン源。
  4. 前記プラズマ生成容器内であって前記熱陰極の電子放出部の背後に、前記対向反射電極に対向させて、かつ前記プラズマ生成容器から電気的に絶縁して設けられた浮遊電位の電極であって、前記プラズマ生成容器内の電子を反射させる機能を有しており、かつアルミニウム含有物質から成る背後反射電極を更に備えている請求項1または2記載のイオン源。
  5. 前記熱陰極は、加熱されることによって熱電子を放出する陰極部材および当該陰極部材を加熱するフィラメントを有している傍熱型の熱陰極であって、当該陰極部材は、前記プラズマ生成容器の開口部内に配置されており、
    前記プラズマ生成容器の前記開口部を含んでいる壁面を、電気絶縁性のアルミニウム含有物質で構成している請求項1または2記載のイオン源。
  6. 前記熱陰極は、加熱されることによって熱電子を放出する陰極部材および当該陰極部材を加熱するフィラメントを有している傍熱型の熱陰極であって、当該陰極部材は、前記プラズマ生成容器の開口部内に配置されており、
    前記プラズマ生成容器の前記開口部を含んでいる壁面を、アルミニウム含有物質で構成し、かつ絶縁物を介在させて前記プラズマ生成容器の他の壁面から電気的に絶縁して浮遊電位にしている請求項1または2記載のイオン源。
  7. 前記熱陰極は、加熱されることによって熱電子を放出する陰極部材および当該陰極部材を加熱するフィラメントを有している傍熱型の熱陰極であって、当該陰極部材は、前記プラズマ生成容器の開口部内に配置されており、
    前記プラズマ生成容器の前記開口部を含んでいる壁面を、アルミニウム含有物質で構成し、かつ絶縁物を介在させて前記プラズマ生成容器の他の壁面から電気的に絶縁しており、
    かつ前記アルミニウム含有物質で構成された壁面には前記プラズマ生成容器の電位を基準にして負電圧が印加される請求項1または2記載のイオン源。
JP2009122675A 2008-08-27 2009-05-21 イオン源 Active JP4428467B1 (ja)

Priority Applications (3)

Application Number Priority Date Filing Date Title
JP2009122675A JP4428467B1 (ja) 2008-08-27 2009-05-21 イオン源
CN2009101520445A CN101661862B (zh) 2008-08-27 2009-07-15 离子源
US12/547,176 US8253114B2 (en) 2008-08-27 2009-08-25 Ion source

Applications Claiming Priority (2)

Application Number Priority Date Filing Date Title
JP2008218090 2008-08-27
JP2009122675A JP4428467B1 (ja) 2008-08-27 2009-05-21 イオン源

Publications (2)

Publication Number Publication Date
JP4428467B1 JP4428467B1 (ja) 2010-03-10
JP2010080429A true JP2010080429A (ja) 2010-04-08

Family

ID=41723909

Family Applications (1)

Application Number Title Priority Date Filing Date
JP2009122675A Active JP4428467B1 (ja) 2008-08-27 2009-05-21 イオン源

Country Status (3)

Country Link
US (1) US8253114B2 (ja)
JP (1) JP4428467B1 (ja)
CN (1) CN101661862B (ja)

Cited By (9)

* Cited by examiner, † Cited by third party
Publication number Priority date Publication date Assignee Title
JP2012221629A (ja) * 2011-04-05 2012-11-12 Nissin Ion Equipment Co Ltd イオン源及び反射電極構造体
KR20190014107A (ko) * 2016-06-30 2019-02-11 베리안 세미콘덕터 이큅먼트 어소시에이츠, 인크. 향상된 이온화를 위한 이온 소스
WO2019077970A1 (ja) * 2017-10-18 2019-04-25 株式会社アルバック イオン源及びイオン注入装置
JP2020173984A (ja) * 2019-04-11 2020-10-22 株式会社アルバック イオン源及びイオン注入装置並びにマグネシウムイオン生成方法
US11107659B2 (en) 2019-07-16 2021-08-31 Sumitomo Heavy Industries Ion Technology Co., Ltd. Ion generator and ion implanter
US11232925B2 (en) 2019-09-03 2022-01-25 Applied Materials, Inc. System and method for improved beam current from an ion source
JP2023547815A (ja) * 2020-10-30 2023-11-14 アクセリス テクノロジーズ, インコーポレイテッド アルミニウムイオンビームを生成するための窒化アルミニウムまたは酸化アルミニウムのエッチング
JP2023548015A (ja) * 2020-10-30 2023-11-15 アクセリス テクノロジーズ, インコーポレイテッド アルミニウムイオンビームを発生させるためのソース材料としてジメチルアルミニウムクロリドを流す場合におけるフッ素系分子共ガス
JP2024532937A (ja) * 2021-09-13 2024-09-10 アプライド マテリアルズ インコーポレイテッド 抽出イオンビームの均一性を制御するための装置

Families Citing this family (31)

* Cited by examiner, † Cited by third party
Publication number Priority date Publication date Assignee Title
JP2983010B2 (ja) 1997-11-13 1999-11-29 株式会社 トーア 無洗米の製造方法
JP5040723B2 (ja) * 2008-02-26 2012-10-03 日新イオン機器株式会社 イオン源
JP2009295475A (ja) * 2008-06-06 2009-12-17 Nissin Ion Equipment Co Ltd イオン注入装置およびビーム軌道補正方法
JP5343835B2 (ja) * 2009-12-10 2013-11-13 日新イオン機器株式会社 反射電極構造体及びイオン源
EP2580773B1 (en) * 2010-06-08 2019-12-25 Ionwerks, Inc. Nanoparticulate assisted nanoscale molecular imaging by mass spectrometry
US8450701B2 (en) * 2011-04-19 2013-05-28 Axcelis Technologies, Inc. Vacuum system cold trap filter
CN102789945A (zh) * 2011-05-17 2012-11-21 上海凯世通半导体有限公司 用于产生带状束流的热阴极离子源系统
JP5822767B2 (ja) * 2012-03-22 2015-11-24 住友重機械イオンテクノロジー株式会社 イオン源装置及びイオンビーム生成方法
US9520263B2 (en) * 2013-02-11 2016-12-13 Novaray Medical Inc. Method and apparatus for generation of a uniform-profile particle beam
US9142386B2 (en) 2013-03-15 2015-09-22 Nissin Ion Equipment Co., Ltd. Ion beam line
US9502213B2 (en) 2013-03-15 2016-11-22 Nissin Ion Equipment Co., Ltd. Ion beam line
JP6292310B2 (ja) * 2014-09-25 2018-03-14 三菱電機株式会社 イオン注入装置
CN104480447A (zh) * 2014-12-31 2015-04-01 北京中科信电子装备有限公司 一种多功能离子源
CN105390355B (zh) * 2015-11-20 2018-01-16 中国电子科技集团公司第四十八研究所 一种反射电极结构件及离子源
CN105575748B (zh) * 2015-12-11 2017-11-21 中国电子科技集团公司第四十八研究所 一种提高大口径离子源离子束流均匀性的方法
CN105448630A (zh) * 2015-12-11 2016-03-30 中国电子科技集团公司第四十八研究所 一种生成铝离子束的离子源
CN105655217B (zh) * 2015-12-14 2017-12-15 中国电子科技集团公司第四十八研究所 一种射频偏压供电的磁控溅射金属铝离子源
US9824846B2 (en) * 2016-01-27 2017-11-21 Varian Semiconductor Equipment Associates, Inc. Dual material repeller
JP6455494B2 (ja) * 2016-09-15 2019-01-23 日新イオン機器株式会社 イオン源
DE112017007408B4 (de) * 2017-04-06 2021-01-28 Ulvac, Inc. Ionenquelle und Ionenimplantationsvorrichtung
TWI818252B (zh) * 2017-06-05 2023-10-11 美商瓦里安半導體設備公司 間接加熱式陰極離子源
CN108172490B (zh) * 2017-12-26 2020-01-03 广州今泰科技股份有限公司 多用途灯丝气体离子源装置
CN108551716B (zh) * 2018-07-06 2024-11-19 中国科学技术大学 一种等离子体生成设备
US11120966B2 (en) 2019-09-03 2021-09-14 Applied Materials, Inc. System and method for improved beam current from an ion source
US10854416B1 (en) * 2019-09-10 2020-12-01 Applied Materials, Inc. Thermally isolated repeller and electrodes
US11127558B1 (en) 2020-03-23 2021-09-21 Applied Materials, Inc. Thermally isolated captive features for ion implantation systems
WO2022072831A1 (en) 2020-10-02 2022-04-07 Entegris, Inc. Methods and systems useful for producing aluminum ions
CN113482870B (zh) * 2021-08-19 2022-06-03 北京理工大学 一种双栅极结构的碳纳米管气体场电离推力器
US12046443B2 (en) 2021-11-22 2024-07-23 Applied Materials, Inc. Shield for filament in an ion source
CN114242549B (zh) * 2021-12-21 2024-02-20 北京凯世通半导体有限公司 一种采用物质溅射形成等离子体的离子源装置
TW202414497A (zh) * 2022-07-29 2024-04-01 美商艾克塞利斯科技公司 用於使用非含有氟的鹵化物物種或分子來佈植鋁之離子佈植系統和方法

Citations (3)

* Cited by examiner, † Cited by third party
Publication number Priority date Publication date Assignee Title
JPH11238485A (ja) * 1998-02-24 1999-08-31 Sony Corp イオン注入方法
JP3758667B1 (ja) * 2005-05-17 2006-03-22 日新イオン機器株式会社 イオン源
JP3793160B2 (ja) * 2003-02-28 2006-07-05 蒲田製氷冷蔵株式会社 食品通箱内への自動氷投入装置

Family Cites Families (19)

* Cited by examiner, † Cited by third party
Publication number Priority date Publication date Assignee Title
US4424104A (en) * 1983-05-12 1984-01-03 International Business Machines Corporation Single axis combined ion and vapor source
JPH07112539B2 (ja) * 1992-04-15 1995-12-06 工業技術院長 微小粒子の作製方法及びその装置
US6653626B2 (en) * 1994-07-11 2003-11-25 Agilent Technologies, Inc. Ion sampling for APPI mass spectrometry
US6239440B1 (en) * 1996-03-27 2001-05-29 Thermoceramix, L.L.C. Arc chamber for an ion implantation system
US7838842B2 (en) * 1999-12-13 2010-11-23 Semequip, Inc. Dual mode ion source for ion implantation
US6777686B2 (en) * 2000-05-17 2004-08-17 Varian Semiconductor Equipment Associates, Inc. Control system for indirectly heated cathode ion source
US6661014B2 (en) * 2001-03-13 2003-12-09 Varian Semiconductor Equipment Associates, Inc. Methods and apparatus for oxygen implantation
GB0128913D0 (en) * 2001-12-03 2002-01-23 Applied Materials Inc Improvements in ion sources for ion implantation apparatus
JP2004134354A (ja) * 2002-08-13 2004-04-30 Nissin Electric Co Ltd 熱電子発生源およびそれを備えるイオンビーム照射装置
US7724492B2 (en) * 2003-09-05 2010-05-25 Tessera, Inc. Emitter electrode having a strip shape
GB2407433B (en) * 2003-10-24 2008-12-24 Applied Materials Inc Cathode and counter-cathode arrangement in an ion source
WO2005059942A2 (en) * 2003-12-12 2005-06-30 Semequip, Inc. Method and apparatus for extending equipment uptime in ion implantation
US7791047B2 (en) * 2003-12-12 2010-09-07 Semequip, Inc. Method and apparatus for extracting ions from an ion source for use in ion implantation
US20080223409A1 (en) * 2003-12-12 2008-09-18 Horsky Thomas N Method and apparatus for extending equipment uptime in ion implantation
JP4179337B2 (ja) * 2006-05-17 2008-11-12 日新イオン機器株式会社 イオン源およびその運転方法
US7435971B2 (en) * 2006-05-19 2008-10-14 Axcelis Technologies, Inc. Ion source
JP4915671B2 (ja) * 2007-09-20 2012-04-11 日新イオン機器株式会社 イオン源、イオン注入装置およびイオン注入方法
JP4548523B2 (ja) * 2008-07-18 2010-09-22 日新イオン機器株式会社 傍熱型陰極の組立方法
JP5119396B2 (ja) * 2008-08-18 2013-01-16 日新イオン機器株式会社 熱陰極およびそれを備えるイオン源

Patent Citations (3)

* Cited by examiner, † Cited by third party
Publication number Priority date Publication date Assignee Title
JPH11238485A (ja) * 1998-02-24 1999-08-31 Sony Corp イオン注入方法
JP3793160B2 (ja) * 2003-02-28 2006-07-05 蒲田製氷冷蔵株式会社 食品通箱内への自動氷投入装置
JP3758667B1 (ja) * 2005-05-17 2006-03-22 日新イオン機器株式会社 イオン源

Cited By (16)

* Cited by examiner, † Cited by third party
Publication number Priority date Publication date Assignee Title
JP2012221629A (ja) * 2011-04-05 2012-11-12 Nissin Ion Equipment Co Ltd イオン源及び反射電極構造体
KR102332684B1 (ko) 2016-06-30 2021-12-02 베리안 세미콘덕터 이큅먼트 어소시에이츠, 인크. 간접 가열식 이온 소스 및 버나스 이온 소스
KR20190014107A (ko) * 2016-06-30 2019-02-11 베리안 세미콘덕터 이큅먼트 어소시에이츠, 인크. 향상된 이온화를 위한 이온 소스
KR102198551B1 (ko) 2016-06-30 2021-01-06 베리안 세미콘덕터 이큅먼트 어소시에이츠, 인크. 간접 가열식 이온 소스 및 버나스 이온 소스
KR20210005291A (ko) * 2016-06-30 2021-01-13 베리안 세미콘덕터 이큅먼트 어소시에이츠, 인크. 간접 가열식 이온 소스 및 버나스 이온 소스
WO2019077970A1 (ja) * 2017-10-18 2019-04-25 株式会社アルバック イオン源及びイオン注入装置
JP6514425B1 (ja) * 2017-10-18 2019-05-15 株式会社アルバック イオン源及びイオン注入装置
JP2020173984A (ja) * 2019-04-11 2020-10-22 株式会社アルバック イオン源及びイオン注入装置並びにマグネシウムイオン生成方法
US11107659B2 (en) 2019-07-16 2021-08-31 Sumitomo Heavy Industries Ion Technology Co., Ltd. Ion generator and ion implanter
US11232925B2 (en) 2019-09-03 2022-01-25 Applied Materials, Inc. System and method for improved beam current from an ion source
JP2023547815A (ja) * 2020-10-30 2023-11-14 アクセリス テクノロジーズ, インコーポレイテッド アルミニウムイオンビームを生成するための窒化アルミニウムまたは酸化アルミニウムのエッチング
JP2023548015A (ja) * 2020-10-30 2023-11-15 アクセリス テクノロジーズ, インコーポレイテッド アルミニウムイオンビームを発生させるためのソース材料としてジメチルアルミニウムクロリドを流す場合におけるフッ素系分子共ガス
JP7696422B2 (ja) 2020-10-30 2025-06-20 アクセリス テクノロジーズ, インコーポレイテッド アルミニウムイオンビームを発生させるためのソース材料としてジメチルアルミニウムクロリドを流す場合におけるフッ素系分子共ガス
JP7719864B2 (ja) 2020-10-30 2025-08-06 アクセリス テクノロジーズ, インコーポレイテッド アルミニウムイオンビームを生成するための窒化アルミニウムまたは酸化アルミニウムのエッチング
JP2024532937A (ja) * 2021-09-13 2024-09-10 アプライド マテリアルズ インコーポレイテッド 抽出イオンビームの均一性を制御するための装置
JP7700370B2 (ja) 2021-09-13 2025-06-30 アプライド マテリアルズ インコーポレイテッド 抽出イオンビームの均一性を制御するための装置

Also Published As

Publication number Publication date
CN101661862B (zh) 2011-06-15
US20100051825A1 (en) 2010-03-04
US8253114B2 (en) 2012-08-28
JP4428467B1 (ja) 2010-03-10
CN101661862A (zh) 2010-03-03

Similar Documents

Publication Publication Date Title
JP4428467B1 (ja) イオン源
EP2492949B1 (en) Stable cold field emission electron source
CN102097271B (zh) 反射电极结构件和离子源
JP3716700B2 (ja) イオン源およびその運転方法
CN105990076B (zh) 离子束装置、离子注入装置、离子束放出方法
TWI730642B (zh) 間接加熱式陰極離子源及操作其的方法
KR102272680B1 (ko) 이온발생장치 및 열전자 방출부
JP4179337B2 (ja) イオン源およびその運転方法
US12051560B2 (en) Ion gun and ion milling machine
CN105448630A (zh) 一种生成铝离子束的离子源
JP2009283459A (ja) マルチモードイオン源
JP5321234B2 (ja) イオン源
JP3075129B2 (ja) イオン源
US11600473B2 (en) Ion source with biased extraction plate
JP3073711B2 (ja) イオンプレーティング装置
JP4029495B2 (ja) イオン源
JPH10255675A (ja) 負イオン源
JPH10275566A (ja) イオン源
TW202509969A (zh) 間接加熱陰極離子源以及離子佈植器
JP2004311135A (ja) カーボンナノチューブを用いた負イオン源
JPH0721993B2 (ja) スパッタ型イオン源
CN111739774A (zh) 离子源
JPH0817378A (ja) イオン源装置
Oks Self-sputtering of an inverted cylindrical magnetron for ion beam generation
JPH076722A (ja) イオン源装置

Legal Events

Date Code Title Description
TRDD Decision of grant or rejection written
A01 Written decision to grant a patent or to grant a registration (utility model)

Free format text: JAPANESE INTERMEDIATE CODE: A01

FPAY Renewal fee payment (event date is renewal date of database)

Free format text: PAYMENT UNTIL: 20121225

Year of fee payment: 3

R150 Certificate of patent or registration of utility model

Ref document number: 4428467

Country of ref document: JP

Free format text: JAPANESE INTERMEDIATE CODE: R150

Free format text: JAPANESE INTERMEDIATE CODE: R150

A61 First payment of annual fees (during grant procedure)

Free format text: JAPANESE INTERMEDIATE CODE: A61

Effective date: 20091207

FPAY Renewal fee payment (event date is renewal date of database)

Free format text: PAYMENT UNTIL: 20121225

Year of fee payment: 3

FPAY Renewal fee payment (event date is renewal date of database)

Free format text: PAYMENT UNTIL: 20121225

Year of fee payment: 3

FPAY Renewal fee payment (event date is renewal date of database)

Free format text: PAYMENT UNTIL: 20131225

Year of fee payment: 4

R250 Receipt of annual fees

Free format text: JAPANESE INTERMEDIATE CODE: R250

FPAY Renewal fee payment (event date is renewal date of database)

Free format text: PAYMENT UNTIL: 20131225

Year of fee payment: 4

R250 Receipt of annual fees

Free format text: JAPANESE INTERMEDIATE CODE: R250

R250 Receipt of annual fees

Free format text: JAPANESE INTERMEDIATE CODE: R250

R250 Receipt of annual fees

Free format text: JAPANESE INTERMEDIATE CODE: R250

R250 Receipt of annual fees

Free format text: JAPANESE INTERMEDIATE CODE: R250

R250 Receipt of annual fees

Free format text: JAPANESE INTERMEDIATE CODE: R250

R250 Receipt of annual fees

Free format text: JAPANESE INTERMEDIATE CODE: R250

R250 Receipt of annual fees

Free format text: JAPANESE INTERMEDIATE CODE: R250

R250 Receipt of annual fees

Free format text: JAPANESE INTERMEDIATE CODE: R250

R250 Receipt of annual fees

Free format text: JAPANESE INTERMEDIATE CODE: R250

R250 Receipt of annual fees

Free format text: JAPANESE INTERMEDIATE CODE: R250

R250 Receipt of annual fees

Free format text: JAPANESE INTERMEDIATE CODE: R250