JP2010076150A - フォルダグルア - Google Patents

フォルダグルア Download PDF

Info

Publication number
JP2010076150A
JP2010076150A JP2008244800A JP2008244800A JP2010076150A JP 2010076150 A JP2010076150 A JP 2010076150A JP 2008244800 A JP2008244800 A JP 2008244800A JP 2008244800 A JP2008244800 A JP 2008244800A JP 2010076150 A JP2010076150 A JP 2010076150A
Authority
JP
Japan
Prior art keywords
belt
speed
folder gluer
folding
motor
Prior art date
Legal status (The legal status is an assumption and is not a legal conclusion. Google has not performed a legal analysis and makes no representation as to the accuracy of the status listed.)
Granted
Application number
JP2008244800A
Other languages
English (en)
Other versions
JP5382299B2 (ja
Inventor
Yuji Yamazaki
裕司 山崎
Hisashi Hayashi
久詞 林
Hidenori Kokubo
秀則 小久保
Current Assignee (The listed assignees may be inaccurate. Google has not performed a legal analysis and makes no representation or warranty as to the accuracy of the list.)
Isowa Corp
Original Assignee
Isowa Industry Co Ltd
Isowa Corp
Priority date (The priority date is an assumption and is not a legal conclusion. Google has not performed a legal analysis and makes no representation as to the accuracy of the date listed.)
Filing date
Publication date
Application filed by Isowa Industry Co Ltd, Isowa Corp filed Critical Isowa Industry Co Ltd
Priority to JP2008244800A priority Critical patent/JP5382299B2/ja
Priority to US12/554,187 priority patent/US8241195B2/en
Publication of JP2010076150A publication Critical patent/JP2010076150A/ja
Application granted granted Critical
Publication of JP5382299B2 publication Critical patent/JP5382299B2/ja
Expired - Fee Related legal-status Critical Current
Anticipated expiration legal-status Critical

Links

Images

Classifications

    • BPERFORMING OPERATIONS; TRANSPORTING
    • B31MAKING ARTICLES OF PAPER, CARDBOARD OR MATERIAL WORKED IN A MANNER ANALOGOUS TO PAPER; WORKING PAPER, CARDBOARD OR MATERIAL WORKED IN A MANNER ANALOGOUS TO PAPER
    • B31BMAKING CONTAINERS OF PAPER, CARDBOARD OR MATERIAL WORKED IN A MANNER ANALOGOUS TO PAPER
    • B31B50/00Making rigid or semi-rigid containers, e.g. boxes or cartons
    • BPERFORMING OPERATIONS; TRANSPORTING
    • B31MAKING ARTICLES OF PAPER, CARDBOARD OR MATERIAL WORKED IN A MANNER ANALOGOUS TO PAPER; WORKING PAPER, CARDBOARD OR MATERIAL WORKED IN A MANNER ANALOGOUS TO PAPER
    • B31BMAKING CONTAINERS OF PAPER, CARDBOARD OR MATERIAL WORKED IN A MANNER ANALOGOUS TO PAPER
    • B31B50/00Making rigid or semi-rigid containers, e.g. boxes or cartons
    • B31B50/02Feeding or positioning sheets, blanks or webs
    • B31B50/04Feeding sheets or blanks
    • B31B50/042Feeding sheets or blanks using rolls, belts or chains
    • BPERFORMING OPERATIONS; TRANSPORTING
    • B31MAKING ARTICLES OF PAPER, CARDBOARD OR MATERIAL WORKED IN A MANNER ANALOGOUS TO PAPER; WORKING PAPER, CARDBOARD OR MATERIAL WORKED IN A MANNER ANALOGOUS TO PAPER
    • B31BMAKING CONTAINERS OF PAPER, CARDBOARD OR MATERIAL WORKED IN A MANNER ANALOGOUS TO PAPER
    • B31B50/00Making rigid or semi-rigid containers, e.g. boxes or cartons
    • B31B50/26Folding sheets, blanks or webs
    • B31B50/58Folding sheets, blanks or webs by moving endless belts or chains

Landscapes

  • Making Paper Articles (AREA)

Abstract

【課題】段ボールシートの搬送方向に対する傾きの発生を抑制するフォルダグルアを提供する。
【解決手段】本発明によるフォルダグルア1は、段ボールシートSを搬送すると共に展開状態から折り上げ、並列に配置され段ボールシートを搬送するための第1のベルト2a及び第2のベルト2bからなる2本の平ベルトと、フォルダグルアの搬送方向の始端部1a或いは終端部1bに設けられ第1及び第2の平ベルトをそれぞれ摩擦力で駆動する2つのプーリ14a、14bと、各プーリを駆動する2つのモータ20a、20bと、第1のベルト及び第2のベルトの速度をそれぞれ検出するセンサ機構24a、24b、26a、26b、40a、40bと、このセンサ機構により検出される第1のベルト及び第2のベルトの速度の差が0になるように2つのモータを制御する制御装置30と、を有する。
【選択図】図1

Description

本発明は、フォルダグルアに係り、特に、段ボールシートを搬送すると共に展開状態から折り上げるフォルダグルアに関する。
従来、搬送される段ボールシートの姿勢、即ち、搬送方向に対する段ボールシートの傾きを強制する装置として、印刷や打抜きの加工ラインにおいて、搬送中のシートWSをシート面内において所定角度だけ回転させるシート回転機構3により、段ボールシートの基準方向Bがシート送り方向Tとほぼ一致するように搬送中のシートWSの姿勢を矯正して、次工程であるフォルダグルアへと段ボールシートを搬送する段ボールシート姿勢矯正装置が知られている(特許文献1)。
また、搬送される段ボールシートの姿勢を強制する装置として、製函機において、ブランク(段ボールシート)の検出用センサによりブランクが検出されたとき、その検出信号により自動制御装置を介してブランク横ずれ修正用ストッパを作動させ、ブランクが正しい姿勢に修正されて、次工程である折り曲げや糊付けを行うフォルダグルアへとブランクを搬送するブランク横ずれ修正装置が知られている(特許文献2)
また、搬送される段ボールシートの姿勢を強制する装置として、フォルダグルアにおいて、爪付き搬送ベルト21の押し爪24で箱体A1の後端縁を押圧して位置決め部材25に押し付け、押し爪24とで箱体A1を前後から挟持して、段ボールシートの傾きを修正する装置が知られている(特許文献3)。
特開平11−105160号公報 特開昭63−151443号公報 特開2006−035741号公報
フォルダグルアにおいては、段ボールシートを2本の搬送ベルトで搬送するのが一般的である。本発明者らは、フォルダグルアにおいて、段ボールシートの姿勢が正規の姿勢から傾く原因が、2本の搬送ベルトの搬送速度に差があることにあることを実証により見いだした。即ち、摩擦伝達系ベルト(平ベルト)を摩擦力によりプーリで駆動する場合、プーリに接触するベルト面の経時変化による表面性状の変化が2つのベルト間で異なること(プーリ・ベルト間の摩擦伝達力の変化)や、搬送ベルトの搬送速度の高速化による搬送速度の変動、搬送する段ボールシートの負荷などの要因により、2本のベルトに速度差が生じ、段ボールシートが搬送方向に対して傾くようになるのである。このような傾きは、シート折り上げ段階で箱の変形に結び付き、製品不良に繋がる大きな問題である。特に、上述した要因により、搬送ベルトの速度変動が時間的にみてゆっくりと変動する経時変化が起こり、フォルダグルアにおいて何枚もの大量の段ボールシートを連続して高速で搬送すると、図8(a)に示すように最初のバッチでは良好に折り上げることが出来ていたのに、図8(b)に示すように搬送速度Dが異なると、最後のバッチでは不良が出てしまうといった問題も生じる。
これに対し、上述した特許文献1〜3は、段ボールシートが搬送方向に対して傾くことを前提に、段ボールシートの傾きを矯正する回転機構2(特許文献1)、ブランク横ずれ修正用ストッパ(特許文献2)、位置決め部材25及び押し爪24(特許文献3)を設けるものであり、装置が大がかりになると共にコストが高くなるものである。そして、これらの技術では、段ボールシートの傾きのずれの原因自体を解消することは出来ず、それ故、業界から要望されているように搬送ベルトの搬送速度を高速化すると、特許文献1〜3に開示されているような従来技術では、段ボールシートを正確に正規の姿勢に強制することが難しくなる。
一方、2本の搬送ベルトをタイミングベルト(歯付きベルト)にすることで、2本のベルトの速度差をほぼ0に抑えることが出来るが、正確な搬送タイミングを図るための歯部分を形成する必要があり、厚さやエンドレス化の必要性などの制約条件が生じると共に、ベルトが消耗部品であることを考慮するとコスト面で非常に高価なものになってしまう。
本発明は、上述した従来技術の問題点を解決するためになされたものであり、段ボールシートの搬送方向に対する傾きの発生を抑制するフォルダグルアを提供することを目的とする。
上記の目的を達成するために本発明によるフォルダグルアによれば、段ボールシートを搬送すると共に展開状態から折り上げるフォルダグルアであって、並列に配置され段ボールシートを搬送するための第1のベルト及び第2のベルトからなる2本の平ベルトと、フォルダグルアの搬送方向の始端部或いは終端部に設けられ第1及び第2の平ベルトをそれぞれ摩擦力で駆動する2つのプーリと、第1のベルト用のプーリ及び第2のベルト用のプーリのそれぞれを駆動する2つのモータと、第1のベルト及び第2のベルトの速度をそれぞれ検出するセンサ機構と、このセンサ機構により検出される第1のベルト及び第2のベルトの速度の差が0になるように2つのモータを制御する制御装置と、を有することを特徴としている。
このように構成された本発明においては、並列に配置され段ボールシートを搬送するための第1のベルト及び第2のベルトからなる2本の平ベルトと、フォルダグルアの搬送方向の始端部及び終端部にそれぞれ設けられ第1及び第2の平ベルトをそれぞれ摩擦力で駆動する第1のベルト用及び第2のベルト用の2組のプーリを有しているので、摩擦力の低下などによる両平ベルトの速度の差異などが懸念されるが、センサ機構により2つの平ベルトの速度を検出し、制御機構により2つの平ベルトの速度の差が0となるように2つの平ベルト用の2つの駆動モータの少なくとも一方を制御するので、段ボールシートの搬送方向に対する傾きの発生を抑制することが出来る。
また、本発明において、好ましくは、制御装置は、第1のベルト及び第2のベルトの速度がそれぞれ基準速度になるように2つのモータの両方を制御する。
このように構成された本発明においては、摩擦力の減少などによる両平ベルトの速度の低下が抑制され、より確実に段ボールシートの搬送方向に対する傾きの発生を抑制することが出来る。
また、本発明において、好ましくは、制御装置は、第1のベルト及び第2のベルトのいずれか一方の速度を他方の速度に合わせるように2つのモータのうちの一方を制御する。
このように構成された本発明においては、容易に段ボールシートの搬送方向に対する傾きの発生を抑制することが出来る。
上記の目的を達成するために本発明によるフォルダグルアによれば、段ボールシートを搬送すると共に展開状態から折り上げるフォルダグルアであって、並列に配置され段ボールシートを搬送するための第1のベルト及び第2のベルトからなる2本の平ベルトと、フォルダグルアの搬送方向の始端部或いは終端部に設けられ上記第1及び第2の平ベルトをそれぞれ摩擦力で駆動する2つのプーリと、第1のベルト用のプーリを駆動する1つのモータと、この1つのモータにより駆動される第1のベルト用プーリと、他方の第2のベルト用プーリとを連結して第1のベルト用プーリの駆動力を第2のベルト用プーリに伝達する駆動軸と、この駆動軸に設けられ第1のベルト用プーリと第2のベルト用プーリとの速度差を生じさせる差動機構と、第1のベルト及び第2のベルトの速度をそれぞれ検出するセンサ機構と、このセンサ機構により検出された第1のベルト及び第2のベルトの速度の差が0になるように1つのモータ及び/又は上記差動機構を制御する制御装置と、を有することを特徴としている。
このように構成された本発明においては、並列に配置され段ボールシートを搬送するための第1のベルト及び第2のベルトからなる2本の平ベルトと、フォルダグルアの搬送方向の始端部及び終端部にそれぞれ設けられ第1及び第2の平ベルトをそれぞれ摩擦力で駆動する第1のベルト用及び第2のベルト用の2組のプーリを有しているので、摩擦力の低下などによる両平ベルトの速度の差異などが懸念されるが、センサ機構により2つの平ベルトの速度を検出し、制御機構により2つの平ベルトの速度の差が0となるように駆動モータ及び/又は差動機構を制御するので、段ボールシートの搬送方向に対する傾きの発生を抑制することが出来る。
また、本発明において、好ましくは、制御装置は、第1のベルト及び第2のベルトの速度がそれぞれ基準速度になるように1つのモータと上記差動機構の両方を制御する。
このように構成された本発明においては、より確実に段ボールシートの搬送方向に対する傾きの発生を抑制することが出来る。
また、本発明において、好ましくは、制御装置は、第2のベルトの速度を第1のベルトの速度に合わせるように差動機構を制御する。
このように構成された本発明においては、容易に段ボールシートの搬送方向に対する傾きの発生を抑制することが出来る。
また、本発明において、好ましくは、センサ機構は、第1のベルト及び第2のベルトにそれぞれ設けられたセンシングタグと、第1のベルト及び第2のベルトのそれぞれにおいて、各ベルトの速度を検知するために所定距離だけ搬送方向に間隔をおいて設けられセンシングタグの通過を検知する2組のタグセンサとで構成されている。センシングタグとして、光電センサによって検出される反射板または遮光板を用いてもよいし、近接センサによって検知される金属タグを用いてもよい。また、送受信機によって検知される無線ICタグを用いてもよい。このように構成された本発明においては、確実に第1のベルト及び第2のベルトの速度を検出することが出来る。
また、本発明において、好ましくは、タグセンサが、光電センサである。
このように構成された本発明においては、光電センサにより反射板や遮光板などのセンシングタグを確実に検出することが出来る。
また、本発明において、好ましくは、センシングタグが2つ以上設けられる。
このように構成された本発明においては、例えばタグセンサの所定間隔を小さくとり、2つ以上の複数のセンシングタグを次々にセンシングして、リアルタイムに近い制御を行うことが出来る。
また、本発明において、好ましくは、モータはサーボモータである。
このように構成された本発明においては、高い制御性を得ることが出来、速度変動要因に対しリアルタイムで2本のベルトの速度の同一化を図ることが出来る。
また、ベクトルインバータモータ、汎用モータを用いてもよい。
本発明のフォルダグルアによれば、段ボールシートの搬送方向に対する傾きの発生を抑制することが出来、搬送される段ボールシートに接触する構成の傾き矯正機構を特別に設ける必要がない。
以下、添付図面を参照しながら本発明の好ましい実施の形態について説明する。
先ず、図1により、本発明の第1実施形態によるフォルダグルアの全体構成を説明する。図1は、本発明の第1実施形態によるフォルダグルアの全体構成を示す平面図(a)、側面図(b)及び段ボールシートの折り上げ状態を示す図(c)である。
図1(b)に示すように、フォルダグルア1は、フォールディング上ベルト2(2a、2b)、フォールディング下ベルト4及び折り上げベルト6を有する。フォールディング上ベルト2、フォールディング下ベルト4及び折り上げベルト6は、いずれも、フォルダグルア1の両側に2本づつ設けられている。各フォールディング下ベルト4は、搬送方向D(図1(a)及び図1(b)の矢印D)の始端部1aから中間部1cまで延び、各折り上げベルト6は、搬送方向Dの中間部1cから終端部1bまで延びている。
フォールディング上ベルト2は、図1(a)に示すように、オペレータサイド(OS)2a、ドライブサイド(DS)2bのベルトで構成され、フォルダグルア1の搬送方向Dの始端部1aから終端部1bまで延びている。それらの長さは例えば約10mである。フォールディング上ベルト2は、平ベルトであり、その始端部1aと終端部1bとにプーリ12、14が設けられている。そして、後述するように後端部のプーリ14(14a、14b)がモータ20a、20bにより駆動され(図2参照)、各プーリ14a、14bと平ベルトであるフォールディング上ベルト2a、2bとの間の摩擦力により駆動力をフォールディング上ベルト2a、2bに伝達するようになっている。
段ボールシートSは、印刷や打ち抜きの工程からフォルダグルア1に送られ、フォルダグルア1の前半部分(始端部1a〜中間部1c)では、フォールディング上ベルト2とフォールディング下ベルト4に挟み込まれると共にフォールディング上ベルト2及びフォールディング下ベルト4により搬送方向Dの方向に送られる。フォールディング上ベルト2とフォールディング下ベルト4との間隙は、段ボールシートSの厚さより若干小さくなるように調整され、段ボールシートSに十分な搬送力を与えている。この前半部分では、フォールディング下ベルト4の側方に設けられた折り上げバー(図示せず)により、図1(c)に示すように、段ボールシートSの第1部分S1及び第4部分S4が徐々に直角方向に折り曲げられるようになっている。
次に、フォルダグルア1の後半部分(中間部1c〜終端部1b)では、段ボールシートSは、フォールディング上ベルト2により搬送方向Dの方向に送られると共に、折り上げベルト6により、図1(c)に示すように、段ボールシートSの第1部分S1及び第4部分S4が徐々に180度の方向に完全に折り曲げられるようになっている。この後半部分では、段ボールシートSを180度の方向に曲げるために、前半部分のような段ボールシートSを挟み込むフォールディング下ベルト4を設けることが出来ない。そこで、本実施形態では、段ボールシートSをサクション装置8によりフォールディング上ベルト2に吸着させるようにしており、フォールディング上ベルト2には、空気を吸引し段ボールシートSを引きつけるための複数の孔部が設けられている。
次に、フォルダグルア1の始端部1aでは、糊付け装置10及びアプリケータロール13により段ボールシートSの第1部分S1の糊代S5に糊付けが行われる。糊付けされた糊代S5によって、フォルダグルアの終端部1bにおいて、段ボールシートSの第1部分S1と第4部分S4とが互いに接着される。
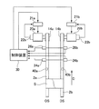
次に、図2により本発明の第1実施形態によるフォールディング上ベルトの駆動機構、制御装置及びセンサ機構について説明する。図2は、フォールディング上ベルトの駆動機構、制御装置及びセンサ機構を説明するためのフォールディング上ベルトの下方側から見たフォルダグルアの構成図である。
先ず、駆動機構としては、図2に示すように、フォールディング上ベルト(OSベルト)2a、フォールディング上ベルト(DSベルト)2bのプーリ14a、14bには、それぞれ、サーボモータ20a、20bが設けられている。これらのサーボモータ20a、20bはさらに、サーボアンプ21a、21bに接続されている。サーボアンプ21a、21bは、制御装置30からの指令に基づいて、サーボモータ20a、20bの制御を行う。サーボモータ20a、20bは、プーリ14a、14bを介して各フォールディング上ベルト2a、2bを駆動するようになっている。
なお、サーボモータ20a、20bの代わりに、ベクトルインバータ式のモータや汎用モータを使用しても良い。この場合、モータと制御装置30との接続は、図5のようになる。
次に、制御機構としては、各サーボモータ20a、20bには、それぞれ、パルスエンコーダ22a、22bが設けられ、これらのパルスエンコーダ22a、22bの検出値がサーボアンプ21a、21bに送られるようになっている。サーボアンプ21a、21bでは、各サーボモータ20a、20bに所定の回転速度となるように指令を送ると共にパルスエンコーダ22a、22bの検出値に基づいてサーボモータ20a、20bの回転速度が制御装置30の指令値どおりになるようにフィードバック制御を行う。
次に、センサ機構としては、2つのフォールディング上ベルト2a、2bに、それぞれ、センシングタグ40a、40b設けられると共に、これらのセンシングタグ40a、40bをそれぞれ検知する第1センサ24a、24b及び第2センサ26a、26bが設けられている。第1センサ24a、24bと第2センサ26a、26bとは、それぞれ所定距離(例えば約1m)離れて設けられており、センシングタグ40a、40bの通過をそれぞれ検出する。そして、第1センサ24a、24bと第2センサ26a、26bは制御装置30に接続され、第1センサ24a、24b及び第2センサ26a、26bの間の距離と、第1センサ24a、24bから第2センサ26a、26bまでのセンシングタグ40a、40bの通過に要する時間とから、フォールディング上ベルト2a、2bの速度を算出するようになっている。なお、速度の検出誤差を小さくするためには、第1センサ24a、24bと第2センサ26a、26bとの距離を例えば1mと大きくすればよい。また、リアルタイムに近い制御を行うためには、第1センサ24a、24bと第2センサ26a、26bとの距離を例えば数十cmと小さくするとともに、フォールディングベルト上に2つ以上の複数のセンシングタグを取り付け、各センシングタグの通過時間を連続して計測すればよい。この場合、センシングタグ同士の間隔(距離)は、第1センサ24a、24bと第2センサ26a、26bとの間の間隔(距離)よりも大きくする必要がある。
好ましくは、第1センサ24a、24b及び第2センサ26a、26bは、検出精度の高い光電センサである。この場合には、センシングタグ40a、40bを、光電センサから発射される信号光を反射または透過する、反射板または遮光板によって構成する。なお、センシングタグ40a、40bを金属板によって構成し、第1センサ24a、24b及び第2センサ26a、26bを近接センサとして、検知を行ってもよい。また、センシングタグ40a、40bを無線ICタグによって構成し、第1センサ24a、24b及び第2センサ26a、26bを送受信機として、検知を行ってもよい。
次に、図3により本発明の第1実施形態による制御装置の制御内容を説明する。図3は、本発明の第1実施形態による制御装置の制御内容を示すフローチャートである。Sは、ステップを表す。
まず、S1において、オペレータサイド(OS)のモータ20a及びドライブサイド(DS)のモータ20bの両方にマスター速度指令値(基準速度)VMの信号を送り、各フォールディング上ベルト2a、2bがこの速度VMとなるようにモータ20a、20bを駆動する。この基準速度VMは、プーリ14a、14bとフォールディング上ベルト2a、2bとの滑りなどが生じないものとした理想値として設定されている。
次に、S2において、上述したセンサ機構によりオペレータサイド(OS)のフォールディング上ベルト2aの実際の速度(VOS)を検出し、S3において、ドライブサイド(DS)のフォールディング上ベルト2bの実際の速度(VDS)を検出する。
次に、S4において、S1で設定されたフォールディング上ベルト2aの基準速度であるVMと、S2で検出されたフォールディング上ベルト(OS側)2aの実測値VOSとの差VXが規定値(許容値)内であるか否か判定する。規定値は、搬送される段ボールシートが各ベルト2a、2bの速度差の影響を受けて傾く場合、その傾きが製品形状に影響を与えない程小さい範囲に設定される。
許容値より大きい場合は、S5に進み、モータ20aを制御する。具体的には、指令値であるVMと、実測値であるVOSとの差VYに基づき、モータ20aが実際にVMとなるようにフィードバック制御を行う。規定値より小さい場合には、S5の制御を行わない。
次に、S6において、S1で設定されたフォールディング上ベルト2bの基準速度であるVMと、S3で検出されたフォールディング上ベルト(DS側)2bの実測値VDSとの差VYが規定値(許容値)内であるか否か判定する。S4と同様に、規定値は、搬送される段ボールシートが各ベルト2a、2bの速度差の影響を受けて傾く場合、その傾きが製品形状に影響を与えない程小さい範囲に設定される。
許容値より大きい場合は、S7に進み、モータ20bを制御する。具体的には、指令値であるVMと、実測値であるVDSとの差VYに基づき、モータ20bにより駆動されるフォールディング上ベルト2bが実際にVMとなるようにフィードバック制御を行う。規定値より小さい場合には、S7の制御を行わない。
次に、S8において、オペレータサイド(OS)における速度差VXとドライブサイド(DS)における速度差VYが、それぞれ、規定値以内であるか否かを判定する。既定値より大きい場合は、S9に進み、フォールディング上ベルト2a、2bの滑り率が過大であるとのアラーム警告を行う。この場合、ベルトテンションのゆるみや、プーリ14a、14bとベルト2a、2bとのすべりが大きいことが考えられる。
次に、S10において、フォールディング上ベルト(OS側)2aの実測値VOSと、フォールディング上ベルト(DS側)2bの実測値VDSとの差が、規定値以内であるか否かを判定する。規定値より大きい場合は、OS側ベルト2aとDS側ベルト2bとの速度差が過大であるとのアラーム警告を行う。この場合、段ボールシートSが傾くことになり、ギャップ精度の確認をする必要がある。
なお、図3のS4乃至S7の制御に代えて、OS側或いはDS側のいずれか一方のモータ(20a又は20b)のみを制御して、OS側ベルト2aとDS側ベルト2bの速度差が0になるようにしても良い。
即ち、図4に示すように、S14において、フォールディング上ベルト(OS側)2aの実測値VOSと、フォールディング上ベルト(DS側)2bの実測値VDSとの差が、規定値以内であるか否かを判定する。規定値は、搬送される段ボールシートが各ベルト2a、2bの速度差の影響を受けて傾く場合、その傾きが製品形状に影響を与えない程小さい範囲に設定される。
規定値より大きい場合は、S15において、実測値VOSと実測値VDSとの差に基づいて、DS側のベルト2bの速度がOS側のベルト2aと同じになるように、DS側のモータ20bを制御する。或いは、実測値VOSと実測値VDSとの差に基づいて、OS側のベルト2aの速度がDS側のベルト2bと同じになるように、OS側のモータ20aを制御する。
以上説明したように、本発明の第1実施形態及びその変形例により、フォールディング上ベルト2a、2bの速度を同一にすることが出来、その結果、段ボールシートSの搬送方向Dに対する傾きの発生を抑制することが出来る。
次に、本発明の第2実施形態によるフォルダグルアを説明する。
第2実施形態によるフォルダグルアの全体構成は、上述した第1実施形態の図1の構成と同様であるので、ここでは省略する。
次に、図5により本発明の第2実施形態によるフォールディング上ベルトの駆動機構、制御装置及びセンサ機構について説明する。図5は、フォールディング上ベルトの駆動機構、制御装置及びセンサ機構を説明するためのフォールディング上ベルトの下方側から見たフォルダグルアの構成図である。
先ず、図5に示すように、フォールディング上ベルト(OSベルト)2aのプーリ14aには、サーボモータ20aが設けられている。サーボモータ20aは、制御装置30からの指令に基づいて、プーリ14aを介してフォールディング上ベルト2aを駆動するようになっている。制御装置30では、サーボモータ20aに所定の回転速度となるように指令を送ると共にパルスエンコーダ22aの検出値に基づいてサーボモータ20a回転速度が制御装置30の指令値どおりになるようにフィードバック制御を行う。
なお、サーボモータ20a、20bの代わりに、ベクトルインバータ式のモータや汎用モータを使用して、図5のようにそれらのモータと制御装置30とを接続しても良い。
一方、プーリ14bには、サーボモータ20aの駆動力が伝達されるように、プーリ14aとプーリ14aとを連結する駆動軸40が取付られている。即ち、サーボモータ20aの駆動力は、プーリ14a及び駆動軸40を介してプーリ14bに伝達される。
また、この駆動軸40には、差動機構42が設けられている。この差動機構42は、差動機構42の両側のそれぞれの駆動軸40a、40bが異なる回転数を有するように所謂ディファレンシャル機構として作動するものであり、その回転数の差は、差動機構42に連結されたモータ44により制御される。
センサ機構は、上述した第1実施形態と同様の構成であり、2つのフォールディング上ベルト2a、2bに、それぞれ、センシングタグ40a、40b設けられると共に、これらのセンシングタグ40a、40bをそれぞれ検知する第1センサ24a、24b及び第2センサ26a、26bが設けられている。そして、制御装置30では、第1センサ24a、24b及び第2センサ26a、26bの間の距離と、第1センサ24a、24bから第2センサ26a、26bまでのセンシングタグ40a、40bの通過に要する時間とから、フォールディング上ベルト2a、2bの速度を算出するようになっている。
好ましくは、第1センサ24a、24b及び第2センサ26a、26bは、検出精度の高い光電センサである。この場合には、センシングタグ40a、40bを、光電センサから発射される信号光を反射または透過する反射板または遮光板によって構成する。なお、センシングタグ40a、40bを金属板によって構成し、第1センサ24a、24b及び第2センサ26a、26bを近接センサとして、検知を行ってもよい。また、センシングタグ40a、40bを無線ICタグによって構成し、第1センサ24a、24b及び第2センサ26a、26bを送受信機として、検知を行ってもよい。
次に、図6により本発明の第2実施形態による制御装置の制御内容を説明する。図6は、本発明の第2実施形態による制御装置の制御内容を示すフローチャートである。Sは、ステップを表す。
まず、S31において、オペレータサイド(OS)のモータ20aにマスター速度指令値(基準速度)VMの信号を送り、フォールディング上ベルト2aがこの速度VMとなるようにモータ20aを駆動する。この基準速度VMは、プーリ14a、14bとフォールディング上ベルト2a、2bとの滑りなどが生じないものとした理想値として設定されている。このS31においては、差動機構42を作動させず、プーリ14bをプーリ14aと同じ回転速度なるように駆動する。即ち、フォールディング上ベルト2aが速度VMとなるように駆動される。
次に、S32において、上述したセンサ機構によりオペレータサイド(OS)のフォールディング上ベルト2aの実際の速度(VOS)を検出し、S33において、ドライブサイド(DS)のフォールディング上ベルト2bの実際の速度(VDS)を検出する。
次に、S34において、S31で設定されたフォールディング上ベルト2aの基準速度であるVMと、S2で検出されたフォールディング上ベルト(OS側)2aの実測値VOSとの差VXが規定値(許容値)内であるか否か判定する。規定値は、搬送される段ボールシートが各ベルト2a、2bの速度差の影響を受けて傾く場合、その傾きが製品形状に影響を与えない程小さい範囲に設定される。
許容値より大きい場合は、S35に進み、モータ20aを制御する。具体的には、指令値であるVMと、実測値であるVOSとの差Vxに基づき、モータ20aが実際にVMとなるようにフィードバック制御を行う。規定値より小さい場合には、S35の制御を行わない。
次に、S36において、S31で設定されたフォールディング上ベルト2bの基準速度であるVMと、S33で検出されたフォールディング上ベルト(DS側)2bの実測値VDSとの差VXが規定値(許容値)内であるか否か判定する。S34と同様に、規定値は、搬送される段ボールシートが各ベルト2a、2bの速度差の影響を受けて傾く場合、その傾きが製品形状に影響を与えない程小さい範囲に設定される。
許容値より大きい場合は、S37に進み、差動機構42を制御する。具体的には、指令値であるVMと、実測値であるVDSとの差VYに基づき、駆動軸40により駆動されるフォールディング上ベルト2bが実際にVMとなるようにフィードバック制御を行う。規定値より小さい場合には、S37の制御を行わない。
次に、S38において、オペレータサイド(OS)における速度差VYとドライブサイド(DS)における速度差VYが、それぞれ、規定値以内であるか否かを判定する。既定値より大きい場合は、S39に進み、フォールディング上ベルト2a、2bの滑り率が過大であるとのアラーム警告を行う。この場合、ベルトテンションのゆるみや、プーリ14a、14bとベルト2a、2bとのすべりが大きいことが考えられる。
次に、S40において、フォールディング上ベルト(OS側)2aの実測値VOSと、フォールディング上ベルト(DS側)2bの実測値VDSとの差が、規定値以内であるか否かを判定する。規定値より大きい場合は、OS側ベルト2aとDS側ベルト2bとの速度差が過大であるとのアラーム警告を行う。この場合、段ボールシートSが傾くことになり、ギャップ精度の確認をする必要がある。
なお、図6のS34乃至S37の制御に代えて、OS側のモータ20a或いは差動機構42のいずれか一方のみを制御して、OS側ベルト2aとDS側ベルト2bの速度差が0になるようにしても良い。
即ち、図7に示すように、S54において、フォールディング上ベルト(OS側)2aの実測値VOSと、フォールディング上ベルト(DS側)2bの実測値VDSとの差が、規定値以内であるか否かを判定する。規定値は、搬送される段ボールシートが各ベルト2a、2bの速度差の影響を受けて傾く場合、その傾きが製品形状に影響を与えない程小さい範囲に設定される。
規定値より大きい場合は、S55において、実測値VOSと実測値VDSとの差に基づいて、DS側のベルト2bの速度がOS側のベルト2aと同じになるように、差動機構42を制御する。
なお、図6及び図7のS35、S37、S55の制御において、モータ20a及び差動機構42の両方を制御して、所望のベルト速度(速度VM、或いは、OS側或いはDS側のベルトの速度)が得られるようにしても良い。
以上説明したように、本発明の第2実施形態及びその変形例により、フォールディング上ベルト2a、2bの速度を同一にすることが出来、その結果、段ボールシートSの搬送方向Dに対する傾きの発生を抑制することが出来る。
本発明の第1実施形態によるフォルダグルアの全体構成を示す平面図(a)、側面図(b)及び段ボールシートの折り上げ状態を示す図(c)である。 フォールディング上ベルトの駆動機構、制御装置及びセンサ機構を説明するためのフォールディング上ベルトの下方側から見たフォルダグルアの構成図である。 本発明の第1実施形態による制御装置の制御内容を示すフローチャートである。 本発明の第1実施形態の変形例による制御装置の制御内容の一部を示すフローチャートである。 フォールディング上ベルトの駆動機構、制御装置及びセンサ機構を説明するためのフォールディング上ベルトの下方側から見たフォルダグルアの構成図である。 本発明の第2実施形態による制御装置の制御内容を示すフローチャートである。 本発明の第2実施形態の変形例による制御装置の制御内容の一部を示すフローチャートである。 2本の搬送ベルトの速度が同じ場合の段ボールシートの折り上げ状態(a)と2本の搬送ベルトの速度が異なる場合の段ボールシートの折り上げ状態(b)の一例を示す図である。
符号の説明
S 段ボールシート
D 段ボールシートの搬送方向
1 フォルダグルア
2、2a、2b フォールディング上ベルト
4 フォールディング下ベルト
6 折り上げベルト
12、14 プーリ
20a、20b サーボモータ
30 制御装置
24a、24b 第1センサ
26a、26b 第2センサ
40、40a、40b 駆動軸
42 差動機構

Claims (10)

  1. 段ボールシートを搬送すると共に展開状態から折り上げるフォルダグルアであって、
    並列に配置され段ボールシートを搬送するための第1のベルト及び第2のベルトからなる2本の平ベルトと、
    フォルダグルアの搬送方向の始端部或いは終端部に設けられ上記第1及び第2の平ベルトをそれぞれ摩擦力で駆動する2つのプーリと、
    上記第1のベルト用のプーリ及び上記第2のベルト用のプーリのそれぞれを駆動する2つのモータと、
    上記第1のベルト及び上記第2のベルトの速度をそれぞれ検出するセンサ機構と、
    このセンサ機構により検出される上記第1のベルト及び上記第2のベルトの速度の差が0になるように上記2つのモータの少なくとも一方を制御する制御装置と、
    を有することを特徴とするフォルダグルア。
  2. 上記制御装置は、上記第1のベルト及び上記第2のベルトの速度がそれぞれ基準速度になるように上記2つのモータの両方を制御する請求項1に記載のフォルダグルア。
  3. 上記制御装置は、上記第1のベルト及び上記第2のベルトのいずれか一方の速度を他方の速度に合わせるように上記2つのモータのうちの一方を制御する請求項1に記載のフォルダグルア。
  4. 段ボールシートを搬送すると共に展開状態から折り上げるフォルダグルアであって、
    並列に配置され段ボールシートを搬送するための第1のベルト及び第2のベルトからなる2本の平ベルトと、
    フォルダグルアの搬送方向の始端部或いは終端部に設けられ上記第1及び第2の平ベルトをそれぞれ摩擦力で駆動する2つのプーリと、
    上記第1のベルト用のプーリを駆動する1つのモータと、
    この1つのモータにより駆動される上記第1のベルト用プーリと、他方の上記第2のベルト用プーリとを連結して上記第1のベルト用プーリの駆動力を上記第2のベルト用プーリに伝達する駆動軸と、
    この駆動軸に設けられ上記第1のベルト用プーリと上記第2のベルト用プーリとの速度差を生じさせる差動機構と、
    上記第1のベルト及び上記第2のベルトの速度をそれぞれ検出するセンサ機構と、
    このセンサ機構により検出された上記第1のベルト及び上記第2のベルトの速度の差が0になるように上記1つのモータ及び/又は上記差動機構を制御する制御装置と、
    を有することを特徴とするフォルダグルア。
  5. 上記制御装置は、上記第1のベルト及び上記第2のベルトの速度がそれぞれ基準速度になるように上記1つのモータと上記差動機構の両方を制御する請求項4に記載のフォルダグルア。
  6. 上記制御装置は、上記第2のベルトの速度を上記第1のベルトの速度に合わせるように上記差動機構を制御する請求項4に記載のフォルダグルア。
  7. 上記センサ機構は、上記第1のベルト及び上記第2のベルトにそれぞれ設けられたセンシングタグと、上記第1のベルト及び上記第2のベルトのそれぞれにおいて、各ベルトの速度を検知するために搬送方向に所定距離だけ間隔をおいて設けられ上記センシングタグの通過を検知する2組のタグセンサとで構成されている請求項1乃至6のいずれか1項に記載のフォルダグルア。
  8. 上記タグセンサが、光電センサである請求項7に記載のフォルダグルア。
  9. 上記センシングタグが2つ以上設けられる請求項7又は8に記載のフォルダグルア。
  10. 上記モータはサーボモータである請求項1乃至9のいずれか1項に記載のフォルダグルア。
JP2008244800A 2008-09-24 2008-09-24 フォルダグルア Expired - Fee Related JP5382299B2 (ja)

Priority Applications (2)

Application Number Priority Date Filing Date Title
JP2008244800A JP5382299B2 (ja) 2008-09-24 2008-09-24 フォルダグルア
US12/554,187 US8241195B2 (en) 2008-09-24 2009-09-04 Folder gluer

Applications Claiming Priority (1)

Application Number Priority Date Filing Date Title
JP2008244800A JP5382299B2 (ja) 2008-09-24 2008-09-24 フォルダグルア

Publications (2)

Publication Number Publication Date
JP2010076150A true JP2010076150A (ja) 2010-04-08
JP5382299B2 JP5382299B2 (ja) 2014-01-08

Family

ID=42038484

Family Applications (1)

Application Number Title Priority Date Filing Date
JP2008244800A Expired - Fee Related JP5382299B2 (ja) 2008-09-24 2008-09-24 フォルダグルア

Country Status (2)

Country Link
US (1) US8241195B2 (ja)
JP (1) JP5382299B2 (ja)

Cited By (2)

* Cited by examiner, † Cited by third party
Publication number Priority date Publication date Assignee Title
JP2016032901A (ja) * 2014-07-31 2016-03-10 ダックエンジニアリング株式会社 製函方法及び製函システム
JP2019055595A (ja) * 2018-12-05 2019-04-11 ダックエンジニアリング株式会社 製函方法及び製函システム

Families Citing this family (3)

* Cited by examiner, † Cited by third party
Publication number Priority date Publication date Assignee Title
IT1396784B1 (it) * 2009-11-25 2012-12-14 Gingardi Apparecchiatura per la finitura dei prodotti uscenti da una macchina per la piegatura ed incollatura di prodotti in cartone o cartoncino con dorso.
DE102011116365A1 (de) * 2011-10-19 2013-04-25 Heidelberger Druckmaschinen Aktiengesellschaft Bogenbearbeitungsmaschine mit Bogenanleger mit Saugbandmodul
US9789645B2 (en) 2016-01-26 2017-10-17 Elum Inc. Glue delivery system

Citations (10)

* Cited by examiner, † Cited by third party
Publication number Priority date Publication date Assignee Title
JPS48113186U (ja) * 1972-04-01 1973-12-25
JPS61124459A (ja) * 1984-11-19 1986-06-12 Omron Tateisi Electronics Co 紙葉の傾斜補正装置
JPH02141863U (ja) * 1989-04-28 1990-11-29
JPH05238529A (ja) * 1991-10-11 1993-09-17 Eastman Kodak Co ウェブ・コンベア駆動システム
JPH07314586A (ja) * 1994-05-27 1995-12-05 Shinko Kikai Seisakusho:Kk 段ボールシートの印刷ラインにおけるシートの移送方法
JPH08244951A (ja) * 1995-03-08 1996-09-24 Ishikawajima Harima Heavy Ind Co Ltd 搬送コンベア
JPH10296885A (ja) * 1997-04-22 1998-11-10 Mitsubishi Heavy Ind Ltd 段ボールシート折り畳み装置
JPH1120046A (ja) * 1997-07-02 1999-01-26 Mitsubishi Heavy Ind Ltd フォルダグルア
JPH1124507A (ja) * 1997-07-07 1999-01-29 Ricoh Co Ltd 画像形成装置
JPH11292242A (ja) * 1998-04-09 1999-10-26 Hitachi Ltd 複数モータ駆動コンベヤの制御装置

Family Cites Families (9)

* Cited by examiner, † Cited by third party
Publication number Priority date Publication date Assignee Title
CH650722A5 (fr) * 1983-02-21 1985-08-15 Bobst Sa Machine pour confectionner des boites pliantes.
JPS63151443A (ja) 1986-12-16 1988-06-24 株式会社タナベ 製函機におけるブランク横ずれ修正装置
CH673996A5 (ja) * 1987-05-11 1990-04-30 Autelca Ag
US5120291A (en) * 1989-04-11 1992-06-09 Toshiba Kikai Kabushiki Kaisha Chopper folding machine with bad fold detecting
US5037365A (en) * 1989-12-20 1991-08-06 Harris Graphics Corporation Folder with belt speed control
US5383392A (en) * 1993-03-16 1995-01-24 Ward Holding Company, Inc. Sheet registration control
US5606913A (en) * 1993-03-16 1997-03-04 Ward Holding Company Sheet registration control
JPH11105160A (ja) 1997-10-04 1999-04-20 Isowa Corp シート姿勢矯正装置
JP4463036B2 (ja) 2004-07-29 2010-05-12 レンゴー株式会社 フォルダグルア

Patent Citations (10)

* Cited by examiner, † Cited by third party
Publication number Priority date Publication date Assignee Title
JPS48113186U (ja) * 1972-04-01 1973-12-25
JPS61124459A (ja) * 1984-11-19 1986-06-12 Omron Tateisi Electronics Co 紙葉の傾斜補正装置
JPH02141863U (ja) * 1989-04-28 1990-11-29
JPH05238529A (ja) * 1991-10-11 1993-09-17 Eastman Kodak Co ウェブ・コンベア駆動システム
JPH07314586A (ja) * 1994-05-27 1995-12-05 Shinko Kikai Seisakusho:Kk 段ボールシートの印刷ラインにおけるシートの移送方法
JPH08244951A (ja) * 1995-03-08 1996-09-24 Ishikawajima Harima Heavy Ind Co Ltd 搬送コンベア
JPH10296885A (ja) * 1997-04-22 1998-11-10 Mitsubishi Heavy Ind Ltd 段ボールシート折り畳み装置
JPH1120046A (ja) * 1997-07-02 1999-01-26 Mitsubishi Heavy Ind Ltd フォルダグルア
JPH1124507A (ja) * 1997-07-07 1999-01-29 Ricoh Co Ltd 画像形成装置
JPH11292242A (ja) * 1998-04-09 1999-10-26 Hitachi Ltd 複数モータ駆動コンベヤの制御装置

Cited By (2)

* Cited by examiner, † Cited by third party
Publication number Priority date Publication date Assignee Title
JP2016032901A (ja) * 2014-07-31 2016-03-10 ダックエンジニアリング株式会社 製函方法及び製函システム
JP2019055595A (ja) * 2018-12-05 2019-04-11 ダックエンジニアリング株式会社 製函方法及び製函システム

Also Published As

Publication number Publication date
JP5382299B2 (ja) 2014-01-08
US20100076619A1 (en) 2010-03-25
US8241195B2 (en) 2012-08-14

Similar Documents

Publication Publication Date Title
JP5382299B2 (ja) フォルダグルア
JP4493052B1 (ja) フォルダグルア
US20160332261A1 (en) Cardboard-handling system and method
CN109573668B (zh) 介质供应装置以及图像读取装置
JP2008001515A (ja) シート搬送装置及び画像形成装置及び画像読取装置
JP5895316B1 (ja) フォルダグルア
US8915497B2 (en) Method and apparatus for sheet and carton blank aligning using caster effect
JP4841694B2 (ja) 多重ウェブ貼り合わせのための整列装置およびその方法
JP4976362B2 (ja) シート状ワークの送り出し装置及びシート状ワークの送り出し方法
CN112390039A (zh) 一种用于片状物料的自动影像定位系统
JP2008230850A (ja) シート状ワークの送り出し装置及びシート状ワークの送り出し方法
JP6613023B2 (ja) 製函方法及び製函システム
KR101571778B1 (ko) 판지 적재 장치
JP2003154583A (ja) 段ボールの糊付け装置及び製造システム
US20130168922A1 (en) Method and apparatus for sheet and carton blank aligning
JP5943737B2 (ja) 給紙装置のためのサクション調整指示装置、および給紙装置のためのサクション制御装置
JP6874753B2 (ja) 製函方法及び製函システム
JP6645752B2 (ja) 段ボールシートのバッチ分割装置
JP2836933B2 (ja) 給紙タイミングの矯正装置
JP7017118B2 (ja) 搬送装置、及び、画像形成装置
JP4367226B2 (ja) 用紙搬送装置
JP2022112928A (ja) 供給装置
JP2003146484A (ja) 用紙搬送装置
JPS58205754A (ja) 板紙折り曲げ装置
JP2931883B2 (ja) スタッカの昇降制御方法および装置

Legal Events

Date Code Title Description
A621 Written request for application examination

Free format text: JAPANESE INTERMEDIATE CODE: A621

Effective date: 20110915

A977 Report on retrieval

Free format text: JAPANESE INTERMEDIATE CODE: A971007

Effective date: 20121213

A131 Notification of reasons for refusal

Free format text: JAPANESE INTERMEDIATE CODE: A131

Effective date: 20121225

A521 Written amendment

Free format text: JAPANESE INTERMEDIATE CODE: A523

Effective date: 20130225

A131 Notification of reasons for refusal

Free format text: JAPANESE INTERMEDIATE CODE: A131

Effective date: 20130507

A521 Written amendment

Free format text: JAPANESE INTERMEDIATE CODE: A523

Effective date: 20130708

TRDD Decision of grant or rejection written
A01 Written decision to grant a patent or to grant a registration (utility model)

Free format text: JAPANESE INTERMEDIATE CODE: A01

Effective date: 20130909

A61 First payment of annual fees (during grant procedure)

Free format text: JAPANESE INTERMEDIATE CODE: A61

Effective date: 20130917

R150 Certificate of patent or registration of utility model

Free format text: JAPANESE INTERMEDIATE CODE: R150

R250 Receipt of annual fees

Free format text: JAPANESE INTERMEDIATE CODE: R250

LAPS Cancellation because of no payment of annual fees