JP2010076065A - 切削装置及び切削ブレードの回転バランス調整方法 - Google Patents

切削装置及び切削ブレードの回転バランス調整方法 Download PDF

Info

Publication number
JP2010076065A
JP2010076065A JP2008248618A JP2008248618A JP2010076065A JP 2010076065 A JP2010076065 A JP 2010076065A JP 2008248618 A JP2008248618 A JP 2008248618A JP 2008248618 A JP2008248618 A JP 2008248618A JP 2010076065 A JP2010076065 A JP 2010076065A
Authority
JP
Japan
Prior art keywords
amplitude
cutting blade
cutting
detection mechanism
rotation period
Prior art date
Legal status (The legal status is an assumption and is not a legal conclusion. Google has not performed a legal analysis and makes no representation as to the accuracy of the status listed.)
Granted
Application number
JP2008248618A
Other languages
English (en)
Other versions
JP5248250B2 (ja
Inventor
Kunio Oshida
邦雄 押田
Current Assignee (The listed assignees may be inaccurate. Google has not performed a legal analysis and makes no representation or warranty as to the accuracy of the list.)
Disco Corp
Original Assignee
Disco Abrasive Systems Ltd
Priority date (The priority date is an assumption and is not a legal conclusion. Google has not performed a legal analysis and makes no representation as to the accuracy of the date listed.)
Filing date
Publication date
Application filed by Disco Abrasive Systems Ltd filed Critical Disco Abrasive Systems Ltd
Priority to JP2008248618A priority Critical patent/JP5248250B2/ja
Publication of JP2010076065A publication Critical patent/JP2010076065A/ja
Application granted granted Critical
Publication of JP5248250B2 publication Critical patent/JP5248250B2/ja
Active legal-status Critical Current
Anticipated expiration legal-status Critical

Links

Images

Landscapes

  • Constituent Portions Of Griding Lathes, Driving, Sensing And Control (AREA)

Abstract

【課題】 スピンドルに装着された切削ブレード自体の回転バランスを容易に調整可能な切削装置を提供することである。
【解決手段】 被加工物を保持するチャックテーブルと、該チャックテーブルに保持された被加工物を切削する環状の切削ブレードがマウントフランジと固定ナットで挟持されてスピンドルに装着された切削手段とを備えた切削装置であって、回転する前記切削ブレードの径方向の振幅を検出する振幅検出機構と、前記切削ブレードの回転周期を検出する回転周期検出機構と、該振幅検出機構で検出された振幅と該回転周期検出機構で検出された回転周期とに基づいて、振幅データを作成する振幅データ作成手段と、該振幅データに基づいて前記切削手段の回転バランスを調整するための調整用物体の質量を演算する質量演算手段と、該質量演算手段で演算された質量の調整用物体が装着される回転バランス調整機構と、を具備したことを特徴とする。
【選択図】図9

Description

本発明は、環状の切削ブレードがスピンドルに装着された切削手段を有する切削装置及び切削ブレードの回転バランス調整方法に関する。
シリコン基板にICやLSI等のデバイスが複数形成された半導体ウエーハや、電子部品に使用される各種セラミック基板、樹脂基板、ガラス基板等の被加工物は、切削装置によって個々のチップに分割され、分割されたチップは各種電子機器に広く利用されている。
切削装置としては、被加工物を保持するチャックテーブルと、チャックテーブルに保持された被加工物を切削する環状の切削ブレードと、切削ブレードが装着されるスピンドルとを備えたダイサーと称される装置が広く使用されている。
切削ブレードは、例えば数μm程度のダイヤモンド砥粒をニッケルメッキ等で固めた切刃を有しており、切削ブレードはマウントフランジと固定ナットとで挟持されてスピンドル先端に装着される。切削ブレードはスピンドルによって20000〜60000rpm等の高速で回転させられつつ被加工物へ切り込むことで切削が行われる。
スピンドルに装着される切削ブレードの着脱を可能とするために、切削ブレードの内径と切削ブレードを装着するマウントフランジのボス部との間には数μm程度の遊びを設ける必要がある。
このため、スピンドルの回転中心と切削ブレードの回転中心とが完全に合致しない状態で切削ブレードがスピンドルに装着された場合には、回転バランスが崩れ、スピンドルが高速回転すると振動が発生し、切削ブレードがばたつくことになる。従って、正常な切削は行われず、被加工物には欠けやクラックが発生し、ひいては切削ブレードや被加工物を破損させてしまう恐れがある。
スピンドルに装着した切削ブレードの偏心ぶれを取り除くために、一般砥粒を含むドレッサーを切削することで切削ブレードを磨耗させて真円に近づけるドレス作業が広く行われている。
しかし、特に硬度の高い切削ブレードや厚みが厚い切削ブレードでは、ドレス作業を行っても完全に真円を出すことは困難である。更に、切刃先端にV字形状が形成された切削ブレードの場合には、V形状を維持するためにもドレス作業を行うことができず、回転バランスを調整する必要があった。
特開2001−129743号公報には、複数種類のバランスウエートを用意することなく、精密なバランス調整を容易に行うことのできる切削装置の回転バランス調整機構が開示されている。
また、スピンドルのハウジングに加速度センサを取り付けてスピンドルのアンバランス位置を検出する装置(例えば広島県福山市大門町5丁目6番45号に所在する大宮工業株式会社製の商品名「Myself−1」)を用いて、切削手段の回転バランスを調整する方法が提案されている。
特開2001−129743号公報
しかし、特許文献1に開示された切削装置の回転バランス調整機構では、切削ブレードの径方向の振幅を検出する振幅検出機構及び切削ブレードの回転周期を検出する回転周期検出機構が設けられていないため、複数回の試行錯誤によりねじ穴に挿入するバランスウエート用ねじのねじ込みの程度を決定する必要があり、回転バランスの調整に時間を要するという問題がある。
また、ハウジングに加速度センサを取り付ける方法では、回転バランス調整用に専用の装置が必要であるとともに実際に切削ブレードが装着されているスピンドルの振動は測定できないという問題がある。
本発明はこのような点に鑑みてなされたものであり、その目的とするところは、スピンドルに装着された切削ブレード自体の回転バランスを容易に調整可能な切削装置を提供することである。
本発明によると、被加工物を保持するチャックテーブルと、該チャックテーブルに保持された被加工物を切削する環状の切削ブレードがマウントフランジと固定ナットで挟持されてスピンドルに装着された切削手段とを備えた切削装置であって、回転する前記切削ブレードの径方向の振幅を検出する振幅検出機構と、前記切削ブレードの回転周期を検出する回転周期検出機構と、該振幅検出機構で検出された振幅と該回転周期検出機構で検出された回転周期とに基づいて、振幅データを作成する振幅データ作成手段と、該振幅データに基づいて前記切削手段の回転バランスを調整するための調整用物体の質量を演算する質量演算手段と、該質量演算手段で演算された質量の調整用物体が装着される回転バランス調整機構と、を具備したことを特徴とする切削装置が提供される。
好ましくは、振幅検出機構は、切削ブレードの外周縁を照射するように切削ブレードの一方の側に配設された発光手段と、発光手段に対向して切削ブレードの他方の側に配設された受光手段と、受光手段が受光した光量を電圧信号に変換する光電変換手段とを含んでいる。
前記振幅データ作成手段は、光電変換手段が出力する電圧値の最大値と最小値と、回転周期検出機構で検出された回転周期に基づいて、切削ブレードの径方向の振幅データを作成する。
好ましくは、回転バランス調整機構は、固定ナットの周方向に等間隔で形成された複数のねじ穴と、これらのねじ穴に挿入可能な調整用ねじとを含んでおり、前記調整用物体は調整用ねじから構成される。好ましくは、回転周期検出機構は、光センサ又は磁気センサから構成される。
本発明によると、振幅検出機構で検出された振幅と回転周期検出機構で検出された回転周期とに基づいて、振幅データ作成手段で振幅データを作成するので、この振幅データに基づいて切削ブレード自身の回転バランスを容易に調整することができる。
従って、従来のスピンドルハウジングの振動データで回転バランスを調整する方法に比べてより高精度な調整が可能となる。又、回転バランス調整用に専用の装置を必要とせず、装置の省スペース化が可能となる。
以下、本発明の実施形態を図面を参照して詳細に説明する。図1は半導体ウエーハをダイシングして個々のチップ(デバイス)に分割することのできる本発明実施形態に係る切削装置2の外観を示している。
切削装置2の前面側には、オペレータが加工条件等の装置に対する指示を入力するための操作手段4が設けられている。装置上部には、オペレータに対する案内画面や後述する撮像手段によって撮像された画像が表示されるCRT等の表示手段6が設けられている。
図2に示すように、ダイシング対象のウエーハWの表面においては、第1のストリートS1と第2ストリートS2とが直交して形成されており、第1のストリートS1と第2のストリートS2とによって区画されて多数のデバイスDがウエーハW上に形成されている。
ウエーハWは粘着テープであるダイシングテープTに貼着され、ダイシングテープTの外周縁部は環状フレームFに貼着されている。これにより、ウエーハWはダイシングテープTを介してフレームFに支持された状態となり、図1に示したウエーハカセット8中にウエーハが複数枚(例えば25枚)収容される。ウエーハカセット8は上下動可能なカセットエレベータ9上に載置される。
ウエーハカセット8の後方には、ウエーハカセット8から切削前のウエーハWを搬出するとともに、切削後のウエーハをウエーハカセット8に搬入する搬出入手段10が配設されている。ウエーハカセット8と搬出入手段10との間には、搬出入対象のウエーハが一時的に載置される領域である仮置き領域12が設けられており、仮置き領域12には、ウエーハWを一定の位置に位置合わせする位置合わせ手段14が配設されている。
仮置き領域12の近傍には、ウエーハWと一体となったフレームFを吸着して搬送する旋回アームを有する搬送手段16が配設されており、仮置き領域12に搬出されたウエーハWは、搬送手段16により吸着されてチャックテーブル18上に搬送され、このチャックテーブル18に吸引されるとともに、複数の固定手段19によりフレームFが固定されることでチャックテーブル18上に保持される。
チャックテーブル18は、回転可能且つX軸方向に往復動可能に構成されており、チャックテーブル18のX軸方向の移動経路の上方には、ウエーハWの切削すべきストリートを検出するアライメント手段20が配設されている。
アライメント手段20は、ウエーハWの表面を撮像する撮像手段22を備えており、撮像により取得した画像に基づき、パターンマッチング等の処理によって切削すべきストリートを検出することができる。撮像手段22によって取得された画像は、表示手段6に表示される。
アライメント手段20の左側には、チャックテーブル18に保持されたウエーハWに対して切削加工を施す切削手段24が配設されている。切削手段24はアライメント手段20と一体的に構成されており、両者が連動してY軸方向及びZ軸方向に移動する。
切削手段24は、回転可能なスピンドル26の先端に切削ブレード28が装着されて構成され、Y軸方向及びZ軸方向に移動可能となっている。切削ブレード28は撮像手段22のX軸方向の延長線上に位置している。
図3を参照すると、スピンドルと、スピンドルに装着されるマウントフランジとの関係を示す分解斜視図が示されている。スピンドルユニット30のスピンドルハウジング32中には、図示しないサーボモータにより回転駆動されるスピンドル26が回転可能に収容されている。スピンドル26はテーパ部26a及び先端小径部26bを有しており、先端小径部26bには雄ねじ34が形成されている。
36はボス部(凸部)38と、ボス部38と一体的に形成された固定フランジ40とから構成されるマウントフランジであり、ボス部38には雄ねじ42が形成されている。さらに、マウントフランジ36は装着穴43を有している。
マウントフランジ36は、装着穴43をスピンドル26の先端小径部26b及びテーパ部26aに挿入して、ナット44を雄ねじ34に螺合して締め付けることにより、図4に示すようにスピンドル26の先端部に取り付けられる。ナット44には遮光テープ45が貼付されている。
図4はマウントフランジ36が固定されたスピンドル26と、切削ブレード28との装着関係を示す分解斜視図である。切削ブレード28はハブブレードと呼ばれ、円形ハブ48を有する円形基台46の外周にニッケル母材中にダイヤモンド砥粒が分散された切刃50が電着されて構成されている。
切削ブレード28の装着穴52をマウントフランジ36のボス部38に挿入し、固定ナット54をボス部38の雄ねじ42に螺合して締め付けることにより、図5に示すように切削ブレード28がスピンドル26に取り付けられる。
図6を参照すると、切削手段24の拡大斜視図が示されている。60は切削ブレード28をカバーするブレードカバーであり、このブレードカバー60には切削ブレード28の側面に沿って伸長する図示しない切削水ノズルが取り付けられている。切削水が、パイプ72を介して図示しない切削水ノズルに供給される。
62は着脱カバーであり、ねじ64によりブレードカバー60に取り付けられる。着脱カバー62は、ブレードカバー60に取り付けられた際、切削ブレード28の側面に沿って伸長する切削水ノズル70を有している。切削水は、パイプ74を介して切削水ノズル70に供給される。
66はブレード検出ブロックであり、ねじ68によりブレードカバー60に取り付けられる。ブレード検出ブロック66には発光素子及び受光素子からなる図示しないブレードセンサが取り付けられており、このブレードセンサにより切削ブレード28の切刃50の状態を検出する。
ブレードセンサにより切刃50の欠け等を検出した場合には、切削ブレード28を新たな切削ブレードに交換する。76はブレードセンサの位置を調整するための調整ねじである。
ブレードセンサが本発明の振幅検出機構を兼用することもできる。ブレードセンサを振幅検出機構として用いる場合には、発光素子からの光ビームの概略半分程度が切刃50によりブロックされるように発光素子及び受光素子を切削ブレード28の切刃50を挟んで取り付ける。
78は発光素子及び受光素子を有する光センサであり、着脱カバー62に取り付けられている。マウントフランジ36をスピンドル26に固定するナット44には遮光テープ45が貼付されている。光センサ78と遮光テープ45で回転周期検出機構を構成する。遮光テープ45に変わり、ナット44の外周の一部分を黒のマジックインクで塗りつぶすようにしても良い。
図7を参照すると、振幅検出機構の第2実施形態が示されている。60Aはブレードカバーであり、ブレードカバー60にスライド可能にスライドカバー62Aが取り付けられている。
ブレードカバー60Aには、発光部(端部)84からの光ビームが切削ブレード28の切刃50により概略半分程ブロックされるように光ファイバ82が取り付けられている。切削ブレード28の反対側には、受光部が発光部84に対向するようにフォトディテクタに接続された光ファイバが取り付けられている。
86は切削ブレード28の切刃50に対する発光部及び受光部の位置を調整する調整ねじであり、調整終了後には固定ねじ88により調整後の位置が固定される。
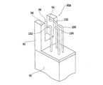
図8を参照すると、第3実施形態の振幅検出機構80Aの斜視図が示されている。振幅検出機構80AのU形状部材92は支持部材90上に取り付けられており、支持部材90は図1に示した切削装置2のチャックテーブル18の近辺に配設される。
U形状部材92は切削ブレード28が進入するブレード進入部98を画成しており、発光素子94及び受光素子96はブレード進入部98の両側に取り付けられている。100はブレード進入部98に挿入された切削ブレード28に洗浄水を供給する洗浄水供給ノズルであり、102はエアーを供給するエアー供給ノズルである。
本実施形態の振幅検出機構80Aで切削ブレード28の径方向の振幅を検出するには、図示しないX軸送り機構及びY軸送り機構を駆動して、切削ブレード28をU形状部材92のブレード進入部98中に進入させる。
そして、洗浄水供給ノズル100から切削ブレードに洗浄水を供給して切削ブレードを洗浄し、次いでエアー供給ノズル102からエアーを供給して切削ブレード28から洗浄水を吹き飛ばし、切削ブレードを乾燥する。
切削ブレード28の乾燥が終了すると、図示しないZ軸送り機構を駆動して切削ブレード28の切刃50の高さを調整し、発光素子94から出射された光ビームの概略半分程度が切刃50によりブロックされるように設定する。この状態で切削ブレード28を20000〜60000rpmで回転させて切削ブレード28の径方向の振幅を検出する。
次に図9を参照して、回転周期検出機構78及び第3実施形態の振幅検出機構80Aを使用した切削ブレード28の回転バランス調整方法について図9乃至図12を参照して説明する。図9は回転バランス調整機構のブロック図である。
図9において、光源104に接続された発光部78aと受光部78bを有する光センサ78と、ナット44に貼付された遮光テープ45により回転周期検出機構77を構成する。回転周期検出機構77で検出された回転周期112は記憶手段106に記憶されるとともに、後で説明する振幅データの作成に利用される。
駆動回路108により発光素子94が駆動されると、発光素子94から光ビームが出射され、その一部が受光素子96により受光される。切削ブレード28は高速回転しているため、径方向の振動が発生し、受光素子96で受光する光量は切削ブレード28の振動に応じて変化する。
受光素子96で受光された光量はフォトディテクタ等の光電変換手段110により電圧信号に変換される。振幅データ作成手段114では、光電変換手段110が出力する電圧値の最大値と最小値と、回転周期検出機構77で検出された回転周期112に基づいて、切削ブレード28の径方向の振幅データを作成する。
この振幅データは、図10に示すように振幅の大きさ及び振幅が現れる切削ブレード28の角度位置のデータを含んでいる。図10において、符号118は固定ナット54の調整用ねじ挿入位置120に調整用ねじを挿入しない時の、切削ブレード28の第1振幅データを示している。固定ナット54には周方向に等間隔離間して複数の調整用ねじ挿入穴(図示せず)が形成されている。
符号122は、回転バランスが崩れていなかった場合、調整用ねじを調整用ねじ挿入穴120に挿入した際に得られるべき振幅データを示している。符号124は、調整用ねじ挿入穴120に調整用ねじを挿入した際に得られた第2振幅データを示している。
126は第1振幅データ118を打ち消すのに必要な振幅を示しており、第1振幅データ118の180度反対側に第1振幅データの大きさと同じ振幅を発生させることにより、回転バランスは修正される。
以下、図10の振幅データに対応する図11に示すベクトル図を参照して、第1振幅データ118を打ち消すのに必要な調整用ねじの質量を計算する。この調整用ねじの質量の計算は、図9の質量演算手段116により行われる。F1は第1振幅データ118に対応し、F3は第2振幅データ124に対応し、F2は振幅122に対応する。
図11において、θ1=30度の位置に第1振幅F1が検出され、θ2=90度の調整用ねじ挿入位置120に20mgの調整ねじを挿入した時に、θ3=60度の位置に第2振幅S3が検出され、第1振幅F1が8μm、第2振幅F3が13.84μmであった場合について計算する。
F3=F1+F2 よって、F1=F3−F2
F3=1.73F1 F2=20mgであるから
F3=F1cosθ5+F2cosθ4
・ 73F1=F1cos30°+20・cos30°
1.73F1−F1cos30°=20・cos30°
F1=(20・cos30°)/(1.73―cos30°)
≒20
よって、挿入すべき調整ねじの重さF1はF1≒20mgと算出される。
従って、F1を打ち消すためには、180度回転したθ6=210度の調整用ねじ挿入穴に20mgの調整ねじを挿入する必要がある。
切削装置が固有の振動を有する場合等では、図12に示すように事前に低回転時の振幅を検出し振幅データ128を記憶しておき、回転バランス調整を行う際の振幅データ130から低回転時の振幅データ128を差し引くことにより、高精度の回転バランス調整方法が可能となる。
切削装置の外観斜視図である。 ダイシングテープを介して環状フレームに支持された半導体ウエーハの表面側斜視図である。 スピンドルユニットと、スピンドルに固定されるべきマウントフランジとの関係を示す分解斜視図である。 スピンドルユニットと、スピンドルに装着されるべき切削ブレードとの関係を示す分解斜視図である。 切削ブレードがスピンドルに装着された状態の斜視図である。 切削手段の拡大斜視図である。 振幅検出機構の第2実施形態を示す図である。 振幅検出機構の第3実施形態を示す図である。 回転バランス調整機構のブロック図である。 振幅データの一例を示す図である。 図10の振幅データに対応するベクトル図である。 低回転時の第1振幅データと回転バランス調整を行う際の第2振幅データとの関係を示す図である。
符号の説明
18 チャックテーブル
26 スピンドル
28 切削ブレード
36 マウントフランジ
44 ナット
45 遮光テープ
54 固定ナット
77 回転周期検出機構
78 光センサ
80,80A 振幅検出機構
82 光ファイバ
84 発光部
94 発光素子
96 受光素子
98 ブレード進入部
114 振幅データ作成手段
116 質量演算手段

Claims (5)

  1. 被加工物を保持するチャックテーブルと、該チャックテーブルに保持された被加工物を切削する環状の切削ブレードがマウントフランジと固定ナットで挟持されてスピンドルに装着された切削手段とを備えた切削装置であって、
    回転する前記切削ブレードの径方向の振幅を検出する振幅検出機構と、
    前記切削ブレードの回転周期を検出する回転周期検出機構と、
    該振幅検出機構で検出された振幅と該回転周期検出機構で検出された回転周期とに基づいて、振幅データを作成する振幅データ作成手段と、
    該振幅データに基づいて前記切削手段の回転バランスを調整するための調整用物体の質量を演算する質量演算手段と、
    該質量演算手段で演算された質量の調整用物体が装着される回転バランス調整機構と、
    を具備したことを特徴とする切削装置。
  2. 前記振幅検出機構は、
    前記切削ブレードの外周縁を照射するように該切削ブレードの一方の側に配設された発光手段と、
    該発光手段に対向して前記切削ブレードの他方の側に配設された受光手段と、
    該受光手段が受光した光量を電圧信号に変換する光電変換手段とを含み、
    前記振幅データ作成手段は、該光電変換手段が出力する電圧値の最大値と最小値と、該回転周期検出機構で検出された回転周期に基づいて、前記切削ブレードの径方向の振幅データを作成する請求項1記載の切削装置。
  3. 前記回転バランス調整機構は、前記固定ナットの周方向に等間隔で形成された複数のねじ穴と、該ねじ穴に挿入可能な調整用ねじとを含み、前記調整用物体は該調整用ねじから構成される請求項1又は2記載の切削装置。
  4. 前記回転周期検出機構は、光センサ又は磁気センサから構成される請求項1〜3の何れかに記載の切削装置。
  5. 請求項3記載の切削装置において、前記切削ブレードの回転バランスを調整する回転バランス調整方法であって、
    前記振幅検出機構で検出した前記切削ブレード回転時の径方向の第1の振幅と、前記回転周期検出機構で検出した回転周期とに基づいて、第1振幅データを形成する第1振幅検出ステップと、
    該第1振幅検出ステップを実施した後、前記複数のねじ穴のうち所定位置のねじ穴に既知の質量の第1調整用ねじを挿入する第1調整用ねじ挿入ステップと、
    該第1調整用ねじ挿入ステップを実施した後、前記振幅検出機構で検出した前記切削ブレード回転時の径方向の第2の振幅と、前記回転周期検出機構で検出した回転周期とに基づいて、第2振幅データを形成する第2振幅検出ステップと、
    前記第1の振幅と前記第2の振幅の差及び前記第1調整用ねじの質量とに基づいて、該第1の振幅を打ち消すために挿入すべき調整用ねじの質量を算出する必要質量算出ステップと、
    前記第1調整用ねじを取り外した後、前記第1振幅検出ステップで検出した第1の振幅位置と周方向180度反対側のねじ穴位置に、前記必要質量算出ステップで算出した質量の第2調整用ねじを挿入する第2調整用ねじ挿入ステップと、
    を具備したことを特徴とする回転バランス調整方法。
JP2008248618A 2008-09-26 2008-09-26 切削装置及び切削ブレードの回転バランス調整方法 Active JP5248250B2 (ja)

Priority Applications (1)

Application Number Priority Date Filing Date Title
JP2008248618A JP5248250B2 (ja) 2008-09-26 2008-09-26 切削装置及び切削ブレードの回転バランス調整方法

Applications Claiming Priority (1)

Application Number Priority Date Filing Date Title
JP2008248618A JP5248250B2 (ja) 2008-09-26 2008-09-26 切削装置及び切削ブレードの回転バランス調整方法

Publications (2)

Publication Number Publication Date
JP2010076065A true JP2010076065A (ja) 2010-04-08
JP5248250B2 JP5248250B2 (ja) 2013-07-31

Family

ID=42207098

Family Applications (1)

Application Number Title Priority Date Filing Date
JP2008248618A Active JP5248250B2 (ja) 2008-09-26 2008-09-26 切削装置及び切削ブレードの回転バランス調整方法

Country Status (1)

Country Link
JP (1) JP5248250B2 (ja)

Cited By (5)

* Cited by examiner, † Cited by third party
Publication number Priority date Publication date Assignee Title
JP2016112635A (ja) * 2014-12-12 2016-06-23 Towa株式会社 切断装置及び切断方法
JP2016122673A (ja) * 2014-12-24 2016-07-07 Towa株式会社 切断装置及び切断方法
CN106442535A (zh) * 2015-08-13 2017-02-22 维嘉数控科技(苏州)有限公司 刀体破损检测装置
JP2017536251A (ja) * 2014-12-01 2017-12-07 ラテュンデ アンド コーポレイテッド ゲーエムベーハー 長尺形材を鋸引きするための方法及び長尺形材をクロスカットするための機械
WO2020203844A1 (ja) * 2019-03-29 2020-10-08 株式会社小松製作所 産業機械、偏心特定装置、偏心特定方法、およびプログラム

Citations (7)

* Cited by examiner, † Cited by third party
Publication number Priority date Publication date Assignee Title
JPS61132813A (ja) * 1984-11-30 1986-06-20 Nagase Tekkosho:Kk 回転体のバランス検出表示装置
JPH0328733A (ja) * 1989-06-26 1991-02-06 Nagase Iron Works Co Ltd 砥石のバランス状態及び摩耗状態検出装置
JPH04203544A (ja) * 1990-11-29 1992-07-24 Nagase Iron Works Co Ltd 回転体のバランス修正装置
JP2001170863A (ja) * 1999-12-20 2001-06-26 Okamoto Machine Tool Works Ltd 研削装置
JP2004338034A (ja) * 2003-05-15 2004-12-02 Toshiba Mach Co Ltd 工作機械の主軸冷却方法および装置並びに主軸バランス取り方法
JP2005199410A (ja) * 2004-01-19 2005-07-28 Japan Science & Technology Agency 砥石車を備えた研削機および回転刃を備えた工作機械における制振方法、並びに同制振装置
JP2006272541A (ja) * 2005-03-28 2006-10-12 Takashima Sangyo Kk 回転バランサ装置

Patent Citations (7)

* Cited by examiner, † Cited by third party
Publication number Priority date Publication date Assignee Title
JPS61132813A (ja) * 1984-11-30 1986-06-20 Nagase Tekkosho:Kk 回転体のバランス検出表示装置
JPH0328733A (ja) * 1989-06-26 1991-02-06 Nagase Iron Works Co Ltd 砥石のバランス状態及び摩耗状態検出装置
JPH04203544A (ja) * 1990-11-29 1992-07-24 Nagase Iron Works Co Ltd 回転体のバランス修正装置
JP2001170863A (ja) * 1999-12-20 2001-06-26 Okamoto Machine Tool Works Ltd 研削装置
JP2004338034A (ja) * 2003-05-15 2004-12-02 Toshiba Mach Co Ltd 工作機械の主軸冷却方法および装置並びに主軸バランス取り方法
JP2005199410A (ja) * 2004-01-19 2005-07-28 Japan Science & Technology Agency 砥石車を備えた研削機および回転刃を備えた工作機械における制振方法、並びに同制振装置
JP2006272541A (ja) * 2005-03-28 2006-10-12 Takashima Sangyo Kk 回転バランサ装置

Cited By (8)

* Cited by examiner, † Cited by third party
Publication number Priority date Publication date Assignee Title
JP2017536251A (ja) * 2014-12-01 2017-12-07 ラテュンデ アンド コーポレイテッド ゲーエムベーハー 長尺形材を鋸引きするための方法及び長尺形材をクロスカットするための機械
JP2016112635A (ja) * 2014-12-12 2016-06-23 Towa株式会社 切断装置及び切断方法
JP2016122673A (ja) * 2014-12-24 2016-07-07 Towa株式会社 切断装置及び切断方法
CN106442535A (zh) * 2015-08-13 2017-02-22 维嘉数控科技(苏州)有限公司 刀体破损检测装置
WO2020203844A1 (ja) * 2019-03-29 2020-10-08 株式会社小松製作所 産業機械、偏心特定装置、偏心特定方法、およびプログラム
JP2020163546A (ja) * 2019-03-29 2020-10-08 株式会社小松製作所 産業機械、偏心特定装置、偏心特定方法、およびプログラム
CN113543931A (zh) * 2019-03-29 2021-10-22 株式会社小松制作所 工业机械、偏心特定装置、偏心特定方法以及程序
JP7241587B2 (ja) 2019-03-29 2023-03-17 株式会社小松製作所 産業機械、偏心特定装置、偏心特定方法、およびプログラム

Also Published As

Publication number Publication date
JP5248250B2 (ja) 2013-07-31

Similar Documents

Publication Publication Date Title
US20070284764A1 (en) Sensing mechanism for crystal orientation indication mark of semiconductor wafer
JP5717571B2 (ja) 切削装置
JP5184250B2 (ja) 切削装置
JP5220513B2 (ja) ノズル調整治具
JP5248250B2 (ja) 切削装置及び切削ブレードの回転バランス調整方法
JP6984969B2 (ja) 高さ測定用冶具
JP5340832B2 (ja) マウントフランジの端面修正方法
JP2013202740A (ja) 切削装置
JP2009107040A (ja) 加工装置
JP5465064B2 (ja) ノズル調整治具
JP2009130315A (ja) ウエーハの切削方法
JP2009206363A (ja) 切削ブレードばたつき検出方法
JP2009269158A (ja) 切削ブレード
JP5081600B2 (ja) 修正器具
JP5220439B2 (ja) 板状物の切削方法
JP2009206362A (ja) 板状物の切削方法
JP2010228048A (ja) 切削装置
JP2018094682A (ja) 切削方法及び切削装置
JP5122232B2 (ja) 切削ブレード
JP5473374B2 (ja) 切削装置
KR102832303B1 (ko) 수정 방법
JP2013091120A (ja) ブレードカバー装置
JP2009160671A (ja) スピンドルアセンブリ
JP2010221335A (ja) 研削装置
JP6063656B2 (ja) 切削装置のチャックテーブル機構

Legal Events

Date Code Title Description
A621 Written request for application examination

Free format text: JAPANESE INTERMEDIATE CODE: A621

Effective date: 20110824

A131 Notification of reasons for refusal

Free format text: JAPANESE INTERMEDIATE CODE: A131

Effective date: 20130219

A521 Request for written amendment filed

Free format text: JAPANESE INTERMEDIATE CODE: A523

Effective date: 20130315

TRDD Decision of grant or rejection written
A01 Written decision to grant a patent or to grant a registration (utility model)

Free format text: JAPANESE INTERMEDIATE CODE: A01

Effective date: 20130409

A61 First payment of annual fees (during grant procedure)

Free format text: JAPANESE INTERMEDIATE CODE: A61

Effective date: 20130410

R150 Certificate of patent or registration of utility model

Ref document number: 5248250

Country of ref document: JP

Free format text: JAPANESE INTERMEDIATE CODE: R150

Free format text: JAPANESE INTERMEDIATE CODE: R150

FPAY Renewal fee payment (event date is renewal date of database)

Free format text: PAYMENT UNTIL: 20160419

Year of fee payment: 3

R250 Receipt of annual fees

Free format text: JAPANESE INTERMEDIATE CODE: R250

R250 Receipt of annual fees

Free format text: JAPANESE INTERMEDIATE CODE: R250

R250 Receipt of annual fees

Free format text: JAPANESE INTERMEDIATE CODE: R250

R250 Receipt of annual fees

Free format text: JAPANESE INTERMEDIATE CODE: R250

R250 Receipt of annual fees

Free format text: JAPANESE INTERMEDIATE CODE: R250

R250 Receipt of annual fees

Free format text: JAPANESE INTERMEDIATE CODE: R250

R250 Receipt of annual fees

Free format text: JAPANESE INTERMEDIATE CODE: R250

R250 Receipt of annual fees

Free format text: JAPANESE INTERMEDIATE CODE: R250

R250 Receipt of annual fees

Free format text: JAPANESE INTERMEDIATE CODE: R250

R250 Receipt of annual fees

Free format text: JAPANESE INTERMEDIATE CODE: R250