JP2010073865A - 半導体装置、及び半導体装置の製造方法 - Google Patents

半導体装置、及び半導体装置の製造方法 Download PDF

Info

Publication number
JP2010073865A
JP2010073865A JP2008239200A JP2008239200A JP2010073865A JP 2010073865 A JP2010073865 A JP 2010073865A JP 2008239200 A JP2008239200 A JP 2008239200A JP 2008239200 A JP2008239200 A JP 2008239200A JP 2010073865 A JP2010073865 A JP 2010073865A
Authority
JP
Japan
Prior art keywords
film
diffusion layer
type diffusion
forming
gate insulating
Prior art date
Legal status (The legal status is an assumption and is not a legal conclusion. Google has not performed a legal analysis and makes no representation as to the accuracy of the status listed.)
Granted
Application number
JP2008239200A
Other languages
English (en)
Other versions
JP4837011B2 (ja
Inventor
Daisuke Ikeno
大輔 池野
Tomonori Aoyama
知憲 青山
Kazuaki Nakajima
一明 中嶋
Seiji Inumiya
誠治 犬宮
Takashi Shimizu
敬 清水
Takuya Kobayashi
琢也 小林
Current Assignee (The listed assignees may be inaccurate. Google has not performed a legal analysis and makes no representation or warranty as to the accuracy of the list.)
Toshiba Corp
Original Assignee
Toshiba Corp
Priority date (The priority date is an assumption and is not a legal conclusion. Google has not performed a legal analysis and makes no representation as to the accuracy of the date listed.)
Filing date
Publication date
Application filed by Toshiba Corp filed Critical Toshiba Corp
Priority to JP2008239200A priority Critical patent/JP4837011B2/ja
Priority to US12/561,862 priority patent/US20100065918A1/en
Publication of JP2010073865A publication Critical patent/JP2010073865A/ja
Application granted granted Critical
Publication of JP4837011B2 publication Critical patent/JP4837011B2/ja
Expired - Fee Related legal-status Critical Current
Anticipated expiration legal-status Critical

Links

Images

Classifications

    • HELECTRICITY
    • H10SEMICONDUCTOR DEVICES; ELECTRIC SOLID-STATE DEVICES NOT OTHERWISE PROVIDED FOR
    • H10DINORGANIC ELECTRIC SEMICONDUCTOR DEVICES
    • H10D84/00Integrated devices formed in or on semiconductor substrates that comprise only semiconducting layers, e.g. on Si wafers or on GaAs-on-Si wafers
    • H10D84/01Manufacture or treatment
    • H10D84/0123Integrating together multiple components covered by H10D12/00 or H10D30/00, e.g. integrating multiple IGBTs
    • H10D84/0126Integrating together multiple components covered by H10D12/00 or H10D30/00, e.g. integrating multiple IGBTs the components including insulated gates, e.g. IGFETs
    • H10D84/0165Integrating together multiple components covered by H10D12/00 or H10D30/00, e.g. integrating multiple IGBTs the components including insulated gates, e.g. IGFETs the components including complementary IGFETs, e.g. CMOS devices
    • H10D84/0167Manufacturing their channels
    • HELECTRICITY
    • H10SEMICONDUCTOR DEVICES; ELECTRIC SOLID-STATE DEVICES NOT OTHERWISE PROVIDED FOR
    • H10DINORGANIC ELECTRIC SEMICONDUCTOR DEVICES
    • H10D84/00Integrated devices formed in or on semiconductor substrates that comprise only semiconducting layers, e.g. on Si wafers or on GaAs-on-Si wafers
    • H10D84/01Manufacture or treatment
    • H10D84/0123Integrating together multiple components covered by H10D12/00 or H10D30/00, e.g. integrating multiple IGBTs
    • H10D84/0126Integrating together multiple components covered by H10D12/00 or H10D30/00, e.g. integrating multiple IGBTs the components including insulated gates, e.g. IGFETs
    • H10D84/0165Integrating together multiple components covered by H10D12/00 or H10D30/00, e.g. integrating multiple IGBTs the components including insulated gates, e.g. IGFETs the components including complementary IGFETs, e.g. CMOS devices
    • H10D84/0172Manufacturing their gate conductors
    • HELECTRICITY
    • H10SEMICONDUCTOR DEVICES; ELECTRIC SOLID-STATE DEVICES NOT OTHERWISE PROVIDED FOR
    • H10DINORGANIC ELECTRIC SEMICONDUCTOR DEVICES
    • H10D84/00Integrated devices formed in or on semiconductor substrates that comprise only semiconducting layers, e.g. on Si wafers or on GaAs-on-Si wafers
    • H10D84/01Manufacture or treatment
    • H10D84/02Manufacture or treatment characterised by using material-based technologies
    • H10D84/03Manufacture or treatment characterised by using material-based technologies using Group IV technology, e.g. silicon technology or silicon-carbide [SiC] technology
    • H10D84/038Manufacture or treatment characterised by using material-based technologies using Group IV technology, e.g. silicon technology or silicon-carbide [SiC] technology using silicon technology, e.g. SiGe

Landscapes

  • Metal-Oxide And Bipolar Metal-Oxide Semiconductor Integrated Circuits (AREA)
  • Insulated Gate Type Field-Effect Transistor (AREA)
  • Electrodes Of Semiconductors (AREA)

Abstract

【課題】NMOSFET及びPMOSFET等のNMOS及びPMOSを有する半導体装置において、ゲート電極の実効仕事関数を、Siバンドギャップのmid-gap付近の値に安定的に設定することが可能な半導体装置及びその製造方法を提供する。
【解決手段】素子分離膜によって分離されてなる、p型拡散層及びn型拡散層を有する半導体基板と、前記半導体基板の、前記p型拡散層及びn型拡散層それぞれの上に形成されてなるゲート絶縁膜と、前記ゲート絶縁膜上に形成された金属膜を含むゲート電極と、前記ゲート絶縁膜と前記金属膜との界面に形成されたGe介在物と、前記金属膜上に形成されたシリコン含有層と、を具えるようにして半導体装置を構成する。
【選択図】図8

Description

本発明は、半導体装置及び半導体装置の製造方法に関し、特にシングルメタルゲート(Single metal gate)構造を有する半導体装置及び半導体装置の製造方法に関する。
大規模集積回路の微細化に伴いゲート絶縁膜の薄膜化が要求されている。32nmノード以降のCMOS(Complementary Metal Oxide Semiconductor)では、ゲート絶縁膜にSiO換算膜厚で0.9nm以下の性能が必要となる。しかしながら、従来ゲート電極として用いられてきた多結晶Si(Poly-Si)電極では、その半導体特性よりゲートの空乏化が生じ、実効的なゲート絶縁膜厚を0.3nm程度増加させ、更なる絶縁膜厚の薄膜化を阻害している。
従って、多結晶Siのゲート空乏化抑制のため、メタルゲート電極の導入が求められている。メタルゲート電極には、トランジスタの閾値電圧(Vth)低減のために、Siバンド端近傍の実効仕事関数(EWF)が求められている。具体的には、NMOSFET(N Channel Metal Oxide Semiconductor Field Effect Transistor)では、Si伝導帯端(4.05eV)近傍の実効仕事関数が求められており、PMOSFET(P Channel Metal Oxide Semiconductor Field Effect Transistor)では、Si価電子帯端(5.17eV)近傍の実効仕事関数が求められている。Siバンド端の実効仕事関数を実現させることで、Vthが低減し所望のCMOSの駆動力を得ることが出来る。
一方、現在、電極構造は多結晶Si/メタル構造をとっており、シリサイド工程により、多結晶Si上にニッケルシリサイドを形成し、コンタクト抵抗を低減している。また、メタルゲートはNMOSFETとPMOSFETとで同じ材料を用いるシングルメタルゲート(Single metal gate)技術を採用している。
したがって、実効仕事関数がSi伝導帯端(4.05eV)に近接してしまうと、PMOSFETにおける閾値電圧が増大してしまい、逆に実効仕事関数がSi価電子帯端(5.17eV)に近接してしまうと、NMOSFETにおける閾値電圧が増大してしまう。
かかる観点より、シングルメタルゲート技術においては、Siバンドギャップのmid-gap近傍の実効仕事関数(EWF)を持つゲート電極材料の使用を前提とし、これに対してNMOSFET及びPMOSFETにおける閾値電圧を下げるべく、種々の提案がなされている。
例えば、NMOSFETではLa(酸化ランタン)膜、PMOSFETではチャネルSiGe(シリコンゲルマニウム)層及びAl(酸化アルミニウム)を用いて、閾値電圧を低減させる技術が提案されている(非特許文献1〜4参照)。実際に、Laを絶縁膜/Si基板界面に添加することによる0.5eV程度の実効仕事関数の低減を実現することができ、NMOSFETでの実効仕事関数をSi伝導帯端(4.05eV)に近接させることができる。
Band-Edge High-Performance High-k/Metal Gate n-MOSFETs using Cap Layers Containing Group IIA and IIIB Elements with Gate-First Processing for 45 nm Beyond, V. Narayanan et al., Dig. Symp. VLSI Technology, 2006 Achieving Conduction Band-Edge Effective Work Functions by La2O3 Capping of Hafnium Silicates L-A. Ragnarsson et al., IEEE Electron Device Lett. 28 (2007)486 Dual High-k Gate Dielectric Technology Using Selective AlOx Etch (SAE) Process with Nitrogen and Fluorine Incorporation, H-S. Jung et al., Dig. Symp. VLSI Technology, 2006 Highly Manufacturing 45 nm LSTP CMOSFETs Using Novel Dual High-k and Dual Metal Gate CMOS Integration, B.C. Ju et al., Dig. Symp. VLSI Technology, 2006
また、チャネル部にSiGeを用い、絶縁膜/Si基板界面にAlを添加することによる0.5eV程度の実効仕事関数の増加がおこり、PMOSFETの実効仕事関数をSi価電子帯端(5.17eV)に近接させることができる。したがって、上述したシングルメタルゲート技術においても、閾値電圧の低減を図ることができる。
しかしながら、当初、適当なゲート電極材料を選択して、Siバンドギャップのmid-gap近傍の実効仕事関数を設定しても、特に、上述のようなシリサイド工程を行うために、多結晶Si/金属電極なる積層構造を形成すると、その実効仕事関数がmid-gapよりも0.2eV程度低い値となってしまうという問題がある。したがって、PMOSFETにおいて、上述のようなチャネルSiGe層及びAl膜を導入する技術を用いても、Si価電子帯端近傍のEWFが得られず、所望の閾値電圧の低減を図ることができないという問題がある。
本発明は、NMOSFET及びPMOSFET等のNMOS及びPMOSを有する半導体装置において、ゲート電極の実効仕事関数を、Siバンドギャップのmid-gap付近の値に安定的に設定することが可能な半導体装置及びその製造方法を提供することを目的とする。
本発明の一態様は、素子分離膜によって分離されてなる、p型拡散層及びn型拡散層を有する半導体基板と、前記半導体基板の、前記p型拡散層及びn型拡散層それぞれの上に形成されてなるゲート絶縁膜と、前記ゲート絶縁膜上に形成された金属膜を含むゲート電極と、前記ゲート絶縁膜と前記金属膜との界面に形成されたGe介在物と、前記金属膜上に形成されたシリコン含有層と、を具えることを特徴とする、半導体装置に関する。
また、本発明の他の態様は、半導体基板内に素子分離膜を形成するとともに、前記素子分離膜の一方の側にp型拡散層を形成し、前記素子分離膜の他方の側にn型拡散層を形成する工程と、前記半導体基板の、前記p型拡散層及びn型拡散層それぞれの上にゲート絶縁膜を形成する工程と、前記ゲート絶縁膜上に金属膜を含むゲート電極を形成する工程と、前記金属膜上にGe層を形成するとともに熱処理を実施して、前記Ge層中のGeを前記ゲート絶縁膜と前記金属ゲート電極層との界面に拡散させて、Ge介在物を形成する工程と、前記金属膜上にシリコン含有層を形成する工程と、を具えることを特徴とする、半導体装置の製造方法に関する。
さらに、本発明のその他の態様は、半導体基板内に素子分離膜を形成するとともに、前記素子分離膜の一方の側にp型拡散層を形成し、前記素子分離膜の他方の側にn型拡散層を形成する工程と、前記半導体基板の、前記p型拡散層及びn型拡散層それぞれの上にゲート絶縁膜を形成する工程と、前記ゲート絶縁膜上に金属膜を含むゲート電極を形成する工程と、前記金属ゲート電極上に多結晶シリコンを堆積する工程と、前記多結晶シリコン層に対してGeイオン注入を行い、前記ゲート絶縁膜と前記金属膜との界面にGe介在物を形成する工程と、前記金属膜上にシリコン含有層を形成する工程と、を具えることを特徴とする、半導体装置の製造方法に関する。
上記態様によれば、NMOSFET及びPMOSFET等のNMOS及びPMOSを有する半導体装置において、ゲート電極の実効仕事関数を、Siバンドギャップのmid-gap付近の値に安定的に設定することが可能な半導体装置及びその製造方法を提供することができる。
(第1の実施形態)
図1〜図8は、第1の実施形態における半導体装置の製造方法の一例における工程を示す断面図である。なお、本態様では、シングルメタルゲート型のトランジスタについて説明する。
最初に、図1に示すように、例えばシリコンからなる半導体基板101を準備し、半導体基板101内にSTI構造の素子分離領域102及び犠牲酸化膜103、並びにN型拡散層104及びP型拡散層105を形成する。また、N型拡散層104及びP型拡散層105を覆うようにして犠牲酸化膜103を形成する。N型拡散層104は後にPMOSFETを構成し、P型拡散層105は後にNMOSFETを構成する。
この後、レジストをマスクとして、NHF水溶液または希フッ酸を用いてN型拡散層104上の犠牲酸化膜103を除去する。その後、N型拡散層104領域に選択的にSiGeをエピタキシャル成長させ、チャネルSiGe層106を形成後、Siを堆積する。また、P型拡散層105上の犠牲酸化膜103をNHF水溶液または希フッ酸を用いて剥離した後、N及びP型拡散層領域に共にケミカルSiO膜(シリコン酸化膜)107を形成する(図2)。
なお、シリコン酸化膜107は、界面準位の形成を抑制するためのものであり、最終的にトランジスタを構成した場合において、その電気特性、特に移動度の劣化を抑制する(向上させる)ことが可能となる。
次いで、図3に示すように、シリコン酸化膜107上に、Al膜108をALD法で全面に堆積し、レジストをマスクとしてP型拡散層105側のAl膜108をエッチング除去する。次に、レジストの剥離後、La膜109をPVD法で全面に堆積して、レジストをマスクとしてN型拡散層104側のLa膜109をエッチング除去する。
次いで、レジストの剥離後、図4に示すように、MOCVD法で2.5nmの膜厚のHfSiO(ハフニウム珪酸化膜)を全面に形成する。この後、窒素プラズマ雰囲気中で処理した後に熱処理を行って、HfSiON(ハフニウム珪酸窒化膜)110に改質し、ゲート絶縁膜とする。なお、前記ゲート絶縁膜としては、Hfを含むことが好ましく、上述したHfSiONの他に、HfO、HfSiO等を挙げることができる。その後、ゲート電極層を構成するTiN(窒化チタン)膜111をPVD法で成膜する。
なお、前記ゲート絶縁膜がSiを含むことによって、Geが前記ゲート絶縁膜中に拡散するのを防止することができ、以下に説明するように、ゲート電極を構成する金属膜と前記ゲート絶縁膜との界面に、Ge介在物を制御性よく形成することができる。
さらに、Siに加えてNを含むことにより、前記ゲート絶縁膜のバリア性がより向上し、Geが前記ゲート絶縁膜中に拡散するのをより効果的に防止することができ、上述したように、ゲート電極を構成する金属膜と前記ゲート絶縁膜との界面に、Ge介在物を制御性よく形成することができる。
その後、図5に示すように、全面に多結晶Ge膜112をPVD法またはゲルマンを用いたCVD法によって堆積する。
次いで、図6に示すように、多結晶シリコン(Poly-Si)膜(シリコン含有層)113を堆積し、ハードマスクを用いて、多結晶シリコン膜113、Ge膜112、TiN膜111、HfSiON膜110、N型拡散層104領域のAl膜108、P型拡散層105領域のLa膜109及びシリコン酸化膜107をRIE加工によってエッチングする。
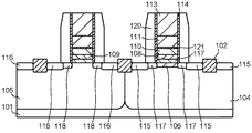
次いで、図7に示すように、全面にシリコン酸化膜あるいはシリコン窒化膜をCVD法で堆積し、RIE法を用いてオフセットスペーサー114を形成する。さらに、シリコン酸化膜あるいはシリコン窒化膜からなるサイドウォールスペーサー120をCVD法及びRIE法で形成する。この後、レジストマスクを用いてBをN型拡散層104に注入した後、同様にレジストマスクを用いてP型拡散層105にPまたはAsをイオン注入し、熱処理を行うことにより、P型ソース・ドレイン拡散層115とN型ソース・ドレイン拡散層116とを形成する。
この際、TiN膜111上のGe層112のGe原子がTiN膜111中を拡散するとともに、TiN膜111とHfSiON膜110との界面に到達し、Ge介在物121を形成する。なお、Ge介在物121は完全な層をなしている必要はなく、TiN膜111の金属と結合している状態で介在していても良い。
次いで、図8に示すように、サイドウォールスペーサー120を除去した後に、レジストマスクを用いて、BをN型拡散層104に注入した後、同様にレジストマスクを用いてP型拡散層105にPまたはAsをイオン注入し、熱処理を行うことにより、P型エクステンション拡散層117とN型エクステンション拡散層118とを形成する。この後、CVD法及びRIE法でSiO膜123とSiN膜124からなる2層のサイドウォールスペーサーを形成する。次いで、ソース・ドレイン拡散層及び多結晶シリコン膜113の表面に自己整合的にシリサイド膜122を形成する。これによって目的とするシングルメタルゲート型のトランジスタを得ることができる。
本態様では、TiN膜111によってゲート電極(層)が構成される。
なお、特に図示しないが、従来のトランジスタで用いられているように、層間絶縁膜の形成、コンタクトホールの開口・埋め込み、配線形成等を行うことによって、半導体集積回路とすることができる。
本態様では、HfSiON膜110からなるゲート絶縁膜と、TiN膜111、多結晶シリコン膜113及びシリサイド膜122からなるゲート電極との間にGe介在物121が形成されている。したがって、前記ゲート電極の実効仕事関数をSiバンドギャップのmid-gap付近の値に安定的に設定することが可能となる。
また、N型拡散層104に形成されたLa膜109により、N型拡散層104の実効仕事関数、すなわちNMOSFETの実効仕事関数を0.5eV程度低減させることができるので、NMOSFETの実効仕事関数をSi伝導帯端(4.05eV)に近接させることができる。さらに、P型拡散層105に形成されたチャネルSiGe層106及びAl108により、P型拡散層105の実効仕事関数、すなわちPPMOSFETの実効仕事関数をSi価電子帯端(5.17eV)に近接させることができる。結果として、得られたトランジスタの閾値電圧を十分かつ安定的に低減することができるようになる。
なお、Ge介在物122の存在によって前記ゲート電極の実効仕事関数をmid-gap付近の値に安定的に設定することができる理由については、以下のように考えることができる。すなわち、上述の製造方法から明らかなように、ゲート電極はTiN膜111の他に、シリサイド膜122を形成するための多結晶シリコン膜113を含むようになる。しかしながら、多結晶シリコン膜113は、例えばソース・ドレイン拡散層を形成する際の熱処理によって、その構成元素が拡散してTiN膜111とHfSiON膜110との界面に拡散してしまう。
一方、本態様では、TiN膜111とHfSiON膜110との間に、Ge介在物121が存在しているので、上述したシリコン元素の、TiN膜111とHfSiON膜110との間への拡散が抑制される。この結果、前記ゲート電極の実効仕事関数をmid-gap付近の値に安定的に設定することができるものと考えられる。
換言すれば、ゲート電極の実効仕事関数のmid-gap付近からの変動は、多結晶シリコン膜113からのTiN膜111及びHfSiON膜110間の界面へのシリコン元素の拡散が原因であって、本態様では、Ge介在物121の存在によって上記シリコン元素の拡散が抑制されるために、ゲート電極の実効仕事関数をmid-gap付近に安定的に保持できるものと考えられる。
なお、本態様では、ゲート電極を構成する金属膜をTiN膜から構成したが、本態様の作用効果は、TiN膜以外の、炭化タンタル(TaC)膜、窒化タンタル(TaN)膜、及び珪窒化タンタル(TaSiN)膜の場合にも同様に得ることができる。
また、Ge介在物121を形成する際に、Ge層112から拡散したGe元素がTiN膜111中に残存することが好ましい。これによって、ゲート電極の実効仕事関数をmid-gap付近により安定的に保持できる。これは、多結晶シリコン膜113からのシリコン元素の拡散が、Ge介在物121のみならず、TiN膜111においても抑制されるためと考えられる。
(第2の実施形態)
図9及び図10は、第2の実施形態における半導体装置の製造方法の一例における工程を示す断面図である。なお、本態様でも、シングルメタルゲート型のトランジスタについて説明する。また、第1の実施形態と同一あるいは類似の構成要素に関しては、同一の参照数字を用いている。
最初に、第1の実施形態における図1〜4に示す工程に従って、半導体基板101内にSTI構造の素子分離領域102及び犠牲酸化膜103、並びにN型拡散層104及びP型拡散層105を形成する。また、N型拡散層104及びP型拡散層105を覆うようにして犠牲酸化膜103を形成する。次いで、レジストをマスクとして、NHF水溶液または希フッ酸を用いてN型拡散層104上の犠牲酸化膜103を除去し、N型拡散層104領域に選択的にSiGeをエピタキシャル成長させ、チャネルSiGe層106を形成後、Siを堆積する。
また、P型拡散層104上の犠牲酸化膜103をNHF水溶液または希フッ酸を用いて剥離した後、N及びP型拡散層領域に共にケミカルSiO膜(シリコン酸化膜)107を形成し、Al膜108をALD法で全面に堆積して、レジストをマスクとしてP型拡散層105側のAl膜108をエッチング除去する。次に、レジストの剥離後、La膜109をPVD法で全面に堆積して、レジストをマスクとしてN型拡散層104側のLa膜109をエッチング除去する。
次いで、レジストの剥離後、図4に示すように、MOCVD法で2.5nmの膜厚のHfSiO(ハフニウム珪酸化膜)を全面に形成する。この後、窒素プラズマ雰囲気中で処理した後に熱処理を行って、HfSiON膜(ハフニウム珪酸窒化膜)110に改質し、ゲート絶縁膜とする。その後、TiN(窒化チタン)膜111をPVD法で成膜する。
次いで、図9に示すように、TiN膜111の全面に多結晶シリコン膜113を堆積し、次いで、多結晶シリコン膜113の上方からGeイオン注入を行い、TiN膜111とHfSiON膜(ハフニウム珪酸窒化膜)110との界面にGe介在物121を形成する。本態様でも、Ge介在物121は完全な層をなしている必要はなく、TiN膜111の金属と結合している状態で介在していても良い。
その後、第1の実施形態の、図6〜図8の工程に従い、多結晶シリコン膜113、TiN膜111、Ge介在物121、HfSiON膜110、N型拡散層104のAl膜108、P型拡散層105のLa膜109及びシリコン酸化膜107をRIE加工によってエッチングし、スペーサー114及び120を形成してP型ソース・ドレイン拡散層115とN型ソース・ドレイン拡散層116とを形成する。
次いで、スペーサー120を除去した後に、P型エクステンション拡散層117とN型エクステンション拡散層118とを形成し、サイドウォールスペーサーを形成した後、ソース・ドレイン拡散層及び多結晶シリコン膜113の表面に自己整合的にシリサイド膜122を形成する。これによって目的とするシングルメタルゲート型のトランジスタを得ることができる。
本態様では、TiN膜111によってゲート電極(層)が構成される。
本態様でも、HfSiON膜110からなるゲート絶縁膜と、TiN膜111、多結晶シリコン膜113及びシリサイド膜122からなるゲート電極との間にGe介在物122が形成されているので、前記ゲート電極の実効仕事関数をSiバンドギャップのmid-gap付近の値に安定的に設定することが可能となる。
また、N型拡散層104に形成されたLa膜109により、N型拡散層104の実効仕事関数、すなわちNMOSFETの実効仕事関数を0.5eV程度低減させることができるので、NMOSFETの実効仕事関数をSi伝導帯端(4.05eV)に近接させることができる。さらに、P型拡散層105に形成されたチャネルSiGe層106及びAl108により、P型拡散層105の実効仕事関数、すなわちPPMOSFETの実効仕事関数をSi価電子帯端(5.17eV)に近接させることができる。結果として、得られたトランジスタの閾値電圧を十分かつ安定的に低減することができるようになる。
なお、Ge介在物121の存在によって前記ゲート電極の実効仕事関数をmid-gap付近の値に安定的に設定することができる理由については、第1の実施形態と同様である。
また、本態様でも、ゲート電極を構成する金属膜をTiN膜から構成したが、本態様の作用効果は、TiN膜以外の、炭化タンタル(TaC)膜、珪化タンタル(TaSi)膜、及び珪窒化タンタル(TaSiN)膜の場合にも同様に得ることができる。
さらに、Ge介在物121を形成する際に、Geイオン注入を実施した際のGeイオンがTiN膜111中に残存することが好ましい。これによって、ゲート電極の実効仕事関数をmid-gap付近により安定的に保持できる。これは、第1の実施形態同様に、多結晶シリコン膜113からのシリコン元素の拡散が、Ge介在物121のみならず、TiN膜111においても抑制されるためと考えられる。
(第3の実施形態)
上記第1の実施形態で得たトランジスタ構造に関して、RBS(ラザフォード後方散乱)測定を行った。結果を図11に示す。図11から明らかなように、GeがTiN膜111中に拡散しているとともに、TiN膜111及びHfSiON膜110の界面に偏析して、Ge介在物となっていることが分かる。
以上、本発明を上記具体例に基づいて詳細に説明したが、本発明は上記具体例に限定されるものではなく、本発明の範疇を逸脱しない限りにおいて、あらゆる変形や変更が可能である。
例えば、上記態様では、ソース・ドレイン領域を形成した後に、サイドウォールスペーサーを除去してエクステンション拡散層117及び118を形成したが、オフセットスペーサーを形成直後にエクステンション領域を形成し、その後、サイドウォールスペーサーを形成してからソース・ドレイン領域を形成しても同様に本発明を実施することができる。
第1の実施形態における半導体装置の製造方法の一例における工程を示す断面図である。 同じく、第1の実施形態における半導体装置の製造方法の一例における工程を示す断面図である。 同じく、第1の実施形態における半導体装置の製造方法の一例における工程を示す断面図である。 同じく、第1の実施形態における半導体装置の製造方法の一例における工程を示す断面図である。 同じく、第1の実施形態における半導体装置の製造方法の一例における工程を示す断面図である。 同じく、第1の実施形態における半導体装置の製造方法の一例における工程を示す断面図である。 同じく、第1の実施形態における半導体装置の製造方法の一例における工程を示す断面図である。 同じく、第1の実施形態における半導体装置の製造方法の一例における工程を示す断面図である。 第2の実施形態における半導体装置の製造方法の一例における工程を示す断面図である。 同じく、第2の実施形態における半導体装置の製造方法の一例における工程を示す断面図である。 実施例におけるRBS(ラザフォード後方散乱)測定における結果を示すグラフである。
符号の説明
101 半導体基板
102 素子分離領域
103 犠牲酸化膜
104 N型拡散層
105 P型拡散層
106 SiGe層
107 ケミカルSiO膜(シリコン酸化膜)
108 Al
109 La
110 HfSiON膜
111 TiN膜
112 Ge膜
113 多結晶シリコン膜
114 オフセットスペーサー
115 P型ソース・ドレイン拡散層
116 N型ソース・ドレイン拡散層
117 P型エクステンション拡散層
118 N型エクステンション拡散層
120 サイドウォールスペーサー
121 Ge介在物
122 シリサイド膜
123 2層のサイドウォールスペーサーを構成するSiO
124 2層のサイドウォールスペーサーを構成するSiN膜

Claims (5)

  1. 素子分離膜によって分離されてなる、p型拡散層及びn型拡散層を有する半導体基板と、
    前記半導体基板の、前記p型拡散層及びn型拡散層それぞれの上に形成されてなるゲート絶縁膜と、
    前記ゲート絶縁膜上に形成された金属膜を含むゲート電極と、
    前記ゲート絶縁膜と前記金属膜との界面に形成されたGe介在物と、
    前記金属膜上に形成されたシリコン含有層と、
    を具えることを特徴とする、半導体装置。
  2. 前記金属膜はGeを含むことを特徴とする、請求項1に記載の半導体装置。
  3. 前記金属膜は、窒化チタン、炭化タンタル、窒化タンタル、及び珪窒化タンタルからなる群より選ばれる少なくとも一種であることを特徴とする、請求項1又は2に記載の半導体装置。
  4. 半導体基板内に素子分離膜を形成するとともに、前記素子分離膜の一方の側にp型拡散層を形成し、前記素子分離膜の他方の側にn型拡散層を形成する工程と、
    前記半導体基板の、前記p型拡散層及びn型拡散層それぞれの上にゲート絶縁膜を形成する工程と、
    前記ゲート絶縁膜上に金属膜を含むゲート電極を形成する工程と、
    前記金属膜上にGe層を形成するとともに熱処理を実施して、前記Ge層中のGeを前記ゲート絶縁膜と前記金属ゲート電極層との界面に拡散させて、Ge介在物を形成する工程と、
    前記金属膜上にシリコン含有層を形成する工程と、
    を具えることを特徴とする、半導体装置の製造方法。
  5. 半導体基板内に素子分離膜を形成するとともに、前記素子分離膜の一方の側にp型拡散層を形成し、前記素子分離膜の他方の側にn型拡散層を形成する工程と、
    前記半導体基板の、前記p型拡散層及びn型拡散層それぞれの上にゲート絶縁膜を形成する工程と、
    前記ゲート絶縁膜上に金属膜を含むゲート電極を形成する工程と、
    前記金属ゲート電極上に多結晶シリコンを堆積する工程と、
    前記多結晶シリコン層に対してGeイオン注入を行い、前記ゲート絶縁膜と前記金属膜との界面にGe介在物を形成する工程と、
    前記金属膜上にシリコン含有層を形成する工程と、
    を具えることを特徴とする、半導体装置の製造方法。
JP2008239200A 2008-09-18 2008-09-18 半導体装置、及び半導体装置の製造方法 Expired - Fee Related JP4837011B2 (ja)

Priority Applications (2)

Application Number Priority Date Filing Date Title
JP2008239200A JP4837011B2 (ja) 2008-09-18 2008-09-18 半導体装置、及び半導体装置の製造方法
US12/561,862 US20100065918A1 (en) 2008-09-18 2009-09-17 Semiconductor device and method for manufacturing the same

Applications Claiming Priority (1)

Application Number Priority Date Filing Date Title
JP2008239200A JP4837011B2 (ja) 2008-09-18 2008-09-18 半導体装置、及び半導体装置の製造方法

Publications (2)

Publication Number Publication Date
JP2010073865A true JP2010073865A (ja) 2010-04-02
JP4837011B2 JP4837011B2 (ja) 2011-12-14

Family

ID=42006444

Family Applications (1)

Application Number Title Priority Date Filing Date
JP2008239200A Expired - Fee Related JP4837011B2 (ja) 2008-09-18 2008-09-18 半導体装置、及び半導体装置の製造方法

Country Status (2)

Country Link
US (1) US20100065918A1 (ja)
JP (1) JP4837011B2 (ja)

Cited By (5)

* Cited by examiner, † Cited by third party
Publication number Priority date Publication date Assignee Title
JP2012015149A (ja) * 2010-06-29 2012-01-19 Tokyo Electron Ltd エッチング方法及び装置
JP2012146981A (ja) * 2011-01-11 2012-08-02 Imec ゲルマニウム層の直接成長方法
KR101212567B1 (ko) 2010-12-22 2012-12-13 에스케이하이닉스 주식회사 반도체 장치 및 반도체 장치의 제조방법
KR101282343B1 (ko) 2010-07-30 2013-07-04 에스케이하이닉스 주식회사 금속게이트를 갖는 반도체장치 및 그 제조 방법
US12355907B2 (en) 2022-01-10 2025-07-08 Apple Inc. Handheld electronic device

Families Citing this family (5)

* Cited by examiner, † Cited by third party
Publication number Priority date Publication date Assignee Title
US8350341B2 (en) * 2010-04-09 2013-01-08 International Business Machines Corporation Method and structure for work function engineering in transistors including a high dielectric constant gate insulator and metal gate (HKMG)
JP5521726B2 (ja) * 2010-04-16 2014-06-18 富士通セミコンダクター株式会社 半導体装置及びその製造方法
US8941184B2 (en) 2011-12-16 2015-01-27 International Business Machines Corporation Low threshold voltage CMOS device
KR102054834B1 (ko) 2013-03-15 2019-12-12 삼성전자주식회사 반도체 메모리 소자 및 그 제조 방법
US9418903B2 (en) * 2014-05-21 2016-08-16 Globalfoundries Inc. Structure and method for effective device width adjustment in finFET devices using gate workfunction shift

Citations (8)

* Cited by examiner, † Cited by third party
Publication number Priority date Publication date Assignee Title
JPH11251593A (ja) * 1997-12-24 1999-09-17 Texas Instr Inc <Ti> ゲルマニウム層を使用した大誘電率ゲートの構造と方法
JP2005191545A (ja) * 2003-12-05 2005-07-14 Toshiba Corp 半導体装置
JP2006261235A (ja) * 2005-03-15 2006-09-28 Toshiba Corp 半導体装置
JP2007013182A (ja) * 2005-06-30 2007-01-18 Samsung Electronics Co Ltd Mosトランジスタを備える半導体素子及びその製造方法
JP2007208260A (ja) * 2006-01-31 2007-08-16 Samsung Electronics Co Ltd 二重仕事関数金属ゲートスタックを備えるcmos半導体装置
JP2008016798A (ja) * 2006-06-08 2008-01-24 Toshiba Corp 半導体装置およびその製造方法
JP2008071814A (ja) * 2006-09-12 2008-03-27 Fujitsu Ltd 半導体装置及びその製造方法
JP2008135726A (ja) * 2006-10-23 2008-06-12 Interuniv Micro Electronica Centrum Vzw 主電極を含むドープされた金属を含む半導体装置

Family Cites Families (3)

* Cited by examiner, † Cited by third party
Publication number Priority date Publication date Assignee Title
US6803611B2 (en) * 2003-01-03 2004-10-12 Texas Instruments Incorporated Use of indium to define work function of p-type doped polysilicon
US7629212B2 (en) * 2007-03-19 2009-12-08 Texas Instruments Incorporated Doped WGe to form dual metal gates
US7875520B2 (en) * 2008-03-27 2011-01-25 United Microelectronics Corp. Method of forming CMOS transistor

Patent Citations (8)

* Cited by examiner, † Cited by third party
Publication number Priority date Publication date Assignee Title
JPH11251593A (ja) * 1997-12-24 1999-09-17 Texas Instr Inc <Ti> ゲルマニウム層を使用した大誘電率ゲートの構造と方法
JP2005191545A (ja) * 2003-12-05 2005-07-14 Toshiba Corp 半導体装置
JP2006261235A (ja) * 2005-03-15 2006-09-28 Toshiba Corp 半導体装置
JP2007013182A (ja) * 2005-06-30 2007-01-18 Samsung Electronics Co Ltd Mosトランジスタを備える半導体素子及びその製造方法
JP2007208260A (ja) * 2006-01-31 2007-08-16 Samsung Electronics Co Ltd 二重仕事関数金属ゲートスタックを備えるcmos半導体装置
JP2008016798A (ja) * 2006-06-08 2008-01-24 Toshiba Corp 半導体装置およびその製造方法
JP2008071814A (ja) * 2006-09-12 2008-03-27 Fujitsu Ltd 半導体装置及びその製造方法
JP2008135726A (ja) * 2006-10-23 2008-06-12 Interuniv Micro Electronica Centrum Vzw 主電極を含むドープされた金属を含む半導体装置

Cited By (6)

* Cited by examiner, † Cited by third party
Publication number Priority date Publication date Assignee Title
JP2012015149A (ja) * 2010-06-29 2012-01-19 Tokyo Electron Ltd エッチング方法及び装置
KR101282343B1 (ko) 2010-07-30 2013-07-04 에스케이하이닉스 주식회사 금속게이트를 갖는 반도체장치 및 그 제조 방법
US8653611B2 (en) 2010-07-30 2014-02-18 Hynix Semiconductor Inc. Semiconductor device with metal gates and method for fabricating the same
KR101212567B1 (ko) 2010-12-22 2012-12-13 에스케이하이닉스 주식회사 반도체 장치 및 반도체 장치의 제조방법
JP2012146981A (ja) * 2011-01-11 2012-08-02 Imec ゲルマニウム層の直接成長方法
US12355907B2 (en) 2022-01-10 2025-07-08 Apple Inc. Handheld electronic device

Also Published As

Publication number Publication date
JP4837011B2 (ja) 2011-12-14
US20100065918A1 (en) 2010-03-18

Similar Documents

Publication Publication Date Title
JP4837011B2 (ja) 半導体装置、及び半導体装置の製造方法
JP5442332B2 (ja) 半導体装置およびその製造方法
US10424517B2 (en) Method for manufacturing a dual work function semiconductor device and the semiconductor device made thereof
US9455203B2 (en) Low threshold voltage CMOS device
US9287273B2 (en) Method for manufacturing a semiconductor device comprising transistors each having a different effective work function
CN101421839B (zh) 使用金属/金属氮化物双层结构作为自对准强按比例缩放cmos器件中的栅电极
CN101661883B (zh) 半导体元件的制造方法
US8119473B2 (en) High temperature anneal for aluminum surface protection
JP5336814B2 (ja) 半導体装置およびその製造方法
JP2010161308A (ja) 半導体装置およびその製造方法
JP5569173B2 (ja) 半導体装置の製造方法及び半導体装置
CN102064176B (zh) 一种半导体器件及其制造方法
CN101388399A (zh) 混合取向技术互补金属氧化物半导体结构及其制造方法
JP2013506289A (ja) 酸素拡散バリア層を有する半導体デバイスおよびそれを製造するための方法
JP2009111235A (ja) 半導体装置およびその製造方法
US8198155B2 (en) Semiconductor device and method of manufacturing the same
US9196475B2 (en) Methods for fabricating integrated circuits including fluorine incorporation
JP2011187478A (ja) 半導体装置およびその製造方法
TWI650798B (zh) 半導體元件結構及其形成方法
JP5203905B2 (ja) 半導体装置およびその製造方法
JP2008277587A (ja) 半導体装置及び半導体装置の製造方法
JP2009252895A (ja) 半導体装置及びその製造方法
JP2008218622A (ja) 半導体装置およびその製造方法
JP2012054531A (ja) 半導体装置及びその製造方法
US7915695B2 (en) Semiconductor device comprising gate electrode

Legal Events

Date Code Title Description
A621 Written request for application examination

Free format text: JAPANESE INTERMEDIATE CODE: A621

Effective date: 20100804

A977 Report on retrieval

Free format text: JAPANESE INTERMEDIATE CODE: A971007

Effective date: 20110117

A131 Notification of reasons for refusal

Free format text: JAPANESE INTERMEDIATE CODE: A131

Effective date: 20110125

A521 Request for written amendment filed

Free format text: JAPANESE INTERMEDIATE CODE: A523

Effective date: 20110325

RD02 Notification of acceptance of power of attorney

Free format text: JAPANESE INTERMEDIATE CODE: A7422

Effective date: 20110325

A131 Notification of reasons for refusal

Free format text: JAPANESE INTERMEDIATE CODE: A131

Effective date: 20110517

A521 Request for written amendment filed

Free format text: JAPANESE INTERMEDIATE CODE: A523

Effective date: 20110715

TRDD Decision of grant or rejection written
A01 Written decision to grant a patent or to grant a registration (utility model)

Free format text: JAPANESE INTERMEDIATE CODE: A01

Effective date: 20110906

A01 Written decision to grant a patent or to grant a registration (utility model)

Free format text: JAPANESE INTERMEDIATE CODE: A01

A61 First payment of annual fees (during grant procedure)

Free format text: JAPANESE INTERMEDIATE CODE: A61

Effective date: 20110927

FPAY Renewal fee payment (event date is renewal date of database)

Free format text: PAYMENT UNTIL: 20141007

Year of fee payment: 3

FPAY Renewal fee payment (event date is renewal date of database)

Free format text: PAYMENT UNTIL: 20141007

Year of fee payment: 3

LAPS Cancellation because of no payment of annual fees