JP2010073071A - 入力装置及び入力操作補助パネル - Google Patents

入力装置及び入力操作補助パネル Download PDF

Info

Publication number
JP2010073071A
JP2010073071A JP2008241807A JP2008241807A JP2010073071A JP 2010073071 A JP2010073071 A JP 2010073071A JP 2008241807 A JP2008241807 A JP 2008241807A JP 2008241807 A JP2008241807 A JP 2008241807A JP 2010073071 A JP2010073071 A JP 2010073071A
Authority
JP
Japan
Prior art keywords
input
panel
type
input operation
auxiliary panel
Prior art date
Legal status (The legal status is an assumption and is not a legal conclusion. Google has not performed a legal analysis and makes no representation as to the accuracy of the status listed.)
Granted
Application number
JP2008241807A
Other languages
English (en)
Other versions
JP2010073071A5 (ja
JP5464684B2 (ja
Inventor
Ken Yamagishi
建 山岸
Hiroshi Osawa
洋 大澤
Current Assignee (The listed assignees may be inaccurate. Google has not performed a legal analysis and makes no representation or warranty as to the accuracy of the list.)
Sony Interactive Entertainment Inc
Original Assignee
Sony Computer Entertainment Inc
Priority date (The priority date is an assumption and is not a legal conclusion. Google has not performed a legal analysis and makes no representation as to the accuracy of the date listed.)
Filing date
Publication date
Application filed by Sony Computer Entertainment Inc filed Critical Sony Computer Entertainment Inc
Priority to JP2008241807A priority Critical patent/JP5464684B2/ja
Publication of JP2010073071A publication Critical patent/JP2010073071A/ja
Publication of JP2010073071A5 publication Critical patent/JP2010073071A5/ja
Application granted granted Critical
Publication of JP5464684B2 publication Critical patent/JP5464684B2/ja
Active legal-status Critical Current
Anticipated expiration legal-status Critical

Links

Images

Landscapes

  • Position Input By Displaying (AREA)
  • User Interface Of Digital Computer (AREA)

Abstract

【課題】入力操作性が良好であり、且つ入力操作中にその操作性を維持させる。
【解決手段】端末装置1の制御部は、パネル表示面3に対する押下操作を検知するとともに、押下操作された位置を検出する。制御部は、パネル表示面3に対する操作入力位置を複数設定し、操作入力位置での押下操作を検出したとき、操作入力位置に対応して予め設定された処理を実行する。入力操作補助パネル2は、カバー部40と複数の突部42とを備える。カバー部40は、パネル表示面3を覆う使用位置で装置本体1に保持される硬質な薄板状である。突部42は、カバー部40に一体的に設けられ、カバー部40が使用位置に保持された状態で複数の操作入力位置とそれぞれ対向し、且つカバー部の表面からパネル表示面の反対側に向かって突出する。
【選択図】図1

Description

本発明は、タッチパネルを有する入力装置、及びタッチパネルに対する入力操作を補助する入力操作補助パネルに関する。
特開平11−110111号公報には、タッチパネルシート上に、突起を保持した柔軟な補助シートを載せて、突起を押下することにより、当該突起によりタッチパネルが押下され、仮想キーボードのキーあるいはボタンに対応する信号が検出されるタッチパネル補助装置が記載されている。
特開平11−110111号公報
しかし、上記従来の装置では、補助シートが柔軟であるため、タッチパネルに対して補助シートを保持させることが難しい。このため、入力操作中に補助シートがタッチパネル上を移動し易く、入力操作性の低下を招くおそれがある。
本発明は、上記実情に鑑みてなされたものであって、入力操作性が良好であり、且つ入力操作中にその操作性を維持させることが可能な入力装置及び入力操作補助パネルの提供を目的とする。
本発明の入力装置は、装置本体と入力操作補助パネルとを備える。
装置本体は、表示手段と入力検出手段と処理実行手段とを有する。表示手段は、パネル表示面を有する。入力検出手段は、パネル表示面に対する押下操作を検知するとともに、押下操作された位置を検出する。処理実行手段は、パネル表示面に対する操作入力位置を複数設定し、入力検出手段が操作入力位置での押下操作を検出したとき、操作入力位置に対応して予め設定された処理を実行する。
入力操作補助パネルは、カバー部と複数の突部とを備える。カバー部は、パネル表示面を覆う使用位置で装置本体に保持される硬質な薄板状である。突部は、カバー部に一体的に設けられ、カバー部が使用位置に保持された状態で複数の操作入力位置とそれぞれ対向し、且つカバー部の表面からパネル表示面の反対側に向かって突出する。
本発明によれば、入力操作性が良好であり、且つ入力操作中にその操作性を維持させることができる。
以下、図面を参照して本発明の実施形態について説明する。各実施形態は、本発明の例示であり、本発明を限定するものではなく、本発明の範囲内で任意に変更可能である。
[実施形態1]
本発明の第1の実施形態の入力装置は、図1に示すように、装置本体としての携帯型の端末装置1と、端末装置1に着脱自在に装着される入力操作補助パネル2とを備える。
(1)構成
<端末装置の外観構成>
端末装置1は、矩形板形状を有し、前面にパネル表示面3を備えている。このほか、端末装置1は、スピーカ15及びマイクロフォン16(図2に示す)や、図示しない赤外線ポート、USB端子、外部メモリ収容部、充電用端子、電源スイッチ等を備えている。外部メモリ収容部には、メモリスティックやメモリカードなどの外部メモリ21(図2に示す)が収容される。
端末装置1の4箇所の各側面には、入力操作補助パネル2を保持するための細長状の係合溝4がそれぞれ形成されている。
<端末装置のシステム構成>
図2を参照して、端末装置1のシステム構成について説明する。図2は、端末装置1の主要部の概略的なシステム構成の一例を示すブロック図である。
端末装置1は、制御部11、出力インターフェース12、入力インターフェース13、バックライト14、上記スピーカ15、上記マイクロフォン16、記憶部17、GPSユニット18、無線ユニット19、外部入力端子インターフェース20等を備えている。
記憶部17は、RAM(Random Access Memory)からなるメインメモリと、ROM(Read Only Memory)とを備えている。
制御部11は、中央演算処理装置(CPU:Central Processing Unit)及びその周辺装置等からなるメイン制御部と、フレームバッファに描画を行う画像処理装置(GPU:Graphic Processing Unit)等からなる画像制御部と、楽音、効果音等を発生する音声処理装置(SPU:Sound Processing Unit)等からなる音声制御部などから構成されている。
メイン制御部は、CPUと、割り込み制御やダイレクトメモリアクセス(DMA:Direct Memory Access)転送の制御等を行う周辺装置制御部を備えている。
音声制御部は、メイン制御部の制御の下、楽音、効果音等を発生するSPUと、SPUにより、波形データ等が記録されるサウンドバッファとを備え、SPUによって発生される楽音、効果音等がスピーカ15から出力される。SPUは、例えば16ビットの音声データを4ビットの差分信号として適応予測符号化(ADPCM:Adaptive Differential PCM)された音声データを再生するADPCM復号機能と、サウンドバッファに記憶されている波形データを再生することにより、効果音等を発生する再生機能と、サウンドバッファに記憶されている波形データを変調させて再生する変調機能等を備えている。また、SPUは、マイクロフォン16から供給された音声データをCPUに供給する機能を備えている。マイクロフォン16は、外部からの音声が入力されると、所定のサンプリング周波数と量子化ビット数によるA/D変換等を施して、SPUに音声データを供給する。
画像制御部は、ジオメトリトランスファエンジン(GTE:Geometry Transfer Engine)と、GPUと、フレームバッファと、画像デコーダとを備えている。GTEは、例えば複数の演算を並列に実行する並列演算機構を備え、上記CPUからの演算要求に応じて座標変換、光源計算、行列あるいはベクトルなどの演算を高速に行う。そして、メイン制御部は、GTEによる演算結果に基づいて3角形や4角形などの基本的な単位図形(ポリゴン)の組合せとして3次元モデルを定義して3次元像を描画するための各ポリゴンに対応する描画命令をGPUに送る。GPUは、メイン制御部からの描画命令に従って、フレームバッファに対して多角形(ポリゴン)等の描画を行う。フレームバッファは、GPUにより描画された画像を記憶する。このフレームバッファは、所謂デュアルポートRAMからなり、GPUからの描画あるいは記憶部17のメインメモリからの転送と、表示のための読み出しとを同時に行うことができる。また、このフレームバッファには、ビデオ出力として出力される表示領域の他に、GPUがポリゴン等の描画を行う際に参照するカラールックアップテーブル(CLUT:Color Lock Up Table)が記憶されるCLUT領域と、描画時に座標変換されてGPUによって描画されるポリゴン等の中に挿入(マッピング)される素材(テクスチャ)が記憶されるテクスチャ領域が設けられている。これらのCLUT領域とテクスチャ領域は、表示領域の変更等に従って動的に変更される。画像デコーダは、メイン制御部からの制御により、記憶部17のメインメモリに記憶され離散コサイン変換等の直交変換により圧縮されて符号化された静止画あるいは動画の画像データを復号してメインメモリに記憶させる。
記憶部17のROMには、端末装置1の各部を制御するためのオペレーティングシステム等のプログラムが記憶されている。制御部11のCPUは、ROMに記憶されているオペレーティングシステムを記憶部17のメインメモリに読み出し、読み出したオペレーティングシステムを実行することにより、この端末装置1の全体を制御する。更に、ROMには、端末装置1の各部や端末装置1に接続される各種周辺機器を制御するための制御プログラムや、映像コンテンツを再生するための映像再生プログラムや、ゲームを行う機能をCPUに実現させるためのゲームプログラムなどの各種プログラムが格納されている。
記憶部17のメインメモリには、CPUがROMから読み出したプログラムや、各種プログラムの実行の際に用いられるデータ等の各種データが記憶される。
GPSユニット18は、制御部11の制御の下、人工衛星が発信する電波を受信し、これを用いて端末装置1の位置情報(緯度・経度・高度など)を求めて制御部11へ出力する。
無線通信部ユニット19は、制御部11の制御の下、赤外線ポートを介して他の端末装置と無線通信を行う。
外部入力端子インターフェース20は、USB端子とUSBコントローラとを備え、USB端子を介して外部機器との間でUSB接続が行われる。
上記外部メモリ収容部に収容された外部メモリ21は、図示しないパラレルI/Oインターフェース(PIO)及びシリアルI/Oインターフェース(SIO)とを介して制御部11に接続される。
出力インターフェース12は、液晶表示装置(LCD:Liquid Crystal Display)22とLCDコントローラ23とを備えている。LCD22は、LCDパネル26(図3に示す)やドライバ回路などをモジュール化したものである。LCDコントローラ23は、制御部11のフレームバッファから出力された画像データを一時的に格納するRAMを内蔵し、制御部(メイン制御部)11からの制御により、RAM内の画像データを所定のタイミングで読み出して、LCD22へ出力する。
入力インターフェース13は、抵抗膜方式のタッチパネル24とタッチパネルコントローラ25とを備えている。
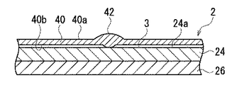
タッチパネル24は、透明電極が成膜された複数の電極シートを、電極面を対向させて一定の間隔を空けて配置した構造を有し、LCD22(LCDパネル26)の表示画面上に配置されている(図10参照)。タッチパネル24の表面(外面)24aは、ユーザの指やペン等からの押下操作を受けるパネル表示面3を構成し、パネル表示面3がユーザの指やペン等で押圧される(押下操作される)と、タッチパネル24の電極シート同士が接触し、各電極シート上の抵抗値が変化する。タッチパネルコントローラ25は、各電極シート上の抵抗変化を検出することにより、押圧された位置(操作入力位置)を座標値として検出し、その座標値を操作入力位置情報(操作信号)として制御部11に出力する。すなわち、入力インターフェース13は、パネル表示面3に対するユーザの指からの押下操作を検知するとともに、押下操作された位置を検出する入力検出手段として機能する。また、入力インターフーイス13(タッチパネル24)は、パネル表示面3上の複数の位置での押下操作を同時に検出可能な所謂マルチタッチパネル(マルチタッチスクリーン)であり、ユーザは、複数の指でパネル表示面3を押下することにより、複数の入力操作位置に対して同時に入力操作を行うことができる。
タッチパネル24は、透明な薄板形状を有し、LCD22の表示画面上に密接して配置されている。このため、LCD22の表示画面上の画像は、タッチパネル24を透過してパネル表示面3から容易に視認可能であり、LCD22とタッチパネル24とは、表示手段を構成している。また、タッチパネル24を介してパネル表示面3上に見えるLCD22の画像の位置(見かけ上の位置)と、LCD22の表示画面上の画像の位置(実際の位置)とは、殆どずれることなく一致する。
なお、入力インターフェース13は、上記抵抗膜方式のタッチパネル24に限定されるものではなく、パネル表示面に対するユーザの指からの押下操作を検知するとともに、押下操作された位置を検出する機能を有するものであれば良い。例えば、抵抗膜方式に代えて、静電容量方式、画像認識方式、光学方式など、様々なタイプの入力インターフェースを用いることができる。静電容量方式では、タッチパネルの表面全体に低圧の電界を形成し、タッチパネルに指が接触した際の表面電荷の変化を検出することにより、操作入力位置を検出する。画像認識方式では、LCDの表示画面の近傍に配置された複数のイメージセンサによってLCDの表示画面に接触する指などの画像を撮像し、撮像画像を解析することにより、操作入力位置を検出する。また、光学方式では、LCDの表示画面を囲む周壁のうち縦壁の一方と横壁の一方とに発光体を配置し、縦壁の他方と横壁の他方とに受光部を配置し、表示画面に接触する指によって遮られた光の縦横位置を検出することにより、操作入力位置を検出する。すなわち、画像認識方式や光学式では、タッチパネルを設ける必要がなく、LCDの画像表示面がユーザからの押下操作を受けるパネル表示面となる。
バックライト14は、LCD22(LCDパネル26)の裏面側に配置され、制御部11の制御の下、LCD22の裏面側から表面側に向かって光を照射する。なお、バックライト14は、LCDコントローラ23からの制御に応じて光を照射してもよい。
<端末装置のソフトウェア構成>
図3を参照して、端末装置1のソフトウェア構成について説明する。図3は、端末装置1の主要部の概略的なソフトウェア構成の一例を示すブロック図である。
装置端末1のソフトウェア構成では、下位側からデバイスドライバ層、フレームワーク層、デバイス用ミドルウェア層、アプリケーション層が規定されている。
デバイスドライバ層は、制御部11と、制御部11に接続されているハードウェアとを動作させるためのソフトウェアである。例えば、オーディオ変換モジュールを動作させるためのデバイスドライバや、LCDを動作させるためのLCDドライバや、バックライトドライバを動作させるためのドライバやなどが適宜含まれる。
フレームワーク層は、アプリケーションプログラムに対して汎用的な機能を提供するとともに、デバイスドライバによって動作される各種資源を管理するソフトウェアである。フレームワーク層は、例えば、後述するミドルウェア層又はアプリケーション層において実行されるいずれかのアプリケーションプログラムが発生した命令をデバイスドライバに伝える。また、フレームワーク層は、記憶部17や外部メモリ21とのデータの入出力や、タッチパネル24からの操作入力やLCD22への画面出力といった入出力機能の管理など、多くのアプリケーションソフトから共通して利用される基本的な機能を提供し、システム全体を管理する。
ミドルウェア層は、フレームワーク上で動作し、アプリケーションプログラムに対してフレームワークよりも高度で具体的な機能を提供するソフトウェアであるミドルウェアで構成されている。ここでは、ミドルウェアとして、スピーカ15からの出力音声を合成する技術の基本的な機能を提供するための音声合成ミドルウェア、マイクロフォン16から入力された音声を認識する技術の基本的な機能を提供するための音声認識ミドルウェア、タッチパネル24から操作入力を検出する技術の基本的な機能を提供するためのマルチタッチ検出ミドルウェア、及びLCD22へ映像を出力する技術の基本的な機能を提供するための映像出力ミドルウェアなどが用意されている。
最上位層のアプリケーション層では、各種のアプリケーションプログラムが実行される。端末装置1においては、例えば、コミュニケーションアプリケーション、ウェブブラウザ、ファイル交換アプリケーション、オーディオプレイヤ、楽曲検索アプリケーション、ミュージックストリーミング、録音ツール、フォトビューア(Photo Viewer)、テキストエディタ(Text Editor)、ゲームアプリケーションなどの個別のアプリケーションや、メニュー表示ツール、セッティングツールなどに加えて、これらのアプリケーションソフトウェアを管理するアプリケーションマネージャと、開発環境が用意されている。
<端末装置の機能的構成>
上記システム構成及びソフトウェア構成を備えた端末装置1の制御部11が入力操作管理プログラムを実行することによって実現される操作入力管理処理に関する構成について説明する。なお、入力操作管理プログラムは、単独のアプリケーションとして記憶部17に記憶されていてもよく、またゲームアプリケーションなどの個々のアプリケーションに含まれた状態で記憶部17や外部メモリ21に記憶されていてもよい。また、入力操作管理プログラムが単独のアプリケーションとして記憶されている場合、他のアプリケーションの管理の下に入力操作管理プログラムを実行してもよい。なお、以下において、特に説明しない限り、操作入力管理処理に伴って制御部11が実行する処理をメイン処理と称する。
操作入力管理処理において、制御部11は、予め記憶された複数の入力表示パターンの中から一つの入力表示パターンを特定し、特定した入力表示パターンに応じて、入力操作位置を示す複数の入力位置表示アイコン30をパネル表示面3の所定位置に表示させる。複数の入力表示パターンとしては、例えば、ゲームの実行に適したゲームボタン表示パターン(図1に示す)や、両手での文字入力に適したキーボード表示パターン(図4に示す)や、音楽データの入力に適した鍵盤表示パターン(図5に示す)や、片手及び両手での文字入力に適した携帯電話型表示パターン(図6に示す)が設定されている。
パネル表示面3のうち入力位置表示アイコン30が表示されていない領域は、メイン処理による出力画像が表示されるメイン表示領域(例えば、ゲームアプリケーションの場合、ゲーム画面の表示領域)37となる。入力表示パターンによってメイン表示領域37の大きさや上下方向が相違するため、制御部11は、特定した入力表示パターンに応じてメイン表示領域37に表示する画像の方向や大きさを適宜変更する。
ゲームボタン表示パターンでは、図1に示すように、端末装置1を横長に配置した状態でのパネル表示面3の左側領域に、上方向キーアイコン31U、下方向キーアイコン31D、左方向キーアイコン31L、及び右方向キーアイコン31Rが、パネル表示面3の右側領域に、〇ボタンアイコン32A、△ボタンアイコン32B、□ボタンアイコン32C、×ボタンアイコン32Dが、入力位置表示アイコン30として表示される。各ボタンアイコン31U,31D,31L,31R,32A,32B,32C,32Dには、そのボタンを特定する印(例えば、上方向キーアイコン31Uでは上矢印、〇ボタンアイコン32Aでは○印)が合わせて表示される。
キーボード表示パターンでは、図4に示すように、端末装置1を横長に配置した状態でのパネル表示面3の下側領域に、QWERTY配列に従って配置された複数のキーアイコン33が入力位置表示アイコン30として表示される。各キーアイコン33には、割り当てられた文字等が含まれる。
鍵盤表示パターンでは、図5に示すように、端末装置1を横長に配置した状態でのパネル表示面3の中央領域に、ピアノの鍵盤を模倣したキーアイコン34が入力位置表示アイコン30として表示される。
携帯電話型表示パターンでは、図6に示すように、端末装置1を縦長に配置した状態でのパネル表示面3の下側領域に、携帯電話機のキー配列に従って配置された複数のキーアイコン35が入力位置表示アイコン30として表示される。各キーアイコン35には、割り当てられた文字等が含まれる。
なお、キーボード表示パターンや携帯電話型表示パターンの場合、複数種類の言語に対応する文字とその配列を言語別文字配列として予め記憶させておき、入力位置表示アイコン30に含める文字を、所定の言語別文字配列に従って決定してもよい。例えば、端末装置1の位置と言語との対応関係を予め設定しておき、この対応関係に基づいて、GPSユニット18が取得した位置情報に対応する言語別文字配列を表示してもよい。また、ユーザが予め所望の言語を予め選択しておき、選択された言語に対応する言語別文字配列を表示してもよい。
制御部11は、操作入力管理処理の開始直後に予め設定された入力表示パターンを特定し、その後のユーザからの操作入力に応じて1つの入力表示パターンを特定してもよく、実行するメイン処理(例えば、ゲームアプリケーション)に応じて所定の1つの入力表示パターンを特定してもよい。
また、制御部11は、ユーザが選択可能な入力表示パターンを、実行するメイン処理に応じて制限する。例えば、実行するメイン処理が音楽データの入力を必要とせず、且つメイン表示領域37として広い領域が必要なゲームアプリケーションの場合、鍵盤表示パターンの選択を禁止する。
制御部11は、ある入力表示パターンを表示した状態で、入力インターフェース13から操作入力位置情報を受信すると、その操作入力位置情報が示す座標位置が入力位置表示アイコン30の表示領域に対応した位置(操作入力位置)であるか否かを判定し、対応している場合には、ユーザから所定の入力操作が行われたと判断し、その入力位置表示アイコン30に対して予め対応付けられた制御信号を、メイン処理に対して供給する。すなわち、制御部11は、パネル表示面3に対する操作入力位置を複数設定し、入力インターフェース13が操作入力位置での押下操作を検出したとき、その操作入力位置に対応して予め設定された処理を実行する処理実行手段として機能する。なお、上記操作入力位置の範囲は、入力位置表示アイコン30の表示領域の全域であってもよく、その一部であってもよい。
また、制御部11は、入力インターフェース13から操作入力位置情報を受信すると、後述するパネル判定処理を実行する。
<入力操作補助パネルの構成>
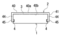
図1に示すように、入力操作補助パネル2は、カバー部40と周壁41と複数の突部42とを備え、これらは硬質な樹脂材によって一体的に形成されている。また、入力操作補助パネル2のうち少なくともカバー部40は、光透過性が高くほぼ透明である。
カバー部40は、上記パネル表示面3よりも僅かに大きい寸法形状を有する薄肉な平板状である。周壁41は、カバー部40の裏面40bの周縁全域からカバー部40に対してほぼ垂直に延びている。周壁41の各角部の間の直線部分には、溝43がそれぞれ2箇所ずつ形成され、各直線部分の溝43の間の領域は、弾性変形し易い係止片44を構成する。すなわち、周壁41は、カバー部40の4辺にそれぞれ対応した4箇所の係止片44を有している。各係止片44の先端には、内側に向かって突出する係止突起44aが一体形成されている。図7に示すように、カバー部40の裏面40bをパネル表示面3に対向させた状態で入力操作補助パネル2を端末装置1に近づけていくと、各係止突起44aが端末装置1の側面に当接して各径止片44が外側へ撓み、各係止突起44aが端末装置1の側面上を摺動し、カバー部40の裏面40bがパネル表示面3に近接又は接触したときに、各係止突起44aが各係合溝4に係合する。係止突起44aと係合溝4との係合により、カバー部40は、パネル表示面3を覆う使用位置で装置本体1に保持され、これにより、入力操作補助パネル2は、図9に示すように端末装置1に装着される。すなわち、入力操作補助パネル2の周壁41は、カバー部40が使用位置に向かうように入力操作補助パネル2が端末装置1に対して移動するとき、カバー部40を使用位置に案内する案内手段として機能する。また、カバー部40がほぼ透明であるため、ユーザはカバー部40の表面40a側からパネル表示面3の画像を容易に視認することができる。
各突部42は、図10に示すように、カバー部40の表面40a及び裏面40bから膨出している。突部42の数、配置、大きさ及び形状は、パネル表示面3に表示される入力表示パターンによって相違し、カバー部40が使用位置に保持された状態でパネル表示面3に表示される入力位置表示アイコン30(操作入力位置)と対向するように設定されている。
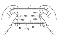
例えば、ゲームボタン表示パターンのときに使用されるゲーム用の入力操作補助パネル2Aには、図1に示すように、各方向キーアイコン31U,31D,31L,31Rにそれぞれ対応する方向キー用突部45U,45D,45L,45Rと、にそれぞれ対応するボタン用突部46A,46B,46C,46Dとが、突部42として設けられている。
キーボード表示パターン(図4参照)のときに使用されるキーボード用の入力操作補助パネル2Bには、図11に示すように、各キーアイコン33にそれぞれ対応する複数のキー用突部47が突部42として設けられている。
鍵盤表示パターン(図5参照)のときに使用される鍵盤用の入力操作補助パネル2Cには、図12に示すように、各キーアイコン34にそれぞれ対応する複数のキー用突部48が突部42として設けられている。なお、鍵盤表示パターンの場合、キーアイコン34同士が隣接しているため、キー用突部48同士を離間させるために、キー用突部48はキーアイコン34の表示領域よりも小さく設定されている。
携帯電話型表示パターン(図6参照)のときに使用される携帯電話型用の入力操作補助パネル2Dには、図13に示すように、各キーアイコン35にそれぞれ対応する複数のキー用突部49が突部42として設けられている。
なお、各突部42は、カバー部40と同様にほぼ透明であるため、ユーザはカバー部40の表面40a側から突部42を介してパネル表示面3の入力位置表示アイコン30を視認することができる。また、入力インターフェース13が静電容量方式のタッチパネルの場合、各突部42は導電性材料で形成される。
入力操作補助パネル2A〜2Dのカバー部40の裏面40bには、それぞれタイプ判定用突起50が一体的に突設されている。タイプ判定用突起50は、3つの突起50a,50b,50cの少なくとも1つからなり、3つの突起50a,50b,50cの各組み合わせが入力操作補助パネル2の各タイプにそれぞれ対応するように設定されている。すなわち、同じタイプの入力操作補助パネル2に対しては同じ組み合わせのタイプ判定用突起50が設定される。例えば、ゲーム用の入力操作補助パネル2Aには、図1に示すように、2つの突起50a,50cが設けられ、キーボード用の入力操作補助パネル2Bには、図11に示すように、全ての突起50a〜50cが設けられ、鍵盤用の入力操作補助パネル2Cには、図12に示すように、1つの突起50bが設けられ、携帯電話型用の入力操作補助パネル2Dには、図13に示すように、2つの突起50a,50bが設けられている。また、各突起50a,50b,50cは、何れの入力操作補助パネル2においてもカバー部40の同じ位置にそれぞれ配置される。
<パネル判定処理に関する機能的構成>
制御部11は、操作入力管理処理の開始時又は実行時に入力インターフェース13から操作入力位置情報を受信すると、以下のパネル判定処理を実行する。
パネル判定処理では、受信した操作入力位置情報が示す座標位置がパネル表示面3のタイプ認識領域36a,36b,36cに含まれるか否かを判定する。タイプ認識領域36a,36b,36cとは、カバー部40が使用位置に保持された状態で、上記タイプ判定用突起50(突起50a,50b,50c)が対向するパネル表示面3の領域である。
受信した操作入力位置情報が示す座標位置がパネル表示面3のタイプ認識領域36a,36b,36cに含まれる場合、制御部11は、何れのタイプ認識領域36a,36b,36cに含まれる操作入力位置情報であるかに応じて、装着された入力操作補助パネル2のタイプを判別する。例えば、タイプ認識領域36a,36cに含まれる操作入力情報を受信し、且つタイプ認識領域36bに含まれる操作入力情報を受信していない場合には、ゲーム用の入力操作補助パネル2Aであると判定し、タイプ認識領域36a〜36cに含まれる操作入力情報を全て受信している場合には、キーボード用の入力操作補助パネル2Bであると判定し、タイプ認識領域36bに含まれる操作入力情報を受信し、且つタイプ認識領域36a,36cに含まれる操作入力情報を受信していない場合には、鍵盤用の入力操作補助パネル2Cであると判定し、タイプ認識領域36a,36bに含まれる操作入力情報を受信し、且つタイプ認識領域36cに含まれる操作入力情報を受信していない場合には、携帯電話型用の入力操作補助パネル2Dであると判定する。
一方、受信した操作入力位置情報が示す座標位置がパネル表示面3のタイプ認識領域36a,36b,36cの何れにも含まれない場合、制御部11は、端末装置1に入力操作補助パネル2が装着されていないと判定する。また、受信した操作入力位置情報が示す座標位置がパネル表示面3のタイプ認識領域36a,36b,36cの少なくとも1つに含まれているが、上記組み合わせに何れにも該当しない場合、制御部11は、装着された入力操作補助パネル2が端末装置1に対応していない不適正な入力操作補助パネル2であると判定する。
このように、タイプ判定用突起50は、複数の突部42の配置の態様によって分類される入力操作補助パネル2のタイプを示すタイプ識別手段として機能する。また、制御部11は、その端末装置1にとって適正な入力操作補助パネル2のカバー部40が使用位置に保持されているか否かを判定するカバー保持判定手段、及びタイプ判定用突起50を検知して入力操作補助パネル2のタイプを認識するタイプ認識手段として機能する。
制御部11は、装着された入力操作補助パネル2のタイプを認識すると、その入力操作補助パネル2のタイプがメイン処理に適応しているか否か(ユーザが選択可能な入力表示パターンに対応する入力操作補助パネル2であるか否か)を判定する。
入力操作補助パネル2のタイプがメイン処理に適応していない不適合状態であると判定すると、制御部11は、不適合状態であることをユーザに報知する。ユーザへの報知は、例えばパネル表示面3に「入力操作補助パネル2が不適合です。」などの文章を表示したり、パネル表示面3の所定部分を点滅発光させたり、スピーカ15から警告音を出力したり、バイブレーション機能を有する端末装置1であれば端末装置1を振動するなど、様々な方法を用いることができる。
一方、入力操作補助パネル2のタイプがメイン処理に適応していると判定すると、制御部11は、その入力操作補助パネル2のタイプに対応する入力表示パターンを特定し、装着された入力操作補助パネル2に対応した入力位置表示アイコン30をパネル表示面3に表示する。換言すると、制御部11は、認識した入力操作補助パネル2のタイプに基づき、その入力操作補助パネル2の突部42と対向する位置に操作入力位置を設定し、その操作入力位置に入力位置表示アイコン30を表示する。
また、入力位置表示アイコン30の表示に際し、制御部11は、入力位置表示アイコン30の形状を、突部42を透過する際の光の屈折方向と逆方向に補正する。例えば、突部42が入力位置表示アイコン30を拡大表示させる特性を有している場合には、入力操作補助パネル2よりも縮小した入力位置表示アイコン30を表示する。
このように、制御部11は、装着された入力操作補助パネル2のタイプがメイン処理に適応しているか否かを判定するカバー適否判定手段として機能する。また、パネル表示面3やスピーカ15は、入力操作補助パネル2のタイプがメイン処理に適応していない不適合状態であると判定されたとき、不適合状態をユーザに報知する報知手段として機能し得る。
なお、本実施形態では、入力インターフェース13が圧力を検知する抵抗膜方式のタッチパネル24であるため、タイプ判定用突起50とタッチパネル24とによって入力操作補助パネル2のタイプを判別しているが、他の方式を用いる場合には、異なる方法によって入力操作補助パネル2のタイプを判別すればよい。例えば、静電容量方式の場合には、タイプ判定用突起50に代えてエレクレットなどの帯電物を設ければよい。また、画像認識方式や光学方式の場合には、タイプ判定用突起50に代えて光を遮断する障害物を設ければよい。さらに、ICチップとこれを識別する電磁誘導式センサとを入力操作補助パネル2と装置本体1とにそれぞれ設けたり、外形が異なる判別対象物とこれを撮像する画像センサとを入力操作補助パネル2と装置本体1とにそれぞれ設けることにより、何れの方式においても、入力操作補助パネル2のタイプが判別可能となる。
(2)作用
次に、本願実施形態の作用について説明する。
入力操作補助パネル2を使用しないユーザは、パネル表示面3に表示された入力位置表示アイコン30を指で押下することによって、端末装置1に対する操作入力を行うことができる。
一方、入力操作補助パネル2を使用するユーザは、端末装置1に装着された入力操作補助パネル2の突部42を指で押下することによって、端末装置1に対する操作入力を行うことができる。例えば、ゲーム用の入力操作補助パネル2Aを使用する場合、図14に示すように、入力操作補助パネル2Aが装着された端末装置1を左右の手で把持し、左右の親指を任意の突部42の上に置き、必要に応じて親指を適宜移動させながら所望の突部42を押下する。このとき、カバー部40の表面40a側に突出する各突部42の位置(操作入力位置)を指の皮膚の感触によって常に認識しながら操作入力することができる。従って、入力操作補助パネル2を使用せずにパネル表示面3を指で直接押下する場合に比べて、迅速且つ正確な入力操作を容易に行うことができる。
パネル表示面3に異なる入力表示パターンが表示された場合(入力操作位置が異なる場合)には、その入力表示パターンに対応した入力操作補助パネル2を適宜用いることによって、迅速且つ正確な入力操作を容易に行うことができる。
端末装置1を使用していないときには、入力操作補助パネル2を装着することにより、端末装置1のパネル表示面3を保護することができる。
入力操作補助パネル2の周壁41は、カバー部40が使用位置に向かうように入力操作補助パネル2が端末装置1に対して移動するとき、カバー部40を使用位置に案内するので、簡単且つ確実に、カバー部40を使用位置に設定することができる。また、係止突起44aと係合溝4との係合により、硬質なカバー部40が使用位置で装置本体1に保持されるので、操作入力中にカバー部40が端末装置1に対して移動し難く、良好な入力操作性を確実に維持させることができる。
各突部42がカバー部40の裏面40b側にも突出しているので、パネル表示面3に対する押下範囲が適正な操作入力位置に制限される。従って、パネル表示面3を指で直接押下する場合に比べて、より正確な操作入力を行うことができる。
装着した入力操作補助パネル2のタイプがメイン処理に適応していない場合には、パネル表示面3への表示などによって不適合状態であることが端末装置1から報知される。従って、不適合な入力操作補助パネル2を装着したユーザは、端末装置1への入力操作を適正に行うことができないことが、端末装置1の故障等ではなく、装着した入力操作補助パネル2のタイプの不適合に起因していることを容易に認識することができ、不適合な入力操作パネル2を取り外して適正な入力操作を行うことができる。
さらに、メイン処理に適応したタイプの入力操作補助パネル2を装着した場合には、その入力操作補助パネル2に対応した入力表示パターンで入力位置表示アイコン30が表示される(入力操作位置が設定される)。従って、ユーザは、入力操作補助パネル2の装着時に、その入力操作補助パネル2のタイプに合った入力表示パターンを選択するための入力操作を行う必要がなく、簡単に所望のタイプの入力操作補助パネル2を使用することができる。
[変形例1]
入力インターフェース13は、パネル表示面3のタイプ認識領域36a,36b,36cでの押下操作を検知したとき、その押下圧力を検出し、検出した押下圧力が所定圧以上の場合に限りその入力を有効として、操作入力位置情報を制御部11に出力してもよい。
これにより、例えば、入力操作補助パネル2が装着されていない状態で、ユーザの指等がタイプ認識領域36a,36b,36cに誤って軽く接触しても、タイプ認識領域36a,36b,36cでの押下操作を示す操作入力位置情報が制御部11に出力されてしまうことがない。従って、パネル判定処理において、未装着の入力操作補助パネル2が装着されていると誤って判定されてしまうことがなく、未装着の入力操作補助パネル2のタイプに基づいて、入力操作補助パネル2のタイプがメイン処理に適応していない不適合状態であるとの報知や、入力位置表示アイコン30の表示位置の変更などが実行されることを確実に防止することができる。
また、入力インターフェース13は、パネル表示面3のタイプ認識領域36a,36b,36cでの押下操作を検知したとき、所定時間以上継続して押下操作を検知した場合に限り、操作入力位置情報を出力してもよい。
この場合、例えば、入力操作補助パネル2が装着されていない状態で、ユーザの指等がタイプ認識領域36a,36b,36cに誤って短時間接触しても、タイプ認識領域36a,36b,36cでの押下操作を示す操作入力位置情報が制御部11に出力されてしまうことがない。
さらに、入力インターフェース13は、所定圧以上の押下圧力を所定時間以上継続して検出した場合に限り、操作入力位置情報を出力してもよい。
[変形例2]
また、上記変形例1における誤判定を防止するための機能は、入力インターフェース13ではなく制御部11が有していてもよい。例えば、押下圧力が所定圧以上のときにその入力を有効とする場合には、入力インターフェース13は、パネル表示面3のタイプ認識領域36a,36b,36cでの押下圧力を検出し、検出した押下圧力を操作入力位置情報に含めて制御部11に出力し、制御部11は、受信した操作入力位置情報が示す座標位置がパネル表示面3のタイプ認識領域36a,36b,36cに含まれ、且つ受信した操作入力位置情報が示す押下圧力が所定圧以上である場合に、装着された入力操作補助パネル2のタイプを判別する。また、押下操作が所定時間以上継続したときにその入力を有効とする場合には、入力インターフェース13は、パネル表示面3のタイプ認識領域36a,36b,36cでの押下圧力を検出して操作入力位置情報を制御部11に出力し、制御部11は、受信した操作入力位置情報が示す座標位置がパネル表示面3のタイプ認識領域36a,36b,36cに含まれ、且つその操作入力位置情報を所定時間以上継続して受信している場合に、装着された入力操作補助パネル2のタイプを判別する。さらに、所定圧以上の押下操作が所定時間以上継続したときにその入力を有効とする場合には、入力インターフェース13は、パネル表示面3のタイプ認識領域36a,36b,36cでの押下圧力を検出し、検出した押下圧力を操作入力位置情報に含めて制御部11に出力し、制御部11は、受信した操作入力位置情報が示す座標位置がパネル表示面3のタイプ認識領域36a,36b,36cに含まれ、且つ押下圧力が所定圧以上であることを示す操作入力位置情報を所定時間以上継続して受信している場合に、装着された入力操作補助パネル2のタイプを判別する。
[実施形態2]
次に、本発明の第2の実施形態について説明する。なお、以下の各実施形態において、上記第1の実施形態と共通する部分については、その説明を省略する。
上記第1の実施形態では、制御部11は、入力操作補助パネル2のタイプがメイン処理に適応しているか否かを判定し、適応していない不適合状態である判定した場合、不適合状態であることをユーザに報知する。すなわち、実行されるメイン処理を優先し、不適合なタイプの入力操作補助パネル2の使用の中止をユーザに対して要求する。
これに対し、本実施形態では、制御部11は、入力操作補助パネル2のタイプを判別し、装着された入力操作補助パネル2に適応するメイン処理を実行する。すなわち、装着されている入力操作補助パネル2のタイプを優先し、入力操作補助パネル2のタイプに合わせて実行するメイン処理を決定する。入力操作補助パネル2のタイプに適応するメイン処理として複数の処理が選択可能な場合には、使用頻度が高いメイン処理を優先的に実行したり、直近で実行したメイン処理を実行したり、ユーザが予め優先させるメイン処理を設定するなど、優先して実行するメイン処理が予め設定されていればよい。
上記構成によれば、例えば、端末装置1において、ゲーム用の入力操作補助パネル2Aに対して優先して実行されるメイン処理として所定のゲームアプリケーションが設定され、またキーボード用の入力操作補助パネル2Bに対して優先して実行されるメイン処理として所定の文字入力用アプリケーションが設定されている場合、ユーザは、入力操作補助パネル2を取り替えるだけで、所望のアプリケーションを切り替えて使用することができる。また、ゲーム用の入力操作補助パネル2Aに対して優先して実行されるメイン処理としてゲーム選択画面を表示してユーザから指定されたゲームアプリケーションに移行するゲーム選択用のアプリケーションが設定されている場合、ユーザは、ゲーム用の入力操作補助パネル2Aを装着するだけで、所望のゲームアプリケーションを選択して実行することができる。
[実施形態3]
次に、本発明の第3の実施形態について、図15に基づいて説明する。
本実施形態では、入力操作補助パネル2の各突部42に、対応する入力位置表示アイコン30の印や文字等が識別表示51として印刷等によって予め表示されている。
制御部11は、その端末装置1にとって適正な入力操作補助パネル2のカバー部40が使用位置に保持されていると判定したとき、パネル表示面3に入力位置表示アイコン30を表示しない。
上記構成によれば、ユーザは、識別表示51によって各突部42を容易に見分けることができる。また、入力操作補助パネル2の使用時において、入力位置表示アイコン30の表示制御を省略することができる。
[実施形態4]
次に、本発明の第4の実施形態について、図16に基づいて説明する。
本実施形態では、入力操作補助パネル2の各突部42を、カバー部40の表面40a側に膨出する板状湾曲部52と、裏面40b側に固着された充填部53とによって構成している。板状湾曲部52は、カバー部40から連続して一体的に湾曲している。充填部53は、カバー部40よりも軟質な素材によって形成されている。
上記構成によれば、突部42を指で押下操作したユーザは、突部充填部53の柔軟性によってクリック感を得ることができ、操作性が向上する。
[実施形態5]
次に、本発明の第5の実施形態について、図17及び図18に基づいて説明する。
本実施形態は、入力操作補助パネル60の装着方法が上記第1の実施形態と相違する。本実施形態の入力操作補助パネル60は、全体として略薄板状に形成され、そのほぼ全域がカバー部40を構成する。装置本体1には、ガイド溝61,62,63をそれぞれ区画形成する3箇所の略L状のガイド壁部64,65,66が、矩形状のパネル表示面3の外周縁のうち1辺(短辺)を除く3辺(2つの長辺と1つの短辺)からそれぞれ突設されている。
入力操作補助パネル60を端末装置1に装着する場合、ガイド溝61,62の開口端から入力操作補助パネル60の一方の短辺側の2箇所の角部71,72を挿入し、入力操作補助パネル60をパネル表示面3に沿って移動させる。このとき、端縁67,68がガイド溝61,62内を摺動することにより、入力操作補助パネル60の移動方向が規制され、角部71,72間の端縁69がガイド溝63に収容された状態で、入力操作補助パネル60(カバー部40)が使用位置に装着される。すなわち、ガイド溝61,62は、カバー部40が使用位置に向かうように入力操作補助パネル60が端末装置1に対して移動するとき、カバー部40を使用位置に案内する案内手段として機能する。なお、特に図示していないが、端末装置1及び入力操作補助パネル60の一方及び他方には、入力操作補助パネル60が使用位置に達したときに係合して入力操作補助パネル60の移動を阻止する係止突起及び係合凹部が設けられている。
上記構成によれば、入力操作補助パネル60の小型化を図ることができる。
[実施形態6]
次に、本発明の第6の実施形態について、図19〜図21に基づいて説明する。
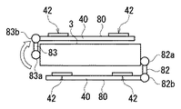
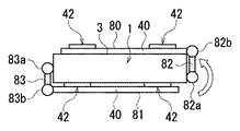
上記第1及び第5の実施形態では、端末装置1から分離した入力操作補助パネル2,60を端末装置1に装着する。これに対し、本実施形態では、タイプの異なる第1及び第2の入力操作補助パネル80,81が第1及び第2のリンク82,83を介して端末装置1に連結されている。
第1及び第2の入力操作補助パネル80,81は、それぞれ全体として略薄板状に形成され、そのほぼ全域がそれぞれのカバー部40を構成する。第1のリンク82の一端82aは、端末装置1の側壁に回転自在に連結され、他端82bは、第1の入力操作補助パネル80の端縁に回転自在に連結されている。同様に、第2のリンク83の一端83aは、端末装置1の他の側壁に回転自在に連結され、他端83bは、第2の入力操作補助パネル81の端縁に回転自在に連結されている。第1のリンク82によって、第1の入力操作補助パネル80(カバー部40)は、端末装置1の裏面に対向する収容位置(図19及び図21に示す)とパネル表示面3と対向する使用位置(図20に示す)との間で移動自在となる。同様に、第2のリンク83によって、第2の入力操作補助パネル81(カバー部40)は、端末装置1の裏面に対向する収容位置(図19及び図20に示す)とパネル表示面3と対向する使用位置(図21に示す)との間で移動自在となる。すなわち、第1及び第2のリンク82,83は、カバー部40が使用位置に向かうように入力操作補助パネル80,81が端末装置1に対して移動するとき、カバー部40を使用位置に案内する案内手段として機能する。
ユーザは、第1及び第2の入力操作補助パネル80,81を、上記収容位置から上記使用位置に移動することによってそれぞれ使用することができる。なお、特に図示していないが、端末装置1及び入力操作補助パネル80,81の一方及び他方には、使用位置及び収容位置において、係合して入力操作補助パネル80,81の移動を阻止する係止突起及び係合凹部がそれぞれ設けられている。
上記構成によれば、第1及び第2の入力操作補助パネル80,81と端末装置1とが連結されているため、両者をユニット化された装置として取り扱うことができ、携行時などに好適である。
なお、リンク82,83の一端82a,83a又は他端82b,83bを、端末装置1又は入力操作補助パネル80,81に対して着脱自在に構成することにより、入力操作補助パネル80,81を他のタイプの入力操作補助パネルと容易に交換可能となる。
また、上述の各実施形態では、携帯型の端末装置1を例に説明したが、本発明は、これに限定されるものではなく、タッチパネルを有する種々の装置に広く適用可能である。
すなわち、上述の各実施形態の説明は本発明の一例であり、本発明は上述の各実施形態に限定されることはなく、本発明に係る技術的思想を逸脱しない範囲であれば、上述の実施の形態以外であっても種々の変更が可能であることは勿論である。
本発明は、タッチパネルを有する入力装置に適用可能である。
本発明の第1の実施形態に係る端末装置とゲーム用の入力操作補助パネルとを分離した状態を示す斜視図である。 端末装置の主要部の概略的なシステム構成の一例を示すブロック図である。 端末装置の主要部の概略的なソフトウェア構成の一例を示すブロック図である。 キーボード表示パターンが表示された端末装置の平面図である。 鍵盤表示パターンが表示された端末装置の平面図である。 携帯電話型表示パターンが表示された端末装置の平面図である。 端末装置と入力操作補助パネルとを分離した状態を示す断面図である。 端末装置に入力操作補助パネルを装着した状態を示す断面図である。 端末装置に入力操作補助パネルを装着した状態を示す斜視図である。 パネル表示面上の使用位置にカバー部を設定した状態を示す断面図である。 キーボード用の入力操作補助パネルの平面図である。 鍵盤用の入力操作補助パネルの平面図である。 携帯電話型用の入力操作補助パネルの平面図である。 ゲーム用の入力操作補助パネルの使用状態を示す斜視図である。 第3の実施形態を示す斜視図である。 第4の実施形態を示す断面図である。 第5の実施形態に係るゲーム用の入力操作補助パネルを端末装置に装着した状態を示す斜視図である。 図17の入力操作補助パネルを端末装置から分離した状態を示す斜視図である。 第6の実施形態に係る第1及び第2の入力操作補助パネルの非使用状態(収容状態)を示す側面図である。 図19の第1の入力操作補助パネルの使用状態を示す側面図である。 図29の第2の入力操作補助パネルの使用状態を示す側面図である。
符号の説明
1・・・端末装置、2,2A,2B,2C,2D,60,80,81・・・入力操作補助パネル、3・・・パネル表示面、11・・・制御部、12・・・出力インターフェース、13・・・入力インターフェース、22・・・LED、24・・・タッチパネル、
31U,31D,31L,31R・・・方向キーアイコン、32A,32B,32C,32D・・・ボタンアイコン、33,34,35・・・キーアイコン、突部42
にそれぞれ対応する方向キー用突部45U,45D,45L,45R

Claims (11)

  1. パネル表示面を有する表示手段と、
    前記パネル表示面に対する押下操作を検知するとともに、押下操作された位置を検出する入力検出手段と、
    前記パネル表示面に対する操作入力位置を複数設定し、前記入力検出手段が前記操作入力位置での押下操作を検出したとき、該操作入力位置に対応して予め設定された処理を実行する処理実行手段と、を有する装置本体と、
    前記パネル表示面を覆う使用位置で前記装置本体に保持される硬質な薄板状のカバー部と、
    前記カバー部に一体的に設けられ、該カバー部が前記使用位置に保持された状態で前記複数の操作入力位置とそれぞれ対向し、且つ前記カバー部の表面から前記パネル表示面の反対側に向かって突出する複数の突部と、を有する入力操作補助パネルと、
    を備えたことを特徴とする入力装置。
  2. 請求項1に記載の入力装置であって、
    前記カバー部が前記使用位置に向かうように前記入力操作補助パネルが前記装置本体に対して移動するとき、前記カバー部を前記使用位置に案内する案内手段を備えた
    ことを特徴とする入力装置。
  3. 請求項1に記載の入力装置であって、
    前記入力操作補助パネルは、前記複数の突部の配置の態様によって分類される前記入力操作補助パネルのタイプを示すタイプ識別手段を有し、
    前記装置本体は、前記カバー部が前記使用位置に保持された状態で前記タイプ識別手段を検知して前記入力操作補助パネルのタイプを認識するタイプ認識手段を有する
    ことを特徴とする入力装置。
  4. 請求項3に記載の入力装置であって、
    前記処理実行手段は、前記タイプ認識手段が認識した前記入力操作補助パネルのタイプに基づき、当該入力操作補助パネルの突部と対向する位置に前記操作入力位置を設定する
    ことを特徴とする入力装置。
  5. 請求項4に記載の入力装置であって、
    前記突部は、光透過性を有し、
    前記装置本体は、前記操作入力位置を示す所定のアイコンを前記表示手段に表示する表示制御手段を有し、
    前記表示制御手段は、前記タイプ認識手段が前記入力操作補助パネルのタイプを認識したとき、前記所定のアイコンの形状を、前記突部を透過する際の光の屈折方向と逆方向に補正して表示する
    ことを特徴とする入力装置。
  6. 請求項3に記載の入力装置であって、
    前記装置本体は、
    前記タイプ認識手段が認識した前記入力操作補助パネルのタイプが前記処理実行手段により実行される処理に適応しているか否かを判定するカバー適否判定手段と、
    前記入力操作補助パネルのタイプが前記処理に適応していない不適合状態であると前記カバー適否判定手段が判定したとき、該不適合状態をユーザに報知する報知手段と、を有する
    ことを特徴とする入力装置。
  7. 請求項3に記載の入力装置であって、
    前記処理実行手段は、前記タイプ認識手段が認識した前記入力操作補助パネルのタイプに合わせて前記操作入力位置を設定するとともに、該前記入力操作補助パネルのタイプに適応する処理を実行する
    ことを特徴とする入力装置。
  8. 請求項1に記載の入力装置であって、
    前記装置本体は、
    前記操作入力位置を示す所定のアイコンを前記表示手段に表示する表示制御手段と、
    前記カバー部が前記使用位置に保持されているか否かを判定するカバー保持判定手段と、を有し、
    前記突部には、所定の識別表示が予め表示され、
    前記表示制御手段は、前記カバー部が前記使用位置に保持されていると前記カバー保持判定手段が判定したとき、前記所定のアイコンを表示しない
    ことを特徴とする入力装置。
  9. 請求項1に記載の入力装置であって、
    前記突部は、前記カバー部よりも軟質な材料で形成されている
    ことを特徴とする入力装置。
  10. パネル表示面に対する操作入力位置を複数設定し、前記操作入力位置での押下操作を検出したとき、該操作入力位置に対応して予め設定された処理を実行する装置本体に装着される入力操作補助パネルであって、
    前記パネル表示面を覆う使用位置で前記装置本体に対して保持される硬質な薄板状のカバー部と、
    前記カバー部に一体的に設けられ、該カバー部が前記使用位置に保持された状態で前記複数の操作入力位置とそれぞれ対向し、且つ前記カバー部の表面から前記パネル表示面の反対側に向かって突出する複数の突部と、
    前記カバー部が前記使用位置に向かうように前記入力操作補助パネルが前記装置本体に対して移動するとき、前記カバー部を前記使用位置に案内する案内手段と、
    を備えたことを特徴とする入力操作補助パネル。
  11. 請求項10に記載の入力操作補助パネルであって、
    前記複数の突部の配置によって分類される前記入力操作補助パネルのタイプを示すタイプ識別手段を有し、
    前記タイプ識別手段は、前記カバー部が前記使用位置に保持された状態で前記装置本体に検知され、これにより前記入力操作補助パネルのタイプが前記装置本体に認識される
    ことを特徴とする入力操作補助パネル。
JP2008241807A 2008-09-19 2008-09-19 入力装置及び入力操作補助パネル Active JP5464684B2 (ja)

Priority Applications (1)

Application Number Priority Date Filing Date Title
JP2008241807A JP5464684B2 (ja) 2008-09-19 2008-09-19 入力装置及び入力操作補助パネル

Applications Claiming Priority (1)

Application Number Priority Date Filing Date Title
JP2008241807A JP5464684B2 (ja) 2008-09-19 2008-09-19 入力装置及び入力操作補助パネル

Publications (3)

Publication Number Publication Date
JP2010073071A true JP2010073071A (ja) 2010-04-02
JP2010073071A5 JP2010073071A5 (ja) 2011-08-11
JP5464684B2 JP5464684B2 (ja) 2014-04-09

Family

ID=42204761

Family Applications (1)

Application Number Title Priority Date Filing Date
JP2008241807A Active JP5464684B2 (ja) 2008-09-19 2008-09-19 入力装置及び入力操作補助パネル

Country Status (1)

Country Link
JP (1) JP5464684B2 (ja)

Cited By (15)

* Cited by examiner, † Cited by third party
Publication number Priority date Publication date Assignee Title
JP2012050054A (ja) * 2010-08-27 2012-03-08 Samsung Electro-Mechanics Co Ltd タッチスクリーン用キーボードパッド
WO2012063986A1 (ko) * 2010-11-12 2012-05-18 Park Woo Sung 가상 키보드의 키버튼 구분장치
JP2012249922A (ja) * 2011-06-06 2012-12-20 Sony Computer Entertainment Inc コントローラデバイス
JP2013073624A (ja) * 2011-09-26 2013-04-22 Wacom Co Ltd オーバーレイ、タッチ式表示装置、及びタッチ式表示装置の駆動方法
JP2013077130A (ja) * 2011-09-30 2013-04-25 Brother Ind Ltd タッチパネルを備える電子装置、及び、タッチパネルの操作面に特定の操作を受け付けるための領域を配置する配置方法
JP2014506364A (ja) * 2010-12-29 2014-03-13 マイクロソフト コーポレーション タッチディスプレイ用仮想コントローラ
JP2014089578A (ja) * 2012-10-30 2014-05-15 Nintendo Co Ltd 情報処理システム、ゲームシステム、情報処理装置、操作体、情報処理プログラム及び情報処理方法
JP2014194824A (ja) * 2014-06-13 2014-10-09 Nec Corp タッチパネル入力補助装置及びタッチパネル入力補助装置を有する入力装置
JP2015038657A (ja) * 2011-06-30 2015-02-26 株式会社東芝 情報処理装置および認証方法
EP2751648A4 (en) * 2011-09-04 2015-05-13 Neonode Inc LIGHT ACTUATOR FOR MOBILE BUTTONS ON A KEYBOARD
WO2016104084A1 (ja) * 2014-12-26 2016-06-30 富士通コンポーネント株式会社 タッチパネルユニット
JP2016134165A (ja) * 2015-01-22 2016-07-25 彌 土井 タッチパネル操作補助プレート
US9937416B2 (en) 2013-06-11 2018-04-10 Microsoft Technology Licensing, Llc Adaptive touch input controls
JP2019152974A (ja) * 2018-03-01 2019-09-12 Idec株式会社 操作端末および補助パネル
US11422588B2 (en) 2017-07-24 2022-08-23 Samsung Electronics Co., Ltd. Remote control case and electronic device including same

Citations (12)

* Cited by examiner, † Cited by third party
Publication number Priority date Publication date Assignee Title
JPH0475219A (ja) * 1990-07-18 1992-03-10 Canon Inc 文字入力装置
JPH06161636A (ja) * 1992-11-24 1994-06-10 Matsushita Electric Ind Co Ltd 携帯型情報処理装置
JPH06332602A (ja) * 1993-05-21 1994-12-02 Matsushita Electric Ind Co Ltd 情報処理装置
JPH07134633A (ja) * 1993-11-11 1995-05-23 Daio Denshi Kk 入力装置、穿孔部材、入力補助装置および入力方法
JPH08234896A (ja) * 1995-02-24 1996-09-13 Casio Comput Co Ltd データ出力装置
JPH1091305A (ja) * 1996-09-12 1998-04-10 Toshiba Corp 入力装置
JP2002149320A (ja) * 2000-10-30 2002-05-24 Internatl Business Mach Corp <Ibm> 入力装置、通信用端末、携帯型通信用端末、音声フィードバックシステム、音声フィードバックサーバ
JP2003029906A (ja) * 2001-07-18 2003-01-31 Noritsu Koki Co Ltd キー入力装置
JP2003140804A (ja) * 2001-10-30 2003-05-16 Sony Corp 情報処理装置
JP2005148848A (ja) * 2003-11-11 2005-06-09 Kawaguchiko Seimitsu Co Ltd タッチパネル及びそれを備えた画面入力表示装置
JP2005148809A (ja) * 2003-11-11 2005-06-09 Kawaguchiko Seimitsu Co Ltd タッチパネル
JP2008123163A (ja) * 2006-11-10 2008-05-29 Sony Corp 表示装置および表示方法、並びにプログラム

Patent Citations (12)

* Cited by examiner, † Cited by third party
Publication number Priority date Publication date Assignee Title
JPH0475219A (ja) * 1990-07-18 1992-03-10 Canon Inc 文字入力装置
JPH06161636A (ja) * 1992-11-24 1994-06-10 Matsushita Electric Ind Co Ltd 携帯型情報処理装置
JPH06332602A (ja) * 1993-05-21 1994-12-02 Matsushita Electric Ind Co Ltd 情報処理装置
JPH07134633A (ja) * 1993-11-11 1995-05-23 Daio Denshi Kk 入力装置、穿孔部材、入力補助装置および入力方法
JPH08234896A (ja) * 1995-02-24 1996-09-13 Casio Comput Co Ltd データ出力装置
JPH1091305A (ja) * 1996-09-12 1998-04-10 Toshiba Corp 入力装置
JP2002149320A (ja) * 2000-10-30 2002-05-24 Internatl Business Mach Corp <Ibm> 入力装置、通信用端末、携帯型通信用端末、音声フィードバックシステム、音声フィードバックサーバ
JP2003029906A (ja) * 2001-07-18 2003-01-31 Noritsu Koki Co Ltd キー入力装置
JP2003140804A (ja) * 2001-10-30 2003-05-16 Sony Corp 情報処理装置
JP2005148848A (ja) * 2003-11-11 2005-06-09 Kawaguchiko Seimitsu Co Ltd タッチパネル及びそれを備えた画面入力表示装置
JP2005148809A (ja) * 2003-11-11 2005-06-09 Kawaguchiko Seimitsu Co Ltd タッチパネル
JP2008123163A (ja) * 2006-11-10 2008-05-29 Sony Corp 表示装置および表示方法、並びにプログラム

Cited By (18)

* Cited by examiner, † Cited by third party
Publication number Priority date Publication date Assignee Title
JP2012050054A (ja) * 2010-08-27 2012-03-08 Samsung Electro-Mechanics Co Ltd タッチスクリーン用キーボードパッド
WO2012063986A1 (ko) * 2010-11-12 2012-05-18 Park Woo Sung 가상 키보드의 키버튼 구분장치
JP2014506364A (ja) * 2010-12-29 2014-03-13 マイクロソフト コーポレーション タッチディスプレイ用仮想コントローラ
US9817569B2 (en) 2010-12-29 2017-11-14 Microsoft Technology Licensing, Llc Virtual controller for touch display
US9411509B2 (en) 2010-12-29 2016-08-09 Microsoft Technology Licensing, Llc Virtual controller for touch display
JP2012249922A (ja) * 2011-06-06 2012-12-20 Sony Computer Entertainment Inc コントローラデバイス
JP2015038657A (ja) * 2011-06-30 2015-02-26 株式会社東芝 情報処理装置および認証方法
EP2751648A4 (en) * 2011-09-04 2015-05-13 Neonode Inc LIGHT ACTUATOR FOR MOBILE BUTTONS ON A KEYBOARD
JP2013073624A (ja) * 2011-09-26 2013-04-22 Wacom Co Ltd オーバーレイ、タッチ式表示装置、及びタッチ式表示装置の駆動方法
JP2013077130A (ja) * 2011-09-30 2013-04-25 Brother Ind Ltd タッチパネルを備える電子装置、及び、タッチパネルの操作面に特定の操作を受け付けるための領域を配置する配置方法
JP2014089578A (ja) * 2012-10-30 2014-05-15 Nintendo Co Ltd 情報処理システム、ゲームシステム、情報処理装置、操作体、情報処理プログラム及び情報処理方法
US9937416B2 (en) 2013-06-11 2018-04-10 Microsoft Technology Licensing, Llc Adaptive touch input controls
JP2014194824A (ja) * 2014-06-13 2014-10-09 Nec Corp タッチパネル入力補助装置及びタッチパネル入力補助装置を有する入力装置
WO2016104084A1 (ja) * 2014-12-26 2016-06-30 富士通コンポーネント株式会社 タッチパネルユニット
JP2016126455A (ja) * 2014-12-26 2016-07-11 富士通コンポーネント株式会社 タッチパネルユニット
JP2016134165A (ja) * 2015-01-22 2016-07-25 彌 土井 タッチパネル操作補助プレート
US11422588B2 (en) 2017-07-24 2022-08-23 Samsung Electronics Co., Ltd. Remote control case and electronic device including same
JP2019152974A (ja) * 2018-03-01 2019-09-12 Idec株式会社 操作端末および補助パネル

Also Published As

Publication number Publication date
JP5464684B2 (ja) 2014-04-09

Similar Documents

Publication Publication Date Title
JP5464684B2 (ja) 入力装置及び入力操作補助パネル
JP2010066899A (ja) 入力装置
EP1758013B1 (en) Mobile communications terminal having a touch input unit and controlling method thereof
CN111263924B (zh) 具有集成接口系统的设备
JP6553136B2 (ja) タッチ感応表面上でのマルチ圧力相互作用のためのシステムと方法
CN103124951B (zh) 信息处理装置
CN201222239Y (zh) 手持电子装置
EP3525078B1 (en) Key strike determination for pressure sensitive keyboard
US8098879B2 (en) Information processing device, image movement instructing method, and information storage medium
CN102385459A (zh) 信息处理装置及方法
US20040128012A1 (en) Virtual workstation
US20080316180A1 (en) Touch Screen Keyboard With Tactile Feedback, and Associated Method
JP2019050003A (ja) 触覚セルのアレイを用いた有形のユーザ・インターフェース・インタラクション及びジェスチャのシミュレーション
US20100164871A1 (en) Portable Electronic Apparatus and Control Method Thereof
US20100052879A1 (en) Apparatus and Method for the Tactile Identification of Keys and Regions of a Touch-Responsive Device
KR20140026966A (ko) 펜 기능 운용 방법 및 시스템
CN102163120A (zh) 图标的突出选择提示
US20130088437A1 (en) Terminal device
JP5474669B2 (ja) 端末装置
JP3804212B2 (ja) 情報入力装置
JP2012064066A (ja) 携帯端末
US20080266270A1 (en) Electrostatic Pad Apparatus and Information Processing Apparatus
JP2008225541A (ja) 入力装置および情報機器
JP5570881B2 (ja) 端末装置
KR101682527B1 (ko) 박형 햅틱 모듈을 이용한 마우스 겸용 터치 키패드

Legal Events

Date Code Title Description
A711 Notification of change in applicant

Free format text: JAPANESE INTERMEDIATE CODE: A712

Effective date: 20101125

RD02 Notification of acceptance of power of attorney

Free format text: JAPANESE INTERMEDIATE CODE: A7422

Effective date: 20110105

A521 Written amendment

Free format text: JAPANESE INTERMEDIATE CODE: A523

Effective date: 20110628

A621 Written request for application examination

Free format text: JAPANESE INTERMEDIATE CODE: A621

Effective date: 20110628

A977 Report on retrieval

Free format text: JAPANESE INTERMEDIATE CODE: A971007

Effective date: 20120524

A131 Notification of reasons for refusal

Free format text: JAPANESE INTERMEDIATE CODE: A131

Effective date: 20120601

A521 Written amendment

Free format text: JAPANESE INTERMEDIATE CODE: A523

Effective date: 20120731

A131 Notification of reasons for refusal

Free format text: JAPANESE INTERMEDIATE CODE: A131

Effective date: 20130329

A521 Written amendment

Free format text: JAPANESE INTERMEDIATE CODE: A523

Effective date: 20130517

TRDD Decision of grant or rejection written
A01 Written decision to grant a patent or to grant a registration (utility model)

Free format text: JAPANESE INTERMEDIATE CODE: A01

Effective date: 20131227

A61 First payment of annual fees (during grant procedure)

Free format text: JAPANESE INTERMEDIATE CODE: A61

Effective date: 20140117

R150 Certificate of patent or registration of utility model

Ref document number: 5464684

Country of ref document: JP

Free format text: JAPANESE INTERMEDIATE CODE: R150

R250 Receipt of annual fees

Free format text: JAPANESE INTERMEDIATE CODE: R250

R250 Receipt of annual fees

Free format text: JAPANESE INTERMEDIATE CODE: R250

R250 Receipt of annual fees

Free format text: JAPANESE INTERMEDIATE CODE: R250

R250 Receipt of annual fees

Free format text: JAPANESE INTERMEDIATE CODE: R250

R250 Receipt of annual fees

Free format text: JAPANESE INTERMEDIATE CODE: R250

R250 Receipt of annual fees

Free format text: JAPANESE INTERMEDIATE CODE: R250