JP2010072196A - 固定構造、光走査装置、画像形成装置及び固定方法 - Google Patents
固定構造、光走査装置、画像形成装置及び固定方法 Download PDFInfo
- Publication number
- JP2010072196A JP2010072196A JP2008237896A JP2008237896A JP2010072196A JP 2010072196 A JP2010072196 A JP 2010072196A JP 2008237896 A JP2008237896 A JP 2008237896A JP 2008237896 A JP2008237896 A JP 2008237896A JP 2010072196 A JP2010072196 A JP 2010072196A
- Authority
- JP
- Japan
- Prior art keywords
- adhesive
- main surface
- fixing structure
- housing
- fixing
- Prior art date
- Legal status (The legal status is an assumption and is not a legal conclusion. Google has not performed a legal analysis and makes no representation as to the accuracy of the status listed.)
- Granted
Links
Images
Landscapes
- Laser Beam Printer (AREA)
- Mounting And Adjusting Of Optical Elements (AREA)
- Mechanical Optical Scanning Systems (AREA)
- Facsimile Scanning Arrangements (AREA)
Abstract
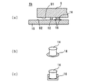
【解決手段】折り返しミラー5は、主面S1を有している。ハウジング10は、主面S1と隙間をあけた状態で対向している主面S2を有していると共に、主面S2から突出して主面S1に接触することにより、折り返しミラー5を位置決めする突起12aを有している。接着剤14は、突起12aから離れた位置において、主面S1と主面S2とを繋ぐように設けられている。
【選択図】図4
Description
図1は、本発明の一実施形態に係る画像形成装置の概略構成図である。図2は、本発明の一実施形態に係る光走査装置の概略斜視図である。図2に示す光走査装置1は、概略、光源ユニット2、ポリゴンミラー3、走査レンズ4a,4b、折り返しミラー5及びハウジング10により構成されており、図1の画像形成装置50に搭載されている。
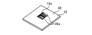
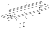
次に、折り返しミラー5のハウジング10に対する固定構造について図面を参照しながら説明する。図3は、固定構造6aの外観斜視図である。図4は、固定構造6aの断面構造図である。図3は、折り返しミラー5が固定される前の状態を示している。また、図3には、左端近傍の領域Aの拡大図が示されている。図4は、図3の固定構造6aの左端近傍を示している。以下では、ハウジング10の法線方向を単に法線方向と呼び、折り返しミラー5の長手方向を単に長手方向と呼ぶ。
(2)折り返しミラー5の伸びとハウジング10の伸びとの差を吸収できる線膨張係数を有すること。
(3)未硬化状態であっても、主面S1と主面S2との間で柱状を維持できる粘度を有していること。
(4)不可逆変形が小さいこと。
以上のように構成された固定構造6aによれば、以下に説明するように、画像形成装置50内の温度が変化したとしても、接着剤14が折り返しミラー5又はハウジング10から剥がれることを抑制できる。より詳細には、表1に示すように、折り返しミラー5とハウジング10とは、異なる材料により作製されているので、異なる線膨張係数を有している。そのため、画像形成装置50内の温度が変化すると、折り返しミラー5の伸びとハウジング10の伸びとの間に差が生じる。このような伸びの差が発生すると、折り返しミラー5は、長手方向の中央部分が法線方向の上方向又は下方向に突出するように湾曲しようとする。そのため、主面S1と主面S2とを繋いでいる接着剤14は、その両端が引っ張られる応力を受ける。
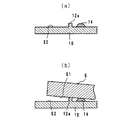
次に、図3及び図4に示す固定構造6aにより、折り返しミラー5を固定する固定方法について図面を参照しながら説明する。図5は、該固定方法の工程断面図である。図5では、図4と同様に、折り返しミラー5の長手方向の左端近傍を拡大して示した。
以下に、固定構造6aの第1の変形例に係る固定構造6bについて図面を参照しながら説明する。図6(a)は、固定構造6bの断面構造図である。図6(b)及び図6(c)は、接着剤14近傍の斜視図である。図6は、図3の固定構造6bの左端近傍を示している。
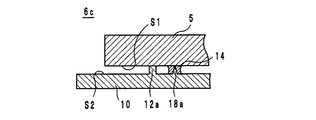
以下に、固定構造6aの第2の変形例に係る固定構造6cについて図面を参照しながら説明する。図7は、固定構造6cの外観斜視図である。図8は、固定構造6cの断面構造図である。図7は、折り返しミラー5が固定される前の状態を示している。また、図7には、左端近傍の領域Aの拡大図が示されている。図8は、図7の固定構造6cの左端近傍を示している。以下では、ハウジング10の法線方向を単に法線方向と呼び、折り返しミラー5の長手方向を単に長手方向と呼ぶ。
以下に、固定構造6aの第3の変形例に係る固定構造6dについて図面を参照しながら説明する。図11は、固定構造6dの外観斜視図である。図12は、固定構造6dの断面構造図である。図11は、折り返しミラー5が固定される前の状態を示している。また、図11には、左端近傍の領域Aの拡大図が示されている。図12は、図11の固定構造6dの左端近傍を示している。以下では、ハウジング10の法線方向を単に法線方向と呼び、折り返しミラー5の長手方向を単に長手方向と呼ぶ。
以下に、固定構造6aの第4の変形例に係る固定構造6eについて図面を参照しながら説明する。図17は、固定構造6eの突起12a近傍における外観斜視図である。図18は、固定構造6eの断面構造図である。以下では、ハウジング10の法線方向を単に法線方向と呼び、折り返しミラー5の長手方向を単に長手方向と呼ぶ。
なお、前記各固定方法において、接着剤14は、主面S2にのみ塗布されているが、主面S1に塗布されてもよいし、主面S1及び主面S2の両方に塗布されてもよい。
SP 空洞
1 光走査装置
2 光源ユニット
3 ポリゴンミラー
4a,4b 走査レンズ
5 折り返しミラー
6a〜6e 固定構造
10 ハウジング
12a〜12c 突起
14 接着剤
16 領域
18a,18b,18’a,18'b,22 突起
20a,20b 可変部
Claims (16)
- 第1の主面を有する光学素子と、
前記第1の主面と隙間をあけた状態で対向している第2の主面を有しているハウジングと、
前記第1の主面又は該第2の主面の何れか一方から突出して、該第1の主面又は該第2の主面の他方に接触することにより、前記ハウジングと前記光学素子とを位置決めする第1の突起と、
前記第1の突起から離れた位置において、前記第1の主面と前記第2の主面とを繋ぐように設けられている接着剤と、
を備えていることを特徴とする固定構造。 - 前記光学素子は、長手方向を有する構造をなしており、
前記接着剤は、前記長手方向における前記光学素子の中点よりも、該長手方向における該光学素子の端部に近い位置に設けられていること、
を特徴とする請求項1に記載の固定構造。 - 前記接着剤のヤング率は、前記第1の突起のヤング率よりも小さいこと、
を特徴とする請求項1又は請求項2のいずれかに記載の固定構造。 - 前記接着剤は、光硬化樹脂であること、
を特徴とする請求項1ないし請求項3のいずれかに記載の固定構造。 - 前記光学素子は、長手方向を有する構造をなしており、
前記ハウジングは、
前記長手方向において、前記第1の突起よりも変形し易い第2の突起を、
更に有し、
前記接着剤は、前記第2の突起に接触するように設けられていること、
を特徴とする請求項1ないし請求項4のいずれかに記載の固定構造。 - 前記ハウジングは、前記接着剤が設けられている部分が、その他の部分に比べて前記光学素子に近づく方向に弾性変形しやすい構造を有していること、
を特徴とする請求項1ないし請求項5のいずれかに記載の固定構造。 - 前記ハウジングには、前記接着剤が設けられている部分と前記第2の主面以外の表面との間で連通している空洞が設けられていること、
を特徴とする請求項1ないし請求項4のいずれかに記載の固定構造。 - 前記ハウジングは、
前記接着剤が設けられている部分を囲んでいると共に、該接着剤に対する濡れ性が前記第2の主面よりも低い領域を、
更に有していること、
を特徴とする請求項1ないし請求項7のいずれかに記載の固定構造。 - 前記接着剤は、ガラス転移点が110℃以下の樹脂であること、
を特徴とする請求項1ないし請求項8のいずれかに記載の固定構造。 - 前記接着剤は、25℃における硬化前の粘度が6000mPa・s以上30000mPa・s以下の樹脂であり、
前記接着剤の高さは、0.1mm以上1mm以下であること、
を特徴とする請求項1ないし請求項9のいずれかに記載の固定構造。 - 前記第1の突起は、前記第2の主面に一体的に構成されていること、
を特徴とする請求項1ないし請求項10のいずれかに記載の固定構造。 - 請求項1ないし請求項11のいずれかに記載の固定構造を備えていること、
を特徴とする光走査装置。 - 請求項12に記載の光走査装置を備えていること、
を特徴とする画像形成装置。 - 第1の主面を有している光学素子と第2の主面を有しているハウジングとを固定する固定方法であって、
前記第1の主面又は前記第2の主面の少なくともいずれか一方に接着剤を塗布する工程と、
前記第1の主面又は前記第2の主面のいずれか一方に設けられた突起に該第1の主面又は該第2の主面のいずれか他方を接触させて、前記光学素子と前記ハウジングとの位置合わせを行う工程と、
前記第1の主面と前記第2の主面とを近接させて、該第1の主面と該第2の主面とを繋ぐように前記接着剤を変形させる工程と、
前記接着剤を硬化させる工程と、
を備えていること、
を特徴とする固定方法。 - 前記ハウジングは、前記接着剤が設けられている部分が、その他の部分に比べて前記光学素子に近づく方向に弾性変形しやすい構造を有しており、
前記接着剤を変形させる工程では、前記ハウジングの該接着剤が設けられる部分を、前記光学素子に近づけるように弾性変形させること、
を特徴とする請求項14に記載の固定方法。 - 前記ハウジングには、前記接着剤が設けられる部分と前記第2の主面以外の表面との間で連通している空洞が設けられており、
前記接着剤を塗布する工程では、前記第2の主面に塗布し、
前記接着剤を変形させる工程では、前記第2の主面以外の表面側から前記空洞に空気を送り込むこと、
を特徴とする請求項14に記載の固定方法。
Priority Applications (1)
| Application Number | Priority Date | Filing Date | Title |
|---|---|---|---|
| JP2008237896A JP5131110B2 (ja) | 2008-09-17 | 2008-09-17 | 固定構造、光走査装置、画像形成装置及び固定方法 |
Applications Claiming Priority (1)
| Application Number | Priority Date | Filing Date | Title |
|---|---|---|---|
| JP2008237896A JP5131110B2 (ja) | 2008-09-17 | 2008-09-17 | 固定構造、光走査装置、画像形成装置及び固定方法 |
Publications (2)
| Publication Number | Publication Date |
|---|---|
| JP2010072196A true JP2010072196A (ja) | 2010-04-02 |
| JP5131110B2 JP5131110B2 (ja) | 2013-01-30 |
Family
ID=42204058
Family Applications (1)
| Application Number | Title | Priority Date | Filing Date |
|---|---|---|---|
| JP2008237896A Expired - Fee Related JP5131110B2 (ja) | 2008-09-17 | 2008-09-17 | 固定構造、光走査装置、画像形成装置及び固定方法 |
Country Status (1)
| Country | Link |
|---|---|
| JP (1) | JP5131110B2 (ja) |
Cited By (7)
| Publication number | Priority date | Publication date | Assignee | Title |
|---|---|---|---|---|
| WO2011118711A1 (ja) | 2010-03-26 | 2011-09-29 | 三菱重工業株式会社 | 電池パックおよび電池制御システム |
| JP2013148842A (ja) * | 2012-01-23 | 2013-08-01 | Brother Ind Ltd | 光走査装置 |
| JP2016094986A (ja) * | 2014-11-14 | 2016-05-26 | 株式会社フジクラ | 平板支持構造及びその製造方法 |
| JP2016111133A (ja) * | 2014-12-04 | 2016-06-20 | 株式会社リコー | 光源デバイス及び光源装置 |
| JP2016224091A (ja) * | 2015-05-27 | 2016-12-28 | 京セラドキュメントソリューションズ株式会社 | 光走査装置及び該光走査装置を備えた画像形成装置 |
| KR20220022052A (ko) * | 2019-04-22 | 2022-02-23 | 덱스콤, 인크. | 사전 연결식 분석물 센서 |
| JP2022033131A (ja) * | 2017-01-31 | 2022-02-28 | パイオニア株式会社 | 波長選択素子及び波長選択素子の製造方法 |
Citations (6)
| Publication number | Priority date | Publication date | Assignee | Title |
|---|---|---|---|---|
| JP2000131583A (ja) * | 1998-10-22 | 2000-05-12 | Minolta Co Ltd | 光学部材保持構造 |
| JP2003066299A (ja) * | 2001-08-24 | 2003-03-05 | Canon Inc | 精密部材の固着方法および精密部材保持構造 |
| JP2004327908A (ja) * | 2003-04-28 | 2004-11-18 | Ricoh Co Ltd | 光学電子デバイスの接合方法及び接合構造 |
| JP2006220956A (ja) * | 2005-02-10 | 2006-08-24 | Ricoh Co Ltd | 光学素子の固定接合方法、固定接合装置、光走査装置及び画像形成装置 |
| JP2007216632A (ja) * | 2006-02-20 | 2007-08-30 | Toshiba Tec Corp | インクジェットヘッドユニット |
| JP2007298684A (ja) * | 2006-04-28 | 2007-11-15 | Brother Ind Ltd | 走査光学装置 |
-
2008
- 2008-09-17 JP JP2008237896A patent/JP5131110B2/ja not_active Expired - Fee Related
Patent Citations (6)
| Publication number | Priority date | Publication date | Assignee | Title |
|---|---|---|---|---|
| JP2000131583A (ja) * | 1998-10-22 | 2000-05-12 | Minolta Co Ltd | 光学部材保持構造 |
| JP2003066299A (ja) * | 2001-08-24 | 2003-03-05 | Canon Inc | 精密部材の固着方法および精密部材保持構造 |
| JP2004327908A (ja) * | 2003-04-28 | 2004-11-18 | Ricoh Co Ltd | 光学電子デバイスの接合方法及び接合構造 |
| JP2006220956A (ja) * | 2005-02-10 | 2006-08-24 | Ricoh Co Ltd | 光学素子の固定接合方法、固定接合装置、光走査装置及び画像形成装置 |
| JP2007216632A (ja) * | 2006-02-20 | 2007-08-30 | Toshiba Tec Corp | インクジェットヘッドユニット |
| JP2007298684A (ja) * | 2006-04-28 | 2007-11-15 | Brother Ind Ltd | 走査光学装置 |
Cited By (14)
| Publication number | Priority date | Publication date | Assignee | Title |
|---|---|---|---|---|
| WO2011118711A1 (ja) | 2010-03-26 | 2011-09-29 | 三菱重工業株式会社 | 電池パックおよび電池制御システム |
| JP2013148842A (ja) * | 2012-01-23 | 2013-08-01 | Brother Ind Ltd | 光走査装置 |
| JP2016094986A (ja) * | 2014-11-14 | 2016-05-26 | 株式会社フジクラ | 平板支持構造及びその製造方法 |
| JP2016111133A (ja) * | 2014-12-04 | 2016-06-20 | 株式会社リコー | 光源デバイス及び光源装置 |
| JP2016224091A (ja) * | 2015-05-27 | 2016-12-28 | 京セラドキュメントソリューションズ株式会社 | 光走査装置及び該光走査装置を備えた画像形成装置 |
| JP2022033131A (ja) * | 2017-01-31 | 2022-02-28 | パイオニア株式会社 | 波長選択素子及び波長選択素子の製造方法 |
| JP2023174755A (ja) * | 2017-01-31 | 2023-12-08 | パイオニア株式会社 | 波長選択素子及び波長選択素子の製造方法 |
| JP2025061825A (ja) * | 2017-01-31 | 2025-04-11 | パイオニア株式会社 | 波長選択素子及び波長選択素子の製造方法 |
| KR20220022052A (ko) * | 2019-04-22 | 2022-02-23 | 덱스콤, 인크. | 사전 연결식 분석물 센서 |
| JP2022529719A (ja) * | 2019-04-22 | 2022-06-23 | デックスコム・インコーポレーテッド | 事前接続された分析物センサ |
| US12127830B2 (en) | 2019-04-22 | 2024-10-29 | Dexcom, Inc. | Preconnected analyte sensors |
| US12144615B2 (en) | 2019-04-22 | 2024-11-19 | Dexcom, Inc. | Preconnected analyte sensors |
| JP7754720B2 (ja) | 2019-04-22 | 2025-10-15 | デックスコム・インコーポレーテッド | 事前接続された分析物センサ |
| KR102920478B1 (ko) * | 2019-04-22 | 2026-01-30 | 덱스콤, 인크. | 사전 연결식 분석물 센서 |
Also Published As
| Publication number | Publication date |
|---|---|
| JP5131110B2 (ja) | 2013-01-30 |
Similar Documents
| Publication | Publication Date | Title |
|---|---|---|
| JP5131110B2 (ja) | 固定構造、光走査装置、画像形成装置及び固定方法 | |
| US8922606B2 (en) | Rotational polygon mirror having convex reflection surfaces and light scanning unit employing the same | |
| EP2458414A1 (en) | Polygon mirror assembly, light scanning unit employing polygon mirror assembly, and image forming apparatus | |
| CN102486547B (zh) | 多面体反射镜、用多面体反射镜的光扫描单元和图像形成装置 | |
| US20130188004A1 (en) | Light beam scanning device and image forming apparatus | |
| US7940440B2 (en) | Laser scanning device and image forming apparatus | |
| CN101276177A (zh) | 光学单元、成像装置以及该光学单元的光学元件 | |
| JP4999277B2 (ja) | 光学素子の固定接合方法、固定接合装置、光走査装置及び画像形成装置 | |
| JP2009198679A (ja) | 光学素子の固定構造及び固定方法、レーザビーム走査装置、及び、画像形成装置 | |
| JP4444067B2 (ja) | 光学素子の接着固定方法及び光走査装置 | |
| JP4792938B2 (ja) | レーザ走査光学装置 | |
| JP2007127793A (ja) | レーザ走査光学装置 | |
| JP5151064B2 (ja) | 光学素子の固定接合方法 | |
| JPH05273483A (ja) | 光源装置 | |
| JP2009002988A (ja) | レーザ走査装置及び画像形成装置 | |
| JP5887950B2 (ja) | 光走査装置 | |
| JP5868268B2 (ja) | 光走査装置、及びそれを備えた画像形成装置 | |
| JP2009080174A (ja) | 光源装置 | |
| JP5799135B2 (ja) | 画像読取装置及び画像形成装置 | |
| JP4867809B2 (ja) | レーザ走査装置及び画像形成装置 | |
| KR20080067410A (ko) | 광주사유니트용 결상렌즈, 이를 채용한 광주사유니트 및화상형성장치 | |
| JP2003005115A (ja) | 光ビーム走査装置の組立方法 | |
| JP6299271B2 (ja) | プリントヘッドおよび画像形成装置 | |
| JP2009198678A (ja) | 光学素子の固定構造及び固定方法、レーザビーム走査装置、及び、画像形成装置 | |
| JP4172538B2 (ja) | アナモフィック結像素子と光走査装置 |
Legal Events
| Date | Code | Title | Description |
|---|---|---|---|
| A621 | Written request for application examination |
Free format text: JAPANESE INTERMEDIATE CODE: A621 Effective date: 20110307 |
|
| A977 | Report on retrieval |
Free format text: JAPANESE INTERMEDIATE CODE: A971007 Effective date: 20120424 |
|
| A131 | Notification of reasons for refusal |
Free format text: JAPANESE INTERMEDIATE CODE: A131 Effective date: 20120508 |
|
| A521 | Written amendment |
Free format text: JAPANESE INTERMEDIATE CODE: A523 Effective date: 20120706 |
|
| RD02 | Notification of acceptance of power of attorney |
Free format text: JAPANESE INTERMEDIATE CODE: A7422 Effective date: 20120706 |
|
| A131 | Notification of reasons for refusal |
Free format text: JAPANESE INTERMEDIATE CODE: A131 Effective date: 20120724 |
|
| A521 | Written amendment |
Free format text: JAPANESE INTERMEDIATE CODE: A523 Effective date: 20120921 |
|
| TRDD | Decision of grant or rejection written | ||
| A01 | Written decision to grant a patent or to grant a registration (utility model) |
Free format text: JAPANESE INTERMEDIATE CODE: A01 Effective date: 20121009 |
|
| A01 | Written decision to grant a patent or to grant a registration (utility model) |
Free format text: JAPANESE INTERMEDIATE CODE: A01 |
|
| A61 | First payment of annual fees (during grant procedure) |
Free format text: JAPANESE INTERMEDIATE CODE: A61 Effective date: 20121022 |
|
| FPAY | Renewal fee payment (event date is renewal date of database) |
Free format text: PAYMENT UNTIL: 20151116 Year of fee payment: 3 |
|
| R150 | Certificate of patent or registration of utility model |
Free format text: JAPANESE INTERMEDIATE CODE: R150 |
|
| LAPS | Cancellation because of no payment of annual fees |
