JP2010069062A - セフティ機構を備えた収納家具 - Google Patents

セフティ機構を備えた収納家具 Download PDF

Info

Publication number
JP2010069062A
JP2010069062A JP2008240662A JP2008240662A JP2010069062A JP 2010069062 A JP2010069062 A JP 2010069062A JP 2008240662 A JP2008240662 A JP 2008240662A JP 2008240662 A JP2008240662 A JP 2008240662A JP 2010069062 A JP2010069062 A JP 2010069062A
Authority
JP
Japan
Prior art keywords
drawer
drawers
rotating member
furniture
storage
Prior art date
Legal status (The legal status is an assumption and is not a legal conclusion. Google has not performed a legal analysis and makes no representation as to the accuracy of the status listed.)
Granted
Application number
JP2008240662A
Other languages
English (en)
Other versions
JP5532373B2 (ja
Inventor
Hidetoshi Asakura
英俊 朝倉
Current Assignee (The listed assignees may be inaccurate. Google has not performed a legal analysis and makes no representation or warranty as to the accuracy of the list.)
Seiko Corp
Original Assignee
Seiko Corp
Priority date (The priority date is an assumption and is not a legal conclusion. Google has not performed a legal analysis and makes no representation as to the accuracy of the date listed.)
Filing date
Publication date
Application filed by Seiko Corp filed Critical Seiko Corp
Priority to JP2008240662A priority Critical patent/JP5532373B2/ja
Publication of JP2010069062A publication Critical patent/JP2010069062A/ja
Application granted granted Critical
Publication of JP5532373B2 publication Critical patent/JP5532373B2/ja
Active legal-status Critical Current
Anticipated expiration legal-status Critical

Links

Images

Landscapes

  • Drawers Of Furniture (AREA)

Abstract

【課題】
作動板が上方へ移動して上方位置に保持された場合、全ての引出しを引き出すことができなくなるという問題が生じる。
【解決手段】
家具筐体(2)に収容された収容位置から前方に移動して引き出し位置となる複数の引出し(3a,3b,3c)を備えた家具において、収容位置から前方移動する一の引出し(3a)と当接して押圧されることにより、他の引出し(3b,3c)の前方移動を許容する許容位置から前方移動を阻止する阻止位置へと移動するセフティ手段(4a,4b,4c)と、前記セフティ手段(4a,4b,4c)を許容位置に保持するための保持手段(43a)とを備えることを特徴とする収納家具(1)。
【選択図】図2

Description

本発明は、複数段の引出しを有する収納家具に関し、特に、一の引出しの引き出し操作に連動して他の引出しの引き出し操作を規制するセフティ機構を有する収納家具に関する。
複数の引出しを有する収納家具においては、前方に引き出された引出しの重みで家具本体が前方に傾いて転倒する恐れがある為、一度に二以上の引出しを引き出すことを規制するためのセフティ機構が設けられているものが多い。
これまでに様々なタイプのセフティ機構が提案されているが、例えば、簡易な構造のものとして、一の引出しの引き出し操作に連動させて作動板を上方位置に保持すると共に、上方位置に保持された作動板の一部と他の引出しとを当接させて、他の引出しの引き出し操作を規制するセフティ機構が存在する。
具体的には、特許文献1の図3,4等に示すように、家具筺体の内側に上下摺動自在に設けられた作動板5は、傾斜溝6aと係止面6bとを有する作動具6を各引出しの数・位置に対応して形成する一方、家具の上部に形成された係止具10に係止する係止突片12を形成したものである。
一の引出しを引き出し操作すると、引出しの側面に形成された凸状の係合ピン8が傾斜溝6aを通過する際に作動板5を押し上げるため、作動板5の係止突片12が家具の上部に形成された係止具10に係止され、作動板5は上方位置に保持される。作動板5が上方位置に保持されることに伴って各作動具の係止面6bが、他の引出しの係合ピン8と当接する位置まで上昇するため、他の引出しの引き出し操作は規制される(なお、段落0004、0005中の符合は特許文献1に対応するものである)。
公開実用昭和56―20547
しかしながら、前記の作動板は、家具筺体の内側に上下摺動自在に設けられたものであるため、家具の運搬作業中に生じる上下方向の振動等によって上方へ移動する恐れがある。したがって、作動板が上方へ移動して上方位置に保持された場合、全ての引出しを引き出すことができなくなるという問題が生じる。
本発明は、上記問題を可及的に解決するために、家具筐体(2)に収容された収容位置から前方に移動して引き出し位置となる複数の引出し(3a,3b,3c)を備えた家具において、収容位置から前方移動する一の引出し(3a)と当接して押圧されることにより、他の引出し(3b,3c)の前方移動を許容する許容位置から前方移動を阻止する阻止位置へと移動するセフティ手段(4a,4b,4c)と、前記セフティ手段(4a,4b,4c)を許容位置に保持することができる保持手段(43a)とを備えることを特徴とする収納家具(1)である。
本発明は、セフティ手段(4a,4b,4c)の位置を、引出し(3b,3c)の前方移動を許容する許容位置に保持するための保持手段(43a)を備えるため、家具の運搬作業中に生じる振動等に起因して、セフティ手段(4a,4b,4c)が許容位置から阻止位置に移動する危険性が少なく、全ての引出しが引き出せない状態になるのを可及的に防止することができる。
つまり、この保持手段(43a)は、セフティ手段(4a,4b,4c)を阻止位置へと移動する力に抗する抵抗手段であって、例えば、セフティ手段(4a,4b,4c)の移動を妨げることができる付勢手段(43a)が好適に適用される。これにより、運搬作業中に生じる振動等によって阻止手段の前記移動を促進する方向に力が働いたとしても、その力に対して付勢手段(43a)の付勢力が働くため、阻止手段(4)が阻止位置に移動して不用意に保持される危険性が少ない。
そして、家具の運搬作業中に頻繁に生じる上下方向の振動によって、不用意にセフティ手段(4a,4b,4c)が阻止位置に至るのを効果的に防止するためには、従来技術のようにセフティ手段(4a,4b,4c)の移動方向を上下方向にするのではなく、垂直軸(4S)を中心として水平方向に回動可能な回動部材(41)を有するセフティ手段とし、収容位置から前方移動する一の引出し(3a)に押圧されると、他の引出し(3b,3c)の前方移動を許容する許容位置から前方移動を阻止する阻止位置へと回動するものとするのが好ましい。
本発明のセフティ手段(4a,4b,4c)の好適な実施態様としては、例えば、複数の引出しに対応する複数の回動部材(41a,41b、41c)は、いずれか一の回動部材(41a)の回動に連動して他の回動部材(41b,41c)も回動するように構成すると共に、前方の回動停止位置から後方の回動停止位置までの範囲内において回動可能な回動部材(41a,41b,41c)として、図9(a)に示すように、後方の回動停止位置に停止した回動部材(41a)の前方部(412a)は、収容位置から前方移動する各引出しの側部(313a)と当接する位置まで突出し、後方部(411a)は前記側部(313a)と当接しない位置まで退避するものとする一方、図9(c)に示すように、前方の回動停止位置に停止した回動部材(41a)の前方部(412a)は、前記側部(313a)と当接しない位置まで退避し、後方部(411a)は前記側部(313a)と当接する位置まで突出するものとする。
このようなものであると、収容位置から前方に移動する一の引出し(3a)の側部(313a)に押圧されて回動し、前方の回動停止位置(許容位置)に停止した一の回動部材(41a)の前方部(412a)は、前後方向に移動する一の引出し(3a)の側部(313a)と当接しない位置まで退避して前記引出し(3a)の前方移動を許容する一方、他の回動部材(41b等)は、一の回動部材(41a)の回動に連動して前方の回動停止位置(阻止位置)に停止し且つその後方部(411b等)は、収容位置から前方移動する他の引出し(3b等)の側部(313b等)と当接する位置まで突出するため、他の引出し(3b)の前方移動を阻止するものとすることができる。
ここで図6〜11(特に図7〜9)を参照して、一の引出し(3a)の引出し操作について説明する。収容位置から引出し(3a)が前方へ移動すると(図中(a))、引出し(3a)の側部(313a)が、後方の回動停止位置にあって前方部(412a)を内側に突出させた回動部材(41a)に当接する。引出し(3a)の更なる前方移動によって前方部(412a)が押圧されて回動部材(41a)が回動をはじめ(図中(b))、更なる引出し(3a)の前方移動によって、回動部材(41a)は回動して前方の回動停止位置に至り、前方部(412a)が外側に退避し、引出し(3a)は収容位置から引き出し位置へと移動可能となる(図中(c))。
続いて、引出し(3a)を引き出し位置から収容位置に戻す場合、引出し(3a)が後方へ移動すると、引出し(3a)の側部(313a)が、前方の回動停止位置にあって後方部(411a)を内側に突出させた回動部材(41a)に当接し(図中(d))、引出し(3a)の更なる後方移動によって後方部(411a)が押圧されて回動部材(41a)が回動をはじめ(図中(e))、更なる引出し(3a)の後方移動によって回動部材(41a)が回動して後方の回動停止位置に至り、後方部(411a)が外側に退避し、引出し(3a)は引き出し位置から収容位置へと移動する(図中(f))。
他方、図12〜14を参照して、セフティ機構によって規制される他の引出し(3b,3c)について説明する。他の引出し(3b,3c)は、上段の引出しである一の引出し(3a)が収容位置から前方移動して引出し位置になると、一の引出し(3a)に対応する回動部材(41a)の後方部(411a)が内側に突出するのと同様に、下段の引出しである他の引出し(3b、3c)に対応する他の回動部材(41b等)の後方部(411b等)も内側に突出し、且つ、回動部材(41b等)は前方の回動停止位置にあるため(図13参照)、収容位置から前方移動する他の引出し(3b等)の側部(313b等)と当接しても回動部材(41b等)は回動せず、他の引出し(3b等)の前方移動を阻止するものである。
また、本発明は、既述のとおり、セフティ機構を許容位置に保持するための保持手段(43a)を備えることにより、家具の運搬作業中に生じる振動等に起因して、セフティ手段が許容位置から阻止位置に移動する危険性が少なく、全ての引出しが引き出せない状態になるのを可及的に防止することができるものであるが、保持手段(43a)の好ましい実施態様としては、前方移動を許容する許容位置と、前方移動を阻止する阻止位置の双方において保持可能な保持手段(43a)とすることができ、具体的には、図9等に示すように、凸部(415a、415b、415c)を有する回動部材(41a,41b,41c)と、回動部材(41a,41b,41c)を収容すると共にその回動範囲を規定するハウジング部(42a、42b、42c)に弾性体である弾性バネ(43a)を取り付けると共に、弾性バネ(43a)に、前記凸部(415a、415b、415c)と当接して係止し得る凸部(431a、431b、431c)を形成したものとすることができる。
このようなものであると、図9等に示されるように、回動部材の凸部(415a)と、弾性バネ(43a)の凸部(431a)とが当接して係止し、所定の押圧力が働くまでは各弾性バネの付勢力によって各回動部材の回動を妨げるものとすることができ、家具の運搬作業中に生じる振動等に起因して、回動部材が回動して許容位置から阻止位置に回動する危険性が低減される(図9中(a))。そして、所定の押圧力を超えると弾性バネ(43a)が押圧されて弾性変形し(図9中(b))、前記係止が解除されて回動部材(41a)は回動するが、その後、弾性バネ(43a)は弾性復帰して変形前の状態に戻るため(図9中(c))、再び、回動部材の凸部(415a)と、弾性バネ(43a)の凸部(431a)とが当接して係止するので、所定の押圧力が働くまでは弾性バネの付勢力によって回動部材の前記とは逆方向への回動が妨げられることになる。
ところで、本発明において、2つの引き出しを同期的に引き出す操作を行って2つの引き出しを引き出した後、一方の引出しのみを家具筐体(2)に収容してしまう場合が希に想定される。
2つの引き出し(3a,3b)を同期的に引き出すと各引出しに対応する2つの回動部材(41a,41b)を含んだ全ての回動部材が回動するため、各回動部材の前方部(412a,412b等)が外側に退避するが、その状態から一方の引き出し(3b)のみを収容位置に戻すと、全ての回動部材(41a,41b等)が回動し、後方の回動停止位置に至り且つ各回動部材の前方部(412a,412b等)が内側に突出した状態になる。
そうすると、残る一方の引き出し(3a)を収容位置に戻そうとしても、引き出し(3a)と、回動部材(41a)の前方部(412a)が当接し、且つ、回動部材(41a)は後方の回動停止位置にあるため後方への回動は不能であるから、残る一方の引き出し(3a)を収容位置に戻せないという不都合が生じる。
本発明は、このような不都合を解決するべく、引き出し(3a)の側面に形成された凸部(313a)を、上下方向に揺動自在な凸部とすることにより、残る一方の引き出し(3a)を収容位置に戻すことができるようにしたものである。
すなわち、引出し位置から引き出し(3a)を後方に移動し、後方の回動停止位置にある回動部材(41a)に当接させると、揺動自在である凸部(313a)が上昇を開始し、回動部材(41a)の上端を沿うようにして乗り越えるため、残る一方の引き出し(3a)を後方移動させて収容位置に戻すことができる。
具体的には、図15〜19を参照して、引出し(3a)が引き出し位置にあり、引出し(3a)に対応する回動部材(41a)の前方部(412a)が内方に突出した状態にある場合に、引出し(3a)を引き出し位置から後方へ移動すると(図中(a))、引出し(3a)の凸部(313a)が回動部材(41a)に当接し(図中(b))、更に引出し(3a)が後方移動すると、揺動自在である凸部(313a)が定位置から上昇し(図中(c))、更に引出し(3a)が後方移動すると、上昇した位置のまま回動部材(41a)の上端を沿うようにして乗り越え(図中(d)(e))、更に引出し(3a)が後方移動すると、凸部(313a)が下降して定位置に戻ることができ、上記不都合を解消することができるのである。
本発明によれば、家具の運搬作業中に生じる振動等に起因して、セフティ手段が許容位置から阻止位置に移動する危険性を低減し、全ての引出しが引き出せない状態になるのを可及的に防止することができる。
(基本的構造)
収納家具1は、図1、2等に示すとおり、家具筐体2と複数の引き出し3a,3b,3cとを備えている。家具筐体2は、底板と左右の側板21、21と背面板と天板とを備えるボックス形状からなり、その側板21,21の内側部に左右一対のサスペンションレール22a、22b、22cを介して各引出し3a,3b,3cを収容位置(図7の(a))から前方へ移動させて引き出し位置(図7の(c))まで移動可能に支持している。
また、各引出し3a,3b,3cの側面31a,31b,31cに対応して、本発明の要部であるセフティ機構4a,4b,4cがそれぞれ配置されている。
(各部構造)
図7等に示すように、家具筐体2の側板21、21には、前後方向に所定間隔を介して対向する一対の壁部23,23が形成され、壁部23,23の間に断面コ字状の縦部材5が上下方向に移動可能に設置され、縦部材5の側面には、一の引出しの引き出し操作に連動して他の引出しの引き出し操作を規制するセフティ機構4a,4b,4cを構成する回動部材41a,41b,41c等をそれぞれ配設し、また、施錠・開錠操作によって収容状態にある全ての引出しの引出し操作を不能とするロック機構を構成するロック部材6等とを配設している。
(セフティ機構)
セフティ機構4a,4b,4cは全て同一の構造であるため、セフティ機構4aを代表として説明する。図20、21等に示すとおり、セフティ機構4aは、回動軸4Sを中心に水平方向に回動する回動部材41aと、回動部材41aを回動可能の支持するハウジング部42aとからなる。
ハウジング部42aは、前後方向に所定間隔を介して対向する傾斜面を有する壁部421a,421aと、回動軸4Sを挿通するための挿通孔423aを有する蓋部422aとが一体成形されてなり、回動部材41aを所定の範囲内において回動可能に支持するものである。なお、壁部421aの内面に回動部材41aの中央部413aの側面が当接して停止した位置が、回動部材41aの回動停止位置になる。
ハウジング部42aの外側端には、それぞれスリット424aが形成されており、スリット424aには板状バネ43aが挿入されており、板状バネ43aは中央に凸部431aを有する形状に折り曲げ成形されたものである。
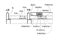
次に、回動部材41aは、回動軸4Sを挿通するための角孔である挿通孔414aを形成すると共に、板状バネ43aの凸部431aと当接して係止する凸部415aを形成した中央部413a(図9、21等参照)と、中央部413aの後方側に形成される後方部411aと、中央部413aの前方側に形成される前方部412aとからなる。具体的には、中央に断面略正方形状の回動軸4Sを挿入すると共に回動軸4Sを保持して一体的に回動する円筒部材である中央部413aと、中央部413aの側面から所定間隔を介して立設されると共にハウジング部42aの壁部421aと当接し得る前後一対の壁部418aと、壁部418aの先端側から曲折して形成されると共にハウジング部42aの壁部421aの先端面と当接し得る壁部416aと、中央部413aの上端面および下端面から延在して回動部材41aに内部空間を形成する上下一対の壁部417aとからなる。なお、壁部418aと壁部416aによって前方部412a,後方部411aが形成される。
(回動部材41aの動作)
回動部材41aは、図7(a)、9(a)に示す後方の回動停止位置にある場合、回動部材41aの凸部415aの後方側面と、板バネ43aの凸部431aの前方側面とが略対向接触しているため、回動部材41aの凸部415aの後方向への移動に対して板バネ43aの凸部431aが抗することにより、回動部材41aは回動しない状態に保持される。
回動部材41aは、引出し3aを収容位置から前方移動させることによって図7(a)に示す位置から図7(b)に示す位置を経て、図7(c)に示す位置になる。図7(a)においては、回動部材41aの凸部415aの後方側面と、板バネ43aの凸部431aの前方側面とが略対向接触しているが、回動部材41aが押圧されて前方回動してゆくと、図7(b)のように、板バネ43aが押圧されて変形し、回動部材41aから離れる方向に変位した状態となり(家具筺体2の側面21の方向に変位)、次いで、図7(c)のように、回動部材41aの凸部415aが板バネ43aの凸部431aを乗り越え、回動部材41aの凸部415aの前方側面と、板バネ43aの凸部431aの後方側面とが略対向接触する状態に至る。
また、回動部材41aは、図8(d)に示す前方の回動停止位置にある場合、回動部材41aの凸部415aの前方側面と、板バネ43aの凸部431aの後方側面とが略対向接触しているため、回動部材41aは回動しない状態に保持されている。
回動部材41aは、引出し3aを引き出し位置から後方移動させることによって図8(d)に示す位置から図8(e)に示す位置を経て、図8(f)に示す位置になる。図8(d)では、回動部材41aの凸部415aの前方側面と、板バネ43aの凸部431aの後方側面とが略対向接触しているが、回動部材41aが後方回動してゆくと、図8(e)のように、板バネ43aが押圧されて変形し、回動部材41aから離れる方向に変位した状態となり(家具筺体2の側面21の方向)、図8(f)のように、回動部材41aの凸部415aが板バネ43aの凸部431aを乗り越えて、回動部材41aの凸部415aの後方側面と、板バネ43aの凸部431aの前方側面とが略対向接触する状態に至る。
(セフティ機構の動作)
まず、セフティ機構の前提として、全ての引出しが収納位置にある場合において、一の引出し3aの引出し操作について説明する。
全ての引出し3a,3b,3cが収容位置にある状態においては、引出し3aが収容位置から前方へ移動すると、引出し3aの凸部313aが、後方の回動停止位置にあって且つ前方部412aを内側方向(引出し3aの側面31の方向)に突出させた回動部材41aに当接する(図7(a)。なお、後方部411aは外側方向に退避しているため、引出し3aの凸部313aとは当接しない)。引出し3aを更に前方へ移動し、前方部412aの内側面を押圧すると(板バネ43aの付勢力に勝って)回動部材41aが前方回動をはじめる(図7(b))。更に引出し(3a)が前方へ移動すると、前方部412aがハウジング部42aの前端面及び内側面に当接して停止し、前方の回動停止位置に至る。このとき、前方部412aは、外側方向(家具筺体2の側面21の方向)に退避しており、引出し3aは収容位置から引き出し位置へと移動することができる。一方、後方部411aは内側方向に突出することになる。
続いて、引出し3aを引き出し位置から収容位置に戻す場合、引出し3aが後方へ移動すると、引出し3aの凸部313aが、前方の回動停止位置にあって且つ後方部411aを内側方向に突出させた回動部材41aに当接する(図8(d)。なお、前方部412aは外側方向に退避しているため、引出し3aの凸部313aとは当接しない)。引出し3aを更に後方へ移動し、後方部411aの内側面を押圧すると(板バネ43aの付勢力に勝って)回動部材41aが後方回動をはじめる。更に引出し3aが後方へ移動すると、後方部411aがハウジング部42aの前端面及び内側面に当接して停止し、後方の回動停止位置に至る。このとき、後方部411aは、外側方向(家具筺体2の側面21の方向)に退避しており、引出し3aは引き出し位置から収容位置へと移動することができる。一方、前方部412aは内側方向に突出する。
次に、引出し3aが引き出されて引き出し位置にあるときに機能するセフティ機構によって規制される他の引出し(3b,3c)について説明する。
全ての引出し3a,3b,3cが収容位置にある状態において、上段の引出しである一の引出し3aが収容位置から前方移動して引出し位置になると、回動部材4aは前方の回動停止位置となり、その前方部412aは外側方向(家具筺体2の側面21の方向)に退避し、後方部411aは内側方向(引出し3aの側面31の方向)に突出する。そして、各回動部材41a,41b、41cは回動軸4Sを介して連動するものであるから、図13等に示すように、下段の引出しである引出し3b等に対応する回動部材4b等も、回動部材4aと同様に前方の回動停止位置となり、その前方部412bは外側方向に退避し、後方部411bは内側方向に突出することになる。そうすると、前方の回動停止位置にあって前方への回動が不可能である回動部材41bの後方部411bが内側方向に突出するため、収納位置にある引出し3b等を前方に移動しようとしても、引出し3bの凸部313bと回動部材41b等の後方部411bとが当接するため、下段の引出し3bの前方移動が阻止される。
(ロック機構)
また、図1〜4等に示されるとおり、ハウジング部42aの下方にはロック部材6aが一体的に形成されている。ロック部材6aは、ロック部材6aを縦部材5に固着する為の固着手段たる爪部631aと、回動軸4Sを挿通するための挿通孔632aを有する基端部63aと、基端部63aの前側に一体的に形成された中間部62aと、中間部62aの先端に一体的に形成されると共に円弧面を有し、引出しの側面31aと対向して引出し操作を補助するガイド部61aとからなる。各引出しに対応して設けられたロック部材6は、後述するロック機構の施錠動作によって上昇する縦部材5とともに上昇し、収容位置から前方移動する各引出しの揺動部材312aに当接することによって、全ての引出しの引出し操作を不可能としてロックするものである。
ロック機構は、図1〜4等に示すとおり、鍵穴71を有するシリンダ錠70と、鍵穴71に鍵を挿入して回動操作することよって上下に突没動作する作動杆72とからなる錠機構と、作動杆72の突出動作に応じて縦部材5を上昇させる動作伝達部73とからなる。上昇位置にある縦部材5の各ロック部材6a等は、収容位置から前進移動する引出し3a等の揺動部材312aとそれぞれ当接する位置に固定される。
(引出しに形成された凸部313aの具体的な構造と作用)
図15〜19等を参照して、引出し3aの側面には、回動軸314aを中心に上下方向に揺動する揺動部材312aが揺動自在に設けられており、揺動部材312aの外側側面には外側方向に突設された凸部313aが形成され、また、揺動部材312aの下端面と当接して所定の位置に揺動部材312aを定め得るストッパ部311aが形成されている。
揺動部材312aは、断面矩形状の柱状体の先端に三角柱状体を一体的に形成した形状であり、一端に回動軸314aを挿通するための挿通孔を形成し、他端付近の外側側面には略円柱状の凸部313aを形成している。揺動中心である回動軸314aは、回動部材41aよりも上方に位置している。また、凸部313aは、ストッパ部311aに当接した下降位置において前方移動等して回動部材41aを押圧し得る位置となるように配設されている。
このようなものであると、一の引出し3aが引き出し位置にあり、引出し3aに対応する回動部材41aの前方部412aが内側方向に突出した希な状態にある場合でも、引出し3aを引出し位置から収容位置へと移動させることができる。
すなわち、引出し3aを引き出し位置から後方へ移動すると(図15(a))、引出し3aの凸部313aが回動部材41aに当接し(図15(b))、更に引出し3aが後方へ移動してゆくと、揺動自在である凸部313aが定位置から上方に押し上げられて上昇し(図15(c))、更に引出し3aが後方移動すると、上昇した位置のまま回動部材41aの上端を沿うようにして乗り越え(図15(d)(e))、更に引出し3aが後方移動すると、凸部313aが下降して定位置に戻るようすることができる。
本実施例に係る収納家具の内部を示す全体正面図 本実施例に係る収納家具の内部を示す全体斜視図(開錠状態) 図2の一部拡大図(開錠状態) 本実施例に係る収納家具の内部を示す全体斜視図(施錠状態) 図4の一部拡大図(施錠状態) 引出しの動作を示す側面図 引出しの動作を示す平面図 引出しの動作を示す平面図 引出しの動作を示す平面図 引出しの動作を示す正面図 引出しの動作を示す正面図 引出しの動作を示す側面図(上段のみを引き出した状態) 引出しの動作を示す平面図(上段のみを引き出した状態) 引出しの動作を示す正面図(上段のみを引き出した状態) 引出しの動作を示す側面図 引出しの動作を示す平面図 引出しの動作を示す平面図 引出しの動作を示す正面図 引出しの動作を示す正面図 セフティ機構の拡大分解斜視図 セフティ機構の拡大分解斜視図 セフティ機構の拡大斜視図 セフティ機構の拡大斜視図
符号の説明
1 収納家具
2 家具筐体
21 家具筐体2の左右の側板
22a,22b,22c サスペンションレール
23 壁部
3a,3b,3c 引出し
31a,31b,31c 引出しの側面
313a 引出しの側部、凸部
312a 揺動部材
311a 揺動部材のストッパ部
314a 揺動部材の回動軸
4a,4b,4c セフティ手段
41a,41b、41c 回動部材
413a 回動部材の中央部
414a 回動部材の挿通孔
412a 回動部材の前方部
411a 回動部材の後方部
416a 壁部
417a 壁部
418a 壁部
43a 保持手段 付勢手段、弾性バネ
431a 弾性バネの凸部
415a、415b、415c 回動部材の凸部
42a、42b、42c ハウジング部
421a,421a 壁部
424a スリット
4S 回動軸
422a 蓋部
423a 挿通孔
5 縦部材
6a ロック部材
631a 爪部
632a ロック部材の挿通孔
63a 基端部
62a 中間部
61a ガイド部
71 鍵穴
70 シリンダ錠
72 作動杆
73 動作伝達部

Claims (3)

  1. 家具筐体(2)に収容された収容位置から前方に移動して引き出し位置となる複数の引出し(3a,3b,3c)を備えた家具において、収容位置から前方移動する一の引出し(3a)と当接して押圧されることにより、他の引出し(3b,3c)の前方移動を許容する許容位置から前方移動を阻止する阻止位置へと移動するセフティ手段(4a,4b,4c)と、前記セフティ手段(4a,4b,4c)を許容位置に保持することができる保持手段(43a)とを備えることを特徴とする収納家具。
  2. 前記セフティ手段は、垂直軸(4S)を中心として水平方向に回動可能な回動部材(41)であり、前記保持手段は、前記回動部材(41)の回動を妨げる付勢手段であるを備えたことを特徴とする請求項1に記載の収納家具。
  3. 前方の回動停止位置から後方の回動停止位置までの範囲内において回動可能な回動部材(41a,41b,41c)を複数の引出し(3a,3b,3c)に対応して設け、いずれか一の回動部材(41a)の回動に連動して他の回動部材(41b,41c)も回動するようにしたことを特徴とする請求項2に記載の収納家具。
JP2008240662A 2008-09-19 2008-09-19 セフティ機構を備えた収納家具 Active JP5532373B2 (ja)

Priority Applications (1)

Application Number Priority Date Filing Date Title
JP2008240662A JP5532373B2 (ja) 2008-09-19 2008-09-19 セフティ機構を備えた収納家具

Applications Claiming Priority (1)

Application Number Priority Date Filing Date Title
JP2008240662A JP5532373B2 (ja) 2008-09-19 2008-09-19 セフティ機構を備えた収納家具

Publications (2)

Publication Number Publication Date
JP2010069062A true JP2010069062A (ja) 2010-04-02
JP5532373B2 JP5532373B2 (ja) 2014-06-25

Family

ID=42201385

Family Applications (1)

Application Number Title Priority Date Filing Date
JP2008240662A Active JP5532373B2 (ja) 2008-09-19 2008-09-19 セフティ機構を備えた収納家具

Country Status (1)

Country Link
JP (1) JP5532373B2 (ja)

Families Citing this family (1)

* Cited by examiner, † Cited by third party
Publication number Priority date Publication date Assignee Title
US12196531B2 (en) 2020-07-17 2025-01-14 ProtectEd Solutions LLC Protective cabinet

Citations (4)

* Cited by examiner, † Cited by third party
Publication number Priority date Publication date Assignee Title
JPH0315967U (ja) * 1989-06-30 1991-02-18
JPH0673940A (ja) * 1991-06-05 1994-03-15 Okamura Corp ファイリングキャビネット等における引出しの同時引き出し防止装置
JPH0651449U (ja) * 1992-12-22 1994-07-15 株式会社イトーキクレビオ 多段抽斗式キヤビネツトのロツク装置
JP2001342770A (ja) * 2000-03-29 2001-12-14 Kyoei Ind Co Ltd 同時引出し防止装置付きキャビネット

Patent Citations (4)

* Cited by examiner, † Cited by third party
Publication number Priority date Publication date Assignee Title
JPH0315967U (ja) * 1989-06-30 1991-02-18
JPH0673940A (ja) * 1991-06-05 1994-03-15 Okamura Corp ファイリングキャビネット等における引出しの同時引き出し防止装置
JPH0651449U (ja) * 1992-12-22 1994-07-15 株式会社イトーキクレビオ 多段抽斗式キヤビネツトのロツク装置
JP2001342770A (ja) * 2000-03-29 2001-12-14 Kyoei Ind Co Ltd 同時引出し防止装置付きキャビネット

Also Published As

Publication number Publication date
JP5532373B2 (ja) 2014-06-25

Similar Documents

Publication Publication Date Title
JP2006022482A (ja) プッシュボタン式ボックス開放構造
JP5171547B2 (ja) ラッチ装置
JP5532373B2 (ja) セフティ機構を備えた収納家具
JP5319104B2 (ja) ボタン錠
US8616592B2 (en) Latch device of a door
JP4842874B2 (ja) 錠装置
JP4473403B2 (ja) ラッチ装置
JP2020084430A (ja) ドアハンドル及びドア構造
JP6738620B2 (ja) ラッチ錠装置及びこれを備えた扉装置
JP7222539B2 (ja) クリップボード
JP4577764B2 (ja) 組立式合成樹脂製容器
JP2010131155A (ja) カップホルダー
JP3902607B2 (ja) 車両用ドリンクホルダ
JP3229318U (ja) 飲料容器
JP2012052377A (ja) 引出し収納庫の施錠装置
JP5424687B2 (ja) かばん錠
JP6180724B2 (ja) 引き戸の取付構造、引き戸及び収納装置
CN115467590B (zh) 工具箱锁具结构和工具箱
JP2012052379A (ja) 引出し収納庫の施錠装置
JP7277650B1 (ja) 錠前及びかばん・ケース類
JP5154287B2 (ja) 振動時ロック装置
JP4836190B2 (ja) ロック装置
JP4447397B2 (ja) カップホルダー
JP4956050B2 (ja) 収納容器
JP3110782U (ja) キーボード

Legal Events

Date Code Title Description
A621 Written request for application examination

Free format text: JAPANESE INTERMEDIATE CODE: A621

Effective date: 20100609

A977 Report on retrieval

Free format text: JAPANESE INTERMEDIATE CODE: A971007

Effective date: 20120427

A131 Notification of reasons for refusal

Free format text: JAPANESE INTERMEDIATE CODE: A131

Effective date: 20120511

A521 Request for written amendment filed

Free format text: JAPANESE INTERMEDIATE CODE: A523

Effective date: 20120709

A131 Notification of reasons for refusal

Free format text: JAPANESE INTERMEDIATE CODE: A131

Effective date: 20130627

A521 Request for written amendment filed

Free format text: JAPANESE INTERMEDIATE CODE: A523

Effective date: 20130730

TRDD Decision of grant or rejection written
A01 Written decision to grant a patent or to grant a registration (utility model)

Free format text: JAPANESE INTERMEDIATE CODE: A01

Effective date: 20140402

A61 First payment of annual fees (during grant procedure)

Free format text: JAPANESE INTERMEDIATE CODE: A61

Effective date: 20140410

R150 Certificate of patent or registration of utility model

Ref document number: 5532373

Country of ref document: JP

Free format text: JAPANESE INTERMEDIATE CODE: R150

R250 Receipt of annual fees

Free format text: JAPANESE INTERMEDIATE CODE: R250

R250 Receipt of annual fees

Free format text: JAPANESE INTERMEDIATE CODE: R250

R250 Receipt of annual fees

Free format text: JAPANESE INTERMEDIATE CODE: R250

R250 Receipt of annual fees

Free format text: JAPANESE INTERMEDIATE CODE: R250

R250 Receipt of annual fees

Free format text: JAPANESE INTERMEDIATE CODE: R250

R250 Receipt of annual fees

Free format text: JAPANESE INTERMEDIATE CODE: R250

R250 Receipt of annual fees

Free format text: JAPANESE INTERMEDIATE CODE: R250

R250 Receipt of annual fees

Free format text: JAPANESE INTERMEDIATE CODE: R250

R250 Receipt of annual fees

Free format text: JAPANESE INTERMEDIATE CODE: R250