JP4447397B2 - カップホルダー - Google Patents

カップホルダー Download PDF

Info

Publication number
JP4447397B2
JP4447397B2 JP2004223506A JP2004223506A JP4447397B2 JP 4447397 B2 JP4447397 B2 JP 4447397B2 JP 2004223506 A JP2004223506 A JP 2004223506A JP 2004223506 A JP2004223506 A JP 2004223506A JP 4447397 B2 JP4447397 B2 JP 4447397B2
Authority
JP
Japan
Prior art keywords
tray
case
engagement piece
cup holder
piece
Prior art date
Legal status (The legal status is an assumption and is not a legal conclusion. Google has not performed a legal analysis and makes no representation as to the accuracy of the status listed.)
Expired - Fee Related
Application number
JP2004223506A
Other languages
English (en)
Other versions
JP2006036170A (ja
Inventor
友治 井爪
Current Assignee (The listed assignees may be inaccurate. Google has not performed a legal analysis and makes no representation or warranty as to the accuracy of the list.)
Nifco Inc
Original Assignee
Nifco Inc
Priority date (The priority date is an assumption and is not a legal conclusion. Google has not performed a legal analysis and makes no representation as to the accuracy of the date listed.)
Filing date
Publication date
Application filed by Nifco Inc filed Critical Nifco Inc
Priority to JP2004223506A priority Critical patent/JP4447397B2/ja
Publication of JP2006036170A publication Critical patent/JP2006036170A/ja
Application granted granted Critical
Publication of JP4447397B2 publication Critical patent/JP4447397B2/ja
Anticipated expiration legal-status Critical
Expired - Fee Related legal-status Critical Current

Links

Images

Landscapes

  • Table Equipment (AREA)
  • Passenger Equipment (AREA)

Description

この発明は、引き出しまたはトレーを収納位置と使用位置との間で移動可能に、ケース内に収容した引出装置およびカップホルダーに関するものである。
従来のフルオープンタイプのカップホルダーにおいては、例えば、容器としての缶からジュースなどの飲料が零れることによってトレーが汚れたり、トレーに内容物が固着した場合、トレーをケースから取り出すことができないので、カップホルダー全体を取り替える必要があった。
そこで、缶からジュースなどの飲料が零れることによってトレーが汚れたり、トレーに内容物が固着した場合、トレーをケースから取り出すことができるようにするためには、トレーを使用位置へ付勢する付勢手段の付勢力を常にトレーに作用させないようにしたハーフオープンタイプ、または、手動式にする必要がある。
特開平5−310071号公報
上述したように、手動式のカップホルダーの場合、トレーを把持して引き出さなければならないため、操作性に問題がある。
そこで、操作性のよいフルオープンタイプのカップホルダーにおいてはトレーをケースから取り出すことができないが、フルオープンタイプのカップホルダーにおいても、トレーをケースから取り出すことができないかとの要望がある。
この発明は、上記した要望に応えるためになされたもので、引き出しまたはトレーをケースから取り出すことのできる引出装置およびカップホルダーを提供するものである。
この発明は、以下のような発明である。
(1)ケースと、このケース内に移動可能に収容されるトレーと、前記ケースに巻き付けられ、前記トレーを前記ケースから突出する方向へ付勢する巻きバネと、前記トレーを前記ケース内へ押し込んで収納位置へ後退させると、前記トレーを収納位置に係止させ、収納位置の前記トレーを押し込むと、前記トレーの係止状態を解除する係止手段とを備えたカップホルダーであって、前記ケースの前面開口部側に巻き付けられた前記巻きバネの一端に、コ字状のフック部を設け、前記トレーの後側を前記ケースの前面開口部内へ押し込むことにより、前記フック部が前記トレーの後端部分に係合するようにし、かつ、前記トレーが前記ケースから一定量引き出されると、前記ケースに当接して係合する弾性変形可能な係合片を前記トレーに設けるとともに、前記係合片の弾性変形を可能にしたり、前記係合片の弾性変形を不可能にするストッパー部材を設けた、ことを特徴とするカップホルダー。
(2)(1)に記載のカップホルダーにおいて、前記係合片は前記トレーの後端部分に設けられ、前記トレーが前記巻きバネの付勢力によって前記ケースから突出して使用位置まで前進すると前記ケースに当接して係合する、ことを特徴とするカップホルダー。
(3)(1)または(2)に記載のカップホルダーにおいて、前記ストッパー部材を移動させて前記係合片の弾性変形を可能にさせる解除片を設け、前記トレーに起立状態で容器を保持可能なホルダーを設け、このホルダーを伏倒させることにより、前記解除片を介して前記ストッパー部材を移動させて前記係合片の弾性変形を可能にさせた、ことを特徴とするカップホルダー。
この発明によれば、ケースの前面開口部側に巻き付けられた巻きバネの一端に、コ字状のフック部を設け、トレーの後側をケースの前面開口部内へ押し込むことにより、フック部をトレーの後端部分に係合させたので、トレーをケースの前面開口部内へ押し込むと、フック部がトレーの後端部分に係合する。
したがって、トレーを使用位置へ突出させる付勢力を与える巻きバネを、トレーをケースの前面開口部内へ押し込むという簡単が操作でトレーに作用させることができる。
そして、トレーが巻きバネの付勢力によって使用位置まで前進すると、ケースに当接する弾性変形可能な係合片をトレーの後端部分に設けたので、トレーが使用位置に位置する状態で係合片を弾性変形させてケースに係合させなくすると、トレーをケースから取り出すことができる。
さらに、係合片の弾性変形を可能にしたり、係合片の弾性変形を不可能にするストッパー部材と、ストッパー部材を移動させて係合片の弾性変形を可能にさせる解除片とを設けたので、解除片によってストッパー部材を移動させ、係合片を弾性変形を可能にさせることにより、トレーをケースから取り出すことができる。
また、トレーには起立状態で容器を保持可能なホルダーが設けられ、このホルダーを伏倒させることにより、解除片を介してストッパー部材を移動させて係合片の弾性変形を可能にさせたので、ホルダーを伏倒させることにより、トレーをケースから取り出すことができる。
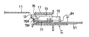
図1はこの発明の一実施例であるカップホルダーのトレーを使用位置へ前進させた状態の平面図、図2はこの発明の一実施例であるカップホルダーのトレーを使用位置へ前進させた状態の正面図、図3はこの発明の一実施例であるカップホルダーのトレーを使用位置へ前進させた状態の斜視図、図4は図1のA−A線による要部の断面図である。
なお、以後の説明において、前、前側などとは各平面図における右側を指し、後、後側などとは各平面図における左側を指し、側面、側壁などとは各平面図における上側、下側を指すものとする。
これらの図において、Cはカップホルダーを示し、合成樹脂製のケース11と、このケース11に後端部分に取り付けられる合成樹脂製のスイングピン31と、ケース11の前端部分に取り付けられるコンストンスプリング組立体41と、ケース11内に移動可能に収容される合成樹脂製のトレー51と、このトレー51の後端部分に取り付けられるスプリング71、合成樹脂製のストッパーアーム72、合成樹脂製の第1ハウジング73、図示が省略されている第2ハウジング(74)、図示が省略されているダンパー(77)と、トレー51の中央部分の後側に取り付けられる合成樹脂製のプッシュアーム81と、このプッシュアーム81の前側に位置させてトレー51に取り付けられるホルダー84と、トレー51の前端部分に取り付けられる合成樹脂製のノブ91とで構成されている。
図5はケースの外観斜視図、図6はケースの平面図、図7はケースの正面図、図8はケースの裏面図、図9は図7のA−A線による断面図、図10は図6のB−B線による断面図、図11は図6のC−C線による断面図、図12は図6のD−D線による断面図、図13は図6のE−E線による断面図である。
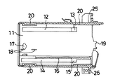
上記したケース11の天井壁には、図9および図13に示すように、下側に開放し、後述する係合片76が移動可能な第1および第2の溝12,14が後端側から前端側へ設けられ、第1の溝12の右端に係合片76が前側面に当接する矩形の開口13が設けられ、第2の溝14の右端にも、開口13と前後方向において同じ位置に係合片76が前側面に当接する矩形の開口15が設けられ、また、図9に示すように、第2の溝14を形成する一方の内側面に、左端の少し手前から右端まで連なる、ダンパー(77)の歯車(78)が噛み合うラック16が設けられ、また、図6、図8および図10に示すように、左端近傍の中央部分にスイングピン31を回動可能に取り付ける取付孔17が設けられ、また、図8および図9に示すように、取付孔17に対応させて下面に、スイングピン31の回動を規制する回動規制リブ18が設けられ、また、図6、図9および図10に示すように、右端の中央部分にローラガイド19が設けられている。
そして、ケース11の両側壁の内側には、図6、図8および図9に示すように、前後方向へ水平に延び、トレー51を案内するガイドリブ20が設けられている。
また、ケース11の底壁には、図5および図7に示すように、内側に前後方向へ水平に延び、トレー51を案内するガイドリブ21が設けられ、また、図5に示すように、外側に位置させてコンストンスプリング組立体41を取り付けるための取付部22、この取付部22に連なり、後述するコンストンスプリング43が通過する開口23、この開口23に連ならせて内側に位置し、コンストンスプリング43が左右方向へ移動する溝24が設けられている。
さらに、ケース11の外側には、カップホルダーCを所定位置に取り付けるための取付部25,26,27が設けられている。
図14はスイングピンの取付状態を示す説明図である。
上記したスイングピン31は、ケース11の取付孔17に回動可能に取り付けられて回動規制リブ18で回動範囲を規制され、後述するハートカム52とで係止手段を構成する。
図15はコンストンスプリング組立体の取付状態を示す説明図である。
上記したコンストンスプリング組立体41は、ケース11の取付部22に回転可能に取り付けられる合成樹脂製のローラ42と、このローラ42に巻き付けられた巻きバネとしてのコンストンスプリング43と、このコンストンスプリング43の、ケース11の開口23から溝24内へ延びた端に取り付けられた、前側へ開口するコ字状のフック部44とで構成されている。
図16はトレーの外観斜視図、図17はトレーの平面図、図18はトレーの正面図、図19はトレーの裏面図、図20は図17のA−A線による断面図、図21は図17のB−B線による断面図、図22は図17のC−C線による断面図、図23は図17のD−D線による断面図である。
上記したトレー51には、図16および図17に示すように、後端部分の中央の上側に、係止手段を構成するハートカム52が設けられ、このハートカム52を挟むように後端部の両側(平面図の上下方向の両側)に上方に開放する第1および第2取付部53,54が設けられ、ハートカム52と第1取付部53との間の部分が、コンストンスプリング組立体41のフック部44に係合する係合部55とされている。
そして、トレー51には、図16に示すように、上側に、前端近傍から第1および第2取付部53,54の前まで後側へ延びた凹部56が設けられ、また、図16および図17に示すように、凹部56の後端の中央部分(平面図の上下方向の中央部分)に支持部57が設けられ、支持部57の前側に位置させて、プッシュアーム81を回動可能に取り付けるプッシュアーム取付部58が設けられ、また、図16および図20に示すように、プッシュアーム取付部58の前側に位置し、凹部56を形成する側壁の対向するそれぞれの内面に、ホルダー84を回動可能に取り付ける取付穴59が設けられている。
また、トレー51の前端には、図16および17に示すように、ノブ91を取り付けるノブ取付部60が設けられている。
さらに、トレー51の側壁の外側には、図18に示すように、ケース11のガイドリブ20に対応させて、後端から前端まで水平に延びる被ガイド溝61が設けられている。
そして、トレー51の底の外側には、図19に示すように、ケース11のガイドリブ21に対応させて、後端から前端まで延びる被ガイド溝62が設けられている。
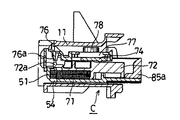
図24はトレーの第1取付部へ取り付けるスプリング、ストッパーアームおよび第1ハウジングの分解説明図、図25はトレーの第1取付部へスプリング、ストッパーアームおよび第1ハウジングを取り付けた、係合片がロック状態の断面図である。
上記したトレー51の第1取付部53内には、収容したスプリング71で前側へ付勢され、第1取付部53から凹部56へ突出しないように構成された合成樹脂製のストッパーアーム72(ストッパー部材)を第1取付部53から凹部56へ跨らせて前後方向へ移動可能に配置し、第1収容部53から上側へ飛び出ないように第1ハウジング73でスプリング71およびストッパーアーム72が取り付けられている。
そして、第1ハウジング73には、トレー51の外側(平面図の下側)へ突出してケース11の側壁の内面に弾接する弾性当接片75(図29参照)が設けられるとともに、第1の溝12内を移動してケース11に当接する係合片76が一体的に設けられている。
なお、図25に示すように、第1取付部53へスプリング71、ストッパーアーム72および第1ハウジング73を取り付けた状態では、ストッパーアーム72の後端に設けられている上側へ突出した突出部72aが係合片76の後端部分に設けられている下側へ突出した突出部76aと対峙するので、係合片76が自身の弾性で前端を支点として下側へ湾曲しようとしても突出部76aが突出部72aに衝合することにより、係合片76が湾曲できないロック状態となっている。
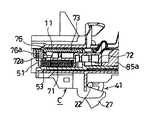
図26はトレーの第2取付部へ取り付けるスプリング、ストッパーアームおよび第2ハウジングの分解説明図、図27はトレーの第2取付部へスプリング、ストッパーアームおよび第2ハウジングを取り付けた、係合片がロック状態の断面図である。
上記したトレー51の第2取付部54内には、収容したスプリング71で前側へ付勢され、第2取付部54から凹部56へ突出しないように構成されたストッパーアーム72を第2取付部54から凹部56へ跨らせて前後方向へ移動可能に配置し、第2収容部54から上側へ飛び出ないように第2ハウジング74でスプリング71およびストッパーアーム72が取り付けられている。
そして、第2ハウジング74には、トレー51の(平面図の上側)外側へ突出してケース11の側壁の内面に弾接する弾性当接片75(図29参照)が設けられるとともに、第2の溝14内を移動してケース11に当接する係合片76が一体的に設けられている。
さらに、第2ハウジング74には、ケース11のラック16に歯車78が噛み合うダンパー77が取り付けられている。
なお、図27に示すように、第2取付部54へスプリング71、ストッパーアーム72および第2ハウジング74を取り付けた状態では、ストッパーアーム72の後端に設けられている上側へ突出した突出部72aが係合片76の後端部分に設けられている下側へ突出した突出部76aと対峙するので、係合片76が自身の弾性で前端を支点として下側へ湾曲しようとしても突出部76aが突出部72aに衝合することにより、係合片76が湾曲できないロック状態となっている。
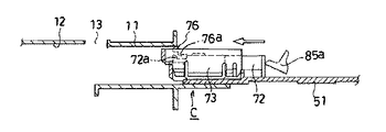
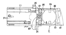
図28はプッシュアーム、支持状態のホルダーを示す正面図である。
上記したプッシュアーム81は、トレー51のプッシュアーム取付部58に回動可能に取り付けられるとともに、図示を省略したトーションスプリングで支持部57に衝合するように反時計方向へ付勢されている。
そして、プッシュアーム81には、伏倒した場合、プッシュアーム81をケース11の天井下面に当接させないように、自身が当接する合成樹脂製のローラ83が取り付けられている。
上記したホルダー84は、トレー51の取付穴59に回動可能に取り付けられる合成樹脂製のサポート85と、このサポート85の後端側で、回動支点よりも前側に回動可能に下端が取り付けられ、トーションスプリング87で反時計方向へ付勢されるとともに、後側をプッシュアーム81で押される合成樹脂製の第1ガイド86と、サポート85の前端にピン89で前端が回動可能に取り付けられ、トーションスプリング90で時計方向へ付勢されるとともに、後端が第1ガイド86の溝86aに沿って移動する合成樹脂製の第2ガイド88とで構成されている。
なお、ホルダー84は、図1に示すように、例えば、缶などの容器を上側から挿入してトレー51上に立たせ孔を形成し、サポート85、第1および第2ガイド86,88で容器を倒れないように支持する。
そして、サポート85には、各ストッパーアーム72を押し込む解除片85aが後端に設けられている。
図29はトレーに各部品を取り付けた状態の斜視図、図30はホルダーを伏倒させた状態の斜視図、図31は第1取付部のストッパーアームが移動させられて係合片のロック状態を解除した状態の説明図、図32は第2取付部のストッパーアームが移動させられて係合片のロック状態を解除した状態の説明図、図33はトレーをケースへ挿入するために係合片を弾性変形させた状態の説明図、図34はトレーを収納位置へ後退させて係止させた状態の説明図、図35はトレーをケースから取り出すために係合片を弾性変形させた状態の説明図である。
次に、トレー51のケース11への取付について説明する。
まず、ケース11の取付孔17に、図14に示すように、スイングピン31を取り付け、ケース11の取付部22に、図15に示すように、コンストンスプリング組立体41を取り付ける。
次に、図29に示すように、トレー51に各部品を取り付ける。
このように、トレー51に各部品を取り付けると、ホルダー84はトーションスプリング87,89の作用により、容器を支持できるように起立し、サポート85の後端に設けられている2つの解除片85aで各ストッパーアーム72を最も押し込まない状態となる。
したがって、ストッパーアーム72が係合片76に対して最も前側へ移動した状態となり、図25および図27に示すように、突出部72a,76a同士が上下方向で対向した状態となる。
この状態でホルダー84をトーションスプリング87,89の付勢力に抗して、図30に示すように伏倒させると、図31および図32に示すように、伏倒したサポート85の解除片85aで2つのストッパーアーム72を各スプリング71の付勢力に抗して最も押し込んで状態となる。
したがって、ストッパーアーム72が係合片76に対して最も後側へ移動した状態となり、図31および図32に示すように、突出部72aが後側へ移動し、突出部76aと上下方向で対向しない状態となる。
このようにホルダー84を伏倒させた状態で、トレー51の後端側、すなわち、第1および第2取付部53,54が設けられている側をケース11の前面開口部内へ挿入すると、2つの係合片76がケース11の天井壁に衝合するが、図31および図32に示すように、突出部72a,76a同士が上下方向で対向していないので、各係合片76の後側が、図33に示すように、自身の弾性で前端を支点として下降してケース11に衝合しなくなることにより、ケース11内へトレー51を挿入することができる。
このようにしてケース11内へトレー51を挿入すると、ケース11のガイドリブ20,21が対応するトレー51の被ガイド溝61,62に入り、第1および第2ハウジング73,74の弾性当接片75がケース11の各側壁内面に弾接し、ダンパー77の歯車78がラック16に噛み合うとともに、トレー51の係合部55がコンストンスプリング組立体41のフック部44に係合し、コンストンスプリング43を伸長させる。
そして、トレー51がケース11内へ所定長押し込まれると、図4に示すように、各係合片76が対応する開口13,15と対向することにより、各係合片76が自身の弾性で元の状態へ復帰し、開口13,15の前側面に係合する。
この状態でホルダ−84を伏倒させていた押圧力を解除すると、図1〜図3に示すように、ホルダー84がトーションスプリング87,89の付勢力によって起立し、各ストッパーアーム72がスプリング71の付勢力により、図25および図27に示すように、前進し、突出部72aが突出部76aと上下方向で対向して係合片76の弾性変形を不可能とし(規制し)、トレー51が使用位置にコンストンスプリング43の付勢力によって維持され、トレー51のケース11への取付が完了する。
次に、動作について説明する。
まず、図1〜図3に示す使用位置へトレー51が前進している状態で、ノブ91を介してトレー51を押し込むと、ローラガイド19がローラ83を押すことにより、プッシュアーム81が第1ガイド86をトーションスプリングの付勢力に抗して押すので、前述したように、ホルダー84を凹部56内へ伏倒させることができる。
このようにホルダー84を凹部56内へ伏倒させる過程で、トレー51はガイドリブ20,21に係合する被ガイド溝61,62で案内され、弾性当接片75でケース11の内面に弾接し、コンストンスプリング43を伸長させるとともに、各係合片76は第1、第2の溝12,14内を移動する。
そして、トレー51を収納位置の少し手前まで押し込むと、スイングピン31がハートカム52に係合し始める。
さらに、トレー51を収納位置まで押し込むと、スイングピン31がハートカム52に係合してトレー51を収納位置に係止可能な状態となるので、トレー51を押し込む力を解除すると、スイングピン31がハートカム52に係合してトレー51を、図34に示すように、収納位置に係止させる。
この図34に示すトレー51の収納状態において、トレー51を押し込んでスイングピン31のハートカム52に対する係合を解除させると、トレー51は、コンストンスプリング43がローラ42に巻き込まれる付勢力により、各係合片76が開口13,15の前側面に当接(衝合)する、図1〜図3に示す使用位置まで前進して停止するとともに、ラック16に歯車78が噛み合っているダンパー77によって移動を制動される。
次に、トレー51のケース11からの取り出しについて説明する。
まず、図1〜図3に示す使用位置にトレー51が位置する状態で、ホルダー84をトーションスプリング87,89の付勢力に抗して、図30に示すように伏倒させると、図31および図32に示すように、伏倒したサポート85の解除片85aで2つのストッパーアーム72を各スプリング71の付勢力に抗して最も押し込んで状態となる。
したがって、ストッパーアーム72が係合片76に対して最も後側へ移動した状態となり、図31および図32に示すように、突出部72aが後側へ移動し、突出部76aと上下方向で対向しない状態となる。
このようにホルダー84を伏倒させた状態で、ケース11に対してトレー51を引く抜こうとすると、図31および図32に示すように、突出部72a,76a同士が上下方向で対向していないので、各係合片76の後側が、図35に示すように、自身の弾性で前端を支点として下降してケース11と係合しなくなることにより、トレー51をケース11から取り出すことができる。
上述したように、この発明の一実施例によれば、ケース11の前面開口部側に巻き付けられたコンストンスプリング43の一端に、コ字状のフック部44を設け、トレ51ーの後側をケース11の前面開口部内へ押し込むことにより、フック部44をトレー51の後端部分に係合させたので、トレー51をケース11の前面開口部内へ押し込むと、フック部44がトレー51の後端部分に係合する。
したがって、トレー51を使用位置へ突出させる付勢力を与えるコンストンスプリング43を、トレー51をケース11の前面開口部内へ押し込むという簡単が操作でトレー51に作用させることができる。
そして、トレー51がコンストンスプリング43の付勢力によって使用位置まで前進すると、ケース11に当接する弾性変形可能な係合片76をトレー51の後端部分に設けたので、トレー51が使用位置に位置する状態で係合片76を弾性変形させてケース11に係合させなくすると、トレー51をケース11から取り出すことができる。
さらに、係合片76の弾性変形を可能にしたり、係合片76の弾性変形を不可能にするストッパーアーム72と、ストッパーアーム72を移動させて係合片76の弾性変形を可能にさせる解除片85aとを設けたので、解除片85aによってストッパーアーム72を移動させ、係合片76を弾性変形を可能にさせることにより、トレー51をケース11から取り出すことができる。
また、トレー51には起立状態で容器を保持可能なホルダー84が設けられ、このホルダー84を伏倒させることにより、解除片85aを介してストッパーアーム72を移動させて係合片76の弾性変形を可能にさせたので、ホルダー84を伏倒させることにより、トレー51をケース11から取り出すことができる。
そして、弾性当接片75をケース11の側壁の内面へ弾接させたので、トレー51をケース11に対して、各弾性当接片75がケース11の側壁の内面へ当接する方向、すなわち、水平方向へがたつかないように収容させることができる。
さらに、ダンパー77を設けたので、ケース11からトレー51が急激に突出しないようにトレー51の移動を制動することができる。
上記した実施例では、係合片76の弾性変形を可能したり、係合片76の弾性変形を不可能にするようにストッパーアーム72を移動させるのを、ホルダー84の起立と伏倒とで行う例を示したが、単にストッパー部材を移動させることにより、係合片76の弾性変形を可能または不可能にさせたり、ストッパー部材を前後動させることにより、このストッパー部材と直交する水平方向へ解除部材を移動させて係合片76を弾性変形させたり、元の状態へ復帰させる構成にしてもよい。
そして、上記した実施例をカップホルダーCとした例で説明したが、引き出しがケースから一定量、例えば、付勢部材の付勢力によって引き出されると、ケースに当接する弾性変形可能な係合片を引き出しに設け、係合片の弾性変形を可能にしたり、係合片の弾性変形を不可能にするストッパー部材を設けた引出装置とすることにより、引出装置においても引き出しをケースから取り出すことができる。
この発明の一実施例であるカップホルダーのトレーを使用位置へ前進させた状態の平面図である。 この発明の一実施例であるカップホルダーのトレーを使用位置へ前進させた状態の正面図である。 この発明の一実施例であるカップホルダーのトレーを使用位置へ前進させた状態の斜視図である。 図1のA−A線による要部の断面図である。 ケースの外観斜視図である。 ケースの平面図である。 ケースの正面図である。 ケースの裏面図である。 図7のA−A線による断面図である。 図6のB−B線による断面図である。 図6のC−C線による断面図である。 図6のD−D線による断面図である。 図6のE−E線による断面図である。 スイングピンの取付状態を示す説明図である。 コンストンスプリング組立体の取付状態を示す説明図である。 トレーの外観斜視図である。 トレーの平面図である。 トレーの正面図である。 トレーの裏面図である。 図17のA−A線による断面図である。 図17のB−B線による断面図である。 図17のC−C線による断面図である。 図17のD−D線による断面図である。 トレーの第1取付部へ取り付けるスプリング、ストッパーアームおよび第1ハウジングの分解説明図である。 トレーの第1取付部へスプリング、ストッパーアームおよび第1ハウジングを取り付けた、係合片がロック状態の断面図である。 トレーの第2取付部へ取り付けるスプリング、ストッパーアームおよび第2ハウジングの分解説明図である。 トレーの第2取付部へスプリング、ストッパーアームおよび第2ハウジングを取り付けた、係合片がロック状態の断面図である。 プッシュアーム、支持状態のホルダーを示す正面図である。 トレーに各部品を取り付けた状態の斜視図である。 ホルダーを伏倒させた状態の斜視図である。 第1取付部のストッパーアームが移動させられて係合片のロック状態を解除した状態の説明図である。 第2取付部のストッパーアームが移動させられて係合片のロック状態を解除した状態の説明図である。 トレーをケースへ挿入するために係合片を弾性変形させた状態の説明図である。 トレーを収納位置へに後退させて係止させた状態の説明図である。 トレーをケースから取り出すために係合片を弾性変形させた状態の説明図である。
符号の説明
C カップホルダー
11 ケース
12 第1の溝
13 開口
14 第2の溝
15 開口
16 ラック
17 取付孔
18 回動規制リブ
19 ローラガイド
20 ガイドリブ
21 ガイドリブ
22 取付部
23 開口
24 溝
25 取付部
26 取付部
27 取付部
31 スイングピン(係止手段)
41 コンストンスプリング組立体
42 ローラ
43 コンストンスプリング(巻きバネ)
44 フック部
51 トレー
52 ハートカム(係止手段)
53 第1取付部
54 第2取付部
55 係合部
56 凹部
57 支持部
58 プッシュアーム取付部
59 取付穴
60 ノブ取付部
61 被ガイド溝
62 被ガイド溝
71 スプリング
72 ストッパーアーム(ストッパー部材)
72a 突出部
73 第1ハウジング
74 第2ハウジング
75 弾性当接片
76 係合片
76a 突出部
77 ダンパー
78 歯車
81 プッシュアーム
83 ローラ
84 ホルダー
85 サポート
85a 解除片
86 第1ガイド
86a 溝
87 トーションスプリング
88 第2ガイド
89 ピン
90 トーションスプリング
91 ノブ

Claims (3)

  1. ケースと、このケース内に移動可能に収容されるトレーと、前記ケースに巻き付けられ、前記トレーを前記ケースから突出する方向へ付勢する巻きバネと、前記トレーを前記ケース内へ押し込んで収納位置へ後退させると、前記トレーを収納位置に係止させ、収納位置の前記トレーを押し込むと、前記トレーの係止状態を解除する係止手段とを備えたカップホルダーであって、
    前記ケースの前面開口部側に巻き付けられた前記巻きバネの一端に、コ字状のフック部を設け、
    前記トレーの後側を前記ケースの前面開口部内へ押し込むことにより、前記フック部が前記トレーの後端部分に係合するようにし、
    かつ、
    前記トレーが前記ケースから一定量引き出されると、前記ケースに当接して係合する弾性変形可能な係合片を前記トレーに設けるとともに、前記係合片の弾性変形を可能にしたり、前記係合片の弾性変形を不可能にするストッパー部材を設けた、
    ことを特徴とするカップホルダー。
  2. 請求項1に記載のカップホルダーにおいて、
    前記係合片は前記トレーの後端部分に設けられ、前記トレーが前記巻きバネの付勢力によって前記ケースから突出して使用位置まで前進すると前記ケースに当接して係合する、
    ことを特徴とするカップホルダー。
  3. 請求項1又は請求項2に記載のカップホルダーにおいて、
    前記ストッパー部材を移動させて前記係合片の弾性変形を可能にさせる解除片を設け、
    前記トレーに起立状態で容器を保持可能なホルダーを設け、
    このホルダーを伏倒させることにより、前記解除片を介して前記ストッパー部材を移動させて前記係合片の弾性変形を可能にさせた、
    ことを特徴とするカップホルダー。
JP2004223506A 2004-07-30 2004-07-30 カップホルダー Expired - Fee Related JP4447397B2 (ja)

Priority Applications (1)

Application Number Priority Date Filing Date Title
JP2004223506A JP4447397B2 (ja) 2004-07-30 2004-07-30 カップホルダー

Applications Claiming Priority (1)

Application Number Priority Date Filing Date Title
JP2004223506A JP4447397B2 (ja) 2004-07-30 2004-07-30 カップホルダー

Publications (2)

Publication Number Publication Date
JP2006036170A JP2006036170A (ja) 2006-02-09
JP4447397B2 true JP4447397B2 (ja) 2010-04-07

Family

ID=35901608

Family Applications (1)

Application Number Title Priority Date Filing Date
JP2004223506A Expired - Fee Related JP4447397B2 (ja) 2004-07-30 2004-07-30 カップホルダー

Country Status (1)

Country Link
JP (1) JP4447397B2 (ja)

Families Citing this family (2)

* Cited by examiner, † Cited by third party
Publication number Priority date Publication date Assignee Title
JP5013166B2 (ja) * 2006-09-05 2012-08-29 豊田合成株式会社 容器ホルダ装置
JP2010012888A (ja) * 2008-07-02 2010-01-21 Nifco Inc カップホルダ

Also Published As

Publication number Publication date
JP2006036170A (ja) 2006-02-09

Similar Documents

Publication Publication Date Title
US7281773B2 (en) Sliding assisting apparatus
US20100207414A1 (en) Console box
JP2010000112A (ja) 双方向引出し構造
JP2003106027A (ja) ラッチおよびラッチを用いた引き出し装置
JP2010012888A (ja) カップホルダ
KR101192467B1 (ko) 컵홀더를 갖는 차량용 콘솔박스 구조
JP4447397B2 (ja) カップホルダー
JP4579449B2 (ja) カップホルダー装置
JP2002360377A (ja) 操作レバー
JP2009126519A (ja) 折り畳みコンテナ
US20080168481A1 (en) Cartridge
JP2013050199A (ja) フック装置
JPH09169235A (ja) 車両用カップホルダー
JP5154287B2 (ja) 振動時ロック装置
JP5612616B2 (ja) 引出し構造体
JP4059866B2 (ja) カップホルダ装置
JP3105929U (ja) 引出しスライドレールの自動クローズ装置
JP4037396B2 (ja) 液体貯留ポット
JP3652876B2 (ja) 容器保持装置
JP2001338485A (ja) ホルダの取付構造
JP2518157Y2 (ja) 蓋体の開閉装置
JP5936122B2 (ja) 引出し
JP5424687B2 (ja) かばん錠
JP4612496B2 (ja) 開閉器
JP2019006261A (ja) 容器保持兼用のエアベントユニット

Legal Events

Date Code Title Description
A621 Written request for application examination

Free format text: JAPANESE INTERMEDIATE CODE: A621

Effective date: 20070226

A977 Report on retrieval

Free format text: JAPANESE INTERMEDIATE CODE: A971007

Effective date: 20091002

A131 Notification of reasons for refusal

Free format text: JAPANESE INTERMEDIATE CODE: A131

Effective date: 20091006

A521 Request for written amendment filed

Free format text: JAPANESE INTERMEDIATE CODE: A523

Effective date: 20091118

TRDD Decision of grant or rejection written
A01 Written decision to grant a patent or to grant a registration (utility model)

Free format text: JAPANESE INTERMEDIATE CODE: A01

Effective date: 20091222

A01 Written decision to grant a patent or to grant a registration (utility model)

Free format text: JAPANESE INTERMEDIATE CODE: A01

A61 First payment of annual fees (during grant procedure)

Free format text: JAPANESE INTERMEDIATE CODE: A61

Effective date: 20100120

FPAY Renewal fee payment (event date is renewal date of database)

Free format text: PAYMENT UNTIL: 20130129

Year of fee payment: 3

R150 Certificate of patent or registration of utility model

Ref document number: 4447397

Country of ref document: JP

Free format text: JAPANESE INTERMEDIATE CODE: R150

FPAY Renewal fee payment (event date is renewal date of database)

Free format text: PAYMENT UNTIL: 20130129

Year of fee payment: 3

FPAY Renewal fee payment (event date is renewal date of database)

Free format text: PAYMENT UNTIL: 20130129

Year of fee payment: 3

FPAY Renewal fee payment (event date is renewal date of database)

Free format text: PAYMENT UNTIL: 20130129

Year of fee payment: 3

R250 Receipt of annual fees

Free format text: JAPANESE INTERMEDIATE CODE: R250

R250 Receipt of annual fees

Free format text: JAPANESE INTERMEDIATE CODE: R250

R250 Receipt of annual fees

Free format text: JAPANESE INTERMEDIATE CODE: R250

R250 Receipt of annual fees

Free format text: JAPANESE INTERMEDIATE CODE: R250

R250 Receipt of annual fees

Free format text: JAPANESE INTERMEDIATE CODE: R250

R250 Receipt of annual fees

Free format text: JAPANESE INTERMEDIATE CODE: R250

R250 Receipt of annual fees

Free format text: JAPANESE INTERMEDIATE CODE: R250

R250 Receipt of annual fees

Free format text: JAPANESE INTERMEDIATE CODE: R250

R250 Receipt of annual fees

Free format text: JAPANESE INTERMEDIATE CODE: R250

R250 Receipt of annual fees

Free format text: JAPANESE INTERMEDIATE CODE: R250

R250 Receipt of annual fees

Free format text: JAPANESE INTERMEDIATE CODE: R250

LAPS Cancellation because of no payment of annual fees