JP2010064513A - 路面区画マーク認識装置および車線逸脱防止装置 - Google Patents

路面区画マーク認識装置および車線逸脱防止装置 Download PDF

Info

Publication number
JP2010064513A
JP2010064513A JP2008229938A JP2008229938A JP2010064513A JP 2010064513 A JP2010064513 A JP 2010064513A JP 2008229938 A JP2008229938 A JP 2008229938A JP 2008229938 A JP2008229938 A JP 2008229938A JP 2010064513 A JP2010064513 A JP 2010064513A
Authority
JP
Japan
Prior art keywords
road surface
unit
vehicle camera
image processing
vehicle
Prior art date
Legal status (The legal status is an assumption and is not a legal conclusion. Google has not performed a legal analysis and makes no representation as to the accuracy of the status listed.)
Granted
Application number
JP2008229938A
Other languages
English (en)
Other versions
JP4849346B2 (ja
Inventor
Hiroaki Kataoka
寛暁 片岡
Shioya Kageyama
潮矢 影山
Current Assignee (The listed assignees may be inaccurate. Google has not performed a legal analysis and makes no representation or warranty as to the accuracy of the list.)
Toyota Motor Corp
Original Assignee
Toyota Motor Corp
Priority date (The priority date is an assumption and is not a legal conclusion. Google has not performed a legal analysis and makes no representation as to the accuracy of the date listed.)
Filing date
Publication date
Application filed by Toyota Motor Corp filed Critical Toyota Motor Corp
Priority to JP2008229938A priority Critical patent/JP4849346B2/ja
Priority to US12/554,434 priority patent/US8265872B2/en
Priority to DE102009029243A priority patent/DE102009029243B4/de
Publication of JP2010064513A publication Critical patent/JP2010064513A/ja
Application granted granted Critical
Publication of JP4849346B2 publication Critical patent/JP4849346B2/ja
Priority to US13/564,078 priority patent/US8392115B2/en
Active legal-status Critical Current
Anticipated expiration legal-status Critical

Links

Images

Classifications

    • GPHYSICS
    • G06COMPUTING OR CALCULATING; COUNTING
    • G06VIMAGE OR VIDEO RECOGNITION OR UNDERSTANDING
    • G06V20/00Scenes; Scene-specific elements
    • G06V20/50Context or environment of the image
    • G06V20/56Context or environment of the image exterior to a vehicle by using sensors mounted on the vehicle
    • G06V20/58Recognition of moving objects or obstacles, e.g. vehicles or pedestrians; Recognition of traffic objects, e.g. traffic signs, traffic lights or roads
    • G06V20/586Recognition of moving objects or obstacles, e.g. vehicles or pedestrians; Recognition of traffic objects, e.g. traffic signs, traffic lights or roads of parking space
    • GPHYSICS
    • G06COMPUTING OR CALCULATING; COUNTING
    • G06VIMAGE OR VIDEO RECOGNITION OR UNDERSTANDING
    • G06V10/00Arrangements for image or video recognition or understanding
    • G06V10/10Image acquisition
    • G06V10/12Details of acquisition arrangements; Constructional details thereof
    • G06V10/14Optical characteristics of the device performing the acquisition or on the illumination arrangements
    • G06V10/147Details of sensors, e.g. sensor lenses
    • GPHYSICS
    • G06COMPUTING OR CALCULATING; COUNTING
    • G06VIMAGE OR VIDEO RECOGNITION OR UNDERSTANDING
    • G06V20/00Scenes; Scene-specific elements
    • G06V20/50Context or environment of the image
    • G06V20/56Context or environment of the image exterior to a vehicle by using sensors mounted on the vehicle
    • G06V20/588Recognition of the road, e.g. of lane markings; Recognition of the vehicle driving pattern in relation to the road

Landscapes

  • Engineering & Computer Science (AREA)
  • Physics & Mathematics (AREA)
  • General Physics & Mathematics (AREA)
  • Multimedia (AREA)
  • Theoretical Computer Science (AREA)
  • General Health & Medical Sciences (AREA)
  • Health & Medical Sciences (AREA)
  • Vascular Medicine (AREA)
  • Traffic Control Systems (AREA)
  • Control Of Driving Devices And Active Controlling Of Vehicle (AREA)
  • Power Steering Mechanism (AREA)
  • Closed-Circuit Television Systems (AREA)
  • Studio Devices (AREA)
  • Steering Control In Accordance With Driving Conditions (AREA)

Abstract

【課題】高温下で車載カメラを必要以上に停止させないことにより、白線認識装置の稼動率を向上させること。
【解決手段】路面の区画マークを認識する路面区画マーク認識装置であって、車両前方の路面を撮像する車載カメラと、複数の種類の路面区画マークにそれぞれ対応する複数の画像処理モードを有しており、前記車載カメラで撮像した路面画像に含まれる路面区画マークの種類を識別し、前記複数の画像処理モードの中から対応する一つの画像処理モードを選択し、選択された画像処理モードで路面区画マークを認識する画像処理部と、前記車載カメラの温度を測定する温度測定部と、前記温度測定部で測定された温度が閾値以上である場合に前記車載カメラの動作を制限する制限部とを備え、前記閾値は、各前記画像処理モード間で異なることを特徴とする。
【選択図】図1

Description

本発明は、路面区画マーク認識装置および車線逸脱防止装置に関し、より詳しくは、高温下であっても稼働率の高い路面区画マーク認識装置および車線逸脱防止装置に関する。
近年、車載カメラが取得した撮像画像に基づき道路の白線を認識する白線認識部と、白線認識部で認識された白線と車両の位置関係に基づいて、車両が走行車線から逸脱しないようにステアリングを制御するステアリング制御部とを備えた車線逸脱防止装置が実用化されつつある。
車載カメラの撮像素子としてはCCD(Charge Coupled Device)が使用されることが多い。車載カメラはフロントガラスの上部内側付近に設けられることが多く、フロントガラス付近は太陽光の影響を受けて高温になり易い。CCDの撮像性能は、高温下で発生する熱電子の影響を受け易い。CCDが熱電子の影響を受けると撮像画像にノイズが発生する。撮像画像に発生するノイズが多くなると、白線認識部は道路の白線を正確に認識できない可能性がある。白線認識部が白線を正確に認識できないと、車線逸脱防止装置は走行車線の逸脱防止を確実に行うことができなくなる可能性がある。
特許文献1に記載の技術は、高温下で車載カメラが作動しないようにする技術である。この技術は、車載カメラの温度を測定し、測定温度が閾値以上になった場合に車載カメラへの電力供給を停止して、車載カメラの動作を停止させる。これにより、撮像画像に多くのノイズが発生するような高温下で車載カメラが作動するのを防止することができる。
特開2001−88609号公報
しかしながら、車載カメラが停止すると白線認識部は白線を認識することができず、車線逸脱防止装置は車両の車線逸脱を防止することができない。従って、高温下では車線逸脱防止装置の稼動率が低下してしまう。そこで、高温下であってもできるだけ稼働率が低下しない白線認識装置および車線逸脱防止装置が望まれていた。
本発明はこのような実情に鑑みてなされたもので、高温下で車載カメラを必要以上に停止させないことにより、白線認識装置および車線逸脱防止装置の稼動率を向上させることを目的とする。
本発明は、上記課題を解決するために以下の構成を採用した。
なお、本発明における「路面区画マーク」は、路面に表示される区画マークである。「路面区画マーク」は、路面上で車両の走行車線を規定するマークであって一般に車道中央線、車線境界線、車道外側線等と称されるものや、駐車場における駐車エリアを規定するマークを含む。路面区画マークの形態としては、例えば、白線、道路鋲、黄色線、石等で表された路面区画マークを挙げることができる。白線にも複数の形態があり、例えば、長く連続する白線、1〜10メートルにつれて度の線が断続的に続く白線、丸い点が点線状に続く白線(主として米国で走行車線を規定するために用いられており、ボッツドッツと称される)がある。
本発明に係る路面区画マーク認識装置は、
路面の区画マークを認識する路面区画マーク認識装置であって、
路面を撮像する車載カメラと、
複数の種類の路面区画マークにそれぞれ対応する複数の画像処理モードを有しており、上記車載カメラで撮像した路面画像に含まれる路面区画マークの種類を識別し、上記複数の画像処理モードの中から識別した路面区画マークに対応する一つの画像処理モードを選択可能にし、選択された画像処理モードで路面区画マークを認識する画像処理部と、
上記車載カメラの温度を測定する温度測定部と、
上記温度測定部で測定された温度が閾値以上である場合に上記車載カメラの動作を制限する制限部とを備え、
上記閾値は、各上記画像処理モード間で異なることを特徴とする。
本発明によれば、画像処理部は、複数の画像処理モードを有している。画像処理部は、複数の画像処理モードの中から、路面画像に含まれる路面区画マークに対応する1つの画像処理モードを選択する。各画像処理モード間で車載カメラの使用可能温度域(すなわち、正確に路面区画マークを認識できる温度範囲)は異なっている。例えば、長く連続する白線を認識する画像処理モードでの使用可能温度の上限値は、点線状の白線を認識する画像処理モードでの使用可能温度の上限値よりも高い。これは、長く連続する白線を認識する画像処理モードの方が、点線状の白線を認識する画像処理モードよりも、白線認識処理の際に熱ノイズの影響を受け難い(すなわち、熱ノイズに対するロバスト性が高い)からである。
従って、画像処理モード毎に、閾値を車載カメラの使用可能温度の上限値或いはその近傍に合わせることにより、各画像処理モード間で閾値を異ならせることができる。このように各画像処理モード間で閾値を異ならせることにより、高温下で車載カメラを必要以上に停止させずに済み、車載カメラの能力を十分に発揮させ、路面区画マーク認識装置の稼動率を向上させることができる。
本発明においては、
上記制限部は、上記車載カメラへの電力供給を制限することにより、上記車載カメラの動作を制限することが好ましい。
この構成によれば、車載カメラの動作を制限するときに車載カメラへの電力供給を制限するので、節電することができる。
本発明においては、
上記画像処理モードがボッツドッツ認識モードである場合、上記閾値は、上記画像処理モードが区画線認識モードである場合よりも低く設定されることが好ましい。
本発明における「区画線」とは、線状の路面区画マークを指す。例えば、長く連続する白線、1〜10メートル程度の線が断続的に続く白線を指す。区間線は、白線に代えて黄色線であってもよい。本発明における「ボッツドッツ」とは、白色または黄色の丸い点が点線状に続く路面区画マークを指す。
区画線認識モードは、ボッツドッツ認識モードよりも、路面区画マーク認識処理の際に熱ノイズの影響を受け難い(すなわち、熱ノイズに対するロバスト性が高い)。
従って、この構成によれば、区画線認識モードおよびボッツドッツ認識モードにそれぞれ対応した閾値を設定し、各認識モードにおいて車載カメラの能力を十分に発揮させることができる。
上記画像処理部は、路面区画マークの種類を識別した後、上記複数の画像処理モードの中から識別した路面区画マークに対応する一つの画像処理モードを選択することが好ましい。
この構成によれば、画像処理部は、識別した路面区画マークに対応する適切な画像処理モードを選択することができる。よって、ユーザ自らが画像処理モードを選択する操作をする必要がない。
本発明に係る路面区画マーク認識装置は、
路面の区画マークを認識する路面区画マーク認識装置であって、
路面を撮像する車載カメラと、
上記車載カメラで撮像した路面画像に基づいて、周囲と輝度が異なる領域のエッジ点分布を算出し、算出したエッジ点分布に基づいて、路面の汚れ度合いを算出するとともに路面区画マークを認識する画像処理部と、
上記車載カメラの温度を測定する温度測定部と、
上記温度測定部で測定された温度が閾値以上である場合に上記車載カメラの動作を制限する制限部とを備え、
上記閾値は、上記路面の汚れ度合いに応じて設定されることを特徴とする。
本発明によれば、車載カメラの動作を制限するか否かの基準である閾値が、路面の汚れ度合いに応じて設定される。路面の汚れ度合いが小さい方が、路面区画マーク認識処理の際に熱ノイズの影響を受け難い(すなわち、熱ノイズに対するロバスト性が高い)。従って、路面の汚れ度合いが小さい場合には路面の汚れ度合いが大きい場合よりも閾値を高く設定することができる。よって、高温下で車載カメラを必要以上に停止させずに済み、車載カメラの能力を十分に発揮させ、路面区画マーク認識装置の稼動率を向上させることができる。
本発明に係る車線逸脱防止装置は、
車両の走行車線逸脱を防止する車線逸脱防止装置であって、
路面を撮像する車載カメラと、
上記車載カメラで撮像した路面画像に基づいて、走行車線を規定する路面区画マークを認識する画像処理部と、
上記車載カメラの温度を測定する温度測定部と、
上記温度測定部で測定された温度が閾値以上である場合に上記車載カメラの動作を制限する制限部と、
上記画像処理部の認識結果に基づいて車両が走行車線から逸脱する可能性を判定する判定部と、
上記判定部の判定結果に基づいて、車両が走行車線から逸脱しないようにステアリングを制御するステアリング制御部とを備え、
上記ステアリング制御部は、ステアリング軸に与える回転トルクの制御ゲインを変化させることによりステアリングを制御し、
上記閾値は、上記制御ゲインの大きさに応じて設定されることを特徴とする。
本発明によれば、車載カメラの動作を制限するか否かの基準である閾値が、制御ゲインの大きさに応じて設定される。例えば、制御ゲインが小さくなるにつれて閾値が高くなるように閾値を設定することができる。これにより、高温下で車載カメラを必要以上に停止させずに済み、車載カメラの能力を十分に発揮させ、車線逸脱防止装置の稼動率を向上させることができる。
本発明に係る車線逸脱防止装置は、
車両の走行車線逸脱を防止する車線逸脱防止装置であって、
路面を撮像する車載カメラと、
上記車載カメラで撮像した路面画像に基づいて、走行車線を規定する路面区画マークを認識する画像処理部と、
上記車載カメラの温度を測定する温度測定部と、
上記温度測定部で測定された温度が閾値以上である場合に上記車載カメラの動作を制限する制限部と、
上記画像処理部の認識結果に基づいて車両が走行車線から逸脱する可能性を判定する判定部と、
上記判定部の判定結果に基づいて、逸脱する可能性を示す警報を逸脱前に出力する警報出力部とを備え、
上記閾値は、上記警報出力部に設定された警報タイミングに応じて設定されることを特徴とする。
本発明によれば、車載カメラの動作を制限する基準である閾値が、警報タイミングに応じて設定される。警報タイミングが遅い場合には、警報タイミングが早い場合よりも路面区画マークの認識精度が高くなる。その理由は、警報タイミングが早い場合には、警報タイミングが遅い場合に比べて、より前方の路面情報を取得する必要があるので、ノイズの影響をより多く受けてしまうからである。従って、警報タイミングが遅い場合には警報タイミングが早い場合よりも閾値を高く設定することができる。よって、高温下で車載カメラを必要以上に停止させずに済み、車載カメラの能力を十分に発揮させ、車線逸脱防止装置の稼動率を向上させることができる。
本発明においては、
上記警報タイミングは、車両が走行車線を逸脱すると予想される時刻の何秒前に警報を出力するかを示す時間であることが好ましい。
この構成によれば、車線逸脱予想時刻までの時間が短い場合には当該時間が長い場合よりも閾値を高く設定することができる。よって、高温下で車載カメラを必要以上に停止させずに済み、車載カメラの能力を十分に発揮させ、車線逸脱防止装置の稼動率を向上させることができる。
本発明に係る車線逸脱防止装置は、
車両の走行車線逸脱を防止する車線逸脱防止装置であって、
路面を撮像する車載カメラと、
上記車載カメラで撮像した路面画像に基づいて、走行車線を規定する路面区画マークを認識する画像処理部と、
上記車載カメラの温度を測定する温度測定部と、
上記画像処理部の認識結果に基づいて車両が走行車線から逸脱する可能性を判定する判定部と、
上記判定部の判定結果に基づいて、車両が走行車線から逸脱しないようにステアリングを制御するステアリング制御部とを備え、
上記ステアリング制御部は、ステアリング軸に与える回転トルクの制御ゲインを変化させることによりステアリングを制御し、
上記車線逸脱防止装置は、
上記温度測定部で測定された温度に応じて上記制御ゲインを調節する制御ゲイン調節部をさらに備えることを特徴とする。
本発明によれば、制御ゲイン調節部は、車載カメラの温度に応じて制御ゲインを調節する。例えば、車載カメラの温度が高くなるにつれて制御ゲインが小さくなるように、制御ゲインは調節される。これにより、車載カメラが熱ノイズの影響を受けた場合でも、操舵フィーリングを良好な状態に保つことができる。また、高温下で車載カメラを必要以上に停止させずに済むので、車線逸脱防止装置の稼動率を向上させることができる。
本発明においては、
上記制御ゲイン調節部は、上記温度が高くなるにつれて上記制御ゲインを次第に小さくすることが好ましい。
この構成によれば、車載カメラの温度が高くなるにつれて制御ゲインが小さくなる。よって、車載カメラが熱ノイズの影響を受けた場合でも、操舵フィーリングを良好な状態に保つことができる。
本発明に係る車線逸脱防止装置は、
車両の走行車線逸脱を防止する車線逸脱防止装置であって、
路面を撮像する車載カメラと、
上記車載カメラで撮像した路面画像に基づいて、走行車線を規定する路面区画マークを認識する画像処理部と、
上記車載カメラの温度を測定する温度測定部と、
上記画像処理部の認識結果に基づいて車両が走行車線から逸脱する可能性を判定する判定部と、
上記判定部の判定結果に基づいて、逸脱する可能性を示す警報を出力する警報出力部とを備え、
上記車線逸脱防止装置は、
上記温度測定部で測定された温度に応じて上記警報タイミングを調節するタイミング調節部をさらに備えることを特徴とする。
本発明によれば、タイミング調節部は、車載カメラの温度に応じて警報タイミングを調節する。警報タイミングが遅い場合には、警報タイミングが早い場合よりも路面区画マークの認識精度が高くなる。その理由は、警報タイミングが早い場合には、警報タイミングが遅い場合に比べて、より前方の路面情報を取得する必要があるので、ノイズの影響をより多く受けてしまうからである。よって、警報タイミングは、車載カメラの温度が高くなるにつれて警報タイミングが遅くなるように調節される。これにより、車載カメラが熱ノイズの影響を受けた場合でも、誤警報が出力されるのを防止することができる。また、高温下で車載カメラを必要以上に停止させずに済むので、車線逸脱防止装置の稼動率を向上させることができる。
本発明においては、
上記警報タイミングは、車両が走行車線を逸脱すると予想される時刻の何秒前に警報を出力するかを示す時間であり、
上記タイミング調節部は、上記温度が高くなるにつれて上記警報タイミングを次第に短くすることが好ましい。
この構成によれば、車載カメラの温度が高くなるにつれて警報タイミングが次第に短くなる。よって、車載カメラが熱ノイズの影響を受けた場合でも、誤警報が出力されるのを防止することができる。
本発明によれば、高温下で車載カメラを必要以上に停止させずに済むので、車載カメラの能力を十分に発揮させ、路面区画マーク認識装置および車線逸脱防止装置の稼動率を向上させることができる。
<路面区画マーク認識装置(第1、第2実施形態)>
(第1実施形態)
本発明に係る路面区画マーク認識装置の第1実施形態について図面を参照しつつ説明する。
図1は、第1実施形態に係る路面区画マーク認識装置の構成を示すブロック図である。図2は、路面区画マークの例を示す図である。
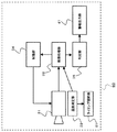
第1実施形態に係る路面区画マーク認識装置1は、走行車線を規定する路面区画マークを認識する装置である。路面区画マーク認識装置1は、例えば車線逸脱防止装置14の一部を構成する。車線逸脱防止装置14は、路面区画マーク認識装置1と、判定部15と、ステアリング制御部12とを備えている。判定部15は、路面区画マーク認識装置1の認識結果に基づいて車両が走行車線から逸脱する可能性を判定する。ステアリング制御部12は、判定部15の判定結果に基づいて、車両が走行車線から逸脱しないようにステアリングを制御する。具体的には、ステアリング制御部12は、ステアリング軸11を回転駆動するパワーステアリングモータ13を制御する。ステアリング制御部12がパワーステアリングモータ13を制御することにより、車線逸脱を防止するようにステアリング軸11に回転トルクが付与される。符号10はステアリングハンドルを示している。
以下、路面区画マーク認識装置1について詳細に説明する。
路面区画マーク認識装置1は、車載カメラ2と、画像処理部3と、温度測定部4と、制限部5とを備える。
車載カメラ2は、車両前方の路面を撮像する。車載カメラ2は、撮像素子として例えばCCD(Charge Coupled Device)を備えている。車載カメラ2は、例えば、車両のフロントガラスの上部車内側付近に配置されており、フロントガラスを介して車両前方を撮像する。
温度測定部4は、車載カメラ2の温度を測定する。
画像処理部3は、車載カメラ2で撮像した路面画像に基づいて、走行車線を規定する路面区画マーク8を認識する。
本実施形態における路面区画マーク8は、路面上で車両の走行車線を規定するマークであって、一般に車道中央線、車線境界線、車道外側線等と称されるものである。路面区画マーク8の形態としては、例えば、白線、道路鋲、黄色線、石等で表された路面区画線を挙げることができる。白線にも複数の形態があり、例えば、図2(A)に示されるように長く連続する白線、図2(B)に示されるように1〜10メートル程度の線が断続的に続く白線、図2(C)に示されるように丸い点が点線状に続く白線(主として米国で用いられており、ボッツドッツと称される)がある。ここで挙げた白線は、一重線であってもよいし、或いは2本の線が互いに近接して平行に延びる二重線であってもよい。
画像処理部3は、路面画像を例えば公知の方法で処理することにより、路面区画マーク8を認識することができる。具体的には、画像処理部3は、路面画像の輝度データに基づいて、周囲と輝度が異なる領域、例えば周囲より輝度が際立って高い領域および周囲より輝度が際立って低い領域の各々のエッジ点分布を算出する。画像処理部3は、算出したエッジ点分布に基づいて、路面の汚れ度合いを算出するとともに路面区画マーク8を認識する。通常、周囲より輝度が際立って高い領域は路面区画マーク8に対応し、周囲より輝度が際立って低い領域は路面の汚れた部分(例えば、コールタール等で補修された部分)に対応する。
画像処理部3は、複数の種類の路面区画マーク8にそれぞれ対応する複数の画像処理モードを有している。画像処理部3は、車載カメラ2で撮像した路面画像に含まれる路面区画マーク8の種類を識別し、複数の画像処理モードの中から識別した種類に対応する一つの画像処理モードを選択し、選択された画像処理モードで路面区画マーク8を認識する。画像処理モードとしては、例えば、区画線認識モード、ボッツドッツ認識モードがある。区画線認識モードには、例えば、走行車線の左右両側に路面区画線が存在する場合の認識モードである両側区画線認識モード、走行車線の左側または右側のいずれか一方に路面区画線が存在する場合の認識モードである片側区画線認識モードがある。
画像処理モード間で車載カメラ2の使用可能温度域(すなわち、正確に路面区画マーク8を認識できる温度範囲)は異なる。例えば、長く連続する白線を認識するモードでの使用可能温度の上限値は、ボッツドッツを認識するモードでの使用可能温度の上限値よりも高い。これは、長く連続する白線を認識するモードの方が、ボッツドッツを認識するモードよりも、白線認識処理の際に熱ノイズの影響を受け難い(すなわち、熱ノイズに対するロバスト性が高い)からである。
制限部5は、温度測定部4で測定された温度が閾値Th以上である場合に車載カメラ2の動作を制限する。閾値Thは、画像処理モード間で異なる。例えば、画像処理モードがボッツドッツ認識モードである場合の閾値Thは、画像処理モードが区画線認識モードである場合の閾値Thよりも低く設定される。画像処理モード毎に、閾値Thを車載カメラ2の使用可能温度の上限値或いはその近傍に合わせることにより、画像処理モード間で閾値Thを異ならせることができる。
制限部5は、例えば、車載カメラ2への電力供給を制限することにより、車載カメラ2の動作を制限する。車載カメラ2への電力供給を停止すれば、車載カメラ2の動作は停止する。
次に、本実施形態に係る路面区画マーク認識装置1の動作について、図3のフローチャートを参照しつつ説明する。
まず、路面区画マーク認識装置1の電源をオンにする(ステップS1)。なお、路面区画マーク認識装置1は、車線逸脱防止装置14等のシステムに組み込まれるものである。よって、通常は、車線逸脱防止装置14等のシステムの電源をオンにすることで、路面区画マーク認識装置1の電源も自動的にオンとなる。
次いで、温度測定部4は、車載カメラ2の温度を測定する(ステップS2)。次いで、車載カメラ2は、車両前方の路面を撮像する(ステップS3)。次いで、画像処理部3は、車載カメラ2で撮像した路面画像に含まれる路面区画マーク8の種類を識別する(ステップS4)。次いで、画像処理部3は、複数の画像処理モードの中から、識別した路面区画マーク8の種類に対応する一つの画像処理モードを選択する(ステップS5)。図3に示される例では、画像処理モードの種類が、区画線認識モード(線状の路面区画マーク8を認識するモード)と、ボッツドッツ認識モード(丸い点が点線状に続く路面区画マーク8を認識するモード)の2種類に設定されているものとする。
選択された画像処理モードがボッツドッツ認識モードである場合、ステップS6において閾値Thはボッツドッツ認識モード用の値に設定される。一方、選択された画像処理モードが区画線認識モードである場合、ステップS7において閾値Thは区画線認識モード用の値に設定される。ボッツドッツ認識モード用の閾値Thは、区画線認識モード用の閾値Thよりも低い値である。
次いで、画像処理部3は、車載カメラ2の温度が閾値Th以上であるか否かを判断する(ステップS8)。車載カメラ2の温度が閾値Th以上である場合、制限部5は、車載カメラ2への電力供給を停止する(ステップS9)。これにより、車載カメラ2は動作を停止し、路面区画マーク認識装置1は処理を終了する。一方、車載カメラ2の温度が閾値Th未満である場合、画像処理部3は、選択された画像処理モードで路面区画マーク8を認識する(ステップS10)。次いで、路面区画マーク認識装置1の電源がオフにされたかどうかが判断される(ステップS11)。電源がオフにされなかった場合は、ステップS2に戻る。一方、電源がオフにされた場合は、路面区画マーク認識装置1は処理を終了する。通常は、車線逸脱防止装置14等のシステムの電源をオフにすることで、路面区画マーク認識装置1の電源も自動的にオフとなる。以上が、路面区画マーク認識装置1の動作である。
以上説明したように、路面区画マーク認識装置1は画像処理モード間で閾値Thを異ならせる。画像処理モード毎に、閾値Thを車載カメラ2の使用可能温度の上限値或いはその近傍に合わせることにより、画像処理モード間で閾値Thを異ならせることができる。これにより、高温下で車載カメラ2を必要以上に停止させずに済み、車載カメラ2の能力を十分に発揮させ、路面区画マーク認識装置1の稼動率を向上させることができる。
(第2実施形態)
本発明の第2実施形態に係る路面区画マーク認識装置について、図面を参照しつつ説明する。図4は、第2実施形態に係る路面区画マーク認識装置の構成を示すブロック図である。
第2実施形態に係る路面区間マーク認識装置20が第1実施形態と異なる点は、画像処理部3が画像処理部21に置換されている点と、制限部5が制限部22に置換されている点であり、その他の構成は第1実施形態と同様である。第1実施形態と同じ構成については、第1実施形態と同じ参照符号を付してその説明を省略する。
第2実施形態における画像処理部21は、車載カメラ2で撮像した路面画像に基づいて、周囲と輝度が異なる領域のエッジ点分布を算出する。さらに、画像処理部21は、算出したエッジ点分布に基づいて、路面の汚れ度合いを算出するとともに路面区画マーク8を認識する。つまり、第2実施形態は、画像処理部21が路面の汚れ具合を算出する点が第1実施形態と異なっている。
第2実施形態における制限部22は、温度測定部4で測定された温度が閾値Th2以上である場合に車載カメラ2の動作を制限する。
温度測定部4で測定された温度が閾値Th2以上であるか否かは、画像処理部21で判断することができる。閾値Th2は、路面の汚れ度合いに応じて設定される。路面の汚れ度合いが小さい場合の方が、路面の汚れ度合いが大きい場合よりも、路面区画マーク認識処理の際に熱ノイズの影響を受け難い(すなわち、熱ノイズに対するロバスト性が高い)。従って、路面の汚れ度合いが小さい場合には路面の汚れ度合いが大きい場合よりも閾値Th2を高く設定することができる。例えば、図5のグラフに示されるように、路面の汚れ度合いが第1の値Y1になるまでは閾値Th2を一定とし、路面の汚れ度合いがY1を超えると閾値Th2を次第に小さくし、路面の汚れ度合いが第2の値Y2(Y1<Y2)を超えると閾値Th2を一定にすることができる。図5に示される例では、閾値Th2が次第に小さくなる区間において、閾値Th2は一次関数的に減少している。
次に、本実施形態に係る路面区画マーク認識装置20の動作について、図6のフローチャートを参照しつつ説明する。
まず、路面区画マーク認識装置20の電源をオンにする(ステップS1)。なお、路面区画マーク認識装置20は、車線逸脱防止装置14等のシステムに組み込まれるものである。よって、車線逸脱防止装置14等のシステムの電源をオンにすることで、路面区画マーク認識装置20の電源も自動的にオンとなる。
次いで、温度測定部4は、車載カメラ2の温度を測定する(ステップS2)。次いで、車載カメラ2は、車両前方の路面を撮像する(ステップS3)。次いで、画像処理部3は、車載カメラ2で撮像した路面画像に基づき、路面の汚れ度合いを算出する(ステップS4)。次いで、画像処理部3は、路面の汚れ度合いに応じて閾値Th2の値を設定する(ステップS5)。
次いで、画像処理部3は、車載カメラ2の温度が閾値Th2以上であるか否かを判断する(ステップS6)。車載カメラ2の温度が閾値Th2以上である場合、制限部22は、車載カメラ2への電力供給を停止する(ステップS7)。これにより、車載カメラ2は動作を停止し、路面区画マーク認識装置20は処理を終了する。一方、車載カメラ2の温度が閾値Th2未満である場合、画像処理部3は、路面区画マーク8を認識する(ステップS8)。次いで、路面区画マーク認識装置20の電源がオフにされたかどうかが判断される(ステップS9)。電源がオフにされなかった場合は、ステップS2に戻る。一方、電源がオフにされた場合は、路面区画マーク認識装置20は処理を終了する。車線逸脱防止装置14等のシステムの電源をオフにすることで、路面区画マーク認識装置20の電源も自動的にオフとなる。以上が、路面区画マーク認識装置20の動作である。
以上説明したように、路面区画マーク認識装置20では、車載カメラ2の動作を制限するか否かの基準である閾値Th2が、路面の汚れ度合いに応じて設定される。路面の汚れ度合いが小さい場合の方が、路面の汚れ度合いが大きい場合よりも、路面区画マーク認識処理の際に熱ノイズの影響を受け難い。従って、路面の汚れ度合いが小さい場合には路面の汚れ度合いが大きい場合よりも閾値Th2を高く設定することができる。よって、高温下で車載カメラ2を必要以上に停止させずに済み、車載カメラ2の能力を十分に発揮させ、路面区画マーク認識装置20の稼動率を向上させることができる。
なお、上記第1〜第2実施形態では路面区画マークが走行車線を規定するマークである場合について説明したが、各実施形態においては路面区画マークが駐車場の駐車区画を規定するマークであってもよい。この場合、路面区画マーク認識装置は、駐車場の駐車区画を認識するための装置となる。
また、上記第1〜第2実施形態では車載カメラが車両前方の路面を撮像する場合について説明したが、各実施形態においては車載カメラが車両後方や車両側方の路面を撮像してもよい。車載カメラが車両後方の路面を撮像する場合、路面区画マーク認識装置を駐車場の駐車区画を認識する装置とすることができる。
また、上記第1〜第2実施形態では画像処理部が複数の画像処理モードの中から一つの画像処理モードを選択する場合について説明したが、各実施形態においては複数の画像処理モードの中から一つの画像処理モードをユーザが選択できるよう画像処理部を構成してもよい。すなわち、画像処理部は、車載カメラで撮像した路面画像に含まれる路面区画マークの種類を識別し、複数の画像処理モードの中から識別した路面区画マークに対応する一つの画像処理モードをユーザが選択できるようにし、ユーザが選択した画像処理モードで路面区画マークを認識するように構成されてもよい。この場合、画像処理部が識別した路面区画マークの種類がユーザに表示部等を介して報知され、ユーザは報知された路面区画マークの種類に基づいて当該種類に対応する一つの画像処理モードを選択する。画像処理部は、ユーザに選択された画像処理モードで路面区画マークを認識する。
<車線逸脱防止装置(第1〜第4実施形態)>
(第1実施形態)
本発明に係る車線逸脱防止装置の第1実施形態について図面を参照しつつ説明する。
図7は、第1実施形態に係る車線逸脱防止装置の構成を示すブロック図である。
第1実施形態に係る車線逸脱防止装置30は、車両の走行車線逸脱を防止する装置である。
車線逸脱防止装置30は、車載カメラ31と、画像処理部32と、温度測定部33と、制限部34と、判定部35と、ステアリング制御部36とを備える。
車載カメラ31は、車両前方の路面を撮像する。車載カメラ31は、撮像素子として例えばCCD(Charge Coupled Device)を備えている。車載カメラ31は、例えば、車両のフロントガラスの上部車内側付近に配置されており、フロントガラスを介して車両前方を撮像する。
温度測定部33は、車載カメラ31の温度を測定する。
画像処理部32は、車載カメラ31で撮像した路面画像に基づいて、走行車線を規定する路面区画マーク8を認識する。
本実施形態における路面区画マーク8は、上記したように、路面上で車両の走行車線を規定するマークであって、一般に車道中央線、車線境界線、車道外側線等と称されるものである。
画像処理部32は、車載カメラ31で撮像した路面画像に基づいて、走行車線を規定する路面区画マーク8を認識する。画像処理部32は、路面画像を例えば公知の方法で処理して路面区画マーク8を認識することができる。具体的には、画像処理部32は、路面画像の輝度データに基づいて、周囲と輝度が異なる領域、例えば周囲より輝度が際立って高い領域のエッジ点分布を算出する。画像処理部3は、算出したエッジ点分布に基づいて、路面区画マーク8を認識する。
制限部34は、温度測定部33で測定された温度が閾値Th3以上である場合に車載カメラ31の動作を制限する。制限部34は、例えば、車載カメラ31への電力供給を制限することにより、車載カメラ31の動作を制限する。車載カメラ31への電力供給を停止すれば、車載カメラ31の動作は停止する。
判定部35は、画像処理部32の認識結果に基づいて車両が走行車線から逸脱する可能性を判定する。
ステアリング制御部36は、判定部35の判定結果に基づいて、車両が走行車線から逸脱しないようにステアリングを制御する。具体的には、ステアリング制御部36は、ステアリング軸11を回転駆動するパワーステアリングモータ13を制御する。ステアリング制御部36がパワーステアリングモータ13を制御することにより、車線逸脱を防止するようにステアリング軸11に回転トルクが付与される。符号10はステアリングハンドルを示している。ステアリング制御部36は、ステアリング軸11に与える回転トルクの制御ゲインGを変化させることにより回転トルクを制御する。制御ゲインGは、ステアリング軸11に与える回転トルクの制御パラメータである。ステアリング軸11に与える回転トルクをTrとしたとき、Trは例えば(式1)で表すことができる。なお、ドライバの操舵力を拡大するパワーステアリング機構については、説明を省略する。
Tr=T×G ・・・(式1)
ここで、Tはステアリング制御部36の指示によってステアリング軸11に与えられる回転トルクTrの最大値である。制御ゲインGは、例えば車速やドライバの操舵力に応じて0〜1の間で変化させることができる。具体的には、車速が大きくなるにつれて制御ゲインGを次第に小さくすることができる。これは、車速が大きいときには、少しの回転トルクを付与するだけで、ステアリング制御部36の操舵方向に車両の位置が大きく変位するからである。また、ドライバの操舵力が大きくなるにつれて制御ゲインGを次第に小さくすることができる。これは、ドライバの操舵力が大きいときには、少しの回転トルクを付与するだけで、十分な角度で操舵がなされるからである。なお、車速は車速センサ(図示せず)によって検知され、ドライバの操舵力は操舵力センサ(図示せず)によって検知される。
閾値Th3は、制御ゲインGの大きさに応じて設定される。例えば、制御ゲインGが小さくなるにつれて閾値Th3が次第に高くなるように制御ゲインGは設定される。これは、制御ゲインGが小さくなるにつれて、車載カメラ31が熱ノイズの影響を受けた場合の操舵フィーリングの悪化度合いが小さくなるからである。
次に、本実施形態に係る車線逸脱防止装置30の動作について、図8のフローチャートを参照しつつ説明する。
まず、車線逸脱防止装置30の電源をオンにする(ステップS1)。次いで、温度測定部33は、車載カメラ31の温度を測定する(ステップS2)。次いで、車速やドライバの操舵力に応じて制御ゲインGが設定される(ステップS3)。次いで、制御ゲインGに応じて閾値Th3が設定される(ステップS4)。
次いで、画像処理部32は、車載カメラ31の温度が閾値Th3以上であるか否かを判断する(ステップS5)。車載カメラ31の温度が閾値Th3以上である場合、制限部34は、車載カメラ31への電力供給を停止する(ステップS6)。これにより、車載カメラ31は動作を停止し、車線逸脱防止装置30は処理を終了する。一方、車載カメラ31の温度が閾値Th3未満である場合、画像処理部32は、路面区画マーク8を認識する(ステップS7)。次いで、車線逸脱防止装置30の電源がオフにされたかどうかが判断される(ステップS8)。電源がオフにされなかった場合は、ステップS2に戻る。一方、電源がオフにされた場合は、車線逸脱防止装置30は処理を終了する。以上が、車線逸脱防止装置30の動作である。
以上説明したように、本実施形態によれば、車載カメラ31の動作を制限するか否かの基準である閾値Th3が、制御ゲインGの大きさに応じて設定される。例えば、制御ゲインGが小さくなるにつれて閾値Th3を高く設定することができる。これにより、高温下で車載カメラ31を必要以上に停止させずに済み、車載カメラ31の能力を十分に発揮させ、車線逸脱防止装置30の稼動率を向上させることができる。
(第2実施形態)
本発明に係る車線逸脱防止装置の第2実施形態について図面を参照しつつ説明する。
図9は、第2実施形態に係る車線逸脱防止装置の構成を示すブロック図である。
第2実施形態に係る車線逸脱防止装置40が第1実施形態と異なる点は、ステアリング制御部36がなく、警報出力部41が設けられている点であり、その他の構成は第1実施形態と同様である。第1実施形態と同じ構成については、第1実施形態と同じ参照符号を付してその説明を省略する。
警報出力部41は、判定部35の判定結果に基づいて、車両が走行車線から逸脱する可能性を示す警報を逸脱前に出力する。
制限部34は、温度測定部33で測定された温度が閾値Th4以上である場合に車載カメラ31の動作を制限する。制限部34は、例えば、車載カメラ31への電力供給を制限することにより、車載カメラ31の動作を制限する。閾値Th4は、警報出力部41に設定された警報タイミングTに応じて設定される。警報タイミングTは、車両が走行車線を逸脱すると予想される時刻の何秒前に警報を出力するかを示す時間である。警報タイミングTは、車速や道路幅に応じて設定することができる。例えば、車速が大きくなるにつれて、警報タイミングTは短く設定される。また、道路幅が狭くなるにつれて、警報タイミングTは短く設定される。警報タイミングTが短くなる(つまり、警報時刻が遅くなる)につれて、路面区画マーク8の認識精度が高くなる。その理由は、警報タイミングTが長い(つまり、警報時刻が早い)場合には、警報タイミングTが短い場合に比べて、より前方の路面情報を取得する必要があるので、ノイズの影響をより多く受けてしまうからである。従って、警報タイミングTが短くなるにつれて閾値Th4を次第に高く設定することができる。
図10は、警報タイミングTと閾値Th4の関係の一例を示すグラフである。図10に示される例では、警報タイミングTが0.5秒になるまで閾値Th4は一定であり、警報タイミングTが0.5〜1.0秒になるまでは閾値Th4は次第に低下し、警報タイミングTが1.0秒を超えると閾値Th4は一定になっている。図10に示される例では、警報タイミングTが0.5〜1.0秒の区間で閾値Th4は一次関数的に低下している。
次に、本実施形態に係る車線逸脱防止装置40の動作について、図11のフローチャートを参照しつつ説明する。
まず、車線逸脱防止装置40の電源をオンにする(ステップS1)。次いで、温度測定部33は、車載カメラ31の温度を測定する(ステップS2)。次いで、車速や道路幅に応じて警報タイミングTが設定される(ステップS3)。次いで、警報タイミングTに応じて閾値Th4が設定される(ステップS4)。
次いで、画像処理部32は、車載カメラ31の温度が閾値Th4以上であるか否かを判断する(ステップS5)。車載カメラ31の温度が閾値Th4以上である場合、制限部34は、車載カメラ31への電力供給を停止する(ステップS6)。これにより、車載カメラ31は動作を停止し、車線逸脱防止装置40は処理を終了する。一方、車載カメラ31の温度が閾値Th4未満である場合、画像処理部32は、路面区画マーク8を認識する(ステップS7)。次いで、車線逸脱防止装置40の電源がオフにされたかどうかが判断される(ステップS8)。電源がオフにされなかった場合は、ステップS2に戻る。一方、電源がオフにされた場合は、車線逸脱防止装置40は処理を終了する。以上が、車線逸脱防止装置40の動作である。
以上説明したように、本実施形態によれば、車載カメラ31の動作を制限する基準である閾値Th4が、警報タイミングTに応じて設定される。警報タイミングTが短い場合には、警報タイミングTが長い場合よりも路面区画マーク8の認識精度が高くなる。従って、警報タイミングTが短い場合には警報タイミングTが長い場合よりも閾値Th4を高く設定することができる。よって、高温下で車載カメラ31を必要以上に停止させずに済み、車載カメラ31の能力を十分に発揮させ、車線逸脱防止装置40の稼動率を向上させることができる。
(第3実施形態)
本発明に係る車線逸脱防止装置の第3実施形態について図面を参照しつつ説明する。
図12は、第3実施形態に係る車線逸脱防止装置の構成を示すブロック図である。
第3実施形態に係る車線逸脱防止装置50が第1実施形態と異なる点は、制御ゲイン調節部51が設けられている点であり、その他の構成は第1実施形態と同様である。第1実施形態と同じ構成については、第1実施形態と同じ参照符号を付してその説明を省略する。
制御ゲイン調節部51は、温度測定部33で測定された温度に応じて制御ゲインGを調節する。例えば、車載カメラ31の温度が高くなるにつれて制御ゲインGが小さくなるように、制御ゲインGは調節される。これにより、車載カメラ31が熱ノイズの影響を受けた場合でも、操舵フィーリングを良好な状態に保つことができる。なお、車載カメラ31の動作は制限してもよいし、或いは制限しなくてもよい。
次に、本実施形態に係る車線逸脱防止装置50の動作について、図13のフローチャートを参照しつつ説明する。
まず、車線逸脱防止装置50の電源をオンにする(ステップS1)。次いで、温度測定部33は、車載カメラ31の温度を測定する(ステップS2)。次いで、車速、ドライバの操舵力、および車載カメラ31の温度に応じて制御ゲインGが設定される(ステップS3)。次いで、制御ゲインGに応じて閾値Th5が設定される(ステップS4)。
次いで、画像処理部32は、車載カメラ31の温度が閾値Th5以上であるか否かを判断する(ステップS5)。車載カメラ31の温度が閾値Th5以上である場合、制限部34は、車載カメラ31への電力供給を停止する(ステップS6)。これにより、車載カメラ31は動作を停止し、車線逸脱防止装置50は処理を終了する。一方、車載カメラ31の温度が閾値Th5未満である場合、画像処理部32は、路面区画マーク8を認識する(ステップS7)。次いで、車線逸脱防止装置50の電源がオフにされたかどうかが判断される(ステップS8)。電源がオフにされなかった場合は、ステップS2に戻る。一方、電源がオフにされた場合は、車線逸脱防止装置50は処理を終了する。以上が、車線逸脱防止装置50の動作である。
なお、図13に示される例では閾値Th5を設定し、車載カメラ31の温度が閾値Th5以上である場合に車載カメラ31を停止させたが、本実施形態では、閾値Th5を設定せず、車載カメラ31を制限部34によって停止させなくてもよい。
以上説明したように、本実施形態によれば、制御ゲイン調節部51は、車載カメラ31の温度に応じて制御ゲインGを調節する。例えば、車載カメラ31の温度が高くなるにつれて制御ゲインGが小さくなるように、制御ゲインGは調節される。これにより、車載カメラ31が熱ノイズの影響を受けた場合でも、操舵フィーリングを良好な状態に保つことができる。また、高温下で車載カメラ31を必要以上に停止させずに済むので、車線逸脱防止装置50の稼動率を向上させることができる。
(第4実施形態)
本発明に係る車線逸脱防止装置の第4実施形態について図面を参照しつつ説明する。
図14は、第4実施形態に係る車線逸脱防止装置の構成を示すブロック図である。
第4実施形態に係る車線逸脱防止装置60が第2実施形態と異なる点は、タイミング調節部61が設けられている点であり、その他の構成は第2実施形態と同様である。第2実施形態と同じ構成については、第2実施形態と同じ参照符号を付してその説明を省略する。
タイミング調節部61は、温度測定部33で測定された温度に応じて警報タイミングTを調節する。警報タイミングTが短い場合には、警報タイミングTが長い場合よりも路面区画マーク8の認識精度が高くなる。その理由は、警報タイミングTが長い場合には、警報タイミングTが短い場合に比べて、より前方の路面情報を取得する必要があるので、ノイズの影響をより多く受けてしまうからである。よって、警報タイミングTは、車載カメラ31の温度が高くなるにつれて警報タイミングTが短くなるように調節される。これにより、車載カメラ31が熱ノイズの影響を受けた場合でも、誤警報が出力されるのを防止することができる。
次に、本実施形態に係る車線逸脱防止装置60の動作について、図15のフローチャートを参照しつつ説明する。
まず、車線逸脱防止装置60の電源をオンにする(ステップS1)。次いで、温度測定部33は、車載カメラ31の温度を測定する(ステップS2)。次いで、車速、道路幅、および温度測定部33で測定された温度に応じて警報タイミングTが設定される(ステップS3)。次いで、警報タイミングTに応じて閾値Th6が設定される(ステップS4)。
次いで、画像処理部32は、車載カメラ31の温度が閾値Th6以上であるか否かを判断する(ステップS5)。車載カメラ31の温度が閾値Th6以上である場合、制限部34は、車載カメラ31への電力供給を停止する(ステップS6)。これにより、車載カメラ31は動作を停止し、車線逸脱防止装置60は処理を終了する。一方、車載カメラ31の温度が閾値Th6未満である場合、画像処理部32は、路面区画マーク8を認識する(ステップS7)。次いで、車線逸脱防止装置60の電源がオフにされたかどうかが判断される(ステップS8)。電源がオフにされなかった場合は、ステップS2に戻る。一方、電源がオフにされた場合は、車線逸脱防止装置60は処理を終了する。以上が、車線逸脱防止装置60の動作である。
なお、図13に示される例では閾値Th6を設定し、車載カメラ31の温度が閾値Th6以上である場合に車載カメラ31を停止させたが、本実施形態では、閾値Th6を設定せず、車載カメラ31を制限部34によって停止させなくてもよい。
以上説明したように、本実施形態によれば、タイミング調節部61は、車載カメラ31の温度に応じて警報タイミングTを調節する。警報タイミングTが短い場合には、警報タイミングTが長い場合よりも路面区画マーク8の認識精度が高くなる。よって、警報タイミングTは、車載カメラ31の温度が高くなるにつれて警報タイミングTが短くなるように調節される。これにより、車載カメラ31が熱ノイズの影響を受けた場合でも、誤警報が出力されるのを防止することができる。また、高温下で車載カメラ31を必要以上に停止させずに済むので、車線逸脱防止装置60の稼動率を向上させることができる。
本発明は、高温下で使用されることがある白線認識装置および車線逸脱防止装置等に利用可能である。
本発明の第1実施形態に係る路面区画マーク認識装置の構成を示すブロック図 路面上の路面区画マークの例を示す図 本発明の第1実施形態に係る路面区画マーク認識装置の動作を示すフローチャート 本発明の第2実施形態に係る路面区画マーク認識装置の構成を示すブロック図 本発明の第2実施形態における路面の汚れ度合いと閾値の関係の一例を示すグラフ 本発明の第2実施形態に係る路面区画マーク認識装置の動作を示すフローチャート 本発明の第1実施形態に係る車線逸脱防止装置の構成を示すブロック図 本発明の第1実施形態に係る車線逸脱防止装置の動作を示すフローチャート 本発明の第2実施形態に係る車線逸脱防止装置の構成を示すブロック図 本発明の第2実施形態における警報タイミングと閾値の関係の一例を示すグラフ 本発明の第2実施形態に係る車線逸脱防止装置の動作を示すフローチャート 本発明の第3実施形態に係る車線逸脱防止装置の構成を示すブロック図 本発明の第3実施形態に係る車線逸脱防止装置の動作を示すフローチャート 本発明の第4実施形態に係る車線逸脱防止装置の構成を示すブロック図 本発明の第4実施形態に係る車線逸脱防止装置の動作を示すフローチャート
符号の説明
1、20 路面区画マーク認識装置
2、31 車載カメラ
3、21、32 画像処理部
4、33 温度測定部
5、22、34 制限部
6、35 判定部
7、36 ステアリング制御部
8 路面区画マーク
9 車線
10 ステアリング
11 ステアリング軸
30、40、50、60 車線逸脱防止装置
41 警報出力部
51 制御ゲイン調節部
61 タイミング調節部

Claims (12)

  1. 路面の区画マークを認識する路面区画マーク認識装置であって、
    路面を撮像する車載カメラと、
    複数の種類の路面区画マークにそれぞれ対応する複数の画像処理モードを有しており、前記車載カメラで撮像した路面画像に含まれる路面区画マークの種類を識別し、前記複数の画像処理モードの中から識別した路面区画マークに対応する一つの画像処理モードを選択可能にし、選択された画像処理モードで路面区画マークを認識する画像処理部と、
    前記車載カメラの温度を測定する温度測定部と、
    前記温度測定部で測定された温度が閾値以上である場合に前記車載カメラの動作を制限する制限部とを備え、
    前記閾値は、各前記画像処理モード間で異なることを特徴とする路面区画マーク認識装置。
  2. 前記制限部は、前記車載カメラへの電力供給を制限することにより、前記車載カメラの動作を制限することを特徴とする請求項1に記載の路面区画マーク認識装置。
  3. 前記画像処理モードがボッツドッツ認識モードである場合、前記閾値は、前記画像処理モードが区画線認識モードである場合よりも低く設定されることを特徴とする請求項1又は2に記載の路面区画マーク認識装置。
  4. 前記画像処理部は、路面区画マークの種類を識別した後、前記複数の画像処理モードの中から識別した路面区画マークに対応する一つの画像処理モードを選択することを特徴とする請求項1乃至3いずれか1項に記載の路面区画マーク認識装置。
  5. 路面の区画マークを認識する路面区画マーク認識装置であって、
    路面を撮像する車載カメラと、
    前記車載カメラで撮像した路面画像に基づいて、周囲と輝度が異なる領域のエッジ点分布を算出し、算出したエッジ点分布に基づいて、路面の汚れ度合いを算出するとともに路面区画マークを認識する画像処理部と、
    前記車載カメラの温度を測定する温度測定部と、
    前記温度測定部で測定された温度が閾値以上である場合に前記車載カメラの動作を制限する制限部とを備え、
    前記閾値は、前記路面の汚れ度合いに応じて設定されることを特徴とする路面区画マーク認識装置。
  6. 車両の走行車線逸脱を防止する車線逸脱防止装置であって、
    路面を撮像する車載カメラと、
    前記車載カメラで撮像した路面画像に基づいて、走行車線を規定する路面区画マークを認識する画像処理部と、
    前記車載カメラの温度を測定する温度測定部と、
    前記温度測定部で測定された温度が閾値以上である場合に前記車載カメラの動作を制限する制限部と、
    前記画像処理部の認識結果に基づいて車両が走行車線から逸脱する可能性を判定する判定部と、
    前記判定部の判定結果に基づいて、車両が走行車線から逸脱しないようにステアリングを制御するステアリング制御部とを備え、
    前記ステアリング制御部は、ステアリング軸に与える回転トルクの制御ゲインを変化させることによりステアリングを制御し、
    前記閾値は、前記制御ゲインの大きさに応じて設定されることを特徴とする車線逸脱防止装置。
  7. 車両の走行車線逸脱を防止する車線逸脱防止装置であって、
    路面を撮像する車載カメラと、
    前記車載カメラで撮像した路面画像に基づいて、走行車線を規定する路面区画マークを認識する画像処理部と、
    前記車載カメラの温度を測定する温度測定部と、
    前記温度測定部で測定された温度が閾値以上である場合に前記車載カメラの動作を制限する制限部と、
    前記画像処理部の認識結果に基づいて車両が走行車線から逸脱する可能性を判定する判定部と、
    前記判定部の判定結果に基づいて、逸脱する可能性を示す警報を逸脱前に出力する警報出力部とを備え、
    前記閾値は、前記警報出力部に設定された警報タイミングに応じて設定されることを特徴とする車線逸脱防止装置。
  8. 前記警報タイミングは、車両が走行車線を逸脱すると予想される時刻の何秒前に警報を出力するかを示す時間であることを特徴とする請求項7に記載の車線逸脱防止装置。
  9. 車両の走行車線逸脱を防止する車線逸脱防止装置であって、
    路面を撮像する車載カメラと、
    前記車載カメラで撮像した路面画像に基づいて、走行車線を規定する路面区画マークを認識する画像処理部と、
    前記車載カメラの温度を測定する温度測定部と、
    前記画像処理部の認識結果に基づいて車両が走行車線から逸脱する可能性を判定する判定部と、
    前記判定部の判定結果に基づいて、車両が走行車線から逸脱しないようにステアリングを制御するステアリング制御部とを備え、
    前記ステアリング制御部は、ステアリング軸に与える回転トルクの制御ゲインを変化させることによりステアリングを制御し、
    前記車線逸脱防止装置は、
    前記温度測定部で測定された温度に応じて前記制御ゲインを調節する制御ゲイン調節部をさらに備えることを特徴とする車線逸脱防止装置。
  10. 前記制御ゲイン調節部は、前記温度が高くなるにつれて前記制御ゲインを次第に小さくすることを特徴とする請求項9に記載の車線逸脱防止装置。
  11. 車両の走行車線逸脱を防止する車線逸脱防止装置であって、
    路面を撮像する車載カメラと、
    前記車載カメラで撮像した路面画像に基づいて、走行車線を規定する路面区画マークを認識する画像処理部と、
    前記車載カメラの温度を測定する温度測定部と、
    前記画像処理部の認識結果に基づいて車両が走行車線から逸脱する可能性を判定する判定部と、
    前記判定部の判定結果に基づいて、逸脱する可能性を示す警報を出力する警報出力部とを備え、
    前記車線逸脱防止装置は、
    前記温度測定部で測定された温度に応じて前記警報タイミングを調節するタイミング調節部をさらに備えることを特徴とする車線逸脱防止装置。
  12. 前記警報タイミングは、車両が走行車線を逸脱すると予想される時刻の何秒前に警報を出力するかを示す時間であり、
    前記タイミング調節部は、前記温度が高くなるにつれて前記警報タイミングを次第に短くすることを特徴とする請求項11に記載の車線逸脱防止装置。
JP2008229938A 2008-09-08 2008-09-08 路面区画マーク認識装置および車線逸脱防止装置 Active JP4849346B2 (ja)

Priority Applications (4)

Application Number Priority Date Filing Date Title
JP2008229938A JP4849346B2 (ja) 2008-09-08 2008-09-08 路面区画マーク認識装置および車線逸脱防止装置
US12/554,434 US8265872B2 (en) 2008-09-08 2009-09-04 Road surface division mark recognition apparatus, and lane departure prevention apparatus
DE102009029243A DE102009029243B4 (de) 2008-09-08 2009-09-07 Fahrbahntrennungsmarkierung-Erkennungsvorrichtung und Fahrspurabweichung-Verhinderungsvorrichtung
US13/564,078 US8392115B2 (en) 2008-09-08 2012-08-01 Road surface division mark recognition apparatus, and lane departure prevention apparatus

Applications Claiming Priority (1)

Application Number Priority Date Filing Date Title
JP2008229938A JP4849346B2 (ja) 2008-09-08 2008-09-08 路面区画マーク認識装置および車線逸脱防止装置

Publications (2)

Publication Number Publication Date
JP2010064513A true JP2010064513A (ja) 2010-03-25
JP4849346B2 JP4849346B2 (ja) 2012-01-11

Family

ID=41795211

Family Applications (1)

Application Number Title Priority Date Filing Date
JP2008229938A Active JP4849346B2 (ja) 2008-09-08 2008-09-08 路面区画マーク認識装置および車線逸脱防止装置

Country Status (3)

Country Link
US (2) US8265872B2 (ja)
JP (1) JP4849346B2 (ja)
DE (1) DE102009029243B4 (ja)

Cited By (9)

* Cited by examiner, † Cited by third party
Publication number Priority date Publication date Assignee Title
JP2012103748A (ja) * 2010-11-05 2012-05-31 Denso Corp 道路区画線認識装置
WO2013161389A1 (ja) * 2012-04-26 2013-10-31 株式会社デンソー 車載カメラ制御装置
JP2014512303A (ja) * 2011-04-14 2014-05-22 コンティ テミック マイクロエレクトロニック ゲゼルシャフト ミット ベシュレンクテル ハフツング 内部温度センサーによる車両ガラス上の氷の検出
WO2014148324A1 (ja) * 2013-03-22 2014-09-25 株式会社デンソー 車両制御装置
KR101827707B1 (ko) * 2016-05-24 2018-03-22 현대자동차주식회사 차량용 카메라 장치, 그를 포함하는 차량 및 차량용 카메라의 제어방법
KR20210004917A (ko) * 2014-03-31 2021-01-13 팅크웨어(주) 전자 장치 및 그의 제어 방법
WO2021044456A1 (ja) * 2019-09-02 2021-03-11 三菱電機株式会社 車載用カメラの電源制御装置及び電源制御方法
CN113762272A (zh) * 2021-09-10 2021-12-07 北京精英路通科技有限公司 道路信息的确定方法、装置和电子设备
CN117378604A (zh) * 2014-02-28 2024-01-12 组合化学工业株式会社 茎叶处理用农药组合物

Families Citing this family (13)

* Cited by examiner, † Cited by third party
Publication number Priority date Publication date Assignee Title
JP4708443B2 (ja) 2008-01-31 2011-06-22 トヨタ自動車株式会社 作動制御マップおよび白線認識装置
JP4992990B2 (ja) * 2010-02-24 2012-08-08 株式会社デンソー 区画線検出装置
ES2402422B1 (es) * 2011-09-07 2014-03-11 Manuel MUÑOZ SÁIZ Sistema de conducción automática y de avisos de zonas de velocidad reducida para vehiculos mejorado
DE102012005400B4 (de) * 2012-03-16 2024-09-05 Connaught Electronics Ltd. Kamerasystem für ein Kraftfahrzeug, Kraftfahrzeug und Verfahren zum Betreiben eines Kamerasystems in einem Kraftfahrzeug
KR20140044970A (ko) 2012-09-13 2014-04-16 한국전자통신연구원 접근 제어 목록을 이용한 공격 차단 제어 방법 및 그 장치
KR20140047894A (ko) * 2012-10-15 2014-04-23 현대모비스 주식회사 차체 진동 경감 장치 및 방법
DE102012024658A1 (de) * 2012-12-17 2014-06-18 Connaught Electronics Ltd. Verfahren zum Einstellen einer Bildrate einer Kamera, Kamera und Kraftfahrzeug
DE102014106034B4 (de) * 2014-04-30 2022-02-10 Connaught Electronics Ltd. Verfahren zum Versetzen eines Bildsensors einer Fahrzeugkamera eines Kraftfahrzeugs in einen Bildaufnahmezustand, Kamerasystem sowie Kraftfahrzeug
JP6303974B2 (ja) 2014-10-22 2018-04-04 株式会社デンソー 車載カメラ装置及び車載システム
CN105721764B (zh) * 2014-12-17 2019-03-15 日本电产科宝株式会社 车载用图像识别装置以及其制造方法
US9443426B1 (en) 2015-11-13 2016-09-13 Byron Paul Formwalt Method and device for sensing traffic flow and notifying motor vehicle drivers of the same
DE102017208663B4 (de) * 2016-06-09 2024-12-05 Conti Temic Microelectronic Gmbh Umgebungserfassende Vorrichtung sowie Kraftfahrzeug mit einer solchen umgebungserfassenden Vorrichtung
CN106971144B (zh) * 2017-02-28 2020-06-16 北京航空航天大学 一种应用Visual Graph算法提取道路中线的方法

Citations (4)

* Cited by examiner, † Cited by third party
Publication number Priority date Publication date Assignee Title
JP2001088609A (ja) * 1999-09-22 2001-04-03 Fuji Heavy Ind Ltd 車載カメラの電源制御方法ならびに装置
JP2003228711A (ja) * 2001-11-30 2003-08-15 Hitachi Ltd レーンマーク認識方法
JP2008030619A (ja) * 2006-07-28 2008-02-14 Toyota Motor Corp 道路区画線種別判定装置、及び、道路区画線認識装置
JP2008165610A (ja) * 2006-12-28 2008-07-17 Toyota Motor Corp 道路区画線認識装置

Family Cites Families (12)

* Cited by examiner, † Cited by third party
Publication number Priority date Publication date Assignee Title
JP3346189B2 (ja) * 1996-10-24 2002-11-18 トヨタ自動車株式会社 車両運動量検出装置
JP2002090851A (ja) 2000-09-20 2002-03-27 Eastman Kodak Japan Ltd 電子カメラ
JP2002320126A (ja) 2001-04-23 2002-10-31 Mitsubishi Electric Corp 車載撮像システム
JP4327389B2 (ja) 2001-10-17 2009-09-09 株式会社日立製作所 走行レーン認識装置
EP1504276B1 (en) * 2002-05-03 2012-08-08 Donnelly Corporation Object detection system for vehicle
US6759949B2 (en) * 2002-05-23 2004-07-06 Visteon Global Technologies, Inc. Image enhancement in far infrared camera
JP4772115B2 (ja) * 2005-05-31 2011-09-14 コーニンクレッカ フィリップス エレクトロニクス エヌ ヴィ 夜間に道路を検出する方法及びシステム
JP2007300368A (ja) 2006-04-28 2007-11-15 Fujifilm Corp 固体撮像装置
US7786898B2 (en) * 2006-05-31 2010-08-31 Mobileye Technologies Ltd. Fusion of far infrared and visible images in enhanced obstacle detection in automotive applications
JP4708443B2 (ja) * 2008-01-31 2011-06-22 トヨタ自動車株式会社 作動制御マップおよび白線認識装置
US20100020170A1 (en) * 2008-07-24 2010-01-28 Higgins-Luthman Michael J Vehicle Imaging System
EP2539197B1 (en) * 2010-02-26 2020-12-16 Gentex Corporation Automatic vehicle equipment monitoring, warning, and control system

Patent Citations (4)

* Cited by examiner, † Cited by third party
Publication number Priority date Publication date Assignee Title
JP2001088609A (ja) * 1999-09-22 2001-04-03 Fuji Heavy Ind Ltd 車載カメラの電源制御方法ならびに装置
JP2003228711A (ja) * 2001-11-30 2003-08-15 Hitachi Ltd レーンマーク認識方法
JP2008030619A (ja) * 2006-07-28 2008-02-14 Toyota Motor Corp 道路区画線種別判定装置、及び、道路区画線認識装置
JP2008165610A (ja) * 2006-12-28 2008-07-17 Toyota Motor Corp 道路区画線認識装置

Cited By (16)

* Cited by examiner, † Cited by third party
Publication number Priority date Publication date Assignee Title
JP2012103748A (ja) * 2010-11-05 2012-05-31 Denso Corp 道路区画線認識装置
JP2014512303A (ja) * 2011-04-14 2014-05-22 コンティ テミック マイクロエレクトロニック ゲゼルシャフト ミット ベシュレンクテル ハフツング 内部温度センサーによる車両ガラス上の氷の検出
US9330552B2 (en) 2011-04-14 2016-05-03 Conti Temic Microelectronic Gmbh Detection of ice on a vehicle window by means of an internal temperature sensor
WO2013161389A1 (ja) * 2012-04-26 2013-10-31 株式会社デンソー 車載カメラ制御装置
JP2013226974A (ja) * 2012-04-26 2013-11-07 Denso Corp 車載カメラ制御装置
US10554884B2 (en) 2012-04-26 2020-02-04 Denso Corporation In-vehicle camera control device
WO2014148324A1 (ja) * 2013-03-22 2014-09-25 株式会社デンソー 車両制御装置
JP2014187497A (ja) * 2013-03-22 2014-10-02 Denso Corp 車両制御装置
US9421974B2 (en) 2013-03-22 2016-08-23 Denso Corporation Vehicle controller
CN117378604A (zh) * 2014-02-28 2024-01-12 组合化学工业株式会社 茎叶处理用农药组合物
KR102299500B1 (ko) 2014-03-31 2021-09-09 현대자동차주식회사 전자 장치 및 그의 제어 방법
KR20210004917A (ko) * 2014-03-31 2021-01-13 팅크웨어(주) 전자 장치 및 그의 제어 방법
KR101827707B1 (ko) * 2016-05-24 2018-03-22 현대자동차주식회사 차량용 카메라 장치, 그를 포함하는 차량 및 차량용 카메라의 제어방법
WO2021044456A1 (ja) * 2019-09-02 2021-03-11 三菱電機株式会社 車載用カメラの電源制御装置及び電源制御方法
JPWO2021044456A1 (ja) * 2019-09-02 2021-11-25 三菱電機株式会社 車載用カメラの電源制御装置及び電源制御方法
CN113762272A (zh) * 2021-09-10 2021-12-07 北京精英路通科技有限公司 道路信息的确定方法、装置和电子设备

Also Published As

Publication number Publication date
JP4849346B2 (ja) 2012-01-11
US20120293657A1 (en) 2012-11-22
US20100060738A1 (en) 2010-03-11
DE102009029243B4 (de) 2013-04-25
US8392115B2 (en) 2013-03-05
US8265872B2 (en) 2012-09-11
DE102009029243A1 (de) 2010-04-08

Similar Documents

Publication Publication Date Title
JP4849346B2 (ja) 路面区画マーク認識装置および車線逸脱防止装置
US9340227B2 (en) Vehicle lane keep assist system
US9346401B2 (en) Motor vehicle and method for operating a motor vehicle
CN106029473B (zh) 用于执行机动车辆进入横向停车空间的停车过程的方法、停车辅助系统和机动车辆
JP2005326963A5 (ja)
JP5938518B2 (ja) 衝突安全制御装置
JP2009280109A (ja) 車両周辺監視装置
CN103987575A (zh) 用于识别制动情况的方法和设备
JP2009217492A (ja) 車線区分線認識装置、車線維持支援装置、車線区分線認識方法
US20100277298A1 (en) Detection system and method thereof
US10688995B2 (en) Method for controlling travel and device for controlling travel of vehicle
JP4714104B2 (ja) 物体傾き検出装置
CN113753069A (zh) 自动驾驶控制方法及装置
JP2012099085A (ja) 車両用ウインドシールドガラス上のリアルタイム警報システム及びその作動方法
KR101601500B1 (ko) 스마트폰을 이용한 차량 운전 지원 시스템 및 방법
JP2004310522A (ja) 車両用画像処理装置
JP2005157670A (ja) 白線検出装置
JP2007221200A (ja) 車両周辺監視装置
KR20150010126A (ko) 차량 측방 표시 제어 장치 및 방법
US20200128165A1 (en) Method for Predictable Exposure Control of at Least One First Vehicle Camera
JP2010020710A (ja) 路側固定物検出装置
JP2010079573A (ja) 車線逸脱防止装置
JP2005033680A (ja) 車両用画像処理装置
KR102010407B1 (ko) 스마트 리어뷰 시스템
JP2007264717A5 (ja)

Legal Events

Date Code Title Description
A977 Report on retrieval

Free format text: JAPANESE INTERMEDIATE CODE: A971007

Effective date: 20100617

A131 Notification of reasons for refusal

Free format text: JAPANESE INTERMEDIATE CODE: A131

Effective date: 20100722

A521 Request for written amendment filed

Free format text: JAPANESE INTERMEDIATE CODE: A523

Effective date: 20100913

A131 Notification of reasons for refusal

Free format text: JAPANESE INTERMEDIATE CODE: A131

Effective date: 20110329

RD02 Notification of acceptance of power of attorney

Free format text: JAPANESE INTERMEDIATE CODE: A7422

Effective date: 20110901

TRDD Decision of grant or rejection written
A01 Written decision to grant a patent or to grant a registration (utility model)

Free format text: JAPANESE INTERMEDIATE CODE: A01

Effective date: 20110922

A01 Written decision to grant a patent or to grant a registration (utility model)

Free format text: JAPANESE INTERMEDIATE CODE: A01

A61 First payment of annual fees (during grant procedure)

Free format text: JAPANESE INTERMEDIATE CODE: A61

Effective date: 20111005

R151 Written notification of patent or utility model registration

Ref document number: 4849346

Country of ref document: JP

Free format text: JAPANESE INTERMEDIATE CODE: R151

FPAY Renewal fee payment (event date is renewal date of database)

Free format text: PAYMENT UNTIL: 20141028

Year of fee payment: 3