JP2010064338A - 発光装置、露光装置および画像形成装置 - Google Patents

発光装置、露光装置および画像形成装置 Download PDF

Info

Publication number
JP2010064338A
JP2010064338A JP2008232150A JP2008232150A JP2010064338A JP 2010064338 A JP2010064338 A JP 2010064338A JP 2008232150 A JP2008232150 A JP 2008232150A JP 2008232150 A JP2008232150 A JP 2008232150A JP 2010064338 A JP2010064338 A JP 2010064338A
Authority
JP
Japan
Prior art keywords
light emitting
light
emitting element
correction data
thyristors
Prior art date
Legal status (The legal status is an assumption and is not a legal conclusion. Google has not performed a legal analysis and makes no representation as to the accuracy of the status listed.)
Granted
Application number
JP2008232150A
Other languages
English (en)
Other versions
JP4710941B2 (ja
Inventor
Ken Tsuchiya
健 土屋
Current Assignee (The listed assignees may be inaccurate. Google has not performed a legal analysis and makes no representation or warranty as to the accuracy of the list.)
Fujifilm Business Innovation Corp
Original Assignee
Fuji Xerox Co Ltd
Priority date (The priority date is an assumption and is not a legal conclusion. Google has not performed a legal analysis and makes no representation as to the accuracy of the date listed.)
Filing date
Publication date
Application filed by Fuji Xerox Co Ltd filed Critical Fuji Xerox Co Ltd
Priority to JP2008232150A priority Critical patent/JP4710941B2/ja
Priority to US12/368,406 priority patent/US20100060704A1/en
Priority to CN200910129433.6A priority patent/CN101673752A/zh
Publication of JP2010064338A publication Critical patent/JP2010064338A/ja
Application granted granted Critical
Publication of JP4710941B2 publication Critical patent/JP4710941B2/ja
Active legal-status Critical Current
Anticipated expiration legal-status Critical

Links

Images

Classifications

    • GPHYSICS
    • G03PHOTOGRAPHY; CINEMATOGRAPHY; ANALOGOUS TECHNIQUES USING WAVES OTHER THAN OPTICAL WAVES; ELECTROGRAPHY; HOLOGRAPHY
    • G03GELECTROGRAPHY; ELECTROPHOTOGRAPHY; MAGNETOGRAPHY
    • G03G15/00Apparatus for electrographic processes using a charge pattern
    • G03G15/22Apparatus for electrographic processes using a charge pattern involving the combination of more than one step according to groups G03G13/02 - G03G13/20
    • G03G15/32Apparatus for electrographic processes using a charge pattern involving the combination of more than one step according to groups G03G13/02 - G03G13/20 in which the charge pattern is formed dotwise, e.g. by a thermal head
    • G03G15/326Apparatus for electrographic processes using a charge pattern involving the combination of more than one step according to groups G03G13/02 - G03G13/20 in which the charge pattern is formed dotwise, e.g. by a thermal head by application of light, e.g. using a LED array
    • BPERFORMING OPERATIONS; TRANSPORTING
    • B41PRINTING; LINING MACHINES; TYPEWRITERS; STAMPS
    • B41JTYPEWRITERS; SELECTIVE PRINTING MECHANISMS, i.e. MECHANISMS PRINTING OTHERWISE THAN FROM A FORME; CORRECTION OF TYPOGRAPHICAL ERRORS
    • B41J2/00Typewriters or selective printing mechanisms characterised by the printing or marking process for which they are designed
    • B41J2/435Typewriters or selective printing mechanisms characterised by the printing or marking process for which they are designed characterised by selective application of radiation to a printing material or impression-transfer material
    • B41J2/447Typewriters or selective printing mechanisms characterised by the printing or marking process for which they are designed characterised by selective application of radiation to a printing material or impression-transfer material using arrays of radiation sources
    • B41J2/45Typewriters or selective printing mechanisms characterised by the printing or marking process for which they are designed characterised by selective application of radiation to a printing material or impression-transfer material using arrays of radiation sources using light-emitting diode [LED] or laser arrays
    • GPHYSICS
    • G03PHOTOGRAPHY; CINEMATOGRAPHY; ANALOGOUS TECHNIQUES USING WAVES OTHER THAN OPTICAL WAVES; ELECTROGRAPHY; HOLOGRAPHY
    • G03GELECTROGRAPHY; ELECTROPHOTOGRAPHY; MAGNETOGRAPHY
    • G03G15/00Apparatus for electrographic processes using a charge pattern
    • G03G15/04Apparatus for electrographic processes using a charge pattern for exposing, i.e. imagewise exposure by optically projecting the original image on a photoconductive recording material
    • G03G15/04036Details of illuminating systems, e.g. lamps, reflectors
    • G03G15/04045Details of illuminating systems, e.g. lamps, reflectors for exposing image information provided otherwise than by directly projecting the original image onto the photoconductive recording material, e.g. digital copiers
    • GPHYSICS
    • G03PHOTOGRAPHY; CINEMATOGRAPHY; ANALOGOUS TECHNIQUES USING WAVES OTHER THAN OPTICAL WAVES; ELECTROGRAPHY; HOLOGRAPHY
    • G03GELECTROGRAPHY; ELECTROPHOTOGRAPHY; MAGNETOGRAPHY
    • G03G2215/00Apparatus for electrophotographic processes
    • G03G2215/04Arrangements for exposing and producing an image
    • G03G2215/0402Exposure devices
    • G03G2215/0407Light-emitting array or panel
    • G03G2215/0409Light-emitting diodes, i.e. LED-array

Landscapes

  • Physics & Mathematics (AREA)
  • General Physics & Mathematics (AREA)
  • Optics & Photonics (AREA)
  • Health & Medical Sciences (AREA)
  • General Health & Medical Sciences (AREA)
  • Toxicology (AREA)
  • Printers Or Recording Devices Using Electromagnetic And Radiation Means (AREA)
  • Facsimile Heads (AREA)
  • Exposure Or Original Feeding In Electrophotography (AREA)

Abstract

【課題】主走査方向の位置合わせを、より高精度に行うことを目的とする。
【解決手段】1200dpiの解像度に対応した間隔で一列に配列される260個の発光サイリスタLをそれぞれ有する60個の発光チップC(C1〜C60)と、600dpiの解像度に対応した発光信号を各発光チップCに供給するとともに、各発光チップCにおいて連続する2個の発光サイリスタLを組とする複数の組に組分けし、複数の組に組分けされた2個の発光サイリスタLを、組を単位として発光または非発光に設定し、且つ、各発光チップCにおける260個の発光サイリスタLの組分けを、1個の発光サイリスタLを単位として補正する発光信号生成部114(114_1〜114_60)とを備える。
【選択図】図7

Description

本発明は、複数の発光素子を備えた発光装置、露光装置および画像形成装置に関する。
電子写真方式を用いたプリンタや複写機等の画像形成装置において、感光体ドラム等の像保持体上を露光する露光装置として、近年、LED(Light Emitting Diode)等の発光素子を一列に配列した発光素子アレイを用いたものが採用されている。また、最近の画像形成装置では、カラー化が急速に進んでおり、それぞれが露光装置を有する複数の像形成部を並べて配置し、各像形成部を用いて多色画像を出力するものが実用化されている。
公報記載の従来技術として、各像形成部に設けられたLEDアレイのそれぞれにおいて、発光の対象となるLEDの位置を調整することで、主走査方向の像ずれを抑制する技術が存在する(特許文献1参照)。
また、他の公報記載の従来技術として、複数の発光素子を備えた記録ヘッドを複数本有し、画像情報に応じて複数の発光素子が選択的に発光し画像形成する画像形成装置において、画像形成時以外のタイミングでも発光素子を発光させ、各記録ヘッドを一定の温度に均一に上昇させることで、主走査方向の像ずれを抑制する技術が存在する(特許文献2参照)。
特開平11−105344号公報 特開平10−24619号公報
ところで、複数の発光素子を並べて構成した露光装置を用いた場合、画像データを操作して発光の対象となる発光素子を変更することで、得られる画像の主走査方向の像ずれの大きさは、画像データにおける1画素の大きさよりも小さい値に抑えることが可能となる。従来にあっては、この程度の像ずれは問題とされていなかったが、近年の画像形成装置の高画質化に伴い、画像形成装置に要求される主走査方向の位置合わせの精度は、上述した1画素の大きさよりも小さくなることが予想される。
本発明は、主走査方向の位置合わせを、より高精度に行うことを目的とする。
請求項1記載の発明は、第1の解像度に対応した間隔で一列に配列される複数の発光素子を有する発光素子列と、前記第1の解像度の1/m(mは2以上の整数)となる第2の解像度に対応した発光信号を供給する供給手段と、前記発光素子列の連続するm個の前記発光素子を組とする複数の組に組分けし、当該複数の組に組分けされた当該m個の発光素子を、前記供給手段から供給される前記発光信号を用いて、当該組を単位として発光または非発光に設定する設定手段と、前記設定手段により行われる前記発光素子列の前記複数の発光素子の組分けを、1個の前記発光素子を単位として補正する補正手段とを含む発光装置である。
請求項2記載の発明は、前記補正手段は、前記複数の発光素子の基準となる組分けに対し、発光素子n個(nは1以上の整数)分だけ当該複数の発光素子の配列方向の一方または他方にずらすことで組分けを補正することを特徴とする請求項1記載の発光装置である。
請求項3記載の発明は、前記補正手段は、前記複数の発光素子の基準となる組分けに対し、前記複数の組のうちの1つの組を構成する発光素子の数をm個から増加または低減させることで組分けを補正することを特徴とする請求項1または2記載の発光装置である。
請求項4記載の発明は、基板と、当該基板に主走査方向に一列に配列される複数の発光素子を有する発光素子列とを備え、当該発光素子列が、主走査方向中央部に配列される発光素子を含む第1の発光素子群と、当該第1の発光素子群の主走査方向一端側に配列される発光素子を含む第2の発光素子群と、当該第1の発光素子群の主走査方向他端側に配列される発光素子を含む第3の発光素子群とを有する発光素子チップと、複数の前記発光素子チップが千鳥状に配列され、且つ、隣り合う2つの発光素子チップ同士の各境界部において、一方の発光素子チップの前記第2の発光素子群と他方の発光チップの前記第3の発光素子群とが、前記主走査方向に重なる重なり部を形成するように取り付けられる取り付け部材と、複数の前記発光素子チップのそれぞれに対し、前記発光素子列を構成する前記複数の発光素子の数よりも少ない数であって前記主走査方向に連続する複数の発光素子を発光対象とする発光信号を供給する供給部と、複数の前記発光素子チップのそれぞれに対し、発光対象となる発光素子の位置および/または数を補正する補正部と、複数の前記発光素子チップから出力される光を像保持体上に結像させる光学部材とを含む露光装置である。
請求項5記載の発明は、前記供給部は、前記重なり部において発光対象となる発光素子が主走査方向に連続するように、複数の前記発光素子チップのそれぞれに対して前記発光信号を供給することを特徴とする請求項4記載の露光装置である。
請求項6記載の発明は、前記供給部は、前記重なり部において発光対象となる発光素子が主走査方向に重なる場合に、重なる2つの発光素子を発光させる際の光量をそれぞれ低減することを特徴とする請求項4記載の露光装置である。
請求項7記載の発明は、前記供給部は、前記重なり部において発光対象となる発光素子が主走査方向に不連続となる場合に、不連続となる2つの発光素子を発光させる際の光量をそれぞれ増加させることを特徴とする請求項4記載の露光装置である。
請求項8記載の発明は、像保持体と、前記像保持体を帯電する帯電装置と、第1の解像度に対応した間隔で一列に配列される複数の発光素子を有する発光素子列と、当該第1の解像度の1/m(mは2以上の整数)となる第2の解像度に対応した発光信号を供給する供給手段と、当該発光素子列の連続するm個の当該発光素子を組とする複数の組に組分けし、当該複数の組に組分けされた当該m個の発光素子を、当該供給手段から供給される当該発光信号を用いて、当該組を単位として発光または非発光に設定する設定手段と、当該設定手段により行われる当該発光素子列の当該複数の発光素子の組分けを、1個の当該発光素子を単位として補正する補正手段とを有し、前記帯電装置にて帯電された前記像保持体を露光して静電潜像を形成する露光装置と、前記像保持体に形成された前記静電潜像を現像して画像を形成する現像装置と、前記像保持体に形成された画像を記録材に転写する転写装置とを有する画像形成部を、複数備える画像形成装置である。
請求項1記載の発明によれば、本構成を有しない場合と比較して、主走査方向の位置合わせを、より高精度に行うことができる。
請求項2記載の発明によれば、発光素子列による発光位置の主走査方向の位置ずれを補正することが可能になる。
請求項3記載の発明によれば、発光素子列による発光位置の主走査方向の倍率ずれを補正することが可能になる。
請求項4記載の発明によれば、本構成を有しない場合と比較して、主走査方向の位置合わせを、より高精度に行うことができる。
請求項5記載の発明によれば、本構成を有しない場合と比較して、露光像における副走査方向の黒筋および白筋の発生を抑制することができる。
請求項6記載の発明によれば、本構成を有しない場合と比較して、露光像における副走査方向の黒筋または白筋の発生を抑制することができる。
請求項7記載の発明によれば、本構成を有しない場合と比較して、露光像における副走査方向の白筋または黒筋の発生を抑制することができる。
請求項8記載の発明によれば、本構成を有しない場合と比較して、各画像形成部の主走査方向の位置合わせを、より高精度に行うことができる。
以下、添付図面を参照して、本発明の実施の形態について詳細に説明する。
<実施の形態1>
図1は、本実施の形態が適用される所謂タンデム型の画像形成装置1の全体構成の一例を示した図である。この画像形成装置1は、各色の画像データに対応して画像形成を行う画像形成プロセス部10と、パーソナルコンピュータ(PC)2、画像読取装置3、あるいはFAXモデム4等に接続され、これらから入力される画像データに画像処理を施し、さらには画像形成装置1全体の動作を制御する制御部20とを備えている。
画像形成プロセス部10は、複数の画像形成部の一例としての4つの画像形成ユニット11(具体的には11Y、11M、11C、11K)を備える。各画像形成ユニット11は、像保持体の一例としての感光体ドラム12、感光体ドラム12を帯電する帯電装置の一例としての帯電器13、帯電された感光体ドラム12を制御部20から送られてくる画像データに基づいて露光する露光装置の一例としてのLEDプリントヘッド(LPH)14、感光体ドラム12上に形成された静電潜像をトナーで現像する現像装置の一例としての現像器15を備えている。また、画像プロセス系10は、画像形成ユニット11の各感光体ドラム12にて画像形成された各色のトナー像を多重転写させるための用紙を搬送する搬送ベルト16、搬送ベルト16を駆動させる駆動ロール17、感光体ドラム12のトナー像を用紙に転写させる転写装置の一例としての転写ロール18、転写後の用紙上の未定着トナー像を加熱・加圧して定着する定着器19を備えている。
図2は、LPH14の構成を示した断面図である。このLPH14は、複数のLEDを備えた発光部63、発光部63や発光部63を駆動する信号発生回路100(後段の図5参照)等を搭載する回路基板62、発光部63から出射された光を感光体ドラム12表面に結像させる光学部材の一例としてのロッドレンズアレイ64、回路基板62およびロッドレンズアレイ64を支持するとともに発光部63を外部から遮蔽するホルダ65を備えている。
図3(a)はLPH14における回路基板62および発光部63の上面図であり、図3(b)はLPH14におけるロッドレンズアレイ64およびホルダ65の上面図である。図3(a)に示すように、発光部63は、取り付け部材の一例としての回路基板62上に、複数の発光素子チップの一例としての60個の発光チップC(C1〜C60)を、副走査方向に二列に千鳥状に配置して構成されている。
また、図3(b)に示すように、ロッドレンズアレイ64は、複数のロッドレンズ64aを、互い違いとなるように副走査方向に二列に整列配置した状態で、ホルダ65に保持させることによって構成されている。各ロッドレンズ64aは例えば円柱状の形状を有しており、その半径方向に屈折率分布を有し正立等倍実像を形成する屈折率分布型レンズにて構成される。このような屈折率分布型レンズとしては、例えばセルフォック(日本板硝子株式会社の登録商標)レンズが挙げられる。
図4は、上記発光部63のうち、発光チップC1、C2、C3の連結部位を拡大した図である。ここで、発光チップC1〜C60はすべて同一の構成を有しており、例えば発光チップC2を例とすると、基板の一例としての矩形状のチップ基板70と、このチップ基板70の表面に長手方向に沿って一列に配置された発光素子列の一例としての発光素子アレイ71とを備えている。この発光素子アレイ71は、主走査方向に一列に並べられた複数の発光素子の一例としての260個の発光サイリスタLを有している。そして、発光素子アレイ71において、隣接する発光サイリスタLの中心間の距離は、それぞれ約21.15μmに設定されている。したがって、発光部63すなわちLPH14は、主走査方向の出力解像度(第1の解像度)が1200dpi(dot per inch)となっている。
また、図4に示したように、例えば隣り合う発光チップC1と発光チップC2との境界においては、発光チップC1の右端側に設けられた4個の発光サイリスタLと、発光チップC2の左端側に設けられた4個の発光サイリスタLとが、主走査方向に1つずつ重なる重なり部を形成している。一方、例えば隣接する発光チップC2と発光チップC3との境界においても、発光チップC2の右端側に設けられた4個の発光サイリスタLと、発光チップC3の左端側に設けられた4個の発光サイリスタLとが、主走査方向に1つずつ重なる重なり部を形成している。なお、発光チップC3〜C60の境界部においても、同様の重なり部が形成されている。
図5は、回路基板62(図2参照)に搭載される信号発生回路100の構成および回路基板62の配線構成を示した図である。
信号発生回路100には、制御部20(図1参照)より、ライン同期信号Lsync、ビデオデータVdata、クロック信号clk、およびリセット信号RST等の各種制御信号が入力されるようになっている。そして、信号発生回路100は、外部から入力されてくる各種制御信号に基づいて、例えばビデオデータVdataの並べ替えや出力値の補正等を行い、各発光チップC(C1〜C60)のそれぞれに対して発光信号φI(φI1〜φI60)を出力する発光信号発生部110を備えている。なお、本実施の形態では、各発光チップC(C1〜C60)のそれぞれに、1個ずつ発光信号φI(φI1〜φI60)が供給されるようになっている。
また、信号発生回路100は、外部から入力されてくる各種制御信号に基づき、各発光チップC1〜C60に対してスタート転送信号φS、第1転送信号φ1および第2転送信号φ2を出力する転送信号発生部120をさらに備えている。
回路基板62には、各発光チップC1〜C60のVcc端子に接続される電力供給用のVcc=−5.0Vの電源ライン101およびGND端子に接続される接地用の電源ライン102が設けられている。また、回路基板62には、信号発生回路100の転送信号発生部120からスタート転送信号φS、第1転送信号φ1、第2転送信号φ2を送信するスタート転送信号ライン103、第1転送信号ライン104、第2転送信号ライン105も設けられている。さらに、回路基板62には、信号発生回路100の発光信号発生部110から各発光チップC(C1〜C60)に対して発光信号φI(φI1〜φI60)を出力する60本の発光信号ライン106(106_1〜106_60)も設けられている。なお、回路基板62には、60本の発光信号ライン106(106_1〜106_60)に過剰な電流が流れるのを防止するための60個の発光電流制限抵抗RIDが設けられている。また、発光信号φI1〜φI60は、それぞれ、後述するようにハイレベル(H)およりローレベル(L)の2状態を取りうる。そして、ローレベルは−5.0Vの電位、ハイレベルは±0.0Vの電位となっている。
図6は、発光チップC(C1〜C60)の回路構成を説明するための図である。
発光チップCは、260個の転送サイリスタS1〜S260、260個の発光サイリスタL1〜L260を備えている。なお、発光サイリスタL1〜L260は、転送サイリスタS1〜S260と同じpnpn接続を有しており、その中のpn接続を利用することで発光ダイオード(LED)としても機能するようになっている。また、発光チップCは、259個のダイオードD1〜D259および260個の抵抗R1〜R260を備えている。さらに、発光チップCは、第1転送信号φ1、第2転送信号φ2、そしてスタート転送信号φSが供給される信号線に、過剰な電流が流れるのを防止するための転送電流制限抵抗R1A、R2A、R3Aを有している。なお、発光素子アレイ71を構成する発光サイリスタL1〜L260は、図中左側からL1、L2、…、L259、L260の順で配列され、発光素子列すなわち発光素子アレイ71を形成している。また、転送サイリスタS1〜S260も、図中左側からS1、S2、…、S259、S260の順で配列され、スイッチ素子列すなわちスイッチ素子アレイ72を形成している。さらに、ダイオードD1〜D259も、図中左からD1、D2、…、D258、D259の順で配列されている。さらにまた、抵抗R1〜R260も、図中左からR1、R2、…R259、R260の順で配列されている。
では次に、発光チップCにおける各素子の電気的な接続について説明する。
各転送サイリスタS1〜S260のアノード端子は、GND端子に接続されている。このGND端子には、電源ライン102(図5参照)が接続され、接地される。
また、奇数番目の転送サイリスタS1、S3、…、S259のカソード端子は、転送電流制限抵抗R1Aを介してφ1端子に接続されている。このφ1端子には、第1転送信号ライン104(図5参照)が接続され、第1転送信号φ1が供給される。
一方、偶数番目の転送サイリスタS2、S4、…、S260のカソード端子は、転送電流制限抵抗R2Aを介してφ2端子に接続されている。このφ2端子には、第2転送信号ライン105(図5参照)が接続され、第2転送信号φ2が供給される。
また、各転送サイリスタS1〜S260のゲート端子G1〜G260は、各転送サイリスタS1〜S260に対応して設けられた抵抗R1〜R260をそれぞれ介してVcc端子に接続されている。このVcc端子には、電源ライン101(図5参照)が接続され、電源電圧Vcc(−5.0V)が供給される。
さらに、各転送サイリスタS1〜S260のゲート端子G1〜G260は、対応する同番号の発光サイリスタL1〜L260のゲート端子に、1対1でそれぞれ接続されている。
また、各転送サイリスタS1〜S259のゲート端子G1〜G259には、ダイオードD1〜D259のアノード端子が接続されており、これらダイオードD1〜D259のカソード端子は、それぞれに隣接する次段の転送サイリスタS2〜S260のゲート端子G2〜G260に接続されている。すなわち、各ダイオードD1〜D259は、転送サイリスタS1〜S260のゲート端子G1〜G260を挟んで直列接続されている。
そして、ダイオードD1のアノード端子すなわち転送サイリスタS1のゲート端子G1は、転送電流制限抵抗R3Aを介してφS端子に接続されている。このφS端子には、スタート信号転送ライン103(図5参照)を介してスタート転送信号φSが供給される。
次に、各発光サイリスタL1〜L260のアノード端子は、各転送サイリスタS1〜S260のアノード端子と同様に、GND端子に接続されている。
また、各発光サイリスタL1〜L260のカソード端子は、φI端子に接続されている。このφI端子には、発光信号ライン106(発光チップC1の場合は発光信号ライン106_1:図5参照)が接続され、発光信号φI(発光チップC1の場合は発光信号φI1)が供給される。なお、他の発光チップC2〜C60には、それぞれ、対応する発光信号φI2〜φI60が供給される。
ここで、発光チップCにおいて、図中左側に設けられる4個の発光サイリスタL1〜L4および図中右側に設けられる4個の発光サイリスタL257〜L260は、発光部63を形成した際に、図4に示した重なり部を構成することになる。
なお、発光チップCは、このように260個の発光サイリスタL1〜L260を有するが、実際の画像形成動作においては、全発光サイリスタの数より少ない数の発光サイリスタを、発光点として使用する。ここで、「発光点」は、画像形成動作(露光動作)において、発光または非発光させる対象となる発光サイリスタLをいう。より具体的に説明すると、通常は、中央部において連続する256個の発光サイリスタL3〜L258を、発光点として使用する。ただし、後述する主走査方向位置補正を行った結果に応じて、図中左側の発光サイリスタL2あるいは図中右側の発光サイリスタL259を含んで連続する256個の発光サイリスタを、発光点として使用することもある。また、後述する主走査方向倍率補正を行った結果に応じて、連続する255個の発光サイリスタあるいは連続する257個の発光サイリスタを、発光点として使用することもある。さらに、これら主走査方向位置補正および主走査方向倍率補正を行った結果として、図中左側の発光サイリスタL1、L2または図中右側の発光サイリスタL259、L260を含んで連続する257個の発光サイリスタを、発光点として使用することもある。
ただし、隣接する2つの発光チップC(例えば発光チップC1および発光チップC2)の重なり部において、主走査方向の位置が同一となる2つの発光サイリスタ(例えば発光チップC1における発光サイリスタL258および発光チップC2における発光サイリスタL2)については、いずれか一方が発光点として使用され、他方は発光点として使用されないようになっている。なお、以下の説明では、各発光チップCを構成する発光サイリスタL1〜L260のうち、発光点として使用されない発光サイリスタLを、「非発光点」と呼ぶ。
以下の説明では、発光チップCの中央部に設けられる256個の発光サイリスタL3〜L258を、通常発光点群LAと呼ぶ。これに対し、発光チップCの左端部に設けられる2個の発光サイリスタL1、L2を、第1予備発光点群LBと呼び、発光チップCの右端部に設けられる2個のサイリスタL259、L260を、第2予備発光点群LCと呼ぶ。ここで、通常発光点群LAは第1の発光素子群に、第1予備発光点群LBは第2の発光素子群に、第2予備発光点群LCは第3の発光素子群に、それぞれ対応する。
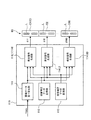
図7は、図5に示す発光信号発生部110の構成の一例を示す図である。
この発光信号発生部110は、入力されてくるビデオデータVdataの並べ替えを行い、各発光チップC1〜C60のそれぞれに対し個別の発光チップ用の画像データを出力する画像データ並べ替え部111を備える。また、発光信号発生部110は、各発光チップC1〜C60のそれぞれに対し予め定められた主走査方向の位置補正データを記憶する位置補正データ記憶部112と、各発光チップC1〜C60のそれぞれに対し予め定められた主走査方向の倍率補正データを記憶する倍率補正データ記憶部113とを備える。さらに、発光信号発生部110は、各発光チップC1〜C60のそれぞれに対応して設けられ、画像データ並べ替え部111から入力されてくる個別の発光チップ用の画像データに、位置補正データ記憶部112から読み出した個別の発光チップ用の位置補正データを用いた補正、および、倍率補正データ記憶部113から読み出した個別の発光チップ用の倍率補正データを用いた補正を行い、得られた発光信号φI1〜φI60を出力する60個の発光信号生成部114(114_1〜114_60)を備える。なお、本実施の形態では、発光信号生成部114(114_1〜114_60)が、供給手段、設定手段および補正手段として機能し、また、供給部および補正部として機能している。
なお、LPH14を構成する発光部63は、上述したように主走査方向の出力解像度が1200dpiとなっているが、本実施の形態では、発光信号発生部110に入力されてくるビデオデータVdataの主走査方向の解像度(第2の解像度)が、600dpiすなわちLPH14の出力解像度の半分(1/2)となっている。このため、本実施の形態では、各発光信号生成部114(114_1〜114_60)における各発光信号φI(φI1〜φI60)の生成手法に工夫を施し、対応する各発光チップC(C1〜C60)において、基本的に、連続する2個の発光サイリスタLを組として駆動させるようにすることで、発光部63を600dpi相当の出力解像度で動作させるようになっている。なお、この詳細については後述する。
ではここで、LPH14における主走査方向の位置補正および倍率補正について説明する。
本実施の形態では、図1を用いて説明したように、画像形成装置において、4つの画像形成ユニット11(11Y、11M、11C、11K)を用いて画像形成を行っている。このため、LPH14も色毎に設けられている。ここで、各LPH14の装着対象となる画像形成装置のフレームの精度やLPH14自体の精度には限界があるため、画像形成装置に対して、各LPH14の主走査方向位置を一致させて装着することは困難である。そこで、この画像形成装置では、各LPH14から出射される光の主走査方向位置を精度よく合わせるために、主走査方向の位置補正が行われるようになっている。なお、以下の説明においては、主走査方向の位置補正のことを、単に位置補正と呼ぶことにする。
また、各LPH14において、発光チップCの取り付け精度および各発光チップCにおける発光サイリスタLの形成精度にも限界があるため、各LPH14に設けられる発光サイリスタ列の主走査方向長さを一致させることも困難である。そこで、この画像形成装置では、各LPH14から出射される光の主走査方向長さを精度よく合わせるために、主走査方向の倍率補正が行われるようになっている。なお、以下の説明においては、主走査方向の倍率補正のことを、単に倍率補正と呼ぶことにする。
図8は、各画像形成ユニット11(具体的には11Y、11M、11C、11K)を構成する各LPH14(具体的には14Y、14M、14C、14K)を、図示しない画像形成装置のフレームに取り付けた状態の一例を示す図である。なお、図8においては、図中左側が図1に示す画像形成装置の手前側(IN)となっており、図中右側が奥側(OUT)となっている。また、上述した位置補正および倍率補正は、いずれかのLPH14を基準として行うが、ここでは、イエロー用のLPH14Yを基準とし、マゼンタ用のLPH14M、シアン用のLPH14Cおよび黒用のLPH14Kの位置補正および倍率補正を行う場合について説明する。
なお、これら位置補正および倍率補正を行う前の初期状態において、各LPH14の各発光チップC(C1〜C60)では、それぞれにおける通常発光点群LA(発光サイリスタL3〜L258)が、発光点として設定されているものとする。したがって、IN側の端部に位置する1番目の発光点は、発光チップC1の発光サイリスタL3(図6参照)となる。一方、OUT側の端部に位置する15360番目の発光点は、発光チップC60の発光サイリスタL258(図6参照)となる。
また、本実施の形態では、上述したように、1200dpiの主走査方向の出力解像度を有するLPH14を、600dpiでの出力に用いるために、基本的に2個の発光点を、画像における1個の画素の形成に使用する。このため、初期状態においては、発光チップC1の発光サイリスタL3、L4(1番目の発光点、2番目の発光点:図6参照)が1番目の画素となる第1画素V1の形成に用いられ、発光チップC60の発光サイリスタL257、L258(15359番目の発光点、15360番目の発光点:図6参照)が7680番目の画素となる第7680画素V7680の形成に用いられるように設定されている。なお、ここで、イエロー用のLPH14Yにおける第1画素V1の主走査方向位置を第1基準位置U1とし、第7680画素V7680の主走査方向位置を第2基準位置U2とする。
すると、マゼンタ用のLPH14Mでは、第1画素V1の主走査方向位置が第1基準位置U1に対し0.5画素(発光点1つ分)だけOUT側にずれ、且つ、第7680画素V7680の主走査方向位置も第2基準位置U2に対し0.5画素(発光点1つ分)だけOUT側にずれている。したがって、マゼンタ用のLPH14Mは、イエロー用のLPH14Yに対し、主走査方向OUT側に0.5画素分だけ位置ずれが生じていることになる。以下の説明では、このような位置ずれをOUT側位置ずれと呼ぶ。
なお、ここでは主走査方向OUT側に位置ずれが生じる場合について説明を行っているが、逆に、第1画素V1の主走査方向位置が第1基準位置U1に対し0.5画素(発光点1つ分)だけIN側にずれ、且つ、第7680画素V7680の主走査方向位置も第2基準位置U2に対し0.5画素(発光点1つ分)だけIN側にずれることにより、主走査方向IN側に0.5画素分だけ位置ずれが生じることもあり得る。以下の説明では、このような位置ずれをIN側位置ずれと呼ぶ。
また、シアン用のLPH14Cでは、第1基準位置U1に対する第1画素V1の主走査方向位置のずれは生じていないものの、第7680画素V7680の主走査方向位置は第2基準位置U2に対し0.5画素(発光点1つ分)だけIN側にずれている。したがって、シアン用のLPH14Cは、イエロー用のLPH14Yに対し、主走査方向に0.5画素分だけ短くなる長さずれ(倍率ずれ)が生じていることになる。以下の説明では、このような倍率ずれを縮小倍率ずれと呼ぶ。
一方、黒用のLPH14Kでは、第1基準位置U1に対する第1画素V1の主走査方向位置のずれは生じていないものの、第7680画素V7680の主走査方向位置は第2基準位置U2に対し0.5画素(発光点1つ分)だけOUT側にずれている。したがって、黒用のLPH14Kは、イエロー用のLPH14Yに対し、主走査方向に0.5画素分だけ長くなる長さずれ(倍率ずれ)が生じていることになる。以下の説明では、このような倍率ずれを拡大倍率ずれと呼ぶ。
図9は、各色のLPH14に設けられた、位置補正データ記憶部112(図7参照)に記憶される発光チップ名と位置補正データPとの関係、および、倍率補正データ記憶部113(図7参照)に記憶される発光チップ名と倍率補正データMとの関係を説明するための図である。ここで、図9は、イエロー用のLPH14Y、マゼンタ用のLPH14M、シアン用のLPH14Mおよび黒用のLPH14Kが、図8に示す状態で取り付けられた場合に設定される各種補正データを示している。なお、各発光チップCに対する位置補正データPおよび倍率補正データMは、例えば工場出荷時等に取得され、位置補正データ記憶部112あるは倍率補正データ記憶部113に記憶される。
ここで、図9(a)は、イエロー用のLPH14Yの位置補正データ記憶部112に記憶される内容を、図9(b)はイエロー用のLPH14Yの倍率補正データ記憶部113に記憶される内容を、それぞれ示している。また、図9(c)は、マゼンタ用のLPH14Mの位置補正データ記憶部112に記憶される内容を、図9(d)はマゼンタ用のLPH14Mの倍率補正データ記憶部113に記憶される内容を、それぞれ示している。さらに、図9(e)は、シアン用のLPH14Cの位置補正データ記憶部112に記憶される内容を、図9(f)はシアン用のLPH14Cの倍率補正データ記憶部113に記憶される内容を、それぞれ示している。そして、図9(g)は、黒用のLPH14Kの位置補正データ記憶部112に記憶される内容を、図9(h)は黒用のLPH14Kの倍率補正データ記憶部113に記憶される内容を、それぞれ示している。
図9(a)に示すように、イエロー用のLPH14Yの位置補正データ記憶部112には、発光チップC1〜C60に対する位置補正データPとして、すべて基準位置補正データP0が設定されている。また、図9(b)に示すように、イエロー用のLPH14Yの倍率補正データ記憶部113には、発光チップC1〜C60に対する倍率補正データMとして、すべて基準倍率補正データM0が設定されている。
図9(c)に示すように、マゼンタ用のLPH14Mの位置補正データ記憶部112には、発光チップC1〜C60に対する位置補正データPとして、すべて第1位置補正データP1が設定されている。また、図9(d)に示すように、マゼンタのLPH14Mの倍率補正データ記憶部113には、発光チップC1〜C60に対する倍率補正データMとして、すべて基準倍率補正データM0が設定されている。
図9(e)に示すように、シアン用のLPH14Cの位置補正データ記憶部112には、発光チップC1〜C4に対する位置補正データPとして基準位置補正データP0が設定され、発光チップC5〜C60に対する位置補正データPとして第2位置補正データP2が設定されている。また、図9(f)に示すように、シアン用のLPH14Cの倍率補正データ記憶部113には、発光チップC1〜C3およびC5〜C60に対する倍率補正データMとして基準倍率補正データM0が設定され、発光チップC4に対する倍率補正データMとして第1倍率補正データM1が設定されている。
図9(g)に示すように、黒用のLPH14Kの位置補正データ記憶部112には、発光チップC1〜C4に対する位置補正データPとして基準位置補正データP0が設定され、発光チップC5〜C60に対する位置補正データPとして第1位置補正データP1が設定されている。また、図9(h)に示すように、黒用のLPH14Kの倍率補正データ記憶部113には、発光チップC1〜C3およびC5〜C60に対する倍率補正データMとして基準倍率補正データM0が設定され、発光チップC4に対する倍率補正データMとして第2倍率補正データM2が設定されている。
図10は、上述した位置補正データPすなわち基準位置補正データP0、第1位置補正データP1および第2位置補正データP2と、位置補正に伴う発光チップCでの発光点の変化との関係を説明するための図である。ここで、図10(a)はP=P0の場合を、図10(b)はP=P1の場合を、図10(c)はP=P2の場合を、それぞれ示している。
図10(a)に示すように、P=P0の場合、発光チップCにおける発光点は、通常発光点群LAのまますなわち発光サイリスタL3〜L258となる。そして、発光チップCは、256個の発光サイリスタL3〜L258を用いて128個の画素W1〜W128を形成することになるが、その際、各画素W1〜W128は、奇数番目の発光サイリスタとその右側に隣接する偶数番目の発光サイリスタとによって形成される。より具体的に説明すると、例えば図中左側の画素W1は、発光サイリスタL3、L4によって形成される。また、例えば図中右側の画素W128は、発光サイリスタL257、L258によって形成される。
これに対し、図10(b)に示すように、P=P1の場合、発光チップCにおける発光点は、通常発光点群LAから発光サイリスタL258を除いたものに、第1予備発光点群LBの第2発光サイリスタL2を加えたものとなる。すなわち、発光チップCにおける発光点は、発光サイリスタL2〜L257となり、IN側に1つだけずれる。そして、発光チップCは、256個の発光サイリスタL2〜L257を用いて128個の画素W1〜W128を形成することとなるが、その際、各画素W1〜W128は、偶数番目の発光サイリスタとその右側に隣接する奇数番目の発光サイリスタとによって形成される。より具体的に説明すると、例えば図中左側の画素W1は、発光サイリスタL2、L3によって形成される。また、例えば図中右側の画素W128は、発光サイリスタL256、L257によって形成される。
一方、図10(c)に示すように、P=P2の場合、発光チップCにおける発光点は、通常発光点群LAから発光サイリスタL3を除いたものに、第2予備発光点群LCの第259発光サイリスタL259を加えたものとなる。すなわち、発光チップCにおける発光点は、発光サイリスタL4〜L259となり、OUT側に1つだけずれる。そして、発光チップCは、256個の発光サイリスタL4〜L259を用いて128個の画素W1〜W128を形成することとなるが、その際、各画素W1〜W128は、偶数番目の発光サイリスタとその右側に隣接する奇数番目の発光サイリスタとによって形成される。より具体的に説明すると、例えば図中左側の画素W1は、発光サイリスタL4、L5によって形成される。また、例えば図中右側の画素W128は、発光サイリスタL258、L259によって形成される。
図11は、上述した倍率補正データMすなわち基準倍率補正データM0、第1倍率補正データM1および第2倍率補正データM2と、倍率補正に伴う発光チップCでの発光点の変化との関係を説明するための図である。ここで、図11(a)はM=M0の場合を、図11(b)はM=M1の場合を、図11(c)はM=2の場合を、それぞれ示している。
図11(a)に示すように、M=M0の場合、発光チップCにおける発光点は、通常発光点群LAのまますなわち発光サイリスタL3〜L258となる。そして、発光チップCは、256個の発光サイリスタL3〜L258を用いて128個の画素W1〜W128を形成することになるが、その際、各画素W1〜W128は、奇数番目の発光サイリスタとその右側に隣接する偶数番目の発光サイリスタとによって形成される。より具体的に説明すると、例えば図中左側の画素W1は、発光サイリスタL3、L4によって形成される。また、例えば図中右側の画素W128は、発光サイリスタL257、L258によって形成される。
これに対し、図11(b)に示すように、M=M1の場合、発光チップCにおける発光点は、通常発光点群LAに第2予備発光点群LCの第259発光サイリスタL259を加えたものとなる。すなわち、発光チップCにおける発光点は、発光サイリスタL3〜L259となり、図中右方向(図8においてはOUT側)に1つだけ増える。そして、発光チップCは、257個の発光サイリスタL3〜L259を用いて128個の画素W1〜W128を形成することとなるが、その際、画素W1〜W127は、奇数番目の発光サイリスタとその右側に隣接する偶数番目の発光サイリスタとによって形成される。より具体的に説明すると、例えば左側の画素W1は、発光サイリスタL3、L4によって形成され、例えば図中右側の画素W127は、発光サイリスタL255、L256によって形成される。そして、図中右側の画素W128は、3つの発光点すなわち奇数番目の発光サイリスタL257とその右側に隣接する偶数番目の発光サイリスタL258とさらにその右側に隣接する奇数番目の発光サイリスタL259とによって形成される。
一方、図11(c)に示すように、M=M2の場合、発光チップCにおける発光点は、通常発光点群LAから発光サイリスタL258を除いたものとなる。すなわち、発光チップCにおける発光点は、発光サイリスタL3〜L257となり、図中右方向(図8においてはOUT側)に1つだけ減る。そして、発光チップCでは、255個の発光サイリスタL3〜L257を用いて128個の画素W1〜W128を形成することとなるが、その際、画素W1〜W127は、奇数番目の発光サイリスタとその右側に隣接する偶数番目の発光サイリスタとによって形成される。より具体的に説明すると、例えば左側の画素W1は、発光サイリスタL3、L4によって形成され、例えば図中右側の画素W127は、発光サイリスタL255、L256によって形成される。そして、図中右側の画素W128は、1つの発光点すなわち奇数番目の発光サイリスタL257のみによって形成される。
ではここで、図1に示す画像形成装置1における各LPH14の露光動作について説明する。
画像形成動作が開始されると、制御部20は、各画像形成ユニット11を構成する各LPH14の信号発生回路100に対し、ビデオデータVdataを送る。そして、各LPH14に設けられた信号発生回路100では、転送信号発生部120が、入力されてくる制御信号等に基づいて作成したスタート信号φS、第1転送信号φ1および第2転送信号φ2を、発光部63を構成する60個の発光チップC(C1〜C60)に出力する。また、信号発生回路100では、発光信号発生部110が、入力されてくるビデオデータVdataに基づいて作成した、主走査方向1ライン分に対応する60個の発光信号φI(φI1〜φI60)を、発光部63を構成する60個の発光チップC(C1〜C60)に出力する。そして、各LPH14の発光部63では、各発光チップC1〜C60が、それぞれに入力される各発光信号φI1〜φI60に応じて、搭載する発光サイリスタL1〜L260を、それぞれ発光/非発光に設定することにより、感光体ドラム12を選択的に露光する。なお、このとき、各発光チップC1〜C60では、それぞれに設けられた発光サイリスタL1〜L260のうち、発光点に設定された発光サイリスタLが発光または非発光のいずれかの状態に設定される一方、非発光点に設定された発光サイリスタLはすべて非発光の状態に設定される。
次に、図12に示すタイミングチャートを参照しながら、このような露光動作における発光チップCの動作を詳細に説明する。なお、図12には、発光信号φIとして第1発光信号φIa、第2発光信号φIb、第3発光信号φIc、第4発光信号φIdおよび第5発光信号φIeを示している。ここで、第1発光信号φIaは、位置補正データPが基準位置補正データP0であって倍率補正データMが基準倍率補正データM0の場合に設定される。また、第2発光信号φIbは、位置補正データPが第1位置補正データP1であって倍率補正データMが基準倍率補正データM0の場合に設定される。さらに、第3発光信号φIcは、位置補正データPが第2位置補正データP2であって倍率補正データMが基準補正データM0の場合に設定される。さらにまた、第4発光信号φIdは、位置補正データPが基準位置補正データP0であって倍率補正データMが第1倍率補正データM1の場合に設定される。そして、第5発光信号φIeは、位置補正データPが基準位置補正データP0であって倍率補正データMが第2倍率補正データM2の場合に設定される。
なお、図12に示すタイミングチャートは、発光チップCにおいて、発光点に設定された発光サイリスタLをすべて発光させる場合について表記している。また、初期状態においては、スタート信号φSがローレベル(L)に、第1転送信号φ1がハイレベル(H)に、第2転送信号φ2がローレベルに、そして発光信号φI(φIa〜φIe)がハイレベルに、それぞれ設定されているものとする。また、ここでは、1枚の発光チップCの動作を説明するが、実際には、各発光チップC1〜C60が並行して動作する。
動作の開始に伴い、信号発生部100の転送信号発生部120から入力されるスタート信号φSが、ローレベルからハイレベルに変更される。これにより、発光チップCの転送サイリスタS1のゲート端子G1にハイレベルのスタート信号φSが供給される。このとき、ダイオードD1〜D259を介して、他の転送サイリスタS2〜S260のゲート端子G2〜G260にもスタート信号φSが供給される。ただし、各ダイオードD1〜D260でそれぞれ電圧降下が生じるため、転送サイリスタS1のゲート端子G1にかかる電圧が最も高くなる。
そして、スタート信号φSがハイレベルとなっている状態で、転送信号発生部120から入力される第1転送信号φ1が、ハイレベルからローレベルに変更される。また、第1転送信号φ1がローレベルに変更されてから第1の期間taが経過した後、転送信号発生部120から入力される第2転送信号φI2が、ローレベルからハイレベルに変更される。
このように、スタート信号φSがハイレベルとなっている状態において、ローレベルの第1転送信号φ1が供給されると、発光チップCでは、ローレベルの第1転送信号φ1が供給される奇数番目の転送サイリスタS1、S3、…、S259のうち、ゲート電圧が最も高く、閾値以上となる転送サイリスタS1がターンオンする。また、このとき、第2転送信号φ2はハイレベルとなっているので、偶数番目の転送サイリスタS2、S4、…、S260のカソード電圧は高いままとなり、ターンオフの状態が維持される。このとき、発光チップCでは、奇数番目の転送サイリスタS1のみがターンオンした状態になる。これに伴い、奇数番目の転送サイリスタS1とゲート同士が接続された発光サイリスタL1がターンオンし、発光可能な状態におかれる。
転送サイリスタS1がターンオンしている状態において、第2転送信号φ2がハイレベルに変更されてから第2の期間tbが経過した後、第2転送信号φ2がハイレベルからローレベルに変更される。すると、ローレベルの第2転送信号φ2が供給される偶数番目の転送サイリスタS2、S4、…、S260のうち、ゲート電圧が最も高く、閾値以上となる転送サイリスタS2がターンオンする。このとき、発光チップCでは、奇数番目の転送サイリスタS1とこれに隣接する偶数番目の転送サイリスタS2とが、共にターンオンした状態になる。これに伴い、既にターンオンしている発光サイリスタL1に加えて、偶数番目の転送サイリスタS2とゲート同士が接続された発光サイリスタL2がターンオンし、共に発光可能な状態におかれる。
転送サイリスタS1および転送サイリスタS2が共にターンオンしている状態において、第2転送信号φ2がローレベルに変更されてから第3の期間tcが経過した後、第1転送信号φ1がローレベルからハイレベルに変更される。これに伴い、奇数番目の転送サイリスタS1はターンオフし、偶数番目の転送サイリスタS2のみがターンオンした状態になる。これに伴い、奇数番目の発光サイリスタL1はターンオフして発光不能な状態におかれ、偶数番目の発光サイリスタL2のみがターンオンを維持して発光可能な状態におかれる。なお、この例では、第1転送信号φ1がハイレベルに変更されるのに合わせて、スタート信号φSがハイレベルからローレベルに変更されている。
転送サイリスタS2がターンオンしている状態において、第1転送信号φ1がハイレベルに変更されてから第4の期間tdが経過した後、第1転送信号φ1がハイレベルからローレベルに変更される。これに伴い、ローレベルの第1転送信号φ1が供給される奇数番目の転送サイリスタS1、S3、…、S259のうち、ゲート電圧が最も高い転送サイリスタS3がターンオンする。このとき、発光チップCでは、偶数番目の転送サイリスタS2とこれに隣接する奇数番目の転送サイリスタS3とが、共にターンオンした状態になる。これに伴い、既にターンオンしている発光サイリスタL2に加えて、奇数番目の転送サイリスタS3とゲート同士が接続された発光サイリスタL3がターンオンし、共に発光可能な状態におかれる。
転送サイリスタS2および転送サイリスタS3が共にターンオンしている状態において、第1転送信号φ1がローレベルに変更されてから第5の期間teが経過した後、第2転送信号φ2がローレベルからハイレベルに変更される。これに伴い、偶数番目の転送サイリスタS2はターンオフし、奇数番目の転送サイリスタS3のみがターンオンした状態になる。これに伴い、偶数番目の発光サイリスタL2はターンオフして発光不能な状態におかれ、奇数番目の発光サイリスタL3のみがターンオンを維持して発光可能な状態におかれる。
このように、発光チップCでは、第1転送信号φ1および第2転送信号φ2が共にローレベルに設定される重なり期間を設けつつ、交互にハイレベル、ローレベルが切り換えられることにより、転送サイリスタS1〜S260が番号順に順次ターンオンする。また、これに伴い、発光サイリスタL1〜L260も番号順に順次ターンオンする。このとき、第2の期間tbでは、奇数番目の転送サイリスタ(例えば転送サイリスタS1)のみがターンオンし、第3の期間tcでは、奇数番目の転送サイリスタおよび次段に設けられた偶数番目の転送サイリスタ(例えば転送サイリスタS1および転送サイリスタS2)がターンオンし、第4の期間tdでは、偶数番目の転送サイリスタ(例えば転送サイリスタS2)のみがターンオンし、第5の期間teでは、偶数番目の転送サイリスタおよび次段に設けられた奇数番目の転送サイリスタ(例えば転送サイリスタS2および転送サイリスタS3)がターンオンし、その後、再び第2の期間tbにおいて奇数番目の転送サイリスタ(例えば転送サイリスタS3)のみがターンオンする、という過程を繰り返すことになる。
ではここで、第1発光信号φIaに基づく発光サイリスタL1〜L260の発光動作について説明する。第1発光信号φIaでは、基本的に、奇数番目および偶数番目の転送サイリスタが共にターンオンする第3の期間tcにおいて、ハイレベルからローレベルへの変更およびローレベルからハイレベルへの変更が行われる。ただし、左端の2個の転送サイリスタS1、S2が共にターンオンする期間、および、右端の2個の転送サイリスタS259、S260が共にターンオンする期間については、このような変更は行われない。これにより、発光チップCでは、両端部を除いて、発光サイリスタL3&L4、L5&L6、…、L255&L256、L257&L258が、2個を1組として順番に発光する。
次に、第2発光信号φIbに基づく発光サイリスタL1〜L260の発光動作について説明する。第2発光信号φIbでは、基本的に、偶数番目および奇数番目の転送サイリスタが共にターンオンする第5の期間teにおいて、ハイレベルからローレベルへの変更およびローレベルからハイレベルへの変更が行われる。ただし、右端側の2個の転送サイリスタS258、S259が共にターンオンする期間については、このような変更は行われない。これにより、発光チップCでは、右端側を除いて、発光サイリスタL2&L3、L4&L5、…、L254&L255、L256&L257が、2個を1組として順番に発光する。
次に、第3発光信号φIcに基づく発光サイリスタL1〜L260の発光動作について説明する。第3発光信号φIcでは、基本的に、偶数番目および奇数番目の転送サイリスタが共にターンオンする第5の期間teにおいて、ハイレベルからローレベルへの変更およびローレベルからハイレベルへの変更が行われる。ただし、左端側の2個の転送サイリスタS2、S3が共にターンオンする期間については、このような変更は行われない。これにより、発光チップCでは、左端側を除いて、発光サイリスタL4&L5、L6&L7、…、L256&L257、L258&L259が、2個を1組として順番に発光する。
次に、第4発光信号φIdに基づく発光サイリスタL1〜L260の発光動作について説明する。第4発光信号φI4dでは、基本的に、奇数番目および偶数番目の転送サイリスタがともにオンする第3の期間tcにおいて、ハイレベルからローレベルへの変更およびローレベルからハイレベルへの変更が行われる。ただし、左端の2個の転送サイリスタS1、S2が共にターンオンする期間、および、右端の2個の転送サイリスタS259、S260が共にターンオンする期間については、このような変更は行われない。また、右端側の1個の転送サイリスタS259のみがターンオンする第2の期間tbにおいて、ハイレベルからローレベルへの変更およびローレベルからハイレベルへの変更が行われる。これにより、発光チップCでは、両端部を除いて、発光サイリスタL3&L4、L5&L6、…、L255&L256、L257&L258が、2個を1組として順番に発光し、続いて、発光サイリスタL259が単独で発光する。
最後に、第5発光信号φIeに基づく発光サイリスタL1〜L260の発光動作について説明する。第5発光信号φIeでは、基本的に、奇数番目および偶数番目の転送サイリスタがともにオンする第3の期間tcにおいて、ハイレベルからローレベルへの変更およびローレベルからハイレベルへの変更が行われる。ただし、左端の2個の転送サイリスタS1、S2が共にターンオンする期間、右端側の2個の転送サイリスタS257、S258が共にターンオンする期間、および、右端の転送サイリスタS259、S260が共にターンオンする期間については、このような変更は行われない。また、右端側の1個の転送サイリスタS257のみがターンオンする第2の期間tbにおいて、ハイレベルからローレベルへの変更およびローレベルからハイレベルへの変更が行われる。これにより、発光チップCでは、両端部を除いて、発光サイリスタL3&L4、L5&L6、…、L255&L256が、2個を1組として順番に発光し、続いて、発光サイリスタL257が単独で発光する。
図13は、図8に示す状態で取り付けがなされた各LPH14における、発光チップC1〜C6の発光点を示す図である。ここで、図13(a)はイエロー用のLPH14Yを、図13(b)はマゼンタ用のLPH14Mを、図13(c)はシアン用のLPH14Cを、そして図13(d)は黒用のLPH14Kを、それぞれ示している。なお、各LPH14を構成する各発光チップC(C1〜C60)の発光点は、それぞれ、図9(a)〜(h)に示す各色用の位置補正データPおよび倍率補正データMによって補正されている。
図13(a)に示すように、イエロー用のLPH14Yでは、すべての発光チップC1〜C60において、発光点が通常発光点群LAとなる。このとき、隣接する発光チップC1〜C60のすべての重なり部(図4参照)において、発光点は主走査方向に連続することになる。
これに対し、図13(b)に示すように、マゼンタ用のLPH14Mでは、すべての発光チップC1〜C60において、発光点が通常発光点LAから発光点1個分だけIN側にシフトしたものとなる。これにより、図8に示したマゼンタ用のLPH14MのOUT側位置ずれは、イエロー用のLPH14Yと一致する方向に補正される。この場合も、隣接する発光チップC1〜C60のすべての重なり部(図4参照)において、発光点は主走査方向に連続することになる。
また、図13(c)に示すように、シアン用のLPH14Cでは、発光チップC1〜C3において、発光点が通常発光点群LAとなる一方、発光チップC4において、発光点が通常発光点LAにOUT側の発光点1個分だけ加えたものとなり、発光チップC5〜C60において、発光点が通常発光点LAから発光点1個分だけOUT側にシフトしたものとなる。これにより、図8に示したシアン用のLPH14Cの縮小倍率ずれは、イエロー用のLPH14Yと一致する方向に補正される。この場合も、隣接する発光チップC1〜C60のすべての重なり部(図4参照)において、発光点は主走査方向に連続することになる。なお、ここでは、発光チップC4における発光点の数を増加させるようにしていたが、発光チップC1〜C60のうち、いずれか1個の発光チップCの発光点の数を増加させるようにしても、同様の結果が得られる。
さらに、図13(d)に示すように、黒用のLPH14Kでは、発光チップC1〜C3において、発光点が通常発光点群LAとなる一方、発光チップC4において、発光点が通常発光点LAからOUT側の発光点1個分だけ減らしたものとなり、発光チップC5〜C60において、発光点が通常発光点LAから発光点1個分だけIN側にシフトしたものとなる。これにより、図8に示した黒用のLPH14Kの拡大倍率ずれは、イエロー用のLPH14Yと一致する方向に補正される。この場合も、隣接する発光チップC1〜C60のすべての重なり部(図4参照)において、発光点は主走査方向に連続することになる。なお、ここでは、発光チップC4における発光点の数を減少させるようにしていたが、発光チップC1〜C60のうち、いずれか1個の発光チップCの発光点の数を減少させるようにしても、同様の結果が得られる。
なお、この例においては、各発光チップCに対し、基準位置補正データP0あるいは基準倍率補正データM0のいずれか一方を必ず設定する場合について説明を行った。このため、各発光チップC1〜C60におけるIN側端部の発光サイリスタL1およびOUT側端部の発光サイリスタL260が発光点に設定されることはなかった。ただし、1つの発光チップCに対し、第1基準位置データP1あるいは第2基準位置データP2と第1倍率補正データM1あるいは第2倍率補正データM2との組み合わせが設定された場合には、発光サイリスタL1あるいは発光サイリスタL260が、発光点として設定されることもある。
一方、各発光チップCに対し、基準位置補正データP0あるいは基準倍率補正データM0のいずれかを一方を必ず設定するようにし、位置補正データPをさらに増加させて、発光点をIN側およびOUT側にさらにもう1個分(最大で2個分)だけシフトさせるように構成してもよい。
<実施の形態2>
本実施の形態は、実施の形態1とほぼ同様であるが、倍率補正を行うに際して、発光チップCで発光点の増減を行うのではなく、発光チップCの端部の発光点に設定された発光サイリスタLを発光させる際の光量を増減するようにしたものである。なお、本実施の形態において、実施の形態1と同様のものについては、同じ符号を付してその詳細な説明を省略する。
図14は、本実施の形態において、各色LPH14に設けられた位置補正データ記憶部112に記憶される発光チップ名と位置補正データPとの関係、および、倍率補正データ記憶部113に記憶される発光チップ名と倍率補正データMとの関係を説明するための図である。なお、図14は、実施の形態1と同様、イエロー用のLPH14Y、マゼンタ用のLPH14M、シアン用のLPH14Cおよび黒用のLPH14Kが、図8に示す状態で取り付けられた場合に設定される各種補正データを示している。
ここで、図14(a)は、イエロー用のLPH14Yの位置補正データ記憶部112に記憶される内容を、図14(b)はイエロー用のLPH14Yの倍率補正データ記憶部113に記憶される内容を、それぞれ示している。また、図14(c)は、マゼンタ用のLPH14Mの位置補正データ記憶部112に記憶される内容を、図14(d)はマゼンタ用のLPH14Mの倍率補正データ記憶部113に記憶される内容を、それぞれ示している。さらに、図14(e)は、シアン用のLPH14Cの位置補正データ記憶部112に記憶される内容を、図14(f)はシアン用のLPH14Cの倍率補正データ記憶部113に記憶される内容を、それぞれ示している。そして、図14(g)は、黒用のLPH14Kの位置補正データ記憶部112に記憶される内容を、図14(h)は黒用のLPH14Kの倍率補正データ記憶部113に記憶される内容を、それぞれ示している。なお、図14(a)、(c)、(e)、(g)に示す各位置補正データPは、実施の形態1で説明したもの(図9(a)、(c)、(e)、(g))と同じである。
図14(b)に示すように、イエロー用のLPH14Yの倍率補正データ記憶部113には、発光チップC1〜C60に対しすべて基準倍率補正データQ0が設定されている。図14(d)に示すように、マゼンタ用のLPH14Mの倍率補正データ記憶部113には、発光チップC1〜C60に対しすべて基準倍率補正データQ0が設定されている。図14(f)に示すように、シアン用のLPH14Cの倍率補正データ記憶部113には、発光チップC1〜C3およびC6〜C60に対し基準倍率補正データQ0が設定され、発光チップC4に対し第1倍率補正データQ1が設定され、発光チップC5に対し第2倍率補正データQ2が設定されている。図14(h)に示すように、黒用のLPH14Kの倍率補正データ記憶部113には、発光チップC1〜C3およびC6〜C60に対し基準倍率補正データQ0が設定され、発光チップC4に対し第3倍率補正データQ3が設定され、発光チップC5に対し第4倍率補正データQ4が設定されている。
図15は、上述した倍率補正データQすなわち基準倍率補正データQ0、第1倍率補正データQ1、第2倍率補正データQ2、第3倍率補正データQ3および第4倍率補正データQ4と、倍率補正に伴う発光チップCでの発光点の光量との関係を説明するための図である。ここで、図15(a)はQ=Q0の場合を、図15(b)はQ=Q1の場合を、図15(c)はQ=Q2の場合を、図15(d)はQ=Q3の場合を、図15(e)はQ=Q4の場合を、それぞれ示している。なお、本実施の形態では、倍率補正の有無に関係なく、発光チップCにおける発光点の数が一定(256個)となる。そこで、以下の説明においては、発光チップCにおける各発光点を、発光点E1〜E256と呼ぶことにする。
図15(a)に示すように、Q=Q0の場合、各発光点E1〜E256の光量は一律に設定される。これに対し、Q=Q1の場合、発光点E1〜E255の光量は一律に設定されるが、最もOUT側となる発光点E256の光量は、他の発光点E1〜E255の光量よりも多くなるように設定される。また、Q=Q2の場合、発光点E2〜E256の光量は一律に設定されるが、最もIN側となる発光点E1の光量は、他の発光点E2〜E256の光量よりも多くなるように設定される。さらに、Q=Q3の場合、発光点E1〜E255の光量は一律に設定されるが、最もOUT側となる発光点E256の光量は、他の発光点E1〜E255の光量よりも少なくなるように設定される。そして、Q=Q4の場合、発光点E2〜E256の光量は一律に設定されるが、最もIN側となる発光点E1の光量は、他の発光点E2〜E256の光量よりも少なくなるように設定される。
本実施の形態において、各発光サイリスタL1〜L260を発光させる際の光量は、対応する転送サイリスタS1〜S260がターンオンしている間に、発光信号φIをローレベルに維持する期間(発光期間)で調整されている。具体的に説明すると、基準光量に基づいて予め決められた基準発光期間に対し、光量を少なくしたい場合には発光期間を基準発光期間よりも短くし、また、光量を多くしたい場合には発光期間を基準発光期間よりも長くする。
図16は、図8に示す状態で取り付けがなされた各LPH14における、発光チップC1〜C6の発光点を示す図である。ここで、図16(a)はイエロー用のLPH14Yを、図16(b)はマゼンタ用のLPH14Mを、図16(c)はシアン用のLPH14Cを、そして図16(d)は黒用のLPH14Kを、それぞれ示している。なお、各LPH14を構成する各発光チップC(C1〜C60)の発光点は、それぞれ、図14(a)〜(h)に示す各色用の位置補正データPおよび倍率補正データQによって補正されている。
図16(a)に示すように、イエロー用のLPH14Yでは、すべての発光チップC1〜C60において、発光点が通常発光点群LAとなる。このとき、隣接する発光チップC1〜C60のすべての重なり部(図4参照)において、発光点は主走査方向に連続することになる。
これに対し、図16(b)に示すように、マゼンタ用のLPH14Mでは、すべての発光チップC1〜C60において、発光点が通常発光点LAから発光点1個分だけIN側にシフトしたものとなる。これにより、図8に示したマゼンタ用のLPH14MのOUT側位置ずれは、イエロー用のLPH14Yと一致する方向に補正される。この場合も、隣接する発光チップC1〜C60のすべての重なり部(図4参照)において、発光点は主走査方向に連続することになる。
また、図16(c)に示すように、シアン用のLPH14Cでは、発光チップC1〜C4において、発光点が通常発光点LAとなる一方、発光チップC5〜C60において、発光点が通常発光点LAから発光点1個分だけOUT側にシフトしたものとなる。このとき、発光チップC1〜C4の重なり部および発光チップC5〜C60の重なり部では、発光点が主走査方向に連続する。これに対し、発光チップC4と発光チップC5との重なり部では、発光点が主走査方向に1つだけ抜け、連続しなくなる。ただし、発光チップC4と発光チップC5との重なり部において、発光チップC4のOUT側端部の発光点となる発光サイリスタL258の光量および発光チップC5のIN側端部の発光点となる発光サイリスタL4の光量がそれぞれ増加されているため、感光体ドラム12上に形成される静電潜像には、発光点が主走査方向に不連続となることに起因する筋(反転現像方式を採用した場合には白筋となり、正現像方式を採用した場合には黒筋となる)が目立ちにくくなる。これにより、図8に示したシアン用のLPH14Cの縮小倍率ずれは、イエロー用のLPH14Yと一致する方向に補正される。なお、ここでは、発光チップC4と発光チップC5との重なり部において光量調整を行うようにしていたが、他の隣接する2枚の発光チップCの重なり部において光量を調整するようにしても、同様の結果が得られる。
さらに、図16(d)に示すように、黒用のLPH14Kでは、発光チップC1〜C4において、発光点が通常発光点LAとなる一方、発光チップC5〜C60において、発光点が通常発光点LAから発光点1個分だけIN側にシフトしたものとなる。このとき、発光チップC1〜C4の重なり部および発光チップC5〜C60の重なり部では、発光点が主走査方向に連続する。これに対し、発光チップC4と発光チップC5との重なり部では、2つの発光点が主走査方向に重なることになる。ただし、発光チップC4と発光チップC5との重なり部において、発光チップC4のOUT側端部の発光点となる発光サイリスタL258の光量および発光チップC5のIN側端部の発光点となる発光サイリスタL2の光量がそれぞれ低減されているため、感光体ドラム12上に形成される静電潜像には、発光点が主走査方向に重なることに起因する筋(反転現像方式を採用した場合には黒筋となり、正現像方式を採用した場合には白筋となる)が目立ちにくくなる。これにより、図8に示した黒用のLPH14Kの縮小倍率ずれは、イエロー用のLPH14Yと一致する方向に補正される。なお、ここでは、発光チップC4と発光チップC5との重なり部において光量調整を行うようにしていたが、他の隣接する2枚の発光チップCの重なり部において光量を調整するようにしても、同様の結果が得られる。
ここで、実施の形態1、2では、LPH14の出力解像度が1200dpiであるのに対し、ビデオデータVdataの解像度を1/2すなわち600dpiとしていた。ただし、これに限られるものではなく、1/m(mは2以上の整数)としてもよい。この場合には、連続するm個の発光サイリスタLによって、1つの画素を形成すればよい。
<実施の形態3>
本実施の形態は、実施の形態1とほぼ同様であるが、実施の形態1では1200dpiの出力解像度を有する各LPH14に対し、600dpiの解像度のビデオデータVdataを用いて駆動を行っていたのに対し、本実施の形態ではビデオデータVdataの解像度を1200dpiとしたものである。なお、本実施の形態において、実施の形態1と同様のものについては、同じ符号を付してその詳細な説明を省略する。
図17は、図9に示す位置補正データすなわち基準位置補正データP0、第1位置補正データP1および第2位置補正データP2と、位置補正に伴う発光チップCでの発光点の変化との関係を説明するための図である。ここで、図17(a)はP=P0の場合を、図17(b)はP=P1の場合を、図17(c)はP=P2の場合を、それぞれ示している。
図17(a)に示すように、P=P0の場合、発光チップCにおける発光点は、通常発光点群LAのまますなわち発光サイリスタL3〜L258となる。したがって、発光チップCは、256個の発光サイリスタL3〜L258を用いて256個の画素W1〜W256を形成する。具体的に説明すると、例えば図中左側の画素W1は発光サイリスタL3によって形成され、図中右側の画素W256は、発光サイリスタL258によって形成される。
これに対し、図17(b)に示すように、P=P1の場合、発光チップCにおける発光点は、発光サイリスタL2〜L257となり、IN側に1つだけずれる。そして、発光チップCは、256個の発光サイリスタL2〜L257を用いて256個の画素W1〜W256を形成する。具体的に説明すると、例えば図中左側の画素W1は発光サイリスタL2によって形成され、図中右側の画素W256は発光サイリスタL257によって形成される。
一方、図17(c)に示すように、P=P2の場合、発光チップCにおける発光点は、発光サイリスタL4〜L259となり、OUT側に1つだけずれる。そして、発光チップCは、256個の発光サイリスタL4〜L259を用いて256個の画素W1〜W256を形成する。具体的に説明すると、例えば図中左側の画素W1は発光サイリスタL4によって形成され、図中右側の画素W256は発光サイリスタL259によって形成される。
図18は、図9に示す倍率補正データすなわち基準倍率補正データM0、第1倍率補正データM1および第2倍率補正データM2と、倍率補正に伴う発光チップCでの発光点の変化との関係を説明するための図である。ここで、図18(a)はM=M0の場合を、図18(b)はM=M1の場合を、図18(c)はM=M2の場合を、それぞれ示している。
図18(a)に示すように、M=M0の場合、発光チップCにおける発光点は、通常発光点群LAのまますなわち発光サイリスタL3〜L258となる。そして、発光チップCは、256個の発光サイリスタL3〜L258を用いて256個の画素W1〜W256を形成する。
これに対し、図18(b)に示すように、M=M1の場合、発光チップCにおける発光点は、発光サイリスタL3〜L259となり、図中右方向(図8においてはOUT側)に1つだけ増える。そして、発光チップCは、257個の発光サイリスタL3〜L259を用いて257個の画素W1〜W257を形成する。具体的に説明すると、例えば図中左側の画素W1は発光サイリスタL3によって形成され、図中右側の画素W257は、発光サイリスタL259によって形成される。
一方、図18(c)に示すように、M=M2の場合、発光チップCにおける発光点は、発光サイリスタL3〜L257となり、図中左方向(図8においてはIN側)に1つだけ減る。そして、発光チップCでは、255個の発光サイリスタL3〜L257を用いて255個の画素W1〜W255を形成する。具体的に説明すると、例えば図中左側の画素W1は発光サイリスタL3によって形成され、図中右側の画素W255は、発光サイリスタL257によって形成される。
図19は、本実施の形態の露光動作における発光チップCの動作を説明するためのタイミングチャートである。なお、スタート信号φS、第1転送信号φ1および第2転送信号φ2の波形は、実施の形態1と同じである。
ではここで、第1発光信号φIaに基づく発光サイリスタL1〜L260の発光動作について説明する。なお、第1の発光信号φIaは、実施の形態1と同様に位置補正データPが基準位置補正データP0であって倍率補正データMが基準倍率補正データM0の場合に設定される。第1発光信号φIaでは、基本的に、奇数番目の転送サイリスタが単独でターンオンする第2の期間tbおよび偶数番目の転送サイリスタが単独でターンオンする第4の期間tdにおいて、ハイレベルからローレベルへの変更およびローレベルからハイレベルへの変更が行われる。ただし、左端の2個の転送サイリスタS1、S2がターンオンする期間、および、右端の2個の転送サイリスタS259、S260がターンオンする期間については、このような変更は行われない。これにより、発光チップCでは、発光サイリスタL3、L4、…、L257、L258が、1個ずつ順番に発光する。
次に、第2発光信号φIbに基づく発光サイリスタL1〜L260の発光動作について説明する。第2発光信号φIbは、実施の形態1と同様に位置補正データPが第1位置補正データP1であって倍率補正データMが基準倍率補正データM0の場合に設定される。第2発光信号φIbでは、基本的に、奇数番目の転送サイリスタが単独でターンオンする第2の期間tbおよび偶数番目の転送サイリスタが単独でターンオンする第4の期間tdにおいて、ハイレベルからローレベルへの変更およびローレベルからハイレベルへの変更が行われる。ただし、左端の1個の転送サイリスタS1がターンオンする期間、および、右端側の3個の転送サイリスタS258〜S260がターンオンする期間については、このような変更は行われない。これにより、発光チップCでは、発光サイリスタL2、L3、…、L256、L257が、1個ずつ順番に発光する。
次に、第3発光信号φIcに基づく発光サイリスタL1〜L260の発光動作について説明する。第3発光信号φIcは、実施の形態1と同様に位置補正データPが第2位置補正データP2であって倍率補正データMが基準補正データM0の場合に設定される。第3発光信号φIcでは、基本的に、奇数番目の転送サイリスタが単独でターンオンする第2の期間tbおよび偶数番目の転送サイリスタが単独でターンオンする第4の期間tdにおいて、ハイレベルからローレベルへの変更およびローレベルからハイレベルへの変更が行われる。ただし、左端側の3個の転送サイリスタS1〜S3がターンオンする期間、および、右端の1個の転送サイリスタS260がターンオンする期間については、このような変更は行われない。これにより、発光チップCでは、発光サイリスタL4、L5、…、L258、L259が、1個ずつ順番に発光する。
次に、第4発光信号φIdに基づく発光サイリスタL1〜L260の発光動作について説明する。第4発光信号φIdは、実施の形態1と同様に位置補正データPが基準位置補正データP0であって倍率補正データMが第1倍率補正データM1の場合に設定される。第4発光信号φI4dでは、基本的に、奇数番目の転送サイリスタが単独でターンオンする第2の期間tbおよび偶数番目の転送サイリスタが単独でターンオンする第4の期間tdにおいて、ハイレベルからローレベルへの変更およびローレベルからハイレベルへの変更が行われる。ただし、左端の2個の転送サイリスタS1、S2がターンオンする期間、および、右端の転送サイリスタS260がターンオンする期間については、このような変更は行われない。これにより、発光チップCでは、発光サイリスタL3、L4、…、L258、L259が、1個ずつ順番に発光する。なお、発光サイリスタL259の発光の可否は、隣接する発光サイリスタL258の発光の可否に基づいて決定される。すなわち、発光サイリスタL258を発光させる場合には、発光サイリスタL259も発光させるようにし、発光サイリスタL258を発光させない場合には、発光サイリスタL259も発光させないようにする。
最後に、第5発光信号φIeに基づく発光サイリスタL1〜L260の発光動作について説明する。第5発光信号φIeは、実施の形態1と同様に位置補正データPが基準位置補正データP0であって倍率補正データMが第2倍率補正データM2の場合に設定される。第5発光信号φIeでは、基本的に、奇数番目の転送サイリスタが単独でターンオンする第2の期間tbおよび偶数番目の転送サイリスタが単独でターンオンする第4の期間tdにおいて、ハイレベルからローレベルへの変更およびローレベルからハイレベルへの変更が行われる。ただし、左端の2個の転送サイリスタS1、S2がターンオンする期間、および右端側の3個の転送サイリスタS258〜S260がターンオンする期間については、このような変更は行われない。これにより、発光チップCでは、発光サイリスタL3、L4、…、L256、L257が、1個ずつ順番に発光する。
本実施の形態においても、各LPH14において、発光点の主走査方向の連続性を維持しながら、各LPH14の相対的な位置ずれや倍率ずれが補正されることになる。
なお、実施の形態1ないし3では、各発光チップCにおいて、転送サイリスタS1〜S260の各アノード端子を共通電位とし、各カソード端子の電位を第1転送信号φ1あるいは第2転送信号φ2で変えるようにしていたが、これに限られるものではなく、転送サイリスタS1〜S260の各カソード端子を共通電位とし、各アノード端子の電位を第1転送信号φ1あるいは第2転送信号φ2で変えるようにしてもよい。
一方、実施の形態1ないし3では、発光サイリスタL1〜L260の各アノード端子を共通電位とし、各カソード端子の電位を発光信号φI(φI1〜φI60)で変えるようにしていたが、これに限られるものではなく、発光サイリスタL1〜L260の各カソード端子を共通電位とし、各アノード端子の電位を発光信号φIで変えるようにしてもよい。
また、実施の形態1ないし3では、複数の発光サイリスタLを有する発光素子アレイ71および複数の転送サイリスタ等を有するスイッチ素子アレイ72を設けた所謂自己走査型の発光チップCを例に説明を行ったが、これに限られるものではなく、例えば複数の発光ダイオードと、各発光ダイオードの導通の有無を切り換える複数のスイッチ素子とを備えた構成としてもかまわない。すなわち、複数の発光素子と、これら複数の発光素子をそれぞれ発光/非発光の状態に設定する一または複数のスイッチ素子を備えていればよい。
本実施の形態が適用される画像形成装置の全体構成の一例を示す図である。 LPHの構成を示した断面図である。 (a)はLPHにおける回路基板および発光部の上面図であり、(b)はLPHにおけるロッドレンズアレイおよびホルダの上面図である。 発光部のうち、3つの発光チップの連結部位を拡大した図である。 回路基板に搭載される信号発生回路の構成および回路基板の配線構成を示した図である。 発光チップの回路構成を説明するための図である。 発光信号発生部の構成の一例を示す図である。 各LPHを、画像形成装置のフレームに取り付けた状態の一例を示す図である。 (a)〜(h)は、各色のLPHに設けられた、位置補正データ記憶部に記憶される発光チップ名と位置補正データとの関係、および、倍率補正データ記憶部に記憶される発光チップ名と倍率補正データとの関係を説明するための図である。 (a)〜(c)は、各位置補正データと各発光チップにおける発光点との関係を説明するための図である。 (a)〜(c)は、各倍率補正データと各発光チップにおける発光点との関係を説明するための図である。 実施の形態1における発光チップの動作を説明するためのタイミングチャートである。 (a)〜(d)は、各LPH14における、各発光チップの発光点を示す図である。 (a)〜(h)は、各色のLPHに設けられた、位置補正データ記憶部に記憶される発光チップ名と位置補正データとの関係、および、倍率補正データ記憶部に記憶される発光チップ名と倍率補正データとの関係を説明するための図である。 (a)〜(e)は、各倍率補正データと倍率補正に伴う発光チップでの発光点の光量との関係を説明するための図である。 (a)〜(d)は、各LPH14における、各発光チップの発光点を示す図である。 (a)〜(c)は、各位置補正データと各発光チップにおける発光点との関係を説明するための図である。 (a)〜(c)は、各倍率補正データと各発光チップにおける発光点との関係を説明するための図である。 実施の形態3における発光チップの動作を説明するためのタイミングチャートである。
符号の説明
14…LEDプリントヘッド(LPH)、63…発光部、70…チップ基板、100…信号発生回路、110…発光信号発生部、111…画像データ並べ替え部、112…位置補正データ記憶部、113…倍率補正データ記憶部、114…発光信号生成部、120…転送信号発生部、C1〜C60…発光チップ、S1〜S260…転送サイリスタ、L1〜L260…発光サイリスタ、φI…発光信号、φS…スタート転送信号、φ1…第1転送信号、φ2…第2転送信号、LA…通常発光点群、LB…第1予備発光点群、LC…第2予備発光点群、P…位置補正データ、M、Q…倍率補正データ

Claims (8)

  1. 第1の解像度に対応した間隔で一列に配列される複数の発光素子を有する発光素子列と、
    前記第1の解像度の1/m(mは2以上の整数)となる第2の解像度に対応した発光信号を供給する供給手段と、
    前記発光素子列の連続するm個の前記発光素子を組とする複数の組に組分けし、当該複数の組に組分けされた当該m個の発光素子を、前記供給手段から供給される前記発光信号を用いて、当該組を単位として発光または非発光に設定する設定手段と、
    前記設定手段により行われる前記発光素子列の前記複数の発光素子の組分けを、1個の前記発光素子を単位として補正する補正手段と
    を含む発光装置。
  2. 前記補正手段は、前記複数の発光素子の基準となる組分けに対し、発光素子n個(nは1以上の整数)分だけ当該複数の発光素子の配列方向の一方または他方にずらすことで組分けを補正することを特徴とする請求項1記載の発光装置。
  3. 前記補正手段は、前記複数の発光素子の基準となる組分けに対し、前記複数の組のうちの1つの組を構成する発光素子の数をm個から増加または低減させることで組分けを補正することを特徴とする請求項1または2記載の発光装置。
  4. 基板と、当該基板に主走査方向に一列に配列される複数の発光素子を有する発光素子列とを備え、当該発光素子列が、主走査方向中央部に配列される発光素子を含む第1の発光素子群と、当該第1の発光素子群の主走査方向一端側に配列される発光素子を含む第2の発光素子群と、当該第1の発光素子群の主走査方向他端側に配列される発光素子を含む第3の発光素子群とを有する発光素子チップと、
    複数の前記発光素子チップが千鳥状に配列され、且つ、隣り合う2つの発光素子チップ同士の各境界部において、一方の発光素子チップの前記第2の発光素子群と他方の発光チップの前記第3の発光素子群とが、前記主走査方向に重なる重なり部を形成するように取り付けられる取り付け部材と、
    複数の前記発光素子チップのそれぞれに対し、前記発光素子列を構成する前記複数の発光素子の数よりも少ない数であって前記主走査方向に連続する複数の発光素子を発光対象とする発光信号を供給する供給部と、
    複数の前記発光素子チップのそれぞれに対し、発光対象となる発光素子の位置および/または数を補正する補正部と、
    複数の前記発光素子チップから出力される光を像保持体上に結像させる光学部材と
    を含む露光装置。
  5. 前記供給部は、前記重なり部において発光対象となる発光素子が主走査方向に連続するように、複数の前記発光素子チップのそれぞれに対して前記発光信号を供給することを特徴とする請求項4記載の露光装置。
  6. 前記供給部は、前記重なり部において発光対象となる発光素子が主走査方向に重なる場合に、重なる2つの発光素子を発光させる際の光量をそれぞれ低減することを特徴とする請求項4記載の露光装置。
  7. 前記供給部は、前記重なり部において発光対象となる発光素子が主走査方向に不連続となる場合に、不連続となる2つの発光素子を発光させる際の光量をそれぞれ増加させることを特徴とする請求項4記載の露光装置。
  8. 像保持体と、
    前記像保持体を帯電する帯電装置と、
    第1の解像度に対応した間隔で一列に配列される複数の発光素子を有する発光素子列と、当該第1の解像度の1/m(mは2以上の整数)となる第2の解像度に対応した発光信号を供給する供給手段と、当該発光素子列の連続するm個の当該発光素子を組とする複数の組に組分けし、当該複数の組に組分けされた当該m個の発光素子を、当該供給手段から供給される当該発光信号を用いて、当該組を単位として発光または非発光に設定する設定手段と、当該設定手段により行われる当該発光素子列の当該複数の発光素子の組分けを、1個の当該発光素子を単位として補正する補正手段とを有し、前記帯電装置にて帯電された前記像保持体を露光して静電潜像を形成する露光装置と、
    前記像保持体に形成された前記静電潜像を現像して画像を形成する現像装置と、
    前記像保持体に形成された画像を記録材に転写する転写装置と
    を有する画像形成部を、複数備える画像形成装置。
JP2008232150A 2008-09-10 2008-09-10 画像形成装置 Active JP4710941B2 (ja)

Priority Applications (3)

Application Number Priority Date Filing Date Title
JP2008232150A JP4710941B2 (ja) 2008-09-10 2008-09-10 画像形成装置
US12/368,406 US20100060704A1 (en) 2008-09-10 2009-02-10 Light-emitting device, exposure device, image forming apparatus and light-emission control method
CN200910129433.6A CN101673752A (zh) 2008-09-10 2009-03-18 发光装置、曝光装置、图像形成装置以及发光控制方法

Applications Claiming Priority (1)

Application Number Priority Date Filing Date Title
JP2008232150A JP4710941B2 (ja) 2008-09-10 2008-09-10 画像形成装置

Publications (2)

Publication Number Publication Date
JP2010064338A true JP2010064338A (ja) 2010-03-25
JP4710941B2 JP4710941B2 (ja) 2011-06-29

Family

ID=41798906

Family Applications (1)

Application Number Title Priority Date Filing Date
JP2008232150A Active JP4710941B2 (ja) 2008-09-10 2008-09-10 画像形成装置

Country Status (3)

Country Link
US (1) US20100060704A1 (ja)
JP (1) JP4710941B2 (ja)
CN (1) CN101673752A (ja)

Cited By (4)

* Cited by examiner, † Cited by third party
Publication number Priority date Publication date Assignee Title
EP2481597A1 (en) 2011-01-27 2012-08-01 Fuji Xerox Co., Ltd. Light emitting element head, light emitting element array chip, and image forming apparatus
JP2014184622A (ja) * 2013-03-22 2014-10-02 Fuji Xerox Co Ltd 発光素子ヘッド及び発光素子ヘッドの製造方法
JP2015229253A (ja) * 2014-06-03 2015-12-21 富士ゼロックス株式会社 露光装置、画像形成装置及び露光装置の製造方法
US10795280B2 (en) 2019-01-10 2020-10-06 Canon Kabushiki Kaisha Image forming apparatus

Families Citing this family (3)

* Cited by examiner, † Cited by third party
Publication number Priority date Publication date Assignee Title
TWI477404B (zh) * 2012-06-08 2015-03-21 Nisho Image Tech Inc 發光裝置之光量補償檢查方法
JP2020055221A (ja) * 2018-10-02 2020-04-09 東芝テック株式会社 発光制御装置及び画像形成装置
EP4283392A4 (en) * 2021-01-22 2024-07-24 Yingyou Equipment Co., Ltd. ELECTRONIC DEVICE AND EXTERNAL FLASH COLOR CORRECTION SYSTEM

Citations (1)

* Cited by examiner, † Cited by third party
Publication number Priority date Publication date Assignee Title
JP2007086638A (ja) * 2005-09-26 2007-04-05 Fuji Xerox Co Ltd 画像形成装置

Family Cites Families (9)

* Cited by examiner, † Cited by third party
Publication number Priority date Publication date Assignee Title
US5260718A (en) * 1990-01-24 1993-11-09 Xerox Corporation Liquid crystal shutter xerographic printer with offset configuration lamp aperture and copier/printer with optically aligned lamps, image bars, and lenses
US5630027A (en) * 1994-12-28 1997-05-13 Texas Instruments Incorporated Method and apparatus for compensating horizontal and vertical alignment errors in display systems
JP3227385B2 (ja) * 1996-07-11 2001-11-12 キヤノン株式会社 画像形成装置
US7038706B1 (en) * 1999-04-07 2006-05-02 Ricoh Company Ltd. Optical write apparatus including a plurality of substrates
JP2001315378A (ja) * 2000-05-08 2001-11-13 Fujitsu Ltd 表示データ変換装置及びこれを使用したledヘッド装置
CN100396497C (zh) * 2000-09-05 2008-06-25 富士施乐株式会社 一种自扫描型发光元件阵列的驱动方法
JP4344585B2 (ja) * 2003-10-29 2009-10-14 株式会社リコー 光書き込み装置
JP4630677B2 (ja) * 2005-01-25 2011-02-09 株式会社リコー 画像形成装置、プリンタ装置、ファクシミリ装置、及び、複写機。
US7505059B2 (en) * 2005-09-12 2009-03-17 Seiko Epson Corporation Line head, image forming apparatus incorporating the same, and method of adjusting position of the same

Patent Citations (1)

* Cited by examiner, † Cited by third party
Publication number Priority date Publication date Assignee Title
JP2007086638A (ja) * 2005-09-26 2007-04-05 Fuji Xerox Co Ltd 画像形成装置

Cited By (5)

* Cited by examiner, † Cited by third party
Publication number Priority date Publication date Assignee Title
EP2481597A1 (en) 2011-01-27 2012-08-01 Fuji Xerox Co., Ltd. Light emitting element head, light emitting element array chip, and image forming apparatus
US8947486B2 (en) 2011-01-27 2015-02-03 Fuji Xerox Co., Ltd. Light emitting element head, light emitting element array chip, and image forming apparatus
JP2014184622A (ja) * 2013-03-22 2014-10-02 Fuji Xerox Co Ltd 発光素子ヘッド及び発光素子ヘッドの製造方法
JP2015229253A (ja) * 2014-06-03 2015-12-21 富士ゼロックス株式会社 露光装置、画像形成装置及び露光装置の製造方法
US10795280B2 (en) 2019-01-10 2020-10-06 Canon Kabushiki Kaisha Image forming apparatus

Also Published As

Publication number Publication date
JP4710941B2 (ja) 2011-06-29
US20100060704A1 (en) 2010-03-11
CN101673752A (zh) 2010-03-17

Similar Documents

Publication Publication Date Title
JP5866887B2 (ja) 発光素子ヘッドおよび画像形成装置
JP4710941B2 (ja) 画像形成装置
JP6225723B2 (ja) 光走査ヘッド、画像処理装置、光量補正制御プログラム
JP4656227B2 (ja) 発光素子ヘッドおよび画像形成装置
JP5874190B2 (ja) 発光装置、プリントヘッドおよび画像形成装置
JP4803238B2 (ja) 発光素子ヘッドおよび画像形成装置
JP4798235B2 (ja) 発光装置、露光装置および画像形成装置
JP5200708B2 (ja) 発光装置、露光装置
JP5724520B2 (ja) 発光チップ、プリントヘッドおよび画像形成装置
JP6413473B2 (ja) 発光装置および画像形成装置
JP5413013B2 (ja) 発光素子ヘッド、画像形成装置、発光素子ヘッドの光量補正方法およびプログラム
WO2020004422A1 (ja) 画像形成装置
JP5168202B2 (ja) 発光装置、プリントヘッドおよび画像形成装置
JP5445269B2 (ja) 発光装置、発光装置の駆動方法、プリントヘッドおよび画像形成装置
JP5092359B2 (ja) プリントヘッド
JP5866924B2 (ja) 発光素子ヘッドおよび画像形成装置
JP2012101497A (ja) 発光チップ、発光装置、プリントヘッドおよび画像形成装置
JP2023002410A (ja) プリントヘッド及び画像形成装置
JP2010201768A (ja) 画像形成装置、露光装置および発光装置
US20100182391A1 (en) Exposure device, image forming apparatus and computer-readable medium
JP2011194827A (ja) 露光装置、露光装置の駆動方法、プリントヘッドおよび画像形成装置
JP5316589B2 (ja) 発光装置、プリントヘッドおよび画像形成装置
JP2012020498A (ja) 発光装置、プリントヘッドおよび画像形成装置
JP2013059900A (ja) 画像形成装置および発光素子ヘッド
WO2020004483A1 (ja) 画像形成装置

Legal Events

Date Code Title Description
A977 Report on retrieval

Free format text: JAPANESE INTERMEDIATE CODE: A971007

Effective date: 20100906

A131 Notification of reasons for refusal

Free format text: JAPANESE INTERMEDIATE CODE: A131

Effective date: 20100914

A521 Request for written amendment filed

Free format text: JAPANESE INTERMEDIATE CODE: A523

Effective date: 20101115

A131 Notification of reasons for refusal

Free format text: JAPANESE INTERMEDIATE CODE: A131

Effective date: 20101207

A521 Request for written amendment filed

Free format text: JAPANESE INTERMEDIATE CODE: A523

Effective date: 20110201

A01 Written decision to grant a patent or to grant a registration (utility model)

Free format text: JAPANESE INTERMEDIATE CODE: A01

Effective date: 20110222

A61 First payment of annual fees (during grant procedure)

Free format text: JAPANESE INTERMEDIATE CODE: A61

Effective date: 20110307