JP2010063566A - コンパクト容器 - Google Patents
コンパクト容器 Download PDFInfo
- Publication number
- JP2010063566A JP2010063566A JP2008231683A JP2008231683A JP2010063566A JP 2010063566 A JP2010063566 A JP 2010063566A JP 2008231683 A JP2008231683 A JP 2008231683A JP 2008231683 A JP2008231683 A JP 2008231683A JP 2010063566 A JP2010063566 A JP 2010063566A
- Authority
- JP
- Japan
- Prior art keywords
- cosmetic dish
- wall
- lid
- dish
- container body
- Prior art date
- Legal status (The legal status is an assumption and is not a legal conclusion. Google has not performed a legal analysis and makes no representation as to the accuracy of the status listed.)
- Granted
Links
- 239000002537 cosmetic Substances 0.000 claims abstract description 130
- 238000003825 pressing Methods 0.000 claims description 66
- 230000005489 elastic deformation Effects 0.000 claims description 8
- 230000002093 peripheral effect Effects 0.000 description 12
- 238000003860 storage Methods 0.000 description 8
- 238000012986 modification Methods 0.000 description 7
- 230000004048 modification Effects 0.000 description 7
- 229920003002 synthetic resin Polymers 0.000 description 5
- 239000000057 synthetic resin Substances 0.000 description 5
- 238000004519 manufacturing process Methods 0.000 description 4
- 239000000463 material Substances 0.000 description 4
- 238000005452 bending Methods 0.000 description 2
- 210000000078 claw Anatomy 0.000 description 2
- 230000002349 favourable effect Effects 0.000 description 2
- 230000000149 penetrating effect Effects 0.000 description 2
- 241000483376 Noctua comes Species 0.000 description 1
- 230000015572 biosynthetic process Effects 0.000 description 1
- 238000005520 cutting process Methods 0.000 description 1
- 239000002184 metal Substances 0.000 description 1
- 238000000034 method Methods 0.000 description 1
Images
Classifications
-
- A—HUMAN NECESSITIES
- A45—HAND OR TRAVELLING ARTICLES
- A45D—HAIRDRESSING OR SHAVING EQUIPMENT; EQUIPMENT FOR COSMETICS OR COSMETIC TREATMENTS, e.g. FOR MANICURING OR PEDICURING
- A45D33/00—Containers or accessories specially adapted for handling powdery toiletry or cosmetic substances
- A45D33/006—Vanity boxes or cases, compacts, i.e. containing a powder receptacle and a puff or applicator
- A45D33/008—Vanity boxes or cases, compacts, i.e. containing a powder receptacle and a puff or applicator comprising a mirror
-
- A—HUMAN NECESSITIES
- A45—HAND OR TRAVELLING ARTICLES
- A45D—HAIRDRESSING OR SHAVING EQUIPMENT; EQUIPMENT FOR COSMETICS OR COSMETIC TREATMENTS, e.g. FOR MANICURING OR PEDICURING
- A45D40/00—Casings or accessories specially adapted for storing or handling solid or pasty toiletry or cosmetic substances, e.g. shaving soaps or lipsticks
- A45D40/22—Casings characterised by a hinged cover
- A45D40/222—Means for closing the lid
Landscapes
- Closures For Containers (AREA)
Abstract
【課題】開閉時の操作性を安定させることができ、組み付け性を良好にし、生産性も良好にすることができるコンパクト容器を提供する。
【解決手段】蓋体3が後壁21に回動自在に連結された容器本体2と、容器本体の左右側壁23、24に沿って、その前方部若しくは後方部の底壁25に形成される一対の短尺スリット27と、これら一対の短尺スリットに面して、左右側壁に弾性変形可能に形成される一対の押圧壁29と、左右側壁の間で前後方向スライド自在に嵌着される化粧料皿4と、化粧料皿と蓋体とを係脱自在に係合して容器本体の閉蓋状態を保持し、化粧料皿のスライド移動によって、その係合を解除するフック部と、化粧料皿に面して、押圧壁に一体形成される突起部26と、突起部に面して化粧料皿に一体形成され、押圧壁の押圧操作で、突起部を摺動自在に摺動させて化粧料皿4を前方若しくは後方のいずれか一方にスライド移動させる傾斜部42とを有する。
【選択図】図3
【解決手段】蓋体3が後壁21に回動自在に連結された容器本体2と、容器本体の左右側壁23、24に沿って、その前方部若しくは後方部の底壁25に形成される一対の短尺スリット27と、これら一対の短尺スリットに面して、左右側壁に弾性変形可能に形成される一対の押圧壁29と、左右側壁の間で前後方向スライド自在に嵌着される化粧料皿4と、化粧料皿と蓋体とを係脱自在に係合して容器本体の閉蓋状態を保持し、化粧料皿のスライド移動によって、その係合を解除するフック部と、化粧料皿に面して、押圧壁に一体形成される突起部26と、突起部に面して化粧料皿に一体形成され、押圧壁の押圧操作で、突起部を摺動自在に摺動させて化粧料皿4を前方若しくは後方のいずれか一方にスライド移動させる傾斜部42とを有する。
【選択図】図3
Description
本発明は、左右側壁を外方から押圧操作することで、容器本体と蓋体との係合状態を解除可能なコンパクト容器に関する。
従来、容器本体の両側壁の外方からの押圧操作で、蓋体を開放するコンパクト容器として、例えば特許文献1が知られている。
特許文献1のコンパクト容器は、容器本体の底壁部に、側壁部の長さ方向に沿って形成されるスリットにより、側壁部が容器本体内方へ押圧操作可能に弾性変形される。他方、容器本体には、その内部に中皿が収納され、中皿で覆われた底壁部には溝部が形成され、溝部には薄板状のスライドピースが設けられる。スライドピースは、弾性変形された側壁部によって押圧操作されることで、溝部内でスライド移動される。そして、スライドピースの前端側に形成され、スライドピースのスライド移動に応じて前後方向に移動する係合部が、蓋体に設けられる突起に係脱自在に係合されて、容器本体と蓋体とを係合する。
特開2007−289290号公報
ところで、背景技術にあっては、蓋体と容器本体とを係脱自在に係合するために、容器本体と中皿としての化粧料皿との間に、その前端部に係合部を形成したスライドピースが、別部品として組みこまれている。これにより、コンパクト容器の部品点数が多くなり、操作の際に安定感がないという課題があった。また、製造が繁雑になるという課題もあった。
本発明は上記従来の課題に鑑みて創案されたものであって、左右側壁を押圧操作することで、容器本体と蓋体との係合状態を解除可能なコンパクト容器において、開閉時の操作性を安定させ、組み付け性を良好にし、生産性も良好なコンパクト容器を提供することを目的とする。
本発明にかかるコンパクト容器は、蓋体が後壁に回動自在に連結された容器本体と、該容器本体の左右側壁に沿って、その前方部若しくは後方部の底壁に形成される一対の短尺スリットと、これら一対の短尺スリットに面して、該左右側壁に弾性変形可能に形成される一対の押圧壁と、該容器本体内に、左右側壁の間で前後方向スライド自在に嵌着される化粧料皿と、該化粧料皿と該蓋体の間に、該化粧料皿と該蓋体とを係脱自在に係合して該容器本体の閉蓋状態を保持し、該化粧料皿のスライド移動によって、その係合を解除するフック部と、該押圧壁若しくは該化粧料皿のいずれか一方に、一体形成される突起部と、該突起部に面して、該化粧料皿若しくは該押圧壁に一体形成され、該押圧壁の押圧操作で、該突起部を摺動自在に摺動させて該化粧料皿を前方若しくは後方のいずれか一方にスライド移動させる傾斜部とを有することを特徴とする。
前記突起部は複数形成されるとともに、該突起部に対応させて、前記傾斜部も複数形成されることを特徴とする。
前記化粧料皿と、前記容器本体の前記後壁および前記前壁のいずれかとの間には隙間が形成され、該隙間内には、前方若しくは後方へスライド移動した該化粧料皿により弾性変形され、その弾性復原力によって該化粧料皿を元の位置へ押し戻す弾性変形部材が設けられることを特徴とする。
前記蓋体には、その前端に前記容器本体の前記前壁全体をその前方から覆う垂下前壁部が形成されることを特徴とする。
本発明にかかるコンパクト容器にあっては、左右側壁を押圧操作することで、容器本体と蓋体との係合状態を解除可能なコンパクト容器において、組み付け性を良好にし、生産性も良好にするとともに、開閉時の操作性を安定させることができる。
また、容器本体の側壁と化粧料皿の間を巾を狭く形成することができ、意匠性を良好にすることができる。
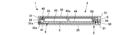
以下に、本発明にかかるコンパクト容器の好適な一実施形態を、添付図面を参照して詳細に説明する。本実施形態にかかるコンパクト容器1は基本的には、図1〜図7に示すように、蓋体3が後壁21に回動自在に連結された容器本体2と、容器本体2の左右側壁23、24に沿って、その前方部若しくは後方部の底壁25に形成される一対の短尺スリット27と、これら一対の短尺スリット27に面して、左右側壁23、24に弾性変形可能に形成される一対の押圧壁29と、容器本体2内に、左右側壁23、24の間で前後方向スライド自在に嵌着される化粧料皿4と、化粧料皿4と蓋体3の間に、化粧料皿4と蓋体3とを係脱自在に係合して容器本体2の閉蓋状態を保持し、化粧料皿4のスライド移動によって、その係合を解除するフック部と、化粧料皿4に面して、押圧壁29若しくは化粧料皿4のいずれか一方に一体形成される突起部26と、突起部26に面して化粧料皿4若しくは押圧壁29に一体形成され、押圧壁29の押圧操作で、突起部26を摺動自在に摺動させて化粧料皿4を前方若しくは後方のいずれか一方にスライド移動させる傾斜部42とを有する。
化粧料皿4と、容器本体2の後壁21および前壁22のいずれかとの間には隙間Sが形成され、隙間S内には、前方若しくは後方へスライド移動した化粧料皿4により弾性変形され、その弾性復原力によって化粧料皿Sを元の位置へ押し戻す弾性変形部材が設けられる。
蓋体3には、その前端に容器本体2の前壁22全体をその前方から覆う垂下前壁部31が形成される。
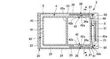
コンパクト容器1は主に、容器本体2と、蓋体3と、容器本体2内部に収納される化粧料皿4とからなる。容器本体2は合成樹脂材で形成される。容器本体2には、底壁25の周縁にその周方向に沿って、前壁22、後壁21、および左右の側壁23、24としての周側壁20が立設される。図示例にあっては、容器本体2は、前壁22および後壁21に対して、左右の側壁23、24の長さが長く、その平面外形輪郭が縦長の長方形状に形成される。容器本体2は縦長の長方形状に限られず、正方形などその他の形状であっても良い。周側壁部20の上端には、これより内方に延設される上縁部20aが形成される。
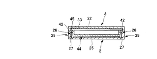
容器本体2には、蓋体3が回動自在に連結される。蓋体3は合成樹脂材で形成され、天板32の周縁にその周方向に沿って環状周壁部30が立設されて、容器本体2に合致する平面外形輪郭で皿状に形成される。蓋体3もまた縦長の長方形状に限られず、正方形などその他の形状であっても良い。天板32の裏面には、板状の鏡33が取り付けられる。蓋体3には、その前端に容器本体2の前壁22全体をその前方から覆う垂下前壁部31が形成される。
容器本体2の後壁21には、左右方向両端からそれぞれ後方へ突出させて、一対のヒンジ片50が形成される。ヒンジ片50の間には凹所53が形成される。また蓋体3の環状周壁部30には、これより凹所53内に垂下させて、ヒンジブロック51が形成される。そしてこれらヒンジブロック51とヒンジ片50との間には、それぞれヒンジピン54が挿入される。これによりヒンジ片50にヒンジブロック51が回動自在に連結されて、容器本体2を開閉すべく蓋体3が回動されるようになっている。
容器本体2には、周側壁20に取り囲まれて化粧料皿収納部5が形成される。化粧料皿収納部5には化粧料皿4が収納される。化粧料皿4は合成樹脂材で皿状に形成される。化粧料皿4の周縁には、枠部45が形成される。枠部45の前後方向略中央には、枠部45の左右端部に亘って、化粧料皿4内部を前後に区画するしきり板45aが一体形成される。これにより、化粧料皿4には、しきり板45aの前後方向に化粧料やパフなどの化粧具を収納するための前皿部43、および後皿部44が形成される。枠部45は、その周縁部の外形が容器本体2の周側壁20の周端縁よりも小さく、かつ、周側壁20の上縁部20aに重ねあわされる程度の大きさに形成される。これにより、化粧料皿4を化粧料皿収納部5に収納した状態で、枠部45の周縁部の下面が、容器本体2の周側壁20の上縁部20aに当接するようになっている。
容器本体2には、その前壁22に、これを前後方向に貫通する孔部22aが形成される。化粧料皿4の前端部40には、前皿部43の前壁の外面から前方へ突出させて、孔部22aに挿抜自在に挿入される平板状のフック41が延設される。フック41は、化粧料皿4が後方へスライド移動した状態でも、孔部22aから脱落しない程度の長さに形成される。他方、蓋体3の垂下前壁部31には、容器本体2の前壁22に面する裏面に、孔部22aから突出したフック41と係脱自在に係合する凹溝状の係合部31aが形成される。化粧料皿収納部5内で化粧料皿4が前方へスライド移動すると、フック41が前壁22の孔部22aを介して係合部31aと係合する。フック41と係合部31aによりフック部が構成される。フック部が化粧料皿4と蓋体3との係合状態を維持することによって容器本体2の閉蓋状態が保持される。
容器本体2内には、左右側壁23、24と化粧料皿4とを前後方向スライド自在に嵌着する嵌着部が形成される。嵌着部は、容器本体2側に形成される第1嵌着部81と、化粧料皿4側に形成される第2嵌着部82とから構成される。図示例にあっては、第1嵌着部81は、容器本体2の後方部側に位置する、左右側壁23、24の上縁部20aで形成されている。他方、第2嵌着部82は、第1嵌着部81に面した後皿部43の左右側壁外面にそれぞれ形成される。第2嵌着部82は、後述する傾斜部42と枠部45とが隙間を挟んで形成されていることにより、これら傾斜部42と枠部45とで構成される。傾斜部42が、前後方向に適宜長さを有して形成されていることで、第2嵌着部82もまた前後方向へ適宜長さに形成される。化粧料皿4を装着するに際しては、容器本体2内に上方より化粧料皿4を挿入すると、傾斜部42が上縁部20aを乗り越えて、第1嵌着部41が第2嵌着部42に前後方向スライド自在に嵌着される。なお、本実施形態にあっては、前述したフック41が孔部22aに挿入されていることで、後方側だけでなく前方側においても、化粧料皿4の前後方向の移動が抑制される構成となっている。
容器本体2の底壁25には、左右側壁23、24に沿って一対の短尺スリット27が形成される。短尺スリット27は、容器本体2の後方部の底壁25に形成される。ここで容器本体2の後方部とは、容器本体2の前後方向略中央位置から後端までをいい、前方部もまた、容器本体2の前後方向略中央位置から前端にかけてをいう。図示例にあっては、短尺スリット27は、底壁25に、左右それぞれの側壁23、24よりもわずかに内側に位置させて形成される。短尺スリット27は、容器本体2の前後方向略中央から後壁21前方の適宜位置にかけて、底壁25を上下方向に真っ直ぐ貫通させた孔状に形成されている。これにより、短尺スリット27に対面する左右の側壁23、24には、弾性変形可能な押圧壁29が形成されることとなる。
左右の押圧壁29には、一対の突起部26が一体形成される。他方、化粧料皿4には、突起部26に対面させて、これを摺動自在に摺動させることで、化粧料皿4を前方へスライド移動させる一対の傾斜部42が一体形成される。
図示例にあっては、傾斜部42は、後皿部44の左右の側壁外面に、それぞれ1つずつ形成されている。傾斜部42は、後皿部44の側壁外面から後方へ向かうにしたがって次第に押圧壁29側に傾斜する傾斜面部42aと、傾斜面部42aの前方に、後皿部44の側壁外面から押圧壁29側へ前後方向適宜長さに突出形成される止め部42bとから構成される。
また、突起部26は、平断面が半円形状に化粧料皿4側に突出形成されている。突起部26には、前後方向中央から後方に向かって傾斜面26aが形成されている。傾斜面26aは、傾斜面部42aに当接しており、これより押圧壁29が内方へ弾性変形するに従い、傾斜面部42a上を前方に向けて摺動する。これにより、傾斜部42には、これを後方へ移動させる操作力が発生する。この操作力により傾斜部42を介して化粧料皿4は後方へスライド移動する。突起部26の前端が止め部42bに当接することで、化粧料皿4の後方へのスライド移動が終了する。
化粧料皿4と、後壁21および前壁22のいずれかとの間には、適宜な間隔の隙間Sが形成される。隙間S内には、スライド移動した化粧料皿4により弾性変形し、その弾性復原力によって、化粧料皿4を押圧操作前の元の位置へ押し戻す弾性変形部材が設けられる。
図示例にあっては、後皿部44の後壁と、容器本体2の後壁21との間に隙間Sが形成されており、隙間S内に弾性変形部材としての板バネ60が配設されている。板バネは、金属製若しくは合成樹脂製で形成される。隙間S内の底壁25の左右両端には、板バネ60を容器本体2に固定する固定部61が形成される。板バネ60には、弾性変形自在な薄板状の湾曲部60aが形成され、その両端に固定部61に嵌着固定される留部60bが形成される。板バネ60は、留部60bを固定部61に固定して、湾曲部60aが前方に湾曲した状態で隙間S内に配設される。湾曲部60aの前端は、後皿部44に当接されている。押圧壁29の押圧操作により、化粧料皿4が後方へスライド移動すると、後皿部44に当接している湾曲部60aが、隙間S内で弾性変形する。そして、押圧壁29の押圧操作を解除すると、固定部61で容器本体2に固定された留部60bに反力をとって、湾曲部60aは隙間S内で弾性復原し、これによって、化粧料皿4を元の位置まで前方へスライド移動させる。
次に、本実施形態にかかるコンパクト容器1の作用を説明する。コンパクト容器1を製作するにあっては、フック41を孔部22aに挿入させつつ、第1嵌着部81と第2嵌着部82とを嵌着させて、化粧料皿収納部5内に化粧料皿4を前後方向スライド自在に装着する。そして、ヒンジブロック51とヒンジ片50にヒンジピン54を連通して、容器本体2に蓋体3を回動自在に連結する。
蓋体3を開放するにあっては、コンパクト容器1を下から支えるように片手で持ち、左右の押圧壁29を手指などで押圧する。すると、押圧壁29が内方へ弾性変形し、突起部26の傾斜面26aが、傾斜部42の傾斜面部42aを摺動し、その操作力によって、化粧料皿4を後方へスライド移動させる。これに伴い、フック41も後方へスライド移動し、これと係合部31aとの係合が解除される。その後蓋体3を手指などで開放する。
化粧料皿4が後方へスライド移動したことによって、隙間Sの領域が狭まるとともに、後皿部44に圧接されて板バネ60が弾性変形する。押圧壁29の押圧操作を解除すると板バネ60が弾性復原する。これに伴って、押圧壁29を押圧操作する前の元の位置まで、化粧料皿4が前方へスライド移動する。
蓋体3を閉止するにあっては、手指などで蓋体3を上方から押圧する。すると、フック41が、係合部31aに押圧されて化粧料皿4とともに後方へ移動し、係合部31aを乗り越えてこれに係合される。
上記コンパクト容器1は、背景技術のように、フック機能を有し、前後方向にスライド移動するスライドピースを別部品として設けたコンパクト容器に比べて、化粧料皿4自体に、フック41と傾斜部42を形成したことによって、押圧壁29を押圧操作すれば、その押圧力が押圧壁29から、傾斜部42を介して化粧料皿4にへ直接作用するため、開蓋などの操作性を安定させることができる。また、押圧壁29に傾斜部42に面して摺動自在な突起部26を設けたことで、傾斜部42にその押圧力が確実に伝わるため、操作の安定性をさらによくするができる。
これに加えて、フック41と傾斜部42とを化粧料皿4に一体形成したことによって、容器本体2、蓋体3および化粧料皿4という、コンパクト容器1の基本構成部品のみで開蓋操作を行うことができるため、上述のスライドピースなどの構成部品が必要なく、部品点数を少なくでき、組み付け性を良くすることができるとともに、製造コストを削減できることで生産性を良くすることもできる。
押圧壁29に突起部26を形成したことによって、突起部26が確実に傾斜面部42aを摺動するため、傾斜面部42aを緩やかな傾斜にすることができる。これにより、化粧料皿4と側壁23、24との間を巾を狭く形成することも可能となり、様々な形状に形成できるため、意匠性の優れたコンパクト容器を製作することが可能となる。
板バネ60を、化粧料皿4と容器本体2の後壁21の間に設けたことによって、押圧壁29の押圧操作を解除すれば、化粧料皿4を元の位置へ押し戻すことができ、確実な閉蓋操作が可能となる。
本実施形態では、蓋体3に垂下前壁部31を設けるようにしている。これによって閉蓋時には、垂下前壁部31が容器本体2の前壁22全体を覆うこととなり、コンパクト容器1全体の外観を良好にすることができる。これに加えて、フック41を化粧料皿4の前端部40に形成し、容器本体2の前壁22の孔部22aから突出させたことで、化粧時などに、周囲に飛散する化粧料が、孔部22aやフック41の周囲に付着しにくいため、操作不良などの不具合を起こりにくくすることができる。
本実施形態では、化粧料皿4は、2つの皿部43、44を有するものであった。しかし、化粧料皿4の形状はこれに限られず、例えば、皿部は1つであっても良い。
本実施形態では、弾性変形部材として、板バネ60が隙間Sに配設されていた。しかし、弾性変形部材は板バネ60には限られない。例えば、図8に示すように、弓形の合成樹脂製のバネ62を化粧料皿4に一体成形しても良い。このように化粧料皿4に一体形成された弓形のバネ62を用いれば、操作の安定性を確保でき、さらに部品点数を少なくして、組み付け性、生産性を向上させることができる。また、図9に示すようなゴム状バネ63を隙間S内に配設するなどしても良いし、その他の周知のバネを用いてもよい。
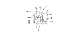
本実施形態にかかるコンパクト容器1のフック部の変形例を図10を用いて説明する。
蓋体3には、垂下前壁部31に代えて、前壁部34が形成される。前壁部34は、容器本体2に合致する平面外形輪郭で皿状に形成された環状周壁部30の前端部に、その一部として形成されており、閉蓋状態では、容器本体2の前壁22の外面とほぼ段差なく形成される。蓋体3には、これより化粧料収納部5内に垂下させて爪部70aが形成される。爪部70aには、その下端に、これより後方へ向けて突出させたフック70bが形成される。他方、化粧料皿4の枠部45前端には、フック70bに係合される係合部70cが垂下形成される。これらフック70bと係合部70cにより、フック部が構成される。
開蓋操作の際には、押圧壁29の押圧操作で化粧料皿4が後方へのスライド移動することに伴って係合部70cが後方へ移動することで、係合部70cとフック70bとの係合が解除される。
次に、本発明にかかるコンパクト容器の第2実施形態を詳細に説明する。本実施形態にあっては、第1実施形態との差異のみを説明する。
本実施形態にかかるコンパクト容器1は、押圧壁29の押圧操作によって化粧料皿4が前方へスライド移動する形態である。図11から13に示すように、このコンパクト容器1では、化粧料皿4の側壁は、前後方向ほぼ全長に亘って外方へ延設されている。化粧料皿4の側壁には、傾斜部42が形成される。傾斜部42の傾斜面部42aは、後皿部44の側壁外面から後方へ向かうにしたがって次第に内方に傾斜させて形成される。止め部42bは、傾斜面部42aの後端に隣接した化粧料皿4側壁により形成される。他方、突起部26の傾斜面26aは、前後方向中央から前方に向かって形成される。開蓋操作により、押圧壁29が内方へ弾性変形することで、突起部26の傾斜面26aが傾斜面部42aを摺動し、これに伴って、傾斜部42を介して化粧料皿4を前方へスライド移動させる。
本実施形態においては、嵌着部は化粧料皿収納部5の前後方向ほぼ全長に亘って形成される。具体的には、第2嵌着部82は、隙間を挟んで隣り合う、外方へ延設した化粧料皿4の側壁と、枠部45とで構成される。第1嵌着部81は、第2嵌着部82に面する容器本体2の上縁部20aで形成されている。
また、隙間Sは化粧料皿4と、容器本体2の前壁22との間に設けられ、隙間Sには板バネ60が設けられる。化粧料皿4が前方へスライド移動して隙間Sの領域が狭まると、板バネ60は、化粧料皿4に押圧されて隙間S内で弾性変形し、押圧部29の押圧操作を解除すると、板バネ60が弾性復原することで化粧料皿4を元の位置まで後方へスライド移動させる。
本実施形態にかかるコンパクト容器1のフック部の形状を図14に示す。蓋体3には、通常の前壁部34が形成される。蓋体3と化粧料皿4の間にはフック部が形成される。フック部は、化粧料皿4の枠部45前端に形成され、後述するフック76を挿抜自在に挿通する孔状の係合部75と、蓋体3の天板32より垂下形成され、その先端が前方に突出することで、係合部75に挿入しかつ係脱自在に係合するフック76とから構成される。
また、前皿部43の前壁には、これより前方へ突設され、その上面に前方から後方にかけて上昇する傾斜面77aを有する突片77が形成される。
さらに、枠部45の前端に第1傾斜部45aが形成され、蓋体3の前壁部34の内側に第1傾斜部45aに対応させた第2傾斜部34aが形成される。
開蓋時には、係合部75が、化粧料皿4とともに前方にスライド移動し、フック76から逸脱してフック部の係合が解除される。これに伴い、突片77がフック76の後端に当接しながらこれを押し上げつつスライドし、係合部75との係合が解除されたフック76を上方へ押し上げ、同時に、第1傾斜部45aが第2傾斜部34aに当接してこれを押し上げて蓋体3を浮き上がらせる。そして、浮き上がった蓋体3を手指などで開放する。
さらに、フック76前端と係合部75の前端とに、互いに対面する一対の傾斜面78が形成されており、使用後は、蓋体3を手指で容器本体2方向に押し込むと、これら傾斜面78が互いに摺動することによって、化粧料皿4を前方へスライド移動させ、スムースに係合部76にフック75が係合される。
フック部は、他に図15に示すように、突片77が形成されない形態のものもある。この場合は、フック部の係合が解除された後、第1傾斜部45aと第2傾斜部34aのみで蓋体3を浮き上がらせる。
次に、本実施形態にかかるコンパクト容器1におけるフック部の変形例を説明する。図16に開蓋段階のフック部の形状を示す。本変形例では、フック部は後述する押し上げフック71と、係合部31aとで構成される。また、本変形例は、蓋体3には、垂下前壁部31が形成されるタイプのものである。化粧料皿4には、前皿部43の前壁外面から前方へ突出させて押し上げフック71が形成される。押し上げフック71は、前皿部43の前壁外面から前方へ突出させた突出部71aと、突出部71aの前端に設けられ、上下方向へ可撓変形可能な可撓部71bと、可撓部71bの前端にほぼ断面三角形状に形成される押し上げ部72とから構成される。押し上げ部72には、その下面に化粧料皿4の前方へのスライド移動に従い、順次上昇する上向き傾斜面72aが形成され、また、上面に化粧料皿4の前方へのスライド移動に従い、係合部31aを押し上げる押し上げ面72bが形成される。また、容器本体2には、その前壁22に、押し上げフック71を前後方向に貫通する孔部22aが形成され、孔部22aには、押し上げ部72のスライド方向に順次上昇させて形成され、上向き傾斜面72aを摺接するガイド斜面22bが設けられる。
容器本体2の前壁22上方には、蓋体3に係止される第1係止部73が突出形成され、蓋体3の垂下前壁部31には、第1係止部73に面して、第1係止部73を係脱自在に係止させる凹状の第2係止部74が形成される。第1係止部73および第2係止部74が互いに係止されて閉蓋状態が保持される。
開蓋操作の際は、押圧壁29の押圧操作により化粧料皿4が前方へスライド移動すると、これに伴って押し上げフック71が前方へ押し込まれる。押し上げ部72は、その上向き傾斜面72aがガイド斜面22bに摺接されることにより、可撓部71bが上方へ可撓変形しながら順次上昇し、押し上げ面72が蓋体3の係合部31aに当接してこれを押し上げる。蓋体3が押し上げられたことによって、第1係止部72および第2係止部73の係止状態が解除される。
コンパクト容器1の使用後は、蓋体3を押し込み操作をすると、第1係止部73が第2係止部74に係止されて閉蓋される。
次に、本発明にかかるコンパクト容器の第3実施形態を詳細に説明する。本実施形態にあっては、第1実施形態との差異のみを説明する。
本実施形態にあっては、図17〜図20に示すように、突起部26は複数形成されるとともに、突起部29に対応させて、傾斜部42も複数形成される。
突起部26は、押圧壁29から化粧料皿4に向かって突出させて、これと一体形成される。図示例にあっては、突起部26は、平断面が半円状に形成されており、その前後方向中央から後方にかけて傾斜面26aが形成されている。突起部26は、押圧壁29にほぼ等間隔に5つ並設されている。
容器本体2の後方部側に位置する化粧料皿4の側壁は、外方に延設される。傾斜部42は、突起部26に対面させて、延設された後皿部44の側壁外面に一体形成される。傾斜部42は、突起部26に対応し、これを嵌合可能な大きさであって、その正面断面形状がV字状に凹設されている。傾斜部42は、突起部26に対応させて後皿部44の側壁に5つ並設されている。
傾斜部42には、前後方向中央から前方にかけて押圧壁29に向かって傾斜される傾斜面部42aが形成される。傾斜面部42aの前端は、傾斜面26aに当接されている。この状態からの押圧操作により、押圧壁29が内方へ弾性変形すると、傾斜面部42aの前方に当接した突起部26の傾斜面26aが傾斜面部42a上を後方に向かって摺動する。これにより傾斜部42には前方へ移動する操作力が発生する。この操作力により傾斜部42を介して化粧料皿4は前方へスライド移動する。突起部26が傾斜部42全体に嵌合されることで、化粧料皿4の前方へのスライド移動が終了する。
本実施形態では、嵌着部は、容器本体2の後方部に形成される。具体的には、隙間を挟んで隣り合う、外方へ延設された化粧料皿4の側壁と、枠部45とにより、第2嵌着部82が形成され、これに面する容器本体2の後方部側の上縁部20aによって第1嵌着部81が形成される。
本実施形態にあっては、傾斜部42が突起部26に対応させてこれを嵌合可能な程度の大きさに形成されていた。これによって化粧料皿4の側面に複数の傾斜部42を形成することができる。そして、これら複数の突起部26を複数の傾斜部42に摺動させることにより、これらを1つずつ形成したものに比べて、化粧料皿4のスライド移動をさらに安定させることが可能となるとともに、押圧壁29の押圧操作位置によらず、安定した操作性を確保することが可能となる。
本実施形態にあっては、化粧料皿4が前方にスライド移動する形態を説明したが、後方にスライド移動する形態であってもよい。傾斜面26aは、突起部26の前後方向中央から後方に形成され、傾斜面部42aは、傾斜部42の前後方向中央から後方に形成することとなる。そして、傾斜面26の前端が傾斜面部42aの後端に当接された状態に配置される。
本実施形態にあっても、上記第1実施形態および第2実施形態と同様、これらの移動方向に応じた様々なフック部を形成することもできる。
次に本実施形態にかかるコンパクト容器1の短尺スリット27の変形例を説明する。図21〜22に示すように、短尺スリット27は、容器本体2の前後方向略中央から後壁21前方の適宜位置にかけて形成されており、かつ、底壁25の下方から上方にかけて徐々に内側に傾斜させて貫通させた孔状に形成されている。これにより、容器本体2底面から短尺スリット27を介して化粧料皿収納部5内が露見せず、意匠性に優れたコンパクト容器1を製作することが可能となる。
上記、第1ないし第3実施形態においては、短尺スリット27は底壁25の後方部側に形成されていたがこれに限られず、前方部側の底壁25に形成してもよい。この場合は、押圧壁29は、容器本体2の前方側の側壁23、24に形成されることなり、これに対応させて、突起部26、傾斜部42を形成することとなる。
第1ないし第3実施形態にあっては、突起部26は押圧壁29に形成されており、これに面して、傾斜部42は化粧料皿4に形成されていた。しかしながら、突起部26を化粧料皿4に形成し、これに対応する傾斜部42を押圧壁29に形成しても良いことはもちろんである。
第1ないし第3実施形態にあっては、突起部26は、左右の押圧壁29より化粧料皿4側へ平断面が半円形状に突出させて形成されていた。しかしながら、突起部26の形状はこれに限られない。例えば突起部26は、傾斜面部42aに対応させて、押圧壁29若しくは化粧料皿4の側壁外面に傾斜面26aを形成するのみでもよい。
第1ないし第3実施形態にあっては、容器本体2および化粧料皿4の嵌着手段として、第1嵌着部と第2嵌着部とで構成される嵌着部を例示していた。しかしながら、嵌着手段はこれに限られず、化粧料皿4が容器本体2内に嵌着できればよい。例えば、化粧料皿4の側壁外面の適宜位置に突起を設け、この突起に面した容器本体2に、前記突起に係合する突起を設けてもよい。ただし、上記実施形態のように、容器本体2内に化粧料皿4を嵌着する手段を、嵌着部として、上縁部20aで形成された第1嵌着部81と、枠部45と化粧料皿4側壁(傾斜部42を含む)との間の隙間で形成された第2嵌着部82とから構成すれば、新たな部品を形成することなく、生産性がより良好となる。
1 コンパクト容器
2 容器本体
3 蓋体
4 化粧料皿
21 後壁
22 前壁
23 左側壁
24 右側壁
25 底壁
26 突起部
27 短尺スリット
29 押圧壁
31 垂下前壁部
31a 係合部
40 前端部
41 フック
42 傾斜部
S 隙間
2 容器本体
3 蓋体
4 化粧料皿
21 後壁
22 前壁
23 左側壁
24 右側壁
25 底壁
26 突起部
27 短尺スリット
29 押圧壁
31 垂下前壁部
31a 係合部
40 前端部
41 フック
42 傾斜部
S 隙間
Claims (4)
- 蓋体が後壁に回動自在に連結された容器本体と、
該容器本体の左右側壁に沿って、その前方部若しくは後方部の底壁に形成される一対の短尺スリットと、
これら一対の短尺スリットに面して、該左右側壁に弾性変形可能に形成される一対の押圧壁と、
該容器本体内に、左右側壁の間で前後方向スライド自在に嵌着される化粧料皿と、
該化粧料皿と該蓋体の間に、該化粧料皿と該蓋体とを係脱自在に係合して該容器本体の閉蓋状態を保持し、該化粧料皿のスライド移動によって、その係合を解除するフック部と、
該押圧壁若しくは該化粧料皿のいずれか一方に、一体形成される突起部と、
該突起部に面して、該化粧料皿若しくは該押圧壁に一体形成され、該押圧壁の押圧操作で、該突起部を摺動自在に摺動させて該化粧料皿を前方若しくは後方のいずれか一方にスライド移動させる傾斜部とを有することを特徴とするコンパクト容器。 - 前記突起部は複数形成されるとともに、該突起部に対応させて、前記傾斜部も複数形成されることを特徴とする請求項1に記載のコンパクト容器。
- 前記化粧料皿と、前記容器本体の前記後壁および前記前壁のいずれかとの間には隙間が形成され、該隙間内には、前方若しくは後方へスライド移動した該化粧料皿により弾性変形され、その弾性復原力によって該化粧料皿を元の位置へ押し戻す弾性変形部材が設けられることを特徴とする請求項1または2に記載のコンパクト容器。
- 前記蓋体には、その前端に前記容器本体の前記前壁全体をその前方から覆う垂下前壁部が形成されることを特徴とする請求項1〜3いずれかの項に記載のコンパクト容器。
Priority Applications (3)
| Application Number | Priority Date | Filing Date | Title |
|---|---|---|---|
| JP2008231683A JP5260199B2 (ja) | 2008-09-10 | 2008-09-10 | コンパクト容器 |
| US12/554,071 US8302614B2 (en) | 2008-09-10 | 2009-09-04 | Compact case |
| FR0956091A FR2935592B1 (fr) | 2008-09-10 | 2009-09-08 | Poudrier |
Applications Claiming Priority (1)
| Application Number | Priority Date | Filing Date | Title |
|---|---|---|---|
| JP2008231683A JP5260199B2 (ja) | 2008-09-10 | 2008-09-10 | コンパクト容器 |
Publications (2)
| Publication Number | Publication Date |
|---|---|
| JP2010063566A true JP2010063566A (ja) | 2010-03-25 |
| JP5260199B2 JP5260199B2 (ja) | 2013-08-14 |
Family
ID=41728489
Family Applications (1)
| Application Number | Title | Priority Date | Filing Date |
|---|---|---|---|
| JP2008231683A Expired - Fee Related JP5260199B2 (ja) | 2008-09-10 | 2008-09-10 | コンパクト容器 |
Country Status (3)
| Country | Link |
|---|---|
| US (1) | US8302614B2 (ja) |
| JP (1) | JP5260199B2 (ja) |
| FR (1) | FR2935592B1 (ja) |
Cited By (1)
| Publication number | Priority date | Publication date | Assignee | Title |
|---|---|---|---|---|
| KR20230123291A (ko) * | 2022-02-16 | 2023-08-23 | 정규철 | 슬라이드 방식의 개폐 구조를 갖는 포장용기 |
Families Citing this family (12)
| Publication number | Priority date | Publication date | Assignee | Title |
|---|---|---|---|---|
| CN102753053B (zh) * | 2010-02-15 | 2015-07-08 | 吉田塑胶工业株式会社 | 铰链装置内置型化妆用容器及其制造方法 |
| FR2968903B1 (fr) * | 2010-12-17 | 2013-08-16 | Oreal | Dispositif de conditionnement d'un produit cosmetique |
| USD709651S1 (en) * | 2012-10-12 | 2014-07-22 | David Gaito | Cosmetic case |
| GB2513578A (en) * | 2013-04-30 | 2014-11-05 | Toly Man Ltd | Compact housing for a cosmetic container |
| US9480322B2 (en) | 2013-09-19 | 2016-11-01 | Moifa L. Mortis Simons | Cosmetics storage assembly |
| FR3035304A1 (fr) * | 2015-04-24 | 2016-10-28 | Qualipac Sa | Base de boitier munie d'un dispositif amortisseur et boitier comportant une telle base |
| USD821034S1 (en) * | 2016-03-16 | 2018-06-19 | HCT Group Holdings Limited | Cosmetic compact |
| USD836842S1 (en) | 2017-11-27 | 2018-12-25 | Mary Kay Inc. | Cosmetic compact |
| USD850006S1 (en) | 2017-11-27 | 2019-05-28 | Mary Kay Inc. | Cosmetic compact |
| USD863685S1 (en) | 2017-11-27 | 2019-10-15 | Mary Kay Inc. | Cosmetic compact |
| USD843660S1 (en) | 2017-11-27 | 2019-03-19 | Mary Kay Inc. | Cosmetic compact |
| KR20210024790A (ko) | 2019-08-26 | 2021-03-08 | (주) 휴마스 | 원격 수질분석 시료 채수장치 및 이를 이용한 수질모니터링 시스템 |
Citations (2)
| Publication number | Priority date | Publication date | Assignee | Title |
|---|---|---|---|---|
| JPS5973213U (ja) * | 1982-11-09 | 1984-05-18 | 吉田工業株式会社 | サイドプツシユ式コンパクト容器 |
| JP2007289290A (ja) * | 2006-04-21 | 2007-11-08 | Yoshida Industry Co Ltd | コンパクト容器 |
Family Cites Families (3)
| Publication number | Priority date | Publication date | Assignee | Title |
|---|---|---|---|---|
| JP4757509B2 (ja) * | 2005-03-04 | 2011-08-24 | 吉田プラ工業株式会社 | 化粧料容器 |
| JP4920259B2 (ja) * | 2006-01-18 | 2012-04-18 | 吉田プラ工業株式会社 | コンパクト容器 |
| US7870862B2 (en) * | 2006-04-21 | 2011-01-18 | Yoshida Industry Co., Ltd. | Vanity case |
-
2008
- 2008-09-10 JP JP2008231683A patent/JP5260199B2/ja not_active Expired - Fee Related
-
2009
- 2009-09-04 US US12/554,071 patent/US8302614B2/en not_active Expired - Fee Related
- 2009-09-08 FR FR0956091A patent/FR2935592B1/fr not_active Expired - Fee Related
Patent Citations (2)
| Publication number | Priority date | Publication date | Assignee | Title |
|---|---|---|---|---|
| JPS5973213U (ja) * | 1982-11-09 | 1984-05-18 | 吉田工業株式会社 | サイドプツシユ式コンパクト容器 |
| JP2007289290A (ja) * | 2006-04-21 | 2007-11-08 | Yoshida Industry Co Ltd | コンパクト容器 |
Cited By (2)
| Publication number | Priority date | Publication date | Assignee | Title |
|---|---|---|---|---|
| KR20230123291A (ko) * | 2022-02-16 | 2023-08-23 | 정규철 | 슬라이드 방식의 개폐 구조를 갖는 포장용기 |
| KR102672488B1 (ko) | 2022-02-16 | 2024-06-04 | 정규철 | 슬라이드 방식의 개폐 구조를 갖는 포장용기 |
Also Published As
| Publication number | Publication date |
|---|---|
| FR2935592A1 (fr) | 2010-03-12 |
| JP5260199B2 (ja) | 2013-08-14 |
| US20100059081A1 (en) | 2010-03-11 |
| US8302614B2 (en) | 2012-11-06 |
| FR2935592B1 (fr) | 2014-04-18 |
Similar Documents
| Publication | Publication Date | Title |
|---|---|---|
| JP5260199B2 (ja) | コンパクト容器 | |
| JP2006239214A (ja) | 化粧料容器 | |
| US6902333B2 (en) | Container capable of moving a contained article in longitudinal direction | |
| JP5241390B2 (ja) | コンパクト容器 | |
| JP5241389B2 (ja) | コンパクト容器 | |
| JP5260200B2 (ja) | コンパクト容器 | |
| JP4954597B2 (ja) | コンパクト容器 | |
| JP4549653B2 (ja) | 化粧料容器 | |
| JP4657592B2 (ja) | コンパクト容器 | |
| JP4037396B2 (ja) | 液体貯留ポット | |
| JP4920294B2 (ja) | コンパクト容器 | |
| JP7221065B2 (ja) | 蓋付き容器 | |
| JP5707156B2 (ja) | コンパクト容器 | |
| JP4970911B2 (ja) | 化粧料容器 | |
| JP5785783B2 (ja) | コンパクト容器 | |
| JP4707429B2 (ja) | スライド式コンパクト容器 | |
| JP7292809B2 (ja) | コンパクト容器 | |
| JPH08150015A (ja) | 化粧料容器 | |
| JP5642431B2 (ja) | コンパクト容器 | |
| JPH07227312A (ja) | 化粧料容器 | |
| JP2928450B2 (ja) | 液体容器のハンドル取付け構造 | |
| JP2006345959A (ja) | 化粧料容器 | |
| JPH08164018A (ja) | 化粧料容器 | |
| JPH07227313A (ja) | 化粧料容器 | |
| JP5496611B2 (ja) | コンパクト容器 |
Legal Events
| Date | Code | Title | Description |
|---|---|---|---|
| A621 | Written request for application examination |
Free format text: JAPANESE INTERMEDIATE CODE: A621 Effective date: 20110831 |
|
| TRDD | Decision of grant or rejection written | ||
| A01 | Written decision to grant a patent or to grant a registration (utility model) |
Free format text: JAPANESE INTERMEDIATE CODE: A01 Effective date: 20130409 |
|
| A61 | First payment of annual fees (during grant procedure) |
Free format text: JAPANESE INTERMEDIATE CODE: A61 Effective date: 20130425 |
|
| FPAY | Renewal fee payment (event date is renewal date of database) |
Free format text: PAYMENT UNTIL: 20160502 Year of fee payment: 3 |
|
| R150 | Certificate of patent or registration of utility model |
Free format text: JAPANESE INTERMEDIATE CODE: R150 |
|
| LAPS | Cancellation because of no payment of annual fees |