JP2010062793A - 圧電振動片、圧電振動片の製造方法、圧電デバイス、および圧電デバイスの製造方法 - Google Patents

圧電振動片、圧電振動片の製造方法、圧電デバイス、および圧電デバイスの製造方法 Download PDF

Info

Publication number
JP2010062793A
JP2010062793A JP2008225603A JP2008225603A JP2010062793A JP 2010062793 A JP2010062793 A JP 2010062793A JP 2008225603 A JP2008225603 A JP 2008225603A JP 2008225603 A JP2008225603 A JP 2008225603A JP 2010062793 A JP2010062793 A JP 2010062793A
Authority
JP
Japan
Prior art keywords
vibrating piece
piezoelectric
connecting portion
piezoelectric vibrating
crystal
Prior art date
Legal status (The legal status is an assumption and is not a legal conclusion. Google has not performed a legal analysis and makes no representation as to the accuracy of the status listed.)
Granted
Application number
JP2008225603A
Other languages
English (en)
Other versions
JP5251369B2 (ja
Inventor
Kenji Komine
賢二 小峰
Yoshitaka Fujiwara
良孝 藤原
Current Assignee (The listed assignees may be inaccurate. Google has not performed a legal analysis and makes no representation or warranty as to the accuracy of the list.)
Miyazaki Epson Corp
Original Assignee
Epson Toyocom Corp
Priority date (The priority date is an assumption and is not a legal conclusion. Google has not performed a legal analysis and makes no representation as to the accuracy of the date listed.)
Filing date
Publication date
Application filed by Epson Toyocom Corp filed Critical Epson Toyocom Corp
Priority to JP2008225603A priority Critical patent/JP5251369B2/ja
Publication of JP2010062793A publication Critical patent/JP2010062793A/ja
Application granted granted Critical
Publication of JP5251369B2 publication Critical patent/JP5251369B2/ja
Expired - Fee Related legal-status Critical Current
Anticipated expiration legal-status Critical

Links

Images

Landscapes

  • Piezo-Electric Or Mechanical Vibrators, Or Delay Or Filter Circuits (AREA)

Abstract

【課題】水晶ウェハと各水晶振動片とを繋げる連結部を破断することで、水晶振動片を水晶ウェハから分離して、水晶振動片を得る方法において、破損屑として水晶振動片に残されてしまうことを抑制する。
【解決手段】表面接触長さAと裏面接触長さBとが相違するので、水晶振動片1に荷重をかける方向により、連結部2の破断状態が異なる。このため、破断された連結部2が、水晶振動片1に残されることを抑制し、水晶振動片1を水晶ウェハ10から分離することができる。
【選択図】図3

Description

本発明は、圧電振動片、圧電振動片の製造方法、圧電デバイス、および圧電デバイスの製造方法に関する。
従来から、圧電体の一種の水晶からなる水晶ウェハに、複数の水晶振動片と、水晶ウェハと各水晶振動片とを繋げる連結部とを形成し、この連結部を破断することで、水晶振動片を水晶ウェハから分離して、水晶振動片を得る方法がある。
そして、連結部の水晶振動片側の幅を、水晶ウェハ側の幅に対して細く形成し、水晶振動片に荷重をかけることで、幅の細い水晶振動片側の連結部を破断させて、水晶ウェハから水晶振動片を分離する方法が開示されている(たとえば、特許文献1参照)。
特開2006−186847号公報(5頁〜7頁、図1)
しかしながら、上述の方法では、水晶振動片の表面と幅の細い水晶振動片側の連結部とが接する部分が起点となって破断するが、この起点の裏側にあたる幅の細い水晶振動片側の連結部と水晶振動片の裏面とが接する部分では破断しにくく、幅の細い水晶振動片側の連結部、および幅の広い水晶ウェハ側の連結部の一部が、破損屑として水晶振動片に残されてしまうという問題がある。
本発明は、上記課題の少なくとも一部を解決するためになされたものである。以下の形態または適用例により実現することが可能である。
[適用例1]本適用例にかかる圧電振動片は、圧電ウェハから形成された圧電振動片と、前記圧電ウェハと前記圧電振動片とに繋がれた連結部とを備え、前記連結部は、前記圧電振動片の表面が前記連結部に接する表面接触長さと前記圧電振動片の裏面が前記連結部に接する裏面接触長さとは相違して形成され、前記連結部が破断されたことを要旨とする。
これによれば、表面接触長さと裏面接触長さとが相違するので、圧電振動片に荷重をかける方向により、連結部の破断状態が異なる。このため、破断された連結部が、圧電振動片に残されることを抑制し、圧電振動片を圧電ウェハから分離することができる。また、破断された連結部が圧電振動片に残されることを抑制するので、連結部が破断されたことによるクラックなどの破損が、圧電振動片に発生することを抑制することができる。この圧電振動片の破損による、振動周波数の変動、CI(Crystal Impedance)値の変動を抑制した圧電振動片を得ることができる。
[適用例2]上記適用例にかかる圧電振動片において、前記表面接触長さは、前記裏面接触長さより長く、前記表面側の前記圧電ウェハの第1面が前記連結部に接する第1接触長さは、前記表面接触長さに等しいまたは長く、前記裏面側の前記圧電ウェハの第2面が前記連結部に接する第2接触長さは、前記裏面接触長さより長いことが好ましい。
これによれば、連結部は、圧電振動片と接する表面接触長さおよび第1接触長さに比べて、圧電ウェハと接する裏面接触長さおよび第2接触長さが短いまたは同じであるので、破断された連結部が、圧電振動片に発生することを抑制することを向上できる。この圧電振動片の破損による、振動周波数の変動、CI(Crystal Impedance)値の変動を抑制した精度の良い圧電振動片を得ることができる。
[適用例3]上記適用例にかかる圧電振動片において、前記連結部を2つ以上備えていることが好ましい。
これによれば、破断された連結部が、圧電振動片に残されることを抑制し、圧電振動片を圧電ウェハから分離することができる。そして、連結部が圧電振動片の外形形成などの製造工程において破断されにくい強度を保つことができる。
[適用例4]本適用例にかかる圧電振動片の製造方法は、圧電ウェハから形成された圧電振動片と、前記圧電ウェハと前記圧電振動片とに繋がれた連結部とを備え、前記連結部は、前記圧電振動片の表面が前記連結部に接する表面接触長さに比べて、前記圧電振動片の裏面が前記連結部に接する裏面接触長さが短く形成され、前記圧電振動片の表面に荷重をかけることにより、前記連結部を破断して前記圧電振動片を前記圧電ウェハから分離する分離工程を備えることを要旨とする。
これによれば、破断された連結部が、圧電振動片に残されることを抑制するので、圧電振動片の小型化を連結部により阻害されることのない圧電振動片の製造方法を提供できる。
[適用例5]本適用例にかかる圧電デバイスは、圧電ウェハから形成された圧電振動片と、前記圧電振動片を収納するパッケージとを備え、前記パッケージ内に前記圧電振動片が気密に封止された圧電デバイスであって、前記圧電ウェハは、前記圧電振動片に繋がれた連結部を備え、前記圧電振動片の表面が前記連結部に接する表面接触長さと前記圧電振動片の裏面が前記連結部に接する裏面接触長さとは相違して形成され、前記連結部が破断されて前記圧電ウェハから分離されたことを要旨とする。
これによれば、破断された連結部が圧電振動片に残されることを抑制するので、パッケージ内においてパッケージと圧電振動片との間隙が僅かであっても、パッケージに圧電振動片が接触して破損することなく圧電振動片の小型化に伴いパッケージを小さくでき、圧電デバイスの小型化を実現することができる。
[適用例6]本適用例にかかる圧電デバイスの製造方法は、圧電ウェハから形成された圧電振動片と、前記圧電ウェハと前記圧電振動片とに繋がれた連結部と、前記圧電振動片を収納するパッケージとを備え、前記パッケージ内に前記圧電振動片が気密に封止された圧電デバイスの製造方法であって、前記連結部は、前記圧電振動片の表面が前記連結部に接する表面接触長さと前記圧電振動片の裏面が前記連結部に接する裏面接触長さとは相違して形成され、前記連結部が接する前記圧電振動片の表面または裏面に荷重をかけることにより、前記連結部を破断して前記圧電振動片を前記圧電ウェハから分離する分離工程を備えることを要旨とする。
これによれば、破断された連結部が圧電振動片に残されることを抑制されているので、パッケージ内においてパッケージと圧電振動片との間隙が僅かであっても、パッケージに圧電振動片が接触して破損することなく圧電振動片の小型化に伴いパッケージを小さくでき、圧電デバイスの小型化を実現することができる圧電デバイスの製造方法を提供することが可能となる。
以下の実施形態では、圧電ウェハ、圧電振動片、および圧電デバイスとして、圧電材料の一種である水晶からなる水晶ウェハ、水晶振動片、および水晶振動子を一例に挙げて説明する。
(第1実施形態)
以下、第1実施形態の水晶振動片について、図1から図4を参照して説明する。
図1は、第1実施形態の水晶振動片を備えた水晶ウェハを示す概略平面図である。図2は、第1実施形態の水晶振動片を備えた水晶ウェハの概略部分拡大図である。図3は、第1実施形態の水晶振動片に繋げられた連結部の部分拡大図である。図4は、第1実施形態の水晶振動片の概略斜視図である。
図1に示すように、水晶ウェハ10は、圧電振動片としての水晶振動片1を複数備えている。水晶振動片1は、長方形に形成されている。
図2(a)は、水晶ウェハ10の部分拡大平面図である。図2(b)は、図2(a)のX−X断面図であり、水晶ウェハ10の断面を示している。
図2(a)に示すように、水晶振動片1、連結部2、および保持部3は、水晶ウェハ10から形成されている。たとえば、水晶ウェハ10にウェットエッチングを施すことにより形成される。連結部2は、1つの水晶振動片1に対して2つ備え、水晶振動片1に繋げられている。そして、連結部2は、保持部3に繋がれている。こうして、水晶振動片1は連結部2および保持部3により水晶ウェハ10に繋げられている。
図2(b)に示すように、水晶振動片1は、表面1Aと裏面1Bとを備えている。表面1A上および裏面1B上に、励振電極11および引出電極11aが、図2(a)に示すように形成されている。
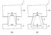
図3(a)は、水晶振動片1に繋げられた連結部2の部分拡大平面図である。図3(b)は、図3(a)のX−X断面図であり、連結部2の断面を示している。
図3(a)および(b)に示すように、連結部2が水晶振動片1の裏面1Bと接する裏面接触長さBは、連結部2が水晶振動片1の表面1Aと接する表面接触長さAに比べて、短く形成されている。このため、連結部2のX−X断面は、台形状に形成されている。そして、連結部2が保持部3の裏面(水晶振動片1の裏面1Bと同一面上)と接する第2接触長さbは、連結部2が保持部3の表面(水晶振動片1の表面1Aと同一面上)と接する第1接触長さaに比べて、短く形成されている。ここで、表面接触長さAは第1接触長さaと等しく、裏面接触長さBは第2接触長さbと等しい。
そして、連結部2を破断することで、図4に示す水晶振動片1を得る。
以下、第1実施形態の水晶振動片の製造方法について、図3、および図5から図7を参照して説明する。図5は、第1実施形態の水晶振動片の製造方法を示すフローチャートである。図6は、第1実施形態の水晶振動片の製造方法を示す模式工程図である。図7は、第1実施形態の水晶振動片の分離方法を示す概略工程図である。
まず、外形パターニング工程(S1)を実施する。これにより、図6(a)に示すように、水晶ウェハ10の表面に外形パターン30A、および水晶ウェハ10の裏面に外形パターン30Bを形成する。外形パターン30A,30Bは、レジスト膜およびAu膜およびCr膜からなる。以下、外形パターニング工程(S1)について説明する。
水晶ウェハ10の表面および裏面に、真空蒸着法を用いて、クロム(Cr)からなるCr膜、金(Au)からなるAu膜を、順に形成する。引き続いて、Au膜の上に、レジストを塗布し、レジスト膜を形成する。ここでは、感光した部分が溶解するポジタイプのレジストを用いる。このレジストは、ノボラック樹脂を含有するフォトレジスト材料が、一例として挙げられる。
その後、マスクを用いて露光処理を施す。マスクを透過する露光により、レジスト膜を感光させる。感光した部分のレジスト膜を溶解し、現像液を用いて除去する。除去することにより露出したAu膜を、エッチング液を用いて除去する。引き続き、Au膜を除去することにより露出したCr膜を、エッチング液を用いて除去する。そして、純水を用いて洗浄する。これにより、水晶ウェハ10の表面および裏面を部分的に露出させる。このようにして、図6(a)に示すように、感光しない部分のレジスト膜およびAu膜およびCr膜からなる外形パターン30A,30Bを、水晶ウェハ10の表面および裏面に形成する。
ここで、図6(a)において、外形パターン30A,30Bを、同様の形状に形成されているように示したが、詳細には外形パターン30Aの幅AXおよび外形パターン30Bの幅BXが相違するように形成されている。つまり、図3(a)および(b)に示したように、連結部2が水晶振動片1の裏面1Bと接する裏面接触長さBは、連結部2が水晶振動片1の表面1Aと接する表面接触長さAに比べて、短く形成されるように、幅BXは幅AXに比べて短く形成されている。
次に、外形エッチング工程(S2)を実施する。
外形パターン30A,30Bをマスクとして用い、水晶ウェハ10にウェットエッチング処理を施す。これにより、部分的に露出された水晶ウェハ10の表面および裏面を、取り除く。その後、外形パターン30A,30Bを、除去する。これにより、図6(b)に示すように、水晶ウェハ10から水晶振動片1、連結部2、および保持部3を形成する。ここで、図6(b)において、連結部2が水晶振動片1の裏面1Bと接する裏面接触長さBと、連結部2が水晶振動片1の表面1Aと接する表面接触長さAとを、同様の形状に形成されているように示したが、連結部2は詳細には図3(a)および(b)に示すように、形成されている。つまり、連結部2が水晶振動片1の裏面1Bと接する裏面接触長さBは、連結部2が水晶振動片1の表面1Aと接する表面接触長さAに比べて、短く形成されている。そして、上述したように、表面接触長さAは第1接触長さaと等しく、裏面接触長さBは第2接触長さbと等しい。
そして、電極パターニング工程(S3)を実施する。
水晶ウェハ10に、真空蒸着法を用いて、クロム(Cr)からなるCr膜、金(Au)からなるAu膜を、順に形成する。引き続いて、Au膜の上に、レジストを塗布し、レジスト膜を形成する。ここでは、外形パターニング工程(S1)と同様に、感光した部分が溶解するポジタイプのレジストを用いる。このレジストは、ノボラック樹脂を含有するフォトレジスト材料が、一例として挙げられる。
その後、マスクを用いて露光処理を施す。マスクを透過する露光により、レジスト膜を感光させる。感光した部分のレジスト膜を溶解し、現像液を用いて除去する。除去することにより露出したAu膜を、エッチング液を用いて除去する。引き続き、Au膜を除去することにより露出したCr膜を、エッチング液を用いて除去する。そして、純水を用いて洗浄する。
このようにして、図6(c)に示すように、感光しない部分のレジスト膜およびAu膜およびCr膜からなる電極パターン31および引出電極パターン31aを、水晶振動片1の表面1Aおよび裏面1Bに形成する。
電極エッチング工程(S4)を実施する。
ウェットエッチング処理を施し、電極パターン31および引出電極パターン31aを除去する。これにより、図6(d)に示すように、水晶振動片1の表面1Aおよび裏面1Bに、励振電極11および引出電極11aを形成する。
分離工程(S5)を実施する。
図7に示すように、連結部2および保持部3を、固定部材40により押付けることで固定する。そして、折り取り部材50を用いて、水晶振動片1の表面1Aに矢印で示す荷重Fをかける。この荷重Fをかける方向は、水晶振動片1の表面1A側から裏面1B側に向かう方向とする。図7に破線で示したように、折り取り部材50は中空で水晶振動片1を吸着する機構を備えていてもよい。これにより、連結部2を破断することで、水晶振動片1を水晶ウェハ10および保持部3から分離する。このようにして、図4に示す水晶振動片1を得る。
したがって、本実施形態によれば、表面接触長さAと裏面接触長さBとが相違するので、水晶振動片1に荷重をかける方向により、連結部2の破断状態が異なる。このため、破断された連結部2が、水晶振動片1に残されることを抑制し、水晶振動片1を水晶ウェハ10から分離することができる。また、破断された連結部2が水晶振動片1に残されることを抑制するので、連結部2が破断されたことによるクラックなどの破損が、水晶振動片1に発生することを抑制することができる。この水晶振動片1の破損による、振動周波数の変動、CI(Crystal Impedance)値の変動を抑制した水晶振動片1を得ることができる。
これによれば、連結部2は、水晶振動片1と接する表面接触長さAおよび第1接触長さaに比べて、水晶ウェハ10と接する裏面接触長さBおよび第2接触長さbが短いまたは同じであるので、破断された連結部2が、水晶振動片1に発生することを抑制することを向上できる。この水晶振動片1の破損による、振動周波数の変動、CI(Crystal Impedance)値の変動を抑制した精度の良い水晶振動片1を得ることができる。
そして、破断された連結部2が、水晶振動片1に残されることを抑制し、水晶振動片1を水晶ウェハ10から分離することができる。そして、水晶振動片1の外形エッチング工程(S2)などの製造工程において、連結部2が破断されにくい強度を保つことができる。
さらには、破断された連結部2が、水晶振動片1に残されることを抑制するので、水晶振動片1の小型化を連結部2により阻害されることのない水晶振動片1の製造方法を提供できる。
なお、上記課題の少なくとも一部を解決できる範囲での変形、改良などは前述の実施形態に含まれるものである。
たとえば、前述の実施形態では、図3に示すように連結部2において表面接触長さAは第1接触長さaと等しく、裏面接触長さBは第2接触長さbと等しいとしたが、これに限るものではなく、裏面接触長さBが、表面接触長さAに比べて短ければ、図8に示す連結部2の変形例であってもよい。
(変形例)
図8は、連結部2の変形例を示す部分拡大図である。図8(a)に示すように、表面接触長さAは第1接触長さaと等しいが、裏面接触長さBは第2接触長さbと等しくなく第2接触長さbよりも短くてもよい。また、図8(b)に示すように、表面接触長さAは第1接触長さaと等しくなく第1接触長さaよりも短く、そして裏面接触長さBは第2接触長さbと等しくなく第2接触長さbよりも短くてもよい。
また、水晶振動片1は、保持部3から延出した2つの連結部2に繋がれているとしたが、水晶振動片1は1つの連結部2に繋がれているとしてもよい。また、水晶振動片1を水晶ウェハ10から分離し易く、そして水晶振動片1の外形形成などの製造工程において分離しにくい強度を保っていれば、連結部2の数量は適宜選択することができる。そして、2つ以上の連結部2に水晶振動片1が繋がれる場合、連結部の形状は図3または図8に示したいずれか1つに限るものではなく、いずれかを組み合わせて用いてもよい。さらには、水晶ウェハ10と水晶振動片1とは、保持部3および連結部2により繋がれているとして説明したが、これに限るものではなく、水晶ウェハ10と水晶振動片1とは連結部2だけにより繋がれているとしてもよい。この場合、保持部3は形成されない、または水晶ウェハ10と一体となって形成されているとしてもよい。
そして、電極エッチング工程(S4)の後に分離工程(S5)を実施すると説明したが、これに限らず、外形エッチング工程(S2)の後に分離工程(S5)を実施するとしてもよい。
(第2実施形態)
以下、第2実施形態の圧電デバイスとして水晶振動子を一例に挙げて説明する。
第2実施形態の圧電デバイスは、第1実施形態の水晶振動片を用いた水晶振動子である。このため、第2実施形態の圧電デバイスに用いる水晶振動片は、第1実施形態の水晶振動片と同様の構成であるため、同一の符号を付与し、構成の説明を省略する。
図9および図10は、第2実施形態の水晶振動子を示している。図9は蓋体を除いて内部構造を露出した水晶振動子の概略平面図である。図10は、図9の概略X−X断面図であり、蓋体を配置して示すものである。
図9および図10に示すように、水晶振動子30は、パッケージ36内に水晶振動片1を収納している。具体的には、水晶振動子30は、図10に示すように、第1の基板34と、この第1の基板34に積層された第2の基板35とを含むパッケージ36内に水晶振動片1を収納している。
パッケージ36を構成する第1の基板34は絶縁基体であり、その上に電極部32が形成されている。図9に示されているように、電極部32は、パッケージ36の端部において、第1の基板34の幅方向の両端部に一対設けられている。
第1の基板34と第2の基板35は絶縁材料で形成され、セラミックが適している。特に、好ましい材料としては水晶振動片1や蓋体37の熱膨張係数と一致もしくは、きわめて近い熱膨張係数を備えたものが選択され、本実施形態では、例えば、セラミックのグリーンシートが利用されている。グリーンシートは、例えば、所定の溶液中にセラミックパウダを分散させ、バインダを添加して生成される混練物をシート状の長いテープ形状に成形し、これを所定の長さにカットして得られるものである。
第1の基板34と第2の基板35とは、図示する形状に成形したグリーンシートを積層し、焼結して形成することができる。この場合、第1の基板34は、パッケージ36の底部を構成する基板で、これに重ねられる第2の基板35は、上述したグリーンシートを板状として、内部の材料を除去して、枠状として、図10の内部空間Sを形成したもので、この内部空間Sを利用して、水晶振動片1を収納するようにしている。このパッケージ36には、セラミックやガラスあるいはコバールなどの金属で形成された蓋体37がコバールリングなどの接合材もしくは封止材47などを介して接合されている。これにより、パッケージ36は気密に封止されている。
第1の基板34上には、例えば、銀・パラジウムなどの導電ペーストもしくはタングステンメタライズなどの導電ペーストなどを用いて、必要とされる導電パターンを形成後に、第1の基板34および第2の基板35の焼結をした後で、ニッケルおよび金もしくは銀などを順次メッキして、上述した電極部32が形成されている。
図10に示すように、電極部32は、パッケージ36の底面に露出した実装端子41と図示しない導電パターンにより接続されている。この電極部32と実装端子41とを接続するための導電パターンは、パッケージ36の形成時に利用されるキャスタレーション(図示せず)の表面に形成して、パッケージ36の外面を引き回してもよいし、あるいは第1の基板34を貫通する導電スルーホールなどにより接続してもよい。
図9において、水晶振動片1の表面1Aには、駆動用の主電極として、励振電極11が形成されている。励振電極11は、水晶振動片1の積極的に振動させようとする領域に形成され、駆動電圧に印加することで、水晶振動片1に効率よく電界を生じさせ、励振するためのものである。それぞれ水晶振動片1の長さ方向の端部において、その幅方向の両端にそれぞれ引出電極11aを形成している。そして、いずれか一方の引出電極11aは、励振電極11に接続されている。励振電極11および引出電極11aは、水晶振動片1の裏面1Bにも同様の形態で形成されている。
また、表面1Aの各引出電極11aは、水晶振動片1の側面を回り込んで、裏面1Bの各引出電極11aにそれぞれ接続されている。
このような水晶振動片1は、図10に示されているように、パッケージ36側の各電極部32の上に導電性接着剤43を塗布し、その上に水晶振動片1の図9で説明した各引出電極11aが形成されている基部もしくは一端部33aを載置して、これら導電性接着剤43を硬化させることにより片持ち式に接合されている。
これにより、パッケージ36の外部から実装端子41を介して供給された駆動電圧は、パッケージ36側の電極部32から導電性接着剤43および水晶振動片1の引出電極11aを介して、励振電極11に印加される。これにより、水晶振動片1は圧電作用により振動することで、駆動されるようになっている。
ここで、導電性接着剤43としては、所定の合成樹脂でなるバインダ成分に、銀粒子などの導電粒子を添加したものを使用することができる。また、水晶振動片1は必ずしも片持ち式でなく、パッケージ36側に設けた図示しない「枕」と称する台に、先端側の一部を載置した構成としてもよい。
したがって、本実施形態によれば、破断された連結部2が水晶振動片1に残されることを抑制するので、パッケージ36内の内部空間Sにおいて内部空間Sと水晶振動片1との間隙が僅かであっても、パッケージ36に水晶振動片1が接触して破損することなく水晶振動片1の小型化に伴いパッケージ36を小さくでき、水晶振動子30の小型化を実現することができる。また、パッケージ36に水晶振動片1が接触して破損することにより、破損屑がパッケージ内に入り込み水晶振動片1に付着するなどして、水晶振動片1の振動を妨げて振動周波数の異常を引き起こす、または発振し難くさせることを抑制することができる。
そして、破断された連結部2が水晶振動片1に残されることを抑制されているので、パッケージ36内の内部空間Sにおいて内部空間Sと水晶振動片1との間隙が僅かであっても、パッケージ36に水晶振動片1が接触して破損することなく水晶振動片1の小型化に伴いパッケージ36を小さくでき、水晶振動子30の小型化を実現することができる水晶振動子30の製造方法が提供することが可能となる。
なお、前述の実施形態では、ウェットエッチングを用いて、水晶ウェハを加工し、水晶振動片、連結部、および保持部を形成するとしたが、これに限らずドライエッチングまたは機械加工を用いてもよい。前述の工程で、Cr膜およびAu膜の形成において、真空蒸着法を用いたが、これに限らずスパッタリング法などを用いてもよい。また、Cr膜の替わりに、たとえばニッケル(Ni)からなる膜を形成してもよく、Au膜の替わりに、たとえば銀(Ag)からなる膜を形成してもよい。
また、前述の実施形態では、圧電デバイスとして水晶振動子を一例に挙げて説明したがこれに限るものではなく、水晶発振器であってもよい。そして、圧電材料の一例として水晶を用いて説明したが、これに限るものではなく、タンタル酸リチウム、ニオブ酸リチウムなどの圧電材料を利用することができる。また、圧電振動片の形状もフラットタイプに限らず、コンベックスタイプや、逆メサ型、および音叉型などの圧電振動片を用いることができる。そして、水晶振動片の振動モードは、とくに限定されることなく、厚みすべりモード、屈曲振動モード、または弾性表面波モードなどであってもよい。
第1実施形態の水晶振動片を備えた水晶ウェハを示す概略平面図。 第1実施形態の水晶振動片を備えた水晶ウェハの概略部分拡大図。 第1実施形態の水晶振動片に繋げられた連結部の部分拡大図。 第1実施形態の水晶振動片の概略斜視図。 第1実施形態の水晶振動片の製造方法を示すフローチャート。 第1実施形態の水晶振動片の製造方法を示す模式工程図。 第1実施形態の水晶振動片の分離方法を示す概略工程図。 第1実施形態の連結部の変形例を示す部分拡大図。 第2実施形態の水晶振動子の概略平面図。 第2実施形態の水晶振動子の概略断面図。
符号の説明
1…水晶振動片、1A…水晶振動片の表面、1B…水晶振動片の裏面、2…連結部、3…保持部、10…水晶ウェハ、11…励振電極、11a…引出電極、30A,30B…外形パターン、31…電極パターン、40…固定部材、50…折り取り部材、A…表面接触長さ、B…裏面接触長さ。

Claims (6)

  1. 圧電ウェハから形成された圧電振動片と、前記圧電ウェハと前記圧電振動片とに繋がれた連結部とを備え、
    前記連結部は、前記圧電振動片の表面が前記連結部に接する表面接触長さと前記圧電振動片の裏面が前記連結部に接する裏面接触長さとは相違して形成され、前記連結部が破断されたことを特徴とする圧電振動片。
  2. 請求項1に記載の圧電振動片であって、
    前記表面接触長さは、前記裏面接触長さより長く、
    前記表面側の前記圧電ウェハの第1面が前記連結部に接する第1接触長さは、前記表面接触長さに等しいまたは長く、
    前記裏面側の前記圧電ウェハの第2面が前記連結部に接する第2接触長さは、前記裏面接触長さより長いことを特徴とする圧電振動片。
  3. 請求項1または2に記載の圧電振動片であって、
    前記連結部を2つ以上備えていることを特徴とする圧電振動片。
  4. 圧電ウェハから形成された圧電振動片と、前記圧電ウェハと前記圧電振動片とに繋がれた連結部とを備え、
    前記連結部は、前記圧電振動片の表面が前記連結部に接する表面接触長さに比べて、前記圧電振動片の裏面が前記連結部に接する裏面接触長さが短く形成され、
    前記圧電振動片の表面に荷重をかけることにより、前記連結部を破断して前記圧電振動片を前記圧電ウェハから分離する分離工程を備えることを特徴とする圧電振動片の製造方法。
  5. 圧電ウェハから形成された圧電振動片と、前記圧電振動片を収納するパッケージとを備え、
    前記パッケージ内に前記圧電振動片が気密に封止された圧電デバイスであって、
    前記圧電ウェハは、前記圧電振動片に繋がれた連結部を備え、
    前記圧電振動片の表面が前記連結部に接する表面接触長さと前記圧電振動片の裏面が前記連結部に接する裏面接触長さとは相違して形成され、前記連結部が破断されて前記圧電ウェハから分離されたことを特徴とする圧電デバイス。
  6. 圧電ウェハから形成された圧電振動片と、前記圧電ウェハと前記圧電振動片とに繋がれた連結部と、前記圧電振動片を収納するパッケージとを備え、
    前記パッケージ内に前記圧電振動片が気密に封止された圧電デバイスの製造方法であって、
    前記連結部は、前記圧電振動片の表面が前記連結部に接する表面接触長さと前記圧電振動片の裏面が前記連結部に接する裏面接触長さとは相違して形成され、
    前記連結部が接する前記圧電振動片の表面または裏面に荷重をかけることにより、前記連結部を破断して前記圧電振動片を前記圧電ウェハから分離する分離工程を備えることを特徴とする圧電デバイスの製造方法。
JP2008225603A 2008-09-03 2008-09-03 圧電振動片の製造方法 Expired - Fee Related JP5251369B2 (ja)

Priority Applications (1)

Application Number Priority Date Filing Date Title
JP2008225603A JP5251369B2 (ja) 2008-09-03 2008-09-03 圧電振動片の製造方法

Applications Claiming Priority (1)

Application Number Priority Date Filing Date Title
JP2008225603A JP5251369B2 (ja) 2008-09-03 2008-09-03 圧電振動片の製造方法

Publications (2)

Publication Number Publication Date
JP2010062793A true JP2010062793A (ja) 2010-03-18
JP5251369B2 JP5251369B2 (ja) 2013-07-31

Family

ID=42189116

Family Applications (1)

Application Number Title Priority Date Filing Date
JP2008225603A Expired - Fee Related JP5251369B2 (ja) 2008-09-03 2008-09-03 圧電振動片の製造方法

Country Status (1)

Country Link
JP (1) JP5251369B2 (ja)

Cited By (5)

* Cited by examiner, † Cited by third party
Publication number Priority date Publication date Assignee Title
JP2014158148A (ja) * 2013-02-15 2014-08-28 Seiko Epson Corp 素子の折り取り方法および素子折り取り装置
JP2015186229A (ja) * 2014-03-26 2015-10-22 京セラクリスタルデバイス株式会社 圧電振動素子、圧電デバイス及び圧電振動素子の製造方法
JP2016103741A (ja) * 2014-11-28 2016-06-02 シチズンファインデバイス株式会社 圧電振動子の製造方法
JP2017028601A (ja) * 2015-07-27 2017-02-02 京セラクリスタルデバイス株式会社 水晶振動素子集合ウエハ
JP2018056807A (ja) * 2016-09-29 2018-04-05 エスアイアイ・クリスタルテクノロジー株式会社 ウエハ、圧電振動片及び圧電振動子

Citations (8)

* Cited by examiner, † Cited by third party
Publication number Priority date Publication date Assignee Title
JPS55157322U (ja) * 1979-04-27 1980-11-12
JPS58157211A (ja) * 1982-03-13 1983-09-19 Kinseki Kk 圧電振動板の製造方法
JPS58179013A (ja) * 1982-04-14 1983-10-20 アスラブ・ソシエテ・アノニム 圧電共振素子とその製造方法
JPH0339922U (ja) * 1989-08-28 1991-04-17
JPH07297308A (ja) * 1994-04-20 1995-11-10 Citizen Watch Co Ltd パッケージ部材
JP2003198072A (ja) * 2001-12-26 2003-07-11 Kenwood Corp プリント配線基板
JP2007142526A (ja) * 2005-11-15 2007-06-07 Epson Toyocom Corp 圧電ウエハおよび圧電デバイス
JP2007142995A (ja) * 2005-11-22 2007-06-07 Epson Toyocom Corp 圧電デバイス用の素子片集合体、圧電デバイスならびに圧電デバイスの製造方法

Patent Citations (8)

* Cited by examiner, † Cited by third party
Publication number Priority date Publication date Assignee Title
JPS55157322U (ja) * 1979-04-27 1980-11-12
JPS58157211A (ja) * 1982-03-13 1983-09-19 Kinseki Kk 圧電振動板の製造方法
JPS58179013A (ja) * 1982-04-14 1983-10-20 アスラブ・ソシエテ・アノニム 圧電共振素子とその製造方法
JPH0339922U (ja) * 1989-08-28 1991-04-17
JPH07297308A (ja) * 1994-04-20 1995-11-10 Citizen Watch Co Ltd パッケージ部材
JP2003198072A (ja) * 2001-12-26 2003-07-11 Kenwood Corp プリント配線基板
JP2007142526A (ja) * 2005-11-15 2007-06-07 Epson Toyocom Corp 圧電ウエハおよび圧電デバイス
JP2007142995A (ja) * 2005-11-22 2007-06-07 Epson Toyocom Corp 圧電デバイス用の素子片集合体、圧電デバイスならびに圧電デバイスの製造方法

Cited By (7)

* Cited by examiner, † Cited by third party
Publication number Priority date Publication date Assignee Title
JP2014158148A (ja) * 2013-02-15 2014-08-28 Seiko Epson Corp 素子の折り取り方法および素子折り取り装置
JP2015186229A (ja) * 2014-03-26 2015-10-22 京セラクリスタルデバイス株式会社 圧電振動素子、圧電デバイス及び圧電振動素子の製造方法
JP2016103741A (ja) * 2014-11-28 2016-06-02 シチズンファインデバイス株式会社 圧電振動子の製造方法
JP2017028601A (ja) * 2015-07-27 2017-02-02 京セラクリスタルデバイス株式会社 水晶振動素子集合ウエハ
JP2018056807A (ja) * 2016-09-29 2018-04-05 エスアイアイ・クリスタルテクノロジー株式会社 ウエハ、圧電振動片及び圧電振動子
CN107888161A (zh) * 2016-09-29 2018-04-06 精工电子水晶科技股份有限公司 晶圆、压电振动片以及压电振子
CN107888161B (zh) * 2016-09-29 2023-06-02 精工电子水晶科技股份有限公司 晶圆、压电振动片以及压电振子

Also Published As

Publication number Publication date
JP5251369B2 (ja) 2013-07-31

Similar Documents

Publication Publication Date Title
JP4685832B2 (ja) 共振器およびその製造方法
JP4506135B2 (ja) 圧電振動子
JP4967707B2 (ja) 圧電振動子およびその製造方法
JP4990047B2 (ja) 圧電振動片及び圧電デバイス
CN106169917B (zh) 压电振动片的制造方法、压电振动片及压电振动器
JP2005109741A (ja) 圧電デバイスと圧電デバイスを利用した携帯電話装置および圧電デバイスを利用した電子機器
JP5788728B2 (ja) 圧電振動片、圧電デバイス、及び圧電デバイスの製造方法
JP5251369B2 (ja) 圧電振動片の製造方法
JP3390348B2 (ja) 水晶振動子およびその製造方法
CN114208027A (zh) 压电振动板、压电振动器件以及压电振动器件的制造方法
JP2010062795A (ja) 圧電振動片、圧電振動片の製造方法、圧電デバイス、および圧電デバイスの製造方法
JP4569450B2 (ja) Atカット水晶片の集合体、atカット水晶デバイス、及びatカット水晶デバイスの製造方法
JP5877746B2 (ja) 圧電振動片およびその製造方法
JP2001144581A (ja) 圧電振動子およびその製造方法
JP2010062794A (ja) 圧電振動片、圧電振動片の製造方法、圧電デバイスおよび圧電デバイスの製造方法
JP2007158566A (ja) 圧電振動片および圧電デバイス
JP4938366B2 (ja) 圧電振動子
JP2007173906A (ja) 圧電振動片および圧電デバイスの製造方法
JP4020031B2 (ja) 圧電振動片と圧電振動片を利用した圧電デバイス、ならびに圧電デバイスを利用した携帯電話装置および圧電デバイスを利用した電子機器
JP2016092755A (ja) 圧電振動片および圧電振動子
JP4541983B2 (ja) 圧電振動子
JP2017085293A (ja) 圧電振動片の製造方法、圧電振動片及び圧電振動子
JP2013027009A (ja) 圧電振動片の製造方法及び圧電振動片
JP6525789B2 (ja) 水晶振動素子集合ウエハ
JP2006074272A (ja) 水晶振動板及びその製造方法

Legal Events

Date Code Title Description
A711 Notification of change in applicant

Free format text: JAPANESE INTERMEDIATE CODE: A712

Effective date: 20110729

RD03 Notification of appointment of power of attorney

Free format text: JAPANESE INTERMEDIATE CODE: A7423

Effective date: 20110729

A521 Request for written amendment filed

Free format text: JAPANESE INTERMEDIATE CODE: A523

Effective date: 20110819

A621 Written request for application examination

Free format text: JAPANESE INTERMEDIATE CODE: A621

Effective date: 20110822

A977 Report on retrieval

Free format text: JAPANESE INTERMEDIATE CODE: A971007

Effective date: 20121015

A131 Notification of reasons for refusal

Free format text: JAPANESE INTERMEDIATE CODE: A131

Effective date: 20121030

A521 Request for written amendment filed

Free format text: JAPANESE INTERMEDIATE CODE: A523

Effective date: 20121213

RD03 Notification of appointment of power of attorney

Free format text: JAPANESE INTERMEDIATE CODE: A7423

Effective date: 20121213

TRDD Decision of grant or rejection written
A01 Written decision to grant a patent or to grant a registration (utility model)

Free format text: JAPANESE INTERMEDIATE CODE: A01

Effective date: 20130319

A61 First payment of annual fees (during grant procedure)

Free format text: JAPANESE INTERMEDIATE CODE: A61

Effective date: 20130401

R150 Certificate of patent or registration of utility model

Ref document number: 5251369

Country of ref document: JP

Free format text: JAPANESE INTERMEDIATE CODE: R150

Free format text: JAPANESE INTERMEDIATE CODE: R150

FPAY Renewal fee payment (event date is renewal date of database)

Free format text: PAYMENT UNTIL: 20160426

Year of fee payment: 3

S531 Written request for registration of change of domicile

Free format text: JAPANESE INTERMEDIATE CODE: R313531

R350 Written notification of registration of transfer

Free format text: JAPANESE INTERMEDIATE CODE: R350

LAPS Cancellation because of no payment of annual fees