JP2010061701A - 半導体装置 - Google Patents

半導体装置 Download PDF

Info

Publication number
JP2010061701A
JP2010061701A JP2008223290A JP2008223290A JP2010061701A JP 2010061701 A JP2010061701 A JP 2010061701A JP 2008223290 A JP2008223290 A JP 2008223290A JP 2008223290 A JP2008223290 A JP 2008223290A JP 2010061701 A JP2010061701 A JP 2010061701A
Authority
JP
Japan
Prior art keywords
word line
substrate bias
array
margin
timing
Prior art date
Legal status (The legal status is an assumption and is not a legal conclusion. Google has not performed a legal analysis and makes no representation as to the accuracy of the status listed.)
Granted
Application number
JP2008223290A
Other languages
English (en)
Other versions
JP5197241B2 (ja
Inventor
Masanao Yamaoka
雅直 山岡
Kenichi Osada
健一 長田
Current Assignee (The listed assignees may be inaccurate. Google has not performed a legal analysis and makes no representation or warranty as to the accuracy of the list.)
Renesas Technology Corp
Original Assignee
Renesas Technology Corp
Priority date (The priority date is an assumption and is not a legal conclusion. Google has not performed a legal analysis and makes no representation as to the accuracy of the date listed.)
Filing date
Publication date
Application filed by Renesas Technology Corp filed Critical Renesas Technology Corp
Priority to JP2008223290A priority Critical patent/JP5197241B2/ja
Priority to US12/543,499 priority patent/US8125837B2/en
Priority to CN2009101682933A priority patent/CN101667452B/zh
Publication of JP2010061701A publication Critical patent/JP2010061701A/ja
Priority to US13/353,949 priority patent/US8270230B2/en
Priority to US13/587,900 priority patent/US8493775B2/en
Application granted granted Critical
Publication of JP5197241B2 publication Critical patent/JP5197241B2/ja
Active legal-status Critical Current
Anticipated expiration legal-status Critical

Links

Images

Classifications

    • GPHYSICS
    • G11INFORMATION STORAGE
    • G11CSTATIC STORES
    • G11C8/00Arrangements for selecting an address in a digital store
    • G11C8/08Word line control circuits, e.g. drivers, boosters, pull-up circuits, pull-down circuits, precharging circuits, for word lines
    • GPHYSICS
    • G11INFORMATION STORAGE
    • G11CSTATIC STORES
    • G11C11/00Digital stores characterised by the use of particular electric or magnetic storage elements; Storage elements therefor
    • G11C11/21Digital stores characterised by the use of particular electric or magnetic storage elements; Storage elements therefor using electric elements
    • G11C11/34Digital stores characterised by the use of particular electric or magnetic storage elements; Storage elements therefor using electric elements using semiconductor devices
    • G11C11/40Digital stores characterised by the use of particular electric or magnetic storage elements; Storage elements therefor using electric elements using semiconductor devices using transistors
    • G11C11/41Digital stores characterised by the use of particular electric or magnetic storage elements; Storage elements therefor using electric elements using semiconductor devices using transistors forming static cells with positive feedback, i.e. cells not needing refreshing or charge regeneration, e.g. bistable multivibrator or Schmitt trigger
    • G11C11/412Digital stores characterised by the use of particular electric or magnetic storage elements; Storage elements therefor using electric elements using semiconductor devices using transistors forming static cells with positive feedback, i.e. cells not needing refreshing or charge regeneration, e.g. bistable multivibrator or Schmitt trigger using field-effect transistors only

Landscapes

  • Engineering & Computer Science (AREA)
  • Microelectronics & Electronic Packaging (AREA)
  • Computer Hardware Design (AREA)
  • Static Random-Access Memory (AREA)

Abstract

【課題】メモリセルの書込み及び読出しマージンの劣化を自動的に補償することができる半導体装置を提供する。
【解決手段】半導体装置は、ワード線の選択期間を決めるためのワード線タイミング信号と基準信号とを比較し、その比較結果が読み出しマージンの低い状態に応ずるときは読み出しマージンを拡大する基板バイアスを印加し、逆にその比較結果が書き込みマージンの低い状態に応ずるときは書き込みマージンを拡大する基板バイアスを印加する。基準信号は、ワード線選択期間(ワード線パルス幅)によって変動する動作マージンを補償する場合、プロセス変動(閾値電圧のばらつき)によって変動する動作マージンを補償する場合に応じて選択される。ワード線パルス幅により基板バイアスを制御することで、ワード線パルス幅によって変動する動作マージンを改善し、また、製造時の閾値電圧のばらつきによって変動する動作マージンを改善する。
【選択図】図1

Description

本発明は、スタティック・ランダム・アクセスメモリ(SRAM)が半導体チップ上に集積された半導体集積回路に係り、特にSRAMの動作に必要な動作マージンを広げる構成に関する。
近年、半導体装置、例えばSRAMなどの半導体装置に対しては、高速化および低消費電力化が強く求められている。SRAMの消費電力を低減するには電源電圧を低下させることがもっとも単純で効果が大きい方法である。しかし、低い電源電圧ではトランジスタの動作に必要な動作マージンが低下し、動作が不安定となる。特許文献1には、このSRAMの動作マージンをワード線のパルス幅を変化させて測定する技術が開示されている。
特開2007-035171号公報
LSI(Large Scale Integrated circuit: 大規模集積回路)を製造するプロセスの進展により、LSI中のトランジスタの微細化が進展している。たとえば、2006年にはトランジスタのゲート長が50nmという微細なトランジスタの量産が行われている。トランジスタの微細化が進展すると特にトランジスタのしきい値電圧(Vth)のばらつきが増大する。トランジスタのVthばらつきが増大すると、LSIのオンチップメモリとして使用されるSRAMの動作マージンが低下し、SRAMメモリセルの動作が困難になる。このSRAMの動作マージンには、読み出し動作時のマージンである読み出しマージンと、書き込み動作時のマージンである書き込みマージンがあり、SRAMを正常に動作させるにはそれぞれの動作マージンを一定以上持っている必要がある。本明細書において、読出しマージンとは読出し動作における記憶情報の反転の生じ難さとして把握する。書き込みマージンとは書き込み動作時における反転書き込みの確実性として把握する。このとき、それぞれの動作マージンは、SRAMのメモリセルを制御するワード線が"H"になるワード線選択時間、つまりワード線のパルス幅によって変化する傾向にあることが知られている。ワード線パルス幅が長いほどビット線を介してアンプで駆動される時間が長くなるから、それに従って書き込みマージンも良くなる(大きくなる)。一方ワード線パルス幅が長いほど、メモリセルはローレベル側の記憶ノードによって一方のビット線のプリチャージ電荷を引き抜くディスチャージ動作時間が長くなり、即ち記憶情報に不所望な反転を生ずる機会が多くなり、それに従って読出しマージンが悪化する(小さくなる)。また、MOSトランジスタの閾値電圧の変動によっても上記動作マージンが影響される。閾値電圧の変動は、プロセスの変動、動作時の温度、電源電圧の変動等によって生ずる。
前記特許文献1では、ワード線のパルス幅を積極的に変化させて動作マージンの測定を行っている。これにより、通常の機能試験では測定を行うことが困難な動作マージンを測定することが可能となり、製造後のチップの動作可否を調べることが可能となる。しかし、この回路ではSRAMの動作マージン自体を改善することは出来ず、微細化等とともに問題となるSRAMの動作マージンを改善することは難しい。
本発明の目的はメモリセルの書込み及び読出しマージンの劣化を自動的に補償することができる半導体装置を提供することにある。
本発明の目的は、メモリセルの書込み及び読出しマージンの劣化を検出して改善することができる半導体装置を提供することにある。
本発明の前記並びにその他の目的と新規な特徴は本明細書の記述及び添付図面から明らかになるであろう。
本願において開示される発明のうち代表的なものの概要を簡単に説明すれば下記の通りである。
すなわち、本発明に係る半導体装置は、ワード線の選択期間を決めるためのワード線タイミング信号と基準信号とを比較し、その比較結果が読み出しマージンの低い状態に応ずるときは読み出しマージンを拡大する基板バイアスを印加し、逆にその比較結果が書き込みマージンの低い状態に応ずるときは書き込みマージンを拡大する基板バイアスを印加する。前記基準信号は、ワード線選択期間(ワード線パルス幅)によって変動する動作マージンを補償する場合、また、プロセス変動(閾値電圧のばらつき)によって変動する動作マージンを補償する場合、に応じて相違される。したがって、ワード線パルス幅により基板バイアスを制御することで、ワード線パルス幅によって変動する動作マージンを改善することが可能である。また、製造時の閾値電圧のばらつきによって変動する動作マージンを改善することが可能である。
本願において開示される発明のうち代表的なものによって得られる効果を簡単に説明すれば下記のとおりである。
すなわち、メモリセルの書込み及び読出しマージンの劣化を自動的に補償することができる。また、メモリセルの書込み及び読出しマージンの劣化を検出して改善することができる。
1.実施の形態の概要
先ず、本願において開示される発明の代表的な実施の形態について概要を説明する。代表的な実施の形態についての概要説明で括弧を付して参照する図面中の参照符号はそれが付された構成要素の概念に含まれるものを例示するに過ぎない。
〔1〕本発明に係る半導体装置は、選択端子がワード線に接続されデータ端子がビット線に接続された複数のメモリセルのアレイと、ワード線の選択期間を決めるためのワード線タイミング信号を生成するワード線タイミング生成回路と、前記ワード線タイミング信号と基準信号を比較する比較回路と、前記比較回路による比較結果が読み出しマージンの低い状態に応ずるときは読み出しマージンを拡大する基板バイアスを印加し、逆にその比較結果が書き込みマージンの低い状態に応ずるときは書き込みマージンを拡大する基板バイアスを印加する基板バイアス制御回路と、を有する。
〔2〕項1の半導体装置において、前記メモリセルは相互に一方の入力を他方の出力に結合した一対のCMOSインバータを有するスタティック型メモリセルである。スタティック型メモリセルにおいて、ワード線選択期間(ワード線パルス幅)が長いほどビット線を介してアンプで駆動される時間が長くなるから、それに従って書き込みマージンが良くなり(大きくなる)、短いほど書き込みマージンが悪化する(小さくなる)。一方ワード線パルス幅が長いほど、メモリセルはローレベル側の記憶ノードによって一方のビット線のプリチャージ電荷を引き抜くディスチャージ動作時間が長くなってデータ記憶ノードに電位的な浮きを生じ易くなって記憶情報に不所望な反転を生ずる機会が多くなり、それに従って読出しマージンが悪化し、逆短い方が読出しマージンは良くなる。
〔3〕項2の半導体装置において、前記ワード線タイミング生成回路は、前記メモリセルと読出し動作の電気的特性が等価なレプリカセルを有し、ワード線の選択に呼応して選択された前記レプリカセルのローレベル出力が確定するタイミングで前記ワード線タイミング信号を変化させる。これにより、基準信号と比較すべき前記ワード線タイミング信号に、製造時におけるプロセスのばらつきや実際の回路特性を容易に反映させることができる。
〔4〕項3の半導体装置において、ワード線タイミング生成回路は、前記メモリセルのアレイにおけるワード線本数が多いほどワード線タイミング信号の変化タイミングを遅らせる。これにより、基準信号と比較すべき前記ワード線タイミング信号に、メモリアレイの構成、特にビット線負荷の状態を容易に反映させることができる。
〔5〕《ワードパルス幅とマージンに着目》
ワード線選択期間(ワード線パルス幅)によって変動する動作マージンを補償する場合には、その観点による基準信号がワード線タイミング信号と比較される。項3の半導体装置において、前記基板バイアス制御回路は、ワード線選択タイミングから前記ワード線タイミング信号の変化までの期間が基準信号よりも短い場合にpチャンネル型MOSトランジスタに逆方向基板バイアスを印加する。これによって書き込みマージンを改善する。
〔6〕《ワードパルス幅とマージンに着目》
ワード線選択期間(ワード線パルス幅)によって変動する動作マージンを補償する場合には、その観点による基準信号がワード線タイミング信号と比較される。項3の半導体装置において、前記基板バイアス制御回路は、ワード線選択タイミングから前記ワード線タイミング信号の変化までの期間が基準信号よりも短い場合にnチャンネル型MOSトランジスタに順方向基板バイアスを印加する。これによって書き込みマージンを改善する。
〔7〕《ワードパルス幅とマージンに着目》
ワード線選択期間(ワード線パルス幅)によって変動する動作マージンを補償する場合には、その観点による基準信号がワード線タイミング信号と比較される。項3の半導体装置において、前記基板バイアス制御回路は、ワード線選択タイミングから前記ワード線タイミング信号の変化までの期間が基準信号よりも長い場合にnチャンネル型MOSトランジスタに逆方向基板バイアスを印加する。これによって読出しマージンを改善する。
〔8〕《ワードパルス幅とマージンに着目》
ワード線選択期間(ワード線パルス幅)によって変動する動作マージンを補償する場合には、その観点による基準信号がワード線タイミング信号と比較される。項3の半導体装置において、前記基板バイアス制御回路は、ワード線選択タイミングから前記ワード線タイミング信号の変化までの期間が基準信号よりも長い場合にpチャンネル型MOSトランジスタに順方向基板バイアスを印加する。これによって読出しマージンを改善する。
〔9〕《nMOS_vthとマージンに着目》
プロセス変動(MOSトランジスタの閾値電圧のばらつき)によって変動する動作マージンを補償する場合には、その観点による基準信号がワード線タイミング信号と比較される。項3の半導体装置において、前記基板バイアス制御回路は、ワード線選択タイミングから前記ワード線タイミング信号の変化までの期間が基準信号よりも短い場合(nチャンネル型MOSトランジスタの閾値電圧の絶対値が小さいことに起因して読出しマージンが劣化し、ワード線選択信号の変化も早くなっている場合)にpチャンネル型MOSトランジスタに順方向基板バイアスを印加する。これによって読出しマージンを改善する。
〔10〕《nMOS_vthとマージンに着目》
プロセス変動(MOSトランジスタの閾値電圧のばらつき)によって変動する動作マージンを補償する場合には、その観点による基準信号がワード線タイミング信号と比較される。項3の半導体装置において、前記基板バイアス制御回路は、ワード線選択タイミングから前記ワード線タイミング信号の変化までの期間が基準信号よりも短い場合(nチャンネル型MOSトランジスタの閾値電圧の絶対値が小さいことに起因して読出しマージンが劣化し、ワード線選択信号の変化も早くなっている場合)にnチャンネル型MOSトランジスタに逆方向基板バイアスを印加する。これによって読出しマージンを改善する。
〔11〕《nMOS_vthとマージンに着目》
プロセス変動(MOSトランジスタの閾値電圧のばらつき)によって変動する動作マージンを補償する場合には、その観点による基準信号がワード線タイミング信号と比較される。項3の半導体装置において、前記基板バイアス制御回路は、ワード線選択タイミングから前記ワード線タイミング信号の変化までの期間が基準信号よりも長い場合(nチャンネル型MOSトランジスタの閾値電圧の絶対値が大きいことに起因して、書き込みマージンが劣化し、ワード線選択信号の変化も遅くなっている場合)にnチャンネル型MOSトランジスタに順方向基板バイアスを印加する。これによって書き込みマージンを改善する。
〔12〕《nMOS_vthとマージンに着目》
プロセス変動(MOSトランジスタの閾値電圧のばらつき)によって変動する動作マージンを補償する場合には、その観点による基準信号がワード線タイミング信号と比較される。項3の半導体装置において、前記基板バイアス制御回路は、ワード線選択タイミングから前記ワード線タイミング信号の変化までの期間が基準信号よりも長い場合(nチャンネル型MOSトランジスタの閾値電圧の絶対値が大きいことに起因して、書き込みマージンが劣化し、ワード線選択信号の変化も遅くなっている場合)にpチャンネル型MOSトランジスタに逆方向基板バイアスを印加する。これによって書き込みマージンを改善する。
〔13〕本発明の別の観点による半導体装置は第1メモリ部と第2メモリ部を有し、それぞれに固有の比較回路と基板バイアス制御回路を設ける。即ち、第1メモリ部は、選択端子がワード線に接続されデータ端子がビット線に接続された複数のメモリセルの第1アレイと、前記第1アレイにおけるワード線の選択期間を決めるための第1ワード線タイミング信号を生成する第1ワード線タイミング生成回路とを有し、これに対して。前記第1ワード線タイミング信号と基準信号を比較する第1比較回路と、前記第1比較回路による比較結果が読み出しマージンの低い状態に応ずるときは読み出しマージンを拡大する基板バイアスを前記第1アレイに印加し、前記比較結果が書き込みマージンの低い状態に応ずるときは書き込みマージンを拡大する基板バイアスを前記第1アレイに印加する第1基板バイアス制御回路とが設けられる。第2メモリ部は、選択端子がワード線に接続されデータ端子がビット線に接続された複数のメモリセルの第2アレイと、前記第2アレイにおけるワード線の選択期間を決めるための第2ワード線タイミング信号を生成する第2ワード線タイミング生成回路とを有し、これに対して、前記第2ワード線タイミング信号と基準信号を比較する第2比較回路と、前記第2比較回路による比較結果が読み出しマージンの低い状態に応ずるときは読み出しマージンを拡大する基板バイアスを前記第2アレイに印加し、前記比較結果が書き込みマージンの低い状態に応ずるときは書き込みマージンを拡大する基板バイアスを前記第2アレイに印加する第2基板バイアス制御回路と、が設けられる。
〔14〕項13の半導体装置において、前記第1アレイと第2アレイのワード線本数が相違される。即ち、第1メモリ部と第2メモリ部ではビット線負荷が相違され、ワード線タイミング信号の変化点も相違されるから、基板バイアス制御の精度を向上させるという点で、第1メモリ部と第2メモリ部に別々に比較回路と基板バイアス制御回路を設ける意義がある。
〔15〕本発明のさらに別の観点による半導体装置は第1メモリ部と第2メモリ部を有し、一方のメモリ部に比較回路を設け、その比較結果に基づいて双方のメモリ部の基板バイアスを制御する基板バイアス制御回路を配置する。即ち、第1メモリ部は、選択端子がワード線に接続されデータ端子がビット線に接続された複数のメモリセルの第1アレイと、前記第1アレイにおけるワード線の選択期間を決めるための第1ワード線タイミング信号を生成する第1ワード線タイミング生成回路とを有する。第2メモリ部は選択端子がワード線に接続されデータ端子がビット線に接続された複数のメモリセルの第2アレイと、前記第2アレイにおけるワード線の選択期間を決めるための第2ワード線タイミング信号を生成する第2ワード線タイミング生成回路とを有する。前記第2ワード線タイミング信号と基準信号を比較する比較回路を設け、前記第2比較回路による比較結果が読み出しマージンの低い状態に応ずるときは読み出しマージンを拡大する基板バイアスを前記第1アレイ及び第2アレイに印加し、前記比較結果が書き込みマージンの低い状態に応ずるときは書き込みマージンを拡大する基板バイアスを前記第1アレイ及び第2アレイに印加する基板バイアス制御回路を採用する。
〔16〕項15の半導体装置において、前記第1アレイと第2アレイのワード線本数が等しくされる。即ち、第1メモリ部と第2メモリ部ではビット線負荷が等しくされ、ワード線タイミング信号の変化点も同じになるから、第1メモリ部と第2メモリ部に比較回路と基板バイアス制御回路を共通化することによって、半導体装置の回路規模を縮小することができる。
2.実施の形態の詳細
実施の形態について更に詳述する。以下、本発明を実施するための形態を図面に基づいて詳細に説明する。なお、発明を実施するための形態を説明するための全図において、同一の機能を有する要素には同一の符号を付して、その繰り返しの説明を省略する。
《ワード線パルス幅のばらつきに対する動作マージン劣化の補償》
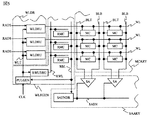
図1には本発明に係る半導体装置の一例が示される。同図に示される半導体装置1はシステムオンチップ(SoC)の所謂システムLSIとして構成される。半導体装置1は、特に制限されないが、単結晶シリコンのような1個の半導体基板にCMOS集積回路製造技術などによって構成される。
半導体装置1は、例えば代表的に示された中央処理装置(CPU)2とそのワークメモリであるSRAM部3と、基板バイアス電圧VBN,VBPを生成する基板バイアス発生回路VBBGENと、基板バイアス発生回路VBBGENの制御に用いる比較回路COMPPを有する。
基板バイアス発生回路VBBGENは、特に制限されないが、メモリ部3の基板バイアス制御を行う。VBPはpチャンネル型MOSトランジスタ(以下単にpMOSトランジスタと記す)の基板(n型ウェル領域)に印加される基板バイアス電圧、VBNはnチャンネル型MOSトランジスタ(以下単にnMOSトランジスタと記す)の基板(p型ウェル領域)に印加される基板バイアス電圧である。基板バイアス電圧VBP,VBNの電圧レベルは比較回路COMPPが出力する信号CONTVBに基づいて決定される。
SRAM部3はスタティック型のメモリセルがマトリクス配置されたメモリセルアレイMCARYを有する。メモリセルアレイMCARYにおいてメモリセルの選択端子は対応するワード線に、メモリセルのデータ入出力端子は相補ビット線に接続される。特に制限されないが相補データ線にはそれぞれセンスアンプ(SA)が結合される。図においてSAARYはセンスアンプのアレイを意味する。CPU2から出力されたメモリアクセスのためのアドレス信号ADRSの内のロウアドレス信号はロウアドレスデコーダRADECでデコードされ、デコードされた信号をワードドライバWLDRが受けて、ロウアドレス信号で指定されるワード線が選択レベルに駆動される。それぞれの相補データ線はカラムスイッチ回路CSWを介して選択的にコモンデータ線に接続可能される。コモンデータ線にはメインアンプMAMPが接続され、メインアンプMAMPにはデータ入出力バッファDIOBFが接続される。前記アドレス信号ADRSに含まれるカラムアドレス信号はカラムアドレスデコーダCADECがデコードし、デコードされた信号でカラムスイッチ回路CSWをスイッチ制御することにより、カラムアドレス信号で指定される相補ビット線がコモンデータ線に導通される。読出し動作において相補ビット線は予めプリチャージ回路(PRCRG)で例えば電源電圧にプリチャージされ、ワード線が選択されるとメモリセルの記憶情報に従って相補データ線に相補レベルが現れ、これをセンスアンプ(SA)がセンス増幅する。この相補レベルの変化はカラムスイッチ回路CSWを介してコモンデータ線に伝達され、これをメインアンプMAMPのリードアンプが増幅することによって、データバスDATAにリードデータが出力される。書き込み動作では、データバスDATAから供給される書き込みデータに従ってメインアンプMAMPのライトアンプがコモンデータ線、並びにカラムスイッチ回路CSWで選択された相補ビット線を相補レベルに駆動し、これによって、ワード線で選択されたメモリセルにデータが書き込まれる。書き込み及び読出し動作の内部タイミング制御はCPU2からのアクセス制御信号MCNT及びクロック信号CLK等を受けるタイミングコントローラTMGCNTとワード線タイミング生成回路WLTGENが行う。
図2にはSRAM部3のスタティック型のメモリセルの回路構成が例示される。メモリセルMCは、pMOSトランジスタP1とnMOSトランジスタN1から成るインバータとpMOSトランジスタP2とnMOSトランジスタN2から成るインバータとを相互に一方の入力端子を他方の出力端子にクロスカップルされて成るスタティックラッチを有し、一方のCMOSインバータの出力端子にnMOSトランジスタ(選択MOSトランジスタ)N3が、他方のCMOSインバータの出力端子にnMOSトランジスタ(選択MOSトランジスタ)N4が接続される。選択MOSトランジスタN3,N4のゲートはワード線WLに、選択MOSトランジスタN3は非反転ビット線BLTに、選択MOSトランジスタN4は反転ビット線BLBに接続される。非反転ビット線BLTと反転ビット線BLBは相補ビット線を構成する。メモリセルMCのnMOSトランジスタの基板は基板バイアス電圧VBNを受け、メモリセルMCのpMOSトランジスタの基板は基板バイアス電圧VBPを受ける。Vddは電源電圧、Vssはグランド電圧である。
図3にはSRAMのスタティック型メモリセルMCの読み出しおよび書き込みマージンを拡大するためのMOSトランジスタの閾値電圧制御およびそのために必要な基板バイアスの印加形態について示す。前記メモリセルMCの読出しマージンとは読出し動作における記憶情報の反転の生じ難さ(即ち読出し動作で記憶情報が容易に反転しないこと)であり、書き込みマージンとは書き込み動作時における反転書き込みの確実性(即ち書き込み動作において記憶情報を反転し易すいこと)である。
読み出しマージンを改善するには、メモリセルMCを構成するインバータの出力が反転する電圧(トリップポイント)を上げればよいため、nMOSトランジスタの閾値電圧(Vth)を上げる(絶対値的に大きくする)とともに、pMOSトランジスタの閾値電圧を下げる(絶対値的に小さくする)ことで対応可能である。即ち、ビット線BLT(BLB)のプリチャージ電荷を引き抜くnMOSトランジスタN1(N2)の閾値電電圧が絶対値的に小さいと当該nMOSトランジスタN1(N2)に大きな電流が流れてそのドレイン電位が浮き上がり、反対側のpMOSトランジスタP2(P1)の閾値電圧が絶対値的に小さいと反対側のビット線BLB(BLT)の電位が不所望に低下してしまう。
逆に書き込みマージンを改善するには、電流を供給するロード用のpMOSトランジスタP1,P2の電流を減少させ、トランスファ用のnMOSトランジスタN3,N4の電流を増加させればよいため、nMOSトランジスタの閾値電圧を絶対値的に小さくするとともに、pMOSトランジスタの閾値電圧を絶対値的に大きくすればよい。同図にはそのための基板バイアス電圧が例示される。電源電圧Vdd=1.2V、グランド電圧Vss=0Vとするとき、nMOSトランジスタの基板に印加する基板バイアス電圧VBNは、逆バイアスを印加する(閾値電圧を絶対値的に大きくする)場合には負の電圧である−1.2Vを印加し、順バイアスを印加する(閾値電圧を絶対値的に小さくする)場合には正の電圧である0.6Vを印加する。その他の場合にはグランド電圧Vssを印加する。pMOSトランジスタの基板に印加する基板バイアス電圧VBPは、逆バイアスを印加する場合には電源電圧vddよりも高い2.4Vを印加し、順バイアスを印加する場合には電源電圧Vddより低い電圧である0.6Vを印加する。
図4にはワード線WLの選択信号によるワード線選択期間(ワード線パルス幅)とSRAMの動作マージンとの関係が例示される。ワード線パルス幅が短い場合には、読み出しマージンが増加する。これは、ワード線がオンする期間が短くなるために、SRAMメモリセルで記憶されているデータを破壊する電流が流れる期間が短縮され、メモリセルのデータが壊れにくくなるためである。逆にワード線のパルス幅が短い場合には、書き込みマージンは減少する。これは、ワード線がオンする期間が短くなるため、新しいデータを書くために必要なメモリセル電流が流れる時間が短くなり、それに伴って書き込みが困難となり、書き込みマージンが低下するためである。また、ワード線パルス幅が長い場合には、ワード線パルス幅が短いときと逆の理由により、読み出しマージンが減少し、書き込みマージンが増加する。
図3および図4より、ワード線パルス幅が短い場合には書き込みマージンが減少するため、図3の書き込みマージンの欄に示されるように、nMOSトランジスタに順バイアスを印加しpMOSトランジスタに逆バイアスを印加すれば減少した書き込みマージンを補償することができるということが解る。また、ワード線パルス幅が長い場合には読み出しマージンが減少するため、図3の読出しマージンの欄に示されるように、nMOSトランジスタに逆バイアスを印加しpMOSトランジスタに順バイアスを印加すれば減少した読み出しマージンを補償することができるということが解る。
本実施の形態では上記に鑑みてSRAM部3はワード線パルス幅に応じて自らの基板バイアス電圧を自律的に制御する。以下、そのための構成を詳細に説明する。
図5にはワード線タイミング生成回路WLTGENの一例が示される。ワードドライバWLDRはワード線WL単位にドライバユニットWLDRUを有し、ドライバユニットWLDRUにはロウアドレスデコーダRADECから出力されるロウアドレスデコード信号RADSとワード線タイミング信号WLTを受けて、対応するワード線を選択的に駆動する。ワード線WLにはCMOSスタティック型のメモリセルMCの選択端子が結合され、相補ビット線BLT,BLBにはメモリセルMCのデータ入出力端子が接続される。ワード線タイミング生成回路WLTGENは相補ビット線とメモリセルMCの一列分の構成と等価なレプリカ回路として、ドライバユニットWLDRUと回路特性の等しいレプリカドライバユニットRWLDRU、ワード線と等価なレプリカワード線RWL、レプリカワード線RWLに順次共通接続されたレプリカセルRMC、及びレプリカセルRMCに順次接続されビット線負荷と等価な負荷を有するレプリカビット線RBLを有する。レプリカビット線RBLはセンスアンプ活性化ドライバSAENDR及びワード線パルス発生回路PULGENに接続される。センスアンプ活性化ドライバSAENDRはセンスアンプSAのイネーブル信号SAENを生成する。ワード線パルス発生回路PULGENはワード線タイミング信号WLTを生成する。
レプリカセルRMCの回路構成は図6に例示される。すなわち、レプリカセルRMCはメモリセルMCと同じMOSトランジスタP1,P2,N1〜N4を有し、MOSトランジスタP1,N1から成るインバータの入力は電源電圧に、MOSトランジスタP2,N2から成るインバータの入力はグランド電圧に、nMOSトランジスタN3のゲートはレプリカワード線RWLに、nMOSトランジスタN3のソースはレプリカビット線に接続される。レプリカワード線RWLが選択されたときレプリカセルRMCは、電源電圧Vddにプリチャージされたレプリカビット線RBLをディスチャージする動作を行い、この動作は、電源電圧Vddにプリチャージされた非反転ビット線BLTがワード線選択によってディスチャージされてローレベルに確定するのと等価の動作になる。
図5のワード線パルス発生回路PULGENは、特に制限されないが、メモリアクセスに際してクロック信号CLKのサイクルに同期してワード線タイミング信号WLTを活性化し(例えばハイレベルとし)、レプリカビット線RBLのディスチャージに同期してワード線タイミング信号WLTを非活性化する(例えばローレベルにする)。センスアンプ活性化ドライバSAENDRは読出し動作に際してレプリカビット線RBLのディスチャージに同期してセンスアンプSAのイネーブル信号SAENを活性化し、センスアンプSAのセンス増幅動作を開始する。
図7にはワード線タイミング生成回路WLTGENの動作タイミングチャートが例示される。クロック信号CLKの立ち上がり変化に同期してワード線タイミング信号WLTが活性化され、それによってワード線WLが選択レベルに駆動されると共に、レプリカワード線RWLが選択レベルに駆動される。レプリカワード線RWLが選択されると、レプリカビット線RBLのプリチャージ電荷はレプリカセルRMCのnMOSトランジスタN1を介してディスチャージが開始される。レプリカビット線RBLのレベルがローレベルに確定されると、ワード線タイミング信号WLTが非活性化され、それによってワード線WL及びレプリカワード線RWLが非選択レベルに反転される。同図から明らかなように、ワード線選択期間(ワード線パルス幅)はワード線タイミング信号WLTのハイレベル期間によって規定される。
図8にはワード線パルス幅に応じて閾値電圧制御の動作タイミングが例示される。図1で説明した前記基板バイアス電圧VBP,VBNの電圧レベルを制御するための信号CONTVBを生成する比較回路COMPPは、ワード線タイミング信号WLTを入力し、そのハイレベル期間であるワード線パルス幅と基準信号STTIMEのパルス幅を比較する。例えば比較回路COMPPはD型ラッチのようなフリップフロップで構成され、基準信号STTIMEの立ち下がりタイミングでワード線タイミング信号WLTをラッチし、ワード線パルス幅が基準信号STTIMEよりも短ければローレベルの信号CONTVBを出力し、逆の場合にはハイレベルの信号CONTVBを出力する。信号CONTVBを受ける基板バイアス制御回路VBBGENは信号CONTVBがローレベルの時(ワード線パルス幅が基準信号STTIMEよりも短く読出しマージンに比べて書き込みマージンが小さい時)は書き込みマージンを拡大するように例えばVBN=0.6V、VBP=2.4Vを印加し(図8の状態CONDA)、逆に、信号CONTVBがハイレベルの時(ワード線パルス幅が基準信号STTIMEよりも長く書き込みマージンに比べて読出しマージンが小さい時)は読出しマージンを拡大するように例えばVBN=−1.2V、VBP=0.6Vを印加する(図8の状態CONDB)。尚、ここではタイミングを比較する回路のもっとも単純な例としてフリップフロップを用いた回路を示したが、位相比較器などの信号のタイミングを比較する回路を用いることも可能である。基準信号STTIMEは半導体装置1の外部から供給される外部信号とされる。基準信号STTIMEそれ自体は半導体装置1のプロセスバラツキの影響の直接受けていない。信号STTIMEに変えてCLKを基準信号に採用することも可能である。
上記ワード線パルス幅に基づいた自律的な基板バイアス制御ではnMOSトランジスタおよびpMOSトランジスタへの基板バイアスとして、図3のように順バイアスおよび逆バイアスの双方を用いる場合について説明したが、すべてを用いる必要はない。他の基板バイアス印加の例を図9に示す。パターン1は図3に基づいた基板バイアス制御形態である。パターン2は逆バイアスのみを印加する場合の例である。この場合、順バイアスを印加しないためリーク電流を低く抑えることが可能である。パターン3は順バイアスのみを印加する場合の例である。順バイアス電圧はVBN、VBPともに電源電圧Vddと接地電位Vssの間の値となるため、基板バイアス電圧を生成するのが比較的容易であり、基板バイアス発生回路VBBGEの回路規模を小さく抑えることが可能となる。パターン4はnMOSトランジスタのみに基板バイアスを印加する場合の例である。pウエルのみを制御すればよいため、pウエルの分離が容易なトリプルウエル構造のLSIではSRAM部ごとなど非常に小さい単位での基板バイアスの制御が可能となる。パターン5はpMOSトランジスタのみに基板バイアスを印加する場合の例である。nウエルのみを制御すればよいため、nウエルの分離が容易なダブルウエル構造のLSIではSRAM部ごとなど非常に小さい単位での基板バイアスの制御が可能となる。パターン6はnMOSトランジスタのみに逆バイアスを印加する場合である。上記、パターン2とパターン4の利点を併せ持った構造となる。ただし、nMOSトランジスタの逆バイアスのみを用いるため、パターン1〜5と比較すると動作マージンを増加させる効果は低くなる。パターン7はpMOSトランジスタのみに逆バイアスを印加する場合である。上記、パターン2とパターン5の利点を併せ持った構造となる。ただし、pMOSトランジスタの逆バイアスのみを用いるため、パターン1〜5と比較すると動作マージンを増加させる効果は低くなる。パターン8はnMOSトランジスタのみに順バイアスを印加する場合である。上記、パターン3とパターン4の利点を併せ持った構造となる。ただし、nMOSトランジスタの順バイアスのみを用いるため、パターン1〜5と比較すると動作マージンを増加させる効果は低くなる。パターン9はpMOSトランジスタのみに順バイアスを印加する場合である。上記、パターン3とパターン5の利点を併せ持った構造となる。ただし、nMOSトランジスタの逆バイアスのみを用いるため、パターン1〜5と比較すると動作マージンを増加させる効果は低くなる。
以上のように、ワード線パルス幅に従って基板バイアスを変化させることで、動作マージンを改善することが可能になる。更に、微細化した製造プロセスで増加するトランジスタのVthばらつきに対して、閾値電圧を絶対知的に大きくして動作マージンを補償すれば、SRAM部の低電圧化にも資することができる。
図10には複数個のSRAM部に対して共通に前記基板バイアス制御を行うようにしたSoc形態の半導体装置1Aが例示される。SoC形態の半導体装置には多くの回路モジュールが搭載され、それにともない多くのSRAM部も搭載される。図10において半導体装置1Aは2個のSRAM部3a,3bを備え、一方のSRAM部から出力されるワード線タイミング信号WLTを比較回路COMPPが受けて信号CONTVBを生成し、これを受ける基板バイアス発生回路VBBGENが双方のSRAM部3a,3bに共通に基板バイアス電圧VBN,VBPを生成する。等しく基板バイアス制御されるSRAM部3a,3bにおいてメモリアレイのビット線負荷は相互に等しくされている。これにおいても上記同様の作用効果を得る。半導体装置1Aに搭載されるSRAM部の個数は3個以上であってもよい。
図11には複数個のSRAM部に対して別々に前記基板バイアス制御を行うようにしたSoc形態の半導体装置1Bが例示される。図10において半導体装置1Aは2個のSRAM部3c,3dを備え、一方のSRAM部3cのワード線タイミング生成回路WLTGEN1から出力されるワード線タイミング信号WLT1を比較回路COMPP1が受けて信号CONTVB1を生成し、これを受ける基板バイアス発生回路VBBGEN1がSRAM部3cに基板バイアス電圧VBN1,VBP1を生成する。他方のSRAM部3dのワード線タイミング生成回路WLTGEN2から出力されるワード線タイミング信号WLT2を比較回路COMPP2が受けて信号CONTVB2を生成し、これを受ける祈願バイアス発生回路VBBGEN2がSRAM部3dに基板バイアス電圧VBN2,VBP2を生成する。ワード線タイミング生成回路WLTGEN1,WLTGEN2、比較回路COMPP1,COMPP2、基板バイアス発生回路VBBGEN1,VBBGEN2は図1と同様に構成される。SRAM部3c,3dにおいてメモリアレイのビット線負荷は相違され、其れに応じてワード線タイミング生成回路WLTGEN1とワード線タイミング生成回路WLTGEN2が相違され、それ故に、SRAM部3cとSRAM部3dの基板バイアス制御のための回路構成が相違される。
図12には図11の半導体装置1Bにおける基板バイアス制御の動作タイミングが例示される。SRAM部3c,3dを動作させるためにクロックCLKおよびワード線パルス幅の基準として基準信号STTIMEがSRAM部3c,3dに入力される。クロックCLKおよび基準信号STTIMEは、例えば半導体装置1B内のタイミングを制御するモジュール内で生成される。SRAM部3cは記憶容量が小さな(ビット線負荷の小さな)メモリアレイを備えるため、図1及び図5で説明したワード線タイミング生成回路WLTGENのレプリカ回路等を用いて生成したワード線タイミング信号WLTのワード線パルス幅は短くなる。よって、ワード線タイミングを示す信号WLT1と入力されるタイミング基準信号STTIMEを比較するとWLT1は短くなり、信号CONTVB1はローレベルにされ、基板バイアス発生回路VBBGEN1によってSRAM部3cに最適な基板バイアス電圧VBN1,VBP1が出力される。この場合、WLT1によるワード線パルス幅が短くなっているため、SRAM部3cは書き込みマージンは小さく、読み出しマージンが大きくなっていると考えられ、VBN1はnMOSトランジスタの順バイアス、VBP1はpMOSトランジスタの逆バイアスが印加される。SRAM3dは記憶容量が大きな(ビット線負荷が大きい)メモリアレイを備えるため、タイミング生成回路WLTGEN2においてレプリカ回路等を用いてワード線タイミングが生成された場合に、ワード線タイミング信号WLT2で得られるワード線パルス幅は長くなる。よって、ワード線タイミング信号WLT2は基準信号STTIMEよりも長く、比較回路COMPP2からハイレベルの信号CONTVB2が出力され、基板バイアス発生回路VBBGEN2によってSRAM部3dに最適な基板バイアス電圧VBN2,VBP2が出力される。この場合、ワード線タイミング信号WLT2によるワード線パルス幅が長くなっているため、SRAM部3dにおいて書き込みマージンは小さく読み出しマージンが大きくなっていると考えられ、基板場椅子電圧VBN2はnMOSトランジスタに逆バイアスを印加し、基板バイアス電圧VBP2はpMOSトランジスタに順バイアスを印加する。
現在、一般的なSoCでは、記憶容量やビット線負荷等が相違されるさまざまなサイズのSRAMが搭載されており、それぞれの構成によりワード線のパルス幅は異なる。よって、1つのチップ上で同じ条件下で動作しているSRAM部でも、動作マージンの状態は変わっており、それぞれの構成で最適な基板バイアスも異なる。図11の構成を用いれば、それぞれの構成で最適な基板バイアスを印加することが可能となり、構成によってワード線タイミングが異なることにより変動する動作マージンを自律的に最適に設定することが可能となる。ワード線パルス幅は、レプリカ回路によりメモリセルからのデータの読み出しが出来る時間を設定するのが一般的であり、読み出しが出来る時間はビット線の負荷容量によって変動するため、1つのビット線に付くメモリセルの数、つまりメモリアレイの行数で決まる。よって、メモリアレイの行数が小さければワード線パルス幅は短くなり、逆に行数が大きければワード線パルス幅は長くなる。よって、本発明はメモリアレイの行数(ワード線方向のメモリセルの行数)に応じて基板バイアスの設定を行うと言う観点で捕らえることも可能である。図13にはこの観点によるメモリセルと基板バイアス電圧の設定例が示される。具体的な値はSRAM部の設計内容によっても変わる。図13の例では基板バイアス電圧として順バイアスおよび逆バイアスの両方をnMOSトランジスタとpMOSトランジスタの双方に印加する場合を示したが、図9と同様にnMOSトランジスタのみ、pMOSトランジスタのみ、または順バイアスのみ、逆バイアスのみといった制御形態を採用することも可能である。
特に図示はしないが、図10と図11の構成を混在させて基板バイアス制御を行うことも可能である。すなわち、SoC内の複数のSRAM部のグループで基板バイアスを発生するためのワード線パルス幅を測定する回路を共有し、基板バイアスを同様に制御することも可能である。
図14にはSRAM部に対する基板バイアス制御の更に別の制御形態が示される。図1とは基準信号が相違される。DELAYはクロック信号CLKを遅延される遅延回路、STTIME2はクロックを遅延させて生成された基準信号であり、比較回路COMPPは基準信号STTIME2とワード線タイミング信号WLTを上記同様に比較して信号CONTVBを生成する。
図15には図14による基板バイアス制御の動作タイミングが例示される。CLKが入力されるとともにワード線のタイミングを表す信号であるWLTがハイレベルとなる。またワード線タイミングを作る回路WLTGENにおいてさらにワード線を非活性化されるタイミングが生成されワード線が非活性化されると信号WLTもローレベルとなる。この信号WLTの生成過程は図1の場合と同じである。同時に遅延回路DELAYを用いてクロック信号CLK信号を一定時間遅延させた基準信号STTIMEが生成される。図15において、状態CONDCの場合には、信号STTIME2がハイレベルになるタイミングよりも早く信号WLTがローレベルに非活性化されており、この場合ワード線パルス幅が基準信号よりも短くなっており、比較回路COMPPの出力はローレベルとなる。この場合、ワード線パルス幅が基準よりも短いため、書き込みマージンが減少した状態となっているから、書き込みマージンを増加させる基板バイアスとしてnMOSトランジスタへの順バイアスとpMOSトランジスタへの逆バイアスとなる基板バイアス電圧VBNとVBPが基板バイアス生成回路VBBGENで発生されてSRAM部3に印加される。図15において、状態CONDDの場合には、信号STTIME2がハイレベルになるタイミングよりも遅く信号WLTが非活性化されており、この場合ワード線パルス幅が基準信号よりも長くなっており、比較回路COMPPの出力CONTVBはハイレベルとなる。この場合、ワード線パルス幅が基準よりも長いため、読み出しマージンが減少した状態となっており、読み出しマージンを増加させる基板バイアスとしてnMOSトランジスタへの逆バイアスとpMOSトランジスタへの順バイアスとなる基板バイアス電圧VBN,VBPが基板バイアス生成回路VBBGENで発生されてSRAM部3に印加される。図14の構成においても上記同様野作用効果を得ることができる。
図15では同一波形で2つの条件を表しているため、同じモジュール内でタイミングが変化した場合を想定しているように見えるが、必ずしも同じモジュールに限る必要はなく、図11のように複数のSRAM部で異なるワード線タイミングを検出する場合も同様の回路を用いることが可能である。ワード線パルス幅を測定するための基準信号を外部から供給せずにSRAM部内で遅延回路を用いて生成しているが、実際には、必ずしも遅延回路を用いる必要はなくその他のタイミングを生成する回路を用いても同様である。
《nMOSトランジスタのVthのばらつきに対する動作マージン劣化の補償》
上記ではワード線選択期間(ワード線パルス幅)によって変動する動作マージンを補償する場合について説明した。以下においては、プロセス変動(MOSトランジスタの閾値電圧のばらつき)によって変動する動作マージンを補償する場合について説明する。ここではプロセス変動によるMOSトランジスタの閾値電圧のばらつきをワード線タイミング信号WLTのワード線パルス幅で検出する場合を一例とする。前述のように、ワード線パルス幅は図6で説明したレプリカセルRMCのnMOSトランジスタN1,N3を介するディスチャージ速度に依存するから、特にnMOSトランジスタの閾値電圧のばらつきに着目する。この場合の半導体装置の回路構成は、図1に代表される上述の構成に比べて、信号CONTVBに基づいて基板バイアス電圧VBN,VBPを発生させる基板バイアス発生回路VBBGENの制御論理が相違され、その他の構成は同一であってよい。よってこの観点による半導体装置の構成については単独で図示することを省略してある。STTIMEに代表される基準信号は、第1の観点によるワード線選択期間(ワード線パルス幅)によって変動する動作マージンを補償する場合と、第2の観点によるプロセス変動(nMOSトランジスタの閾値電圧のばらつき)によって変動する動作マージンを補償する場合とでは相違されることになる。
図16にはnMOSトランジスタのVthが変動した場合のSRAMの動作マージンの変動を示す。nMOSトランジスタのVthが絶対値的に大きい(Vthが高い)場合には保持しているデータが壊れにくいため、読み出しマージンが大きく書き込みマージンが小さい状態となる。逆にnMOSトランジスタのVthが絶対値的に小さい(Vthが低い)場合には保持しているデータが壊れやすくなるため、読み出しマージンが小さく書き込みマージンが大きい状態となる。
図5及び図6に基づいて先に説明したように、ワード線タイミングを生成する部分にはnMOSトランジスタの電流が大きく影響を及ぼすレプリカ回路が用いられるため、nMOSトランジスタの電流が大きい場合、つまりnMOSトランジスタのVthが低い場合にはnMOSトランジスタのオン抵抗が小さくなってワード線パルス幅は短くなり、nMOSトランジスタの電流が小さい場合つまりnMOSトランジスタのVthが高い場合にはワード線パルス幅は長くなる。よって、ワード線パルス幅が短い場合には読み出しマージンを高く(nMOSトランジスタに逆バイアス印加、pMOSトランジスタに順バイアス印加)、書き込みマージンを低く(nMOSトランジスタに順バイアス印加、pMOSトランジスタに逆バイアス印加)するように、逆にワード線パルス幅が長い場合に読み出しマージンを低く書き込みマージンを高くするよう基板バイアスを制御すれば、プロセスの変動によって変動したSRAM部の動作マージンを補償することが可能となる。この制御の様子は図17のパターン1に例示される。これによる基板バイアス制御の動作タイミングは図18に例示される。
図17には図9と同様に、基板バイアス電圧として順バイアスおよび逆バイアスの両方をnMOSトランジスタとpMOSトランジスタの双方に印加するパターン1だけでなく、nMOSトランジスタのみ、pMOSトランジスタのみ、または順バイアスのみ、逆バイアスのみといった、各種制御パターンが例示される。
図17と図9を比べれば明らかなように、バラツキ補償のための検出手段であるワード線パルス幅に対する基板バイアス電圧の印加態様は相互に逆になっている。これは矛盾ではなく、着目する観点の相違によって生ずる当然帰結である。前者又は後者の何れの観点を採用するかは設計思想の相違による。例えば、ワード線パルス幅のバラツキに対して十分余裕を採った設計が行われている場合には後者を採用し、ワード線パルス幅のバラツキに対して余裕の少ない設計が行われている場合には前者を採用する。
MOSトランジスタの閾値電圧のばらつき補償の観点により、ワード線パルス幅に従って半導体装置に搭載される複数のSRAM部の基板バイアスを変化させることで、SRAM部の動作マージンを改善することが可能になる。更に、微細化した製造プロセスで増加するトランジスタのVthばらつきに対して、閾値電圧を絶対知的に大きくして動作マージンを補償すれば、SRAM部の低電圧化にも資することができる。
以上本発明者によってなされた発明を実施形態に基づいて具体的に説明したが、本発明はそれに限定されるものではなく、その要旨を逸脱しない範囲において種々変更可能であることは言うまでもない。
例えば、ワード線タイミング信号を生成する回路の構成は上記回路に限定されず適宜変更可能である。本発明に係る半導体装置はCPUを備えたSoCに限定されず、SRAM単体のメモリLSI、CPUと共にそれ以外のロジック回路等を登載し、あるいはCPU以外の回路モジュールを搭載する、種々の半導体装置に適用することができる。基板バイアス制御はメモリセルアレイに限定し、また、その周辺に拡大し、さらにはメモリ全体に拡大してもよい。MOSトランジスタの閾値電圧のバラツキに着目した制御を行う場合にはメモリの動作タイミングに影響する回路に基板バイアス制御を拡大してもよい。
図1は本発明に係る半導体装置の一例を示すブロック図である。 図2はSRAM部のスタティック型のメモリセルの回路構成を例示する回路図である。 図3はSRAM部のスタティック型メモリセルの読み出しおよび書き込みマージンを拡大するためのMOSトランジスタの閾値電圧制御およびそのために必要な基板バイアスの印加形態について示す説明図である。 図4はワード線の選択信号によるワード線選択期間(ワード線パルス幅)とSRAMの動作マージンとの関係を例示する説明図である。 図5はワード線タイミング生成回路の一例を示す回路図である。 図6はレプリカセルの回路構成を例示する回路図である。 図7はワード線タイミング生成回路の動作を例示するタイミングチャートである。 図8はワード線パルス幅に応じた閾値電圧制御動作を例示するタイミングチャートである。 図9は基板バイアス制御に各種制御態様を例示する説明図である。 図10は複数個のSRAM部に対して共通に前記基板バイアス制御を行うようにした半導体装置を例示するブロック図である。 図11は複数個のSRAM部に対して別々に前記基板バイアス制御を行うようにした半導体装置のブロック図である。 図12は図11の半導体装置における基板バイアス制御動作を例示するタイミングチャートである。 図13はビット線負荷に応じて基板バイアス電圧を変える場合の制御形態を例示する説明図である。 図14はクロック信号を遅延させて生成した基準信号で基板バイアス制御を行うようにした制御形態を例示するブロック図である。 図15は図14による基板バイアス制御動作を例示するタイミングチャートである。 図16はnMOSトランジスタのVthが変動した場合のSRAMの動作マージンの変動を示す説明図である。 図17は図16の場合における各種基板バイアス電圧制御の制御形態を例示する説明図である。 図18は図16の観点による基板バイアス制御動作を例示するタイミングチャートである。
符号の説明
1,1A 半導体装置
2 CPU
3,3a、3b、3c、3d SRAM部
WL…ワード線
BLT、BLB…ビット線
VBN…nMOSトランジスタの基板端子
VBP…pMOSトランジスタの基板端子
Vdd…電源電圧
Vss…グランド電圧
MCELL…メモリセル
MARRAY…メモリセルアレイ
WLTGEN、WLTGEN1、WLTGEN2…ワード線のタイミングを生成回路
WLT…ワード線タイミング信号
STTIME、STTIME2…基準信号
COMPP、COMPP1、COMPP2…タイミング比較回路
CLK…クロック信号
VBBGEN…基板バイアス発生回路
CONTVB、CONTVB1、CONTVB2…基板バイアス制御信号
WLDR…ワード線ドライバ
MC…メモリセル
SA…センスアンプ
SAEN…センスアンプ活性化信号
SAENDR…センスアンプ駆動回路
PULGEN…パルス生成回路
RWL…レプリカワード線
RBL…レプリカビット線
RC…レプリカセル
RWLDR…レプリカワード線駆動回路
DELAY…遅延回路

Claims (16)

  1. 選択端子がワード線に接続されデータ端子がビット線に接続された複数のメモリセルのアレイと、
    ワード線の選択期間を決めるためのワード線タイミング信号を生成するワード線タイミング生成回路と、
    前記ワード線タイミング信号と基準信号を比較する比較回路と、
    前記比較回路による比較結果が読み出しマージンの低い状態に応ずるときは読み出しマージンを拡大する基板バイアスを印加し、逆にその比較結果が書き込みマージンの低い状態に応ずるときは書き込みマージンを拡大する基板バイアスを印加する基板バイアス制御回路と、を有する半導体装置。
  2. 前記メモリセルは相互に一方の入力を他方の出力に結合した一対のCMOSインバータを有するスタティック型メモリセルである、請求項1記載の半導体装置。
  3. 前記ワード線タイミング生成回路は、前記メモリセルと読出し動作の電気的特性が等価なレプリカセルを有し、ワード線の選択に呼応して選択された前記レプリカセルのローレベル出力が確定するタイミングで前記ワード線タイミング信号を変化させる、請求項2記載の半導体装置。
  4. ワード線タイミング生成回路は、前記メモリセルのアレイにおけるワード線本数に依存してワード線タイミング信号の変化タイミングを決定する、請求項3記載の半導体装置。
  5. 前記基板バイアス制御回路は、ワード線選択タイミングから前記ワード線タイミング信号の変化までの期間が基準信号よりも短い場合にpチャンネル型MOSトランジスタに逆方向基板バイアスを印加する、請求項3記載の半導体装置。
  6. 前記基板バイアス制御回路は、ワード線選択タイミングから前記ワード線タイミング信号の変化までの期間が基準信号よりも短い場合にnチャンネル型MOSトランジスタに順方向基板バイアスを印加する、請求項3記載の半導体装置。
  7. 前記基板バイアス制御回路は、ワード線選択タイミングから前記ワード線タイミング信号の変化までの期間が基準信号よりも長い場合にnチャンネル型MOSトランジスタに逆方向基板バイアスを印加する、請求項3記載の半導体装置。
  8. 前記基板バイアス制御回路は、ワード線選択タイミングから前記ワード線タイミング信号の変化までの期間が基準信号よりも長い場合にpチャンネル型MOSトランジスタに順方向基板バイアスを印加する、請求項3記載の半導体装置。
  9. 前記基板バイアス制御回路は、ワード線選択タイミングから前記ワード線タイミング信号の変化までの期間が基準信号よりも短い場合にpチャンネル型MOSトランジスタに順方向基板バイアスを印加する、請求項3記載の半導体装置。
  10. 前記基板バイアス制御回路は、ワード線選択タイミングから前記ワード線タイミング信号の変化までの期間が基準信号よりも短い場合にnチャンネル型MOSトランジスタに逆方向基板バイアスを印加する、請求項3記載の半導体装置。
  11. 前記基板バイアス制御回路は、ワード線選択タイミングから前記ワード線タイミング信号の変化までの期間が基準信号よりも長い場合にnチャンネル型MOSトランジスタに順方向基板バイアスを印加する、請求項3記載の半導体装置。
  12. 前記基板バイアス制御回路は、ワード線選択タイミングから前記ワード線タイミング信号の変化までの期間が基準信号よりも長い場合にpチャンネル型MOSトランジスタに逆方向基板バイアスを印加する、請求項3記載の半導体装置。
  13. 選択端子がワード線に接続されデータ端子がビット線に接続された複数のメモリセルの第1アレイと、
    前記第1アレイにおけるワード線の選択期間を決めるための第1ワード線タイミング信号を生成する第1ワード線タイミング生成回路と、
    前記第1ワード線タイミング信号と基準信号を比較する第1比較回路と、
    前記第1比較回路による比較結果が読み出しマージンの低い状態に応ずるときは読み出しマージンを拡大する基板バイアスを前記第1アレイに印加し、前記比較結果が書き込みマージンの低い状態に応ずるときは書き込みマージンを拡大する基板バイアスを前記第1アレイに印加する第1基板バイアス制御回路と、
    選択端子がワード線に接続されデータ端子がビット線に接続された複数のメモリセルの第2アレイと、
    前記第2アレイにおけるワード線の選択期間を決めるための第2ワード線タイミング信号を生成する第2ワード線タイミング生成回路と、
    前記第2ワード線タイミング信号と基準信号を比較する第2比較回路と、
    前記第2比較回路による比較結果が読み出しマージンの低い状態に応ずるときは読み出しマージンを拡大する基板バイアスを前記第2アレイに印加し、前記比較結果が書き込みマージンの低い状態に応ずるときは書き込みマージンを拡大する基板バイアスを前記第2アレイに印加する第2基板バイアス制御回路と、を有する半導体装置。
  14. 前記第1アレイと第2アレイのワード線本数が相違される、請求項13記載の半導体装置。
  15. 選択端子がワード線に接続されデータ端子がビット線に接続された複数のメモリセルの第1アレイと、
    前記第1アレイにおけるワード線の選択期間を決めるための第1ワード線タイミング信号を生成する第1ワード線タイミング生成回路と、
    選択端子がワード線に接続されデータ端子がビット線に接続された複数のメモリセルの第2アレイと、
    前記第2アレイにおけるワード線の選択期間を決めるための第2ワード線タイミング信号を生成する第2ワード線タイミング生成回路と、
    前記第2ワード線タイミング信号と基準信号を比較する比較回路と、
    前記第2比較回路による比較結果が読み出しマージンの低い状態に応ずるときは読み出しマージンを拡大する基板バイアスを前記第1アレイ及び第2アレイに印加し、前記比較結果が書き込みマージンの低い状態に応ずるときは書き込みマージンを拡大する基板バイアスを前記第1アレイ及び第2アレイに印加する基板バイアス制御回路と、を有する半導体装置。
  16. 前記第1アレイと第2アレイのワード線本数が等しくされる、請求項15記載の半導体装置。
JP2008223290A 2008-09-01 2008-09-01 半導体装置 Active JP5197241B2 (ja)

Priority Applications (5)

Application Number Priority Date Filing Date Title
JP2008223290A JP5197241B2 (ja) 2008-09-01 2008-09-01 半導体装置
US12/543,499 US8125837B2 (en) 2008-09-01 2009-08-18 Semiconductor memory device with read/write margin control using back-gate bias
CN2009101682933A CN101667452B (zh) 2008-09-01 2009-08-24 半导体器件
US13/353,949 US8270230B2 (en) 2008-09-01 2012-01-19 Semiconductor device
US13/587,900 US8493775B2 (en) 2008-09-01 2012-08-16 Semiconductor device

Applications Claiming Priority (1)

Application Number Priority Date Filing Date Title
JP2008223290A JP5197241B2 (ja) 2008-09-01 2008-09-01 半導体装置

Publications (2)

Publication Number Publication Date
JP2010061701A true JP2010061701A (ja) 2010-03-18
JP5197241B2 JP5197241B2 (ja) 2013-05-15

Family

ID=41725262

Family Applications (1)

Application Number Title Priority Date Filing Date
JP2008223290A Active JP5197241B2 (ja) 2008-09-01 2008-09-01 半導体装置

Country Status (3)

Country Link
US (3) US8125837B2 (ja)
JP (1) JP5197241B2 (ja)
CN (1) CN101667452B (ja)

Cited By (6)

* Cited by examiner, † Cited by third party
Publication number Priority date Publication date Assignee Title
CN102237129A (zh) * 2010-04-29 2011-11-09 台湾积体电路制造股份有限公司 内存装置与静态随机存取内存装置
JP2013054795A (ja) * 2011-09-02 2013-03-21 Fujitsu Semiconductor Ltd メモリ装置
JP2013069372A (ja) * 2011-09-22 2013-04-18 Renesas Electronics Corp 半導体装置
KR20140063800A (ko) * 2011-09-12 2014-05-27 퀄컴 인코포레이티드 다중-포트 sram에 대한 적응형 판독 워드라인 전압 부스팅 장치 및 방법
JP2014220020A (ja) * 2013-04-30 2014-11-20 富士通株式会社 電子回路
JP2020155196A (ja) * 2019-03-14 2020-09-24 株式会社東芝 半導体記憶装置

Families Citing this family (25)

* Cited by examiner, † Cited by third party
Publication number Priority date Publication date Assignee Title
CN102460583A (zh) * 2009-06-12 2012-05-16 株式会社半导体理工学研究中心 锁存电路的电压特性调整方法和半导体器件的电压特性调整方法以及锁存电路的电压特性调整器
US8362807B2 (en) * 2010-10-13 2013-01-29 Taiwan Semiconductor Manufacturing Company, Ltd. Offset compensation for sense amplifiers
US10629250B2 (en) * 2010-11-16 2020-04-21 Texas Instruments Incorporated SRAM cell having an n-well bias
US8385140B2 (en) * 2010-11-18 2013-02-26 Advanced Micro Devices, Inc. Memory elements having shared selection signals
US8611132B2 (en) 2011-04-29 2013-12-17 Qualcomm Incorporated Self-body biasing sensing circuit for resistance-based memories
US8755218B2 (en) * 2011-05-31 2014-06-17 Altera Corporation Multiport memory element circuitry
US8467233B2 (en) * 2011-06-06 2013-06-18 Texas Instruments Incorporated Asymmetric static random access memory cell with dual stress liner
US8406067B2 (en) * 2011-07-21 2013-03-26 Elite Semiconductor Memory Technology Inc. Semiconductor memory device
US9012963B2 (en) * 2011-08-22 2015-04-21 Institute of Microelectronics, Chinese Academy of Sciences Semiconductor device
US8705268B2 (en) * 2011-12-27 2014-04-22 Broadcom Corporation Quantifying the read and write margins of memory bit cells
CN102723110B (zh) * 2012-07-12 2015-06-24 苏州兆芯半导体科技有限公司 一种写余量控制电路
US9583178B2 (en) 2012-08-03 2017-02-28 Qualcomm Incorporated SRAM read preferred bit cell with write assist circuit
US9443574B2 (en) * 2012-10-31 2016-09-13 Taiwan Semiconductor Manufacturing Company, Ltd. Memory architecture
US9076557B2 (en) * 2012-11-19 2015-07-07 Texas Instruments Incorporated Read margin measurement in a read-only memory
KR102168115B1 (ko) 2014-01-21 2020-10-20 에스케이하이닉스 주식회사 메모리 및 이를 포함하는 메모리 시스템
JP6660773B2 (ja) * 2016-03-04 2020-03-11 ルネサスエレクトロニクス株式会社 半導体装置、光源制御装置および光源制御システム
US9799393B1 (en) * 2016-05-31 2017-10-24 Globalfoundries Inc. Methods, apparatus and system for providing NMOS-only memory cells
US9762245B1 (en) * 2016-06-14 2017-09-12 Globalfoundries Inc. Semiconductor structure with back-gate switching
JP6538629B2 (ja) 2016-09-06 2019-07-03 株式会社東芝 半導体記憶装置
US10276223B2 (en) 2017-04-24 2019-04-30 Taiwan Semiconductor Manufacturing Company Limited Memory device for generating word line signals having varying pulse widths
JP7086795B2 (ja) * 2018-09-03 2022-06-20 ルネサスエレクトロニクス株式会社 半導体装置
KR102520496B1 (ko) * 2019-01-03 2023-04-11 삼성전자주식회사 오티피 메모리 장치 및 오피 메모리 장치의 테스트 방법
KR102802846B1 (ko) * 2019-12-23 2025-05-07 에스케이하이닉스 주식회사 저항성 메모리 장치 및 그의 동작 방법
US12469535B2 (en) * 2021-10-25 2025-11-11 Taiwan Semiconductor Manufacturing Company, Ltd. Multilevel non-volatile memory device and method
CN116312678A (zh) * 2023-02-10 2023-06-23 安徽大学 读裕度增强型存储阵列、读操作时序控制电路及存储器

Citations (4)

* Cited by examiner, † Cited by third party
Publication number Priority date Publication date Assignee Title
JPH05504648A (ja) * 1990-08-28 1993-07-15 アナログ・ディバイセス・インコーポレーテッド ランダム・アクセス・メモリー用センス可能化タイミング回路
JP2005085349A (ja) * 2003-09-08 2005-03-31 Matsushita Electric Ind Co Ltd 半導体記憶装置
JP2007035171A (ja) * 2005-07-27 2007-02-08 Fujitsu Ltd 半導体記憶装置およびその試験方法
JP2007179593A (ja) * 2005-12-26 2007-07-12 Toshiba Corp 半導体記憶装置

Family Cites Families (7)

* Cited by examiner, † Cited by third party
Publication number Priority date Publication date Assignee Title
JP2004103089A (ja) * 2002-09-06 2004-04-02 Sharp Corp 不揮発性半導体記憶装置およびその再書き込み方法
JP4388274B2 (ja) * 2002-12-24 2009-12-24 株式会社ルネサステクノロジ 半導体記憶装置
JP2004213722A (ja) * 2002-12-27 2004-07-29 Matsushita Electric Ind Co Ltd 半導体記憶装置及び半導体集積回路装置
JP4553185B2 (ja) * 2004-09-15 2010-09-29 ルネサスエレクトロニクス株式会社 半導体集積回路装置
KR100672984B1 (ko) * 2004-12-14 2007-01-24 삼성전자주식회사 프로그램 시간을 줄일 수 있는 플래시 메모리 장치
US7826253B2 (en) * 2005-02-03 2010-11-02 Nec Corporation Semiconductor memory device and driving method thereof
CN101689399A (zh) * 2007-06-29 2010-03-31 Nxp股份有限公司 静态存储器件

Patent Citations (4)

* Cited by examiner, † Cited by third party
Publication number Priority date Publication date Assignee Title
JPH05504648A (ja) * 1990-08-28 1993-07-15 アナログ・ディバイセス・インコーポレーテッド ランダム・アクセス・メモリー用センス可能化タイミング回路
JP2005085349A (ja) * 2003-09-08 2005-03-31 Matsushita Electric Ind Co Ltd 半導体記憶装置
JP2007035171A (ja) * 2005-07-27 2007-02-08 Fujitsu Ltd 半導体記憶装置およびその試験方法
JP2007179593A (ja) * 2005-12-26 2007-07-12 Toshiba Corp 半導体記憶装置

Cited By (8)

* Cited by examiner, † Cited by third party
Publication number Priority date Publication date Assignee Title
CN102237129A (zh) * 2010-04-29 2011-11-09 台湾积体电路制造股份有限公司 内存装置与静态随机存取内存装置
JP2013054795A (ja) * 2011-09-02 2013-03-21 Fujitsu Semiconductor Ltd メモリ装置
KR20140063800A (ko) * 2011-09-12 2014-05-27 퀄컴 인코포레이티드 다중-포트 sram에 대한 적응형 판독 워드라인 전압 부스팅 장치 및 방법
JP2014526767A (ja) * 2011-09-12 2014-10-06 クアルコム,インコーポレイテッド マルチポートsramのための適応型読取りワード線電圧ブースティング装置および方法
KR101585551B1 (ko) 2011-09-12 2016-01-22 퀄컴 인코포레이티드 다중-포트 sram에 대한 적응형 판독 워드라인 전압 부스팅 장치 및 방법
JP2013069372A (ja) * 2011-09-22 2013-04-18 Renesas Electronics Corp 半導体装置
JP2014220020A (ja) * 2013-04-30 2014-11-20 富士通株式会社 電子回路
JP2020155196A (ja) * 2019-03-14 2020-09-24 株式会社東芝 半導体記憶装置

Also Published As

Publication number Publication date
CN101667452A (zh) 2010-03-10
US20120120738A1 (en) 2012-05-17
CN101667452B (zh) 2012-10-31
JP5197241B2 (ja) 2013-05-15
US20100054049A1 (en) 2010-03-04
US8270230B2 (en) 2012-09-18
US8125837B2 (en) 2012-02-28
US8493775B2 (en) 2013-07-23
US20120307572A1 (en) 2012-12-06

Similar Documents

Publication Publication Date Title
JP5197241B2 (ja) 半導体装置
US6853593B1 (en) Semiconductor memory device having over-driving scheme
US8331187B2 (en) Memory with low power mode for write
US7830727B2 (en) Apparatus and method for low power, single-ended sensing in a multi-port SRAM using pre-discharged bit lines
US10847208B2 (en) Memory device system-on-chip including the same and method of operating the same
JP4768437B2 (ja) 半導体記憶装置
US7940581B2 (en) Method for low power sensing in a multi-port SRAM using pre-discharged bit lines
US20080089116A1 (en) SRAM voltage control for improved operational margins
JP2010009674A (ja) 半導体装置
US7170805B2 (en) Memory devices having bit line precharge circuits with off current precharge control and associated bit line precharge methods
US20050162969A1 (en) Semiconductor integrated circuit device
US6704238B2 (en) Semiconductor memory device including data bus pairs respectively dedicated to data writing and data reading
JP2009020957A (ja) 半導体記憶装置
JP4907117B2 (ja) 半導体装置
JP2006120301A (ja) 半導体メモリ素子の漏洩電流制御装置
CN1728278B (zh) 半导体装置的操作方法以及该半导体装置
JP2008027493A (ja) 半導体記憶装置
US20080037337A1 (en) Semiconductor memory
JPH10334667A (ja) 半導体メモリ装置
US7675804B2 (en) Semiconductor integrated circuit device and semiconductor device including plurality of semiconductor circuits
US20130135948A1 (en) Semiconductor storage device
US7596040B2 (en) Methods and apparatus for improved write characteristics in a low voltage SRAM
US7684231B2 (en) Methods and apparatus for low power SRAM based on stored data
US8400856B2 (en) Memory device with data prediction based access time acceleration
KR100840636B1 (ko) 셀프 타이밍 회로를 갖는 반도체 메모리

Legal Events

Date Code Title Description
A711 Notification of change in applicant

Free format text: JAPANESE INTERMEDIATE CODE: A712

Effective date: 20100527

A621 Written request for application examination

Free format text: JAPANESE INTERMEDIATE CODE: A621

Effective date: 20110812

A977 Report on retrieval

Free format text: JAPANESE INTERMEDIATE CODE: A971007

Effective date: 20130115

TRDD Decision of grant or rejection written
A01 Written decision to grant a patent or to grant a registration (utility model)

Free format text: JAPANESE INTERMEDIATE CODE: A01

Effective date: 20130124

A61 First payment of annual fees (during grant procedure)

Free format text: JAPANESE INTERMEDIATE CODE: A61

Effective date: 20130205

FPAY Renewal fee payment (event date is renewal date of database)

Free format text: PAYMENT UNTIL: 20160215

Year of fee payment: 3

R150 Certificate of patent or registration of utility model

Ref document number: 5197241

Country of ref document: JP

Free format text: JAPANESE INTERMEDIATE CODE: R150

Free format text: JAPANESE INTERMEDIATE CODE: R150

S531 Written request for registration of change of domicile

Free format text: JAPANESE INTERMEDIATE CODE: R313531

R350 Written notification of registration of transfer

Free format text: JAPANESE INTERMEDIATE CODE: R350