JP2010058858A - 作業台車及びそれを用いた搬送装置 - Google Patents

作業台車及びそれを用いた搬送装置 Download PDF

Info

Publication number
JP2010058858A
JP2010058858A JP2008223283A JP2008223283A JP2010058858A JP 2010058858 A JP2010058858 A JP 2010058858A JP 2008223283 A JP2008223283 A JP 2008223283A JP 2008223283 A JP2008223283 A JP 2008223283A JP 2010058858 A JP2010058858 A JP 2010058858A
Authority
JP
Japan
Prior art keywords
conveyor
work
engaging
state
floor surface
Prior art date
Legal status (The legal status is an assumption and is not a legal conclusion. Google has not performed a legal analysis and makes no representation as to the accuracy of the status listed.)
Granted
Application number
JP2008223283A
Other languages
English (en)
Other versions
JP5496483B2 (ja
Inventor
Hitoshi Kawashima
均 川島
Tsutomu Kobuchi
勉 小渕
Shigeru Kobayashi
茂 小林
Current Assignee (The listed assignees may be inaccurate. Google has not performed a legal analysis and makes no representation or warranty as to the accuracy of the list.)
Sanyo Electric Co Ltd
Original Assignee
Sanyo Electric Co Ltd
Priority date (The priority date is an assumption and is not a legal conclusion. Google has not performed a legal analysis and makes no representation as to the accuracy of the date listed.)
Filing date
Publication date
Application filed by Sanyo Electric Co Ltd filed Critical Sanyo Electric Co Ltd
Priority to JP2008223283A priority Critical patent/JP5496483B2/ja
Publication of JP2010058858A publication Critical patent/JP2010058858A/ja
Application granted granted Critical
Publication of JP5496483B2 publication Critical patent/JP5496483B2/ja
Expired - Fee Related legal-status Critical Current
Anticipated expiration legal-status Critical

Links

Images

Landscapes

  • Automatic Assembly (AREA)
  • Automobile Manufacture Line, Endless Track Vehicle, Trailer (AREA)

Abstract

【課題】コンベアを離れた状態で自在に手押しなどによる搬送を可能とする状態と、コンベアにより搬送が行われるコンベア搬送状態とを円滑に実現することができる。
【解決手段】作業台車1は、床面Fを転動するキャスター6を備え、ワークを載せて作業を行うためのものであって、搬送用のコンベアに係脱自在に係合させるための係合部材20、21を備え、この係合部材20、21は、キャスター6の下端以上の位置に待避した待避状態から、キャスター6の下端より下方に進出した進出状態とを選択可能とされている。
【選択図】図3

Description

本発明は、床面を転動するキャスターを備え、ワークを載せて作業を行うための作業台車及びそれを用いたコンベアを有する搬送装置に関するものである。
従来より、熱交換器などのワークに複数の部品を組み付けていく場合には、例えば特許文献1に示すようなワーク搬送組立装置などが用いられている。この場合、床にスリットを形成し、当該スリット内にコンベアを敷設し、このコンベアに所定間隔で取り付けたコンベアドッグに係合部材を設け、床面上をキャスターによって移動可能な台車の底板部材にスリットを通って下方に延びる押棒部材を設けて、コンベアの移動に伴って、係合部材で押棒部材を押すことによって、床面上で台車を搬送し、台車上に搭載されたワークに部品の組付けを行っていた。
特開2003−285231号公報
一方、ワークへの部品の組み付け作業が行われる工程では、コンベアが敷設されている場所において所定の単位時間にて作業される場合と、コンベアが敷設されている場所以外にてワークの待機やその他、別途部品の組み付け作業が行われる場合とがある。しかしながら、上述した如き従来の構成では、台車に設けられる押棒部材は、床に形成されるスリットを通って下方に延びているため、スリットが形成されていない場所へ台車毎移動ができないという問題がある。
そのため、一台の台車にワークが搭載された状態でコンベアにより搬送されながら作業が行われる場合と、コンベアを離れた状態で手押し作業などによって搬送が行われ別途作業される場合とを実現することができないという問題がある。
本発明は従来の技術的課題を解決するために成されたものであり、コンベアを離れた状態で自在に手押しなどによる搬送を可能とする状態と、コンベアにより搬送が行われるコンベア搬送状態とを円滑に実現することができる作業台車及びそれを用いた搬送装置を提供する。
本発明の作業台車は、床面を転動するキャスターを備え、ワークを載せて作業を行うためのものであって、搬送用のコンベアに係脱自在に係合させるための係合部材を備え、この係合部材は、キャスターの下端以上の位置に待避した待避状態から、キャスターの下端より下方に進出した進出状態とを選択可能とされていることを特徴とする。
請求項2の発明の作業台車は、上記発明において、係合部材は回動自在に設けられ、下端が床面に当接しているときに待避状態となり、下端が床面に当接しないときに回動して進出状態に移行し、その状態でコンベアによる搬送方向への回動が禁止されることを特徴とする。
請求項3の発明の作業台車は、上記発明において、係合部材は、待避状態において、コンベアによる搬送方向とは反対側に向けて低く傾斜していることを特徴とする。
請求項4の発明の作業台車は、上記各発明において、係合部材は、コンベアによる搬送方向に対して複数設けられていることを特徴とする。
請求項5の発明の作業台車は、上記各発明において、係合部材の下端には、係合部材側ローラが設けられていることを特徴とする。
請求項6の発明の搬送装置は、上記各発明の何れかに記載の作業台車と、床面より低い位置に敷設されたコンベアと、このコンベアに所定間隔で取り付けられ、作業台車の係合部材が係脱自在に係合する搬送部材とから構成されることを特徴とする。
本発明によれば、床面を転動するキャスターを備え、ワークを載せて作業を行うための作業台車において、搬送用のコンベアに係脱自在に係合させるための係合部材を備え、この係合部材は、キャスターの下端以上の位置に待避した待避状態から、キャスターの下端より下方に進出した進出状態とを選択可能とされているので、係合部材をキャスターの下端以上の位置に待避した待避状態とすることで、キャスターを任意の方向に転動させることができる手押し使用を支障なく実現することができる。また、係合部材をキャスターの下端より下方に進出した進出状態とすることで、当該係合部材を用いたコンベアによる搬送状態を実現することができる。係合部材を待避状態と進出状態とに選択することで容易に使用状況に応じた状態を実現することができる。
請求項2の発明によれば、上記発明において、係合部材は回動自在に設けられ、下端が床面に当接しているときに待避状態となり、下端が床面に当接しないときに回動して進出状態に移行し、その状態でコンベアによる搬送方向への回動が禁止されるので、床面よりもコンベアが低い位置にある場合、待避状態から自動的に進出状態に移動し、コンベアによる安定した搬送を実現することが可能となる。
請求項3の発明によれば、上記発明において、係合部材は、待避状態において、コンベアによる搬送方向とは反対側に向けて低く傾斜しているので、コンベアにつなぎ目等の段差がある場合も、当該段差によって作業台車全体が持ち上げられてしまう不都合を効果的に抑制することができる。
また、手押し状態において使用する場合にも、係合部材が床面の突起物などに引っ掛かり難い構成とすることができ、安定した手押し搬送を実現することが可能となる。
請求項4の発明によれば、上記各発明において、係合部材は、コンベアによる搬送方向に対して複数設けられているので、コンベアに複数の係合部材が係止された状態でコンベアによる搬送が行われるので、作業台車が搬送方向に対し横方向にぶれる不都合を解消することができる。
請求項5の発明の作業台車は、上記各発明において、係合部材の下端には、係合部材側ローラが設けられているので、キャスターの下端以上の位置に待避した待避状態の係合部材が床面を円滑に移動することが可能となり、床面との摩擦を低減でき、搬送の負荷を解消することができる。
請求項6の発明の搬送装置によれば、上記各発明の何れかに記載の作業台車と、床面より低い位置に敷設されたコンベアと、このコンベアに所定間隔で取り付けられ、作業台車の係合部材が係脱自在に係合する搬送部材とから構成されているので、キャスターの下端以上の位置に待避した待避状態の係合部材を、キャスターの下端より下方に進出した進出状態とし、床面より低い位置にあるコンベアに設けられる搬送部材と係合させることにより、コンベアによって作業台車を円滑に搬送することが可能となる。
以下、本発明の作業台車1を採用した搬送装置Sについて図面を参照して説明する。図1は搬送装置Sの正面図、図2は作業台車1の進行方向を正面とした場合の右縦断側面図、図3は図1の作業台車1の進行方向を正面とした場合の搬送装置Sの右縦断側面図、図4は図3の概略平面図、図5は図1の部分拡大図、図6は図5の部分拡大図をそれぞれ示している。
本実施例における作業台車1は例えば熱交換器などの図示しないワークを上部に設けられるワーク搭載部3上に載せてワークの組立ラインにおいて作業を行うためのものである。作業台車1は、四隅に立設される支柱パイプ4・・・と、これら支柱パイプ4間に連結される複数の横梁パイプ5・・・と、上部に設けられるワーク搭載部3と、各支柱パイプ4の下端部に設けられて床面F上を転動するキャスター6とから構成されている。尚、本実施例において、キャスター6は、床面F上を360°の方向に転動により移動自在なものを採用する。
ワーク搭載部3は、支柱パイプ4・・の上部に連結されている(進行方向を正面とした場合における)前後の横梁パイプ5、5間に渡って所定間隔を存して複数、本実施例では、2列設けられており、当該ワーク搭載部3は、前後方向に回転自在に設けられる複数のワーク搭載用ローラ3A・・・が配設されて構成されている。尚、図中において、当該ワーク搭載部3が設けられている前後の横梁パイプ5、5の略中央に設けられている7、7は、当該作業台車1を手押し作業によって任意に操作するための把手部である。
本実施例において、支柱パイプ4の下部に連結される下部横梁パイプ10は、左右に渡って連結される前後のみに設けられており、当該前側の下部横梁パイプ10の略中央部には、所定間隔を存して複数、本実施例では、2本の支持パイプ8、8が、後側の下部横梁パイプ10に渡って連結されている。尚、本実施例では、支柱パイプ4の下部に連結される下部横梁パイプ及び各支持パイプ8は、所定間隔を存して上下に設けられているものとする。
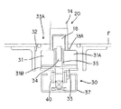
そして、進行方向前側に位置する下部横梁パイプ10(本実施例では上側の下部横梁パイプ10)には、両支持パイプ8、8間の中央部、即ち、当該作業台車1の中央部に位置して係合部材20の基部11が連結されている。また、各支持パイプ8、8(本実施例では上側の支持パイプ8、8)の進行方向後部には、これら支持パイプ8、8を連結する連結パイプ12(図4のみ図示する)が設けられており、当該連結パイプ12の略中央部、即ち、前記取付部材11の後方にも、前側と同様に係合部材21の基部13が連結されている。
ここで、係合部材20(21)の詳細な構成について説明する。係合部材20と係合部材21は、それぞれ略同一の構成とされているため、係合部材20を例に挙げて説明する。係合部材20は、詳細は後述する搬送用のコンベア30に係脱自在に作業台車1を係合させるための部材であり、コンベア30による搬送方向(作業台車1の進行方向)とは反対側に向けて低く傾斜して形成される前記基部11(係合部材21では、基部13)と、基部11の延長方向に延在する係合部14(係合部材21では、係合部15)とから構成される。
係合部14の上端は、コンベア30の搬送方向(作業台車1の進行方向)の反対側に設けられて、当該コンベア30の搬送方向に対して直交する向きに水平な回動軸16(係合部材21では、回動軸17)を中心として回動自在に基部11に連結されている。これにより、係合部14は、回動軸16を中心として基部11に対して係合部14と基部11とが略一直線上となる進出状態から後方に向けて回動自在とされると共に、係合部材20の進出状態では、基部11の下端面に係合部14の上端面が当接するので、それより前方には回動しない構成とされる。
また、係合部14の下端には、コンベア30の搬送方向に対して直交する向きに水平な回動軸18A(係合部材21では、回動軸19A)を中心として回動自在とされる係合部材側ローラ18(係合部材21では、係合部材側ローラ19)が設けられている。そして、この係合部材20の進出状態において、当該係合部材20の下端(即ち、係合部材側ローラ18の下端)は、前記キャスター6の下端よりも所定寸法、実際には、コンベア30に設けられる搬送部材31よりも下方に延在する構成とされる。
そして、係合部14は、回動軸18Aを中心として当該係合部14の自重によって回動自在とされている。そのため、係合部材20、21のそれぞれに設けられている係合部14、15は、面一の床面上(即ち、後述するような溝32が形成されていない場合)に作業台車1が載置されている状態では、基部11に対して係合部14と基部11とが略一直線上となる進出状態から図2に示すように、回動軸16、17を中心として後方に回動されて、係合部14、15の下端(係合部材側ローラ18、19)が移動方向と反対側(移動方向を作業台車1の前側とした場合の作業台車1後部)に上昇した、即ち床面上に接触した待機状態となる。
この待機状態から係合部材20、21に対応する床面が無くなる、即ち、この係合部材20、21の下端に対応する床面がキャスター6の下端が当接する床面Fよりも下がった位置となると、係合部14、15の自重によってこの係合部14、15が回動軸16、17を中心として下方に回動される。このとき、当該係合部14、15の下端が床面等の高さに影響されない限り、係合部14、15の上端面は基部11、12の下端面に当接するので、それより前方への回動が禁止される進出状態とされる。
次に、ワークが搭載された作業台車1を搬送するために用いられる搬送装置Sの構成について説明する。本実施例において搬送装置Sは、ワークの組み付け作業などが行われる施設内に設けられるものであり、その床には、作業台車1を搬送する搬送路に沿って溝32が形成されている。この溝32内には、床面Fよりも低い位置にコンベア30が敷設されている。
本実施例におけるコンベア30は、従来より当該施設内に配設されるものであり、床面F下方にて上面に開口する断面略コ字状のレール37と、当該レール37上面に位置するチェーンベルト33と、当該チェーンベルト33に所定間隔で取り付けられるローラ40と、チェーンベルト33を駆動する図示しない駆動モータなどにより構成されている。チェーンベルト33は、上面がコンベア30の作業台車1進入側端部から退出側端部に渡って形成されている台車搬送部33Aとされていると共に、その退出側端部は、図示しない駆動軸を中心として更に下方に退避して、進入側端部に帰還する図示しない帰還部とを循環移動する。
そして、このチェーンベルト33の台車搬送部33Aを構成する側の面には、所定間隔を存して作業台車1を搬送するための搬送部材31が設けられている。本実施例では、少なくとも搬送部材31は、作業台車1に設けられる進出状態の係合部材20及び21間に対応する位置に設けられているものとする。
本実施例においてこの搬送部材31は、図3に示すようにコンベア30の進行方向に面する前壁31Aとその前壁の下端から後方へ延在する下壁31Bから成る断面略L字状を呈しており、コンベア30内に進入してきた作業台車1の係合部材20等の係合部材側ローラ18等の後端が当該搬送部材31の前壁31A前面に当接して進行方向に移動するコンベア30に作業台車1の係合部材20等が係脱自在に係合する構成とされている。そのため、搬送部材31の前壁31Aの上端は、少なくとも係合される係合部材20等が容易に乗り越えられない高さに設定されるものとし、望ましくは、床面Fよりの低い位置とする。
尚、図2において34は、取付部材35によって上端が搬送部材31の上端(前壁31A)よりも上方に位置して設けられるローラであり、本実施例では、搬送部材31の一つおきに設けられている。このローラ34は、チェーンベルト33が前記帰還部に位置する際に、搬送部材31が床内に設けられる垂れ止めレール上を直接摺ってしまうことを防止するためのものである。
以上の構成により、作業台車1を搬送装置Sによって搬送させる際には、まず、作業台車1を搬送装置Sの進入側端部に移動させ、作業台車1に設けられる前側の係合部材20を溝32内に進入させる。この場合、作業台車1の係合部材20の係合部14は、回動軸16によって回動自在に基部11の下端部に設けられている。そのため、床面Fの高さから溝32内に進入することで、それまでキャスター6の下端の位置に待避した待避状態とされていた係合部材20下端は、当接していた床面Fが無くなるため、その自重によって回動軸16を中心として進行方向側に回動されて、床面Fに下端が接触するキャスター6の下端より下方に進出した進出状態となる。
本実施例では、当該進出状態では、係合部14の上端面が基部11の下端面に当接して、それより前方への回動が禁止されている。このように、本実施例では、床面Fからこれよりも低い位置にあるコンベア30に移動すると、係合部材20は待避状態から自動的に進出状態に移動する。
この状態で溝32内に進入した係合部材20に対して、搬送方向に移動するコンベア30の搬送部材31が搬送方向とは反対側から係合部材20の後面に当接し、コンベア30の搬送方向への駆動力によって係合される。これにより、作業台車1全体は、搬送方向に移動するコンベア30の搬送部材31によって搬送方向に移動され、それまで床面F上に当接していた作業台車1の搬送方向反対側に位置する(即ち、搬送方向を前方とした場合、作業台車1の後部に位置する)係合部材21が溝32内に進入していく。
当該係合部材21も、上述した如き係合部材20と同様に床面F上から溝32内に移動することで、上記待避状態から進出状態へと移行し、係合部材20、21間の間隔寸法に対応してコンベア30に形成される搬送部材31によって係合部材21の後面が支持搬送される係合状態とされる。
これにより、作業台車1は、前後に設けられる係合部材20、21がコンベア30の搬送部材31に係合されてその搬送方向へと移動され、作業台車1の四隅に設けられるキャスター6が床面F上を搬送方向に転動することで、コンベア30による安定した、且つ、円滑な搬送を実現することが可能となる。
特に、搬送部材31に係合する係合部材は、コンベア30による搬送方向に対して複数、本実施例では、2つ、設けられているので、コンベア30にそれぞれの係合部材20、21が係止された状態でコンベア30による搬送が行われるので、作業台車1が搬送方向に対し横方向にぶれる不都合を解消することができる。
また、チェーンベルト33は水平に伸張しても、そのつなぎ目部分に段差が生じてしまう場合があるが、係合部材20、21はコンベア30に対して垂直ではなく、斜めに設けているため、段差によって作業台車1全体が持ち上げられてしまう不都合を効果的に解消することが可能となる。
そして、作業台車1がコンベア30の退出側端部に搬送されると、それまで作業台車1の各係合部材20、21を搬送方向側に押圧していた搬送部材31、31が床内に設けられる前記帰還部に移動するため、それまでの慣性力によって係合部材20、21は、搬送方向に押し出され、コンベア30が終了した位置から所定距離だけ搬送方向に移動する。
このとき、係合部材20の下端は、コンベア30の退出側端部を通過することで、キャスター6の下端が接触する床面Fに当接し、係合部14は、回動軸16を中心として進行方向と反対側に回動されて、キャスター6の下端が接触する床面Fに下端が接触する待避状態とされる。同様に、作業台車1の後部に設けられる係合部材21も、順次進出状態から待避状態へと移行される。
係合部材20、21が待避状態とされた作業台車1は、キャスター6を任意の方向に転動させることができる手押し使用を支障なく実現することができる。このとき、係合部材20、21は、下端に係合部材側ローラ18、19が設けられているので、キャスター6の下端の位置に待避した待避状態の係合部材20、21が床面Fを円滑に移動することが可能となり、床面Fとの摩擦を低減でき、搬送の負荷を解消することができる。
また、係合部材20、21は、待避状態において、搬送方向とは反対側に向けて低く傾斜しているので、手押し状態において使用する場合にも、係合部材20、21が床面Fの突起物などに引っ掛かり難い構成とすることができ、安定した手押し搬送を実現することが可能となる。
このように、本発明の作業台車1は、搬送用のコンベア30に係脱自在に係合される係合部材20、21は、下端が、床面F上を転動するキャスター6の下端の位置に待避した待避状態と、キャスター6の下端より下方に進出した進出状態とを係合部材20、21の下端が当接する床面F等の高さの状況に応じて変更可能とされているため、格別に係合部材20、21の状態を変更するために操作することなく、円滑にコンベア30による搬送を適切に実行する状態と、手押し状態に適した状態とを実現することが可能となる。
尚、本発明は、当該実施例に限定されるものではなく、例えば、作業台車1に設けられる係合部材20、21に常時垂直方向に伸張するように付勢されるバネ部材を設け、当該係合部材20、21を床面F及びコンベア30の溝32内へ至る段差の小さい傾斜面に沿って移動可能とすることにより、係合部材の下端が当接する床面F等の高さの状況に応じて、係合部材20、21の状態を上記コンベア30による搬送状態と、手押し状態とに実現可能とするものを採用してもよい。
また、係合部材20、21は、キャスター6の下端以上の位置に待避した待避状態と、キャスター6の下端より下方に進出した進出状態とを選択可能に変更操作する操作部材を設け、当該操作部材を作業者が任意に操作することによって、作業台車1を手押し搬送する場合には、係合部材20等を前記待避状態とし、コンベア30による搬送状態とする場合には、係合部材20等を進出状態とするものを採用してもよい。
この場合、係合部材20の下端を待避状態とする場合には、床面F上を転動するキャスター6の下端より高い位置に待避可能とすることで、より一層、係合部材20が床面Fに接触することによる搬送負荷を軽減させることが可能となる。
上述したような係合部材を有する構成を作業台車1に採用することで、ワークの組み付け作業工程において、コンベア30による搬送を行う場合のみならず、手押し搬送を容易に実現することが可能となり、作業工程における利便性の向上を実現することができる。
搬送装置の正面図である。 作業台車の進行方向を正面とした場合の右縦断側面図である。 図1の作業台車の進行方向を正面とした場合の搬送装置の右縦断側面図である。 図3の概略平面図である。 図1の部分拡大図である。 図5の部分拡大図である。
符号の説明
S 搬送装置
1 作業台車
4 支柱パイプ
5 横梁パイプ
6 キャスター
8 支持パイプ
10 下部横梁パイプ
11、13 基部
12 連結パイプ
14、15 係合部
16、17 回動軸
18、19 係合部材側ローラ
20、21 係合部材
30 コンベア
31 搬送部材
32 溝
33 チェーンベルト
34 ローラ
35 取付部材
37 レール

Claims (6)

  1. 床面を転動するキャスターを備え、ワークを載せて作業を行うための作業台車であって、
    搬送用のコンベアに係脱自在に係合させるための係合部材を備え、
    該係合部材は、前記キャスターの下端以上の位置に待避した待避状態から、前記キャスターの下端より下方に進出した進出状態とを選択可能とされていることを特徴とする作業台車。
  2. 前記係合部材は回動自在に設けられ、下端が前記床面に当接しているときに前記待避状態となり、下端が前記床面に当接しないときに回動して前記進出状態に移行し、その状態で前記コンベアによる搬送方向への回動が禁止されることを特徴とする請求項1に記載の作業台車。
  3. 前記係合部材は、前記待避状態において、前記コンベアによる搬送方向とは反対側に向けて低く傾斜していることを特徴とする請求項2に記載の作業台車。
  4. 前記係合部材は、前記コンベアによる搬送方向に対して複数設けられていることを特徴とする請求項1乃至請求項3の何れかに記載の作業台車。
  5. 前記係合部材の下端には、係合部材側ローラが設けられていることを特徴とする請求項1乃至請求項4の何れかに記載の作業台車。
  6. 請求項1乃至請求項5の何れかに記載の作業台車と、
    前記床面より低い位置に敷設された前記コンベアと、
    該コンベアに所定間隔で取り付けられ、前記作業台車の係合部材が係脱自在に係合する搬送部材とから構成されることを特徴とする搬送装置。
JP2008223283A 2008-09-01 2008-09-01 作業台車及びそれを用いた搬送装置 Expired - Fee Related JP5496483B2 (ja)

Priority Applications (1)

Application Number Priority Date Filing Date Title
JP2008223283A JP5496483B2 (ja) 2008-09-01 2008-09-01 作業台車及びそれを用いた搬送装置

Applications Claiming Priority (1)

Application Number Priority Date Filing Date Title
JP2008223283A JP5496483B2 (ja) 2008-09-01 2008-09-01 作業台車及びそれを用いた搬送装置

Publications (2)

Publication Number Publication Date
JP2010058858A true JP2010058858A (ja) 2010-03-18
JP5496483B2 JP5496483B2 (ja) 2014-05-21

Family

ID=42186142

Family Applications (1)

Application Number Title Priority Date Filing Date
JP2008223283A Expired - Fee Related JP5496483B2 (ja) 2008-09-01 2008-09-01 作業台車及びそれを用いた搬送装置

Country Status (1)

Country Link
JP (1) JP5496483B2 (ja)

Cited By (1)

* Cited by examiner, † Cited by third party
Publication number Priority date Publication date Assignee Title
WO2025089483A1 (ko) * 2023-10-26 2025-05-01 쿠팡 주식회사 이송 장치 및 이를 포함하는 이송 시스템

Citations (2)

* Cited by examiner, † Cited by third party
Publication number Priority date Publication date Assignee Title
JPS61215158A (ja) * 1985-03-19 1986-09-24 株式会社 京都製作所 物品搬送台の搬送方法
JP2007186284A (ja) * 2006-01-12 2007-07-26 Hitachi Constr Mach Co Ltd ワーク搬送装置

Patent Citations (2)

* Cited by examiner, † Cited by third party
Publication number Priority date Publication date Assignee Title
JPS61215158A (ja) * 1985-03-19 1986-09-24 株式会社 京都製作所 物品搬送台の搬送方法
JP2007186284A (ja) * 2006-01-12 2007-07-26 Hitachi Constr Mach Co Ltd ワーク搬送装置

Cited By (1)

* Cited by examiner, † Cited by third party
Publication number Priority date Publication date Assignee Title
WO2025089483A1 (ko) * 2023-10-26 2025-05-01 쿠팡 주식회사 이송 장치 및 이를 포함하는 이송 시스템

Also Published As

Publication number Publication date
JP5496483B2 (ja) 2014-05-21

Similar Documents

Publication Publication Date Title
JP6501078B2 (ja) 搬送用走行体利用の搬送設備
JP5618062B2 (ja) 浸漬処理装置
RU2373089C1 (ru) Транспортировочное устройство несущего типа
JP2011201455A5 (ja)
JP6217927B2 (ja) 台車式搬送装置
JP2016060624A (ja) 物品搬送台車
CN110127567B (zh) 搬运作业设备
JP5496483B2 (ja) 作業台車及びそれを用いた搬送装置
CN218289420U (zh) 板件运输流水线
JP4289502B2 (ja) 搬送補助装置およびこの搬送補助装置を備えた搬送装置
JP5790493B2 (ja) ワーク搬送装置
JP5777409B2 (ja) 部品供給装置
JP5839285B2 (ja) 搬送装置
JP6198467B2 (ja) 被搬送物の取出装置
JP5504961B2 (ja) 搬送台車、搬送ライン及び搬送方法
JPH06329240A (ja) 重量物運搬用ローラ台車
JP2002321626A (ja) 台 車
JP6135452B2 (ja) 台車搬送装置
JP7237352B2 (ja) 育苗箱並べ装置および育苗箱並べ方法
JP4696668B2 (ja) 搬送コンベア
JP6146844B1 (ja) 覆工体搬送装置
JP2006096145A (ja) バッテリ交換台車及びバッテリ受台
JP4728752B2 (ja) 物品の運搬用台車
JP6446915B2 (ja) 無人搬送車及びロール体搬送システム
JP6070074B2 (ja) ストッパ装置及び自動倉庫

Legal Events

Date Code Title Description
A621 Written request for application examination

Free format text: JAPANESE INTERMEDIATE CODE: A621

Effective date: 20110829

A977 Report on retrieval

Free format text: JAPANESE INTERMEDIATE CODE: A971007

Effective date: 20130325

A131 Notification of reasons for refusal

Free format text: JAPANESE INTERMEDIATE CODE: A131

Effective date: 20130402

A521 Written amendment

Free format text: JAPANESE INTERMEDIATE CODE: A523

Effective date: 20130528

A131 Notification of reasons for refusal

Free format text: JAPANESE INTERMEDIATE CODE: A131

Effective date: 20131210

A521 Written amendment

Free format text: JAPANESE INTERMEDIATE CODE: A523

Effective date: 20140108

TRDD Decision of grant or rejection written
A01 Written decision to grant a patent or to grant a registration (utility model)

Free format text: JAPANESE INTERMEDIATE CODE: A01

Effective date: 20140204

A61 First payment of annual fees (during grant procedure)

Free format text: JAPANESE INTERMEDIATE CODE: A61

Effective date: 20140305

R150 Certificate of patent or registration of utility model

Ref document number: 5496483

Country of ref document: JP

Free format text: JAPANESE INTERMEDIATE CODE: R150

LAPS Cancellation because of no payment of annual fees