JP2010058853A - 積込装置 - Google Patents

積込装置 Download PDF

Info

Publication number
JP2010058853A
JP2010058853A JP2008223194A JP2008223194A JP2010058853A JP 2010058853 A JP2010058853 A JP 2010058853A JP 2008223194 A JP2008223194 A JP 2008223194A JP 2008223194 A JP2008223194 A JP 2008223194A JP 2010058853 A JP2010058853 A JP 2010058853A
Authority
JP
Japan
Prior art keywords
pallet
loading
sliding surface
sliding
shooter
Prior art date
Legal status (The legal status is an assumption and is not a legal conclusion. Google has not performed a legal analysis and makes no representation as to the accuracy of the status listed.)
Granted
Application number
JP2008223194A
Other languages
English (en)
Other versions
JP5311010B2 (ja
Inventor
Kenichi Iwanishi
健一 岩西
Hirohisa Sakai
浩久 酒井
Current Assignee (The listed assignees may be inaccurate. Google has not performed a legal analysis and makes no representation or warranty as to the accuracy of the list.)
Toyota Motor Corp
Original Assignee
Toyota Motor Corp
Priority date (The priority date is an assumption and is not a legal conclusion. Google has not performed a legal analysis and makes no representation as to the accuracy of the date listed.)
Filing date
Publication date
Application filed by Toyota Motor Corp filed Critical Toyota Motor Corp
Priority to JP2008223194A priority Critical patent/JP5311010B2/ja
Publication of JP2010058853A publication Critical patent/JP2010058853A/ja
Application granted granted Critical
Publication of JP5311010B2 publication Critical patent/JP5311010B2/ja
Expired - Fee Related legal-status Critical Current
Anticipated expiration legal-status Critical

Links

Images

Landscapes

  • Warehouses Or Storage Devices (AREA)

Abstract

【課題】部品が収容されたパレットを無動力で無人搬送車に積み込むことのできる積込装置を提供する。
【解決手段】本積込装置1は、部品2が収容されるパレット3を滑動させる滑動面5を有し、該滑動面5が下方傾斜する積込シュータ4と、該積込シュータ4の滑動面5の下端に備えられ、パレット3の滑動を停止及び開放するシュータ側ストッパ11と、搬送台車6に備えられ、パレット3を滑動させる滑動面10を有し、該滑動面10が積込シュータ4の滑動面5と略同一平面を形成するように下方傾斜する受け台8と、を備えているので、部品2が収容されたパレット3を無動力で搬送台車6に積み込むことができる。
【選択図】図3

Description

本発明は、部品が収容されたパレットを無人搬送車に積み込む際に使用する積込装置に関するものである。
従来では、例えば、トラック等により運搬されて来た、部品が収容されたパレットは、フォークリフトを使用して無人搬送車に積み込まれていた。
しかしながら、このフォークリフトによる積込作業は非常に煩雑であり、スペースも確保する必要があり、フォークリフトに替わる積込手段が要求されてきた。しかも、積込手段は、効率化を図るため、アクチュエータ等を使用せずに無動力で構築する必要があった。
なお、特許文献1には、容器を運搬する搬送車上に、第1支点を介して転送板を傾動自在に設け、この転送板の一側端部に搬送車の走行方向と直交する方向の突杆を突設し、更に搬送車が走行する方向と平行に、搬送車と共に移行して来た突杆を押し下げて移行させる押下案内横杆と、この押下案内横杆に続いて突杆の移行によって押し下げられる押上案内横杆とを設け、前記押下案内横杆に近接して、搬送車の走行方向と直交する方向に往路転送部を設け、更に往路転送部に続いて、搬送車の走行方向と平行に方向変換部を設け、この方向変換部に続いて搬送車の走行方向と直交する方向に復路転送部を設けた部品収容容器の自動積み降ろし装置が開示されている。
実開平7−946号公報
上述したように、部品が収容されたパレットを無人搬送車に積み込む際には、その作業効率を向上させるためフォークリフトに替わる積込手段が要求されてきた。しかも、該積込手段は無動力による構成が不可欠である。
また、特許文献1の容器の自動積み降ろし装置では、アクチュエータを使用しており採用することはできない。
本発明は、かかる点に鑑みてなされたものであり、部品が収容されたパレットを無動力で無人搬送車に積み込むことのできる積込装置を提供することを目的とする。
上記課題を解決するために、本発明の積込装置は、部品が収容されるパレットを滑動させる滑動面を有し、該滑動面が下方傾斜する積込シュータと、該積込シュータの滑動面の下端に備えられ、前記パレットの滑動を停止及び開放するシュータ側ストッパと、前記無人搬送車に備えられ、前記パレットを滑動させる滑動面を有し、該滑動面が前記積込シュータの滑動面と略同一平面を形成するように下方傾斜する受け台と、を備えたことを特徴としている。
これにより、例えば、トラック等にて運搬されて来た、部品が収容されたパレットを、無動力で無人搬送車に積み込むことができる。
なお、本発明の積込装置の各種態様およびそれらの作用については、以下の発明の態様の項において詳しく説明する。
(発明の態様)
以下に、本願において特許請求が可能と認識されている発明(以下、「請求可能発明」という場合がある。)の態様をいくつか例示し、それらについて説明する。なお、各態様は、請求項と同様に、項に区分し、各項に番号を付して、必要に応じて他の項を引用する形式で記載する。これは、あくまでも請求可能発明の理解を容易にするためであり、請求可能発明を構成する構成要素の組み合わせを、以下の各項に記載されたものに限定する趣旨ではない。つまり、請求可能発明は、各項に付随する記載、実施の形態等を参酌して解釈されるべきであり、その解釈に従う限りにおいて、各項の態様にさらに他の構成要件を付加した態様も、また、各項の態様から構成要件を削除した態様も、請求可能発明の一態様となり得るのである。なお、以下の各項において、(1)項〜(4)項の各々が、請求項1〜4の各々に相当する。
(1)無人搬送車に部品をパレットと共に積み込む積込装置であって、該積込装置は、部品が収容されるパレットを滑動させる滑動面を有し、該滑動面が下方傾斜する積込シュータと、該積込シュータの滑動面の下端に備えられ、前記パレットの滑動を停止及び開放するシュータ側ストッパと、前記無人搬送車に備えられ、前記パレットを滑動させる滑動面を有し、該滑動面が前記積込シュータの滑動面と略同一平面を形成するように下方傾斜する受け台と、を備えたことを特徴とする積込装置。
(1)項の積込装置では、例えば、トラック等によって運搬されて来た、部品が収容されたパレットが積込シュータの滑動面の上端に搬送されると、パレットは積込シュータの滑動面をその傾斜に沿って滑動して、積込シュータの滑動面の下端に備えたシュータ側ストッパによりその滑動が停止される。その後、無人搬送車が積込シュータの滑動面の下端に到着すると、シュータ側ストッパが解除されて、積込シュータの滑動面上のパレットは無人搬送車に備えられた受け台上の滑動面を滑動して、該無人搬送車に積み込まれる。
(2)前記パレットには、該パレット内に各部品を収容した際の全体の重心がパレットの滑動側に位置するように部品収容区域が設定されることを特徴とする(1)項に記載の積込装置。
(2)項の積込装置では、パレットが積込シュータの滑動面及び無人搬送車に備えた受け台上の滑動面をスムーズに滑動するようになる。
(3)前記受け台の滑動面の下端に、前記パレットの滑動を停止させる受け台側ストッパが備えられることを特徴とする(1)項または(2)項に記載の積込装置。
(3)項の積込装置では、パレットが無人搬送車に備えた受け台上の滑動面を滑動する際、受け台側ストッパによりその滑動が停止され、パレットを無人搬送車に安定して積み込むことができる。
(4)前記パレットの前記部品収容区域には、部品を整列させてパレット内での部品の移動を規制する規制手段が形成されることを特徴とする(2)項または(3)項に記載の積込装置。
(4)項の積込装置では、パレットが積込シュータの滑動面及び無人搬送車に備えた受け台上の滑動面を滑動している際、規制手段によりパレット内の部品が転倒したり、整列状態が崩れ部品同士が衝突するのを防ぐ。
(5)前記規制手段は、複数の仕切棒を部品形状に沿って規則的に立設して構成されることを特徴とする(4)項に記載の積込装置。
(5)項の積込装置では、規制手段を効果的に機能させることができる。
(6)前記積込シュータ及び前記受け台の各滑動面は、複数の自由回転ローラを傾斜方向に沿って並設して構成されることを特徴とする(1)項〜(5)項のいずれかに記載の積込装置。
(6)項の積込装置では、パレットを容易に滑動させることができる。
(7)前記無人搬送車は、搬送台車が搬送自走車上に一体的に連結される積載型の搬送自走車であることを特徴とする(1)項〜(6)項のいずれかに記載の積込装置。
(7)項の積込装置は、積載型の搬送自走車が採用される際に特に有効である。
本発明によれば、部品が収容されたパレットを無動力で無人搬送車に積み込むことのできる積込装置を提供することができる。
以下、本発明を実施するための最良の形態を図1〜図4に基いて詳細に説明する。
本発明の実施の形態に係る積込装置1は、例えば、トラック等により運搬されて来た、自動車等の部品2が収容されたパレット3を無人搬送車、具体的には搬送自走車7上に一体的に積載された搬送台車6に積み込む際に使用されるものである。なお、本積込装置1は、搬送自走車で搬送台車を牽引するタイプや搬送自走車上に積込(収容)部位を有するタイプ等の無人搬送車にも適用することができる。
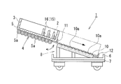
本積込装置1は、図1〜図3に示すように、パレット3を滑動させる滑動面5を有し、該滑動面5が下方傾斜する積込シュータ4と、該積込シュータ4の滑動面5の下端に備えられ、パレット3の滑動を停止及び開放するシュータ側ストッパ11と、搬送台車6に備えられ、パレット3を滑動させる滑動面10を有し、該滑動面10が積込シュータ4の滑動面5と略同一平面を形成するように下方傾斜する受け台8と、受け台8の滑動面10の下端に備えられ、前記パレット3の滑動を停止させる受け台側ストッパ12とを備えている。
積込シュータ4は、図1及び図2に示すように、有脚構造が採用されており、平面視略矩形状の滑動面5が形成されている。この滑動面5は下方傾斜しており、その傾斜角度は、本実施の形態では略5°に設定されている。また、この滑動面5の幅方向(傾斜方向と直交する方向)両端縁にはパレット3の滑動をガイドするガイド板19、19がそれぞれ備えられている。滑動面5は、幅方向両端部に配置される一対の自由回転ローラ5aを傾斜方向に沿って複数並設して構成されており、各自由回転ローラ5aによりパレット3の滑動を容易にしている。
また、積込シュータ4の滑動面5の下端には、その幅方向略中間位置にパレット3の滑動を停止及び開放するシュータ側ストッパ11が備えられている。このシュータ側ストッパ11は、そのフック部が矢印方向(図3参照)に回動可能に構成されている。なお、シュータ側ストッパ11を、積込シュータ4の滑動面5の下端でその幅方向両端に2個配置してもよい。
搬送自走車7は、床面の所定経路に敷設された走行磁気テープに沿って自走するもので、図3に示すように、搬送自走車7上に搬送台車6が一体的に備えられた、所謂、積載型の搬送自走車7である。なお、搬送自走車7は、具体的に図示しないが、互いに独立回転する左右一対の駆動輪ユニットと、前記走行磁気テープを検知する磁気検知センサーと、所定距離離れた障害物を検知する障害物検知センサーと、前端に突出し、障害物に衝突したことを検知する安全バンパーとを少なくとも備えている。
また、図1及び図3に示すように、搬送台車6上には受け台8が備えられている。該受け台8上にも滑動面10が形成され、受け台8上の滑動面10は積込シュータ4の滑動面5の傾斜角度と略同じ角度で、且つ積込シュータ4の滑動面5と略同一平面を形成するように下方傾斜している。また、受け台8の滑動面10は、積込シュータ4の滑動面5と同様に、幅方向両端部に配置される一対の自由回転ローラ10aを傾斜方向に沿って複数並設して構成され、各自由回転ローラ10aによりパレット3の滑動を容易にしている。
また、受け台8の滑動面10の下端には、その幅方向略中間位置に受け台側ストッパ12が備えられており、該受け台側ストッパ12により受け台8の滑動面10を滑動するパレット3を停止させて、パレット3を受け台8上(搬送台車6)に安定して積載することができる。
パレット3は、図1及び図3に示すように、平面視略矩形状の収容部14が形成される。また、パレット3の収容部14には、パレット3内に各部品2を収容した際の全体の重心がパレット3の滑動側に位置するように部品収容区域(図1の斜線で示されている範囲)14aが設定される。つまり、パレット3内の部品収容区域14aは、パレット3の長手方向の一端側に偏った範囲に設定されることになる。
パレット3の部品収容区域14aには、図1及び図3に示すように、部品2を整列させてパレット3内での部品2の移動を規制する規制手段15が形成される。この規制手段15は、本実施の形態では、例えば、複数の仕切棒16が、パレット3の滑動時、各部品2が転倒しないように、且つ各部品2が移動して互いに接触せずに整然と整列できるように、規則的にそれぞれ立設されて構成されている。この規制手段15は、部品2の形状及び数量に基いて、形状及び数量等が適宜決定される。
なお、図4にはパレット3の他の実施形態を示すが、この他の実施形態に係るパレット3は、平面視略矩形状の底板20の4隅に支柱21をそれぞれ立設させて、各支柱21を複数の線材22(本実施の形態では4本)により繋いで構成され、その内部に収容部14が形成される。このパレット3は、主に、自動車の車体部品のカウル等が収容される。
次に、本発明の実施の形態に係る積込装置1の作用を説明する。
まず、部品2が収容されたパレット3が、例えばトラックにより運搬されて搬送されるが、パレット3内の部品収容区域14aには、各部品2が各仕切棒16により整然と整列して収容されている。
次に、パレット3がトラックの荷台から積込シュータ4の滑動面5の上端に搬送される。すると、パレット3は、積込シュータ4の滑動面5(各自由回転ローラ5a上)をその傾斜に沿って滑動する。この時、各自由回転ローラ5aによりパレット3の滑動が容易となる。
次に、積込シュータ4の滑動面5を滑動するパレット3は、滑動面5の下端に設けたシュータ側ストッパ11によりその滑動が停止される。
次に、積込シュータ4の滑動面5の下端に、搬送自走車7の搬送台車6が到着すると、積込シュータ4の滑動面5と、搬送台車6に備えた受け台8上の滑動面10とが略同一平面上に位置し、その後、受け台8の上端の一部位が積込シュータ4のシュータ側ストッパ11のストッパ解除部(図示略)を押圧することで、該シュータ側ストッパ11のフック部が下方に回動して、パレット3の滑動が開放される。すると、パレット3が、積込シュータ4の滑動面5(各自由回転ローラ5a上)から搬送台車6の受け台8上の滑動面10(各自由回転ローラ10a上)を滑動し、受け台側ストッパ12により停止されて安定して搬送台車6に積み込まれる。
その後、搬送自走車7が所定経路を走行し、搬送台車6のパレット3内から各部品2が製造工程に供給される。
以上説明したように、本発明の実施の形態に係る積込装置1では、パレット3を滑動させる滑動面5を有し、該滑動面5が下方傾斜する積込シュータ4と、該積込シュータ4の滑動面5の下端に備えられ、パレット3の滑動を停止及び開放するシュータ側ストッパ11と、搬送台車6に備えられ、パレット3を滑動させる滑動面10を有し、該滑動面10が積込シュータ4の滑動面5と略同一平面を形成するように下方傾斜する受け台8とを備えている。
これにより、トラック等で運搬されて来たパレット3を搬送自走車7の搬送台車6に積み込む際、従来のようにフォークリフトを使用することなく、簡単に搬送台車6に積み込むことができ、作業効率を向上させることができる。
しかも、本発明の実施の形態に係る積込装置1では、パレット3を、アクチュエータ等の動力源を使用せず無動力で搬送台車6に積み込むことができるので非常に効果的である。
また、本積込装置1では、受け台8の下端に、パレット3を停止させる受け台側ストッパ12を備えているので、パレット3を受け台8上(搬送台車6)に安定して積み込むことができる。
さらに、パレット3には、該パレット3内に各部品2を収容した際の全体の重心がパレット3の滑動側に位置するように部品収容区域14aが設定されるので、パレット3を積込シュータ4及び受け台8の各滑動面5、10をスムーズに滑動させることができる。さらに、パレット3の部品収容区域14aには、パレット3内での各部品2に移動を規制する規制手段15を形成しているので、パレット3が積込シュータ4の滑動面5及び搬送台車6に備えた受け台8上の滑動面10を滑動している間、パレット3内の各部品2が転倒したり、各部品2同士が衝突するのを防ぐ。
図1は、本発明の実施の形態に係る積込装置であり、パレットを搬送台車に積み込む様子を示した平面図である。 図2は、本発明の実施の形態に係る積込装置の構成部材である積込シュータの斜視図である。 図3は、本積込装置によりパレットを搬送台車に積み込む様子を示した側面図である。 図4は、パレットの他の実施形態を示した斜視図である。
符号の説明
1 積込装置,2 部品,3 パレット,4 積込シュータ,5、10 滑動面,5a、10a 自由回転ローラ,6 搬送台車,7 搬送自走車,8 受け台,11 シュータ側ストッパ,12 受け台側ストッパ,14a 部品収容区域,15 規制手段,16 仕切棒,

Claims (4)

  1. 無人搬送車に部品をパレットと共に積み込む積込装置であって、
    該積込装置は、部品が収容されるパレットを滑動させる滑動面を有し、該滑動面が下方傾斜する積込シュータと、
    該積込シュータの滑動面の下端に備えられ、前記パレットの滑動を停止及び開放するシュータ側ストッパと、
    前記無人搬送車に備えられ、前記パレットを滑動させる滑動面を有し、該滑動面が前記積込シュータの滑動面と略同一平面を形成するように下方傾斜する受け台と、
    を備えたことを特徴とする積込装置。
  2. 前記パレットには、該パレット内に各部品を収容した際の全体の重心がパレットの滑動側に位置するように部品収容区域が設定されることを特徴とする請求項1に記載の積込装置。
  3. 前記受け台の滑動面の下端に、前記パレットの滑動を停止させる受け台側ストッパが備えられることを特徴とする請求項1または2に記載の積込装置。
  4. 前記パレットの前記部品収容区域には、部品を整列させてパレット内での部品の移動を規制する規制手段が形成されることを特徴とする請求項2または3に記載の積込装置。
JP2008223194A 2008-09-01 2008-09-01 積込装置 Expired - Fee Related JP5311010B2 (ja)

Priority Applications (1)

Application Number Priority Date Filing Date Title
JP2008223194A JP5311010B2 (ja) 2008-09-01 2008-09-01 積込装置

Applications Claiming Priority (1)

Application Number Priority Date Filing Date Title
JP2008223194A JP5311010B2 (ja) 2008-09-01 2008-09-01 積込装置

Publications (2)

Publication Number Publication Date
JP2010058853A true JP2010058853A (ja) 2010-03-18
JP5311010B2 JP5311010B2 (ja) 2013-10-09

Family

ID=42186138

Family Applications (1)

Application Number Title Priority Date Filing Date
JP2008223194A Expired - Fee Related JP5311010B2 (ja) 2008-09-01 2008-09-01 積込装置

Country Status (1)

Country Link
JP (1) JP5311010B2 (ja)

Cited By (3)

* Cited by examiner, † Cited by third party
Publication number Priority date Publication date Assignee Title
JP2015500784A (ja) * 2011-12-23 2015-01-08 ソリスティック 端に段積みされた扁平物品を処理するための処理設備、及び端に段積みされた扁平物品を荷卸する方法
WO2021018373A1 (en) * 2019-07-29 2021-02-04 Abb Schweiz Ag Platform for conveying work parts in an assembly line, and method for placing work parts on the same
CN114194846A (zh) * 2021-11-18 2022-03-18 北京擎科生物科技有限公司 一种叠料拆分装置及包括其的上料装置

Citations (5)

* Cited by examiner, † Cited by third party
Publication number Priority date Publication date Assignee Title
JPS62211203A (ja) * 1986-03-12 1987-09-17 Nec Corp 小物物体供給装置
JPH0449108U (ja) * 1990-08-31 1992-04-24
JPH0930639A (ja) * 1995-07-12 1997-02-04 Daikin Ind Ltd ヘアピン型伝熱管の自動整列方法および自動整列装置
JPH11278653A (ja) * 1998-03-26 1999-10-12 Nissan Motor Co Ltd トラバーサ
JP2005138883A (ja) * 2003-11-07 2005-06-02 Sanko Co Ltd 自動倉庫用コンテナ

Patent Citations (5)

* Cited by examiner, † Cited by third party
Publication number Priority date Publication date Assignee Title
JPS62211203A (ja) * 1986-03-12 1987-09-17 Nec Corp 小物物体供給装置
JPH0449108U (ja) * 1990-08-31 1992-04-24
JPH0930639A (ja) * 1995-07-12 1997-02-04 Daikin Ind Ltd ヘアピン型伝熱管の自動整列方法および自動整列装置
JPH11278653A (ja) * 1998-03-26 1999-10-12 Nissan Motor Co Ltd トラバーサ
JP2005138883A (ja) * 2003-11-07 2005-06-02 Sanko Co Ltd 自動倉庫用コンテナ

Cited By (5)

* Cited by examiner, † Cited by third party
Publication number Priority date Publication date Assignee Title
JP2015500784A (ja) * 2011-12-23 2015-01-08 ソリスティック 端に段積みされた扁平物品を処理するための処理設備、及び端に段積みされた扁平物品を荷卸する方法
WO2021018373A1 (en) * 2019-07-29 2021-02-04 Abb Schweiz Ag Platform for conveying work parts in an assembly line, and method for placing work parts on the same
CN114173986A (zh) * 2019-07-29 2022-03-11 Abb瑞士股份有限公司 用于在装配线中传送工作部件的平台以及用于在其上放置工作部件的方法
US12059761B2 (en) 2019-07-29 2024-08-13 Abb Schweiz Ag Platform for conveying work parts in an assembly line, and method for placing work parts on the same
CN114194846A (zh) * 2021-11-18 2022-03-18 北京擎科生物科技有限公司 一种叠料拆分装置及包括其的上料装置

Also Published As

Publication number Publication date
JP5311010B2 (ja) 2013-10-09

Similar Documents

Publication Publication Date Title
KR20230154101A (ko) 반송차 및 반송 설비
JPS62502040A (ja) 押し込み式フロ−ラック用の荷物移送装置
CN210735629U (zh) 码放装置、装车机及装车系统
JP7172528B2 (ja) 搬送車
JP5783366B2 (ja) 仕分けシステム
JP5311010B2 (ja) 積込装置
JP6806856B2 (ja) 自動倉庫システム
JP2019077508A (ja) 自動倉庫システム
JP7047170B1 (ja) 台車搬送用パレット
EP3865451A1 (en) A robotic ground conveyor vehicle
CN219822527U (zh) 仓储系统
JP6070074B2 (ja) ストッパ装置及び自動倉庫
JP6008755B2 (ja) 傾斜式流動ラック
JP6192159B2 (ja) パレット給排システム
JP7075768B2 (ja) 自動倉庫システム
JP5365604B2 (ja) 物品供給排出装置
JP7125375B2 (ja) 自動倉庫システム
JP2020157841A (ja) 運搬台車
CN110217618B (zh) 一种装箱作业装置
JP2023164598A (ja) 自動倉庫システム
JPS6160506A (ja) 立体自動倉庫システム
JP2010047327A (ja) 荷役用パレットの搬送具
JP2007284151A (ja) 荷役作業用設備
JPH04260511A (ja) 自動倉庫
JP2015116992A (ja) 搬送台車

Legal Events

Date Code Title Description
A621 Written request for application examination

Free format text: JAPANESE INTERMEDIATE CODE: A621

Effective date: 20101214

A977 Report on retrieval

Free format text: JAPANESE INTERMEDIATE CODE: A971007

Effective date: 20121019

A131 Notification of reasons for refusal

Free format text: JAPANESE INTERMEDIATE CODE: A131

Effective date: 20121205

A521 Request for written amendment filed

Free format text: JAPANESE INTERMEDIATE CODE: A523

Effective date: 20130131

TRDD Decision of grant or rejection written
A01 Written decision to grant a patent or to grant a registration (utility model)

Free format text: JAPANESE INTERMEDIATE CODE: A01

Effective date: 20130605

A61 First payment of annual fees (during grant procedure)

Free format text: JAPANESE INTERMEDIATE CODE: A61

Effective date: 20130618

R151 Written notification of patent or utility model registration

Ref document number: 5311010

Country of ref document: JP

Free format text: JAPANESE INTERMEDIATE CODE: R151

LAPS Cancellation because of no payment of annual fees