JP2010056286A - 基板処理システム - Google Patents

基板処理システム Download PDF

Info

Publication number
JP2010056286A
JP2010056286A JP2008219562A JP2008219562A JP2010056286A JP 2010056286 A JP2010056286 A JP 2010056286A JP 2008219562 A JP2008219562 A JP 2008219562A JP 2008219562 A JP2008219562 A JP 2008219562A JP 2010056286 A JP2010056286 A JP 2010056286A
Authority
JP
Japan
Prior art keywords
substrate
cassette
unit
carry
loading
Prior art date
Legal status (The legal status is an assumption and is not a legal conclusion. Google has not performed a legal analysis and makes no representation as to the accuracy of the status listed.)
Granted
Application number
JP2008219562A
Other languages
English (en)
Other versions
JP5227701B2 (ja
Inventor
Tsutomu Sahoda
勉 佐保田
Futoshi Shimai
太 島井
Masahiko Sato
晶彦 佐藤
Current Assignee (The listed assignees may be inaccurate. Google has not performed a legal analysis and makes no representation or warranty as to the accuracy of the list.)
Tokyo Ohka Kogyo Co Ltd
Original Assignee
Tokyo Ohka Kogyo Co Ltd
Priority date (The priority date is an assumption and is not a legal conclusion. Google has not performed a legal analysis and makes no representation as to the accuracy of the date listed.)
Filing date
Publication date
Application filed by Tokyo Ohka Kogyo Co Ltd filed Critical Tokyo Ohka Kogyo Co Ltd
Priority to JP2008219562A priority Critical patent/JP5227701B2/ja
Priority to CN2012105800199A priority patent/CN103077911A/zh
Priority to US12/547,270 priority patent/US9214372B2/en
Priority to CN 200910167447 priority patent/CN101661873B/zh
Priority to CN2012105803182A priority patent/CN103021918A/zh
Publication of JP2010056286A publication Critical patent/JP2010056286A/ja
Priority to US12/877,881 priority patent/US8919756B2/en
Application granted granted Critical
Publication of JP5227701B2 publication Critical patent/JP5227701B2/ja
Expired - Fee Related legal-status Critical Current
Anticipated expiration legal-status Critical

Links

Images

Landscapes

  • Exposure Of Semiconductors, Excluding Electron Or Ion Beam Exposure (AREA)
  • Coating Apparatus (AREA)
  • Container, Conveyance, Adherence, Positioning, Of Wafer (AREA)

Abstract

【課題】システム構成を簡略化し、処理タクトを短縮化することが可能な基板処理システムを提供すること。
【解決手段】基板に所定処理を行う処理ユニットと、前記所定処理前の前記基板を収容した搬入用容器が供給されると共に、空の前記搬入用容器が回収される基板搬入ユニットと、前記所定処理後の前記基板を収容した搬出用容器が回収されると共に、空の前記搬出用容器が供給される基板搬出ユニットと、前記処理ユニット内のローディングポジションと前記基板搬入ユニットとの間で前記搬入用容器を搬送すると共に前記処理ユニット内のアンローディングポジションと前記基板搬出ユニットとの間で前記搬出用容器を搬送する搬送機構を有する搬送ユニットとを備える。
【選択図】図1

Description

本発明は、基板処理システムに関する。
例えば半導体基板、液晶パネルを構成するガラス基板、ハードディスクを構成する基板など、各種基板上にレジスト膜などの薄膜を形成する際に、基板を回転させながら当該基板に塗布膜を形成する塗布装置が用いられる(例えば、特許文献1参照)。塗布装置は、例えば塗布ユニットとして、基板の搬入動作、塗布動作、搬出動作を含めた基板処理システムに搭載されることがある。
このような基板処理システムは、メインとなる動作毎にユニット化されていることが多く、例えば上記の例では、搬入動作を行う基板搬入ユニット、搬出動作を行う基板搬出ユニットが搭載されることになる。複数のユニット間に亘って基板を搬送する場合、ユニットごとに搬送装置を配置し、各搬送装置間で基板又は当該基板を収容するカセット等の受け渡しを行わせる構成が一般的である。
特開平7−130642号公報
しかしながら、ユニット間の搬送動作に複数の搬送装置を用いる基板処理システムでは、当該搬送装置の配置や受け渡し制御のタイミングなど、構成上あるいは制御上の設定等が複雑になりやすく、これに伴ってシステム構成全体が複雑化すると共に処理タクトが長くなってしまうという問題がある。
以上のような事情に鑑み、本発明の目的は、システム構成を簡略化し、処理タクトを短縮化することが可能な基板処理システムを提供することにある。
上記目的を達成するため、本発明に係る基板処理システムは、基板に所定処理を行う処理ユニットと、前記所定処理前の前記基板を収容した搬入用容器が供給されると共に、空の前記搬入用容器が回収される基板搬入ユニットと、前記所定処理後の前記基板を収容した搬出用容器が回収されると共に、空の前記搬出用容器が供給される基板搬出ユニットと、前記処理ユニット内のローディングポジションと前記基板搬入ユニットとの間で前記搬入用容器を搬送すると共に前記処理ユニット内のアンローディングポジションと前記基板搬出ユニットとの間で前記搬出用容器を搬送する搬送機構を有する搬送ユニットとを備えることを特徴とする。
本発明によれば、搬送ユニットに設けられる搬送機構が、処理ユニット内のローディングポジションと基板搬入ユニットとの間で搬入用容器を搬送すると共に処理ユニット内のアンローディングポジションと基板搬出ユニットとの間で搬出用容器を搬送することとしたので、異なる搬送区間の搬送動作を1つの搬送機構に行わせることができる。これにより、搬送機構による搬送処理を一元化することができるので、システム構成を簡略化することができ、処理タクトを短縮化させることができる。また、本発明によれば、搬入用容器と搬出用容器とを使い分けることとしたので、基板の汚染を防ぐことができるという利点もある。
上記の基板処理システムは、前記処理ユニット、前記基板搬入ユニット及び前記基板搬出ユニットは、直線方向上に配置されていることを特徴とする。
本発明によれば、処理ユニット、基板搬入ユニット及び基板搬出ユニットが直線方向上に配置されていることとしたので、各ユニットの間の搬送経路を当該直線方向上に設定することができる。これにより、搬送経路の複雑化を回避することができ、システム構成を簡略化することができる。
上記の基板処理システムは、前記処理ユニットは、前記基板搬入ユニットと前記基板搬出ユニットとの間に配置されていることを特徴とする。
本発明によれば、処理ユニットが基板搬入ユニットと基板搬出ユニットとの間に配置されていることとしたので、各ユニットが基板の流れの方向に沿って配置されることになる。これにより、処理の効率を高めることができる。
上記の基板処理システムは、前記搬送ユニットは、前記搬送機構を前記直線方向に移動させる移動機構を有することを特徴とする。
本発明によれば、搬送ユニットが搬送機構を直線方向に移動させる移動機構を有することとしたので、搬送機構の移動動作を単純化することができる。これにより、システム構成を簡略化することができる。
上記の基板処理システムは、前記基板搬入ユニット及び前記基板搬出ユニットには、それぞれ複数の容器待機部が設けられていることを特徴とする。
本発明によれば、基板搬入ユニット及び基板搬出ユニットには、それぞれ複数の容器待機部が設けられていることとしたので、より多くの基板を迅速に処理することが可能となる。
上記の基板処理システムは、前記基板搬入ユニット及び前記基板搬出ユニットのうち少なくとも一方は、複数の前記容器待機部を移動させる第2移動機構を有することを特徴とする。
本発明によれば、基板搬入ユニット及び基板搬出ユニットのうち少なくとも一方は、複数の容器待機部を移動させる第2移動機構を有することとしたので、容器待機部を搬送ユニットにより近い位置に移動させることができる。これにより、搬送動作を迅速に行うことができ、処理の効率化を図ることができる。
上記の基板処理システムは、前記第2移動機構は、供給対象容器を前記搬送ユニットに近づけると共に回収対象容器を前記搬送ユニットから遠ざけるように前記容器待機部を移動させることを特徴とする。
本発明によれば、第2移動機構が供給対象容器を搬送ユニットに近づけると共に回収対象容器を搬送ユニットから遠ざけるように容器待機部を移動させることとしたので、供給対象容器の供給動作及び回収対象容器の回収動作をより迅速に行うことが可能となる。これにより、処理の効率化を図ることができる。
上記の基板処理システムは、前記処理ユニットには、前記ローディングポジション及び前記アンローディングポジションのうち少なくとも一方に対応する複数の第2容器待機部を有するバッファ機構が設けられていることを特徴とする。
本発明によれば、処理ユニットには、ローディングポジション及びアンローディングポジションのうち少なくとも一方に対応する複数の第2容器待機部を有するバッファ機構が設けられていることとしたので、処理ユニットにおける基板のローディング動作及びアンローディング動作を迅速に行うことができる。これにより、処理の効率化を図ることができる。
上記の基板処理システムは、前記バッファ機構は、複数の前記第2容器待機部を移動させる第3移動機構を有することを特徴とする。
本発明によれば、バッファ機構が複数の第2容器待機部を移動させる第3移動機構を有することとしたので、容器内の基板の残量に応じて第2容器待機部を移動させることができる。これにより、処理の効率化を図ることができる。
上記の基板処理システムは、前記第3移動機構は、前記搬送機構の搬送方向と同一方向に前記第2容器待機部を移動させることを特徴とする。
本発明によれば、第3移動機構が搬送機構の搬送方向と同一方向に第2容器待機部を移動させることとしたので、第2容器待機部が搬送方向に沿って移動することになる。このため、搬送機構と第2容器待機部との間の距離が一定に保持されることになる。当該距離が一定に保持されることにより、搬送機構と第2容器待機部との間の搬送動作を一定にすることができるので、搬送動作の複雑化を回避することができる。
上記の基板処理システムは、前記処理ユニットは、前記搬入用容器から前記基板を持ち上げて前記ローディングポジションに配置するピックアップ機構を有することを特徴とする。
本発明によれば、処理ユニットが搬入用容器から基板を持ち上げてローディングポジションに配置するピックアップ機構を有することとしたので、基板のローディング動作を迅速に行うことができる。
上記の基板処理システムは、前記搬送ユニットは、前記搬送機構の向きを回転させる回転機構を有することを特徴とする。
本発明によれば、送ユニットが搬送機構の向きを回転させる回転機構を有することとしたので、搬送方向と容器の受け渡し方向とが異なる場合であっても、搬送動作及び受け渡し動作をスムーズに行うことができる。
上記の基板処理システムは、前記搬入用容器及び前記搬出用容器には係合部が形成されており、前記搬送機構は、前記係合部に係合させて前記搬入用容器及び前記搬出用容器を保持する保持部材を有することを特徴とする。
本発明によれば、搬入用容器及び搬出用容器には係合部が形成されており、搬送機構が当該係合部に係合させて搬入用容器及び搬出用容器を保持する保持部材を有することとしたので、搬入用容器及び搬出用容器を確実に保持することができる。
上記の基板処理システムは、前記処理ユニットにおける前記基板の処理状況に応じて、前記搬入用容器及び前記搬出用容器のうち少なくとも一方の搬送位置を制御する制御装置を更に備えることを特徴とする。
本発明によれば、処理ユニットにおける基板の処理状況に応じて、搬入用容器及び搬出用容器のうち少なくとも一方の搬送位置を制御することとしたので、搬送動作をより効率的に行うことができる。
上記の基板処理システムは、前記所定処理は、前記基板に液状体を塗布する塗布処理、前記塗布処理の前処理及び前記塗布処理の後処理を含むことを特徴とする。
本発明によれば、所定処理が基板に液状体を塗布する塗布処理、塗布処理の前処理及び塗布処理の後処理を含むこととしたので、塗布処理の前後の処理段階においてもシステム構成を簡略化することができる。
上記の基板処理システムは、前記前処理は、前記基板に紫外線を照射する処理及び前記基板を洗浄する処理のうち少なくとも一方の処理を含むことを特徴とする。
本発明によれば、前処理として基板に紫外線を照射する処理及び基板を洗浄する処理のうち少なくとも一方の処理を含む幅広い処理を行う場合において処理システムの簡略化を図ることができる。
上記の基板処理システムは、前記後処理は、前記基板の周囲を減圧させる処理及び前記基板を加熱する処理のうち少なくとも一方の処理を含むことを特徴とする。
本発明によれば、後処理として基板の周囲を減圧させる処理及び基板を加熱する処理のうち少なくとも一方の処理を含む幅広い処理を行う場合において処理システムの簡略化を図ることができる。
上記の基板処理システムは、前記所定処理後の前記基板上における異物の有無を検知する異物検知ユニットを更に備えることを特徴とする。
所定処理後の基板に異物が付着していると、その後の処理によっては当該異物の付着位置において基板が破損する可能性がある。本発明によれば、所定処理後の基板上における異物の有無を検知する異物検知ユニットを更に備えることとしたので、このような異物の付着した基板がその後の処理に用いられるのを防ぐことができ、基板の破損を回避することができる。
本発明によれば、システム構成を簡略化し、処理タクトを短縮化することが可能となる。
本発明の実施の形態を図面に基づき説明する。
図1は、本実施形態に係る基板処理システムSYSの概略的な構成を示す平面図である。図2は、基板処理システムSYSの概略的な構成を示す正面図である。図3は、基板処理システムSYSの概略的な構成を示す側面図である。
本実施形態では、基板処理システムSYSの構成を説明するにあたり、表記の簡単のため、XYZ座標系を用いて図中の方向を説明する。当該XYZ座標系においては、図中左右方向をX方向と表記し、平面視でX方向に直交する方向をY方向と表記する。X方向軸及びY方向軸を含む平面に垂直な方向はZ方向と表記する。X方向、Y方向及びZ方向のそれぞれは、図中の矢印の方向が+方向であり、矢印の方向とは反対の方向が−方向であるものとして説明する。
図1〜図3に示すように、基板処理システムSYSは、例えば工場などの製造ラインに組み込まれて用いられ、基板Sの所定の領域に薄膜を形成するシステムである。基板処理システムSYSは、ステージユニットSTUと、基板処理ユニット(処理ユニット)SPUと、基板搬入ユニットLDUと、基板搬出ユニットULUと、搬送ユニットCRUと、制御ユニットCNUとを備えている。
基板処理システムSYSは、ステージユニットSTUが例えば脚部材などを介して床面に支持されており、基板処理ユニットSPU、基板搬入ユニットLDU、基板搬出ユニットULU及び搬送ユニットCRUがステージユニットSTUの上面に配置された構成になっている。基板処理ユニットSPU、基板搬入ユニットLDU、基板搬出ユニットULU及び搬送ユニットCRUは、各ユニット内部がカバー部材によって覆われた状態になっている。基板処理システムSYSは、基板処理ユニットSPU、基板搬入ユニットLDU及び基板搬出ユニットULUがX軸方向に沿った直線上に配列されている。基板処理ユニットSPUは、基板搬入ユニットLDUと基板搬出ユニットULUとの間に設けられている。ステージユニットSTUのうち基板処理ユニットSPUが配置される部分の平面視中央部は、他の部分に対して−Z方向に窪んだ状態になっている。
本実施形態の基板処理システムSYSの処理対象である基板Sとしては、例えばシリコンなどの半導体基板、液晶パネルを構成するガラス基板、ハードディスクを構成する基板などが挙げられる。本実施形態では、例えばハードディスクを構成する基板であり、ガラスなどからなる円盤状の基材の表面にダイヤモンドがコーティングされた基板を例に挙げて説明する。
本実施形態の基板処理システムSYSにおける基板Sの搬入及び搬出は、当該基板Sを複数枚収容可能なカセットCを用いて行われるようになっている。カセットCは枡状に形成された容器であり、複数の基板Sの基板面が対向するように当該基板Sを一列に収容可能になっている。したがって、カセットCは、Z軸方向に基板Sを立てた状態で当該基板Sを収容する構成になっている。カセットCは、底部に開口部(図4及び図5を参照)を有している。各基板Sは当該開口部を介してカセットCの底部に露出した状態で収容されるようになっている。カセットCは、平面視で矩形状に形成されており、例えば図2に示すように+Z側の各辺部分に係合部Cxを有している。本実施形態では、カセットCとして、基板Sを搬入する際に用いられる搬入用カセットC1と、基板Sを搬出する際に用いられる搬出用カセットC2との2種類のカセットが用いられる。搬入用カセットC1には処理前の基板Sのみが収容され、搬出用カセットC2には処理後の基板Sのみが収容される。搬入用カセットC1は基板処理ユニットSPUと基板搬入ユニットLDUとの間で用いられる。搬出用カセットC2は基板処理ユニットSPUと基板搬出ユニットULUとの間で用いられる。したがって、搬入用カセットC1と搬出用カセットC2とが混合されて用いられることは無い。搬入用カセットC1及び搬出用カセットC2は、例えば同一形状、同一寸法に形成されている。
(基板搬入ユニット)
基板搬入ユニットLDUは、基板処理システムSYSのうち−X側に配置されている。基板搬入ユニットLDUは、処理前の基板Sを収容した搬入用カセットC1が供給されると共に空の搬入用カセットC1が回収されるユニットである。基板搬入ユニットLDUはY軸方向が長手になっており、複数の搬入用カセットC1がY軸方向に沿って待機可能になっている。
基板搬入ユニットLDUは、カセット出入口10及びカセット移動機構(第2移動機構)51を備えている。カセット出入口10は、基板搬入ユニットLDUを覆うカバー部材の−Y側に設けられた開口部である。カセット出入口10は、処理前の基板Sを収容した搬入用カセットC1の入口(供給口)であり、空の搬入用カセットC1の出口(回収口)である。
カセット移動機構11は、例えばベルトコンベア機構などの駆動機構を有している。本実施形態では、当該駆動機構として搬送ベルト(供給用ベルト11a及び回収用ベルト11b)を有している。搬送ベルトは、基板搬入ユニットLDUの+Y側端部から−Y側端部にかけてY軸方向に延設されており、X軸方向に2本並ぶように配置されている。
供給用ベルト11aは、2本の搬送ベルトのうち−X側に配置された搬送ベルトである。供給用ベルト11aの+Z側が搬送面となっている。供給用ベルト11aは、当該搬送面が−Y方向に移動するように回転する構成となっている。供給用ベルト11aの搬送面上には、カセット出入口10を介して基板搬入ユニットLDU内へ入ってきた搬入用カセットC1が複数載置されるようになっている。当該搬入用カセットC1は、供給用ベルト11aの回転によって搬送ユニットCRU側へ移動するようになっている。
回収用ベルト11bは、2本の搬送ベルトのうち+X側に配置された搬送ベルトである。回収用ベルト11bの+Z側が搬送面となっている。回収用ベルト11bは、搬送面が−Y方向に移動するように回転する構成となっている。回収用ベルト11bの搬送面上には、空の搬入用カセットC1が複数載置されるようになっている。当該搬入用カセットC1は、回収用ベルト11bの回転によってカセット出入口10側へ移動するようになっている。
本実施形態では、例えば供給用ベルト11a上及び回収用ベルト11b上にそれぞれ5箇所ずつ設けられた待機位置(容器待機部)で搬入用カセットC1が待機可能になっている。基板搬入ユニットLDUでは、供給用ベルト11a及び回収用ベルト11bを回転させることによって搬入用カセットC1の待機位置を移動させることができるようになっており、当該待機位置を移動させることによって搬入用カセットC1の搬送時間を短縮させることが可能になっている。
(基板処理ユニット)
基板処理ユニットSPUは、基板処理システムSYSのうち基板搬入ユニットLDUの+X側であってX軸方向のほぼ中央に配置されている。基板処理ユニットSPUは、基板Sに対してレジストなどの液状体を塗布して薄膜を形成する処理や、基板Sの周辺部分に形成された薄膜を除去する処理など、基板Sに対する各種処理を行うユニットである。基板処理ユニットSPUは、塗布装置(基板処理領域)CTと、周縁部除去装置EBRと、バッファ機構(基板搬入領域、基板搬出領域)BFと、基板搬送装置(搬送装置)SCとを備えている。
塗布装置CTは、基板処理ユニットSPUのうち平面視ほぼ中央に配置されており、ステージユニットSTUの窪んだ部分の上面に固定されている。塗布装置CTは、基板Sに液状体の薄膜を塗布形成する装置である。本実施形態では、塗布装置CTは、インプリント処理を行わせるための薄膜を基板S上に形成する。塗布装置CTは、当該薄膜の構成材料である液状体を基板S上に吐出する不図示のノズルを有している。塗布装置CTは、−X側及び+X側の両側からアクセスすることができるようになっている。したがって、例えば−X側及び+X側の両側から基板Sの搬入及び搬出が可能になっている。塗布装置CTは、X軸方向のほぼ中央部に設定される塗布位置(図中破線で示す部分)で塗布処理を行うようになっている。
周縁部除去装置EBRは、塗布装置CTの+X側であって基板処理ユニットSPUの−Y側の端辺に沿った位置に設けられている。周縁部除去装置EBRは、基板Sの周縁部に形成された薄膜を除去する装置である。周縁部除去装置EBRによる除去処理は基板Sに形成された薄膜が乾燥しないうちに行うことが好ましい。このため、周縁部除去装置EBRは、塗布装置CTから基板Sを短時間で搬送可能な位置に配置されていることが好ましい。周縁部除去装置EBRは、例えば基板Sを回転させながら当該基板Sの周縁部を溶解液に浸すことで基板S周縁部に形成された薄膜を溶解して除去する不図示のディップ部を有している。
バッファ機構BFは、基板処理ユニットSPUの+Y側端辺に沿った位置であってX軸方向に塗布装置CTを挟んだ2箇所の位置に設けられている。2箇所のバッファ機構BFのうち、塗布装置CTの−X側に配置されるバッファ機構が搬入側バッファ機構BF1であり、塗布装置CTの+X側に配置されるバッファ機構が搬出側バッファ機構BF2である。
搬入側バッファ機構BF1は、基板処理ユニットSPU内へ供給されてくる搬入用カセットC1を待機させる部分である。搬入側バッファ機構BF1には、カセット移動機構(第3移動機構)20が設けられている。カセット移動機構20は、例えばベルトコンベア機構などの駆動機構を有している。本実施形態では、駆動機構として2つの搬送ベルト20a及び20bが設けられている。
搬送ベルト20aは、搬入側バッファ機構BF1のX軸方向に沿った領域に設けられている。搬送ベルト20aの+Z側の面が搬送面になっており、供給されてくる搬入用カセットC1は当該搬送面上に載置されるようになっている。搬送ベルト20aは、搬送面がX軸方向へ移動するように回転する構成となっている。搬送ベルト20aの回転により、搬入用カセットC1が搬入側バッファ機構BF1内をX軸方向に移動可能になっている。搬送ベルト20bは、搬入側バッファ機構BF1内のX軸方向の中央部に設けられている。搬送ベルト20bの+Z側の面が搬送面になっており、当該搬送面に搬入用カセットC1が載置されるようになっている。搬送ベルト20bは、搬送面がY軸方向に沿って移動するように回転する構成となっている。搬送ベルト20bの回転により、搬入用カセットC1がY軸方向に移動するようになっている。このように、カセット移動機構20によって、各搬入用カセットC1は待機位置が移動するようになっている。
搬入側バッファ機構BF1は、搬送ベルト20aの形成領域に沿って複数、例えば3つの搬入用カセットC1をX軸方向に並べて待機させるようになっている(第2容器待機部)。図中−X側の待機位置P1は、例えば基板処理ユニットSPUへ供給されてくる搬入用カセットC1の待機位置である。図中X軸方向の中央の待機位置P2は、待機位置P1から移動してきた搬入用カセットC1の待機位置である。図中+X側の待機位置P3は、待機位置P2から移動してきた搬入用カセットC1の待機位置である。
待機位置P2内には、上記搬送ベルト20bの+Y側端部が配置されている。このため、待機位置P2に配置される搬入用カセットC1は、搬送ベルト20bによって待機位置P2に対して−Y側に移動し、当該移動先の待機位置P4で待機できるようになっている。待機位置P4の+Z方向上には、基板SのローディングポジションLPが設けられている。基板Sは、このローディングポジションLPを経由して塗布装置CTへ搬送されるようになっている。
搬出側バッファ機構BF2は、基板処理ユニットSPU内へ供給されてくる搬出用カセットC2を待機させる部分である。搬出側バッファ機構BF2には、カセット移動機構(第3移動機構)22が設けられている。カセット移動機構22は、例えばベルトコンベア機構などの駆動機構を有している。本実施形態では、搬入側バッファ機構BF1と同様、駆動機構として2つの搬送ベルト22a及び22bが設けられている。
搬送ベルト22aは、搬出側バッファ機構BF2のX軸方向に沿った領域に設けられている。搬送ベルト22aの+Z側の面が搬送面になっており、供給されてくる搬出用カセットC2は当該搬送面上に載置されるようになっている。搬送ベルト22aは、搬送面がX軸方向へ移動するように回転する構成となっている。搬送ベルト22aの回転により、搬出用カセットC2が搬出側バッファ機構BF2内をX軸方向に移動可能になっている。搬送ベルト22bは、搬出側バッファ機構BF2内のX軸方向の中央部に設けられている。搬送ベルト20bと同様、搬送ベルト22bの+Z側の面が搬送面になっており、当該搬送面に搬出用カセットC2が載置されるようになっている。搬送ベルト22bは、搬送面がY軸方向に沿って移動するように回転する構成となっている。搬送ベルト22bの回転により、搬出用カセットC2がY軸方向に移動するようになっている。このように、カセット移動機構22によって、各搬出用カセットC2は待機位置が移動するようになっている。
搬出側バッファ機構BF2は、搬送ベルト22aの形成領域に沿って複数、例えば3つの搬出用カセットC2をX軸方向に並べて待機させるようになっている(第2容器待機部)。図中−X側の待機位置P5は、例えば基板処理ユニットSPUへ供給されてくる搬出用カセットC2の待機位置である。図中X軸方向の中央の待機位置P6は、待機位置P5から移動してきた搬出用カセットC2の待機位置である。図中+X側の待機位置P7は、待機位置P6から移動してきた搬出用カセットC2の待機位置である。
待機位置P6内には、上記搬送ベルト22bの+Y側端部が配置されている。このため、待機位置P6に配置される搬出用カセットC2は、搬送ベルト22bによって待機位置P6に対して−Y側に移動し、当該移動先の待機位置P8で待機できるようになっている。待機位置P8の+Z方向上には、基板SのアンローディングポジションUPが設けられている。基板Sは、このアンローディングポジションUPを経由して塗布装置CTから搬出用カセットC2側へ搬送されてくるようになっている。
基板搬送装置SCは、基板処理ユニットSPUのY軸方向中央の位置であって塗布装置CTをX軸方向に挟む2箇所の位置に設けられている。2箇所の基板搬送装置SCのうち、塗布装置CTの−X側に配置されている装置が搬入側搬送装置SC1であり、塗布装置CTの+X側に配置されている装置が搬出側搬送装置SC2である。搬入側搬送装置SC1、搬出側搬送装置SC2及び塗布装置CTは、X軸方向に沿った直線上に配置されている。
搬入側搬送装置SC1は、塗布装置CT及び搬入側バッファ機構BF1のローディングポジションLPにそれぞれアクセスし、これらの間で基板Sを搬送する。搬入側搬送装置SC1は、基部30と、アーム部31と、保持部32とを有している。
基部30は、ステージユニットSTUのうち窪んだ部分の上面に支持されている。基部30は、固定台30aと、回転台30bとを有している。固定台30aは、ステージユニットSUTの窪んだ部分の上面に固定された台である。回転台30bは、固定台30a上に配置されている。回転台30bは、固定台30aに対しZ軸を回転軸として回転可能に設けられている。
アーム部31は、基部30の回転台30b上に支持されている。アーム部31は、XY平面方向に伸縮可能な不図示の伸縮機構を有している。アーム部31の先端には、保持部32を取り付けるための不図示の取付機構が設けられている。
保持部32は、上記取付機構を介してアーム部31に取り付けられている。保持部32は、例えば吸着力などの保持力を用いて基板Sを保持する。当該吸着力の発生源としては、例えば不図示の吸引機構などが挙げられる。吸引機構は、例えばアーム部31内部などに配置させることができる。
搬入側搬送装置SC1は、アーム部31がZ軸を回転軸として回転したり、XY平面方向に伸縮したりすることによって、塗布装置CTとローディングポジションLPとの両方に保持部32をアクセスさせる構成になっている。
搬出側搬送装置SC2は、塗布装置CT、搬出側バッファ機構BF2のアンローディングポジションUP及び周縁部除去装置EBRにそれぞれアクセスし、これらの間で基板Sを搬送する。搬出側搬送装置SC2は、搬入側搬送装置SC1と同様の構成になっており、基部40(固定台40a、回転台40b)と、アーム部41と、保持部42とを有している。搬出側搬送装置SC2は、アーム部41がZ軸を回転軸として回転したり、XY平面方向に伸縮したりすることにより、保持部42が塗布装置CT、周縁部除去装置EBR及びアンローディングポジションUPにそれぞれアクセスできるようになっている。
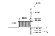
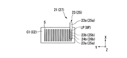
基板処理ユニットSPUは、上記構成の他、基板ローディング機構(ピックアップ機構)21及び基板アンローディング機構27を有している。基板ローディング機構21は、待機位置P4の近傍に配置されている。図4〜図6は、基板ローディング機構21の構成を概略的に示す図である。
これらの図に示すように、基板ローディング機構21は、基板上部保持機構23と、基板下部保持機構24とを有している。基板上部保持機構23は、待機位置P4の+X側に配置されている。基板上部保持機構23は、基板Sの+Z側を保持してZ軸方向に移動する。基板上部保持機構23は、昇降部材23aと、クランプ部材23bと、昇降機構23cとを有している。
昇降部材23aは、側面視L字状に形成された支柱部材であり、Z軸方向に移動可能に設けられている。昇降部材23aは、Z軸方向に延在する支柱部分と、当該支柱部分の上端からX軸方向に突出する突出部分とを有している。このうち支柱部分は、搬入用カセットC1の+Z端面よりも+Z側まで設けられている。昇降部材23aのうち突出部分は、平面視でローディングポジションLPに重なる位置に配置されている。当該突出部分の−Z側には、基板Sの形状に合うように凹部が形成されている。
クランプ部材23bは、昇降部材23aの当該凹部に取り付けられている。したがって、当該クランプ部材23bについても平面視でローディングポジションLPに重なる位置に設けられていることになる。昇降機構23cは、昇降部材23aに取り付けられた駆動部であり、搬入用カセットC1の−Z側に配置されている。昇降機構23cとしては、例えばエアシリンダなどの駆動機構を用いることができる。
基板下部保持機構24は、平面視でローディングポジションLPの中央部に重なる位置に設けられている。基板下部保持機構24は、基板Sの−Z側を保持してZ軸方向に移動する。基板下部保持機構24は、昇降部材24aと、クランプ部材24bと、昇降機構24cとを有している。昇降部材24aは、棒状に形成された支柱部材であり、Z軸方向に移動可能に設けられている。クランプ部材24bは、昇降部材24aの+Z側の先端に取り付けられており、当該クランプ部材24bについても平面視でローディングポジションLPの中央部に重なる位置に配置されていることになる。昇降機構24cは、昇降部材24aに取り付けられた駆動部であり、搬入用カセットC1の−Z側に配置されている。昇降機構24cとしては、例えばエアシリンダなどの駆動機構を用いることができる。
基板上部保持機構23の昇降機構23cと、基板下部保持機構24の昇降機構24cとは、それぞれ独立して動作させることが可能であると共に、両者を連動させて動作させることも可能となっている。
基板アンローディング機構27は、待機位置P8の近傍に配置されている。基板アンローディング機構27は、基板ローディング機構21と同一の構成になっている。図4〜図6には、基板ローディング機構21の各構成要素(ローディングポジションLPを含む)に対応する基板アンローディング機構27の構成要素(アンローディングポジションUPを含む)を、括弧内の符号によって示している。
基板アンローディング機構27は、基板上部保持機構25と、基板下部保持機構26とを有している。基板上部保持機構25は、昇降部材25aと、クランプ部材25bと、昇降機構25cとを有している。基板下部保持機構26は、昇降部材26aと、クランプ部材26bと、昇降機構26cとを有している。基板アンローディング機構27の各構成要素の位置関係や機能などについては、基板ローディング機構21の対応する構成要素と同一であるため、説明を省略する。
(基板搬出ユニット)
図1〜図3に戻って、基板搬出ユニットULUは、基板処理システムSYSのうち基板処理ユニットSPUの+X側に配置されている。基板搬出ユニットULUは、処理後の基板Sを収容した搬出用カセットC2が回収されると共に空の搬出用カセットC2が供給されるユニットである。基板搬出ユニットULUはY軸方向が長手になっており、複数の搬出用カセットC2をY軸方向に沿って配置可能になっている。
基板搬出ユニットULUは、カセット出入口60及びカセット移動機構(第2移動機構)61を備えている。カセット出入口60は、基板搬出ユニットULUを覆うカバー部材の−Y側に設けられた開口部である。カセット出入口60は、空の搬出用カセットC2の入口(供給口)であり、処理後の基板Sを収容した搬出用カセットC2の出口(回収口)である。
カセット移動機構61は、例えばベルトコンベア機構などの駆動機構を有している。本実施形態では、当該駆動機構として搬送ベルトを有している。搬送ベルトは、基板搬出ユニットULUの+Y側端部から−Y側端部にかけてY軸方向に延設されており、X軸方向に2本並ぶように配置されている。
供給用ベルト61aは、2本の搬送ベルトのうち−X側に配置された搬送ベルトである。供給用ベルト61aの+Z側が搬送面となっている。供給用ベルト61aは、当該搬送面が−Y方向に移動するように回転する構成となっている。供給用ベルト61aの搬送面上には、カセット出入口60を介して基板搬出ユニットULU内へ入ってきた搬出用カセットC2が複数載置されるようになっている。当該搬出用カセットC2は、供給用ベルト61aの回転によって搬送ユニットCRU側へ移動するようになっている。
回収用ベルト61bは、2本の搬送ベルトのうち+X側に配置された搬送ベルトである。回収用ベルト61bの+Z側が搬送面となっている。回収用ベルト61bは、搬送面が−Y方向に移動するように回転する構成となっている。回収用ベルト61bの搬送面上には、処理後の基板Sを収容した搬出用カセットC2が複数載置されるようになっている。当該搬出用カセットC2は、回収用ベルト61bの回転によってカセット出入口60側へ移動するようになっている。
本実施形態では、例えば供給用ベルト61a上及び回収用ベルト61b上にそれぞれ5つずつ設けられた待機位置(容器待機部)で搬出用カセットC2が待機可能になっている。基板搬出ユニットULUでは、供給用ベルト61a及び回収用ベルト61bを回転させることによって搬出用カセットC2の待機位置を移動させることができるようになっており、当該待機位置を移動させることによって搬出用カセットC2の搬送時間を短縮させることが可能になっている。
(搬送ユニット)
搬送ユニットCRUは、基板処理システムSYS内の+Y側端辺に沿った領域に配置されており、基板処理ユニットSPU、基板搬入ユニットLDU及び基板搬出ユニットULUのそれぞれに接するように設けられている。搬送ユニットCRUは、基板処理ユニットSPUと基板搬入ユニットLDUとの間で搬入用カセットC1を搬送すると共に、基板処理ユニットSPUと基板搬出ユニットULUの間で搬出用カセットC2を搬送する。搬送ユニットCRUは、レール機構RL及びカセット搬送装置CCを有している。
レール機構RLは、ステージユニットSTU上に固定されており、搬送ユニットCRUの−X側端部から+X側端部までX軸方向に直線状に延設されている。レール機構RLは、カセット搬送装置CCの移動位置を案内する案内機構である。レール機構RLは、Y軸方向に並んで配置される平行な2本のレール部材70を有している。
カセット搬送装置CCは、2本のレール部材70を平面視で跨ぐように当該2本のレール部材70上に設けられている。カセット搬送装置CCは、基板処理ユニットSPUのバッファ機構BF、基板搬入ユニットLDU及び基板搬出ユニットULUのそれぞれにアクセスし、搬入用カセットC1及び搬出用カセットC2を保持して搬送する搬送装置である。カセット搬送装置CCは、可動部材71と、カセット支持板72と、支持板回転機構73と、カセット保持部材74と、保持部材昇降機構75と、保持部材スライド機構76とを有している。
可動部材71は、平面視でH字状に形成されており、2本のレール部材70に嵌合する凹部71aを有している。可動部材71は、不図示の駆動機構(モータ機構など)を例えば内部に有している。可動部材71は、当該駆動機構の駆動力によりレール部材70に沿った直線状の移動区間を移動可能になっている。
カセット支持板72は、可動部材71に固定された平面視矩形の板状部材である。カセット支持板72は、搬入用カセットC1及び搬出用カセットC2の底部の寸法よりも大きい寸法に形成されており、当該搬入用カセットC1及び搬出用カセットC2を載置した状態で安定させることができるようになっている。カセット支持板72は、可動部材71に固定されているため、可動部材71と一体的に移動するようになっている。
支持板回転機構73は、Z軸を回転軸としたXY平面上でカセット支持板72を回転させる回転機構である。支持板回転機構73は、カセット支持板72を回転させることにより、カセット搬送装置CC上に載置される搬入用カセットC1及び搬出用カセットC2の長手方向の向きを変化させることができるようになっている。
カセット保持部材74は、平面視でカセット支持板72の+Y側に配置された平面視U字状の保持部材である。カセット保持部材74は、X軸方向上の位置がカセット支持板72と重なるように設けられている。カセット保持部材74は、不図示の支持部材を介して可動部材71に支持されており、可動部材71と一体的に移動するようになっている。カセット保持部材74のU字の両端部分は、それぞれ搬入用カセットC1及び搬出用カセットC2に設けられた係合部Cxに係合する保持部74aとなっている。保持部74a(U字の両端部分)のX軸方向の間隔は、搬入用カセットC1及び搬出用カセットC2に設けられる係合部Cxの間隔に合わせて調節可能になっている。カセット保持部材74は、保持部74aを係合部Cxに係合させることにより、搬入用カセットC1及び搬出用カセットC2に対してZ軸方向の保持をより確実に行うことができるようになっている。
保持部材昇降機構75は、カセット保持部材74に設けられ、当該カセット保持部材74をZ軸方向に移動させる移動機構である。保持部材昇降機構75としては、例えばエアシリンダなどの駆動機構を用いることができる。保持部材昇降機構75によってカセット保持部材74を+Z方向に移動させることで、カセット保持部材74に保持される搬入用カセットC1及び搬出用カセットC2を持ち上げることができるようになっている。逆に保持部材昇降機構75によってカセット保持部材74を−Z方向に移動させることで、持ち上げたカセットを載置することができるようになっている。
保持部材スライド機構76は、カセット保持部材74に設けられ、当該カセット保持部材74をY軸方向に移動させる移動機構である。保持部材スライド機構76は、Y軸方向に延在するガイドバー76aと、当該ガイドバー76aに沿って移動する可動部材76bとを有している。可動部材76bはカセット保持部材74に固定されている。可動部材76bがガイドバー76aに沿ってY軸方向に移動することにより、カセット保持部材74は可動部材76bと一体的にY軸方向に移動するようになっている。
(制御ユニット)
制御ユニットCNUは、基板処理システムSYSのステージユニットSTU内に設けられている。制御ユニットCNUは、例えば基板処理ユニットSPUでの基板処理動作、基板搬入ユニットLDUや基板搬出ユニットULUでのカセット移動動作、搬送ユニットCRUでの搬送動作など上記各ユニットでの諸動作を制御する制御装置や、上記各ユニットで必要となる材料の供給源などを備えている。材料の供給源としては、例えば液状体の供給源や、洗浄液の供給源などが挙げられる。
制御装置は、例えばカセット搬送装置CCがどの位置にカセットCを搬送したかという情報や、何個のカセットCを搬送したかという情報などを記憶させておくことができるようになっており、当該情報に基づいてカセット搬送装置CCの搬送動作を行わせることができるようになっている。また、制御装置は、基板処理ユニットSPU内の基板Sの処理過程を情報として受信できるようにもなっており、当該情報に基づいてカセット搬送装置CCの搬送動作を行わせることができるようになっている。
次に、上記のように構成された基板処理システムSYSの動作を説明する。基板処理システムSYSの各ユニットで行われる動作は、制御ユニットCNUによって制御される。以下の説明では、動作が行われるユニットを主体として説明するが、実際には制御ユニットCNUの制御に基づいて各動作が行われる。
(カセット供給動作)
まず、処理前の基板Sを収容した搬入用カセットC1を基板搬入ユニットLDUに配置させ、空の搬出用カセットC2を基板搬出ユニットULUに配置させるカセット供給動作を説明する。
例えば不図示の供給装置等により、処理前の基板Sを収容した搬入用カセットC1がカセット出入口10を介して基板搬入ユニットLDU内に供給されてくる。基板搬入ユニットLDUは、搬入用カセットC1が供給用ベルト11aの−Y側端部に載置されたのを確認した後、供給用ベルト11aを回転させる。搬入用カセットC1は、供給用ベルト11aの回転により+Y方向に移動する。基板搬入ユニットLDUは、供給用ベルト11aが当該搬入用カセットC1のスペース分だけ移動したところで一旦ベルトの回転を停止させ、次の搬入用カセットC1が供給されてくるまで待機させる。次の搬入用カセットC1が供給されてきた場合、上記同様、搬入用カセットC1のスペース分だけ移動したところで一旦ベルトの回転を停止させ、再び待機状態にさせる。供給用ベルト11aを回転させながら搬入用カセットC1を順次供給させることにより、基板搬入ユニットLDU内には処理前の基板Sを収容した搬入用カセットC1が複数配列される。
一方、例えば不図示の供給装置等により、空の搬出用カセットC2がカセット出入口60を介して基板搬出ユニットULU内に供給されてくる。基板搬出ユニットULUは、搬出用カセットC2が供給用ベルト61aの−Y側端部に載置されたのを確認した後、供給用ベルト61aを回転させる。搬出用カセットC2は、供給用ベルト61aの回転により+Y方向に移動する。基板搬出ユニットULUは、供給用ベルト61aが当該搬出用カセットC2のスペース分だけ移動したところで一旦ベルトの回転を停止させ、次の搬出用カセットC2が供給されてくるまで待機させる。次の搬出用カセットC2が供給されてきた場合、上記同様、搬出用カセットC2のスペース分だけ移動したところで一旦ベルトの回転を停止させ、再び待機状態にさせる。供給用ベルト61aを回転させながら搬出用カセットC2を順次供給させることにより、基板搬出ユニットULU内には空の搬出用カセットC2が複数配列される。
(カセット搬送動作)
次に、基板搬入ユニットLDUに供給された搬入用カセットC1及び基板搬出ユニットULUに供給された搬出用カセットC2を、それぞれ基板処理ユニットSPUへ搬送するカセット搬送動作を説明する。カセット搬送動作は、搬送ユニットCRUに設けられたカセット搬送装置CCを用いて行う。
搬入用カセットC1の搬送動作を説明する。搬送ユニットCRUは、基板搬入ユニットLDUに面する位置までカセット搬送装置CCをX軸方向に移動させ、搬入用カセットC1との間でX軸方向上の位置が重なるように位置合わせを行わせる。搬送ユニットCRUは、位置合わせの後、カセット保持部材74を−Y方向にスライドさせ、基板搬入ユニットLDU内の最も+Y側の位置で待機している搬入用カセットC1の係合部Cxの−Z側に保持部74aを配置させる。搬送ユニットCRUは、スライド時に保持部74aが係合部Cxの−Z側にスムーズに配置されるように、予め保持部74aのX軸方向の間隔及びZ軸方向の位置を調整しておく。
保持部74aを係合部Cxに係合させた後、搬送ユニットCRUは、カセット保持部材74を+Z方向に移動させ、搬入用カセットC1を持ち上げさせる。搬送ユニットCRUは、搬入用カセットC1を持ち上げた状態のカセット保持部材74を+Y方向にスライドさせ、カセット支持板72に平面視で重なる位置に搬入用カセットC1を移動させる。搬送ユニットCRUは、当該位置においてカセット保持部材74を−Z方向に移動させ、搬入用カセットC1をカセット支持板72上に載置させる。搬送ユニットCRUは、搬入用カセットC1を載置したときに搬入用カセットC1の長手方向とカセット支持板72の長手方向とが一致するように、カセット支持板72の向きを予め調節しておく。これらの動作により、基板搬入ユニットLDU内の最も+Y側の搬入用カセットC1がカセット搬送装置CCに取り込まれる。取り込みが行われた後、基板搬入ユニットLDUは、基板搬入ユニットLDU内の残りの搬入用カセットC1のうち最も+Y側に配置される搬入用カセットC1が基板搬入ユニットLDUの+Y側端部に配置されるように供給用ベルト11aを移動させる。この動作により、当該残りの搬入用カセットC1が全体的に+Y方向に移動し、供給用ベルト11a上の−Y側端部のスペースが空くため、不図示の供給機構により新たな搬入用カセットC1を当該空いたスペースに供給させておく。
搬入用カセットC1を取り込んだ後、搬送ユニットCRUは、カセット搬送装置CCを+X方向に移動させ、カセット支持板72の長手方向がY軸方向に一致するように当該カセット支持板72を回転させる。搬送ユニットCRUは、カセット支持板72を回転させた後、基板処理ユニットSPUの搬入側バッファ機構BF1に設定される待機位置P1のX軸方向上の位置と搬入用カセットC1のX軸方向上の位置とが重なるようにカセット搬送装置CCの位置を合わせる。カセット支持板72の回転動作と、カセット搬送装置CCの位置合わせ動作とは、どちらを先に行っても構わない。
位置合わせ動作(若しくは回転動作)の後、搬送ユニットCRUは、カセット支持板72上に載置された搬入用カセットC1をカセット保持部材74によって持ち上げさせ、この状態でカセット保持部材74を−Y方向にスライドさせる。搬送ユニットCRUは、搬入用カセットC1が平面視で待機位置P1に重なる位置に配置されたら、カセット保持部材74を−Z方向に移動させて搬入用カセットC1を待機位置P1に載置させる。
搬入用カセットC1を載置させた後、搬送ユニットCRUは、搬入用カセットC1に対する保持力を解除させてカセット保持部材74を+Y側へ退避させる。これらの動作により、カセット搬送装置CCに取り込まれた搬入用カセットC1が基板処理ユニットSPU内に搬送された状態になる。
搬出用カセットC2の搬送動作を説明する。この搬送動作は、上記の搬入用カセットC1の搬送動作で用いたカセット搬送装置CCを用いて行う。搬送ユニットCRUは、基板搬出ユニットULUに面する位置までカセット搬送装置CCをX軸方向に移動させ、搬出用カセットC2との間でX軸方向上の位置が重なるように位置合わせを行わせて、基板搬出ユニットULU内の最も+Y側の搬出用カセットC2の取り込みを行わせる。この取り込み動作は、搬入用カセットC1の取り込み動作と同一である。取り込みが行われた後、供給用ベルト61aを移動させ、残りの搬出用カセットC2を全体的に+Y方向に移動させておく。搬出用カセットC2の移動により供給用ベルト61a上の−Y側端部のスペースが空くので、不図示の供給機構により新たな搬出用カセットC2を当該空いたスペースに供給させておく。
搬出用カセットC2の取り込み後、搬送ユニットCRUは、カセット搬送装置CCを搬出側バッファ機構BF2へ向けて+X方向に移動させ、カセット支持板72の長手方向がY軸方向に一致するように当該カセット支持板72を回転させる。搬送ユニットCRUは、カセット支持板72を回転させた後、基板処理ユニットSPUの搬出側バッファ機構BF2に設定される待機位置P5のX軸方向上の位置と搬出用カセットC2のX軸方向上の位置とが重なるようにカセット搬送装置CCの位置を合わせる。
位置合わせの後、搬送ユニットCRUは、カセット支持板72上に載置された搬出用カセットC2を待機位置P5に載置させ、保持力を解除させてカセット保持部材74を+Y側へ退避させる。この載置動作及び退避動作は、搬入用カセットC1について記載した載置動作及び退避動作と同一である。これらの動作により、カセット搬送装置CCに取り込まれた搬出用カセットC2が基板処理ユニットSPU内に搬送された状態になる。
(基板処理動作)
次に、基板処理ユニットSPUにおける処理動作を説明する。
基板処理ユニットSPUでは、処理前の基板Sを収容した搬入用カセットC1と空の搬出用カセットC2とを移動させる移動動作、搬入用カセットC1に収容された基板Sのローディング動作、基板Sに液状体を塗布する塗布動作、基板Sに形成された薄膜の周辺部を除去する周縁部除去動作、処理後の基板Sのアンローディング動作及び空になった搬入用カセットC1と処理後の基板Sを収容した搬出用カセットC2とを移動させる移動動作がそれぞれ行われる。上記各動作に加え、ローディング動作と塗布動作との間、塗布動作と周縁部除去動作との間及び整形動作とアンローディング動作との間には、基板Sの搬送動作が行われる。
これらの動作のうち、まず搬入用カセットC1及び搬出用カセットC2の移動動作を説明する。基板処理ユニットSPUは、搬入側バッファ機構BF1の待機位置P1に搬送された搬入用カセットC1を搬送ベルト20aによって待機位置P2へ移動させ、当該待機位置P2へ移動させた搬入用カセットC1を搬送ベルト20bによって更に待機位置P4へと移動させる。同様に、基板処理ユニットSPUは、搬出側バッファ機構BF2の待機位置P5に搬送された搬出用カセットC2を搬送ベルト22aによって待機位置P6へ移動させ、当該待機位置P6へ移動させた搬出用カセットC2を搬送ベルト22bによって更に待機位置P8へと移動させる。これらの動作により、基板処理ユニットSPU内に搬送されてきた搬入用カセットC1及び搬出用カセットC2が処理開始時の位置に配置されることとなる。
次に、基板Sのローディング動作を説明する。基板処理ユニットSPUは、搬入用カセットC1が待機位置P4に配置されていることを確認した後、基板上部保持機構23をクランプ位置に配置させると共に、基板下部保持機構24の昇降部材24aを+Z方向へ移動させる。この移動により、昇降部材24aの+Z側端部に取り付けられたクランプ部材24bが搬入用カセットC1内に収容された基板Sのうち最も−Y側に配置された1枚の−Z側に当接し、当該クランプ部材24bによって基板Sの−Z側が保持される。
基板Sの−Z側を保持した後、基板処理ユニットSPUは、保持状態を維持したまま昇降部材24aを+Z方向に更に移動させる。この移動により、基板下部保持機構24によって基板Sが+Z側に持ち上げられ、基板Sの+Z側が基板上部保持機構23のクランプ部材23bに当接し、当該クランプ部材23bによって基板Sの+Z側が保持される。基板Sは、基板上部保持機構23のクランプ部材23b及び基板下部保持機構24のクランプ部材24bの両方によって保持された状態となる。
基板処理ユニットSPUは、クランプ部材23b及びクランプ部材24bによって基板Sを保持したまま、昇降部材23a及び昇降部材24aを同時に+Z方向へ移動させる。基板処理ユニットSPUは、昇降部材23a及び昇降部材24aの移動が等速となるように昇降機構23c及び昇降機構24cを連動させる。基板Sは、クランプ部材23b及びクランプ部材24bによって保持された状態で+Z方向へ移動する。基板処理ユニットSPUは、基板SがローディングポジションLPに配置されたら、昇降部材23a及び昇降部材24aの移動を停止させる。このようにして、基板Sのローディング動作を行う。
ローディング動作の後、基板処理ユニットSPUは、搬入側搬送装置SC1の保持部32をローディングポジションLPへアクセスさせ、当該ローディングポジションLPに配置された基板Sを保持部32に保持させる。基板処理ユニットSPUは、保持部32によって基板Sを保持させた後、クランプ部材23b及びクランプ部材24bによる保持力を解除し、基板Sが保持部32のみに保持された状態とする。この状態から、基板処理ユニットSPUは、保持力を解除させたクランプ部材23b及びクランプ部材24bを−Z方向へ退避させるとともに、搬入側搬送装置SC1の回転台30bを回転させ、基板Sを塗布装置CT内の塗布位置に配置させる。
次に、基板Sに液状体を塗布する塗布動作を説明する。この塗布動作には、塗布装置CTが用いられる。基板処理ユニットSPUは、処理位置に配置された基板Sを高速で回転させると共に、塗布装置CTに設けられた不図示のノズルを基板Sの塗布領域にアクセスさせて当該ノズルから基板Sへ液状体を吐出させる。基板S上に吐出された液状体は、回転の遠心力によって基板Sの外周まで行き渡り、基板Sの全面に薄膜が形成される。
塗布動作の後、基板処理ユニットSPUは、塗布装置CT内の基板Sに対して、+X側から搬出側搬送装置SC2の保持部42をアクセスさせ、当該保持部42によって基板Sを保持させる。基板処理ユニットSPUは、保持部42によって基板Sを保持させた後、回転台40bを回転させると共にアーム部41を適宜伸縮させて、保持部42を周縁部除去装置EBRにアクセスさせる。この動作により、基板Sが周縁部除去装置EBR内に配置される。
次に、基板Sの周囲に形成された薄膜を除去する周縁部除去動作を説明する。この周縁部除去動作には、周縁部除去装置EBRが用いられる。基板処理ユニットSPUは、周縁部除去装置EBR内に配置された基板Sの周縁部をディップ部内の溶解液に浸し、この状態で基板Sを回転させると、溶解液に浸された周縁部の薄膜が溶解して除去される。
周縁部除去動作の後、基板処理ユニットSPUは、基板上部保持機構25のクランプ部材25bがアンローディングポジションUPの+Z側に位置するように昇降部材25aを移動させる。昇降部材25aの移動後、基板処理ユニットSPUは、搬出側搬送装置SC2の保持部42によって基板Sを保持させた状態で回転台40bを回転させると共にアーム部41を適宜伸縮させて、保持部42をアンローディングポジションUPにアクセスさせる。この動作により、基板SがアンローディングポジションUPに配置される。
次に、基板Sのアンローディング動作を説明する。基板処理ユニットSPUは、基板SがアンローディングポジションUPに配置されていることを確認した後、基板上部保持機構25の昇降部材25aを−Z方向へ移動させると共に、基板下部保持機構26の昇降部材26aを+Z方向へ移動させる。この移動により、昇降部材25aの−Z側に取り付けられたクランプ部材25bが基板Sの+Z側に当接すると共に、昇降部材26aの+Z側端部に取り付けられたクランプ部材26bが基板Sの−Z側に当接し、当該クランプ部材25b及びクランプ部材26bによって基板Sの+Z側及び−Z側がそれぞれ保持される。
基板処理ユニットSPUは、保持状態を維持したまま昇降部材25a及び昇降部材26aを−Z方向に同時に移動させる。基板処理ユニットSPUは、昇降部材25a及び昇降部材26aの移動が等速となるように昇降機構25c及び昇降機構26cを連動させる。基板Sは、クランプ部材25b及びクランプ部材26bによって保持された状態で−Z方向へ移動する。
昇降部材25aの突出部分が搬出用カセットC2に近づいたら、基板処理ユニットSPUは、クランプ部材25bによる保持力を解除させると共に昇降部材25aの移動を停止させ、昇降部材26aのみを−Z方向へ移動させる。基板Sは、クランプ部材26bの保持力によってのみ保持された状態で−Z方向に移動する。
基板処理ユニットSPUは、基板Sが搬出用カセットC2内の収容位置に到達するまでクランプ部材26bによる保持を継続させる。当該収容位置に到達後、基板処理ユニットSPUは、クランプ部材26bによる保持を解除させ、昇降部材26aを−Z方向へ移動させる。この動作により、基板Sが搬出用カセットC2内に収容される。
上記各動作の説明では、搬入用カセットC1の最も−Y側に収容された1枚の基板Sについて順を追って動作を行っていく様子を説明したが、実際には、複数の基板Sについて連続して動作が行われる。この場合、基板処理ユニットSPUは、搬送ベルト20bを回転させ、搬入用カセットC1に収容される残りの基板Sのうち最も−Y側の基板SがローディングポジションLPに平面視で重なる位置に配置されるように当該搬入用カセットC1を−Y方向に移動させる。
同様に、基板処理ユニットSPUは、搬送ベルト22bを回転させ、搬出用カセットC2内の収容位置のうち最も−Y側の収容位置がアンローディングポジションUPに平面視で重なる位置に配置されるように当該搬出用カセットC2を−Y方向に移動させる。基板処理ユニットSPUは、搬入用カセットC1及び搬出用カセットC2について当該移動を行わせながら、上記の各処理を繰り返し行わせる。
複数の基板Sについて処理を行わせる場合、基板処理ユニットSPUは、当該複数の基板Sについて並行して処理動作を行わせる。具体的には、ある基板Sについて塗布動作を行わせている間、他の基板Sについては周縁部除去動作を行わせ、更にこれらとは異なる基板Sについてはローディング動作やアンローディング動作を行わせる、というように複数の基板Sについて並行して処理動作を行わせる。このように並行処理を行わせることで、基板Sの待機時間を極力短縮させるようにし、基板Sの処理タクトの短縮を図っている。
搬入用カセットC1内に収容されていた全ての基板Sの処理が完了した場合、当該搬入用カセットC1は空の状態になり、待機位置P8に待機する搬出用カセットC2の全ての収容位置が処理後の基板Sで満たされた状態になる。基板処理ユニットSPUは、この状態を確認した後、搬送ベルト20bを上記とは逆向きに回転させて搬入用カセットC1を待機位置P4から待機位置P2へと移動させ、更には搬送ベルト20aを回転させて搬入用カセットC1を待機位置P3へと移動させる。同様に、基板処理ユニットSPUは、搬送ベルト22bを上記とは逆向きに回転させて搬出用カセットC2を待機位置P8から待機位置P6へ移動させ、更には搬送ベルト22aを回転させて搬出用カセットC2を待機位置P7へと移動させる。
(カセット搬送動作)
次に、空になった搬入用カセットC1を基板搬入ユニットLDUへ搬送すると共に処理後の基板Sが収容された搬出用カセットC2を基板搬出ユニットULUへ搬送するカセット搬送動作を説明する。
搬入用カセットC1の搬送動作を説明する。この搬送動作は、上記の搬送動作で用いたカセット搬送装置CCを用いて行う。搬送ユニットCRUは、カセット搬送装置CCを基板処理ユニットSPUの搬入側バッファ機構BF1まで移動させる。搬入側バッファ機構BF1内の待機位置P3には、空になった搬入用カセットC1が待機している。搬送ユニットCRUは、カセット搬送装置CCのカセット支持板72の長手方向が搬入用カセットC1の長手方向に一致するようにカセット支持板72を回転させる。
カセット支持板72を回転させた後、搬送ユニットCRUは、カセット搬送装置CCと搬入用カセットC1との間でのX軸方向上の位置合わせを行わせる。位置合わせの後、搬送ユニットCRUは、待機位置P3で待機している空の搬入用カセットC1の取り込み動作をカセット搬送装置CCに行わせる。この取り込み動作は、上述した取り込み動作と同一である。
搬入用カセットC1の取り込み後、搬送ユニットCRUは、カセット搬送装置CCを基板搬入ユニットLDUへ向けて−X方向に移動させ、カセット支持板72の長手方向がX軸方向に一致するように当該カセット支持板72を回転させる。搬送ユニットCRUは、カセット支持板72を回転させた後、カセット搬送装置CCと基板搬入ユニットLDUに設けられる回収用ベルト11bとの間でX軸方向上の位置合わせを行わせる。
位置合わせの後、搬送ユニットCRUは、カセット支持板72上に載置された空の搬入用カセットC1を回収用ベルト11bの+Y側端部上に載置させ、カセット保持部材74を+Y側へ退避させる。この載置動作及び退避動作は、上述した載置動作及び退避動作と同一である。これらの動作により、カセット搬送装置CCに取り込まれた搬入用カセットC1が基板搬入ユニットLDU内に搬送される。
搬出用カセットC2の搬送動作を説明する。この搬送動作は、上記搬入用カセットC1の搬送動作と同様、カセット搬送装置CCを用いて行う。搬送ユニットCRUは、基板処理ユニットSPUの搬出側バッファ機構BF2までカセット搬送装置CCをX軸方向に移動させる。搬出側バッファ機構BF2内の待機位置P7には、処理後の基板Sを収容した搬出用カセットC2が待機している。搬送ユニットCRUは、カセット搬送装置CCのカセット支持板72の長手方向が搬出用カセットC2の長手方向に一致するようにカセット支持板72を回転させる。
カセット支持板72を回転させた後、搬送ユニットCRUは、カセット搬送装置CCのX軸方向上の位置が当該搬出用カセットC2のX軸方向上の位置と一致するように当該カセット搬送装置CCの位置合わせを行う。位置合わせの後、搬送ユニットCRUは、待機位置P7で待機している搬出用カセットC2の取り込みをカセット搬送装置CCに行わせる。この取り込み動作は、上述した取り込み動作と同一である。
取り込み動作の後、搬送ユニットCRUは、カセット搬送装置CCを基板搬出ユニットULUへ向けて−X方向に移動させ、カセット支持板72の長手方向がX軸方向に一致するように当該カセット支持板72を回転させる。搬送ユニットCRUは、カセット支持板72を回転させた後、カセット搬送装置CCと基板搬出ユニットULUに設けられる回収用ベルト61bとの間でX軸方向上の位置合わせを行わせる。
位置合わせの後、搬送ユニットCRUは、カセット支持板72上に載置された搬出用カセットC2を回収用ベルト61bの+Y側端部上に載置させ、カセット保持部材74を+Y側へ退避させる。この載置動作及び退避動作は、上述した載置動作及び退避動作と同一である。これらの動作により、カセット搬送装置CCに取り込まれた搬出用カセットC2が基板搬出ユニットULU内に搬送される。
(カセット回収動作)
次に、空になった搬入用カセットC1及び処理後の基板Sを収容した搬出用カセットC2を回収するカセット回収動作を説明する。
基板搬入ユニットLDUは、空になった搬入用カセットC1が搬送されてきたことを確認した後、回収用ベルト11bを回転させて当該搬入用カセットC1を−Y方向へ移動させる。当該−Y方向への移動に際しては、例えば搬入用カセットC1をカセット出入口10へ直行させるようにしても良いし、回収用ベルト11bの+Y側端部を空ける程度に搬入用カセットC1を少しずつ移動させていくようにしても良い。
搬入用カセットC1をカセット出入口10へ直行させた場合、搬入用カセットC1は、カセット出入口10を介して基板搬入ユニットLDUの外部へ搬送される。基板搬入ユニットLDUの外部へ搬送された搬入用カセットC1は、不図示の回収機構によって回収される。搬入用カセットC1が基板搬入ユニットLDUに搬送されてくる度に、この動作を繰り返すことになる。
搬入用カセットC1を少しずつ移動させる場合、例えば搬入用カセットC1が基板搬入ユニットLDUに搬送される毎に、1個分の搬入用カセットC1のスペースずつ−Y方向へずれるように移動させることができる。この動作を複数回繰り返し、最も−Y側の搬入用カセットC1がカセット出入口10に到達した場合には、不図示の回収機構による回収動作を行わせるようにする。
一方、基板搬出ユニットULUは、処理後の基板Sを収容した搬出用カセットC2が搬送されてきたことを確認した後、回収用ベルト61bを回転させて当該搬出用カセットC2を−Y方向へ移動させる。当該移動に際しては、基板搬入ユニットLDUの場合と同様、搬出用カセットC2をカセット出入口60へ直行させても良いし、少しずつ−Y方向へずらすように移動させても良い。当該移動により、最終的に搬出用カセットC2は、カセット出入口60を介して基板搬出ユニットULUの外部へ搬送される。基板搬出ユニットULUの外部へ搬出された搬出用カセットC2は、不図示の回収機構によって回収される。
(カセット補充動作)
上記の説明では、基板処理ユニットSPUでの処理が行われている間、搬入用カセットC1は搬入側バッファ機構BF1の待機位置P4に配置され、搬出用カセットC2は搬出側バッファ機構BF2の待機位置P8に配置されている。このとき、搬入側バッファ機構BF1の待機位置P1及び搬出側バッファ機構BF2の待機位置P5が空いた状態(カセットが待機していない状態)となる。
搬送ユニットCRUは、待機位置P1及び待機位置P5が空いた状態になっていることを確認した後、カセット搬送装置CCによって当該待機位置P1及び待機位置P5に次の搬入用カセットC1及び搬出用カセットC2を搬送させる。搬送ユニットCRUは、まずカセット搬送装置CCを基板搬入ユニットLDUまで移動させて次の搬入用カセットC1を取り込ませる。
取り込み動作の後、搬送ユニットCRUは、カセット搬送装置CCを搬入側バッファ機構BF1まで移動させ、取り込んだ搬入用カセットC1を待機位置P1に載置させる。同様に、搬送ユニットCRUは、カセット搬送装置CCを基板搬出ユニットULUに移動させて次の搬出用カセットC2を取り込ませ、その後カセット搬送装置CCを搬出側バッファ機構BF2に移動させて搬出用カセットC2を待機位置P5に載置させる。
搬入用カセットC1及び搬出用カセットC2の載置動作の後、基板処理ユニットSPUは、待機位置P4の搬入用カセットC1に収容されていた基板Sの処理が一通り終了するまで搬送ベルト20a及び搬送ベルト20bの動作を待機させる。当該処理が終了したら、基板処理ユニットSPUは、搬送ベルト20bを回転させて搬入用カセットC1を待機位置P4から待機位置P2へ移動させる。
この動作により、待機位置P1には処理前の基板Sを収容した搬入用カセットC1が待機し、待機位置P2には空の搬入用カセットC1が待機した状態となる。この状態で基板処理ユニットSPUが搬送ベルト20aを回転させると、待機位置P2の搬入用カセットC1は待機位置P3へ移動し、待機位置P1の搬入用カセットC1は待機位置P2へ移動する。このように、移動動作が効率的に行われる。したがって、実際には、基板処理ユニットSPUで塗布動作等を行う場合、待機位置P1及び待機位置P2に搬入用カセットC1を待機させた状態にしておくことが好ましい。
同様に、搬出用カセットC2が待機位置P8から待機位置P6へ移動した状態になったときに搬送ベルト22aを回転させると、待機位置P6の搬出用カセットC2は待機位置P7へ移動し、待機位置P5の搬出用カセットC2は待機位置P6へ移動する。このように、搬出側バッファ機構BF2においても移動動作が効率的に行われる。したがって、実際には、基板処理ユニットSPUで塗布動作等を行う場合、待機位置P5及び待機位置P6に搬出用カセットC2を待機させた状態にしておくことが好ましい。
搬入用カセットC1が待機位置P1から待機位置P2へ移動し、搬出用カセットC2が待機位置P5から待機位置P6へ移動すると、待機位置P1及び待機位置P5が再び空いた状態になる。この空いた状態の待機位置P1及び待機位置P5には、更に次の搬入用カセットC1及び搬出用カセットC2を搬送しそれぞれ待機させることができる。このように、搬入側バッファ機構BF1及び搬出側バッファ機構BF2の待機位置P1及び待機位置P5が空いた状態になる毎に、搬送ユニットCRUは、基板搬入ユニットLDUから搬入用カセットC1を搬送させ、基板搬出ユニットULUから搬出用カセットC2を搬送させる。
以上のように、本実施形態によれば、搬送ユニットCRUに設けられるカセット搬送装置CCが、ローディングポジションLPと基板搬入ユニットLDUとの間で搬入用カセットC1を搬送すると共にアンローディングポジションUPと基板搬出ユニットULUとの間で搬出用カセットC2を搬送することとしたので、異なる搬送区間の搬送動作を1つのカセット搬送装置CCに行わせることができる。このため、カセット搬送装置CCによる搬送処理を一元化することができ、基板処理システムSYSの構成を簡略化することができ、処理タクトを短縮化させることができる。また、本実施形態によれば、搬入用カセットC1と搬出用カセットC2とを使い分けることとしたので、基板Sの汚染を防ぐことができるという利点もある。
また、本実施形態によれば、基板処理ユニットSPU、基板搬入ユニットLDU及び基板搬出ユニットULUが直線方向上に配置されているので、各ユニットの間の搬送経路を当該直線方向上に設定することができる。これにより、搬送経路の複雑化を回避することができ、基板処理システムSYSの構成を簡略化することができる。加えて、本実施形態によれば、基板処理ユニットSPUが基板搬入ユニットLDUと基板搬出ユニットULUとの間に配置されていることとしたので、各ユニットが基板の搬送の流れの方向に沿って配置されることになる。これにより、処理の効率を高めることができる。
これらの他、本実施形態では、搬送ユニットCRUがカセット搬送装置CCを直線方向(X軸方向)に移動させることとしたので、カセット搬送装置CCの移動動作を単純化することができる。また、基板搬入ユニットLDU及び基板搬出ユニットULUには、それぞれ複数のカセットを待機させることができるようになっており、これらが複数のカセット待機部となっているため、より多くの基板を迅速に処理することが可能となる。
また、基板搬入ユニットLDU及び基板搬出ユニットULUは、供給用ベルト11a、61a及び回収用ベルト11b、61bによって、搬入用カセットC1については搬送ユニットCRU側へ、搬出用カセットC2についてはカセット出入口10、60側へ、それぞれカセット待機部を移動可能となっているので、搬入用カセットC1及び搬出用カセットC2の供給動作及び回収動作を効率的に行うことができる。
また、基板処理ユニットSPUには、ローディングポジションLP及びアンローディングポジションUPに対応する搬入側バッファ機構BF1及び搬出側バッファ機構BF2が設けられており、各バッファ機構において複数のカセットCを待機させることができるようになっているので、基板処理ユニットSPUにおける基板Sのローディング動作及びアンローディング動作を迅速に行うことができ、処理の効率化を図ることができる。また、このバッファ機構BFは、カセットCの待機位置を移動させる搬送ベルト20、22を有しており、カセットC内の基板Sの残量に応じてカセットCの待機位置を移動可能となっているため、処理の効率化を図ることができる。これらの待機位置は、カセット搬送装置CCによる搬送方向(X軸方向)に沿って設けられているので、カセット搬送装置CCと各待機位置との距離がそれぞれ一定となる。当該距離が一定に保持されることにより、カセット搬送装置CCが各待機位置にアクセスしやすくなる。
また、基板処理ユニットSPUが搬入用カセットC1から基板Sを持ち上げてローディングポジションLPに配置する基板ローディング機構21を有することとしたので、基板のローディング動作を迅速に行うことができる。同様に、基板処理ユニットSPUが基板アンローディング機構27を有することとしたので、基板Sのアンローディング動作についても迅速に行うことができる。
また、カセット搬送装置CCがカセット支持板72の向きを回転させる回転機構を有することとしたので、搬送方向とカセットの向きとが異なる場合であっても、搬送動作及び受け渡し動作をスムーズに行うことができる。また、搬入用カセットC1及び搬出用カセットC2には係合部Cxが形成されており、搬送装置が当該係合部Cxに係合させて搬入用カセットC1及び搬出用カセットC2を保持するカセット保持部材74を有することとしたので、搬入用カセットC1及び搬出用カセットC2を確実に保持することができる。
また、制御ユニットCNUが基板処理ユニットSPUにおける基板Sの処理状況に応じて、搬入用カセットC1及び搬出用カセットC2の搬送位置を制御することとしたので、搬送動作をより効率的に行うことができる。
本発明の技術範囲は上記実施形態に限定されるものではなく、本発明の趣旨を逸脱しない範囲で適宜変更を加えることができる。
上記実施形態においては、制御ユニットCNUが基板処理ユニットSPUにおける基板Sの処理状況に応じて搬入用カセットC1及び搬出用カセットC2の搬送位置を制御する構成としたが、これに限られることは無く、例えば、基板処理システムSYSの全体の動作の中に搬入用カセットC1及び搬出用カセットC2の搬送の位置及びタイミングが予め決定された状態で制御する構成であっても構わない。
また、上記実施形態においては、搬入用カセットC1及び搬出用カセットC2には係合部Cxが形成されており、カセット搬送装置CCがカセット保持部材74の保持部74aを当該係合部Cxに係合させて搬入用カセットC1及び搬出用カセットC2を保持する構成としたが、これに限られることは無く、例えばカセット保持部材74が搬入用カセットC1及び搬出用カセットC2の底部など、他の部分を保持する構成になっていても構わない。
また、上記実施形態においては、カセット搬送装置CCがカセット支持板72の向きを回転させる回転機構を有する構成としたが、これに限られることは無く、例えばカセット支持板72の向きが固定されている構成としても構わない。この場合、基板処理システムSYS内においては、カセットCの長手方向がカセット支持板72の長手方向と常に一致させた状態になるように供給させ、回収させ、移動させるようにする。これにより、カセット搬送装置CCの動作をより単純化することができる。
また、上記実施形態においては、基板処理ユニットSPUが搬入用カセットC1から基板Sを持ち上げてローディングポジションLPに配置する基板ローディング機構21を有する構成としたが、これに限られることは無く、基板ローディング機構21の構成を他の構成としても構わない。基板アンローディング機構27の構成についても同様である。
また、上記実施形態においては、バッファ機構BFが、X軸方向にカセットCの待機位置を移動させる構成としたが、これに限られることは無く、カセットCの待機位置を他の方向に移動させるようにしても構わない。また、カセットCの待機位置を移動させずに固定させる構成としても構わない。
また、上記実施形態においては、バッファ機構BFとして搬入側バッファ機構BF1及び搬出側バッファ機構BF2をそれぞれ配置する構成としたが、これに限られることは無く、例えば両者のバッファ機構BFのうちいずれか一方のみを配置させる構成であっても構わない。バッファ機構BFを複数配置する構成に限られず、1箇所にまとめてバッファ機構BFを配置する構成であっても構わない。
また、上記実施形態においては、供給用ベルト11a、61a及び回収用ベルト11b、61bによって、搬入用カセットC1については搬送ユニットCRU側へ、搬出用カセットC2についてはカセット出入口10、60側へ、それぞれカセット待機部を移動させる構成としたが、これに限られることは無く、いずれか一方へカセット待機部を移動させる構成であっても構わない。
また、上記実施形態においては、基板搬入ユニットLDU及び基板搬出ユニットULUにそれぞれ複数のカセットCを待機させる構成としたが、これに限られることは無く、例えば各ユニットに1つのカセットCのみを待機させる構成としても構わない。これにより、基板処理システムSYSが小型の場合であっても本発明を適用させることができる。
また、上記実施形態においては、搬送ユニットCRUがカセット搬送装置CCを直線方向(X軸方向)に移動させる構成としたが、これに限られることは無く、異なる複数の方向に移動可能な構成としても構わないし、曲線方向に移動可能な構成としても構わない。このように搬送経路を直線方向にこだわらず幅広く設定することにより、各ユニットの配置に関する設計の幅を広げることができる。
例えば、上記実施形態のように基板処理ユニットSPUが基板搬入ユニットLDUと基板搬出ユニットULUとの間に配置された構成の他、基板搬入ユニットLDU及び基板搬出ユニットULUと、基板処理ユニットSPUとを異なる位置に配置させる構成とすることもできる。
また、上記実施形態のように基板処理ユニットSPU、基板搬入ユニットLDU及び基板搬出ユニットULUが直線方向上に配置された構成に限られず、例えば正三角形の頂点位置や直角三角形の頂点位置に各ユニットを配置したりするなど、幅広い設計が可能となる。
また、上記実施形態においては、基板処理ユニットSPUにおける処理として、基板Sに薄膜を塗布形成する塗布処理をメインとして行う例を挙げて説明したが、これに限られることは無く、例えば基板処理ユニットとして当該塗布処理の前処理及び後処理をメインとして行う構成であっても構わない。前処理としては、例えば基板Sに紫外線を照射する処理や、基板Sを洗浄する処理などが挙げられる。後処理としては、基板Sの周囲を減圧させる処理や、基板Sを加熱する処理などが挙げられる。
また、上記実施形態においては、ローディングポジションLP及びアンローディングポジションUPを先に設定し、当該ローディングポジションLP及びアンローディングポジションUPに合わせて基板ローディング機構21及び基板アンローディング機構25を配置する構成になっているものとして説明したが、これとは逆に、先に基板ローディング機構21及び基板アンローディング機構25の位置を設定し、基板下部支持機構24及び26の位置の+Z方向上にローディングポジションLP及びアンローディングポジションUPを設定する構成になっているものとしても構わない。
また、上記実施形態においては、塗布装置CTとして、基板Sを回転させながら当該基板S上に液状体を吐出させる構成としたが、これに限られることは無く、他のタイプの塗布装置、例えばディップ式の塗布装置やスリットノズル式の塗布装置などを用いた場合であっても本発明の適用は可能である。また、塗布装置CTとして、基板Sの片面側に薄膜を形成するタイプの装置に限られず、基板Sの両面に薄膜を形成可能なタイプの装置であっても構わない。
また、上記実施形態においては、また、上記実施形態において、基板搬入ユニットLDUはカセット移動機構11としてベルトコンベア機構を有している構成を例に挙げて説明したが、これに限られることは無く、これに限られることは無く、ベルトコンベア機構以外にも例えば搬入用カセットC1の係合部Cxを保持するホーク部材を有する構成であっても構わない。このホーク部材としては、例えばカセット搬送装置CCのカセット保持部材74と同様の構成とすることができる。ホーク部材によって搬入用カセットC1の係合部Cxを保持して基板搬入ユニットLDU内を移動させる構成とすることができる。当該ホーク部材は、基板搬出ユニットULUのカセット移動機構61として用いることも可能である。ホーク部材の他、例えばレール機構やリニアモータ、エアシリンダなど、他の搬送機構を用いる構成であっても勿論構わない。
また、上記実施形態においては、搬入側バッファ機構BF1及び搬出側バッファ機構BF2において、搬入用カセットC1及び搬出用カセットC2の待機位置を移動する機構として搬送ベルト20a、20b、22a及び22bを例に挙げて説明したが、これに限られることは無く、例えば搬入側バッファ機構BF1において、搬入用カセットC1を待機位置P1、待機位置P2、待機位置P4、待機位置P2、待機位置P3と順に移動させる移動機構を設ける構成であっても構わない。バッファ機構BF2においても同様に、搬出用カセットC2を待機位置P5、待機位置P6、待機位置P8、待機位置P6、待機位置7と順に移動させる移動機構を設ける構成であっても構わない。このような移動機構としては、例えば搬入用カセットC1、搬出用カセットC2の係合部Cxを保持するホーク部材を有する構成などが挙げられる。このホーク部材としては、例えばカセット搬送装置CCのカセット保持部材74と同様の構成とすることができる。
また、上記実施形態においては、基板搬送装置SCが基板処理ユニットSPU内の2箇所に配置された構成としたが、これに限られることは無く、例えば基板搬送装置SCが1箇所に配置された構成であっても構わないし、3箇所以上に配置された構成であっても構わない。
また、上記実施形態においては、カセットCが基板SをZ軸方向に立てた状態で収容可能であり、基板Sを立てた状態のまま搬送する構成としたが、これに限られることは無く、カセットCが基板Sの基板面をXY平面に平行な状態で収容可能であり、この状態のまま搬送する構成であっても構わない。
また、上記実施形態においては、周縁部除去装置EBRを搬出側搬送装置SC2側にのみ配置する構成としたが、これに限られることは無く、例えば搬入側搬送装置SC1側にも配置する構成としても構わない。このように構成することにより、例えば搬入側搬送装置SC1及び搬出側搬送装置SC2の両方について搬送動作を同時に行わせることができる。
また、基板処理システムSYSが、上記実施形態の構成に加えて、例えば塗布処理後の基板S上における異物の有無を検知する異物検知ユニットを更に備えている構成としても構わない。塗布処理後の基板Sに異物が付着していると、その後の処理、例えばインプリント処理を行う際に当該異物の付着位置において基板Sが破損する可能性がある。これに対して、塗布処理後の基板S上における異物の有無を検知する異物検知ユニットを更に備える構成とすることで、このような異物の付着した基板Sを検出することができ、その後のインプリント処理に用いられるのを防ぐことができるため、基板Sの破損を回避することができる。
また、基板処理システムSYSに異物検知ユニットを備えることとした場合、当該異物検知ユニットを上記ステージユニットSTU、基板処理ユニットSPU、基板搬入ユニットLDU、基板搬出ユニットULU、搬送ユニットCRUに対して独立したユニットとして配置する構成にしても構わないし、例えば基板処理ユニットSPUの内部に配置する構成にしても構わない。塗布処理後の基板Sが搬出用カセットC2に収容される前に異物検知を行うことができるような構成が好ましいが、当該搬出用カセットC2に収容された状態で異物検知ができる構成であっても勿論構わない。基板Sが搬出用カセットC2に収容される前に異物検知を行う構成とする場合、例えば異物が検知された基板Sを搬出用カセットC2に収容させずに別途回収させる回収機構を備える構成であっても構わない。
本発明の実施の形態に係る基板処理システムの構成を示す平面図。 本実施形態に係る基板処理システムの構成を示す正面図。 本実施形態に係る基板処理システムの構成を示す側面図。 基板ローディング機構及び基板アンローディング機構の構成を示す図。 基板ローディング機構及び基板アンローディング機構の構成を示す図。 基板ローディング機構及び基板アンローディング機構の構成を示す図。
符号の説明
SYS…基板処理システム S…基板 STU…ステージユニット SPU…基板処理ユニット LDU…基板搬入ユニット ULU…基板搬出ユニット CRU…搬送ユニット CNU…制御ユニット SUT…ステージユニット C1…搬入用カセット C2…搬出用カセット CT…塗布装置 EBR…周縁部除去装置 BF…バッファ機構 SC…基板搬送装置 P1〜P8…待機位置 LP…ローディングポジション UP…アンローディングポジション RL…レール機構 CC…カセット搬送装置 Cx…係合部 20、22…カセット移動機構 21…基板ローディング機構 27…基板アンローディング機構 11、61…カセット移動機構 11a、61a…供給用ベルト 11b、61b…回収用ベルト 71…可動部材 71a…凹部 72…カセット支持板 73…支持板回転機構 74…カセット保持部材 74a…保持部 75…保持部材昇降機構 76…保持部材スライド機構 76a…ガイドバー 76b…可動部材

Claims (18)

  1. 基板に所定処理を行う処理ユニットと、
    前記所定処理前の前記基板を収容した搬入用容器が供給されると共に、空の前記搬入用容器が回収される基板搬入ユニットと、
    前記所定処理後の前記基板を収容した搬出用容器が回収されると共に、空の前記搬出用容器が供給される基板搬出ユニットと、
    前記処理ユニット内のローディングポジションと前記基板搬入ユニットとの間で前記搬入用容器を搬送すると共に前記処理ユニット内のアンローディングポジションと前記基板搬出ユニットとの間で前記搬出用容器を搬送する搬送機構を有する搬送ユニットと
    を備えることを特徴とする基板処理システム。
  2. 前記処理ユニット、前記基板搬入ユニット及び前記基板搬出ユニットは、直線方向上に配置されている
    ことを特徴とする請求項1に記載の基板処理システム。
  3. 前記処理ユニットは、前記基板搬入ユニットと前記基板搬出ユニットとの間に配置されている
    ことを特徴とする請求項1又は請求項2に記載の基板処理システム。
  4. 前記搬送ユニットは、前記搬送機構を前記直線方向に移動させる移動機構を有する
    ことを特徴とする請求項2又は請求項3に記載の基板処理システム。
  5. 前記基板搬入ユニット及び前記基板搬出ユニットには、それぞれ複数の容器待機部が設けられている
    ことを特徴とする請求項1から請求項4のいずれか一項に記載の基板処理システム。
  6. 前記基板搬入ユニット及び前記基板搬出ユニットのうち少なくとも一方は、複数の前記容器待機部を移動させる第2移動機構を有する
    ことを特徴とする請求項5に記載の基板処理システム。
  7. 前記第2移動機構は、供給対象容器を前記搬送ユニットに近づけると共に回収対象容器を前記搬送ユニットから遠ざけるように前記容器待機部を移動させる
    ことを特徴とする請求項6に記載の基板処理システム。
  8. 前記処理ユニットには、前記ローディングポジション及び前記アンローディングポジションのうち少なくとも一方に対応する複数の第2容器待機部を有するバッファ機構が設けられている
    ことを特徴とする請求項1から請求項7のうちいずれか一項に記載の基板処理システム。
  9. 前記バッファ機構は、複数の前記第2容器待機部を移動させる第3移動機構を有する
    ことを特徴とする請求項8に記載の基板処理システム。
  10. 前記第3移動機構は、前記搬送機構の搬送方向と同一方向に前記第2容器待機部を移動させる
    ことを特徴とする請求項9に記載の基板処理システム。
  11. 前記処理ユニットは、前記搬入用容器から前記基板を持ち上げて前記ローディングポジションに配置するピックアップ機構を有する
    ことを特徴とする請求項1から請求項10のうちいずれか一項に記載の基板処理システム。
  12. 前記搬送ユニットは、前記搬送機構の向きを回転させる回転機構を有する
    ことを特徴とする請求項1から請求項11のいずれか一項に記載の基板処理システム。
  13. 前記搬入用容器及び前記搬出用容器には係合部が形成されており、
    前記搬送機構は、前記係合部に係合させて前記搬入用容器及び前記搬出用容器を保持する保持部材を有する
    ことを特徴とする請求項1から請求項12のいずれか一項に記載の基板処理システム。
  14. 前記処理ユニットにおける前記基板の処理状況に応じて、前記搬入用容器及び前記搬出用容器のうち少なくとも一方の搬送位置を制御する制御装置を更に備える
    ことを特徴とする請求項1から請求項13のいずれか一項に記載の基板処理システム。
  15. 前記所定処理は、前記基板に液状体を塗布する塗布処理、前記塗布処理の前処理及び前記塗布処理の後処理を含む
    ことを特徴とする請求項1から請求項14のいずれか一項に記載の基板処理システム。
  16. 前記前処理は、前記基板に紫外線を照射する処理及び前記基板を洗浄する処理のうち少なくとも一方の処理を含む
    ことを特徴とする請求項15に記載の基板処理システム。
  17. 前記後処理は、前記基板の周囲を減圧させる処理及び前記基板を加熱する処理のうち少なくとも一方の処理を含む
    ことを特徴とする請求項16に記載の基板処理システム。
  18. 前記所定処理後の前記基板上における異物の有無を検知する異物検知ユニットを更に備える
    ことを特徴とする請求項1から請求項17のいずれか一項に記載の基板処理システム。
JP2008219562A 2008-08-28 2008-08-28 基板処理システム Expired - Fee Related JP5227701B2 (ja)

Priority Applications (6)

Application Number Priority Date Filing Date Title
JP2008219562A JP5227701B2 (ja) 2008-08-28 2008-08-28 基板処理システム
CN2012105800199A CN103077911A (zh) 2008-08-28 2009-08-25 涂敷装置
US12/547,270 US9214372B2 (en) 2008-08-28 2009-08-25 Substrate processing system, carrying device and coating device
CN 200910167447 CN101661873B (zh) 2008-08-28 2009-08-25 基板处理系统、输送装置及涂敷装置
CN2012105803182A CN103021918A (zh) 2008-08-28 2009-08-25 输送装置
US12/877,881 US8919756B2 (en) 2008-08-28 2010-09-08 Substrate processing system, carrying device, and coating device

Applications Claiming Priority (1)

Application Number Priority Date Filing Date Title
JP2008219562A JP5227701B2 (ja) 2008-08-28 2008-08-28 基板処理システム

Publications (2)

Publication Number Publication Date
JP2010056286A true JP2010056286A (ja) 2010-03-11
JP5227701B2 JP5227701B2 (ja) 2013-07-03

Family

ID=42071893

Family Applications (1)

Application Number Title Priority Date Filing Date
JP2008219562A Expired - Fee Related JP5227701B2 (ja) 2008-08-28 2008-08-28 基板処理システム

Country Status (1)

Country Link
JP (1) JP5227701B2 (ja)

Cited By (3)

* Cited by examiner, † Cited by third party
Publication number Priority date Publication date Assignee Title
WO2010147056A1 (ja) * 2009-06-19 2010-12-23 東京エレクトロン株式会社 インプリントシステム、インプリント方法及びコンピュータ記憶媒体
WO2011145607A1 (ja) * 2010-05-21 2011-11-24 東京エレクトロン株式会社 インプリントシステム、インプリント方法及びコンピュータ記憶媒体
JP2015028977A (ja) * 2013-07-30 2015-02-12 大日本印刷株式会社 異物検査方法、インプリント方法及び異物検査装置

Citations (11)

* Cited by examiner, † Cited by third party
Publication number Priority date Publication date Assignee Title
JPH0682773A (ja) * 1992-08-31 1994-03-25 Seiko Instr Inc 強誘電性液晶装置
JPH06310424A (ja) * 1993-04-20 1994-11-04 Toshiba Corp 半導体の製造方法及びそのシステム
JPH07335717A (ja) * 1994-06-06 1995-12-22 Tokyo Electron Ltd 被処理体のバッファ装置、これを用いた処理装置及びその搬送方法
JPH0817894A (ja) * 1994-06-27 1996-01-19 Dainippon Screen Mfg Co Ltd 基板表面処理装置
JPH10172946A (ja) * 1996-12-05 1998-06-26 Dainippon Screen Mfg Co Ltd 基板処理方法及び装置
JP2002064057A (ja) * 1993-12-24 2002-02-28 Tokyo Electron Ltd 処理装置
JP2003037043A (ja) * 2001-07-24 2003-02-07 Dainippon Screen Mfg Co Ltd 基板処理装置および基板処理システム
JP2003218018A (ja) * 2002-01-25 2003-07-31 Tokyo Electron Ltd 処理装置
JP2004080053A (ja) * 2003-11-07 2004-03-11 Hitachi Kokusai Electric Inc 半導体製造装置
JP2005085913A (ja) * 2003-09-08 2005-03-31 Sumitomo Mitsubishi Silicon Corp ウエハの製造システム
JP2008182255A (ja) * 2000-04-17 2008-08-07 Hitachi Kokusai Electric Inc 基板の搬送方法、基板処理方法および半導体装置の製造方法

Patent Citations (11)

* Cited by examiner, † Cited by third party
Publication number Priority date Publication date Assignee Title
JPH0682773A (ja) * 1992-08-31 1994-03-25 Seiko Instr Inc 強誘電性液晶装置
JPH06310424A (ja) * 1993-04-20 1994-11-04 Toshiba Corp 半導体の製造方法及びそのシステム
JP2002064057A (ja) * 1993-12-24 2002-02-28 Tokyo Electron Ltd 処理装置
JPH07335717A (ja) * 1994-06-06 1995-12-22 Tokyo Electron Ltd 被処理体のバッファ装置、これを用いた処理装置及びその搬送方法
JPH0817894A (ja) * 1994-06-27 1996-01-19 Dainippon Screen Mfg Co Ltd 基板表面処理装置
JPH10172946A (ja) * 1996-12-05 1998-06-26 Dainippon Screen Mfg Co Ltd 基板処理方法及び装置
JP2008182255A (ja) * 2000-04-17 2008-08-07 Hitachi Kokusai Electric Inc 基板の搬送方法、基板処理方法および半導体装置の製造方法
JP2003037043A (ja) * 2001-07-24 2003-02-07 Dainippon Screen Mfg Co Ltd 基板処理装置および基板処理システム
JP2003218018A (ja) * 2002-01-25 2003-07-31 Tokyo Electron Ltd 処理装置
JP2005085913A (ja) * 2003-09-08 2005-03-31 Sumitomo Mitsubishi Silicon Corp ウエハの製造システム
JP2004080053A (ja) * 2003-11-07 2004-03-11 Hitachi Kokusai Electric Inc 半導体製造装置

Cited By (5)

* Cited by examiner, † Cited by third party
Publication number Priority date Publication date Assignee Title
WO2010147056A1 (ja) * 2009-06-19 2010-12-23 東京エレクトロン株式会社 インプリントシステム、インプリント方法及びコンピュータ記憶媒体
US8888920B2 (en) 2009-06-19 2014-11-18 Tokyo Electron Limited Imprint system, imprint method, and non-transitory computer storage medium
WO2011145607A1 (ja) * 2010-05-21 2011-11-24 東京エレクトロン株式会社 インプリントシステム、インプリント方法及びコンピュータ記憶媒体
JP2012006380A (ja) * 2010-05-21 2012-01-12 Tokyo Electron Ltd インプリントシステム、インプリント方法、プログラム及びコンピュータ記憶媒体
JP2015028977A (ja) * 2013-07-30 2015-02-12 大日本印刷株式会社 異物検査方法、インプリント方法及び異物検査装置

Also Published As

Publication number Publication date
JP5227701B2 (ja) 2013-07-03

Similar Documents

Publication Publication Date Title
CN101261935B (zh) 基板处理装置
JP4180787B2 (ja) 基板処理装置および基板処理方法
JP4744427B2 (ja) 基板処理装置
KR100473929B1 (ko) 피처리기판 반송장치 및 반송방법
JP5189370B2 (ja) 基板交換装置及び基板処理装置並びに基板検査装置
JP5449876B2 (ja) 搬送装置
TWI426044B (zh) 基板處理裝置及使用於其之基板搬送裝置
JP5622453B2 (ja) 塗布装置及びノズルの管理方法
JP5656454B2 (ja) 塗布装置
JP2012076045A (ja) 塗布装置
JP5227701B2 (ja) 基板処理システム
JP2010067871A (ja) 基板搬送装置およびそれを備えた基板処理装置
JP5279554B2 (ja) 基板処理装置
JP5330031B2 (ja) 基板処理装置
JP5666833B2 (ja) 基板処理システム
KR101110790B1 (ko) 노광 장치
JP5412180B2 (ja) 塗布装置及び塗布方法
JP4705765B2 (ja) 円板ワークのローダハンド
KR102233465B1 (ko) 기판반송유닛, 이를 가지는 기판처리장치 및 방법
KR20230082012A (ko) 반도체 제조 설비용 웨이퍼의 자동 티칭장치
JP5490860B2 (ja) 基板搬送装置およびそれを備えた基板処理装置
JP5425426B2 (ja) 塗布装置
JP2743274B2 (ja) 基板処理装置および基板搬送装置
JP2003060011A (ja) 基板搬送装置及び基板処理システム
TWI762668B (zh) 基板搬送裝置及基板搬送方法

Legal Events

Date Code Title Description
A621 Written request for application examination

Free format text: JAPANESE INTERMEDIATE CODE: A621

Effective date: 20110525

A977 Report on retrieval

Free format text: JAPANESE INTERMEDIATE CODE: A971007

Effective date: 20130118

TRDD Decision of grant or rejection written
A01 Written decision to grant a patent or to grant a registration (utility model)

Free format text: JAPANESE INTERMEDIATE CODE: A01

Effective date: 20130219

A61 First payment of annual fees (during grant procedure)

Free format text: JAPANESE INTERMEDIATE CODE: A61

Effective date: 20130318

R150 Certificate of patent or registration of utility model

Free format text: JAPANESE INTERMEDIATE CODE: R150

Ref document number: 5227701

Country of ref document: JP

Free format text: JAPANESE INTERMEDIATE CODE: R150

FPAY Renewal fee payment (event date is renewal date of database)

Free format text: PAYMENT UNTIL: 20160322

Year of fee payment: 3

S802 Written request for registration of partial abandonment of right

Free format text: JAPANESE INTERMEDIATE CODE: R311802

R350 Written notification of registration of transfer

Free format text: JAPANESE INTERMEDIATE CODE: R350

R250 Receipt of annual fees

Free format text: JAPANESE INTERMEDIATE CODE: R250

LAPS Cancellation because of no payment of annual fees