JP2010055693A - 集光光学デバイス、光ピックアップ及び光ディスク装置 - Google Patents

集光光学デバイス、光ピックアップ及び光ディスク装置 Download PDF

Info

Publication number
JP2010055693A
JP2010055693A JP2008220488A JP2008220488A JP2010055693A JP 2010055693 A JP2010055693 A JP 2010055693A JP 2008220488 A JP2008220488 A JP 2008220488A JP 2008220488 A JP2008220488 A JP 2008220488A JP 2010055693 A JP2010055693 A JP 2010055693A
Authority
JP
Japan
Prior art keywords
wavelength
light beam
order
optical disc
diffractive
Prior art date
Legal status (The legal status is an assumption and is not a legal conclusion. Google has not performed a legal analysis and makes no representation as to the accuracy of the status listed.)
Granted
Application number
JP2008220488A
Other languages
English (en)
Other versions
JP4775422B2 (ja
Inventor
Toshifumi Yasui
利文 安井
Current Assignee (The listed assignees may be inaccurate. Google has not performed a legal analysis and makes no representation or warranty as to the accuracy of the list.)
Sony Corp
Original Assignee
Sony Corp
Priority date (The priority date is an assumption and is not a legal conclusion. Google has not performed a legal analysis and makes no representation as to the accuracy of the date listed.)
Filing date
Publication date
Application filed by Sony Corp filed Critical Sony Corp
Priority to JP2008220488A priority Critical patent/JP4775422B2/ja
Priority to US12/544,410 priority patent/US8064315B2/en
Priority to CN200910171527XA priority patent/CN101661765B/zh
Publication of JP2010055693A publication Critical patent/JP2010055693A/ja
Application granted granted Critical
Publication of JP4775422B2 publication Critical patent/JP4775422B2/ja
Expired - Fee Related legal-status Critical Current
Anticipated expiration legal-status Critical

Links

Images

Classifications

    • GPHYSICS
    • G11INFORMATION STORAGE
    • G11BINFORMATION STORAGE BASED ON RELATIVE MOVEMENT BETWEEN RECORD CARRIER AND TRANSDUCER
    • G11B7/00Recording or reproducing by optical means, e.g. recording using a thermal beam of optical radiation by modifying optical properties or the physical structure, reproducing using an optical beam at lower power by sensing optical properties; Record carriers therefor
    • G11B7/12Heads, e.g. forming of the optical beam spot or modulation of the optical beam
    • G11B7/125Optical beam sources therefor, e.g. laser control circuitry specially adapted for optical storage devices; Modulators, e.g. means for controlling the size or intensity of optical spots or optical traces
    • G11B7/127Lasers; Multiple laser arrays
    • G11B7/1275Two or more lasers having different wavelengths
    • GPHYSICS
    • G11INFORMATION STORAGE
    • G11BINFORMATION STORAGE BASED ON RELATIVE MOVEMENT BETWEEN RECORD CARRIER AND TRANSDUCER
    • G11B7/00Recording or reproducing by optical means, e.g. recording using a thermal beam of optical radiation by modifying optical properties or the physical structure, reproducing using an optical beam at lower power by sensing optical properties; Record carriers therefor
    • G11B7/12Heads, e.g. forming of the optical beam spot or modulation of the optical beam
    • G11B7/135Means for guiding the beam from the source to the record carrier or from the record carrier to the detector
    • G11B7/1353Diffractive elements, e.g. holograms or gratings
    • GPHYSICS
    • G11INFORMATION STORAGE
    • G11BINFORMATION STORAGE BASED ON RELATIVE MOVEMENT BETWEEN RECORD CARRIER AND TRANSDUCER
    • G11B7/00Recording or reproducing by optical means, e.g. recording using a thermal beam of optical radiation by modifying optical properties or the physical structure, reproducing using an optical beam at lower power by sensing optical properties; Record carriers therefor
    • G11B7/12Heads, e.g. forming of the optical beam spot or modulation of the optical beam
    • G11B7/135Means for guiding the beam from the source to the record carrier or from the record carrier to the detector
    • G11B7/1372Lenses
    • G11B7/1374Objective lenses
    • GPHYSICS
    • G11INFORMATION STORAGE
    • G11BINFORMATION STORAGE BASED ON RELATIVE MOVEMENT BETWEEN RECORD CARRIER AND TRANSDUCER
    • G11B7/00Recording or reproducing by optical means, e.g. recording using a thermal beam of optical radiation by modifying optical properties or the physical structure, reproducing using an optical beam at lower power by sensing optical properties; Record carriers therefor
    • G11B2007/0003Recording, reproducing or erasing systems characterised by the structure or type of the carrier
    • G11B2007/0006Recording, reproducing or erasing systems characterised by the structure or type of the carrier adapted for scanning different types of carrier, e.g. CD & DVD

Landscapes

  • Physics & Mathematics (AREA)
  • Optics & Photonics (AREA)
  • Optical Head (AREA)

Abstract

【課題】 構成を複雑にすることなく、共通の一の対物レンズを用いてそれぞれ使用波長を異にする3種類の光ディスクに対する互換を実現する。
【解決手段】 第1の波長の光ビームを出射する第1の出射部と、第2の波長の光ビームを出射する第2の出射部と、第3の波長の光ビームを出射する第3の出射部と、第1乃至第3の出射部から出射された光ビームを光ディスクの信号記録面上に集光する対物レンズ34と、第1乃至第3の波長の光ビームの光路上に配置される光学素子50の一方の面に設けられる回折部50とを備え、回折部50は、最内周部に設けられ略円形状の第1の回折領域51と、第1の回折領域の外側に設けられ輪帯状の第2の回折領域52と、第2の回折領域の外側に設けられ輪帯状の第3の回折領域53とを有し、第1乃至第3の回折領域51,52,53は、輪帯状で且つ所定の深さを有しそれぞれ異なる構造とされた第1乃至第3の回折構造が形成され、第1及び第2の回折構造における周期構造の周期数が所定の関係とされて形成されている。
【選択図】 図2

Description

本発明は、異なる3種類の光ディスクに対して情報信号の記録及び/又は再生を行う光ピックアップに用いられる集光光学デバイス、並びに光ピックアップ及びこの光ピックアップを用いた光ディスク装置に関する。
近年、次世代光ディスクフォーマットとして、青紫色半導体レーザによる波長405nm程度の光ビームを用いて信号の記録再生を行う高密度記録が可能な光ディスク(以下、「高密度記録光ディスク」という。)が提案されている。この高密度記録光ディスクは、信号記録層を保護するカバー層の厚さを薄く、例えば0.1mmとした構造のものが提案されている。
これらの高密度記録光ディスクに対応する光ピックアップを提供するに際して、従来の使用波長が785nm付近であるCD(Compact Disc)、使用波長が655nm付近であるDVD(Digital Versatile Disc)等のフォーマットの異なる光ディスクとの互換性を有するものが望まれる。このように、ディスク構造及びこれに伴うレーザ仕様が異なるフォーマットの光ディスク間の互換性を有する光ピックアップ及び光ディスク装置が必要とされる。
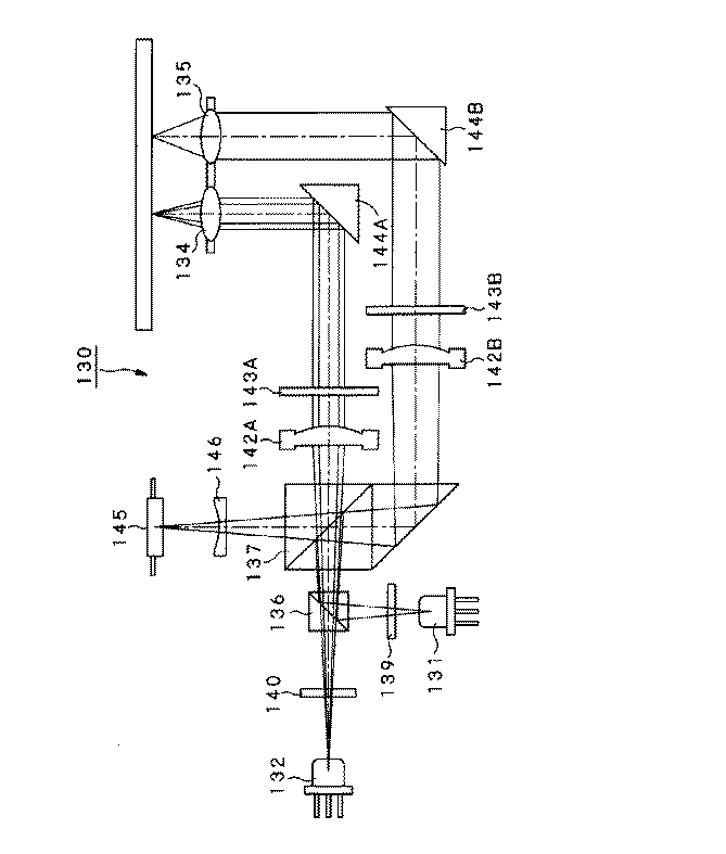
従来、異なるフォーマットとされた3種類の光ディスクに対して、情報信号の記録又は再生を実現する方法として、例えば、図43に示すようなDVD・CD用、及び、高密度記録光ディスク用の2種類の対物レンズと2種類の光学系を設け、それぞれの対物レンズを使用波長毎に切り換える方式のものがある。
図43に示す光ピックアップ130は、2種類の対物レンズ134,135を設けることにより、異なる種類の光ディスクの記録及び/又は再生を実現するものであり、CD等の光ディスクに対して波長785nm程度の光ビームを出射する出射部と、DVD等の光ディスクに対して波長655nm程度の光ビームを出射する出射部とを有するレーザダイオード等の光源部132と、高密度記録光ディスクに対して波長405nm程度の光ビームを出射する出射部を有するレーザダイオード等の光源部131と、DVD、CD等の光ディスク用の対物レンズ134と、高密度記録光ディスク用の対物レンズ135とを備える。また、この光ピックアップは、コリメータレンズ142A,142B、1/4波長板143A,143B、立ち上げミラー144A,144B、ビームスプリッタ136,137、グレーティング139,140、光検出器145、マルチレンズ146等を備える。
光源部132より出射された波長785nm程度の光ビームは、ビームスプリッタ136、ビームスプリッタ137を透過し、対物レンズ134へと入射する。この対物レンズ134によって厚さ1.1mmの保護層(カバー層)を有する光ディスクの信号記録面に集光される。
同様に、光源部132より出射された波長655nm程度の光ビームは、まったく同一の光路によって対物レンズ134へと入射し、厚さ0.6mmの保護層を有する光ディスクの信号記録面に集光される。光ディスクの信号記録面で反射された波長785nm及び波長655nmの戻り光は、ビームスプリッタ137を経て、フォトディテクタ等を有する光検出器145で検出される。
光源部131より出射された波長405nm程度の光ビームは、ビームスプリッタ136で反射され、ビームスプリッタ137を経て対物レンズ135へと入射する。この対物レンズ135によって厚さ約0.1mmの保護層を有する光ディスクの信号記録面に集光される。光ディスクの信号記録面で反射された波長405nmの戻り光は、ビームスプリッタ137を経て、光検出器145で検出される。
以上のような図43に示す光ピックアップは、上述のようなDVD/CD用の対物レンズ134と、高密度記録光ディスク用の対物レンズ135との2種類の対物レンズを設けることにより、異なる3種類の光ディスクの記録及び/又は再生を実現し、すなわち、複数種類の光ディスク間の互換を実現する。
しかしながら、上述のような光ピックアップでは、以下のような問題がある。まず、各光ディスク毎に最適となる対物レンズの傾きに相違があり、上述の光ピックアップでは、2個の対物レンズ135,134を用いることによって、それぞれの対物レンズ135,434のアクチュエータのレンズホルダへの取り付け角度が不適切となる場合があり、このことにより光ディスクに対して最適な対物レンズの傾きとすることができない場合がある。この結果、再生信号の品質が低下するといった問題がある。また、上述の光ピックアップでは、2種類の対物レンズ135,134を用いることによって、立ち上げミラー、コリメータレンズ或いは1/4波長板といった2種類の光学系のそれぞれの光路内に挿入する必要のある部品点数が増大することとなる。このため、高コストになり、光ピックアップが大型化してしまうといった問題がある。さらに、上述の光ピックアップでは、2つの対物レンズ135,134を対物レンズ駆動用のアクチュエータに搭載する必要があるため、アクチュエータの重量が増大し、感度が低下するという問題もある。
これに対し、上述のような問題を解消するとともに、さらに光学部品の簡素化を可能とするため複数種類の光ディスク及び3種類の使用波長に対して共通の単一の対物レンズを備える光ピックアップも検討されている。3波長の光ビームに対応した対物レンズを設ける場合の基本的指針としては、対物レンズに入射する前の光路上に回折光学素子等の回折部を設けることによって、対物レンズに対して拡散・収束光の状態で入射させ、使用波長とメディアの組み合わせによって生じる球面収差を補正するというものである。
しかし、従来検討されている光ピックアップでは、回折部が複数面に設けられることにより構成されていたり、対物レンズの球面とは異なる球面形状を回折面に設ける必要があったり、対物レンズの入射前の光路に複雑な構成を有する液晶素子を設けることが必要であったりした。これらの構成は、いずれもレンズ部、回折部、液晶素子等が別々に形成されたのち組み合わされており、これらの位置合わせや複数の回折面の貼り合わせにかなり高い精度が要求されることとなり、製造の煩雑化・複雑化といった問題や、これらの精度が満たされないことによる問題等もある。
また、例えば、特開2004−265573号公報に記載のように、回折部を一面に設けた光ピックアップも考えられているが、2波長互換の実現に留まっており、3波長互換を実現するためには、別に残りの1波長に対応した対物レンズを設ける必要があり、光学部品の増大及び構成の複雑化といった問題があった。(特許文献1参照)。また、かかる3波長互換を備える光ピックアップを提供するに際して、各波長における光利用効率を高めたいという要請や、不要光入射を低減させたいという要請もあった。
特開2004−265573号公報
本発明の目的は、構成を複雑にすることなく、それぞれ使用波長を異にする3種類の光ディスクに対して、共通の一の対物レンズを用いて光ビームを信号記録面に集光して情報信号の記録及び/又は再生を実現する光ピックアップに用いられる集光光学デバイス並びに光ピックアップ及びこの光ピックアップを用いた光ディスク装置を提供することにある。
この目的を達成するため、本発明に係る集光光学デバイスは、少なくとも第1の光ディスクと、上記第1の光ディスクとは異なる種類の第2の光ディスクと、上記第1及び第2の光ディスクとは異なる種類の第3の光ディスクとに対して光ビームを照射して情報信号の記録及び/又は再生を行う光ピックアップに用いられ、上記第1の光ディスクに対応した第1の波長の光ビームと、上記第2の光ディスクに対応した上記第1の波長より長い第2の波長の光ビームと、上記第3の光ディスクに対応した上記第2の波長より長い第3の波長の光ビームとを対応する光ディスクの信号記録面上に集光する集光光学デバイスにおいて、入射側の面又は出射側の面に設けられる回折部を備え、上記回折部は、最内周部に設けられ略円形状の第1の回折領域と、上記第1の回折領域の外側に設けられ輪帯状の第2の回折領域と、上記第2の回折領域の外側に設けられ輪帯状の第3の回折領域とを有し、上記第1の回折領域は、輪帯状で且つ所定の深さを有する第1の回折構造が形成され、通過する上記第1の波長の光ビームの当該集光光学デバイスを介して第1の光ディスクの信号記録面に集光する次数の回折光を発生させ、通過する上記第2の波長の光ビームの当該集光光学デバイスを介して第2の光ディスクの信号記録面に集光する次数の回折光を発生させ、通過する上記第3の波長の光ビームの当該集光光学デバイスを介して第3の光ディスクの信号記録面に集光する次数の回折光を発生させ、上記第2の回折領域は、輪帯状で且つ所定の深さを有し上記第1の回折構造とは異なる構造の第2の回折構造が形成され、通過する上記第1の波長の光ビームの当該集光光学デバイスを介して第1の光ディスクの信号記録面に集光する次数の回折光を発生させ、通過する上記第2の波長の光ビームの当該集光光学デバイスを介して第2の光ディスクの信号記録面に集光する次数の回折光を発生させるとともに、通過する上記第3の波長の光ビームの当該集光光学デバイスを介して第3の光ディスクの信号記録面に集光する次数以外の次数の回折光が支配的となるように発生させ、上記第3の回折領域は、輪帯状で且つ所定の深さを有し上記第1及び第2の回折構造とは異なる構造の第3の回折構造が形成され、通過する上記第1の波長の光ビームの当該集光光学デバイスを介して第1の光ディスクの信号記録面に集光する次数の回折光を発生させるとともに、通過する上記第2の波長の光ビームの当該集光光学デバイスを介して第2の光ディスクの信号記録面に集光する次数以外の次数の回折光が支配的となるように発生させ、通過する上記第3の波長の光ビームの当該集光光学デバイスを介して第3の光ディスクの信号記録面に集光する次数以外の次数の回折光が支配的となるように発生させ、上記第1及び第2の回折構造は、それぞれ、凹凸形状とされた単位周期構造が各輪帯の半径方向に連続的に形成された周期構造であり、下記の(1)式及び(2)式を満たす。
4≦N≦39 (1)式
3≦N≦25 (2)式
ここで、Nは、上記第1の回折領域の第1の回折構造における周期構造の周期数を示し、Nは、上記第2の回折領域の第2の回折構造における周期構造の周期数を示す。
また、本発明に係る光ピックアップは、第1の光ディスクに対応した第1の波長の光ビームを出射する第1の出射部と、上記第1の光ディスクとは異なる種類の第2の光ディスクに対応した上記第1の波長より長い第2の波長の光ビームを出射する第2の出射部と、上記第1及び第2の光ディスクとは異なる種類の第3の光ディスクに対応した上記第2の波長より長い第3の波長の光ビームを出射する第3の出射部と、上記第1乃至第3の出射部から出射された光ビームを光ディスクの信号記録面上に集光する集光光学デバイスと、上記第1乃至第3の波長の光ビームの光路上に配置される集光光学デバイスに設けられる回折部とを備え、上記回折部は、最内周部に設けられ略円形状の第1の回折領域と、上記第1の回折領域の外側に設けられ輪帯状の第2の回折領域と、上記第2の回折領域の外側に設けられ輪帯状の第3の回折領域とを有し、上記第1の回折領域は、輪帯状で且つ所定の深さを有する第1の回折構造が形成され、通過する上記第1の波長の光ビームの上記集光光学デバイスを介して第1の光ディスクの信号記録面に集光する次数の回折光を発生させ、通過する上記第2の波長の光ビームの上記集光光学デバイスを介して第2の光ディスクの信号記録面に集光する次数の回折光を発生させ、通過する上記第3の波長の光ビームの上記集光光学デバイスを介して第3の光ディスクの信号記録面に集光する次数の回折光を発生させ、上記第2の回折領域は、輪帯状で且つ所定の深さを有し上記第1の回折構造とは異なる構造の第2の回折構造が形成され、通過する上記第1の波長の光ビームの上記対物レンズを介して第1の光ディスクの信号記録面に集光する次数の回折光を発生させ、通過する上記第2の波長の光ビームの上記集光光学デバイスを介して第2の光ディスクの信号記録面に集光する次数の回折光を発生させるとともに、通過する上記第3の波長の光ビームの上記集光光学デバイスを介して第3の光ディスクの信号記録面に集光する次数以外の次数の回折光が支配的となるように発生させ、上記第3の回折領域は、輪帯状で且つ所定の深さを有し上記第1及び第2の回折構造とは異なる構造の第3の回折構造が形成され、通過する上記第1の波長の光ビームの上記集光光学デバイスを介して第1の光ディスクの信号記録面に集光する次数の回折光を発生させるとともに、通過する上記第2の波長の光ビームの上記集光光学デバイスを介して第2の光ディスクの信号記録面に集光する次数以外の次数の回折光が支配的となるように発生させ、通過する上記第3の波長の光ビームの上記集光光学デバイスを介して第3の光ディスクの信号記録面に集光する次数以外の次数の回折光が支配的となるように発生させ、上記第1及び第2の回折構造は、それぞれ、凹凸形状とされた単位周期構造が各輪帯の半径方向に連続的に形成された周期構造であり、下記の(1)式且つ(2)式を満たす。
4≦N≦39 (1)式
3≦N≦25 (2)式
ここで、Nは、上記第1の回折領域の第1の回折構造における周期構造の周期数を示し、Nは、上記第2の回折領域の第2の回折構造における周期構造の周期数を示す。
また、本発明に係る光ディスク装置は、少なくとも第1の光ディスクと、上記第1の光ディスクとは異なる種類の第2の光ディスクと、上記第1及び第2の光ディスクとは異なる種類の第3の光ディスクとから任意に選択され、回転駆動される光ディスクに対し、波長を異にする複数の光ビームを選択的に照射することにより情報信号の記録及び/又は再生を行う光ピックアップとを備え、この光ディスク装置に用いる光ピックアップとして、上述したようなものを用いたものである。
また、本発明に係る集光光学デバイスは、少なくとも第1の光ディスクと、上記第1の光ディスクとは異なる種類の第2の光ディスクと、上記第1及び第2の光ディスクとは異なる種類の第3の光ディスクとに対して光ビームを照射して情報信号の記録及び/又は再生を行う光ピックアップに用いられ、上記第1の光ディスクに対応した第1の波長の光ビームと、上記第2の光ディスクに対応した上記第1の波長より長い第2の波長の光ビームと、上記第3の光ディスクに対応した上記第2の波長より長い第3の波長の光ビームとを対応する光ディスクの信号記録面上に集光する集光光学デバイスにおいて、入射側の面又は出射側の面に設けられる回折部を備え、上記回折部は、最内周部に設けられ略円形状の第1の回折領域と、上記第1の回折領域の外側に設けられ輪帯状の第2の回折領域と、上記第2の回折領域の外側に設けられ輪帯状の第3の回折領域とを有し、上記第1の回折領域は、輪帯状で且つ所定の深さを有する第1の回折構造が形成され、通過する上記第1の波長の光ビームの上記集光光学デバイスを介して第1の光ディスクの信号記録面に集光する次数の回折光を発生させ、通過する上記第2の波長の光ビームの上記集光光学デバイスを介して第2の光ディスクの信号記録面に集光する次数の回折光を発生させ、通過する上記第3の波長の光ビームの上記集光光学デバイスを介して第3の光ディスクの信号記録面に集光する次数の回折光を発生させ、上記第2の回折領域は、輪帯状で且つ所定の深さを有し上記第1の回折構造とは異なる構造の第2の回折構造が形成され、通過する上記第1の波長の光ビームの上記対物レンズを介して第1の光ディスクの信号記録面に集光する次数の回折光を発生させ、通過する上記第2の波長の光ビームの上記集光光学デバイスを介して第2の光ディスクの信号記録面に集光する次数の回折光を発生させるとともに、通過する上記第3の波長の光ビームの上記集光光学デバイスを介して第3の光ディスクの信号記録面に集光する次数以外の次数の回折光が支配的となるように発生させ、上記第3の回折領域は、輪帯状で且つ所定の深さを有し上記第1及び第2の回折構造とは異なる構造の第3の回折構造が形成され、通過する上記第1の波長の光ビームの上記集光光学デバイスを介して第1の光ディスクの信号記録面に集光する次数の回折光を発生させるとともに、通過する上記第2の波長の光ビームの上記集光光学デバイスを介して第2の光ディスクの信号記録面に集光する次数以外の次数の回折光が支配的となるように発生させ、通過する上記第3の波長の光ビームの上記集光光学デバイスを介して第3の光ディスクの信号記録面に集光する次数以外の次数の回折光が支配的となるように発生させ、上記第1の回折構造は、少なくとも第1の基礎構造と第2の基礎構造とを重畳するように形成された光路差付与構造であり、上記第1の基礎構造は、凹凸形状とされた単位周期構造が各輪帯の半径方向に連続的に形成された周期構造であることにより、上記第1及び第2の波長に対して上記集光する次数の回折光を発生させるように光路差を付与する光路差付与構造であり、上記第2の基礎構造は、上記第2の基礎構造を通過する上記第1の波長の光ビームの0次光が支配的となるように発生させ、上記第2の基礎構造を通過する上記第2の波長の光ビームの0次光が支配的となるように発生させ、上記第2の基礎構造を通過する上記第3の波長の光ビームの0次以外の次数の回折光が支配的となるように発生させるように光路差を付与する光路差付与構造であり、上記第2の回折構造は、凹凸形状とされた単位周期構造が各輪帯の半径方向に連続的に形成された周期構造であり、上記第1の回折構造の上記第1の基礎構造は、凹凸形状とされた単位周期構造が各輪帯の半径方向に連続的に形成された周期構造であり、下記の(1)式を満たし、上記第2の回折構造は、凹凸形状とされた単位周期構造が各輪帯の半径方向に連続的に形成された周期構造であり、下記の(2)式を満たす。
4≦N≦39 (1)式
3≦N≦25 (2)式
ここで、Nは、上記第1の回折領域の第1の回折構造の上記第1の基礎構造における周期構造の周期数を示し、Nは、上記第2の回折領域の第2の回折構造における周期構造の周期数を示す。
また、本発明に係る光ピックアップは、第1の光ディスクに対応した第1の波長の光ビームを出射する第1の出射部と、上記第1の光ディスクとは異なる種類の第2の光ディスクに対応した上記第1の波長より長い第2の波長の光ビームを出射する第2の出射部と、上記第1及び第2の光ディスクとは異なる種類の第3の光ディスクに対応した上記第2の波長より長い第3の波長の光ビームを出射する第3の出射部と、上記第1乃至第3の出射部から出射された光ビームを光ディスクの信号記録面上に集光する集光光学デバイスと、上記第1乃至第3の波長の光ビームの光路上に配置される集光光学デバイスに設けられる回折部とを備え、上記回折部は、最内周部に設けられ略円形状の第1の回折領域と、上記第1の回折領域の外側に設けられ輪帯状の第2の回折領域と、上記第2の回折領域の外側に設けられ輪帯状の第3の回折領域とを有し、上記第1の回折領域は、輪帯状で且つ所定の深さを有する第1の回折構造が形成され、通過する上記第1の波長の光ビームの上記集光光学デバイスを介して第1の光ディスクの信号記録面に集光する次数の回折光を発生させ、通過する上記第2の波長の光ビームの上記集光光学デバイスを介して第2の光ディスクの信号記録面に集光する次数の回折光を発生させ、通過する上記第3の波長の光ビームの上記集光光学デバイスを介して第3の光ディスクの信号記録面に集光する次数の回折光を発生させ、上記第2の回折領域は、輪帯状で且つ所定の深さを有し上記第1の回折構造とは異なる構造の第2の回折構造が形成され、通過する上記第1の波長の光ビームの上記対物レンズを介して第1の光ディスクの信号記録面に集光する次数の回折光を発生させ、通過する上記第2の波長の光ビームの上記集光光学デバイスを介して第2の光ディスクの信号記録面に集光する次数の回折光を発生させるとともに、通過する上記第3の波長の光ビームの上記集光光学デバイスを介して第3の光ディスクの信号記録面に集光する次数以外の次数の回折光が支配的となるように発生させ、上記第3の回折領域は、輪帯状で且つ所定の深さを有し上記第1及び第2の回折構造とは異なる構造の第3の回折構造が形成され、通過する上記第1の波長の光ビームの上記集光光学デバイスを介して第1の光ディスクの信号記録面に集光する次数の回折光を発生させるとともに、通過する上記第2の波長の光ビームの上記集光光学デバイスを介して第2の光ディスクの信号記録面に集光する次数以外の次数の回折光が支配的となるように発生させ、通過する上記第3の波長の光ビームの上記集光光学デバイスを介して第3の光ディスクの信号記録面に集光する次数以外の次数の回折光が支配的となるように発生させ、上記第1の回折構造は、少なくとも第1の基礎構造と第2の基礎構造とを重畳するように形成された光路差付与構造であり、上記第1の基礎構造は、凹凸形状とされた単位周期構造が各輪帯の半径方向に連続的に形成された周期構造であることにより、上記第1及び第2の波長に対して上記集光する次数の回折光を発生させるように光路差を付与する光路差付与構造であり、上記第2の基礎構造は、上記第2の基礎構造を通過する上記第1の波長の光ビームの0次光が支配的となるように発生させ、上記第2の基礎構造を通過する上記第2の波長の光ビームの0次光が支配的となるように発生させ、上記第2の基礎構造を通過する上記第3の波長の光ビームの0次以外の次数の回折光が支配的となるように発生させるように光路差を付与する光路差付与構造であり、上記第2の回折構造は、凹凸形状とされた単位周期構造が各輪帯の半径方向に連続的に形成された周期構造であり、上記第1の回折構造の上記第1の基礎構造は、凹凸形状とされた単位周期構造が各輪帯の半径方向に連続的に形成された周期構造であり、下記の(1)式を満たし、上記第2の回折構造は、凹凸形状とされた単位周期構造が各輪帯の半径方向に連続的に形成された周期構造であり、下記の(2)式を満たす。
4≦N≦39 (1)式
3≦N≦25 (2)式
ここで、Nは、上記第1の回折領域の第1の回折構造の上記第1の基礎構造における周期構造の周期数を示し、Nは、上記第2の回折領域の第2の回折構造における周期構造の周期数を示す。
また、本発明に係る光ディスク装置は、少なくとも第1の光ディスクと、上記第1の光ディスクとは異なる種類の第2の光ディスクと、上記第1及び第2の光ディスクとは異なる種類の第3の光ディスクとから任意に選択され、回転駆動される光ディスクに対し、波長を異にする複数の光ビームを選択的に照射することにより情報信号の記録及び/又は再生を行う光ピックアップとを備え、この光ディスク装置に用いる光ピックアップとして、上述したようなものを用いたものである。
また、本発明に係る集光光学デバイスは、少なくとも第1の光ディスクと、上記第1の光ディスクとは異なる種類の第2の光ディスクと、上記第1及び第2の光ディスクとは異なる種類の第3の光ディスクとに対して光ビームを照射して情報信号の記録及び/又は再生を行う光ピックアップに用いられ、上記第1の光ディスクに対応した第1の波長の光ビームと、上記第2の光ディスクに対応した上記第1の波長より長い第2の波長の光ビームと、上記第3の光ディスクに対応した上記第2の波長より長い第3の波長の光ビームとを対応する光ディスクの信号記録面上に集光する集光光学デバイスにおいて、入射側の面又は出射側の面に設けられる回折部を備え、上記回折部は、最内周部に設けられ略円形状の光ビームを回折する第1の領域と、上記第1の領域の外側に設けられ輪帯状の光ビームを回折する第2の領域と、上記第2の領域の外側に設けられ輪帯状の第3の領域とを有し、上記第1の領域は、輪帯状で且つ所定の深さを有する第1の回折構造が形成され、通過する上記第1の波長の光ビームの当該集光光学デバイスを介して第1の光ディスクの信号記録面に集光する次数の回折光を発生させ、通過する上記第2の波長の光ビームの当該集光光学デバイスを介して第2の光ディスクの信号記録面に集光する次数の回折光を発生させ、通過する上記第3の波長の光ビームの当該集光光学デバイスを介して第3の光ディスクの信号記録面に集光する次数の回折光を発生させ、上記第2の領域は、輪帯状で且つ所定の深さを有し上記第1の回折構造とは異なる構造の第2の回折構造が形成され、通過する上記第1の波長の光ビームの当該集光光学デバイスを介して第1の光ディスクの信号記録面に集光する次数の回折光を発生させ、通過する上記第2の波長の光ビームの当該集光光学デバイスを介して第2の光ディスクの信号記録面に集光する次数の回折光を発生させるとともに、通過する上記第3の波長の光ビームの当該集光光学デバイスを介して第3の光ディスクの信号記録面に集光する次数以外の次数の回折光が支配的となるように発生させ、上記第3の領域は、通過する上記第1の波長の光ビームを上記集光光学デバイスを介して第1の光ディスクの信号記録面に集光させるとともに、通過する上記第2の波長の光ビームを上記集光光学デバイスを介して第2の光ディスクの信号記録面に集光させない状態とし、通過する上記第3の波長の光ビームを上記集光光学デバイスを介して第3の光ディスクの信号記録面に集光させない状態とし、上記第1及び第2の回折構造は、それぞれ、凹凸形状とされた単位周期構造が各輪帯の半径方向に連続的に形成された周期構造であり、下記の(1)式及び(2)式を満たす。
4≦N≦39 (1)式
3≦N≦25 (2)式
ここで、Nは、上記第1の領域の第1の回折構造における周期構造の周期数を示し、Nは、上記第2の領域の第2の回折構造における周期構造の周期数を示す。
また、本発明に係る光ピックアップは、第1の光ディスクに対応した第1の波長の光ビームを出射する第1の出射部と、上記第1の光ディスクとは異なる種類の第2の光ディスクに対応した上記第1の波長より長い第2の波長の光ビームを出射する第2の出射部と、上記第1及び第2の光ディスクとは異なる種類の第3の光ディスクに対応した上記第2の波長より長い第3の波長の光ビームを出射する第3の出射部と、上記第1乃至第3の出射部から出射された光ビームを光ディスクの信号記録面上に集光する集光光学デバイスと、上記第1乃至第3の波長の光ビームの光路上に配置される集光光学デバイスに設けられる回折部とを備え、上記回折部は、最内周部に設けられ略円形状の光ビームを回折する第1の領域と、上記第1の領域の外側に設けられ輪帯状の光ビームを回折する第2の領域と、上記第2の領域の外側に設けられ輪帯状の第3の領域とを有し、上記第1の領域は、輪帯状で且つ所定の深さを有する第1の回折構造が形成され、通過する上記第1の波長の光ビームの上記集光光学デバイスを介して第1の光ディスクの信号記録面に集光する次数の回折光を発生させ、通過する上記第2の波長の光ビームの上記集光光学デバイスを介して第2の光ディスクの信号記録面に集光する次数の回折光を発生させ、通過する上記第3の波長の光ビームの上記集光光学デバイスを介して第3の光ディスクの信号記録面に集光する次数の回折光を発生させ、上記第2の領域は、輪帯状で且つ所定の深さを有し上記第1の回折構造とは異なる構造の第2の回折構造が形成され、通過する上記第1の波長の光ビームの上記集光光学デバイスを介して第1の光ディスクの信号記録面に集光する次数の回折光を発生させ、通過する上記第2の波長の光ビームの上記集光光学デバイスを介して第2の光ディスクの信号記録面に集光する次数の回折光を発生させるとともに、通過する上記第3の波長の光ビームの上記集光光学デバイスを介して第3の光ディスクの信号記録面に集光する次数以外の次数の回折光が支配的となるように発生させ、上記第3の領域は、通過する上記第1の波長の光ビームを上記集光光学デバイスを介して第1の光ディスクの信号記録面に集光させるとともに、通過する上記第2の波長の光ビームを上記集光光学デバイスを介して第2の光ディスクの信号記録面に集光させない状態とし、通過する上記第3の波長の光ビームを上記集光光学デバイスを介して第3の光ディスクの信号記録面に集光させない状態とし、上記第1及び第2の回折構造は、それぞれ、凹凸形状とされた単位周期構造が各輪帯の半径方向に連続的に形成された周期構造であり、下記の(1)式及び(2)式を満たす。
4≦N≦39 (1)式
3≦N≦25 (2)式
ここで、Nは、上記第1の領域の第1の回折構造における周期構造の周期数を示し、Nは、上記第2の領域の第2の回折構造における周期構造の周期数を示す。
また、本発明に係る光ディスク装置は、少なくとも第1の光ディスクと、上記第1の光ディスクとは異なる種類の第2の光ディスクと、上記第1及び第2の光ディスクとは異なる種類の第3の光ディスクとから任意に選択され、回転駆動される光ディスクに対し、波長を異にする複数の光ビームを選択的に照射することにより情報信号の記録及び/又は再生を行う光ピックアップとを備え、この光ディスク装置に用いる光ピックアップとして、上述したようなものを用いたものである。
また、本発明に係る集光光学デバイスは、少なくとも第1の光ディスクと、上記第1の光ディスクとは異なる種類の第2の光ディスクと、上記第1及び第2の光ディスクとは異なる種類の第3の光ディスクとに対して光ビームを照射して情報信号の記録及び/又は再生を行う光ピックアップに用いられ、上記第1の光ディスクに対応した第1の波長の光ビームと、上記第2の光ディスクに対応した上記第1の波長より長い第2の波長の光ビームと、上記第3の光ディスクに対応した上記第2の波長より長い第3の波長の光ビームとを対応する光ディスクの信号記録面上に集光する集光光学デバイスにおいて、入射側の面又は出射側の面に設けられる回折部を備え、上記回折部は、最内周部に設けられ略円形状の光ビームを回折する第1の領域と、上記第1の領域の外側に設けられ輪帯状の光ビームを回折する第2の領域と、上記第2の領域の外側に設けられ輪帯状の第3の領域とを有し、上記第1の領域は、輪帯状で且つ所定の深さを有する第1の回折構造が形成され、通過する上記第1の波長の光ビームの上記集光光学デバイスを介して第1の光ディスクの信号記録面に集光する次数の回折光を発生させ、通過する上記第2の波長の光ビームの上記集光光学デバイスを介して第2の光ディスクの信号記録面に集光する次数の回折光を発生させ、通過する上記第3の波長の光ビームの上記集光光学デバイスを介して第3の光ディスクの信号記録面に集光する次数の回折光を発生させ、上記第2の領域は、輪帯状で且つ所定の深さを有し上記第1の回折構造とは異なる構造の第2の回折構造が形成され、通過する上記第1の波長の光ビームの上記集光光学デバイスを介して第1の光ディスクの信号記録面に集光する次数の回折光を発生させ、通過する上記第2の波長の光ビームの上記集光光学デバイスを介して第2の光ディスクの信号記録面に集光する次数の回折光を発生させるとともに、通過する上記第3の波長の光ビームの上記集光光学デバイスを介して第3の光ディスクの信号記録面に集光する次数以外の次数の回折光が支配的となるように発生させ、上記第3の領域は、通過する上記第1の波長の光ビームを上記集光光学デバイスを介して第1の光ディスクの信号記録面に集光させるとともに、通過する上記第2の波長の光ビームを上記集光光学デバイスを介して第2の光ディスクの信号記録面に集光させない状態とし、通過する上記第3の波長の光ビームを上記集光光学デバイスを介して第3の光ディスクの信号記録面に集光させない状態とし、上記第1の回折構造は、少なくとも第1の基礎構造と第2の基礎構造とを重畳するように形成された光路差付与構造であり、上記第1の基礎構造は、凹凸形状とされた単位周期構造が各輪帯の半径方向に連続的に形成された周期構造であることにより、上記第1及び第2の波長に対して上記集光する次数の回折光を発生させるように光路差を付与する光路差付与構造であり、上記第2の基礎構造は、上記第2の基礎構造を通過する上記第1の波長の光ビームの0次光が支配的となるように発生させ、上記第2の基礎構造を通過する上記第2の波長の光ビームの0次光が支配的となるように発生させ、上記第2の基礎構造を通過する上記第3の波長の光ビームの0次以外の次数の回折光が支配的となるように発生させるように光路差を付与する光路差付与構造であり、上記第2の回折構造は、凹凸形状とされた単位周期構造が各輪帯の半径方向に連続的に形成された周期構造であり、上記第1の回折構造の上記第1の基礎構造は、凹凸形状とされた単位周期構造が各輪帯の半径方向に連続的に形成された周期構造であり、下記の(1)式を満たし、上記第2の回折構造は、凹凸形状とされた単位周期構造が各輪帯の半径方向に連続的に形成された周期構造であり、下記の(2)式を満たす。
4≦N≦39 (1)式
3≦N≦25 (2)式
ここで、Nは、上記第1の領域の第1の回折構造の上記第1の基礎構造における周期構造の周期数を示し、Nは、上記第2の領域の第2の回折構造における周期構造の周期数を示す。
また、本発明に係る光ピックアップは、第1の光ディスクに対応した第1の波長の光ビームを出射する第1の出射部と、上記第1の光ディスクとは異なる種類の第2の光ディスクに対応した上記第1の波長より長い第2の波長の光ビームを出射する第2の出射部と、上記第1及び第2の光ディスクとは異なる種類の第3の光ディスクに対応した上記第2の波長より長い第3の波長の光ビームを出射する第3の出射部と、上記第1乃至第3の出射部から出射された光ビームを光ディスクの信号記録面上に集光する集光光学デバイスと、上記第1乃至第3の波長の光ビームの光路上に配置される集光光学デバイスに設けられる回折部とを備え、上記回折部は、最内周部に設けられ略円形状の光ビームを回折する第1の領域と、上記第1の領域の外側に設けられ輪帯状の光ビームを回折する第2の領域と、上記第2の領域の外側に設けられ輪帯状の第3の領域とを有し、上記第1の領域は、輪帯状で且つ所定の深さを有する第1の回折構造が形成され、通過する上記第1の波長の光ビームの上記集光光学デバイスを介して第1の光ディスクの信号記録面に集光する次数の回折光を発生させ、通過する上記第2の波長の光ビームの上記集光光学デバイスを介して第2の光ディスクの信号記録面に集光する次数の回折光を発生させ、通過する上記第3の波長の光ビームの上記集光光学デバイスを介して第3の光ディスクの信号記録面に集光する次数の回折光を発生させ、上記第2の領域は、輪帯状で且つ所定の深さを有し上記第1の回折構造とは異なる構造の第2の回折構造が形成され、通過する上記第1の波長の光ビームの上記集光光学デバイスを介して第1の光ディスクの信号記録面に集光する次数の回折光を発生させ、通過する上記第2の波長の光ビームの上記集光光学デバイスを介して第2の光ディスクの信号記録面に集光する次数の回折光を発生させるとともに、通過する上記第3の波長の光ビームの上記集光光学デバイスを介して第3の光ディスクの信号記録面に集光する次数以外の次数の回折光が支配的となるように発生させ、上記第3の領域は、通過する上記第1の波長の光ビームを上記集光光学デバイスを介して第1の光ディスクの信号記録面に集光させるとともに、通過する上記第2の波長の光ビームを上記集光光学デバイスを介して第2の光ディスクの信号記録面に集光させない状態とし、通過する上記第3の波長の光ビームを上記集光光学デバイスを介して第3の光ディスクの信号記録面に集光させない状態とし、上記第1の回折構造は、少なくとも第1の基礎構造と第2の基礎構造とを重畳するように形成された光路差付与構造であり、上記第1の基礎構造は、凹凸形状とされた単位周期構造が各輪帯の半径方向に連続的に形成された周期構造であることにより、上記第1及び第2の波長に対して上記集光する次数の回折光を発生させるように光路差を付与する光路差付与構造であり、上記第2の基礎構造は、上記第2の基礎構造を通過する上記第1の波長の光ビームの0次光が支配的となるように発生させ、上記第2の基礎構造を通過する上記第2の波長の光ビームの0次光が支配的となるように発生させ、上記第2の基礎構造を通過する上記第3の波長の光ビームの0次以外の次数の回折光が支配的となるように発生させるように光路差を付与する光路差付与構造であり、上記第2の回折構造は、凹凸形状とされた単位周期構造が各輪帯の半径方向に連続的に形成された周期構造であり、上記第1の回折構造の上記第1の基礎構造は、凹凸形状とされた単位周期構造が各輪帯の半径方向に連続的に形成された周期構造であり、下記の(1)式を満たし、上記第2の回折構造は、凹凸形状とされた単位周期構造が各輪帯の半径方向に連続的に形成された周期構造であり、下記の(2)式を満たす。
4≦N≦39 (1)式
3≦N≦25 (2)式
ここで、Nは、上記第1の領域の第1の回折構造の上記第1の基礎構造における周期構造の周期数を示し、Nは、上記第2の領域の第2の回折構造における周期構造の周期数を示す。
また、本発明に係る光ディスク装置は、少なくとも第1の光ディスクと、上記第1の光ディスクとは異なる種類の第2の光ディスクと、上記第1及び第2の光ディスクとは異なる種類の第3の光ディスクとから任意に選択され、回転駆動される光ディスクに対し、波長を異にする複数の光ビームを選択的に照射することにより情報信号の記録及び/又は再生を行う光ピックアップとを備え、この光ディスク装置に用いる光ピックアップとして、上述したようなものを用いたものである。
本発明は、回折部により、それぞれ使用波長を異にする3種類の光ディスクに対して、共通の一の対物レンズを用いてそれぞれ対応する光ビームを信号記録面に適切に集光することを可能として、構成を複雑にすることなく、対物レンズを共通とした3波長互換を実現してそれぞれの光ディスクに対して良好な信号の記録及び/又は再生を実現する。
また、本発明は、回折部を構成する第1及び第2の回折構造が、下記の(1)式及び(2)式を満たすような周期数N,Nとされ且つ凹凸形状とされた単位周期構造が各輪帯の半径方向に連続的に形成された周期構造が形成されていることにより、光利用効率を高めることができるとともに、不要光の入射を低減させることができる。
4≦N≦39 (1)式
3≦N≦25 (2)式
以下、本発明を適用した光ピックアップを用いた光ディスク装置について、図面を参照して説明する。
本発明を適用した光ディスク装置1は、図1に示すように、光ディスク2から情報記録再生を行う光ピックアップ3と、光ディスク2を回転操作する駆動手段としてのスピンドルモータ4と、光ピックアップ3を光ディスク2の径方向に移動させる送りモータ5とを備えている。この光ディスク装置1は、フォーマットの異なる3種類の光ディスク及び記録層が積層化された光ディスクに対して情報の記録及び/又は再生を行うことができる3規格間互換性を実現した光ディスク装置である。
ここで用いられる光ディスクは、例えば、発光波長が785nm程度の半導体レーザを用いたCD(Compact Disc)、CD−R(Recordable)、CD−RW(ReWritable)等の光ディスクや、発光波長を655nm程度の半導体レーザを用いたDVD(Digital Versatile Disc)、DVD−R(Recordable)、DVD−RW(ReWritable)、DVD+RW(ReWritable)等の光ディスクや、さらに発光波長が短い405nm程度(青紫色)の半導体レーザを用いた高密度記録が可能なBD(Blu-ray Disc(登録商標))等の高密度記録光ディスクである。
特に、以下で光ディスク装置1により情報の再生又は記録を行う3種類の光ディスク2として、0.1mm程度の第1の厚さで形成された保護層を有し波長405nm程度の光ビームを記録再生光として使用する高密度記録が可能な上述したBD等の第1の光ディスク11と、0.6mm程度の第2の厚さで形成された保護層を有し波長655nm程度の光ビームを記録再生光として使用するDVD等の第2の光ディスク12と、1.1mm程度の第3の厚さで形成された保護層を有し波長785nm程度の光ビームを記録再生光として使用するCD等の第3の光ディスク13とを用いるものとして説明する。
光ディスク装置1において、スピンドルモータ4及び送りモータ5は、ディスク種類判別手段ともなるシステムコントローラ7からの指令に基づいて制御されるサーボ制御部9によりディスク種類に応じて駆動制御されており、例えば、第1の光ディスク11、第2の光ディスク12、第3の光ディスク13に応じて所定の回転数で駆動される。
光ピックアップ3は、3波長互換光学系を有する光ピックアップであり、規格の異なる光ディスクの記録層に対して異なる波長の光ビームを保護層側から照射するとともに、この光ビームの記録層における反射光を検出する。光ピックアップ3は、検出した反射光から各光ビームに対応する信号を出力する。
光ディスク装置1は、光ピックアップ3から出力された信号に基づいてフォーカスエラー信号、トラッキングエラー信号、RF信号等を生成するプリアンプ14と、プリアンプ14からの信号を復調し又は外部コンピュータ17等からの信号を変調するための信号変復調器及びエラー訂正符号ブロック(以下、信号変復調器&ECCブロックと記す。)15と、インターフェース16と、D/A,A/D変換器18と、オーディオ・ビジュアル処理部19と、オーディオ・ビジュアル信号入出力部20とを備える。
このプリアンプ14は、光検出器からの出力に基づいて、非点収差法等によってフォーカスエラー信号を生成し、また、3ビーム法、DPD法、DPP法等によってトラッキングエラー信号を生成し、更にRF信号を生成し、RF信号を、信号変復調器&ECCブロック15に出力する。また、プリアンプ14は、フォーカスエラー信号とトラッキングエラー信号とをサーボ制御部9に出力する。
信号変復調器&ECCブロック15は、第1の光ディスクに対して、データの記録を行うとき、インターフェース16又はD/A,A/D変換器18から入力されたディジタル信号に対して、LDC−ECC及びBIS等のエラー訂正方式によってエラー訂正処理を行い、次いで、1−7PP方式等の変調処理を行う。また、信号変復調器&ECCブロック15は、第2の光ディスクに対してデータを記録するとき、PC(Product Code)等のエラー訂正方式に従ってエラー訂正処理を行い、次いで、8−16変調等の変調処理を行う。更に、信号変復調器&ECCブロック15は、第3の光ディスクに対してデータを記録するとき、CIRC等のエラー訂正方式によってエラー訂正処理を行い、次いで、8−14変調処理等の変調処理を行う。そして、信号変復調器&ECCブロック15は、変調されたデータをレーザ制御部21に出力する。更に、信号変復調器&ECCブロック15は、各光ディスクの再生を行うとき、プリアンプ14から入力されたRF信号に基づいて復調処理を行い、更に、エラー訂正処理を行って、インターフェース16又はデータをD/A,A/D変換器18に出力する。
なお、データ圧縮してデータ記録するときには、圧縮伸長部を信号変復調器&ECCブロック15とインターフェース16又はD/A,A/D変換器18との間に設けても良い。この場合、データは、MPEG2やMPEG4といった方式でデータが圧縮される。
サーボ制御部9は、プリアンプ14からフォーカスエラー信号やトラッキングエラー信号が入力される。サーボ制御部9は、フォーカスエラー信号やトラッキングエラー信号が0となるようなフォーカスサーボ信号やトラッキングサーボ信号を生成し、これらのサーボ信号に基づいて、対物レンズを駆動する2軸アクチュエータ等の対物レンズ駆動部を駆動制御する。また、プリアンプ14からの出力より、同期信号等を検出して、CLV(Constant Linear Velocity)やCAV(Constant Angular Velocity)、更にはこれらの組み合わせの方式等で、スピンドルモータをサーボ制御する。
レーザ制御部21は、光ピックアップ3のレーザ光源を制御する。特に、この具体例では、レーザ制御部21は、記録モード時と再生モード時とでレーザ光源の出力パワーを異ならせる制御を行っている。また、光ディスク2の種類に応じてもレーザ光源の出力パワーを異ならせる制御を行っている。レーザ制御部21は、ディスク種類判別部22によって検出された光ディスク2の種類に応じて光ピックアップ3のレーザ光源を切り換えている。
ディスク種類判別部22は、第1〜第3の光ディスク11,12,13の間の表面反射率、形状的及び外形的な違い等から反射光量の変化を検出し光ディスク2の異なるフォーマットを検出することができる。
光ディスク装置1を構成する各ブロックは、ディスク種類判別部22における検出結果に応じて、装着される光ディスク2の仕様に基づく信号処理ができるように構成されている。
システムコントローラ7は、ディスク種類判別部22で判別された光ディスク2の種類に応じて装置全体を制御する。また、システムコントローラ7は、ユーザからの操作入力に応じて、光ディスク最内周にあるプリマスタードピットやグルーブ等に記録されたアドレス情報や目録情報(Table Of Contents;TOC)に基づいて、記録再生を行う光ディスクの記録位置や再生位置を特定し、特定した位置に基づいて、各部を制御する。
以上のように構成された光ディスク装置1は、スピンドルモータ4によって、光ディスク2を回転操作し、サーボ制御部9からの制御信号に応じて送りモータ5を駆動制御し、光ピックアップ3を光ディスク2の所望の記録トラックに対応する位置に移動することで、光ディスク2に対して情報の記録再生を行う。
具体的には、光ディスク装置1により記録再生するときには、サーボ制御部9は、CAVやCLVやこれらの組み合わせで光ディスク2を回転する。光ピックアップ3は、光源から光ビームを照射して光検出器により光ディスク2からの戻りの光ビームを検出し、フォーカスエラー信号やトラッキングエラー信号を生成し、これらフォーカスエラー信号やトラッキングエラー信号に基づいて対物レンズ駆動機構により対物レンズを駆動してフォーカスサーボ及びトラッキングサーボを行う。
また、光ディスク装置1により記録する際には、外部コンピュータ17からの信号がインターフェース16を介して信号変復調器&ECCブロック15に入力される。信号変復調器&ECCブロック15は、インターフェース16又はA/D変換器18から入力されたディジタルデータに対して上述したような所定のエラー訂正符号を付加し、更に所定の変調処理を行った後に記録信号を生成する。レーザ制御部21は、信号変復調器&ECCブロック15で生成された記録信号に基づいて、光ピックアップ3のレーザ光源を制御して、所定の光ディスクに記録する。
また、光ディスク2に記録された情報を光ディスク装置1により再生する際には、光検出器で検出された信号に対して、信号変復調器&ECCブロック15が復調処理を行う。信号変復調器&ECCブロック15により復調された記録信号がコンピュータのデータストレージ用であれば、インターフェース16を介して外部コンピュータ17に出力される。これにより、外部コンピュータ17は、光ディスク2に記録された信号に基づいて動作することができる。また、信号変復調器&ECCブロック15により復調された記録信号がオーディオ・ビジュアル用であれば、D/A変換器18でデジタルアナログ変換され、オーディオ・ビジュアル処理部19に供給される。そしてオーディオ・ビジュアル処理部19でオーディオ・ビジュアル処理が行われ、オーディオ・ビジュアル信号入出力部20を介して、図示しない外部のスピーカやモニターに出力される。
ここで、上述した光ディスク装置1に用いられる記録再生用の光ピックアップ3等について詳しく説明する。
次に、上述した光ディスク装置1に用いられる本発明を適用した光ピックアップ3について、図2〜図42を用いて詳しく説明する。この光ピックアップ3は、上述したように、保護層の厚さ等のフォーマットが異なる3種類の第1乃至第3の光ディスク11,12,13から任意に選択された光ディスクに対し波長を異にする複数の光ビームを選択的に照射することにより情報信号の記録及び/又は再生を行う光ピックアップである。
本発明を適用した光ピックアップ3は、図2に示すように、第1の波長の光ビームを出射する第1の出射部を有する第1の光源部31と、第1の波長より長い第2の波長の光ビームを出射する第2の出射部を有する第2の光源部32と、第2の波長より長い第3の波長の光ビームを出射する第3の出射部を有する第3の光源部33と、この第1乃至第3の出射部から出射された光ビームを光ディスク2の信号記録面上に集光する集光光学デバイスとして機能する対物レンズ34とを備える。
また、光ピックアップ3は、第2及び第3の出射部と対物レンズ34との間に設けられ、第2の出射部から出射された第2の波長の光ビームの光路と第3の出射部から出射された第3の波長の光ビームの光路とを合成する光路合成手段として第1のビームスプリッタ36と、第1のビームスプリッタ36と対物レンズ34との間に設けられ、第1のビームスプリッタ36で光路を合成された第2及び第3の波長の光ビームの光路と、第1の出射部から出射された第1の波長の光ビームの光路とを合成する光路合成手段として第2のビームスプリッタ37と、第2のビームスプリッタ37と対物レンズ34との間に設けられ、第2のビームスプリッタ37で光路を合成された第1乃至第3の波長の光ビームの往路の光路と、光ディスクで反射された第1乃至第3の波長の光ビームの戻り(以下、「復路」ともいう。)の光路とを分離する光路分離手段として第3のビームスプリッタ38とを有する。
さらに、光ピックアップ3は、第1の光源部31の第1の出射部と第2のビームスプリッタ37との間に設けられ、第1の出射部から出射された第1の波長の光ビームをトラッキングエラー信号等の検出のために3ビームに回折する第1のグレーティング39と、第2の光源部32の第2の出射部と第1のビームスプリッタ36との間に設けられ、第2の出射部から出射された第2の波長の光ビームをトラッキングエラー信号等の検出のために3ビームに回折する第2のグレーティング40と、第3の光源部33の第3の出射部と第1のビームスプリッタ36との間に設けられ、第3の出射部から出射された第3の波長の光ビームをトラッキングエラー信号等の検出のために3ビームに回折する第3のグレーティング41とを有する。
また、光ピックアップ3は、第3のビームスプリッタ38と対物レンズ34との間に設けられ、第3のビームスプリッタ38で光路を合成された第1乃至第3の波長の光ビームの発散角を変換して略平行光の状態又は略平行光に対して拡散若しくは収束した状態となるように調整して出射させる発散角変換手段としてのコリメータレンズ42と、コリメータレンズ42と対物レンズ34との間に設けられ、コリメータレンズ42に発散角を調整された第1乃至第3の波長の光ビームに1/4波長の位相差を与える1/4波長板43と、対物レンズ34と1/4波長板43との間に設けられ、対物レンズ34の光軸に略直交する平面内で上述した光学部品を経由された光ビームを反射して立ち上げることにより対物レンズ34の光軸方向に光ビームを出射させる立ち上げミラー44とを有する。
さらに、光ピックアップ3は、第3のビームスプリッタ38で往路の第1乃至第3の波長の光ビームの光路から分離された復路の第1乃至第3の波長の光ビームを受光して検出する光検出器45と、第3のビームスプリッタ38と光検出器45との間に設けられ、第3のビームスプリッタ38で分離された復路の第1乃至第3の波長の光ビームを光検出器45のフォトディテクタ等の受光面に集光させるとともにフォーカスエラー信号等の検出のための非点収差を付与するマルチレンズ46とを有する。
第1の光源部31は、第1の光ディスク11に対して405nm程度の第1の波長の光ビームを出射する第1の出射部を有する。第2の光源部32は、第2の光ディスク12に対して655nm程度の第2の波長の光ビームを出射する第2の出射部を有する。第3の光源部33は、785nm程度の第3の光ディスクに対して第3の波長の光ビームを出射する第3の出射部を有する。尚、ここでは、第1乃至第3の出射部をそれぞれ別々の光源部31,32,33に配置するように構成したが、これに限られるものではなく、第1乃至第3の出射部の内2つの出射部を有する光源部と、残りの1つの出射部を有する光源部とを異なる位置に配置するように構成してもよく、さらに、第1乃至第3の出射部を略同一位置に有する光源部となるように構成してもよい。
対物レンズ34は、入射した第1乃至第3の波長の光ビームを光ディスク2の信号記録面上に集光させる。この対物レンズ34は、図示しない2軸アクチュエータ等の対物レンズ駆動機構によって移動自在に保持されている。そして、この対物レンズ34は、光検出器45で検出された光ディスク2からの戻り光のRF信号により生成されたトラッキングエラー信号及びフォーカスエラー信号に基づいて、2軸アクチュエータ等により移動操作されることにより、光ディスク2に近接離間する方向及び光ディスク2の径方向の2軸方向へ移動される。対物レンズ34は、第1乃至第3の出射部から出射される光ビームが光ディスク2の信号記録面上で常に焦点が合うように、この光ビームを集束するとともに、この集束された光ビームを光ディスク2の信号記録面上に形成された記録トラックに追従させる。尚、後述のように回折部50を対物レンズとは別体の光学素子(回折光学素子35B)に設ける場合(図41参照)には、対物レンズ34Bが保持される対物レンズ駆動機構のレンズホルダに、この対物レンズ34Bと一体となるように後述の回折光学素子35Bを保持するように構成されることになり、かかる構成により、対物レンズ34Bのトラッキング方向への移動等の視野振りの際にも回折光学素子35Bに設けた回折部50の後述の作用効果を適切に発揮することができる。
また、対物レンズ34は、その一方の面として例えば、入射側の面に複数の回折領域からなる回折部50が設けられており、この回折部50により、複数の回折領域毎に通過する第1乃至第3の波長の光ビームのそれぞれを所定の回折次数となるように回折して、所定の発散角を有する拡散状態又は収束状態の光ビームとして対物レンズ34に入射させるのと同様の状態とすることで、この単一の対物レンズ34を用いて第1乃至第3の波長の光ビームをそれぞれに対応する3種類の光ディスクの信号記録面に球面収差を発生しないように適切に集光することを可能とする。回折部50を有する対物レンズ34は、基準となる屈折力を発生させるレンズ面形状を基準として回折力を発生させる回折構造が形成されていることにより、3つの異なる波長の光ビームをそれぞれに対応する光ディスクの信号記録面に球面収差を発生しないように適切に集光する集光光学デバイスとして機能する。また、このように対物レンズ34は、屈折素子の機能と回折素子の機能を兼ね備えており、すなわち、レンズ曲面による屈折機能と、一方の面に設けられた回折部50による回折機能とを兼ね備えるものである。
ここで、回折部50の回折機能について概念的に説明するために、後述のように、回折部50が屈折力を有する対物レンズ34Bと別体の回折光学素子35Bに設けられていた場合(図41参照)を例に挙げて説明する。後述のように屈折機能のみを有する対物レンズ34Bとともに用いられ、回折部50を有する回折光学素子35Bは、例えば、図3(a)に示すように、回折部50を通過した第1の波長の光ビームBB0を+1次回折光BB1となるように回折して対物レンズ34Bに入射させ、すなわち、所定の発散角を有する拡散状態の光ビームとして対物レンズ34Bに入射させることで、第1の光ディスク11の信号記録面に適切に集光させ、図3(b)に示すように、回折部50を通過した第2の波長の光ビームBD0を−1次回折光BD1となるように回折して対物レンズ34Bに入射させ、すなわち、所定の発散角を有する収束状態の光ビームとして対物レンズ34Bに入射させることで、第2の光ディスク12の信号記録面に適切に集光させ、図3(c)に示すように、回折部50を通過した第3の波長の光ビームBC0を−2次回折光BC1となるように回折して対物レンズ34Bに入射させ、すなわち、所定の発散角を有する収束状態の光ビームとして対物レンズ34Bに入射させることで、第3の光ディスク13の信号記録面に適切に集光させることにより、単一の対物レンズ34Bを用いて3種類の光ディスクの信号記録面に球面収差を発生しないように適切に集光することを可能とする。尚、ここでは、回折部50の複数の回折領域において、同じ波長の光ビームを同じ回折次数の回折光とする例について図3を用いて説明したが、本発明を適用した光ピックアップ3を構成する回折部50は、後述のように、各領域毎に各波長に対する回折次数を設定し、適切な開口制限を行うとともに球面収差を低減するように構成することを可能とする。以上では、説明のため回折部50を対物レンズと別体の光学素子に設けた場合を例に挙げて説明したが、ここで説明する対物レンズ34の一方の面に一体に設けた回折部50もその回折構造に応じた回折力を付与することで同様の機能を有するものであり、回折部50の回折力と、対物レンズ34の基準となるレンズ曲面による屈折力により、各波長の光ビームを対応する光ディスクの信号記録面に球面収差を発生しないように適切に集光することを可能とする。
上述及び以下の回折次数の記載において、入射した光ビームに対して、進行方向に進むにつれて光軸側に近接する方向に回折する回折次数を正の回折次数とし、進行方向に進むにつれて光軸から離間する方向に回折する回折次数を負の回折次数とする。換言すると、入射した光ビームに対して光軸方向に向かって回折する回折次数を正の回折次数とする。
具体的に、図4(a)及び図4(b)に示すように、対物レンズ34の入射側の面に設けられた回折部50は、最内周部に設けられ略円形状の第1の回折領域(以下、「内輪帯」ともいう。)51と、第1の回折領域51の外側に設けられ輪帯状の第2の回折領域(以下、「中輪帯」ともいう。)52と、第2の回折領域52の外側に設けられ輪帯状の第3の回折領域(以下、「外輪帯」ともいう。)53とを有する。
内輪帯である第1の回折領域51は、輪帯状で且つ所定の深さを有する第1の回折構造が形成され、通過する第1の波長の光ビームの対物レンズ34を介して第1の光ディスクの信号記録面に適切なスポットを形成するように集光する回折次数の回折光が支配的となるように、すなわち、他の回折次数の回折光に対して最大の回折効率となるように発生させる。
また、第1の回折領域51は、第1の回折構造により、通過する第2の波長の光ビームの対物レンズ34を介して第2の光ディスクの信号記録面に適切なスポットを形成するように集光する回折次数の回折光が支配的となるように、すなわち、他の回折次数の回折光に対して最大の回折効率となるように発生させる。
また、第1の回折領域51は、第1の回折構造により、通過する第3の波長の光ビームの対物レンズ34を介して第3の光ディスクの信号記録面に適切なスポットを形成するよう集光する回折次数の回折光が支配的となるように、すなわち、他の回折次数の回折光に対して最大の回折効率となるように発生させる。
このように、第1の回折領域51は、上述の各波長の光ビームに対して上述の所定の回折次数の回折光が支配的となるのに適するような回折構造が形成されているため、第1の回折領域51を通過して所定の回折次数の回折光とされた各波長の光ビームが対物レンズ34によりそれぞれの光ディスクの信号記録面に集光される際の球面収差を補正して低減することを可能とする。尚、この第1の回折領域51及び後述で詳細に説明する第2及び第3の回折領域52,53において、各波長の光ビームに対して支配的となるように選択される所定の回折次数の回折光には、透過光、すなわち、0次光が含まれるものとして、上述及び後述する。
また、第1の回折構造は、輪帯状で、基準面に対して複数の段部等からなる凹凸形状とされた単位周期構造が輪帯の半径方向に連続的に形成された周期構造である。ここで、第1の回折構造は、単位周期構造のピッチが一定又は連続的に変化して設けられ、基準面に対する各段部の光軸方向の高さ及び1周期の幅に対する各段部の幅の割合が周期的とされて形成されている。
具体的には、第1の回折領域51は、図4及び図5(a)に示すように、光軸を中心とした輪帯状で基準面に対してこの輪帯の断面形状が、所定の深さ(以下、「溝深さ」ともいう。)dで所定のステップ数S(Sは、正の整数とする。)の階段形状(以下、「マルチステップの階段形状」ともいう。)を1周期として、半径方向に連続して、所定の周期数Niで形成されている。ここで、上述の回折構造における輪帯の断面形状とは、輪帯の半径方向を含む面、すなわち、輪帯の接線方向に直交する面における断面形状を意味する。
また、この基準面は、対物レンズ34の屈折素子の機能として要求される入射側の面の面形状を意味するものとする。そして、この第1の回折領域51には、実際には図4(a)に示すように、対物レンズ34の屈折素子の機能として要求される入射側の面の面形状を基準面として、この基準面に対して、図5(a)に示すような回折機能を有する回折構造となる輪帯状で階段形状の面形状を合わせたような面形状が形成されているが、図4(a)〜図4(c)及び後述の図12では、説明のためその基準面に対する回折構造の形状のみを示すとともに、以下の説明においても基準面に対する形状について説明するものとする。尚、回折部50を対物レンズと別体の光学素子(後述の回折光学素子35B)に設けた場合には、図4(a)〜図4(c)に示す形状が、当該回折光学素子35Bの断面形状となる。また、この図4等で示した回折構造は、実際には後述のように微小な寸法で形成されており、図4等は拡大断面を示すものである。
また、ここで、所定のステップ数Sの階段形状を有する回折構造とは、各段の深さが略同一深さとされた第1乃至第Sの段部を有する階段部が半径方向に連続して形成されている構造であり、さらに、換言すると光軸方向に略同一間隔に形成された第1乃至第(S+1)の回折面を有して形成されている構造である。また、回折構造における所定の深さdは、階段形状の最も表面側(最高段、浅い位置)に位置される第(S+1)の回折面と、階段形状の最も素子側(最低段、深い位置)に位置される第1の回折面との光軸方向の長さを意味する。尚、図5(a)において、階段形状の各階段部内において段部が半径方向の内側に向けて形成、すなわち、段部が半径方向の内側に向かうにつれて表面側に向けて形成されるように構成したが、この理由は内輪帯において後述するような回折次数が最大回折効率次数として選択されているからである。また、図5(b)、図5(c)及び後述の図12においては、内輪帯と同様に、鋸歯形状の凹凸の斜面又は階段形状の段部の形成方向が半径方向の内側に向かうにつれて表面側に向けて形成されるような例について図示しているが、これに限られるものではなく、選択される回折次数に応じてブレーズ形状又は階段形状の形成方向が設定されることとなる。図5(a)〜図5(c)中Rは、輪帯の半径方向外側に向けた方向を示し、すなわち、光軸から離間する方向を示すものである。
尚、第1の回折領域51に形成される第1の回折構造並びに後述の第2及び第3の回折構造において、溝深さd及びステップ数Sは、支配的となる回折次数、及び回折効率を考慮して決定されている。また、各段部の溝幅(階段形状の各段部の半径方向の寸法)は、図5(a)に示すように、一の階段部内において、等しく形成されているとともに、半径方向に連続して形成されている異なる階段部間において、光軸から離間するにつれてその値が小さくなるように形成されている。尚、ここでは上述のように構成するものとして説明したが、各段部の溝幅が、半径方向に連続して形成されている異なる階段部間において、光軸から離間するにつれてその値が大きくなるように形成される場合もある。この点については、図5(b)及び図5(c)についても同様である。尚、この溝幅は、光ディスクの信号記録面上で集光されるスポットが最適となるように、この溝幅で形成された回折領域で与える位相差に基づいて決定されている。
例えば、第1の回折領域51の第1の回折構造は、図5(a)に示すように、ステップ数が4(S=4)とされた回折構造であり、各段の深さが略同一深さ(d/4)とされた第1乃至第4の段部51s1,51s2,51s3,51s4を有する階段部を1周期として、半径方向に連続して、所定の周期数Nで形成されており、また、光軸方向に間隔が(d/4)で同一間隔に形成された第1乃至第5の回折面51f1,51f2,51f3,51f4,51f5を有して形成されている。
また、第1の回折領域51は、通過する第1の波長の光ビームの回折次数k1iの回折光が支配的となるよう、すなわち、回折効率が最大となるように発生させ、また、通過する第2の波長の光ビームの回折次数k2iの回折光が支配的となるよう、すなわち、回折効率が最大となるように発生させ、また、通過する第3の波長の光ビームの回折次数k3iの回折光が支配的となるように発生させる場合に、k1i≧k2i>k3iの関係を有するように構成されている。
このように、第1の回折領域51は、k1i≧k2i>k3iの関係を有するように回折光を発生させる構成により、適切に球面収差を低減できる回折次数の回折光を支配的にするとともに、作動距離と焦点距離との関係を最適な状態にすることができ、第3の波長λを用いる場合の作動距離を確保することにより第1の波長λに対する焦点距離が長くなり、これにより対物レンズのレンズ径や光ピックアップ全体として大型化してしまう等の問題を防止するとともに、回折効率を確保しつつ収差を低減させることができる。
ここで、第1の回折領域51において、k1i≧k2i>k3iの関係を有するように構成する理由を含めた最適な回折次数を選択する手法について以下の第1乃至第4の観点から説明する。換言すると、第1の回折領域51は、第1の観点として、各波長における球面収差を低減する必要があり、第2の観点として、各波長における作動距離及び焦点距離を最適なものにする必要があり、第3及び第4の観点として、製造上有利及び製造可能な構成とする必要があり、これらのことに鑑みて回折次数k1i,k2i,k3iが最大の回折効率となる回折次数として選択されているが、この点について以下に説明する。
まず、第1の観点について説明する。第1の観点としては、内輪帯である第1の回折領域51における回折次数は、対物レンズ34による集光時に、対応する各光ディスクの球面収差を補正できる回折次数とする必要がある。一般的に、第1の回折領域51のような機能を有する領域において、材料分散を無視した場合、第1の波長をλ(nm)とし、第2の波長をλ(nm)とし、第3の波長をλ(nm)とし、第1の波長の光ビームの選択される回折次数をk1iとし、第2の波長の光ビームの選択される回折次数をk2iとし、第3の波長の光ビームの選択される回折次数をk3iとし、第1の光ディスクの第1の保護層の厚さをt(mm)とし、第2の光ディスクの第2の保護層の厚さをt(mm)とし、第3の光ディスクの第3の保護層の厚さをt(mm)としたときに、下記の(8)式(内輪帯においてこの条件式中のk1x,k2x,k3xのxは、x=iとする)を満たすことが各波長の各光ディスクの信号記録面上の球面収差を補正して低減できる条件であることが知られている。
(λ×k1x−λ×k2x)/(t−t)≒(λ×k1x−λ×k3x)/(t−t) (8)式
ここで、内輪帯としての第1の回折領域51においては、λ=405(nm)、λ=655(nm)、λ=785(nm)、t=0.1(mm)、t=0.6(mm)、t=1.1(mm)としたときに、例えば、後述のように最適な組み合わせの一例としてのk1i=+1、k2i=−1、k3i=−2の場合には、この条件式を満足することとなり、球面収差を低減できることが確認できた。また、このことは、換言すると、図6に示すように横軸に波長×回折次数(nm)により算出される値を、縦軸に保護層厚さ(mm)を設定して各点Pλ1,Pλ2,Pλ3をプロットした際に、一直線上に位置した場合に、各波長の各光ディスクの信号記録面上の球面収差を補正して低減できることを意味するが、実際に、下記の条件で各点Pλ1,Pλ2,Pλ3をプロットした場合にはおよそ一直線の設計直線上に各点が位置し、球面収差が可能であることを示している。そして、具体的に対物レンズ34は、図6に示す直線L21を設計直線として、構成材料や入射側及び出射側の面形状が決定されており、この設計直線L21の傾きは、例えば、(t−t)/(λ×k1i−λ×k2i)により算出されるPλ1とPλ2とを結ぶ直線の傾き、若しくは(t−t)/(λ×k1i−λ×k3i)により算出されるPλ1とPλ3とを結ぶ直線の傾きに略近似され、又はこれらの直線の傾きやその他の設計条件を考慮して決定されている。
尚、図6でPλ3が僅かに直線L21上から乖離しているが、これは回折部50が設けられた対物レンズ34への入射光を発散光として入射させることで球面収差を確実に補正することができる。すなわち、対物レンズ34に対して発散光を入射させることで見かけ上の保護層厚さが厚くなるのと同様な結果を得ることができるからである。尚、後述のように回折部50を対物レンズとは別体の光学素子(回折光学素子35B、図41参照)に設ける場合には、対物レンズ34B及び回折光学素子35Bのうち各出射部に近接される側の光学素子として例えば図41では回折光学素子35Bへの入射光を発散光として入射させることで球面収差を確実に補正することができる。
この点について、この補正の概念を示す図7を用いて説明する。具体的には、対物レンズ34に、第2及び第3の波長λ,λの光ビームを僅かな発散光として入射させることによって、図7に示すように、第2及び第3の波長を示すプロットPλ2’,Pλ3’は、見かけ上の保護層厚さによって、プロットPλ2,Pλ3に対して上方側へシフトすることとなる。そして、図7に示したように、発散光の倍率を適宜調整することによって、この3点Pλ1、Pλ2’、Pλ3’を直線L21’上に完全に一直線上に位置させて、保護層厚さの違い等に起因する球面収差を十分に補正することができる。この際、プロットPλ1,Pλ2’,Pλ3’が位置する直線L21’が設計直線とされることとなる。
尚、ここで、例えば第3の波長λの光ビームだけ収束光を入射させて下方側にシフトさせて各プロットを一直線上に位置させて球面収差を補正することも可能であるが、収束光を用いる場合には、作動距離が短くなり望ましくない場合があり、上述のように発散光を用いる方が望ましい。さらに、3波長互換を考慮したとき、第2及び第3の波長において発散光を対物レンズに入射させた方が、適切な戻り倍率を確保できるという観点からも有利であるといえる。
また、上述の関係式と密接に関係する図6を用いて説明したプロットPλ1,Pλ2,Pλ3を考慮すると、各回折次数k1i,k2i,k3iの間には、各回折次数の絶対値が3次程度の範囲にあるとすれば、下記の(9a)式又は(9b)式の関係式を満足させる必要がある。
1i≦k2i≦k3i (9a)式
1i≧k2i≧k3i (9b)式
次に、第2の観点について説明する。第2の観点としては、第3の波長λを用いる場合の作動距離WD3を大きく保ちつつも、第1の波長λに対する焦点距離fを小さくできる回折次数とする必要がある。一般的に、作動距離は、焦点距離fを伸ばすことによって伸びる。そして、第1の波長λに対する焦点距離fは、小さくする必要があり、第3の波長λに対する焦点距離fは、大きくする必要がある。ここで、第1の波長λに対する焦点距離fは、2.2mm以下であることが望ましい。また、第3の波長λを用いる場合の作動距離(ワーキングディスタンス)は、0.4mm程度以上を確保する必要性がある。そのためには、f=2.2mmと仮定するとともに、対物レンズ34への入射を無限入射、すなわち平行光入射と仮定した場合に、fは、2.5mm程度以上とする必要がある。上述のような3波長λ,λ,λに対応するプラスチック製の対物レンズの材料は、分散が大きいものであるが、ここでは、これを無視して、概略の値を計算するものとする。
対物レンズ34は、レンズ曲面による屈折力と、一方の面に設けられた回折部50による回折力を有している。この対物レンズ34の回折部50の回折による焦点距離fdifは、下記の(10)式に従い算出できることが知られている。(10)式中において、λは、製造波長であり、ここではλ=λとする。また、Cは、位相差関数係数と呼ばれる値であり、回折構造(回折格子)によって与えられる位相差形状を規定する係数であり、λの値により異なる値である。また、(10)式中kは、各波長λ,λ,λにおいて選択される回折次数を示すものであり、具体的には、k,k,kである。
Figure 2010055693
(10)式において、係数Cは、λ=λとしたとき絶対値が1×10−2より小さくなければ、ピッチ量が増大してしまい形成不可能となる。また、対物レンズの屈折及び回折全体の焦点距離fallは、レンズ曲面の屈折力による焦点距離をfとしたとき、上述の回折による焦点距離fdifとこのfを用いて、下記の(11)式の関係により算出される。
Figure 2010055693
このような(10)式及び(11)式に基づいて、k及びkを変化させたときの、焦点距離fの値の変化を図8に示す。図8中横軸は、回折次数kを示し、縦軸は、第3の波長λに対する焦点距離f3を示し、曲線LM3,LM2,LM1,LP0,LP1,LP2,LP3は、それぞれ回折次数k1iが−3次、−2次、−1次、0次、1次、2次、3次であった場合のk3iの変化に伴う焦点距離fの変化をプロットしたものを結んだ曲線を示すものである。尚、図8は、係数Cが最大の1×10−2であるものとし、また、第1の波長λの(11)式により算出される全体の焦点距離fallを示すfall1が、fall1=2.2(mm)であるものとして算出されたものである。そして、上述で説明した事項における回折次数であるが、実際には内輪帯の部分にしか幾何光学を適用できず、また、焦点距離等の特性は内輪帯の部分で決まるため、上述したk〜kは、k1i〜k3iと対応しており、換言すると、上述したk〜kの関係は、それぞれk1i〜k3iに置き換えた関係を有していることとなる。そして、図8より、fを2.5mm以上とするためには、下記の(12a)式の関係が成立することとなる。よって、上述した(9b)式の関係から、下記の(12b)式の関係を有することが、適切な焦点距離と作動距離を確保する上で必要となる。
1i>k3i (12a)式
1i≧k2i>k3i (12b)式
さらに、この(12b)式と後述の用いる回折次数は3次程度以下であるという観点から、k1i,k3iがそれぞれ、(k1i,k3i)=(−2,−3)、(−1,−2)、(−1,−3)、(0,−2)、(0,−3)、(1,−2)、(1,−3)、(2,−1)、(2,−2)、(2,−3)、(3,0)、(3,−1)、(3,−2)、(3,−3)の組み合わせが上述の観点から適した組み合わせであるといえる。この際,k2iは、(12b)式を満足するように決定されたものが用いられる。尚、厳密には、fの値と材料分散とによって、図8の関係が変化し、さらにfを低下させたり対物レンズへの入射倍率を発散光にしたりすることにより、fの目標値が低下するものの、回折次数の選択肢は、上述したものが適している。
次に、第3の観点について説明する。第3の観点としては、製造上有利な構成とする必要がある。選択される回折次数があまりに大きい場合には、形成する回折構造の段差・ブレーズの深さが深くなってしまう。そして、回折構造の深さが深くなると形成精度が悪化するおそれがあるほか、温度変化による光路長増大効果が大きくなり、温度回折効率特性が劣化してしまうという問題が発生するおそれがある。また、形成精度の悪化は、回折効率の効率低下を招くという問題もある。このような理由から、3〜4次程度までの回折次数を選択するのが妥当であり、一般的である。よって、上述した第2の観点では、回折次数を3次までとして検討している。
次に、第4の観点について説明する。第4の観点としては、第3の観点と似ているが製造可能な構成とする必要がある。後述する「回折構造の深さ及び形状と回折効率の計算」で説明する回折効率計算を行ったときに、深さdが適切な大きさ以下であり形成可能である必要がある。そして、深さdは、少なくとも15μm以下であることが必要である。
以上のような第1乃至第4の観点から、内輪帯である第1の回折領域51は、k1i≧k2i>k3iの関係を有する各回折光を発生させるように構成されている。
さらに、第1の回折領域51は、回折効率が最大となる各波長の回折次数k1i,k2i,k3iのうちk1i、k3iが以下で示される関係のいずれかとなるように構成されている。(k1i,k3i)=(−2,−3)、(−1,−2)、(−1,−3)、(0,−2)、(0,−3)、(1,−2)、(1,−3)、(2,−1)、(2,−2)、(2,−3)、(3,0)、(3,−1)、(3,−2)、(3,−3)。
また、第1乃至第4の観点から具体的に、後述のように、k1i,k2i,k3iが、(k1i,k2i,k3i)=(1,−1,−2)、(0,−1,−2)、(1,−2,−3)又は(0,−2,−3)である場合が最適な構成の一例である。ここで、以上のように回折次数k1i,k2i,k3iを選択したときの、回折効率等を考慮したときに選ばれるステップ数S及び溝深さdを表1のI1〜I4に示す。また、表1には、併せて上述した図6を用いて説明したプロットPλ1、Pλ2、Pλ3及び設計直線Lの関係における、以下で説明する第3の波長を示すプロットPλ3の設計直線Lからの乖離量Δを表1に示す。すなわち、この乖離量Δは、後述の図19に示すように、上述したプロットPλ1及びPλ2を結ぶ直線(以下、「球面収差補正直線」ともいう。)を設定したときに、プロットPλ3からその球面収差補正直線に向けた縦軸方向(保護層厚さを示す方向)への乖離された距離を示すものである。ここで、乖離量Δ=0である場合には、各点Pλ1,Pλ2,Pλ3が完全に一直線上にあることを示す。また、乖離量Δが正である場合には、プロットPλ3が球面収差補正直線より下側に位置することを示し、乖離量Δが負である場合には、プロットPλ3が球面収差補正直線より上側に位置することを示す。尚、ここでは、内輪帯の実施例1を示す図6においては、内輪帯の性質上この乖離量Δを図示することが困難であることから、中輪帯の実施例1で用いる図19を用いて、この乖離量Δについて説明をしたが、この乖離量Δの定義については内輪帯においても中輪帯においても同様であるものとする。表1に示すように、いずれの例も回折効率が十分に確保されており、また、乖離量Δも十分に小さいことから球面収差補正を考慮しても良好な回折次数であることが確認できる。
Figure 2010055693
次に、第1の回折領域51等における「回折構造の深さ及び形状と回折効率の計算」について具体的な実施例を挙げて説明する。ここでは、上述の各回折次数の回折光を最大の回折光とするような回折面の設計例を、実施例1の内輪帯として、図9を用いて示すものである。尚、選択した回折次数の回折量(回折効率)は、図9に示すように溝深さによって変動するので、適切な溝深さを設定すれば、各波長における選択された回折次数の回折効率を所望の程度まで大きくすることができる。
具体的に、図9は、回折構造をステップ数S=4の階段形状として、(k1i,k2i,k3i)=(+1,−1,−2)としたときの、溝深さdに対する回折効率の変化を示すものである。そして、図9(a)は、第1の波長の光ビームの+1次回折光の回折効率の変化を示す図であり、図9(b)は、第2の波長の光ビームの−1次回折光の回折効率の変化を示すとともに、後述のように不要光となる−2次回折光の回折効率の変化を示す図であり、図9(c)は、第3の波長の光ビームの−2次回折光の回折効率の変化を示すとともに、後述のように不要光となる+3次回折光の回折効率の変化を示す図である。図9(a)〜図9(c)中において横軸は、溝深さ(nm)を示し、縦軸は、回折効率(光の強度)を示す図である。そして、k1iの回折効率をeffとし、k2iの回折効率をeffとし、k3iの回折効率をeffとしたときに、横軸に示す溝深さd=3800(nm)の位置で十分な回折効率を有している。具体的に、図9(a)に示すように、eff=0.81、図9(b)に示すように、eff=0.62で、図9(c)に示すように、eff=0.57であり、十分な回折効率を有するものとなっている。図9に示すように、回折効率と溝深さとの関係は、ステップ数によっても変動するので、適切なステップ数を選択する必要性があるが、ここでは、上述のようにステップ数S=4とした。
第1の回折領域51では、内輪帯領域をステップ構造(階段形状の回折構造)としているため、この回折領域において発生する不要光の回折効率を、正規光の回折効率eff,eff,effより乖離させるのに適した構成である。ここで、正規光とは、上述のように選択した回折次数k1i,k2i,k3iの回折光を意味するもの、すなわち、回折効率が最大となる回折次数の回折光を意味するものとし、また、不要光とは、回折効率が2番目に大きくなる回折次数の回折光を意味するものとする。尚、図9並びに後述の図10及び図25中において、Lは、回折効率が最大となる回折次数の回折光の回折効率の変化を示し、Lは、ここで説明した不要光となる回折次数の回折光の回折効率の変化を示す。
この第1の回折領域51において、階段形状の回折構造を形成することにより、不要光の影響を低減できることについて説明する。この図9と比較するために、参考例として図10に、この内輪帯をブレーズ形状として形成した場合の回折効率を示す。図10は、回折構造をステップ数S=∞のブレーズ形状として、(k1i,k2i,k3i)=(+1,+1,+1)としたときの、溝深さdに対する回折効率の変化を示すものである。そして、図10(a)は、第1の波長の光ビームの+1次回折光の回折効率の変化を示す図であり、図10(b)は、第2の波長の光ビームの+1次回折光の回折効率の変化を示すとともに、不要光となる0次光の回折効率の変化を示す図であり、図10(c)は、第3の波長の光ビームの+1次回折光の回折効率の変化を示すとともに、不要光となる0次光の回折効率の変化を示す図である。図10(a)〜図10(c)中において横軸は、溝深さ(nm)を示し、縦軸は、回折効率(光の強度)を示す図である。図10に示すようにこの場合には、第2及び第3の波長の場合に0次光が不要光として効率を有することになってしまう。そして、0次光と1次光のような隣接回折次数の各光ビームは、回折角度に違いが少ない。このため、選択された回折次数k2i,k3iのいずれかの光ビームである正規光を対応する光ディスクにフォーカス状態となるように集光させると、不要光もぼやけた状態で集光することとなる。そして、この不要光も光ディスクで反射されて、不要光の反射光が受光部に照射されてしまい、受光部で得られる信号に悪影響を及ぼし、ジッター等が悪化するおそれがある。さらに、この不要光は、デフォーカスが発生した場合にその影響が大きくなるという問題も招来するおそれがある。上述した図9に示すように、階段形状の回折構造を形成することにより、図10に示す場合に比べて不要光の回折効率を低くすることができる。
すなわち、第1の回折領域51のような内輪帯の部分を階段形状のようにステップ化した場合には、不要光の回折光量を抑えるような構成とすることができる。階段形状の回折構造は、不要光の効率が低くなる溝深さを選択することができるとともに、不要光効率が高い効率となったとしても、正規光となる回折次数と、不要光となる回折次数が大きく異なるため、フォーカス時に不要光が集光することを防止することができる。具体的に、図9(b)に示すように、第2の波長における不要光効率が5%程度で寄与しない程度まで抑えることができる。また、図9(c)に示すように、第3の波長における正規光が−2次光であるのに対して、不要光は+3次光となっており、この−2次光と、+3次光とは回折角度が大きく異なるため、正規光がフォーカスしている場合にも不要光が大きくデフォーカスすることとなり、受光部に不要光が入射することによる悪影響はない。換言すると、階段形状のような所謂ステップ構造は、ブレーズ形状等に比べて正規光の回折効率を隣接する回折次数の回折光の回折効率から乖離させるのに適した構成といえるからである。
中輪帯である第2の回折領域52は、輪帯状で且つ所定の深さを有し第1の回折構造とは異なる構造とされた第2の回折構造が形成され、通過する第1の波長の光ビームの対物レンズ34を介して第1の光ディスクの信号記録面に適切なスポットを形成するよう集光する回折次数の回折光が支配的となるように、すなわち、他の回折次数の回折光に対して最大の回折効率となるように発生させる。
また、第2の回折領域52は、第2の回折構造により、通過する第2の波長の光ビームの対物レンズ34を介して第2の光ディスクの信号記録面に適切なスポットを形成するよう集光する回折次数の回折光が支配的となるように、すなわち、他の回折次数の回折光に対して最大の回折効率となるように発生させる。
また、第2の回折領域52は、第2の回折構造により、通過する第3の波長の光ビームの対物レンズ34を介して第3の光ディスクの信号記録面に適切なスポットを形成するよう集光する回折次数以外の回折次数の回折光が支配的となるように、すなわち、他の回折次数の回折光に対して最大の回折効率となるように発生させる。この点について換言すると、第2の回折領域52は、第2の回折構造により、後述のフレア化の作用等を考慮した上で、通過する第3の波長の光ビームの対物レンズ34を介して第3の光ディスクの信号記録面に適切なスポットを形成しないような回折次数の回折光が支配的となるようにされている。尚、第2の回折領域52は、第2の回折構造により、通過する第3の波長の光ビームの対物レンズ34を介して第3の光ディスクの信号記録面に適切なスポットを形成するよう集光する回折次数の回折光の回折効率を十分に低減することができる。
このように、第2の回折領域52は、上述の各波長の光ビームに対して上述の所定の回折次数の回折光が支配的となるのに適するような回折構造が形成されているため、第2の回折領域52を通過して所定の回折次数の回折光とされた第1及び第2の波長の光ビームが対物レンズ34によりそれぞれの光ディスクの信号記録面に集光される際の球面収差を補正して低減することを可能とする。
また、第2の回折領域52は、第1及び第2の波長の光ビームに対しては上述のように機能するとともに、第3の波長の光ビームについては、フレア化の影響等を考慮して、この第2の回折領域52を通過して対物レンズ34を介して第3の光ディスクの信号記録面に集光しない回折次数の回折光が支配的となるように構成されていることから、この第2の回折領域52を通過した第3の波長の光ビームが対物レンズ34に入射しても第3の光ディスクの信号記録面にはほとんど影響を与えることなく、換言すると、この第2の回折領域52を通過して対物レンズ34により信号記録面に集光される第3の波長の光ビームの光量を大幅に低減して略ゼロとして、第3の波長の光ビームに対して開口制限を行うよう機能することができる。
ところで、上述した第1の回折領域51は、その領域を通過した第3の波長の光ビームが、NA=0.45程度で開口制限される光ビームと同様の状態で対物レンズ34に入射するような大きさに形成されており、また、この第1の回折領域51の外側に形成される第2の回折領域52は、この領域を通過した第3の波長の光ビームを、対物レンズ34を介して第3の光ディスク上に集光させないため、かかる構成とされた第1及び第2の回折領域51,52を備える回折部50は、第3の波長の光ビームに対して、NA=0.45程度に開口制限を行うように機能することとなる。ここでは、回折部50において、第3の波長の光ビームに対して開口数NAを0.45程度に開口制限を行うように構成したが、上述の構成により制限される開口数はこれに限られるものではない。
また、第2の回折構造は、輪帯状で、基準面に対して複数の段部等からなる凹凸形状とされた単位周期構造が輪帯の半径方向に連続的に形成された周期構造である。ここで、第2の回折構造は、単位周期構造のピッチが一定又は連続的に変化して設けられ、基準面に対する各段部の光軸方向の高さ及び1周期の幅に対する各段部の幅の割合が周期的とされて形成されている。また、上述の凹凸形状には、ブレーズ形状が含まれるものとして説明する。すなわち、第2の回折構造は、複数の段部又はブレーズからなる所定の形状の単位周期構造が形成されている。
具体的には、第2の回折領域52は、図4及び図5(b)に示すように、光軸を中心とした輪帯状で基準面に対してこの輪帯の断面形状が所定の深さ(以下、「溝深さ」ともいう。)dのブレーズ形状を1周期として、半径方向に連続して、所定の周期数Nで形成されている。
また、ここでは、輪帯の断面形状がブレーズ形状となるような回折構造を有する第2の回折領域が形成されているものとして説明するが、上述のような各波長の光ビームに対して所定の回折次数の光ビームが支配的となるような凹凸形状とされた単位周期構造が各輪帯の半径方向に連続的に形成された周期構造であればよく、例えば、輪帯の断面形状が、図12に示すような、光軸を中心とした輪帯状で基準面に対してこの輪帯の断面形状が所定の深さdで所定のステップ数Sの階段形状を1周期として、半径方向に連続して、所定の周期数Nで形成された回折領域52Bが形成されるように構成してもよい。
図12に示すように、中輪帯として階段形状が形成される場合の回折領域52Bは、光軸を中心とした輪帯状でこの輪帯の断面形状が所定の深さdで所定のステップ数Sの階段形状を1周期として、半径方向に連続して、所定の周期数Nで形成されている。尚、ここで、第2の回折領域52Bは、第1の回折領域51の場合と比べてd及び/又はSの数値が異なっており、すなわち、第1の回折領域51に設けられた第1の回折構造とは異なる第2の回折構造が形成されている。例えば、図12に示す第2の回折領域52Bの回折構造は、ステップ数が5(S=5)とされた回折構造であり、各段の深さが略同一深さ(d/3)とされた第1乃至第5の段部52Bs1,52Bs2,52Bs3,52Bs4,52Bs5を有する階段部を1周期として、半径方向に連続して、所定の周期数Nで形成されており、また、光軸方向に間隔が(d/5)で同一間隔に形成された第1乃至第6の回折面52Bf1,52Bf2,52Bf3,52Bf4,52Bf5,52Bf6を有して形成されている。
また、第2の回折領域52は、通過する第1の波長の光ビームの回折次数k1mの回折光が支配的となるよう、すなわち、回折効率が最大となるように発生させ、また、通過する第2の波長の光ビームの回折次数k2mの回折光が支配的となるよう、すなわち、回折効率が最大となるように発生させ、また、通過する第3の波長の光ビームの回折次数k3mの回折光が支配的、すなわち、回折効率が最大となるように発生させる場合に、回折次数k1m,k2m,k3mが以下の第1乃至第3の観点から決定された関係となるように構成されている。
まず、第1の観点について説明する。第1の観点としては、最大の回折効率となる回折次数k1m,k2m,k3mが、上述の(8)式の関係式(中輪帯においてこの条件式中のk1x、k2x、k3xのxは、x=mとする)を満たさないことである。これは、中輪帯領域において、k1m,k2m,k3mが(8)式を満たす場合には、第3の波長の回折次数k3mの回折光が第3の光ディスクの信号記録面に結像されてしまうからである。このような場合には、第3の波長に対する開口制限が実現できなくなってしまう。
換言すると、第2の回折領域52は、第1及び第2の光ディスクの信号記録面に適切なスポットを形成するよう対物レンズ34を介して集光する第1及び第2の波長の光ビームの回折次数k1m,k2mの回折光の回折効率を高い状態で発生させるとともに、第3の光ディスクの信号記録面に集光する第3の波長の光ビームの回折次数の回折効率を極力抑えて開口制限機能を有するように構成してもよいが、この(8)式の関係を満たさないようにすることにより、この第3の波長の光ビームにおけるこの回折次数の光ビームを第3の光ディスクの信号記録面に焦点を結像させた状態からずらして、実質的に第3の光ディスクの信号記録面に集光される光ビームの光量をさらに低減させるものである。以下では、この所定の波長の光ビームの対物レンズ34を介して結像される位置を対応する光ディスクの信号記録面からずらして、実質的に信号記録面に集光されるこの波長の光ビームの光量を低減させることを、「フレア化」といい、詳細は後述する。
尚、第3の波長に関しては、最大の回折効率を有する回折次数k3mのみでなく、所定の回折効率を有する全ての回折次数において、これをk3mに換えて上述の関係式を上述のk1m、k2mとともに満たさないように構成する必要がある。これは、所定の効率を有する回折次数の回折光でも(8)式の関係を満たすと、その回折光が対物レンズにより集光されて、開口制限を適切に行うことができないからである。ここで、所定の回折効率とは、この領域を通過した光ビームが光ディスクに照射され、その光ディスクで反射された光ビームが受光部に入射した場合に、正規の開口範囲内を通過した光ビームの戻り光を受光部で検出する際にノイズとなってしまう程度の効率を意味し、換言すると開口制限を適切に行うことができない程度の大きさの効率を意味するものとする。
その一方で、この第1の観点のように、(8)式の関係式を満たさない回折次数k1m,k2m,k3mを選択することにより、第3の波長に対する開口制限を良好に行うことができる。
次に、第2の観点について説明する。第2の観点としては、内輪帯で説明したのと同様に、選択する回折次数があまりに大きい場合には、回折構造の段差、溝深さ及びブレーズ深さが深くなってしまう。回折構造の深さが深くなると形成精度が悪化するおそれがあるほか、温度変化による光路長増大効果が大きくなり、温度回折効率特性が劣化してしまうという問題もある。このような理由から、3〜4次程度までの回折次数を選択するのが妥当であり、一般的である。
次に、第3の観点について説明する。第3の観点としては、内輪帯で説明したのと同様に、後述のような回折効率計算を行ったときに、深さdが適切な大きさ以下であり形成可能である必要がある。そして、深さdは、少なくとも15μm以下であることが必要である。
以上のような第1乃至第3の観点を満たすように、第2の回折領域52で所定の回折次数k1m,k2mを選択すれば良く、例えば、(k1m,k2m)=(+1,+1)、(−1,−1)、(0,+2)、(0,−2)、(0,+1)、(0,−1)、(+1,0)、(−1,0)の組み合わせ(以下、この組み合わせのことを「中輪帯の回折次数の組み合わせA」という。)の場合、及び、(k1m,k2m)=(+3,+2)、(−3,−2)、(+2,+1)、(−2,−1)の組み合わせ(以下、この組み合わせのことを「中輪帯の回折次数の組み合わせB」という。)の場合が最適な構成の一例である。ここで、この中輪帯の回折次数の組み合わせA,Bを選択したときの、中輪帯の上述の機能とともに、回折効率等を考慮したときに階段形状、ブレーズ形状から選ばれる回折構造の形状、ステップ数S(ここで、ブレーズ形状の場合は、「∞」と示す)及び溝深さdを以下の表2に示す。ここで、表2に示すように、中輪帯の回折次数の組み合わせAでは、所謂ステップ形状である階段形状の回折構造において最適な回折効率が得られる溝深さが存在し、すなわち、この組み合わせは、階段形状の回折構造に適した組み合わせであるといえる。表2中MA1〜MA4は、組み合わせAの各組み合わせの場合を示し、MB1〜MB2は、組み合わせBの各組み合わせの場合を示す。尚、この組み合わせAの場合には、非周期構造においても最適な解が得られる。また、中輪帯の回折次数の組み合わせBでは、ブレーズ形状の回折構造において最適な回折効率が得られる溝深さが存在し、すなわち、この組み合わせは、ブレーズ形状の回折構造に適した組み合わせであるといえる。尚、表2には、上述の回折次数k1m,k2mの組み合わせに適した回折構造において第3の波長の光ビームの回折効率が最大となる回折次数k3mとともに、所謂不要光として2番目に大きな回折効率を有する回折次数を「k3m’」として示している。また、表2には、各波長の回折次数k1m、k2m、k3mにおける回折効率eff,eff,effとともに第3の波長の回折次数k3m’における回折効率eff’も併せて示している。さらに、それぞれの例における、第3の波長のプロットPλ3の球面収差補正直線からの乖離量Δとともに、第3の波長の回折次数k3m’を同様にプロットした場合のこのプロット点の球面収差補正直線からの乖離量を「Δ’」として示している。尚、表2及び後述の表3中の回折次数k1m、k2m、k3m、k3m’の組み合わせは、複号同順の組み合わせである。また、表2中「※」は、eff’において、回折効率が低く効率が問題とならないことを示すものである。
Figure 2010055693
この表2に示すように、上述の組み合わせA,Bでは、いずれの場合も、回折効率が十分に確保されており、また、第3の波長の回折効率が存在する場合にも、乖離量Δが十分に大きく、すなわちこの第3の波長の光ビームに対して球面収差が大きく付与されており、結像に寄与せず、開口制限の機能を発揮していることを確認できる。このことは、フレア化の効果が得られていることを意味している。尚、この表2においては、組み合わせA,Bにおいて、溝深さdとステップ数Sの解が複数存在するものも当然存在しているが、その代表的な例としてその溝深さd及びステップ数Sの一例を示しているだけである。
また、第1乃至第3の観点を満たす、第2の回折領域52で選択される回折次数k1m,k2mは上述に限られるものではなく、例えば、(k1m,k2m)=(+1,−1)、(−1,+1)の組み合わせ(以下、この組み合わせのことを「中輪帯の回折次数の組み合わせC」という。)の場合や、(k1m,k2m)=(+1,+1)、(−1,−1)の組み合わせ(以下、この組み合わせのことを「中輪帯の回折次数の組み合わせD」という。)の場合も最適な構成の一例であるといえる。ここで、この中輪帯の回折次数の組み合わせC,Dを選択したときの、中輪帯の上述の機能とともに、回折効率等を考慮したときに選ばれる階段形状、ブレーズ形状から選ばれる回折構造の形状、ステップ数S及び溝深さdを以下の表3のMC1,MD1に示す。ここで、表3に示すように、中輪帯の回折次数の組み合わせCでは、所謂ステップ形状である階段形状の回折構造において最適な回折効率が得られる溝深さが存在し、すなわち、この組み合わせは、階段形状の回折構造に適した組み合わせであるといえる。また、中輪帯の回折次数の組み合わせDでは、ブレーズ形状の回折構造において最適な回折効率が得られる溝深さが存在し、すなわち、この組み合わせは、ブレーズ形状の回折構造に適した組み合わせであるといえる。尚、表3に示した「k1m」、「k2m」、「k3m」、「k3m’」、「eff」、「eff」、「eff」、「eff’」、「d」、「S」、「Δ」及び「Δ’」については、上述した表2で説明したのと同様である。
Figure 2010055693
この表3に示すように、上述の組み合わせC,Dでは、いずれの場合にも、回折効率が十分に確保されている。尚、表3で示した例では、乖離量Δ又は乖離量Δ’が表2で示した例に比べて十分に大きな量とはいえないが、比較的低い回折効率eff,eff’で且つある程度の乖離量Δ、Δ’が得られていることから、例えば光学系の戻り倍率を大きく設定する等の手法により開口制限を実現しつつ、不要光の影響を下げることが十分に可能である。
以上のような第2の回折領域52は、上述したような第1乃至第4の観点から、上述したような中輪帯の回折次数の組み合わせA,B,C,Dを選択することができ、このような回折次数を選択することにより、第1及び第2の波長の光ビームを高い回折効率で対応する光ディスクの信号記録面に球面収差を低減した状態で集光させることができるとともに、第3の波長の光ビームに対しては、回折効率の高い回折次数の回折光を第3の光ディスクの信号記録面に集光させないようにされていることから開口制限を行うように機能することができる。
なお、上述したように、中輪帯においては、ブレーズ形状の第2の回折領域52に換えて、階段形状の第2の回折領域52Bを用いてもよい。これは、上述の内輪帯の説明において説明したように、不要光の影響を低減するためには階段形状(ステップ構造)が有利である一方で、中輪帯は、内輪帯よりも外側に設けられ、レンズ曲面が急峻になっているため、ブレーズ形状(ブレーズ構造)の方が製造面では有利なためである。すなわち、中輪帯においては、この不要光の影響と、製造面の有利さとの微妙なバランスの中で、他の構成との関係をふまえて有利な構成を選ぶようにすればよい。
ここで、第2の回折領域52において、フレア化させること、及びその構成について説明する。上述の第1の回折領域51の説明において、上述の条件式(λ×k1x−λ×k2x)/(t−t)≒(λ×k1x−λ×k3x)/(t−t)を満たすことが要求されていることについて述べたが、この条件式(中輪帯においてこの条件式中のk1x,k2x,k3xのxは、x=mとする)は、第2の回折領域52においても考慮されるものである。そして、この中輪帯としての第2の回折領域52においては、上述のような第1及び第2の光ディスクの信号記録面に適切なスポットを形成するよう対物レンズ34を介して集光する第1及び第2の波長の光ビームの回折次数k1m,k2mの回折光を回折効率を高い状態で発生させるという機能を考慮すると、プロットされるPλ1とPλ2とを設計直線上に位置させれば良いが、さらに、第3の波長についてフレア化させるために、Pλ3について、故意にこの設計直線上から乖離させるような設計直線を選択するようにすればよい。すなわち、Pλ3について設計直線から乖離させたような設計直線に基づき形成された対物レンズ34を構成することにより、第3の波長の光ビームの当該回折次数の回折光を第3の光ディスクの信号記録面に焦点を結像させた状態からずらすことができ、実質的に第3の光ディスクの信号記録面に集光される第3の波長の光ビームの光量を低減させることができ、これにより、上述のような第3の波長の光ビームに対する開口制限を確実且つ良好に行うことを可能とする。具体的には、図19に示すような(k1m,k2m,k3m)=(+3,+2,+2)とした場合には、Pλ3が設計直線L22から乖離されており、当初から期待されていた第2の回折領域52に形成された回折構造により第3の波長の当該回折次数の回折光の回折効率を低減させる効果に加え、このフレア化の効果をさらに得て、これらの構成からさらに一層第3の光ディスクに入射してしまう第3の波長の光ビームの光量を抑えることを可能とする。
次に、第1の回折領域51及び第2の回折領域52における階段形状又はブレーズ形状とされた単位周期構造のピッチ及び単位周期構造を1周期として半径方向に連続して形成された周期構造の周期数について説明する。なお、以下、階段形状又はブレーズ形状を1周期として半径方向に連続して形成された周期構造の周期数を、単に、周期数ともいう。
上述したような対物レンズ34においては、不要光と正規光との間の乖離、すなわち不要光の集光位置と正規光の集光位置とがある程度の距離を有するように構成する必要がある。このことを考慮して、内輪帯と中輪帯とにおける周期数は、不要光の影響が十分に低下する程度に選ばなくてはならない。上述したように、この対物レンズ34の回折部50の回折による焦点距離fdifは、下記の(13)式の関係により算出できることが知られている。下記の(14)中において、λは、製造波長であり、ここではλ=710nmとする。また、Cは、位相差関数係数と呼ばれる値であり、回折構造(回折格子)によって与えられる位相差形状を規定する係数であり、λの値により異なる値である。また、kは、各波長λ,λ,λにおいて選択される回折次数を示すものであり、具体的には、k,k,kである。
Figure 2010055693
また、回折格子と第1面r1による焦点距離fr1との合成によって形成される焦点距離fR1は、下記の(14)式の関係により算出される。
Figure 2010055693
更に、薄肉レンズを仮定し、このfR1と第2面r2によって形成される対物レンズ34の屈折及び回折全体の焦点距離fallは、第2面r2で与えられる焦点距離をfr2とすると、下記の(15)式の関係により算出される。
Figure 2010055693
上記の(13)式、(14)式及び(15)式により算出したレンズ焦点距離は、平行光入射時の集光点位置を示し、図13に示すように、不要光焦点と正規光焦点とは干渉しない程度の差を有する必要性がある。なお、図13中、横軸は、焦点距離を示し、縦軸は、フォーカスエラー信号(S字)の大きさを示し、実線L1は、正規光を示し、点線L2は、不要光を示す。図13において、正規光が作るCD等に用いられる第3の波長のフォーカスエラー信号(S字)の大きさとしては、片側20μm程度となることが知られている。このため、正規光と不要光との干渉を避けるために、正規光と不要光との二者間の距離Δ(以下、このΔを「乖離量」ともいう。)を最低でも40μmは離す必要性がある。尚、ここで、第3の波長についての正規光と不要光との乖離について検討したのは、BD等に対応した第1の波長についてはその性質上、高い回折効率を有する回折次数を選択して、正規光を100%に近いところで使用するからである。また、DVD等に対応した第2の波長についても、第3の波長に比べれば影響が少ないため不要光の問題を考慮する必要性が小さいからである。
乖離量Δは、下記の(16)式の関係により算出される。
Δ=fall−main−fall−stray (16)式
なお、fall−mainは正規光を示し、fall−strayは不要光を示す。
上記の(13)式乃至(15)式において、fr1=2.4、fr2=4.8、kmain=0、kstray=1として、CD等に用いられる第1の波長の光ビームの不要光を40μm離す条件を算出すると、下記の(17)式の関係を満たす必要がある。
Figure 2010055693
すなわち、C係数の大きさは上記の(17)式に従ってある程度以上大きくなければ、不要光と正規光との間を離すことができず、フォーカスサーボをかけられなくなる。
また、回折面ではC係数によって回折のピッチが決まる。所定の回折構造を有する回折部(回折面)により与えたい位相をφとすると、その位相φは、位相差関数係数Cを用いて、下記の(18)式の関係により算出される。尚、下記の(18)式中、kは、各波長λ,λ,λにおいて選択される回折次数を示すものであり、具体的には、k,k,kを示し、rは、半径方向の位置を示し、λは、製造波長を示すものである。尚、ピッチ設計に用いるλにおける場合には、k=1として計算が行われるものとする。
Figure 2010055693
この上記の(18)式中の位相φの値は、レンズ設計時に一意に求めることができるものである。その一方で、位相φは、製造波長λにおける位相を示しているので、下記の(19)式の関係により算出される。
φ’=φ−nλ (19)式
このとき、上記の(19)式によって得られた位相φ’と位相φの与える位相とは、その与える影響が全く同一である。上記の(19)式により得られた位相φ’は、換言すると、図11(b)に示すように、例えば図11(a)に示すようなφをλにより剰算した場合の余り、すなわち所謂剰余演算により得られる値である。この位相φ’は、実際の回折構造のピッチを決めるための付与すべき位相量ともいえる。実際の回折構造ピッチは、この位相φ’から決定されるものであり、具体的には、図11(c)に示すように、この位相φ’の形状に沿うように決定されることとなる。尚、図11(a)〜図11(c)中の横軸は、半径方向の位置を示すものであり、図11(a)中の縦軸は、その位置毎の必要位相量φを示すものであり、図11(b)中の縦軸は、その位置毎に剰余演算により得られる付与位相量φ’を示すものであり、図11(c)中の縦軸は、溝深さdを示すものである。ここで、図11(c)では、ピッチを決定した後に、ブレーズ形状を示しているが、上述で説明した第1の回折領域51等のように、階段形状を採用する場合には、図11(c)に示すブレーズの斜面の部分が所定のステップ数Sの階段形状が形成されることとなる。
尚、上述では、第1の回折領域51に設けられる回折構造は、その半径方向と光軸方向を含む断面形状が、図5(a)に示すように、一の階段部内において略等間隔に設定された所定の高さと所定の幅で形成された複数の階段形状の回折構造が設けられているものとして説明したが、これに限られるものではなく、図11(b)に示すような目標となる獲得目標位相に基づき、基準となる階段形状に対して高さ及び/又は幅を微小調整したような非周期的な段形状を形成してもよい。さらに、所定の波長の光ビームに対して所定の位相差を付与することができるように位相設計により決定された形状に形成されるように構成してもよく、すなわち、断面形状が基準となる平面を示す水平線に対して平行な直線と、垂直線とからのみ形成されるものではなく、この直線に対して傾斜した直線(傾斜面)や、曲線(曲面)等を有した非周期的な形状となるように形成されるように構成してもよい。この点については、後述する第2の回折領域52も同様である。
そして、実際には回折面にはC〜C10程度が設定されているが、そのうち、Cによる内輪帯の周期構造の周期数をN1i、中輪帯の周期構造の周期数をN1mとすれば、想定される最小のf=1.8として、下記の(20)式及び(21)式のように算出され、最低のCによって生じる周期数となる。尚、半径rは、r=f×NAで得られるものであり、NAは、例えばCD等の場合は0.45であり、DVD等の場合は0.6である。
1i≧4 (20)式
1m≧3 (21)式
周期構造の周期数は、C係数の影響によって低下することはあるものの、内輪帯における周期数N1iの最低周期量に関してはこの範囲を逸脱しない。これは内輪帯においては、C係数の影響力が小さいためである。また上記の(17)式の範囲はRの値によって多少前後するが、結果的に得られる上記の(20)式、(21)式の値には影響を与えない。また中輪帯においては大きなC係数を入れることによって、周期数N1mを下げること自体は可能であるが、緩くなった形状の周期構造のは収差を取って低減するのに向かない。
したがって、以上のような構成を有する回折部50は、内輪帯における周期構造の周期数Nと中輪帯における周期構造の周期数Nとが、上記の(20)式及び(21)式の関係を有するようにされていることから、不要光と正規光の干渉を避け、不要光の回折光量を抑えて、不要光が受光部で受光されてジッター等が悪化するおそれを防止でき、また、不要光の回折光量がある程度発生した場合にもその不要光の回折次数をフォーカス光の隣接回折次数以外の回折角度差の大きい乖離された回折次数とすることで、フォーカス時に不要光が集光されてジッター等が悪化するおそれを防止でき、十分な再生・記録時光スポットを形成することができる。
また、内輪帯である第1の回折領域51と、中輪帯である第2の回折領域52とは、以下のようなピッチの制約を考慮して構成した方がより優れた機能を発揮することになる。すなわち、回折構造を形成する際においては、ピッチとステップとの間には一定の関係がなくては、回折効率が大きく減少する場合がある。以下、ピッチとステップとの関係性について説明する。すなわち、回折構造を形成する場合には、バイト等により切削により形成されることを考慮すると、図14に示すように、必ず削り残りとなる部分x(μm)が形成される。この結果、平均ピッチをP(μm)とすると、理想的な段形状による損失無しの光利用効率を1としたとき、実際に切削により得られる回折構造による光利用効率Istepは、下記の(22)式の関係により算出されることとなる。
Figure 2010055693
また、削り残りとなる部分xの大きさは、バイト先端の角度θと各ステップにおける高さd/sによって、下記の(23)式の関係により算出される。
Figure 2010055693
上記の(22)式に上記の(23)式を代入すると、下記の(24)式のようになる。
Figure 2010055693
上記の(24)式より、図15に示すように、上記の(23)式のxの値によって光利用効率が変動することがわかる。なお、図15中、横軸は、バイト先端の角度θと各ステップにおける高さd/sから上記の(23)式の関係により算出される削り残りとなるx部分[μm]を示し、縦軸は、損失無しの回折構造による光利用効率を1としたときのx部分を有する回折構造による光利用効率Istepを示す。
ここで、対物レンズ34からの戻りカップリング効率をIallとし、BD等に用いられる第1の波長の光ビームにおける回折効率をIdifとすると、対物レンズ34からの戻りカップリング効率Iallは、下記の(25)式の関係により算出される。
all=Idif×Istep (25)式
また、対物レンズ34からの戻りカップリング効率Iallが60%程度必要であることが知られているので、第1の波長の光ビームにおける回折効率Idifを100%とした場合、光利用効率Istepは、下記の(26)式の関係を満たす必要がある。
step≧0.6 (26)式
したがって、光利用効率Istepは、図15の点線L3に示したように、0.6以上の光利用効率を確保することが最低限必要である。よって、上記の(26)式に上記の(24)式を代入すると、d・tanθ/pは、下記の(27)式の関係を満たす必要がある。
d・tanθ/p≦0.23 (27)式
ここで、バイト先端の角度をバイトの強度上もっとも鋭角な30°とし、最大深さ10μmとすると、内輪帯ピッチpは、下記の(28)式の関係を満たす必要がある。
≧25.1[μm] (28)式
したがって、内輪帯の半径を0.99mm(BD:f=2.2)とすると、内輪帯で構成される周期構造の周期数Nは、下記の(29)式の関係を満たす必要がある。
≦39 (29)式
同様に、中輪帯においても、バイト先端の角度をバイトの強度上もっとも鋭角な30°とし、最大深さ7μmとすれば、中輪帯ピッチpは、下記の(30)式の関係を満たす必要がある。
≧17.6[μm] (30)式
したがって、中輪帯の半径を1.43mm(BD:f=2.2)とすると、中輪帯で構成される周期構造の周期数Nは、下記の(31)式の関係を満たす必要がある。
≦25 (31)式
したがって、以上のような構成とされた内輪帯及び中輪帯として第1及び第2の回折領域51,52を有する回折部50は、第1の回折領域51の周期構造の周期数Nが、上記の(29)式の関係を有し、第2の回折領域52の周期構造の周期数Nが、上記の(31)式の関係を有するようにされていることから、回折構造形成時の効率低下を回避し、対物レンズ34からの戻りカップリング効率Iallを60%以上確保することができ、十分な回折効率を得ることができる。
また、実際には半径の変化によって上限となる周期数は異なってくる。このため、上記の(27)式において、θ≒30°を代入すると、下記の(32)式及び(33)式の関係が成立する。
/p≦0.39 (32)式
/p≦0.39 (33)式
したがって、回折部50は、上述した内輪帯の半径が上述した0.99mmと異なっていても、少なくとも、第1の回折領域51の各段部の高さdと平均ピッチpとが、上記の(32)式の関係を有するようにされていることから、回折格子形成時の効率低下を回避し、対物レンズ34からの戻りカップリング効率Iallを60%以上確保することができ、十分な回折効率を得ることができる。
また、回折部50は、上述した中輪帯の半径が上述した1.43mmと異なっていても、少なくとも、第2の回折領域52の各段部の高さdと平均ピッチpとが、上記の(33)式の関係を有するようにされていることから、回折格子形成時の効率低下を回避し、対物レンズ34からの戻りカップリング効率Iallを60%以上確保することができ、十分な回折効率を得ることができる。
このように、回折部50は、第1の回折領域51が上記の(32)式を満足するように構成され、及び/又は、第2の回折領域52が上記の(33)式を満足するように構成されることにより、削り残り部分xを考慮しても十分な回折効率を得ることを実現する。
次に、内輪帯における周期構造の周期数と中輪帯における周期構造の周期数とには、一定の関係性の上に成り立つ必要があるが、その点について説明する。
具体的に、上記の(18)式より、内輪帯と中輪帯とにおける例えばBD等に用いられる第1の波長の光ビームと、例えばDVD等に用いられる第2の波長の光ビームとの回折パワー差は、内輪帯における第1の波長の光ビームと第2の波長の光ビームとの回折パワー差をφi(B−D)とし、中輪帯における第1の波長の光ビームと第2の波長の光ビームとの回折パワー差をφm(B−D)とすると、それぞれ、下記の(34)式及び(35)式の関係により算出される。
Figure 2010055693
Figure 2010055693
ここで、φi(B−D)とφm(B−D)との値は、対物レンズ34の機能を発揮させるためには、一致する必要があり、これが一致しない場合には収差量が適正とならない。よって、対物レンズ34のレンズ機能を発揮させるため、上記の(34)式及び(35)式より、導き出される下記の(36)式の成立が必要となる。
1i(k1iλ−k2iλ)=C1m(k1mλ−k2mλ) (36)式
上記の(34)式、(35)式及び(36)式と上述の説明により、仮に回折面に対してC係数のみ規定されているのならば、C係数自体が周期構造の周期数を規定することになる。すなわち、内輪帯における周期構造の周期数をN1i、中輪帯における周期構造の周期数をN1mとすれば、このN1i、N1mは、C係数等と比例関係を有することとなり、具体的には下記の(37)式が成立する。
1i∝C1i (37)式
1m∝C1m(R −R ) (38)式
ここで、Rは内輪帯と中輪帯との境界となる内輪帯の外径の半径であり、Rは中輪帯と外輪帯との境界となる中輪帯の外径の半径であり、∝は、比例関係にあることを示す。
上記の(36)式、(37)式及び(38)式を用いて、上記の(36)式に上記の(37)式及び(38)式を代入し、整理すると、下記の(39)式が成立する。
Figure 2010055693
ここで、φrateを以下の(40)式に示すように定義した。
Figure 2010055693
なお、ここで絶対値を取っているのは回折次数定義の方法により影響がない値とするためである。上記の(39)式は、C係数のみが回折格子に規定された場合にのみ適用できる関係式である。実際にはC係数も含まれるので、次に、この式に対してCの係数が作用した場合を考える。C係数は一般的に温度収差特性の補正に用いられる係数であって、このC係数がある程度以上及びある程度以下の値となった場合には、温度収差特性が悪化してしまう。温度収差特性は一般に対物レンズの焦点距離に比例して悪化するが、ここでは標準サイズの対物レンズとして、f=2.2mmとして以下のように検討を行うこととする。
また、f=2.2mmとした場合に、0℃における三次の球面収差量SA3t0と、35℃における三次の球面収差量SA3t35との差であるΔSA3(すなわち、ΔSA3=SA3t0−SA3t35)は、C係数と一定の関係にある。このことを示すために、C係数を変化させたときのΔSA3の値をシミュレーションにより算出した結果を図16に示す。尚、図16では、f=2.0としてシミュレーションされた値を、f=2.2mmに換算して図示している。なお、図16中、横軸(x軸)は、C係数を示し、縦軸(y軸)は、ΔSA3を示す。また、図中直線L4は、各プロットの最小二乗法による近似直線(y=−98.611x−0.201)を示すものである。
図16において、C係数を大きく取ることによってΔSA3を小さくすることができる。ΔSA3は温度変化によって生じてしまう球面収差量を示すので、実際のレンズ設計ではこの値は小さいほうが望ましい。なお、図16はあるシミュレーション結果であるため、多少値は前後するが、おおよそ、この程度以上の感度を得ることはできない。
ここで、温度変化時に生じる球面収差をある程度コリメータレンズ42等をストロークさせることによって、補正することを考える。この際、光ピックアップ3には温度検出機構を搭載し、所望の温度においては関係式より求まる一定量のコリメータストロークを行うことによって、対物レンズ34で生じる球面収差量を補正することができる。
一般的に用いられる光ピックアップで使用される温度検出機構では、2.5℃の違いを検出するのが限界である。±0.02λrms以上の収差が生じると読み取りが悪化するため、0.008λrms/℃がひとつの指標となる。一般に仮定される環境温度変化である±35℃の範囲においては、対物レンズで生じる三次球面収差量SA3は、下記の(41)式の関係が成立する。
−0.28≦SA3≦0.28 [λrms] (41)式
上述の(41)式で示す範囲にあれば、収差が補正可能である。また、この範囲は補正に要するコリメータストロークを鑑みても、限界に近い値である。
上述の図16において、この程度の範囲を許すとすれば、Cの範囲としては、下記の(42)式の関係が成立する。すなわち、図16中直線L4で示した各プロットの最小二乗法による近似直線であるy=−98.611x−0.201に対して、−0.28≦SA3(=y)≦0.28とすると、x=(y+0.201)/(−98.611)より、−4.88E−3≦x≦0.801E−3となる。そして、x=Cであるので、−4.88E−3≦C≦0.801E−3となる。そして、図16は、λ=710(nm)とした場合のシミュレーション結果であるので、λで規格化すると、下記の(42)式の関係が成立する。
Figure 2010055693
なお、Cは過補正で用いることもでき、上記の(42)式には、過補正の範囲も含まれたものとなっている。しかし、周期構造の周期数が多くなってしまう場合には、そうする利点がないため、現実的には下記の(42’)式の関係が成立する。すなわち、(42’)式は、以下の観点により、上記の(42)式の関係からより範囲を狭め、より有効な範囲を規定したものである。先ず、C係数はC>0とすると、C係数と符号が同一となる。すると、上記の(18)式の位相量φが増大する。この位相量φの増大は、周期構造の周期数と相関があるので、周期構造の周期数が増大してしまうことを招くこととなる。周期構造の周期数を増大させることは、製造上不利となることを意味し、C≦0であることが望ましい範囲であることを示す。また、ΔSA3>0の関係は、図16に示す左上延長上の範囲を示し、これは、最適点であるΔSA3=0を通り越している範囲である。この範囲は、収差が最適となる量を超えて補正しすぎであり、逆に収差が悪化することになる。したがって、ΔSA3≦0であることが望ましく、図16中直線L4で示した各プロットの最小二乗法による近似直線であるy=−98.611x−0.201に対して、y≦0とすると、x≧−0.201/98.611=−2.04E−3となる。そして、x=Cであるので、C≧−2.04E−3となる。そして、図16は、λ=710(nm)とした場合のシミュレーション結果であるので、λで規格化すると、C≧−2.9λの関係が成立する。
Figure 2010055693
このとき、C係数は負方向に偏っており、BD等に用いられる第1の波長の光ビームに対する焦点距離側を短く、且つCD等に用いられる第3の波長の光ビームに対する焦点距離を長くするように設定された回折次数に対して、温度収差変化をキャンセルすることができる。すなわち、選択された支配的となる回折次数の正負方向と、C1係数の正負方向とを考慮すると、上述のような(42’)式のような範囲であれば温度収差変化をキャンセルすることを意味するものである。
この点について、さらに以下のように説明する。例えば、ここの説明では、C1係数は、常にC1≧0であるものとして説明する。さらに、ある回折面にC1係数のみしか定義されていないとき、収束光となる回折光の回折次数を正として説明する。このとき、C×k<0であれば、例えばBD等に用いられる第1の波長の光ビームの温度収差変化を相殺することができる。すなわち、上述のような第1及び第3の波長の光ビームに対する焦点距離の関係を問題とせず、C×k<0であれば、温度特性収差を改善できる機能を有することとなる。
かかる場合のkの回折次数についてさらに詳細に説明する。内輪帯(第1の回折領域51)においては、上述の第1乃至第4の観点から説明したように、最適な構成の一例として、(k1i,k2i,k3i)=(1,−1,−2)、(0,−1,−2)、(1,−2,−3)又は(0,−2,−3)が考えられる。ここで、内輪帯における選択される回折次数k1iは、k1i≧0であり、C<0により、上述した温度特性補正が可能であるといえる。
次に、中輪帯(第2の回折領域52)について検討するに、上述の中輪帯に関する第1乃至第3の観点から最適な構成として挙げた組み合わせのうち、k1m≧0の範囲のものは、C<0となり温度特性補正が可能であることを示している。
具体的には、(k1m,k2m)=(+1,+1)、(+1,0)、(+3,+2)、(+2,+1)であれば上述の関係を満たし温度特性補正を実現する。そして、ここで選択された回折次数の組み合わせ(k1m,k2m)は、例えば、(−3,−2)に比べて不要光乖離の観点から有利であり、(−1,−1)に比べて内輪帯及び中輪帯における回折パワー差の観点からこの回折パワー差が大きくなることにより中輪帯に多くの回折周期が必要となる問題等を考慮して有利である。なお(k1m,k2m)=(0,+2)、(0,−2)、(0,+1)、(0,−1)においては温度特性補正機能を有しないが、0次使用は構造上・効率上有利であるため、頻繁に用いられる。
また、図16と、上述の(42)式、(42’)式との関係について、ここでさらに説明する。(42)式は、(41)式の範囲を算出したものといえる。その一方で(42’)式は、以下の第1及び第2の観点から範囲を定めたものである。すなわち、第1に、C係数は、C>0となると、回折構造の周期数が増加することとなる。周期数の増加によりさらなる効果があればよいが、図16で説明した図中右下延長上にプロットが位置し、これに伴いΔSA3も増加すると考えられる。この観点から、C≦0が十分な範囲であると考えられる。また、第2に、ΔSA3<0となる場合は、最適点であるΔSA3=0を超える範囲であるので、図16の図中左上延長線上にプロットが位置し、かかる補正の観点から最適な範囲とはいえないため、ΔSA3≦0の範囲から、Cの下限を設定したものである。
以上のように、(42’)式は、上述したような観点から運用上、さらに望ましい範囲を規定したものであるが、上述したことから明らかなように、(42)式の範囲は、理論上望ましい範囲を規定し、温度特性を特定範囲に収めることを主要な観点とすれば、かかる範囲の方が望ましい場合もある。
次に、上述した(42)式、(42’)式で得られた範囲から、内輪帯及び中輪帯の周期数について検討する。すなわち、上述の(42)式、(42’)式の結果から、温度収差変化を相殺するためには、C係数によって増減される内輪帯の周期構造の周期数をN2iとし、中輪帯の周期構造の周期数をN2mとすると、下記の(43)式及び(44)式の関係が成立する必要がある。
Figure 2010055693
Figure 2010055693
したがって、トータルの周期構造の周期数N,Nは、下記の(45)式及び(46)式の関係が成立する必要がある。
=N1i+N2i (45)式
=N1m+N2m (46)式
ここで、上記の(45)式及び(46)式は、本来であるならば正負いずれの値も取れ、マイナスの周期数は回折構造が逆転していることを示す。しかし、回折構造が逆転した周期構造は、特に球面上に形成する場合には大きな製造上の制約となるため、一般的にはN、Nともに正の範囲のものが適切な範囲といえる。
そこで、上記の(39)式、(40)式、(43)式、(44)式、(45)及び(46)式より、下記の(47)式の関係が成立する。
具体的に、上記(39)式と上記(40)式より下記の(47)式の関係が成立する。
Figure 2010055693
ここで、N1i、N1mは、上記(45)式及び上記(46)式が成立するので、これらを上記(47)式に代入すると、下記の(48)式の関係が成立する。
Figure 2010055693
上記(48)式を変形すると、下記(49)式の関係が成立する。
Figure 2010055693
この(49)式に、上記(43)式及び上記(44)式を代入すれと、下記(50)式の関係が成立する。
Figure 2010055693
ここで、C2_min≦C≦C2_maxの関係が成立するので、内輪帯の最小のC値をC2i−minとし、中輪帯の最小のC値をC2m−minとし、内輪帯の最大のC値をC2i−maxとし、中輪帯の最大のC値をC2m−maxとすると、分母分子の最大最小により、下記(51a)式のような関係が成立する。
Figure 2010055693
また、下記(52a)式及び下記(52b)式の関係が成立する。
2_min=C2i_min=C2m_min (52a)式
2_max=C2i_max=C2m_max (52b)式
したがって、上記(52a)式及び上記(52b)式より、上記(51a)式から下記(51b)式の関係を導き出せる。
Figure 2010055693
ここで、上記(51b)式に、上記(42’)式を適用すると、内輪帯の周期数Nと中輪帯の周期数Nの間には、下記の(53)式のような一定の関係性があることになる。
Figure 2010055693
実際には各レンズ設計によって(42’)式の範囲は異なるが、上記の(53)式内にあれば収差を低減できる範囲といえる。
この範囲を逸脱して回折構造を形成すると、軸上収差が低減できなくなるか、あるいは温特収差特性が悪化する。なお、C係数を入れることによって、回折周期数を増減することもできるが、Cにはあまり自由度はなく、不適切な値を入れると光源から出射される光ビームに波長変動が生じた場合に、この波長変動ずれに対して高次の収差が生じてしまい、光ピックアップとして成り立たせることができなくなる。
また、実際にはCの範囲として過補正とすることに大きな利点はないが、(42)式程度であればコリメータレンズによる補正は可能である。この場合には、上記(52b)式に、上記(42)式を適用すると、下記の(54a)式の関係が成立する。
Figure 2010055693
これもまた右辺の分母が0以下の場合には、下記の(54b)式の関係が成立する。
Figure 2010055693
ここで、上述した(40)式のφrateについて、C係数を考慮せずC係数のみが回折構造に規定された場合のφrateを示すAtypと、C係数を考慮したときのφrateの下限及び上限を示すAmin及びAmaxは、下記の(55a)式乃至(55c)式のように設定できる。
Figure 2010055693
Figure 2010055693
Figure 2010055693
すなわち、上記の(55a)式乃至上記(55c)式のようにAtyp、Amin及びAmaxを設定することで、上記の(40)式及び(53)式より、下記の(56)式の関係が成立する。
min≦φrate≦Amax (56)式
実際に対物レンズの周期構造を具体的に特定するために行ったレンズ設計において、上記Amin、Amaxを求めて縦軸とし、このときのφrateをとったものを横軸として、Amin、Amaxとφrateとの関係を図17に示した。また、同時にAtypも示した。図17中各プロットは、上記(55a)式、(55b)式及び(55c)式等のAtyp、Amin、Amax、φrateを算出したものであり、また、LAminは、Aminの各プロットに基づき最小二乗法により得られた近似直線を示すものであり、LAmaxは、Amaxの各プロットに基づき最小二乗法により得られた近似直線を示すものであり、Lφrateは、φrare―φrateを示し、傾き1の直線を示すものである。
この図17において、傾き1を持つφrate−φrateを示すLφrateが、φrate−Amin直線を示すLAminと、φrate−Amax直線を示すLAmaxとで挟まれる範囲内に位置することが確認できる。このことから、すべてのデータにおいて、上記の(56)式が成り立っており、つまりは上記の(53)式が成り立っていることが確認できる。また同時に、Atypはおおよそであるが、φrateに近い場所に存在していることも確かめられる。これはC係数による収差補正がほとんどないことを示す。設計によっては、C係数による補正が必要なこともあり、その場合にはφrate−Atypとφrate−φrateとの相対関係がばらつくことになる。
また、上述した(55a)式、(55b)式及び(55c)式を設定したのと同様に、上述の(54a)式より、以下の(55b’)式及び(55c’)式のように設定できる。
Figure 2010055693
Figure 2010055693
上記の(55b’)式及び(55c’)式のように設定したことで、上記の(40)式及び(54a)式より、下記の(56’)式の関係が成立する。
min’≦φrate≦Amax’ (56’)式
そして、上記Amin’、Amax’を求めて縦軸とし、このときのφrateをとったものを横軸として、Amin’、Amax’とφrateとの関係を図18に示した。また、同時にAtypも示した。図18中各プロットは、上記の(55a)式、(55b’)式及び(55c’)式等のAtyp、Amin’、Amax‘、φrateを算出したものであり、また、LAmin’は、Amin’の各プロットに基づき最小二乗法により得られた近似直線を示すものであり、LAmax’は、Amax’の各プロットに基づき最小二乗法により得られた近似直線を示すものであり、Lφrateは、上述したφrare―φrateを示し、傾き1の直線を示すものである。図18においても図17と同様に、LφrateがLmax’とLmin’とで挟まれる範囲内に位置することが確認できる。このことから、全てのデータにおいて、上述の(56’)式が成立していることが確かめられる。
実際のレンズ系においては、レンズの焦点距離・倍率などの各種パラメータによって上記の(56)式及び(56’)式の範囲は変化するものの、上述の(56)式及び(56’)式の導出は実用に耐えうる最大の光学系で行っているため、上述の(56)式及び(56’)式の範囲を逸脱することはない。
このように、回折部50は、第1及び第2の回折領域51,52が、上述の(56)式又は(56’)式を満足するように、すなわち(54a)式又は(53)式を満足するように構成されることにより、温度変化時の収差量を低減できる。
また、第1の回折領域51における支配的、すなわち最大回折効率となる第1の波長の回折次数k1i及び第2の波長の回折次数k2iの回折次数の組み合わせ(k1i、k2i)は、第2の回折領域52における支配的、すなわち最大回折効率となる第1の波長の回折次数k1m及び第2の波長の回折次数k2mの回折次数の組み合わせ(k1m、k2m)とが、下記の(57)式の関係を成立することで以下のような利点が得られる。換言すると、回折次数の組み合わせ(k1i、k2i)と、回折次数の組み合わせ(k1m、k2m)とが完全に一致しないようにすればよい。
(k1i、k2i)≠(k1m、k2m) (57)式
これは組み合わせが同一であると、k3iとk3mとが同一になりやすく、また同一でないとしても、中輪帯でk3mに次いで効率を持つ、k3m’がk3iと同一になってしまうためである。これを避けるには、7μm以上の深い構造の回折格子を刻めば実現できるが、そうした回折構造は大きく効率を低下させる。そして、k3i=k3m、又は、k3i=k3m’が成り立ってしまうと、中輪帯における第3の波長に対する開口制限が適切に働かなくなってしまうという問題がある。これに対して、第1及び第2の回折領域51,52は、上述の(57)式を満足するように構成することにより、回折効率を低下させるというような問題を防止でき、また、中輪帯において第3の波長の光ビームに対して適切な開口制限を行うことを実現できる。
尚、上述では、第1及び第2の回折領域51,52の回折面が単体の周期構造であるように構成された例について説明したが、単体の周期構造により構成されることに限定されるものではない。すなわち、回折部50を構成する第1及び第2の回折領域に形成された第1及び第2の回折構造は、2つ以上の複数の基礎周期構造が重ね合わされた構造により形成されてもよい。
ここで、2つ以上の複数の基礎構造が重ね合わされた構造(以下、「重畳」ともいう。)について説明する。上述したような第1乃至第3の回折構造等の回折構造は、各波長の光ビームに対して所定の光路差を付与することにより、上述のような各波長に対してある回折次数の回折光が支配的となるように回折光を発生させることができる。そして、回折構造を、光路差を付与する光路差付与構造として考えた場合、ある所定の回折光を発生させる機能を有する基礎構造と、同様に異なる所定の回折光を発生させる機能を有する基礎構造とを重畳して形成することが可能である。
例えば、図21に示すように、各波長に対して所定の回折次数を支配的となるような第1の基礎構造70と、各波長に対して所定の回折次数を支配的となるような第2の基礎構造71とを重畳させた複合回折構造72を形成したとする。かかる複合回折構造72は、各波長の光ビームに対して所定の光路差を付与することにより、第1の基礎構造70とされた回折構造と、第2の基礎構造71とされた回折構造とを通過するのと同様の機能をすることができる。
そして、この重畳構造を例えば上述の第1の回折構造に適用することを考慮すると、次のように重畳構造を形成すれば上述と同様の効果が得られることとなる。すなわち、第1の基礎構造70において選択される回折次数の組み合わせが(k1iB1,k2iB1)=(k1i,k2i)とし、第2の基礎構造71において選択される回折次数の組み合わせが(k1iB2、k2iB2)=(0,0)とした複合回折構造72を内輪帯に適用できる。かかる複合回折構造72は、上述の第1の回折領域51に形成された周期構造を第1の基礎構造70とし、これに、上述の条件を満たす第2の基礎構造71を重畳したものである。換言すると、第2の基礎構造71は、第1及び第2の波長に対してそれぞれ0次光を支配的となるようにするため、かかる複合回折構造72は、第1及び第2の波長に対しては第1の基礎構造70による機能のみを発揮するといえる。そして、第3の波長の光ビームに対しては、重畳した第1の基礎構造70による作用と、第2の基礎構造71による作用を受けることになる。具体的には、第3の波長の光ビームに対しては、第1の基礎構造70により回折次数k3iB1の回折光が支配的となるように発生され、その後第2の基礎構造71により回折次数k3iB2の回折光が支配的となるように発生されるのと同様の作用を受ける。換言すると、第3の波長の光ビームに対しては、第1の基礎構造70による回折角の影響と、第2の基礎構造71による回折角の影響とを受けることとなる。尚、ここで、第1の基礎構造70が設けられた領域を通過する第1、第2、第3の波長の光ビームのそれぞれの回折次数k1iB1,k2iB1,k3iB1の回折光が支配的、すなわち最大回折効率となるように発生させるものとする。また、第2の基礎構造71が設けられた領域を通過する第1、第2、第3の波長の光ビームのそれぞれの回折次数k1iB2,k2iB2,k3iB2の回折光が支配的となるように発生させるものとする。(k1iB1,k2iB1)を「=(k1i,k2i)」としたのは、この(k1iB1,k2iB1)の組み合わせは、上述した(k1i,k2i)の組み合わせと同様の考え方で選択されるからである。また、k3iB1、k3iB2は、任意であるので、適宜最適な回折次数が選択される。但し、k3iB2は、0次以外の回折次数であるとする。これは、k3iB2が、0次であると上述の第2の基礎構造71の条件を考慮すると、平面状であることを意味し、実質的に重畳したことにならないからである。
このように、本発明を適用した光ピックアップ3を構成する回折部50の内輪帯に形成される第1の回折構造は、少なくとも第1の基礎構造70と第2の基礎構造71とを重畳するように形成された光路差付与構造である複合回折構造72として構成してもよい。この場合、第1の基礎構造70は、凹凸形状とされた単位周期構造が各輪帯の半径方向に連続的に形成された周期構造であることにより、第1及び第2の波長に対して上述の第1の回折領域51で説明した集光する回折次数(k1i,k2i)と同じ回折次数(k1iB1,k2iB1)の回折光を発生させるように光路差を付与する光路差付与構造として構成される。第2の基礎構造71は、この第2の基礎構造71を通過する第1の波長の光ビームの0次光が支配的となるように発生させ、第2の基礎構造71を通過する第2の波長の光ビームの0次光が支配的となるように発生させる光路差付与構造として構成される。また、第2の基礎構造71は、第2の基礎構造71を通過する第3の波長の光ビームの0次以外の回折次数の回折光が支配的となるように発生させるように光路差を付与する構成とされる。そして、第1の基礎構造70において、上述の(20)式、(29)式、(56)式又は(56’)式が成立するように構成されている。この場合、各式におけるNは、第1の基礎構造70における周期構造の周期数を示すものとする。
かかる重畳構造とされた内輪帯は、(20)式、(29)式、(56)式又は(56’)式が成立するように構成されることにより、上述の第1の回折領域51と同様の効果を発揮することができる。すなわち、かかる重畳構造とされた内輪帯は、(20)式を満足することにより、不要光と正規光の干渉を避け、不要光の光量を抑えて、又は不要光となる回折光の回折次数を正規光の回折次数から乖離された回折次数として、不要光が受光部で受光されることによりジッタ等の悪化のおそれを防止でき、また、(29)式を満足することにより、回折構造形成時の効率低下を回避し、十分な回折効率を得ることができる。さらに、かかる重畳構造とされた内輪帯は、(56)式又は(56’)式を満足することにより、温度変化時の収差量を低減することを可能とできる。
同様に、本発明を適用した光ピックアップ3を構成する回折部50の中輪帯に形成される第2の回折構造は、少なくとも第1の基礎構造70と第2の基礎構造71とを重畳するように形成された光路差付与構造である複合回折構造72として構成してもよい。この場合、第1の基礎構造70は、凹凸形状とされた単位周期構造が各輪帯の半径方向に連続的に形成された周期構造であることにより、第1及び第2の波長に対して上述の第2の回折領域52で説明した集光する回折次数(k1m,k2m)と同じ回折次数(k1mB1,k2mB1)の回折光を発生させるように光路差を付与する光路差付与構造として構成される。尚、ここで、第1の基礎構造70が設けられた領域を通過する第1、第2の波長の光ビームのそれぞれの回折次数k1mB1,k2mB1の回折光が支配的、すなわち最大回折効率となるように発生させるものとする。第2の基礎構造71は、この第2の基礎構造71を通過する第1の波長の光ビームの0次光が支配的となるように発生させ、第2の基礎構造71を通過する第2の波長の光ビームの0次光が支配的となるように発生させる光路差付与構造として構成される。また、第2の基礎構造71は、第2の基礎構造71を通過する第3の波長の光ビームの0次以外の次数の回折光が支配的となるように発生させるように光路差を付与する構成とされる。そして、第1の基礎構造70において、上述の(21)式、(31)式、(56)式又は(56’)式が成立するように構成されている。この場合、各式におけるNは、第1の基礎構造70における周期構造の周期数を示すものとする。
かかる重畳構造とされた中輪帯は、(21)式、(31)式、(56)式又は(56’)式が成立するように構成されることにより、上述の第2の回折領域52と同様の効果を発揮することができる。すなわち、かかる重畳構造とされた中輪帯は、(21)式を満足することにより、不要光と正規光の干渉を避け、不要光の光量を抑えて、又は不要光となる回折光の回折次数を正規光の回折次数から乖離された回折次数として、不要光が受光部で受光されることによりジッタ等の悪化のおそれを防止でき、また、(31)式を満足することにより、回折構造形成時の効率低下を回避し、十分な回折効率を得ることができる。さらに、かかる重畳構造とされた中輪帯は、(56)式又は(56’)式を満足することにより、温度変化時の収差量を低減することを可能とできる。
外輪帯である第3の回折領域53は、輪帯状で且つ所定の深さを有し第1及び第2の回折構造とは異なる構造とされた第3の回折構造が形成され、通過する第1の波長の光ビームの対物レンズ34を介して第1の光ディスクの信号記録面に適切なスポットを形成するよう集光する回折次数の回折光が支配的となるように、すなわち、他の回折次数の回折光に対して最大の回折効率となるように発生させる。
また、第3の回折領域53は、第3の回折構造により、通過する第2の波長の光ビームの対物レンズ34を介して第2の光ディスクの信号記録面に適切なスポットを形成するよう集光する回折次数以外の回折次数の回折光が支配的となるように、すなわち、他の回折次数の回折光に対して最大の回折効率となるように発生させる。この点について換言すると、第3の回折領域53は、第3の回折構造により、後述のフレア化の作用等を考慮した上で、通過する第2の波長の光ビームの対物レンズ34を介して第2の光ディスクの信号記録面に適切なスポットを形成しないような回折次数の回折光が支配的となるようにされている。尚、第3の回折領域53は、第3の回折構造により、通過する第2の波長の光ビームの対物レンズ34を介して第2の光ディスクの信号記録面に適切なスポットを形成するよう集光する回折次数の回折光の回折効率を十分に低減することができる。
また、第3の回折領域53は、第3の回折構造により、通過する第3の波長の光ビームの対物レンズ34を介して第3の光ディスクの信号記録面に適切なスポットを形成するよう集光する回折次数以外の回折次数の回折光が支配的となるように、すなわち、他の回折次数の回折光に対して最大の回折効率となるように発生させる。この点について換言すると、第3の回折領域53は、第3の回折構造により、後述のフレア化の作用等を考慮した上で、通過する第3の波長の光ビームの対物レンズ34を介して第3の光ディスクの信号記録面に適切なスポットを形成しないような回折次数の回折光が支配的となるようにされている。尚、第3の回折領域53は、第3の回折構造により、通過する第3の波長の光ビームの対物レンズ34を介して第3の光ディスクの信号記録面に適切なスポットを形成するよう集光する回折次数の回折光の回折効率を十分に低減することができる。
このように、第3の回折領域53は、上述の各波長の光ビームに対して上述の所定の回折次数の回折光が支配的となるのに適するような回折構造が形成されているため、第3の回折領域53を通過して所定の回折次数の回折光とされた第1の波長の光ビームが対物レンズ34により光ディスクの信号記録面に集光される際の球面収差を補正して低減することを可能とする。
また、第3の回折領域53は、第1の波長の光ビームに対しては上述のように機能するとともに、第2及び第3の波長の光ビームについては、フレア化の影響等を考慮して、この第3の回折領域53を通過して対物レンズ34を介して第2及び第3の光ディスクの信号記録面に集光しない回折次数の回折光が支配的となるように構成されていることから、この第3の回折領域53を通過した第2及び第3の波長の光ビームが対物レンズ34に入射しても第2及び第3の光ディスクの信号記録面にはほとんど影響を与えることなく、換言すると、この第3の回折領域53を通過して対物レンズ34により信号記録面に集光される第2及び第3の波長の光ビームの光量を大幅に低減して略ゼロとして、第2の波長の光ビームに対して開口制限を行うよう機能することができる。尚、第3の回折領域53は、第3の波長の光ビームに対しては、上述の第2の回折領域52とともに、開口制限を行うよう機能することができる。
ところで、上述した第2の回折領域52は、その領域を通過した第2の波長の光ビームが、NA=0.6程度で開口制限される光ビームと同様の状態で対物レンズ34に入射するような大きさに形成されており、また、この第2の回折領域52の外側に形成される第3の回折領域53は、この領域を通過した第2の波長の光ビームを、対物レンズ34を介して光ディスク上に集光させないため、かかる構成とされた第2及び第3の回折領域52,53を備える回折部50は、第2の波長の光ビームに対して、NA=0.6程度に開口制限を行うように機能することとなる。ここでは、回折部50において、第2の波長の光ビームに対して開口数NAを0.6程度に開口制限を行うように構成したが、上述の構成により制限される開口数はこれに限られるものではない。
また、第3の回折領域53は、その領域を通過した第1の波長の光ビームが、NA=0.85程度で開口制限される光ビームと同様の状態で対物レンズ34に入射するような大きさに形成されており、また、この第3の回折領域53の外側には回折構造が形成されていないため、この領域を透過した第1の波長の光ビームを、対物レンズ34を介して第1の光ディスク上に集光させないため、かかる構成とされた第3の回折領域53を備える回折部50は、第1の波長の光ビームに対して、NA=0.85程度の開口制限を行うように機能することとなる。尚、第3の回折領域53を通過する第1の波長の光ビームは、例えば1次、4次の回折次数のものが支配的となるようにされているため、第3の回折領域53の外側の領域を透過した0次光は、対物レンズ34を介して第1の光ディスク上に集光しない場合がほとんどであるが、この0次光が、対物レンズ34を介して第1の光ディスク上に集光することになる場合には、第3の回折領域53の外側の領域に、通過する光ビームを遮蔽する遮蔽部又は通過する光ビームを対物レンズ34を介して第1の光ディスク上に集光する回折次数以外の回折次数の光ビームが支配的となる回折構造を有する回折領域を設けることにより、開口制限を行うように構成してもよい。ここでは、回折部50において、第1の波長の光ビームに対して開口数NAを0.85程度に開口制限を行うように構成したが、上述の構成により制限される開口数はこれに限られるものではない。
具体的には、第3の回折領域53は、図4及び図5(c)に示すように、光軸を中心とした輪帯状で基準面に対してこの輪帯の断面形状が所定の深さdのブレーズ形状となるように形成されている。
外輪帯である、第3の回折領域53においては、上述のようにブレーズ構造を採用している。この理由としては、最も外側に設けられる外輪帯は、極めてレンズ曲面が最も急峻な曲率を有しており、ブレーズ以外の構造を設けるのは製造上の観点から不利なためである。また、上述したような不要光や効率等の問題は考慮する必要がないため、ブレーズ構造で十分な性能を得ることができる。以下に選択される各回折次数について述べる。
第3の回折領域53が、通過する第1の波長の光ビームの回折次数k1oの回折光が支配的となるよう、すなわち、回折効率が最大となるように発生させ、また、通過する第2の波長の光ビームの回折次数k2oの回折光が支配的となるよう、すなわち、回折効率が最大となるように発生させ、また、通過する第3の波長の光ビームの回折次数k3oの回折光が支配的、すなわち、回折効率が最大となるように発生させる場合に、回折次数k1o,k2o,k3oを選択する際に、第1の波長の回折次数と回折効率だけを考慮すればよい。
これは、所定の回折効率を有してしまう第2及び第3の波長の集光点をフレア化して結像させた状態からずらして、実質的に第2、第3の光ディスクの信号記録面に集光される光ビームの光量を低減することができるため、自由度が高く条件としては緩和されているからである。
以上のような観点から、第3の回折領域53で所定の回折次数k1o,k2o,k3oを選択すれば良く、例えば、その一例として、後述の実施例1のように、(k1o,k2o,k3o)=(+4,+2,+2)の場合には、上述の各観点を満たし、各効率を得ることができるものである。
ここで、第3の回折領域53において、フレア化させること、及びその構成について説明する。上述の第1の回折領域51の説明において、条件式(λ×k1x−λ×k2x)/(t−t)≒(λ×k1x−λ×k3x)/(t−t)を満たすことが要求されていることについて述べたが、この条件式(外輪帯においてこの条件式中のk1x,k2x,k3xのxは、x=oとする)は、第3の回折領域53においても考慮されるものである。そして、この外輪帯としての第3の回折領域53においては、上述のような第1の光ディスクの信号記録面に適切なスポットを形成するよう対物レンズ34を介して集光する第1の波長の光ビームの回折次数koの回折光を回折効率を高い状態で発生させるという機能を考慮すると、プロットされるPλ1を設計直線上に位置させれば良いが、さらに第2の波長若しくは第3の波長、又は第2及び第3の波長、についてフレア化させるために、それぞれ対応するPλ2,Pλ3について、故意にこの設計直線上から乖離させるような設計直線を選択するようにすればよい。
すなわち、Pλ2について設計直線から乖離させたような設計直線に基づき形成された対物レンズ34を構成することにより、第2の波長の光ビームの当該回折次数の回折光を第2の光ディスクの信号記録面に焦点を結像させた状態からずらすことができ、実質的に第2の光ディスクの信号記録面に集光される第2の波長の光ビームの光量を低減させることができ、これにより、上述の第2の波長の光ビームに対する開口制限を確実且つ良好に行うことを可能とする。また、Pλ3について設計直線から乖離させたような設計直線に基づき形成された対物レンズ34を構成することにより、第3の波長の光ビームの当該回折次数の回折光を第3の光ディスクの信号記録面に焦点を結像させた状態からずらすことができ、実質的に第3の光ディスクの信号記録面に集光される第3の波長の光ビームの光量を低減させることができ、これにより、上述の第3の波長の光ビームに対する開口制限を確実且つ良好に行うことを可能とする。また、Pλ2及びPλ3の両者について設計直線から乖離させたような設計直線に基づき形成された対物レンズ34を構成することにより、上述した両方の効果、すなわち、対応する光ディスクの信号記録面に集光される第2及び第3の波長の光ビームの光量を低減させることを可能とする。
具体的には、図21に示すような(k1o,k2o,k3o)=(+4,+2,+2)とした場合には、Pλ2及びPλ3の両者が設計直線L23から乖離されており、当初から期待されていた第3の回折領域53に形成された回折構造により第2及び第3の波長の当該回折次数の回折光の回折効率を低減させる効果に加え、このフレア化の効果をさらに得て、これらの構成からさらに一層第2及び第3の光ディスクにそれぞれ入射してしまう第2及び第3の波長の光ビームの光量を抑えることを可能とする。
以下に、上述した内輪帯である第1の回折領域51と、中輪帯である第2の回折領域52と、外輪帯である第3の回折領域53とを有する回折部50の具体的な実施例として、深さd及びブレーズ形状又は階段形状におけるステップ数Sについての具体的な数値を挙げ、各波長の光ビームに対して支配的となる回折次数の回折光の回折次数、及び、その回折次数の回折光の回折効率について表4及び後述の表5に示す。尚、表4は、回折部50の実施例1を示すものであり、表5は、回折部50の実施例2を示すものであり、表4及び表5中kは、各輪帯における第1の波長の光ビームの回折効率が最大となる回折次数(k1i,k1m,k1o)、すなわち、対物レンズ34を介して第1の光ディスクの信号記録面に適切にスポットを形成するように集光する回折次数を示し、effは、第1の波長の光ビームの当該回折次数(k1i,k1m,k1o)の回折効率を示し、k2は、第2の波長の光ビームの回折効率が最大となる回折次数(k2i,k2m,k2o)、特に内輪帯及び中輪帯においては対物レンズ34を介して第2の光ディスクの信号記録面に適切にスポットを形成するように集光する回折次数を示し、effは、第2の波長の光ビームの当該回折次数(k2i,k2m,k2o)の回折効率を示し、k3は、第3の波長の光ビームの回折効率が最大となる回折次数(k3i,k3m,k3o)、特に内輪帯においては対物レンズ34を介して第3の光ディスクの信号記録面に適切にスポットを形成するように集光する回折次数を示し、effは、第3の波長の光ビームの当該回折次数(k3i,k3m,k3o)の回折効率を示し、dは、各回折領域の溝深さを示し、Sは、階段形状の場合におけるステップ数又は「∞」とあるのはブレーズ形状であることを示すものである。また、表4及び表5中「※」は、上述のフレア化により効率が問題とならない状態を示すものである。
Figure 2010055693
ここで、表4に示す実施例1について説明する。実施例1の内輪帯においては、表4に示すように、溝深さd=3.8(μm)のステップ数S=4の階段形状としたときの、第1の波長の光ビームの回折次数k1i=+1の回折効率eff=0.81であり、第2の波長の光ビームの回折次数k2i=−1の回折効率eff=0.62であり、第3の波長の光ビームの回折次数k3i=−2の回折効率eff=0.57である。この実施例1の内輪帯のさらに具体的な説明については、図9を用いて上述したのでここでは詳細な説明は省略する。
また、実施例1の中輪帯においては、表4に示すように、溝深さd=2.4(μm)のブレーズ形状(S=∞)としたとき、第1の波長の光ビームの回折次数k1m=+3の回折効率eff=0.96であり、第2の波長の光ビームの回折次数k2m=+2の回折効率eff=0.93である。また、この領域を通過する第3の波長の光ビームの支配的、すなわち最大回折効率となる回折次数k3m=+2の回折効率effは、0.4程度存在するが、図19を用いて上述したようにスポットがフレア化されるため、結像には寄与しない。
次に、この実施例1の中輪帯について図22(a)〜図22(c)を用いて、さらに具体的に説明する。図22(a)は、ステップ数S=∞のブレーズ形状の溝深さdを変化させた場合の、第1の波長の光ビームの+3次回折光の回折効率の変化を示す図であり、図22(b)は、ステップ数S=∞のブレーズ形状の溝深さdを変化させた場合の、第2の波長の光ビームの+2次回折光の回折効率の変化を示す図であり、図22(c)は、ステップ数S=∞のブレーズ形状の溝深さdを変化させた場合の、第3の波長の光ビームの+2次回折光の回折効率の変化を示す図である。図22(a)〜図22(c)中において横軸は、溝深さ(nm)を示し、縦軸は、回折効率(光の強度)を示す図である。そして、横軸が2400nmの位置において、図22(a)に示すように、effは、0.96であり、図22(b)に示すように、effは、0.93であり、図22(c)に示すように、effは、0.4程度であるが、スポットがフレア化される。
また、上述した実施例1の中輪帯においては、上述した(波長×回折次数)と、保護層厚さとの関係における設計直線のうち、保護層厚さを示す縦軸をY軸としたときのY切片位置及び傾きを対物レンズの設計によって変動させて第3の波長についてフレア化している。よって、このような設計直線に基づいて適切な対物レンズ設計を行えば、第3の波長の光ビームの光量をさらに抑えてこの第3の波長の光ビームに対して良好な開口制限を行うことができる。具体的には、実施例1の中輪帯は、図19に示すように、各回折次数(k1m,k2m,k3m)=(+3,+2,+2)で各点Pλ1,Pλ2,Pλ3をプロットし、L22に示すような設計直線を設定したものである。図19において、第1の波長の設計点Pλ1と第2の波長の設計点Pλ2とは、設計直線L22上に位置するために、回折次数k1m,k2mの回折光の収差は略0となる。一方、第3の波長におけるプロットされた点Pλ3は、収差ゼロ設計点とはかなりの乖離を有しており、上述したようなフレア化されていることを示している。尚、図19においては、k3m=+2のプロットしか示していないが、第3の波長においてその他の回折次数でも同様に設計直線L22から乖離していることとなる。この結果、第3の波長においては収差が取れ残り、すなわち、結果としてこの中輪帯を通過した第3の波長の光ビームは信号記録面に結像しないで、第3の光ディスクに入射してしまう第3の波長の光ビームの光量を抑えることができる。この結果、図22に示すように第3の波長の光ビームの回折効率が存在しても、これらの光ビームは結像に対して寄与せず、適切な開口制限(NA=0.45)を実現することができる。
また、実施例1の外輪帯においては、表4に示すように、溝深さd=3.1(μm)のブレーズ形状(S=∞)としたときの、第1の波長の光ビームの回折次数k1o=+4の回折効率eff=1.0である。また、この領域を通過する第2の波長の光ビームの支配的、すなわち最大回折効率となる回折次数k2o=+2の回折効率effは、0.6程度存在するが、図21を用いて上述したようにスポットがフレア化されるため、結像には寄与しない。さらに、この領域を通過する第3の波長の光ビームの支配的、すなわち最大回折効率となる回折次数k3o=+2の回折効率effは、1.0程度存在するが、図21を用いて上述したようにスポットがフレア化されるため、結像には寄与しない。
次に、この実施例1の外輪帯について図23(a)〜図23(c)を用いて、さらに具体的に説明する。図23(a)は、ステップ数S=∞のブレーズ形状の溝深さdを変化させた場合の、第1の波長の光ビームの+4次回折光の回折効率の変化を示す図であり、図23(b)は、ステップ数S=∞のブレーズ形状の溝深さdを変化させた場合の、第2の波長の光ビームの+2次回折光の回折効率の変化を示す図であり、図23(c)は、ステップ数S=∞のブレーズ形状の溝深さdを変化させた場合の、第3の波長の光ビームの+2次回折光の回折効率の変化を示す図である。図23(a)〜図23(c)中において横軸は、溝深さ(nm)を示し、縦軸は、回折効率(光の強度)を示す図である。そして、横軸が3100nmの位置において、図23(a)に示すように、effは、1.0であり、図23(b)に示すように、effは、0.6程度であるが、スポットがフレア化され、図23(c)に示すように、effは、1.0程度であるが、スポットがフレア化される。
また、上述した実施例1の外輪帯においても、上述した実施例1の中輪帯の場合と同様に、対物レンズの設計直線を変動させて、第2及び第3の波長についてフレア化して、良好な開口制限を行うように構成している。具体的には、実施例1の外輪帯は、図21に示すように、各回折次数(k1o,k2o,k3o)=(+4,+2,+2)で各点Pλ1,Pλ2,Pλ3をプロットし、L23に示すような設計直線を設定したものである。図21において、第1の波長の設計点Pλ1は、設計直線L23上に位置するために、回折次数k1oの回折光の収差は略0となる。一方、第2及び第3の波長におけるプロットされた点Pλ2,Pλ3は、収差ゼロ設計点とはかなりの乖離を有しており、上述したようなフレア化されていることを示している。尚、図21においては、(k2o,k3o)=(+2,+2)のプロットしか示していないが、第2及び第3の波長においてその他の回折次数でも同様に設計直線L23から乖離していることとなる。この結果、第2の波長においては収差が取れ残り、すなわち、結果としてこの外輪帯を通過した第2及び第3の波長の光ビームは信号記録面に結像しないで、それぞれ第2及び第3の光ディスクに入射してしまう第2及び第3の波長の光ビームの光量を抑えることができる。この結果、図23に示すように第2の波長の光ビームの回折効率が存在しても、この光ビームは結像に対して寄与せず、適切な開口制限(NA=0.6)を実現することができ、また、図23に示すように第3の波長の光ビームの回折効率が存在しても、この光ビームは結像に対して寄与せず、適切な開口制限(NA=0.45)を実現することができる。
以上のように実施例1及び後述の実施例2の外輪帯は、回折面をブレーズ化している構成から、後述のように対物レンズの一方の面にこの回折部を設けるような場合にも、外輪帯という性質上レンズ外周部のレンズ面の傾斜のきつい曲面に対しても比較的容易に回折溝を形成できる。
次に、表5に示す実施例2について説明する。
Figure 2010055693
実施例2の内輪帯においては、表5に示すように、溝深さd=6.9(μm)のステップ数S=3の階段形状としたときの、第1の波長の光ビームの回折次数k1i=0の回折効率eff=0.98であり、第2の波長の光ビームの回折次数k2i=−1の回折効率eff=0.78であり、第3の波長の光ビームの回折次数k3i=−2の回折効率eff=0.39である。
次に、この実施例2の内輪帯について図24(a)〜図24(c)を用いて、さらに具体的に説明する。図24(a)は、ステップ数S=3の階段形状の溝深さdを変化させた場合の、第1の波長の光ビームの0次光の回折効率の変化を示す図であり、図24(b)は、ステップ数S=3の階段形状の溝深さdを変化させた場合の、第2の波長の光ビームの−1次回折光の回折効率の変化を示す図であり、図24(c)は、ステップ数S=3の階段形状の溝深さdを変化させた場合の、第3の波長の光ビームの−2次回折光の回折効率の変化を示す図である。図24(a)〜図24(c)中において横軸は、溝深さ(nm)を示し、縦軸は、回折効率(光の強度)を示す図である。そして、横軸が6900nmの位置において、図24(a)に示すように、effは、0.98であり、図24(b)に示すように、effは、0.78であり、図24(c)に示すように、effは、0.39である。
尚、この実施例2の内輪帯においても、ここで選択された回折次数(k1i,k2i,k3i)=(0,−1,−2)は、上述の条件式(9)(条件式中のk1x,k2x,k3xのxは、x=iとする)を満たしており、各光ディスクの信号記録面上の球面収差を補正して低減できる回折次数である。さらに具体的には、図27に示すように、各プロットPλ1,Pλ2,Pλ3が略設計直線である直線L24上に一直線に位置することとなる。ここで、厳密には、図7を用いて上述したのと同様に、第2及び第3の波長λ,λを発散光として入射させることで、完全に一直線上に位置させるものとする。
実施例2の中輪帯においては、表5に示すように、溝深さd=11.65(μm)のステップ数S=5の階段形状としたときの、第1の波長の光ビームの回折次数k1m=0の回折効率eff=0.96であり、第2の波長の光ビームの回折次数k2m=−1の回折効率eff=0.81である。また、この領域を通過する第3の波長の光ビームの支配的、すなわち最大回折効率となる回折次数k3m=−3の回折効率effは、0.4程度存在するが、上述したようにスポットがフレア化される(図28参照)ため、結像には寄与しない。
次に、この実施例2の中輪帯について図25(a)〜図25(c)を用いて、さらに具体的に説明する。図25(a)は、ステップ数S=5の階段形状の溝深さdを変化させた場合の、第1の波長の光ビームの0次光の回折効率の変化を示す図であり、図25(b)は、ステップ数S=5の階段形状の溝深さdを変化させた場合の、第2の波長の光ビームの−1次回折光の回折効率の変化を示す図であり、図25(c)は、ステップ数S=5の階段形状の溝深さdを変化させた場合の、第3の波長の光ビームの−3次回折光の回折効率の変化を示す図である。図25(a)〜図25(c)中において横軸は、溝深さ(nm)を示し、縦軸は、回折効率(光の強度)を示す図である。そして、横軸が11650nmの位置において、図25(a)に示すように、effは、0.96であり、図25(b)に示すように、effは、0.81であり、図25(c)に示すように、effは、0.4程度であるが、スポットがフレア化される。
また、この実施例2の中輪帯においても、上述した実施例1の中輪帯の場合と同様に、対物レンズの設計直線を変動させて、第3の波長についてフレア化して、良好な開口制限を行うように構成している。具体的には、実施例2の中輪帯は、図28に示すように、各回折次数(k1m,k2m,k3m)=(0,−1,−3)で各点Pλ1,Pλ2,Pλ3をプロットし、L25に示すような設計直線を設定したものである。図28において、第1の波長の設計点Pλ1と第2の波長の設計点Pλ2とは、設計直線L25上に位置するために、回折次数k1m,k2mの回折光の収差は略0となる。一方、第3の波長におけるプロットされた点Pλ3は、収差ゼロ設計点とはかなりの乖離を有しており、上述したようなフレア化されていることを示している。尚、図28においては、k3m=−3のプロットしか示していないが、第3の波長においてその他の回折次数でも同様に設計直線L25から乖離していることとなる。この結果、第3の波長においては収差が取れ残り、すなわち、結果としてこの中輪帯を通過した第3の波長の光ビームは信号記録面に結像しないで、第3の光ディスクに入射してしまう第3の波長の光ビームの光量を抑えることができる。この結果、図25に示すように第3の波長の光ビームの回折効率が少し存在しても、これらの光ビームは結像に対して寄与せず、適切な開口制限(NA=0.45)を実現することができる。
また、実施例2の外輪帯においては、表5に示すように、溝深さd=0.8(μm)のブレーズ形状(S=∞)としたときの、第1の波長の光ビームの回折次数k1o=+1の回折効率eff=1.0である。また、この領域を通過する第2の波長の光ビームの支配的、すなわち最大回折効率となる回折次数k2o=+1の回折効率effは、0.6程度存在するが、上述したようにスポットがフレア化される(図41参照)ため、結像には寄与しない。さらに、この領域を通過する第3の波長の光ビームの支配的、すなわち最大回折効率となる回折次数k3o=+1の回折効率effは、0.4程度存在するが、上述したようにスポットがフレア化されるため、結像には寄与しない。
次に、この実施例2の外輪帯について図26(a)〜図26(c)を用いて、さらに具体的に説明する。図26(a)は、ステップ数S=∞のブレーズ形状の溝深さdを変化させた場合の、第1の波長の光ビームの+1次回折光の回折効率の変化を示す図であり、図26(b)は、ステップ数S=∞のブレーズ形状の溝深さdを変化させた場合の、第2の波長の光ビームの+1次回折光の回折効率の変化を示すとともに、不要光となる0次光の回折効率の変化を示す図であり、図26(c)は、ステップ数S=∞のブレーズ形状の溝深さdを変化させた場合の、第3の波長の光ビームの+1次回折光の回折効率の変化を示すとともに、不要光となる0次光の回折効率の変化を示す図である。図26(a)〜図26(c)中において横軸は、溝深さ(nm)を示し、縦軸は、回折効率(光の強度)を示す図である。そして、横軸が800nmの位置において、図26(a)に示すように、effは、1.0であり、図26(b)に示すように、effは、0.6程度であるが、スポットがフレア化され、図26(c)に示すように、effは、0.4程度であるが、スポットがフレア化される。
また、この実施例2の外輪帯においても、上述した実施例1の外輪帯の場合と同様に、対物レンズの設計直線を変動させて、第2及び第3の波長についてフレア化して、良好な開口制限を行うように構成している。具体的には、実施例2の外輪帯は、図29に示すように、各回折次数(k1o,k2o,k3o)=(+1,+1,+1)で各点Pλ1,Pλ2,Pλ3をプロットし、L26に示すような設計直線を設定したものである。図29において、第1の波長の設計点Pλ1は、設計直線L26上に位置するために、回折次数k1oの回折光の収差は略0となる。一方、第2及び第3の波長におけるプロットされた点Pλ2,Pλ3は、収差ゼロ設計点とはかなりの乖離を有しており、上述したようなフレア化されていることを示している。尚、図29においては、(k2o,k3o)=(+1,+1)のプロットしか示していないが、第2及び第3の波長において、例えば0次光のようなその他の回折次数でも同様に設計直線L26から乖離していることとなる。この結果、第2及び第3の波長においては収差が取れ残り、すなわち、結果としてこの外輪帯を通過した第2及び第3の波長の光ビームは信号記録面に結像しないで、それぞれ第2及び第3の光ディスクに入射してしまう第2及び第3の波長の光ビームの光量を抑えることができる。この結果、図26に示すように第2の波長の光ビームの回折効率が存在しても、これらの光ビームは結像に対して寄与せず、適切な開口制限(NA=0.6)を実現することができ、また、図26に示すように第3の波長の光ビームの回折効率が存在しても、この光ビームは結像に対して寄与せず、適切な開口制限(NA=0.45)を実現することができる。
以上のような内輪帯、中輪帯及び外輪帯を備える実施例1及び実施例2の回折部では、上述した(14B)式の関係を満たすとともに、各波長に対する回折効率が対応する各輪帯に亘って良好であり、十分な効率が得られるとともに、不要光の問題も解消できていることが確認できる。また、上述したように、内輪帯をステップ形状(階段形状)にし、外輪帯をブレーズ形状としていることから、製造上も有利な構成となっている。
また、次に、上述した内輪帯である第1の回折領域51と、中輪帯である第2の回折領域52とについて、上述した(20)式、(21)式、(29)式、(31)式及び(56’)式で規定されるパラメータについて具体的な数値を挙げた実施例3〜7について説明する。ここでは、第1の回折領域の第1の回折構造における周期構造の周期数N及び第2の回折領域の第2の回折構造における周期構造の周期数Nや、φrate、Atypとして具体的な数値を挙げ、各実施例における不要光乖離量等について表6に示す。尚、外輪帯である第3の回折領域53の具体的な数値は省略し、(20)式、(21)式、(29)式、(31)式及び(56’)式等の効果について確認するものとする。
尚、表6中、kは、内輪帯における第1の波長の光ビームの回折次数(k1i,k1m)を示し、すなわち、対物レンズ34を介して第1の光ディスクの信号記録面に適切にスポットを形成するように集光する回折次数を示し、Nは、第1の回折領域の第1の回折構造における周期構造の周期数を示し、kは、中輪帯における第2の波長の光ビームの回折次数(k2i,k2m)を示し、すなわち、対物レンズ34を介して第2の光ディスクの信号記録面に適切にスポットを形成するように集光する回折次数を示し、Nは、第2の回折領域の第2の回折構造における周期構造の周期数を示し、φrateは、上記の(40)式より算出した値を示し、Rは、第1の内輪帯の外径の半径[mm]を示し、Rは、中輪帯の外径の半径[mm]を示し、Amin’は、上記の(55b’)式より算出した値を示し、Atypは、上記の(55a)式より算出した値を示し、Amax’は、上記の(55c’)式より算出した値を示し、Δは、不要光乖離量を示し、RMSは、三波長残留収差を示す。また、表6中には、実施例3〜7と比較するための比較例1〜3の各値を示す。
Figure 2010055693
ここで、表6に示す実施例3乃至7と、比較例1乃至3について説明する。
表6に示すように、実施例3では、内輪帯において、第1の波長の光ビームの回折次数k1iを+1とし、第2の波長の光ビームの回折次数k2iを−1とし、周期構造の周期数Nを12周期とし、外径の半径Rを0.91(mm)とした。また、中輪帯において、第1の波長の光ビームの回折次数k1mを0とし、第2の波長の光ビームの回折次数k2mを−1とし、中輪帯の周期構造の周期数Nを12周期とし、外径の半径Rを1.20(mm)とした。このとき、φrate=1.62であり、Amin’=0.85であり、Atyp=1.35であり、Amax’=2.60であり、不要光乖離量Δは、362(μm)であり、三波長残留収差RMSは、16.6(mλrms)であった。
実施例4では、内輪帯において、第1の波長の光ビームの回折次数k1iを+1とし、第2の波長の光ビームの回折次数k2iを−1とし、周期構造の周期数Nを13周期とし、外径の半径Rを0.91(mm)とした。また、中輪帯において、第1の波長の光ビームの回折次数k1mを0とし、第2の波長の光ビームの回折次数k2mを−2とし、中輪帯の周期構造の周期数Nを7周期とし、外径の半径Rを1.20(mm)とした。このとき、φrate=0.81であり、Amin’=0.42であり、Atyp=0.73であり、Amax’=1.83であり、不要光乖離量Δは、412(μm)であり、三波長残留収差RMSは、20.7(mλrms)であった。
実施例5では、内輪帯において、第1の波長の光ビームの回折次数k1iを0とし、第2の波長の光ビームの回折次数k2iを−1とし、周期構造の周期数Nを33周期とし、外径の半径Rを1.00(mm)とした。また、中輪帯において、第1の波長の光ビームの回折次数k1mを0とし、第2の波長の光ビームの回折次数k2mを−2とし、中輪帯の周期構造の周期数Nを9周期とし、外径の半径Rを1.24(mm)とした。このとき、φrate=0.50であり、Amin’=0.35であり、Atyp=0.51であり、Amax’=1.07であり、不要光乖離量Δは、846(μm)であり、三波長残留収差RMSは、34.3(mλrms)であった。
実施例6では、内輪帯において、第1の波長の光ビームの回折次数k1iを+1とし、第2の波長の光ビームの回折次数k2iを−2とし、周期構造の周期数Nを12周期とし、外径の半径Rを0.91(mm)とした。また、中輪帯において、第1の波長の光ビームの回折次数k1mを0とし、第2の波長の光ビームの回折次数k2mを−2とし、中輪帯の周期構造の周期数Nを12周期とし、外径の半径Rを1.20(mm)とした。このとき、φrate=1.31であり、Amin’=0.85であり、Atyp=1.35であり、Amax’=2.60であり、不要光乖離量Δは、533(μm)であり、三波長残留収差RMSは、16.8(mλrms)であった。
実施例7では、内輪帯において、第1の波長の光ビームの回折次数k1iを0とし、第2の波長の光ビームの回折次数k2iを−2とし、周期構造の周期数Nを9周期とし、外径の半径Rを1.04(mm)とした。また、中輪帯において、第1の波長の光ビームの回折次数k1mを0とし、第2の波長の光ビームの回折次数k2mを−2とし、中輪帯の周期構造の周期数Nを6周期とし、外径の半径Rを1.37(mm)とした。このとき、φrate=1.00であり、Amin’=0.27であり、Atyp=0.91であり、Amax’=3.92であり、不要光乖離量Δは、334(μm)であり、三波長残留収差RMSは、18.1(mλrms)であった。
比較例1では、内輪帯において、第1の波長の光ビームの回折次数k1iを+1とし、第2の波長の光ビームの回折次数k2iを−1とし、周期構造の周期数Nを2周期とし、外径の半径Rを0.91(mm)とした。また、中輪帯において、第1の波長の光ビームの回折次数k1mを3とし、第2の波長の光ビームの回折次数k2mを+2とし、中輪帯の周期構造の周期数Nを16周期とし、外径の半径Rを1.20(mm)とした。このとき、φrate=11.16であり、Amin’=2.91であり、Atyp=10.83であり、Amax’=27.79であり、不要光乖離量Δは、31(μm)であり、三波長残留収差RMSは、14.8(mλrms)であった。
比較例2では、内輪帯において、第1の波長の光ビームの回折次数k1iを+1とし、第2の波長の光ビームの回折次数k2iを−2とし、周期構造の周期数Nを13周期とし、外径の半径Rを1.00(mm)とした。また、中輪帯において、第1の波長の光ビームの回折次数k1mを0とし、第2の波長の光ビームの回折次数k2mを−2とし、中輪帯の周期構造の周期数Nを17周期とし、外径の半径Rを1.25(mm)とした。このとき、φrate=1.31であり、Amin’=1.38であり、Atyp=2.32であり、Amax’=4.03であり、三波長残留収差RMSは、6718(mλrms)であった。ここで、三波長残留収差RMSが大きく、この点で問題があるため、不要光乖離量Δの値については、「−」として省略する。
比較例3では、内輪帯において、第1の波長の光ビームの回折次数k1iを+1とし、第2の波長の光ビームの回折次数k2iを−2とし、周期構造の周期数Nを6周期とし、外径の半径Rを1.00(mm)とした。また、中輪帯において、第1の波長の光ビームの回折次数k1mを+2とし、第2の波長の光ビームの回折次数k2mを+1とし、中輪帯の周期構造の周期数Nを19周期とし、外径の半径Rを1.25(mm)とした。このとき、φrate=11.06であり、Amin’=2.40であり、Atyp=5.63であり、Amax’=10.50であり、三波長残留収差RMSは、540.9(λrms)であった。ここで、三波長残留収差RMSが大きく、この点で問題があるため、不要光乖離量Δの値については、「−」として省略する。
したがって、実施例3乃至7においてはいずれも、不要光乖離量が40μm以上を有し、不要光焦点と正規光焦点とが干渉することを防止することができる。これは内輪帯の周期構造の周期数Nが、上記の(20)式の関係を満たしているとともに、中輪帯の周期構造の周期数Nが、上記の(21)式の関係を満たし、さらに上記の(55b’)式も満たしているためである。
また、上記の(29)式及び(31)式の関係も満たしているため、回折格子形成時の効率低下を回避し、対物レンズからの戻りカップリング効率Iallを60%以上確保することができ、十分な回折効率を得ることができる。
これに対して、比較例1は、内輪帯の不要光乖離量が40μmより小さく、不要光焦点と正規光焦点とが干渉することを回避することができない構成となっている。これは、内輪帯の周期構造の周期数Nが、上記の(20)式の関係を満たさないためである。
以上のように、上述した内輪帯及び中輪帯を備える実施例3乃至7の回折部では、上述した(20)式、(21)式、(29)式、(31)式及び(56’)式の関係を満たすため、不要光乖離量も適正な範囲に抑えることができ、さらに、三波長残留収差についても十分に低減できることが確認できる。これに対して、比較例2は、φrateがAmin’を下回っており、このために3波長残留収差が非常に大きな値となっている。また比較例3はφrateがAmax’を上回っており、このために3波長残留収差が非常に大きな値となっている。このためいずれも実用的ではない解となっている。
また、次に、上述した内輪帯である第1の回折領域51と、中輪帯である第2の回折領域52とについて、上述した(20)式、(21)式、(29)式、(31)式及び(56)式で規定されるパラメータについて具体的な数値を挙げた実施例8〜12について説明する。ここでは、第1の回折領域の第1の回折構造における周期構造の周期数N及び第2の回折領域の第2の回折構造における周期構造の周期数Nや、φrate、Atypとして具体的な数値を挙げ、各実施例における不要光乖離量等について表7に示す。尚、上述した表6と同様に外輪帯である第3の回折領域53の具体的な数値は省略し、(20)式、(21)式、(29)式、(31)式及び(56)式等の効果について確認するものとする。
尚、表7中、kは、内輪帯における第1の波長の光ビームの回折次数(k1i,k1m)を示し、すなわち、対物レンズ34を介して第1の光ディスクの信号記録面に適切にスポットを形成するように集光する回折次数を示し、Nは、第1の回折領域の第1の回折構造における周期構造の周期数を示し、kは、中輪帯における第2の波長の光ビームの回折次数(k2i,k2m)を示し、すなわち、対物レンズ34を介して第2の光ディスクの信号記録面に適切にスポットを形成するように集光する回折次数を示し、Nは、第2の回折領域の第2の回折構造における周期構造の周期数を示し、φrateは、上記の(40)式より算出した値を示し、Rは、第1の内輪帯の外径の半径[mm]を示し、Rは、中輪帯の外径の半径[mm]を示し、Aminは、上記の(55b)式より算出した値を示し、Atypは、上記の(55a)式より算出した値を示し、Amaxは、上記の(55c)式より算出した値を示し、Δは、不要光乖離量を示し、RMSは、三波長残留収差を示す。また、表7中には、実施例8乃至12と比較するための比較例4乃至6の各値を示す。
Figure 2010055693
ここで、表7に示す実施例8乃至12と、比較例4乃至6について説明する。
表7に示すように、実施例8では、内輪帯において、第1の波長の光ビームの回折次数k1iを+1とし、第2の波長の光ビームの回折次数k2iを−1とし、周期構造の周期数Nを12周期とし、外径の半径Rを0.91(mm)とした。また、中輪帯において、第1の波長の光ビームの回折次数k1mを0とし、第2の波長の光ビームの回折次数k2mを−1とし、中輪帯の周期構造の周期数Nを12周期とし、外径の半径Rを1.20(mm)とした。このとき、φrate=1.62であり、Amin=1.16であり、Atyp=1.35であり、Amax=1.81であり、不要光乖離量Δは、362(μm)であり、三波長残留収差RMSは、16.6(mλrms)であった。
実施例9では、内輪帯において、第1の波長の光ビームの回折次数k1iを+1とし、第2の波長の光ビームの回折次数k2iを−1とし、周期構造の周期数Nを13周期とし、外径の半径Rを0.91(mm)とした。また、中輪帯において、第1の波長の光ビームの回折次数k1mを0とし、第2の波長の光ビームの回折次数k2mを−2とし、中輪帯の周期構造の周期数Nを7周期とし、外径の半径Rを1.20(mm)とした。このとき、φrate=0.81であり、Amin=0.63であり、Atyp=0.73であり、Amax=1.77であり、不要光乖離量Δは、412(μm)であり、三波長残留収差RMSは、20.7(mλrms)であった。
実施例10では、内輪帯において、第1の波長の光ビームの回折次数k1iを0とし、第2の波長の光ビームの回折次数k2iを−1とし、周期構造の周期数Nを33周期とし、外径の半径Rを1.00(mm)とした。また、中輪帯において、第1の波長の光ビームの回折次数k1mを0とし、第2の波長の光ビームの回折次数k2mを−2とし、中輪帯の周期構造の周期数Nを9周期とし、外径の半径Rを1.24(mm)とした。このとき、φrate=0.50であり、Amin=0.47であり、Atyp=0.51であり、Amax=0.83であり、不要光乖離量Δは、846(μm)であり、三波長残留収差RMSは、34.3(mλrms)であった。
実施例11では、内輪帯において、第1の波長の光ビームの回折次数k1iを+1とし、第2の波長の光ビームの回折次数k2iを−2とし、周期構造の周期数Nを12周期とし、外径の半径Rを0.91(mm)とした。また、中輪帯において、第1の波長の光ビームの回折次数k1mを0とし、第2の波長の光ビームの回折次数k2mを−2とし、中輪帯の周期構造の周期数Nを12周期とし、外径の半径Rを1.20(mm)とした。このとき、φrate=1.31であり、Amin=1.16であり、Atyp=1.35であり、Amax=2.86であり、不要光乖離量Δは、533(μm)であり、三波長残留収差RMSは、16.8(mλrms)であった。
実施例12では、内輪帯において、第1の波長の光ビームの回折次数k1iを0とし、第2の波長の光ビームの回折次数k2iを−2とし、周期構造の周期数Nを9周期とし、外径の半径Rを0.91(mm)とした。また、中輪帯において、第1の波長の光ビームの回折次数k1mを0とし、第2の波長の光ビームの回折次数k2mを−2とし、中輪帯の周期構造の周期数Nを6周期とし、外径の半径Rを1.20(mm)とした。このとき、φrate=1.00であり、Amin=0.74であり、Atyp=0.90であり、Amax=2.30であり、不要光乖離量Δは、334(μm)であり、三波長残留収差RMSは、18.1(mλrms)であった。
比較例4では、内輪帯において、第1の波長の光ビームの回折次数k1iを+1とし、第2の波長の光ビームの回折次数k2iを−1とし、周期構造の周期数Nを2周期とし、外径の半径Rを1.04(mm)とした。また、中輪帯において、第1の波長の光ビームの回折次数k1mを3とし、第2の波長の光ビームの回折次数k2mを+2とし、中輪帯の周期構造の周期数Nを16周期とし、外径の半径Rを1.37(mm)とした。このとき、φrate=11.16であり、Amin=4.04であり、Atyp=10.88であり、Amax=24.28であり、不要光乖離量Δは、31(μm)であり、三波長残留収差RMSは、14.8(mλrms)であった。
比較例5では、内輪帯において、第1の波長の光ビームの回折次数k1iを+1とし、第2の波長の光ビームの回折次数k2iを−2とし、周期構造の周期数Nを13周期とし、外径の半径Rを1.00(mm)とした。また、中輪帯において、第1の波長の光ビームの回折次数k1mを0とし、第2の波長の光ビームの回折次数k2mを−2とし、中輪帯の周期構造の周期数Nを12周期とし、外径の半径Rを1.25(mm)とした。このとき、φrate=1.31であり、Amin=1.64であり、Atyp=1.64であり、Amax=2.64であり、三波長残留収差RMSは、2350(mλrms)であった。ここで、三波長残留収差RMSが大きく、この点で問題があるため、不要光乖離量Δの値については、「−」として省略する。
比較例6では、内輪帯において、第1の波長の光ビームの回折次数k1iを+1とし、第2の波長の光ビームの回折次数k2iを−2とし、周期構造の周期数Nを5周期とし、外径の半径Rを1.00(mm)とした。また、中輪帯において、第1の波長の光ビームの回折次数k1mを+2とし、第2の波長の光ビームの回折次数k2mを+1とし、中輪帯の周期構造の周期数Nを20周期とし、外径の半径Rを1.25(mm)とした。このとき、φrate=11.06であり、Amin=4.50であり、Atyp=7.11であり、Amax=10.51であり、三波長残留収差RMSは、104.3(mλrms)であった。ここで、三波長残留収差RMSが大きく、この点で問題があるため、不要光乖離量Δの値については、「−」として省略する。
したがって、実施例8乃至12においてはいずれも、不要光乖離量が40μm以上を有し、不要光焦点と正規光焦点とが干渉することを防止することができる。これは内輪帯の周期構造の周期数Nが、上記の(20)式の関係を満たしているとともに、中輪帯の周期構造の周期数Nが、上記の(21)式の関係を満たし、さらに上記の(56)式も満たしているためである。
また、上記の(29)式及び(31)式の関係も満たしているため、回折格子形成時の効率低下を回避し、対物レンズからの戻りカップリング効率Iallを60%以上確保することができ、十分な回折効率を得ることができる。
これに対して、比較例4は、内輪帯の不要光乖離量が40μmより小さく、不要光焦点と正規光焦点とが干渉することを回避することができない構成となっている。これは、内輪帯の周期構造の周期数Nが、上記の(20)式の関係を満たさないためである。これに対して、比較例5は、φrateがAminを下回っており、このために3波長残留収差が非常に大きな値となっている。また比較例6はφrateがAmaxを上回っており、このために3波長残留収差が非常に大きな値となっている。このためいずれも実用的ではない解となっている。
以上のように、上述した内輪帯及び中輪帯を備える実施例3乃至7の回折部では、上述した(20)式、(21)式、(29)式、(31)式及び(56)式の関係を満たすため、不要光乖離量も適正な範囲に抑えることができ、さらに、三波長残留収差についても十分に低減できることが確認できる。
尚、上述では、内輪帯として複数の段部を有する階段構造が輪帯の半径方向に連続的に形成された階段形状の回折構造が形成された第1の回折領域51と、中輪帯として複数の段部を有する階段構造が輪帯の半径方向に連続的に形成された階段形状又はブレーズ形状の回折構造が形成された第2の回折領域52,52Bと、外輪帯としてブレーズ形状の回折構造が形成された第3の回折領域53とを備えるものとして説明したが、これに限られるものではなく、内輪帯及び中輪帯においては、上述の選択される回折次数の関係を満足すれば非周期構造の回折構造を有して構成してもよい。
例えば、第1の回折領域は、上述したように所望の位相差を付与する非周期構造が輪帯の半径方向に形成された非周期形状の回折構造が形成されるように構成してもよく、また、第2の回折領域は、上述したように所望の位相差を付与する非周期構造が輪帯の半径方向に形成された非周期形状の回折構造が形成されるように構成してもよい。第1及び第2の回折領域に、非周期形状の回折構造を設ける場合には、設計の自由度が広がり、より所望の回折効率を得ることができとともに、回折効率の温度特性の点で有利な構成である。
また、以上で説明した第1乃至第3の回折領域51,52,53の変形例としては、第3の回折領域を所謂非球面連続面として形成してもよい。すなわち、上述のような第3の回折領域53に換えて、レンズ曲面の屈折力により、第1の波長の光ビームに対しては所定の屈折力を付与して球面収差のない状態で対応する光ディスクに集光させるとともに、第2及び第3の波長の光ビームに対しては適切に開口制限を行うように構成してもよい。換言すると、第3の光ディスクの開口数に対応するような領域に形成され内輪帯として複数の段部を有する階段構造が輪帯の半径方向に連続的に形成された階段形状の回折構造が形成された第1の回折領域51と、第2の光ディスクの開口数に対応するような領域に形成され中輪帯として複数の段部を有する階段構造が輪帯の半径方向に連続的に形成された階段形状又はブレーズ形状の回折構造が形成された第2の回折領域52,52Bと、第1の光ディスクの開口数に対応するような領域に形成され、通過する第1の波長の光ビームを対応する第1の光ディスクの信号記録面に集光させるとともに通過する第2及び第3の波長の光ビームをそれぞれ対応する第2及び第3の光ディスクの信号記録面に集光しないようにさせる領域とを有する回折部として構成してもよい。かかる外輪帯を非球面連続面として構成する例については、図30を用いて後述する。
以上のような構成とされた第1乃至第3の回折領域51,52,53を有する回折部50は、第1の回折領域51を通過する第1乃至第3の波長の光ビームを、3波長に共通の対物レンズ34の屈折力によりそれぞれ対応する種類の光ディスクの信号記録面に球面収差が発生しない発散角の状態となるような回折力で回折させるとともに対物レンズ34の屈折力により対応する光ディスクの信号記録面に適切なスポットを集光させることができ、第2の回折領域52を通過する第1及び第2の波長の光ビームを、共通の対物レンズ34の屈折力によりそれぞれ対応する種類の光ディスクの信号記録面に球面収差が発生しない発散角の状態となるような回折力で回折させるとともに対物レンズ34の屈折力により対応する光ディスクの信号記録面に適切なスポットを集光させることができ、第3の回折領域53を通過する第1の波長の光ビームを対物レンズ34の屈折力により対応する種類の光ディスクの信号記録面に球面収差が発生しない発散角の状態となるような回折力で回折させるとともに対物レンズ34の屈折力により対応する光ディスクの信号記録面に適切なスポットを集光させることができる。ここで、「球面収差が発生しない発散角の状態」には、発散状態、収束状態及び平行光の状態も含み、球面収差がレンズ曲面の屈折力により補正される状態を意味するものとする。
すなわち、光ピックアップ3の光学系における第1乃至第3の出射部と信号記録面との間の光路上に配置される対物レンズ34の一面に設けられた回折部50は、それぞれの領域(第1乃至第3の回折領域51,52,53)を通過するそれぞれの波長の光ビームを信号記録面に発生する球面収差を低減する状態となるように回折力を付与することができるので、光ピックアップ3において第1乃至第3の波長の光ビームを共通の対物レンズ34を用いてそれぞれ対応する光ディスクの信号記録面に集光させたときの信号記録面に発生する球面収差を極限まで低減することができ、すなわち、3種類の光ディスクに対して3種類の波長と共通の対物レンズ34とを用いた光ピックアップの3波長互換を実現してそれぞれの光ディスクに対して適切に情報信号の記録及び/又は再生を可能とする。
また、上述したような第1乃至第3の回折領域51,52,53からなる回折部50を有する対物レンズ34は、内輪帯としての第1の回折領域51により選択されて支配的とされて対物レンズ34を介して対応する光ディスクの信号記録面に集光される回折次数(k1i,k2i,k3i)が、k1i≧k2i>k3iの関係を有するようにされていることから、適切に球面収差を低減できる回折次数の回折光を支配的とすることで、各波長の光ビームを対応する光ディスクの信号記録面に適切なスポットを集光させることができるとともに、各波長の光ビームを使用する場合の作動距離と、各波長に対する焦点距離を適切な状態にすることができ、すなわち第3の波長λを使用する場合の作動距離を確保するために第1の波長λに対する焦点距離が長くなり過ぎることを防止して、対物レンズのレンズ径が大きくなることや光ピックアップ全体の大型化する等の問題を防止できる。よって、この回折部50を有する対物レンズ34は、適切な作動距離と焦点距離を確保して光学部品や光ピックアップの大型化させることなく、各波長の光ビームを高い光利用効率で対応する光ディスクの信号記録面に適切なスポットを集光させることを実現し、すなわち3種類の光ディスクに対して3種類の波長と共通の対物レンズを用いた光ピックアップの3波長互換を実現してそれぞれの光ディスクに対して適切に情報信号の記録及び/又は再生を可能とする。
また、上述したような回折部50を有する対物レンズ34は、内輪帯としての第1の回折領域51により選択されて対物レンズ34を介して対応する光ディスクの信号記録面に集光される回折次数のうち、k1i,k3iがそれぞれ、(−2,−3)、(−1,−2)、(−1,−3)、(0,−2)、(0,−3)、(1,−2)、(1,−3)、(2,−1)、(2,−2)、(2,−3)、(3,0)、(3,−1)、(3,−2)、又は(3,−3)である構成により、適切に球面収差を低減できる回折次数の回折光を支配的とすることで、各波長の光ビームを対応する光ディスクの信号記録面に適切なスポットを集光させることができるとともに、各波長の光ビームを使用する場合の作動距離と、各波長に対する焦点距離を適切な状態にすることができ、すなわち第3の波長λを使用する場合の作動距離を確保するために第1の波長λに対する焦点距離が長くなり過ぎることを防止して、対物レンズのレンズ径が大きくなることや光ピックアップ全体の大型化する等の問題を防止できるのに加えて、上述した内輪帯を構成する際の第3の観点で説明したように、必要となる溝深さが深くなりすぎることを防止する製造上有利な構成であるので、製造工程を簡素化できるとともに、形成精度の悪化を防止することができる。よって、この回折部50を有する対物レンズ34は、適切な作動距離と焦点距離を確保して光学部品や光ピックアップを大型化させることなく、また、製造工程を簡素化するとともに形成精度の悪化を防止して、高い光利用効率で対応する光ディスクの信号記録面に適切なスポットを集光させることを実現する。
また、上述したような回折部50を有する対物レンズ34は、第1の回折領域51が、複数の段部を有する階段構造が輪帯の半径方向に連続的に形成された階段形状の回折構造が形成され、第3の回折領域53が、ブレーズ形状の回折構造が形成されている構成とされている。かかる回折部50を有する対物レンズ34は、第1乃至第3の波長に対して所定の状態となるような回折力を付与するとともに高い回折効率とする必要性のある内輪帯をステップ形状で形成した構成により、不要光の回折光量を抑えて、不要光が受光部で受光されてジッター等が悪化するおそれを防止でき、また、不要光の回折光量がある程度発生した場合にもその不要光の回折次数をフォーカス光の隣接回折次数以外の回折角度差の大きい乖離された回折次数とすることで、フォーカス時に不要光が集光されてジッター等が悪化するおそれを防止できる。
また、かかる回折部50を有する対物レンズ34は、対物レンズの一方の面に一体形成されるとともに最も外側に設けられる外輪帯をブレーズ形状で形成した構成により、3波長対応レンズのような極めてレンズ曲面が急峻な曲率を有している部分に回折構造を形成する際に有利な構成であり、製造を容易にし且つ形成精度の悪化を防止することができる。
また、上述したような回折部50を有する対物レンズ34は、対物レンズ34の入射側の面に入射する際の、第1の波長の光ビームが無限光学系、すなわち略平行光とされ、第2及び第3の波長の光ビームが有限光学系、すなわち発散光とされて入射される構成により、図6,図7及び図26を用いて説明したように、3波長の選択された回折次数k1i,k2i,k3iに対して所定の回折効率を球面収差補正の可能性を考慮する必要のある内輪帯である第1の回折領域51を通過する光ビームを、高い回折効率且つ球面収差のない状態で対応する光ディスクの信号記録面に適切に集光することができる。
さらに、かかる回折部50を有する対物レンズ34は、対物レンズの入射側の面に入射する際の、第1の波長の光ビームが略平行光とされ、第2及び第3の波長の光ビームが発散光とされて入射される構成により、中輪帯や外輪帯で、図19、図21、図27、図28で説明したようなフレア化を行う際の自由度を向上し、自由度を向上させてフレア化の効果を享受することにより、中輪帯や外輪帯の回折構造選択の自由度を向上させて、すなわち、より高効率が得られるとともに、構成自体の簡素化を実現して、さらにはこれによる形成精度の悪化等についても防止できる。このように、かかる回折部50を有する対物レンズ34は、対物レンズ34の入射側の面に入射する際の、第1の波長の光ビームが略平行光とされ、第2及び第3の波長の光ビームが発散光とされて入射される構成により、各波長に対して高い回折効率且つ球面収差のない状態で対応する光ディスクの信号記録面に適切に集光することを、より簡素な構成で実現することを可能とする。
尚、後述のように回折部50が対物レンズと別体の回折光学素子35B(図41参照)に設けられる場合には、対物レンズ及び回折部が設けられた回折光学素子のうち第1乃至第3の出射部に近接する側に配置される側の素子の入射側の面に入射する際の、第1の波長の光ビームが略平行光とされ、第2及び第3の波長の光ビームが発散光とされて入射されるように構成すれば同様の効果が得られる。
さらに、上述したような回折部50を有する対物レンズ34は、内輪帯としての第1の回折領域51により選択されて支配的とされて対物レンズ34を介して対応する光ディスクの信号記録面に集光される回折次数(k1i,k2i,k3i)が、(1,−1,−2)、(0,−1,−2)、(1,−2,−3)又は(0,−2,−3)とされていることにより、内輪帯を構成する際の第1の観点で述べたような各波長における球面収差を低減でき、第2の観点で述べたような各波長における作動距離及び焦点距離を最適なものにでき、第3及び第4の観点で述べたような製造上有利な構成とでき、さらに、各波長のそれぞれ選択された回折次数の回折効率を十分に高く設定でき、且つ、階段形状での構成を可能とすることから不要光の回折効率を抑えるとともに、隣接回折次数の回折効率を低くできることから、不要光の悪影響を極力抑えることを実現できる。よって、この回折部50を有する対物レンズ34は、より具体的な構成を考慮して小型化や構成の有利さ等を考慮した上で、より有利な構成で、高い光利用効率で対応する光ディスクの信号記録面に適切なスポットを集光させることを実現する。
さらに、上述したような回折部50を有する対物レンズ34は、内輪帯としての第1の回折領域51により選択される回折次数(k1i,k2i,k3i)を上述のような回折次数としたときに、中輪帯としての第2の回折領域52により選択されて支配的とされて対物レンズ34を介して対応する光ディスクの信号記録面に集光される回折次数(k1m,k2m)が、(+1,+1)、(−1,−1)、(0,+2)、(0,−2)、(0,+1)、(0,−1)、(+1,0)又は(−1,0)とされていることにより、例えば階段形状又は非周期形状での回折効率が有利な構成を可能とし、内輪帯及び中輪帯の構成としてそれぞれの機能を十分に発揮することができる。すなわち、このような第2の回折領域52を有する対物レンズ34は、特に中輪帯を構成する際の第2の観点で述べたような内輪帯及び中輪帯における回折機能による像点位置を一致させるのがより容易な構成とされていることにより、中輪帯に入射した第1及び第2の波長の光ビームを、内輪帯により上述のように収差を低減された光ビームとの関係を最適な状態として、且つ球面収差を十分に低減することを実現できる。さらに、かかる第2の回折領域52を有する対物レンズ34は、第1及び第2の波長に対しては球面収差を補正した状態で高い回折効率を得ることができるとともに第3の波長に対しては適切に開口制限を行うことを実現し、また、製造上有利な構成とすることができる。よって、この回折部50を有する対物レンズ34は、構成の有利さ等を考慮した上で、より有利な構成で、高い光利用効率で対応する光ディスクの信号記録面に適切なスポットを集光させることを実現する。
さらに、上述したような回折部50を有する対物レンズ34は、内輪帯としての第1の回折領域51により選択される回折次数(k1i,k2i,k3i)を上述のような回折次数としたときに、中輪帯としての第2の回折領域52により選択されて支配的とされて対物レンズ34を介して対応する光ディスクの信号記録面に集光される回折次数(k1m,k2m)が、(+3,+2)、(−3,−2)、(+2,+1)又は(−2,−1)とされていることにより、例えばブレーズ形状又は非周期形状での回折効率が有利な構成を可能とし、内輪帯及び中輪帯の構成としてそれぞれの機能を十分に発揮することができる。すなわち、このような第2の回折領域52を有する対物レンズ34は、特に中輪帯を構成する際の第2の観点で述べたような内輪帯及び中輪帯における回折機能による像点位置を一致させるのがより容易な構成とされていることにより、中輪帯に入射した第1及び第2の波長の光ビームを、内輪帯により上述のように収差を低減された光ビームとの関係を最適な状態として、且つ球面収差を十分に低減することを実現できる。さらに、かかる第2の回折領域52を有する対物レンズ34は、第1及び第2の波長に対しては球面収差を補正した状態で高い回折効率を得ることができるとともに第3の波長に対しては適切に開口制限を行うことを実現し、また、製造上有利な構成とすることができる。よって、この回折部50を有する対物レンズ34は、構成の有利さ等を考慮した上で、より有利な構成で、高い光利用効率で対応する光ディスクの信号記録面に適切なスポットを集光させることを実現する。
さらに、上述したような回折部50を有する対物レンズ34は、内輪帯としての第1の回折領域51により選択される回折次数(k1i,k2i,k3i)を上述のような回折次数としたときに、中輪帯としての第2の回折領域52により選択されて支配的とされて対物レンズ34を介して対応する光ディスクの信号記録面に集光される回折次数(k1m,k2m)が、(+1,−1)又は(−1,+1)とされていることにより、例えば階段形状又は非周期形状での回折効率が有利な構成を可能とし、また、(k1m,k2m)が、(+1,+1)又は(−1,−1)とされていることにより、例えばブレーズ形状又は非周期形状での回折効率が有利な構成を可能として、内輪帯及び中輪帯の構成としてそれぞれの機能を十分に発揮することができる。すなわち、このような第2の回折領域52を有する対物レンズ34は、光ピックアップの光学系の戻り倍率を大きく設定する等の手法により不要光の影響を低下させる構成と一緒に用いられることにより、特に中輪帯を構成する際の第2の観点で述べたような内輪帯及び中輪帯における回折機能による像点位置を一致させるのがより容易な構成とされていることにより、中輪帯に入射した第1及び第2の波長の光ビームを、内輪帯により上述のように収差を低減された光ビームとの関係を最適な状態として、且つ球面収差を十分に低減することを実現できる。さらに、かかる第2の回折領域52を有する対物レンズ34は、第1及び第2の波長に対しては球面収差を補正した状態で高い回折効率を得ることができるとともに第3の波長に対しては適切に開口制限を行うことを実現し、また、製造上有利な構成とすることができる。よって、この回折部50を有する対物レンズ34は、構成の有利さ等を考慮した上で、より有利な構成で、高い光利用効率で対応する光ディスクの信号記録面に適切なスポットを集光させることを実現する。
また、第1乃至第3の回折領域51,52,53を有する回折部50は、第2及び第3の回折領域52,53を第3の波長の光ビームが通過することにより最大の回折効率及び所定の回折効率を有して発生する回折次数の回折光をフレア化して結像位置を信号記録面からずらすことによりその回折次数の回折光の回折効率を低減する構成により、第3の波長の光ビームについて、第1の回折領域51を通過した部分の光ビームのみを対物レンズ34により光ディスクの信号記録面に集光させるとともに、この第1の回折領域51がこの領域を通過する第3の波長の光ビームを所定のNAとなるような大きさに形成されていることにより、第3の波長の光ビームについて例えば0.45程度のNAとなるように開口制限を行うことを可能とする。
また、回折部50は、第3の回折領域53を第2の波長の光ビームが通過することにより最大の回折効率及び所定の回折効率を有して発生する回折次数の回折光をフレア化することによりその回折次数の回折光の回折効率を低減する構成により、第2の波長の光ビームについて、第1及び第2の回折領域51,52を通過した部分の光ビームのみを対物レンズ34により光ディスクの信号記録面に集光させるとともに、この第1及び第2の回折領域51,52がこの領域を通過する第2の波長の光ビームを所定のNAとなるような大きさに形成されていることにより、第2の波長の光ビームについて例えば0.60程度のNAとなるように開口制限を行うことを可能とする。
また、回折部50は、第3の回折領域53の外側の領域を通過する第1の波長の光ビームを対物レンズ34により対応する種類の光ディスクの信号記録面に適切に集光しないような状態又は遮蔽することで、第1の波長の光ビームについて、第1乃至第3の回折領域51,52,53を通過した部分の光ビームのみを対物レンズ34により光ディスクの信号記録面に集光させるとともに、この第1乃至第3の回折領域51,52,53がこの領域を通過する第1の波長の光ビームを所定のNAとなるような大きさに形成されていることにより、第1の波長の光ビームについて例えば0.85程度のNAとなるように開口制限を行うことを可能とする。
このように、上述のような光路上に配置される対物レンズ34の一面に設けられた回折部50は、3波長互換を実現するのみならず、3種類の光ディスク及び第1乃至第3の波長の光ビームのそれぞれに適応した開口数で開口制限した状態で共通の対物レンズ34に各波長の光ビームを入射させることを可能とする。すなわち、回折部50は、3波長に対応した収差補正の機能を有するのみならず、開口制限手段としての機能も有する。
尚、上述の各回折領域の実施例を適宜組み合わせて回折部を構成することが可能である。すなわち、各回折領域を通過する各波長の回折次数は、適宜選択可能である。尚、各回折領域を通過する各波長の回折次数を変える場合には、この各領域を通過した各波長の各回折次数に対応したレンズ曲面を有するように対物レンズ34を構成すればよい。
また、回折部50を有する対物レンズ34は、内輪帯における回折周期構造の周期数Nが、下記の(20)式の関係を有し、中輪帯における回折周期構造の周期数Nが、下記の(21)式の関係を有するようにされていることから、不要光と正規光の干渉を避け、不要光の回折光量を抑えて、不要光が受光部で受光されてジッター等が悪化するおそれを防止でき、また、不要光の回折光量がある程度発生した場合にもその不要光の回折次数をフォーカス光の隣接回折次数以外の回折角度差の大きい乖離された回折次数とすることで、フォーカス時に不要光が集光されてジッター等が悪化するおそれを防止でき、十分な再生・記録時光スポットを形成することができる。
1i≧4 (20)式
1m≧3 (21)式
また、回折部50を有する対物レンズ34は、第1の回折領域51の半径を0.99mmとすると、第1の回折領域51の回折周期構造の周期数Nが、下記の(29)式の関係を有し、第2の回折領域52の半径を1.43mmとすると、第2の回折領域52の回折周期構造の周期数Nが、下記の(31)式の関係を有するようにされていることから、回折周期構造の形成時の効率低下を回避し、対物レンズ34からの戻りカップリング効率Iallを60%以上確保することができ、十分な回折効率を得ることができる。
≦39 (29)式
≦25 (31)式
したがって、回折部50を有する対物レンズ34は、内輪帯における回折周期構造の周期数Nが、下記の(58)式の関係を有し、中輪帯における回折周期構造の周期数Nが、下記の(59)式の関係を有するようにされることで、不要光と正規光の干渉を避け、不要光の回折光量を抑えて、不要光が受光部で受光されてジッター等が悪化するおそれを防止でき、また、不要光の回折光量がある程度発生した場合にもその不要光の回折次数をフォーカス光の隣接回折次数以外の回折角度差の大きい乖離された回折次数とすることで、フォーカス時に不要光が集光されてジッター等が悪化するおそれを防止でき、十分な再生・記録時光スポットを形成することができるとともに、回折格子形成時の効率低下を回避し、対物レンズからの戻りカップリング効率Iallを60%以上確保することができ、十分な回折効率を得ることができる。
4≦N≦39 (58)式
3≦N≦25 (59)式
また、回折部50を有する対物レンズ34は、第1の回折領域51の半径を0.99mmと異なっていても、少なくとも、第1の回折領域51の各段部の高さdと平均ピッチpとが、上記の(32)式の関係を有するようにされていることから、回折周期構造の形成時の効率低下を回避し、対物レンズ34からの戻りカップリング効率Iallを60%以上確保することができ、十分な回折効率を得ることができる。
また、回折部50を有する対物レンズ34は、第2の回折領域52の半径を1.43mmと異なっていても、少なくとも、第2の回折領域52の各段部の高さdと平均ピッチpとが、上記の(33)式の関係を有するようにされていることから、回折周期構造の形成時の効率低下を回避し、対物レンズ34からの戻りカップリング効率Iallを60%以上確保することができ、十分な回折効率を得ることができる。
また、回折部50を有する対物レンズ34は、第1の回折領域51及び第2の回折領域52が、上記の(54a)式及び上記の(54b)式の関係を有するようにされていることから、軸上収差量を適正とし、温度変化時の収差量も低減した構成とすることができる。
また、回折部50を有する対物レンズ34は、第1の回折領域51及び第2の回折領域52は、上記の(53)式の関係を有するようにされていることから、軸上収差量を適正とし、温度変化時の収差量も低減した構成とすることができる。
また、回折部50を有する対物レンズ34は、第1の回折領域51における各波長の回折次数k1i、k2iと第2の回折領域52における各波長の回折次数k1m、k2mとにおける回折次数の組み合わせが、上記(54a)式を満たすほかに、上記の(57)式の関係を有するようにされていることから、第3の回折領域53における各波長の回折次数k3iとk3mが同一又は、中輪帯でk3mに次いで効率を持つ、k3m’がk3iと同一になり、外輪帯における開口制限が適切に働かないことを防止することができ、軸上収差量を適正とし、温度変化時の収差量も低減した構成とすることができる。
ここで、上述した回折部50の第3の回折領域53に換えて外輪帯を非球面連続面として構成する例について図30を用いて説明する。すなわち、図30を用いて、第1、第2の回折領域51,52に加えてかかる第2の回折領域52の外側に非球面連続面として形成された第3の領域80を有する回折部90を用いた例について説明する。尚、回折部90は、上述した回折部50の第3の回折領域53に相当する部分に第3の領域80を有することを除いては、上述した回折部50と同様であるので、共通する部分には同一の符号を付すとともに詳細は省略する。また、かかる回折部90においても、上述したように第2の回折領域52に換えて第2の回折領域52Bを用いるように構成してもよい。
回折部90を有する対物レンズ34Cは、回折部50を有する場合と同様に、この回折部90により、複数の回折領域51,52毎に通過する第1乃至第3の波長の光ビームのそれぞれを所定の次数となるように回折して、所定の発散角を有する拡散状態又は収束状態の光ビームとして対物レンズ34Cに入射させるのと同様の状態とすること及び後述の第3の領域80により所定の作用を与えることにより、この単一の対物レンズ34Cを用いて第1乃至第3の波長の光ビームをそれぞれに対応する3種類の光ディスクの信号記録面に球面収差を発生しないように適切に集光することを可能とする。回折部90を有する対物レンズ34Cは、基準となる屈折力を発生させるレンズ面形状を基準として回折力を発生させる回折構造が形成されていることにより、3つの異なる波長の光ビームをそれぞれに対応する光ディスクの信号記録面に球面収差を発生しないように適切に集光する集光光学デバイスとして機能する。また、回折部90を有する対物レンズ34Cは、屈折素子の機能と回折素子の機能を兼ね備えており、すなわち、レンズ曲面による屈折機能と、一方の面に設けられた回折部90による回折機能とを兼ね備えるものである。
具体的に、図30(a)及び図30(b)に示すように、対物レンズ34Cの入射側の面に設けられた回折部90は、最内周部に設けられ略円形状であり、光ビームを回折する回折作用を有する第1の領域として第1の回折領域(内輪帯)51と、第1の回折領域51の外側に設けられ輪帯状であり、光ビームを回折する回折作用を有する第2の領域として第2の回折領域(中輪帯)52と、第2の回折領域52の外側に設けられ輪帯状の第3の領域(以下、「外輪帯」ともいう。)80とを有する。
外輪帯である第3の領域80は、輪帯状で所定の屈折作用を有する非球面連続面として形成され、通過する第1の波長の光ビームを第1の光ディスクの信号記録面に適切なスポットを形成するよう集光するように屈折させる。
また、第3の領域80は、上述の非球面連続面により、通過する第2の波長の光ビームを第2の光ディスクの信号記録面に適切なスポットを形成しないように屈折させる。すなわち、第3の領域80は、第2の波長の光ビームを第2の光ディスクの信号記録面に集光させない状態とする。換言すると、第3の領域80は、第2の波長の光ビームを第2の光ディスクの信号記録面からデフォーカスすなわち乖離した位置に集光させる状態か、又は、発散させて集光させない状態となるように第2の波長の光ビームに屈折作用を与える。
また、第3の領域80は、上述の非球面連続面により、通過する第3の波長の光ビームを第3の光ディスクの信号記録面に適切なスポットを形成しないように屈折させる。すなわち、第3の領域80は、第3の波長の光ビームを第3の光ディスクの信号記録面に集光させない状態とする。換言すると、第3の領域80は、第3の波長の光ビームを第3の光ディスクの信号記録面からデフォーカスすなわち乖離した位置に集光させる状態となるように第3の波長の光ビームに屈折作用を与える。
このように、第3の領域80は、上述の作用を与える非球面連続面により形成されることにより、第3の領域80を通過した第1の波長の光ビームを第1の光ディスクの信号記録面に集光される際の球面収差を補正して低減することを可能とする。また、第3の領域80は、第2の波長の光ビームについては、対応する光ディスクの信号記録面に集光させず、開口制限機能を発揮することができる。さらに、第3の領域80は、第3の波長の光ビームについても、対応する光ディスクの信号記録面に集光させず、上述の回折領域252とともに、開口制限機能を発揮することができる。ここで、第3の領域80は、上述の第2の波長の光ビームに対して開口数NAを0.6程度に開口制限を行うように構成された第2の回折領域252の外側に形成されている。また、第3の領域80は、その領域を通過した第1の波長の光ビームが、NA=0.85程度で開口制限されるような大きさに形成されている。尚、かかる第3の領域80の外側の領域は、通過する光ビームを遮蔽する遮蔽部を設けることにより、若しくは通過する光ビームを対物レンズ234Cを介して第1の光ディスク上に集光する次数以外の次数の光ビームが支配的となる回折領域を設けることにより、又は通過する第1の波長の光ビームを第1の光ディスクの信号記録面に集光させないような屈折面が形成されることにより、開口制限が行われる。上述の構成により制限される開口数は、これに限られるものではない。
具体的に、第3の領域80は、下記の(60)式で示すような非球面形状となるように形成されている。尚、第1及び第2の回折領域51,52についても、回折構造が形成される基準面が、この(60)式で示される非球面形状となるようにされ、かかる非球面形状の基準面上に上述の回折構造が形成されている。また、上述した回折部50の第3の回折領域53についても、回折構造が形成される基準面が、(60)式で示される非球面形状となるようにされ、かかる非球面形状の基準面上に上述の回折構造が形成されている。この(60)式中で、hは、光軸からの高さ、すなわち半径方向の位置を示し、zは、hの位置における光軸に平行するサグ量を示し、すなわち、hの位置における面頂点の接平面からの距離を示す。このzで示すサグ量は、回折構造がない第3の領域80においては、レンズの面形状を示すものである。また、cは、曲率、すなわち曲率半径の逆数を示し、κは円錐係数(非球面係数)を、A4、A6、A8、A10・・・は、非球面係数を示す。
Figure 2010055693
また、(60)式中Δzは、内輪帯の基準面を示す2−1面を基準に取った場合の2−1面からの軸上面間距離を示す。すなわち、内輪帯基準面を2−1面とし、中輪帯基準面を2−2面とし、外輪帯基準面を2−3面としたときに、内輪帯基準面2−1面の頂点位置を原点とし、中輪帯基準面2−2面と、外輪帯基準面2−3面とがこの原点からΔzだけオフセットして面が形成されていることを示す。ここで、「外輪帯基準面」としたが、これは、上述した外輪帯53の場合には、この基準面に回折構造が形成されるが、ここで説明する外輪帯80の場合には、この「外輪帯基準面」自体が外輪帯の面形状となる。例えば、2−2面についての軸上面間距離Δzは、図31のように示されることとなる。尚、図31中、Su2−1は、内輪帯51の基準面である2−1面を示し、Su2−2は、中輪帯52の基準面である2−2面を示す。また、横軸は、光軸方向のサグ量zを示し、hは、半径方向の位置を示し、z(h)は、(60)式中のzである半径方向の位置毎のサグ量を示す。また、図31において、実線部は、Su2−1及びSu2−2により形成される基準面を示し、破線部は、Su2−1,Su2−2を延長した部分を示す。かかる図31において、Δzは、2−1面の頂点と、2−2面の頂点との軸上の距離を示すものである。尚、ここでは、2−1面と2−2面との交点が内輪帯及び中輪帯の領域境界となっているが、これに限られるものではなく、収差や回折効率を考慮して各光ディスクの信号記録面に適切に集光できるような状態になるように形成される。換言すると、内輪帯と中輪帯との2境界の閾値は、半径方向の位置を示すhにより決定されるものである。そして、上述のように2−1面と2−2面とが、hで決定される境界部分で交差しないような場合は、微少の段差を有して内輪帯及び中輪帯の基準面が形成されることとなる。また、上述は内輪帯と中輪帯との関係について説明したが、外輪帯と内輪帯及び中輪帯との関係も上述の場合と同様であり、また、外輪帯におけるΔzも、内輪帯の面頂点との関係で上述と同様に決定されている。
さらに、図39及び図30で説明した内輪帯である第1の回折領域51や、中輪帯である第2の回折領域52や、図39で説明した外輪帯である第3の回折領域53において、非球面基準面に対して付与された回折構造による位相差Φは、下記の(61)式によって表される。(61)式は、位相差関数係数Cを用いたものであり、(61)式中kは、各波長λ,λ,λにおいて選択される回折次数を示すものであり、具体的には、k,k,kを示し、hは、半径方向の位置を示し、λは、製造波長を示すものである。尚、ここで説明したΦは、非球面レンズ形状上に極めて薄い非常に高屈折率の膜があると仮定し、その際の位相差量を定義したものである。実際のレンズ回折面の形成においては、上述した図46の手順にしたがって形成されることとなるが、そのままレンズ面に回折構造となる凹凸形状を形成すると光軸に対して斜めに進む光路では光路差が変動するため、微少な補正が行われて形成されることとなる。
Figure 2010055693
次に、第1及び第2の回折領域51,52と第3の領域80とを有する回折部90を有する対物レンズについて具体的な数値を挙げた実施例15について説明するが、これと比較するために、第1乃至第3の回折領域51,52,53を有する回折部50の実施例13,14についても併せて説明する。以下、かかる実施例として、表8で示される実施例13、表9で示される実施例14、表10で示される実施例15について説明する。
後述で示す表8〜表10においては、メディア種類として、BD等の第1の光ディスク、DVD等の第2の光ディスク、CD等の第3の光ディスクを示した。また、各波長、各保護層厚さ、焦点距離f、NA及び入射倍率を表中に示す。また、面番号は、各面の番号を示すものであり、すなわち、0面は、光源の位置を示すものであり、無限(∞)である場合は、平行光入射であることを示すとともに、無限でない場合は、僅かに斜め方向から入射することを示す。また、1面は、絞り面を示す、この絞り径は、最大開口である第1の光ディスク(BD等)のものであり、φ3.26mm程度である。ここで、第2及び第3の光ディスクに対しては、上述のような中輪帯や外輪帯による開口制限機能による所謂セルフアパーチャとして機能するため、表中の数値程度まで、開口制限機能により制限されることを示している。また、2−1面、2−2面、2−3面は、それぞれ内輪帯、中輪帯、外輪帯を示すものであり、実際のレンズにおいては1面であるが、上述した図31で説明したように構成されている。3面は、対物レンズの出射面を示す。4面は、対物レンズから光ディスク表面までの距離を示し、所謂作動距離(WD,ワーキングディスタンス)を示すものである。また、5面は、光ディスクを示しており、それぞれ波長に応じた屈折率を有するとともに、メディア毎に異なる保護層厚さを有することを示している。各面における屈折率nλ1、nλ2、nλ3は、その面より後方の屈折率を示し、各面における面間隔dλ1、dλ2、dλ3は、その面から次の面までの距離を示している。また、ri(i=2−1,2−2,2−3,3)は、それぞれの面の曲率半径を示している。また、BD等の第1の光ディスクの面間隔dλ1、第1の波長に対する屈折率nλ1、DVD等の第2の光ディスクの面間隔dλ2、第2の波長に対する屈折率nλ2、CD等の第3の光ディスクの面間隔dλ3、第3の波長に対する屈折率nλ3を示す。さらに、表8〜10には、上述したhを領域(mm)として示すとともに、非球面係数k、A4、A6、A8、・・・、回折次数、製造波長(nm)、位相差関数係数Cn、「2−1面との軸上面間距離」を示す。また、回折次数については、例えば、2−1面における「1/−1/−2」は、内輪帯において第1の波長について1次、第2の波長について−1次、第3の波長について−2次が上述のように支配的となるように選択していることを示している。また、2−2面における「0/−1」は、中輪帯において第1の波長について0次、第2の波長について−1次が上述のように支配的となるように選択していることを示している。また、2−3面における「4」は、外輪帯において第1の波長について4次が上述のように支配的となるように選択していることを示している。表10においては、かかる外輪帯の2−3面が上述のように屈折面として構成されるため、空欄としている。2−1面との軸上面間距離は、上述の(60)式におけるΔzを示すものであり、2−1面では、0とするとともに、3面では、レンズの光軸上での厚みを示すものとなっている。
まず、表8で示される実施例13について説明する。かかる実施例13は、第3の回折領域253を有する回折部250に対応するものである。この実施例13に対応する縦収差図を図32〜図34に示す。この図32〜図34並びに後述の図35〜68において縦軸は、NAを示し、横軸は、デフォーカス(「defocus」)(mm)を示す。ここで、NAは、BD等の第1の光ディスクにおける波長、すなわち第1の波長におけるものに換算されている。すなわち、NA×f=NA×f=NA×fの関係を用いて換算したものである。NA、NA、NAは、それぞれ第1乃至第3の光ディスクの開口数NAを示し、f、f、fは、それぞれ、第1乃至第3の光ディスクに対応する第1乃至第3の波長における焦点距離を示す。そして、この関係を用いたとき、DVD等の第2の光ディスクに対する第2の波長における開口数は、第1の波長におけるものに換算すると0.65程度となる。同様に、CD等の第3の光ディスクに対する第3の波長における開口数は、第1の波長のものに換算すると0.5程度となる。
Figure 2010055693
実施例13においては、図32に、BD等の第1の光ディスクに対する第1の波長においては、略無収差で結像していることが示されている。また、図33に、DVD等の第2の光ディスクに対する第2の波長においては、NA0.65程度で、無収差でありその外側では結像がぼやけていることが示されている。これは、図34の縦収差図において、±0.05mmほど結像位置がずれていることに起因するものであり、多少の結像が残るものの、第2の波長の回折効率が約60%程度(図51(b)参照)であるため、問題なく結像されないといえる。すなわち、第2の光ディスクに対する第2の波長の開口より外側の部分では適切に開口制限の機能が発揮されていることが示されている。さらに、図35に、CD等の第3の光ディスクに対する第3の波長においては、NA0.5程度より外側では完全に外れた状態であることが示されており、すなわち、適切に開口制限の機能が発揮されていることが示されている。
次に、表9で示される実施例14について説明する。この実施例14に対応する縦収差図を図35〜図37に示す。かかる実施例14は、第3の回折領域253を有する回折部250に対応するものである。
Figure 2010055693
実施例14において、図35に、第1の光ディスクに対する第1の波長においては、略無収差で結像していることが示されている。また、図36に、第2の光ディスクに対する第2の波長においては、NA0.65より外側の部分で、結像が外れていることが示されている。この実施例14では、特に、第2の光ディスクに対する第2の波長においては、NA0.65以上の部分である外輪帯の部分における不要光の乖離が大きいことを意味しており、開口制限の機能を非常に良好に発揮しているといえる。さらに、図37に、第3の光ディスクに対する第3の波長においては、NA0.5より外側で完全に外れた状態であることが示されており、すなわち、適切に開口制限機能が発揮されていることが示されている。
次に、表10で示される実施例15について説明する。この実施例15に対応する縦収差図を図38〜図40に示す。かかる実施例15は、第3の領域80を有する回折部90に対応するものである。
Figure 2010055693
実施例15において、図38に、第1の光ディスクに対する第1の波長においては、略無収差で結像していることが示されている。また、図39に、第2の光ディスクに対する第2の波長においては、NA0.65以上の部分で、結像が外れていることが示されている。さらに、図40に、第3の光ディスクに対する第3の波長においては、NA0.5より外側で完全に外れた状態であることが示されており、すなわち、適切に開口制限機能が発揮されていることが示されている。特に、この実施例15では、第3の波長の外輪帯部分が回折機能を有さず100%の効率を有する不要光であるが、軸上方向に約0.2mmにわたって光が分散しているため、十分にフレア化がなされているといえる。これにより、開口制限の機能が十分に発揮されていることが確認できる。
以上のような構成とされた第1、第2の領域として第1及び第2の回折領域51,52と、第3の領域80を有する回折部90は、第1の回折領域51を通過する第1乃至第3の波長の光ビームを、3波長に共通の対物レンズ34Cの屈折力によりそれぞれ対応する種類の光ディスクの信号記録面に球面収差が発生しない発散角の状態となるような回折力で回折させるとともに対物レンズ34Cの屈折力により対応する光ディスクの信号記録面に適切なスポットを集光させることができ、第2の回折領域52を通過する第1及び第2の波長の光ビームを、共通の対物レンズ34Cの屈折力によりそれぞれ対応する種類の光ディスクの信号記録面に球面収差が発生しない発散角の状態となるような回折力で回折させるとともに対物レンズ34Cの屈折力により対応する光ディスクの信号記録面に適切なスポットを集光させることができ、第3の領域80を通過する第1の波長の光ビームをその屈折力により対応する種類の光ディスクの信号記録面に球面収差が発生しない発散角の状態となるように対応する光ディスクの信号記録面に適切なスポットを集光させることができる。
すなわち、光ピックアップ203の光学系における第1乃至第3の出射部と信号記録面との間の光路上に配置される対物レンズ34Cの一面に設けられた回折部90は、それぞれの領域(第1、第2の回折領域51,52、第3の領域80)を通過するそれぞれの波長の光ビームを信号記録面に発生する球面収差を低減する状態となるように回折力を付与することができるので、光ピックアップ203において第1乃至第3の波長の光ビームを共通の対物レンズ34Cを用いてそれぞれ対応する光ディスクの信号記録面に集光させたときの信号記録面に発生する球面収差を極限まで低減することができ、すなわち、3種類の光ディスクに対して3種類の波長と共通の対物レンズ34Cとを用いた光ピックアップの3波長互換を実現してそれぞれの光ディスクに対して適切に情報信号の記録及び/又は再生を可能とする。
また、対物レンズ34Cの一面に設けられた回折部90と、この回折部90を有する対物レンズ34Cとは、第1及び第2の回折領域51,52の機能や、第3の領域80の機能により、上述した回折部50やこれを有する対物レンズ34と同様の機能、効果を有する。すなわち、回折部90及び対物レンズ34Cは、第1及び第2の回折領域51,52で所定の次数の回折光が支配的となるように構成することにより、上述のような、高い光利用効率を得ることや、良好なスポットを集光できることや、所定の開口制限を発揮させること等の機能を有する。
さらに、回折部90を有する対物レンズ34Cは、外輪帯として、第2の回折領域252の外側に設けられ輪帯状の第3の領域80を有し、この第3の領域80が、所定の屈折作用を有する非球面連続面として形成されることにより、上述のような、高い光利用効率を得ることや、良好なスポットを集光できることや、所定の開口制限を発揮させること等の機能を発揮できるとともに、外輪帯における、製造工程の簡素化や、外輪帯における回折構造を有しないことにより高い光利用効率を実現する。
尚、このとき、回折部90を構成する第1及び第2の回折領域に形成された第1及び第2の回折構造は、図21に示し、上述したような、2つ以上の複数の基礎周期構造が重ね合わされた構造により形成されてもよい。この場合、回折部90は、非球面連続面とした構成を有する第3の回折領域53の機能や、2つ以上の複数の基礎周期構造が重ね合わされた構造を有する第1及び第2の回折領域51,52の機能により、上述した回折部50やこれを有する対物レンズ34と同様の機能、効果を有する。
また、上述では、図41(a)に示すように、対物レンズ34の入射側の面に、3つの回折領域51,52,53からなる回折部50を設けるように構成したが、これに限られるものではなく、対物レンズ34の出射側の面に設けてもよい。さらに、第1乃至第3の回折領域51,52,53を有する回折部50は、対物レンズとは別体に設けた光学素子の入射側又は出射側の面に一体に設けるように構成してもよく、例えば、図41(b)に示すように、上述した対物レンズ34から回折部50を除いたようなレンズ曲面のみを有する対物レンズ34Bと、回折部50の一方の面に設けられ、3波長に共通の光路上に配置される回折光学素子35Bとから集光光学デバイスを構成するようにしてもよい。上述の図41(a)に示す対物レンズ34においては、対物レンズの屈折力の機能として要求される入射側の面の面形状を基準として、これに回折力の機能として要求される回折構造の面形状を合わせたような面形状が形成されていたのに対し、図41(b)に示すような別体の回折光学素子35Bを設ける場合には、対物レンズ34B自体が、屈折力の機能として要求される面形状とされるとともに、回折光学素子35Bの一方の面に回折力の機能として要求される回折構造の面形状が形成されることとなる。図41(b)に示すような対物レンズ34B及び回折光学素子35Bは、集光光学デバイスとして上述した対物レンズ34と同様に機能して、光ピックアップに用いられることにより収差等を低減して光ピックアップの3波長互換を実現するとともに、部品点数を削減して、構成の簡素化及び小型化を可能とし、高生産性、低コスト化を実現するという効果を発揮するものであり、対物レンズ34に一体に設ける場合に比べて回折構造を複雑にすることが可能である。その一方で、上述で述べた図41(a)に示すように1つの素子(対物レンズ34)のみで、3つの異なる波長の光ビームをそれぞれに対応する光ディスクの信号記録面に球面収差を発生しないように適切に集光する集光光学デバイスとして機能し、回折部50を対物レンズ34に一体に設けることにより、さらなる光学部品の削減、及び構成の小型化を可能とする。尚、上述した回折部50は、従来困難であった3波長互換のための収差補正用の回折構造を一面に設けるだけで十分であるので、上述のような屈折素子としての対物レンズ34に一体に形成することを可能とし、これによりプラスチックレンズに回折面を直接形成する構成を可能とし、回折部50を一体化した対物レンズ34をプラスチック材料により構成することでより高生産性、低コスト化を実現する。尚、ここで図41を用いた変形例については、回折部90を有する対物レンズ34Cについても同様である。すなわち、回折部90は、対物レンズ34Cの出射側の面に設けてもよく、また、対物レンズとは別体に設けた光学素子の入射側又は出射側の面に一体に設けるように構成してもよい。この場合、第3の領域80の屈折作用は、対物レンズ側に付与されるとともに、第1及び第2の回折領域51,52に相当する回折作用が当該別体の光学素子に付与されることとなる。すなわち、かかる別体に設けた光学素子は、第1の回折領域51に設けたものに対応する回折構造が設けられた第1の領域と、第2の回折領域52に設けたものに対応する回折構造が設けられた第2の領域と、かかる第2の領域の外側に回折作用を有さずそのまま透過させる第3の領域とを有し、これに対応する対物レンズは、上述した第3の領域80に対応する形状とされた非球面形状が外輪帯部分に形成されることとなる。
対物レンズ34と第3のビームスプリッタ38との間に設けられたコリメータレンズ42は、第2のビームスプリッタ37で光路を合成され、第3のビームスプリッタ38を透過された、第1乃至第3の波長の光ビームの発散角をそれぞれ変換して、例えば略平行光の状態として、1/4波長板43及び対物レンズ34側に出射させる。尚、コリメータレンズ42が、第1の波長の光ビームの発散角を、略平行光の状態として上述した対物レンズ34に入射させるとともに、第2及び第3の波長の光ビームの発散角を、平行光に対してわずかに拡散した発散角の状態(以下、この拡散した状態及び収束した状態のことを「有限系の状態」ともいう。)で対物レンズ34に入射させるように構成することにより、第2又は第3の波長の光ビームの対物レンズ34を介して第2、第3の光ディスクの信号記録面に集光する際の球面収差を低減してより収差が発生しない3波長互換を実現する。この点については、図6及び図7を用いて上述した通りである。ここでは、第2の波長の光ビームを出射させる第2の出射部を有する第2の光源部32とコリメータレンズ42との配置関係、及び/又は、第3の波長の光ビームを出射させる第3の出射部を有する第3の光源部33とコリメータレンズ42との配置関係により、この所定の発散角の状態で対物レンズ34に入射させることを実現したが、例えば、複数の出射部を共通の光源部に配置した場合には、第2及び/又は第3の波長の光ビームの発散角のみを変換する素子を設けることや、コリメータレンズ42を駆動する手段を設けること等により所定の発散角の状態で対物レンズ34に入射させることを実現してもよい。また、状況に応じて、第2及び第3の波長の光ビームのうちいずれかを有限系の状態で対物レンズ34に入射させるように構成して、さらに収差を低減するようにしてもよい。また、第2及び第3の波長の光ビームを有限系で且つ拡散状態で入射させることにより、戻り倍率を調整することを実現し、戻り倍率の調整によりフォーカス引き込み範囲等をフォーマットに適合させた所望の状態として、さらに良好な光学系の互換性を達成するという効果も有している。
マルチレンズ46は、例えば、波長選択性のマルチレンズであり、各光ディスクの信号記録面で反射され、対物レンズ34、立ち上げミラー44、1/4波長板43、及びコリメータレンズ42を経由して、第3のビームスプリッタ38で反射されて往路の光ビームより分離された戻りの第1乃至第3の波長の光ビームを光検出器45のフォトディテクタ等の受光面に適切に集光する。このとき、マルチレンズ46は、フォーカスエラー信号等の検出のための非点収差を戻りの光ビームに付与する。
光検出器45は、マルチレンズ46で集光された戻りの光ビームを受光して、情報信号とともに、フォーカスエラー信号及びトラッキングエラー信号等の各種検出信号を検出する。
以上のように構成された光ピックアップ3は、光検出器45によって得られたフォーカスエラー信号及びトラッキングエラー信号に基づいて、対物レンズ34を駆動変位されることによって、光ディスク2の信号記録面に対して対物レンズ34が合焦位置に移動されて、光ビームが光ディスク2の信号記録面に合焦されて、光ディスク2に対して情報の記録又は再生が行われる。
光ピックアップ3は、対物レンズ34の一方の面に設けられ、第1乃至第3の回折領域51,52,53を有する回折部50により、各波長の光ビームに対して領域毎に最適な回折効率及び回折角を与えることができ、保護層の厚さ等のフォーマットが異なる3種類の第1乃至第3の光ディスク11,12,13の信号記録面における球面収差を十分に低減でき、異なる3波長の光ビームを用いて、複数種類の光ディスク11,12,13に対して信号の読み取り及び書き込みを可能とする。
また、上述の光ピックアップ3を構成する、図41(a)に示した回折部50を有する対物レンズ34と、図41(b)を用いて説明した回折部50を有する回折光学素子35B及び対物レンズ34Bと、図30を用いて説明した回折部90を有する対物レンズ34Cとは、それぞれ入射した光ビームを所定の位置に集光させる集光光学装置(集光光学デバイス)として機能することができる。この集光光学装置は、対物レンズ34、34C又は回折光学素子35Bの一方の面に設けられる回折部50、90により、異なる3種類の光ディスクに対して光ビームを照射して情報信号の記録及び/又は再生を行う光ピックアップに用いられた場合に、3種類の光ディスクの信号記録面に対応する光ビームを球面収差を十分に低減した状態で適切に集光することを可能とし、すなわち、3波長に対して共通の対物レンズ34、対物レンズ34B又は対物レンズ34C用いる光ピックアップの3波長互換を可能とする。
また、図41(b)を用いて説明した回折部50を有する回折光学素子35B及び対物レンズ34Bは、例えば、回折部50が設けられた回折光学素子35B及び対物レンズ34Bを一体となるように、対物レンズ34Bを駆動する対物レンズ駆動機構等のアクチュエータに設けるように構成してもよいが、このアクチュエータのレンズホルダに組み付ける際の組み付け精度を高めるとともに組付けを容易にするために回折光学素子35B及び対物レンズ34Bをユニット状にして一体としたような集光光学ユニットとして構成してもよい。例えば、回折光学素子35B及び対物レンズ34Bを、スペーサ等を用いて、位置、間隔及び光軸を合わせながらホルダにより固定することで一体化して集光光学ユニットを構成できる。回折光学素子35B及び対物レンズ34Bは、上述のように、対物レンズ駆動機構に一体に組み付けられることにより例えばトラッキング方向へ変位される等の視野振りの際にも第1乃至第3の波長の光ビームの球面収差を低減させた状態で各光ディスクの信号記録面に適切に集光することが可能となる。
次に、上述のように構成された光ピックアップ3における、第1乃至第3の光源部231,232,233から出射された光ビームの光路について、図2を用いて説明する。まず、第1の光ディスク11に対して第1の波長の光ビームを出射させて情報の読み取り又は書き込みを行うときの光路について説明する。
光ディスク2の種類が第1の光ディスク11であることを判別したディスク種類判別部22は、第1の光源部31の第1の出射部から第1の波長の光ビームを出射させる。
第1の出射部から出射された第1の波長の光ビームは、第1のグレーティング39によりトラッキングエラー信号等の検出のため3ビームに分割され、第2のビームスプリッタ37に入射される。第2のビームスプリッタ37に入射された第1の波長の光ビームは、そのミラー面37aで反射され、第3のビームスプリッタ38側に出射される。
第3のビームスプリッタ38に入射された第1の波長の光ビームは、そのミラー面38aを透過されて、コリメータレンズ42側に出射され、コリメータレンズ42により発散角を変換されて略平行光とされ、1/4波長板43に所定の位相差を付与され、立ち上げミラー44で反射されて対物レンズ34側に出射される。
対物レンズ34に入射した第1の波長の光ビームは、その入射側の面に設けられた回折部50の第1乃至第3の回折領域51,52,53により、各領域を通過した光ビームがそれぞれ上述のように所定の回折次数が支配的となるように回折されるとともに、対物レンズ34のレンズ曲面の屈折力により、第1の光ディスク11の信号記録面に適切に集光される。このとき、第1の波長の光ビームは、各領域51,52,53を通過した光ビームが球面収差を低減できるような状態となるような回折力が付与されていることにより適切に集光される。尚、対物レンズ34から出射される第1の波長の光ビームは、所定の回折力が付与された状態とされているのみならず、開口制限された状態とされている。
第1の光ディスク11で集光された光ビームは、信号記録面で反射し、対物レンズ34、立ち上げミラー44、1/4波長板43,コリメータレンズ42を経由して、第3のビームスプリッタ38のミラー面38aにより反射されて光検出器45側に出射される。
第3のビームスプリッタ38により反射された往路の光ビームから光路分岐された光ビームは、マルチレンズ46により光検出器45に受光面に集束されて検出される。
次に、第2の光ディスク12に対して第2の波長の光ビームを出射させて情報の読み取り又は書き込みを行うときの光路について説明する。
光ディスク2の種類が第2の光ディスク12であることを判別したディスク種類判別部22は、第2の光源部32の第2の出射部から第2の波長の光ビームを出射させる。
第2の出射部から出射された第2の波長の光ビームは、第2のグレーティング40によりトラッキングエラー信号等の検出のため3ビームに分割され、第1のビームスプリッタ36に入射される。第1のビームスプリッタ36に入射された第2の波長の光ビームは、そのミラー面36aを透過され、第2のビームスプリッタ37のミラー面37aも透過され、第3のビームスプリッタ38側に出射される。
第3のビームスプリッタ38に入射された第2の波長の光ビームは、そのミラー面38aを透過されて、コリメータレンズ42側に出射され、コリメータレンズ42により発散角を変換されて拡散光の状態とされ、1/4波長板43に所定の位相差を付与され、立ち上げミラー44で反射されて対物レンズ34側に出射される。
対物レンズ34に入射した第2の波長の光ビームは、その入射側の面に設けられた回折部50の第1及び第2の回折領域51,52により、各領域を通過した光ビームがそれぞれ上述のような所定の回折次数が支配的となるように回折されるとともに、対物レンズ34のレンズ曲面の屈折力により、第2の光ディスク12の信号記録面に適切に集光される。このとき、第2の波長の光ビームは、第1及び第2の回折領域51,52を通過した光ビームが球面収差を低減できるような状態となるような回折力が付与されていることにより適切に集光される。尚、第2の波長の光ビームが第3の回折領域53を通過することにより発生した回折光は、上述のフレア化の効果により、第2の光ディスク12の信号記録面に集光されない状態とされており、すなわち適切に開口制限の効果が得られる状態とされている。
第2の光ディスク12の信号記録面で反射された光ビームの復路側の光路については、上述した第1の波長の光ビームと同様であるので、省略する。
次に、第3の光ディスク13に対して第3の波長の光ビームを出射させて情報の読み取り又は書き込みを行うときの光路について説明する。
光ディスク2の種類が第3の光ディスク13であることを判別したディスク種類判別部22は、第3の光源部33の第3の出射部から第3の波長の光ビームを出射させる。
第3の出射部から出射された第3の波長の光ビームは、第3のグレーティング41によりトラッキングエラー信号等の検出のため3ビームに分割され、第1のビームスプリッタ36に入射される。第1のビームスプリッタ36に入射された第3の波長の光ビームは、そのミラー面36aで反射され、第2のビームスプリッタ37のミラー面37aを透過され、第3のビームスプリッタ38側に出射される。
第3のビームスプリッタ38に入射された第3の波長の光ビームは、そのミラー面38aを透過されて、コリメータレンズ42側に出射され、コリメータレンズ42により発散角を変換されて拡散光の状態とされ、1/4波長板43に所定の位相差を付与され、立ち上げミラー44で反射されて対物レンズ34側に出射される。
対物レンズ34に入射した第3の波長の光ビームは、その入射側の面に設けられた回折部50の第1の回折領域51により、この領域を通過した光ビームがそれぞれ上述のような所定の回折次数が支配的となるように回折されるとともに、対物レンズ34のレンズ曲面の屈折力により、第3の光ディスク13の信号記録面に適切に集光される。このとき、第3の波長の光ビームは、第1の回折領域51を通過した光ビームが球面収差を低減できるような状態となるような回折力が付与されていることにより適切に集光される。尚、第3の波長の光ビームが第2及び第3の回折領域52,53を通過することにより発生した回折光は、上述のフレア化の効果により、第3の光ディスク13の信号記録面に集光されない状態とされており、すなわち適切に開口制限の効果が得られる状態とされている。
第3の光ディスク13の信号記録面で反射された光ビームの復路側の光路については、上述した第1の波長の光ビームと同様であるので、省略する。
尚、ここでは、第2及び第3の波長の光ビームは、第2及び/又は第3の出射部の配置を調整することで、コリメータレンズ42により発散角を変換され対物レンズ34に入射される光ビームを略平行光の状態に対して拡散した状態となるように構成したが、波長選択性を有して発散角を変換する素子を設けることにより、又はコリメータレンズ42を光軸方向に駆動するような手段を設けることにより、拡散若しくは収束した状態で対物レンズ34に入射するように構成してもよい。
また、ここでは、第1の波長の光ビームが、略平行光の状態で対物レンズ34に入射されるとともに、第2及び第3の波長の光ビームが、拡散光の状態で対物レンズ34に入射されるように構成したが、これに限られるものではなく、例えば、第1乃至第3の波長の光ビーム全てを平行光の状態で、又は、第1乃至第3の波長の光ビームの内、いずれか又は全部の光ビームを発散光又は集束光の状態で対物レンズ34に入射するように構成してもよい。
本発明を適用した光ピックアップ3は、第1乃至第3の波長の光ビームを出射する第1乃至第3の出射部と、第1乃至第3の出射部から出射された第1乃至第3の波長の光ビームを光ディスクの信号記録面に集光する対物レンズ34と、第1乃至第3の波長の光ビームの往路の光路上に配置される光学素子としての対物レンズ34の一方の面に設けられる回折部50とを備え、回折部50が、第1乃至第3の回折領域51,52,53を有し、第1乃至第3の回折領域51,52,53が、輪帯状で且つ所定の深さを有するそれぞれ異なる回折構造とされるとともに、各波長の光ビームに対して上述のような所定の回折次数の回折光が支配的となるように発生させる第1乃至第3の回折構造を有するように構成したことにより、それぞれ使用波長を異にする3種類の光ディスクに対して、共通の一の対物レンズ34を用いてそれぞれ対応する光ビームを信号記録面に適切に集光することを可能として、構成を複雑にすることなく、対物レンズ34を共通とした3波長互換を実現してそれぞれの光ディスクに対して良好な情報信号の記録及び/又は再生を実現する。
すなわち、本発明を適用した光ピックアップ3は、第1乃至第3の波長の光ビームの光路内の一面に設けられた回折部50により最適な回折効率及び回折角を得ることで、各光源部231,232,233に設けられた複数の出射部から出射される異なる波長の光ビームを用いて、複数種類の光ディスク11,12,13に対して信号の読み取り及び書き込みを可能とするとともに、対物レンズ34等の光学部品を共通化することができるので、部品点数を削減して、構成の簡素化及び小型化を可能とし、高生産性、低コスト化を実現する。
そして、本発明を適用した光ピックアップ3は、内輪帯としての第1の回折領域51により選択されて最大回折効率を有するとともに対応する光ディスクの信号記録面に球面収差を低減した状態で集光される所定の回折次数(k1i,k2i,k3i)が、k1i≧k2i>k3iの関係を有するようにされていることから、各波長の光ビームを使用する場合の作動距離と、各波長に対する焦点距離を適切な状態にすることができ、すなわち、第1の波長λに対する焦点距離を短くしつつ、第3の波長λを使用する場合の作動距離を確保することができ、対物レンズのレンズ径が大きくなることや光ピックアップ全体の大型化する等の問題を防止することを実現する。そして、対物レンズのレンズ径を縮小することにより、アクチュエータの設計を容易とでき、焦点距離を小さくできることにより、収差特性を良好にできる。よって、優れた互換性を実現してそれぞれの光ディスクに対して良好な記録及び/又は再生を実現するとともに、さらなる構成の簡素化及び小型化を可能とし、高生産性、低コスト化を実現する。
また、本発明を適用した光ピックアップ3は、内輪帯としての第1の回折領域51により選択された回折次数(k1i,k2i,k3i)のうち、k1i,k3iがそれぞれ、(−2,−3)、(−1,−2)、(−1,−3)、(0,−2)、(0,−3)、(1,−2)、(1,−3)、(2,−1)、(2,−2)、(2,−3)、(3,0)、(3,−1)、(3,−2)、又は(3,−3)であるようにされていることから、各波長における作動距離及び焦点距離を適切な状態にして対物レンズのレンズ径の大型化や装置の大型化を防止できるのに加えて、溝深さが深くなりすぎることを防止して、製造を容易にでき、形成精度の悪化を防止することができる。よって、優れた互換性を実現してそれぞれの光ディスクに対して良好な記録及び/又は再生を実現するとともに、構成の簡素化及び小型化を可能とするとともに製造を容易化でき、高生産性、低コスト化を実現する。
また、本発明を適用した光ピックアップ3は、3波長に対して所定の回折力を付与するとともに高い回折効率を必要とする内輪帯としての第1の回折領域51に、ステップ形状の回折構造が形成されていることにより、不要光の回折光量を抑えて、不要光が受光部で受光されてジッター等が悪化するおそれを防止し、また、不要光の回折光量がある程度発生した場合にもその不要光の回折次数をフォーカス光の隣接回折次数以外の回折角度差の大きい乖離された回折次数とすることで、フォーカス時に不要光が集光されてジッター等が悪化するおそれを防止することを実現できる。
また、本発明を適用した光ピックアップ3は、対物レンズ34の一方の面に一体形成されるとともに最も外側に設けられる外輪帯として第3の回折領域53に、ブレーズ形状の回折構造が形成されていることにより、3波長対応レンズのような極めてレンズ曲面が急峻な曲率を有している部分に回折構造を形成する際に有利な構成であり、製造を容易にし且つ形成精度の悪化を防止することを実現できる。
また、本発明を適用した光ピックアップ3は、内輪帯としての第1の回折領域51により選択された回折次数(k1i,k2i,k3i)が(1,−1,−2)、(0,−1,−2)、(1,−2,−3)又は(0,−2,−3)とされ回折構造も階段形状により構成されていることにより、不要光による悪影響を抑えることができ、また、各波長における作動距離及び焦点距離を適切な状態にして対物レンズのレンズ径の大型化や装置の大型化を防止できるのに加えて、溝深さも小さく抑えることができ、製造を容易にでき、形成精度の悪化を防止することができる。よって、優れた互換性を実現してそれぞれの光ディスクに対して良好な記録及び/又は再生を実現するとともに、構成の簡素化及び小型化を可能とするとともに製造を容易化でき、高生産性、低コスト化を実現する。
また、本発明を適用した光ピックアップ3は、内輪帯により選択される回折次数に加えて、中輪帯としての第2の回折領域52により選択される回折次数(k1m,k2m)が、(+1,+1)、(−1,−1)、(0,+2)、(0,−2)、(0,+1)、(0,−1)、(+1,0)、(−1,0)、(+1,−1)又は(−1,+1)とされ回折構造も階段形状又は非周期形状により構成されていることにより、内輪帯及び中輪帯の構成としてそれぞれの機能を十分に発揮することができる。よって、優れた互換性を実現してそれぞれの光ディスクに対して良好な記録及び/又は再生を実現するとともに、構成の簡素化及び小型化を可能とするとともに製造を容易化でき、高生産性、低コスト化を実現する。
また、本発明を適用した光ピックアップ3は、内輪帯により選択される回折次数に加えて、中輪帯としての第2の回折領域52により選択される回折次数(k1m,k2m)が、(+3,+2)、(−3,−2)、(+2,+1)、(−2,−1)、(+1,+1)又は(−1,−1)とされ回折構造もブレーズ形状又は非周期形状により構成されていることにより、内輪帯及び中輪帯の構成としてそれぞれの機能を十分に発揮することができる。よって、優れた互換性を実現してそれぞれの光ディスクに対して良好な記録及び/又は再生を実現するとともに、構成の簡素化及び小型化を可能とするとともに製造を容易化でき、高生産性、低コスト化を実現する。
また、本発明を適用した光ピックアップ3は、対物レンズ34等の集光光学デバイスの入射側の面に入射する際の、第1の波長の光ビームが略平行光とされ、第2及び第3の波長の光ビームが拡散光とされて入射される構成により、内輪帯としての第1の回折領域51を通過する光ビームを、高い回折効率且つ球面収差のより低減された状態で対応する光ディスクの信号記録面に適切に集光できるとともに、中輪帯及び外輪帯としての第2及び第3の回折領域においては、フレア化の効果を享受でき、所望の波長の光ビームに対しては高効率且つ球面収差を低減でき、集光させたくない波長の光ビームに対しては対応する信号記録面に入射する光量をより低減でき、さらには、回折次数選択の自由度を向上させて構成の簡素化等についても実現する。
また、本発明を適用した光ピックアップ3は、対物レンズ34を3波長に対して共通とすることができるので、アクチュエータにおける可動部の重量が増大することによる感度低下等の問題や、アクチュエータのレンズホルダへの取り付け角度が不適切となるおそれがある等の問題の発生を防止できる。また、本発明を適用した光ピックアップ3は、3波長互換の際の共通の対物レンズ34を用いた場合に問題となる球面収差を光学素子(対物レンズ34、回折光学素子35B)の一面に設けた回折部50により十分に低減できるので、従来のような球面収差低減用の回折部を複数面に設けた場合の各回折部間の位置合わせや、複数の回折部を設けることによる回折効率の低下等の問題を防止でき、すなわち、組立工程の簡素化及び光の利用効率の向上を実現する。また、本発明を適用した光ピックアップ3は、上述のように回折部50を光学素子の一面に設ける構成を可能とすることにより、回折部50を対物レンズ34に一体とする構成により、さらなる構成の簡素化、アクチュエータの可動部の重量を小さくすること、組立工程の簡素化及び光の利用効率の向上を実現する。
さらに、本発明を適用した光ピックアップ3は、上述した図41(a)及び図41(b)に示すように、対物レンズ34又は回折光学素子35Bの一面に設けられた回折部50により3波長互換を実現するのみならず、3種類の光ディスク及び3種類の波長の光ビームに対応した開口数で開口制限を行うことができ、これにより従来必要であった開口制限フィルター等を設けることや、これを配置させる際の調整を不要とし、さらに、構成の簡素化、小型化、及び低コスト化を実現する。
また、本発明を適用した光ピックアップ3は、回折部50において、内輪帯における回折周期構造の周期数Nが、上記の(20)式の関係を有し、中輪帯における回折周期構造の周期数Nが、上記の(21)式の関係を有するようにされていることから、不要光と正規光の干渉を避け、不要光の回折光量を抑えて、不要光が受光部で受光されてジッター等が悪化するおそれを防止でき、また、不要光の回折光量がある程度発生した場合にもその不要光の回折次数をフォーカス光の隣接回折次数以外の回折角度差の大きい乖離された回折次数とすることで、フォーカス時に不要光が集光されてジッター等が悪化するおそれを防止でき、十分な再生・記録時光スポットを形成することができる。
また、本発明を適用した光ピックアップ3は、回折部50において、第1の回折領域51の半径を0.99mmとすると、第1の回折領域51の回折周期構造の周期数Nが、上記の(29)式の関係を有し、第2の回折領域52の半径を1.43mmとすると、第2の回折領域52の回折周期構造の周期数Nが、上記の(31)式の関係を有するようにされていることから、回折周期構造の形成時の効率低下を回避し、対物レンズ34からの戻りカップリング効率Iallを60%以上確保することができ、十分な回折効率を得ることができる。
したがって、本発明を適用した光ピックアップ3は、回折部50において、内輪帯における回折周期構造の周期数Nが、上記の(59)式の関係を有し、中輪帯における回折周期構造の周期数Nが、上記の(60)式の関係を有するようにされることで、不要光と正規光の干渉を避け、不要光の回折光量を抑えて、不要光が受光部で受光されてジッター等が悪化するおそれを防止でき、また、不要光の回折光量がある程度発生した場合にもその不要光の回折次数をフォーカス光の隣接回折次数以外の回折角度差の大きい乖離された回折次数とすることで、フォーカス時に不要光が集光されてジッター等が悪化するおそれを防止でき、十分な再生・記録時光スポットを形成することができるとともに、回折周期構造の形成時の効率低下を回避し、対物レンズからの戻りカップリング効率Iallを60%以上確保することができ、十分な回折効率を得ることができる。
また、本発明を適用した光ピックアップ3は、回折部50において、第1の回折領域51の半径を0.99mmと異なっていても、少なくとも、第1の回折領域51の各段部の高さdと平均ピッチpとが、下記の(32)式の関係を有するようにされていることから、回折周期構造の形成時の効率低下を回避し、対物レンズ34からの戻りカップリング効率Iallを60%以上確保することができ、十分な回折効率を得ることができる。
また、本発明を適用した光ピックアップ3は、回折部50において、第2の回折領域52の半径を1.43mmと異なっていても、少なくとも、第2の回折領域52の各段部の高さdと平均ピッチpとが、下記の(33)式の関係を有するようにされていることから、回折周期構造の形成時の効率低下を回避し、対物レンズ34からの戻りカップリング効率Iallを60%以上確保することができ、十分な回折効率を得ることができる。
また、本発明を適用した光ピックアップ3は、回折部50において、第1の回折領域51及び第2の回折領域52が、上記の(54a)式及び(54b)式の関係を有するようにされていることから、軸上収差量を適正とし、温度変化時の収差量も低減した構成とすることができる。
また、本発明を適用した光ピックアップ3は、回折部50において、第1の回折領域51及び第2の回折領域52は、上記の(53)式の関係を有するようにされていることから、軸上収差量を適正とし、温度変化時の収差量も低減した構成とすることができる。
また、本発明を適用した光ピックアップ3は、回折部50において、第1の回折領域51における各波長の回折次数k1i、k2iと第2の回折領域52における各波長の回折次数k1m、k2mとにおける回折次数の組み合わせが、上記(54a)式を満たすほかに、下記の(57)式の関係を有するようにされていることから、第3の回折領域における各波長の回折次数k3iとk3mが同一又は、中輪帯でk3mに次いで効率を持つ、k3m’がk3iと同一になり、外輪帯における開口制限が適切に働かないことを防止することができ、軸上収差量を適正とし、温度変化時の収差量も低減した構成とすることができる。
また、本発明を適用した光ピックアップ3は、第1乃至第3の波長の光ビームを出射する第1乃至第3の出射部と、第1乃至第3の出射部から出射された第1乃至第3の波長の光ビームを光ディスクの信号記録面に集光する対物レンズ34Cと、第1乃至第3の波長の光ビームの往路の光路上に配置される光学素子としての対物レンズ34Cの一方の面に設けられる回折部90とを備え、回折部90が、第1、第2の領域としての第1、第2の回折領域51,52と、第3の領域80とを有し、回折領域51,52が、輪帯状で且つ所定の深さを有するそれぞれ異なる回折構造とされ、各波長の光ビームに対して上述のような所定の回折次数の回折光が支配的となるように発生させる第1及び第2の回折構造を有するように構成されるとともに、第3の領域80が、上述のような各波長の光ビームに対して所定の屈折作用を有する非球面連続面とされたことにより、それぞれ使用波長を異にする3種類の光ディスクに対して、共通の一の対物レンズ34Cを用いてそれぞれ対応する光ビームを信号記録面に適切に集光することを可能として、構成を複雑にすることなく、対物レンズ34Cを共通とした3波長互換を実現してそれぞれの光ディスクに対して良好な情報信号の記録及び/又は再生を実現する。
すなわち、本発明を適用した光ピックアップ3は、第1乃至第3の波長の光ビームの光路内の一面に設けられた回折部90により最適な回折効率及び回折角を得ることで、各光源部31,32,33に設けられた複数の出射部から出射される異なる波長の光ビームを用いて、複数種類の光ディスク11,12,13に対して信号の読み取り及び書き込みを可能とするとともに、対物レンズ34C等の光学部品を共通化することができるので、部品点数を削減して、構成の簡素化及び小型化を可能とし、高生産性、低コスト化を実現する。
また、回折部90及び対物レンズ34Cを有する本発明を適用した光ピックアップ3は、対物レンズ4Cの一面に設けられた回折部90と、この回折部90を有する対物レンズ34Cとが、上述したような、第1及び第2の回折領域51,52の機能や、第3の領域80の機能を有することにより、上述した回折部50及び対物レンズ34を有する場合と同様の機能、効果を有する。すなわち、回折部80及び対物レンズ34Cを有する光ピックアップ3は、第1及び第2の回折領域51,52で所定の次数の回折光が支配的となるように構成することにより、上述のような、高い光利用効率を得ることや、良好なスポットを集光できることや、所定の開口制限を発揮させること等の作用や効果を有する。
さらに、回折部90及び対物レンズ34Cを有する本発明を適用した光ピックアップ3は、外輪帯として、第2の回折領域52の外側に設けられ輪帯状の第3の領域80を有し、この第3の領域80が、所定の屈折作用を有する非球面連続面として形成されることにより、上述のような、高い光利用効率を得ることや、良好なスポットを集光できることや、所定の開口制限を発揮させること等の機能を発揮できるとともに、外輪帯における、製造工程の簡素化や、外輪帯における回折構造を有しないことにより高い光利用効率を得ることを実現する。
また、上述では、光ピックアップ3において、第1の光源部31に第1の出射部を設け、第2の光源部32に第2の出射部を設け、第3の光源部33に第3の出射部を設けるように構成したが、これに限られるものではなく、例えば、第1乃至第3の出射部の内2つの出射部を有する光源部と、残りの1つの出射部を有する光源部とを異なる位置に配置して設けるように構成してもよい。
次に、第1の出射部を有する光源部と、第2及び第3の出射部を有する光源部とを備える図42に示す光ピックアップ60について説明する。尚、以下の説明において、上述した光ピックアップ3と共通する部分については、共通の符号を付して詳細な説明は、省略する。
本発明を適用した光ピックアップ60は、図42に示すように、第1の波長の光ビームを出射する第1の出射部を有する第1の光源部61と、第2の波長の光ビームを出射する第2の出射部と、第3の波長の光ビームを出射する第3の出射部とを有する第2の光源部62と、この第1乃至第3の出射部から出射された光ビームを光ディスク2の信号記録面上に集光する集光光学デバイスとして機能する対物レンズ34とを備える。尚、ここで説明する光ピックアップ60においても、集光光学デバイスとして回折部50を有する対物レンズ34を用いるものとして説明するが、これに換えて図41(b)に示すような対物レンズ34Bと、回折部50を有する回折光学素子35Bとからなる集光光学デバイスや、図30に示すような回折部90を有する対物レンズ34Cからなる集光光学デバイスを設けるように構成してもよい。ここで、図30に示すような回折部90を有する対物レンズ34Cからなる集光光学デバイスを以下で説明する図42に示すような光ピックアップ60に適用した場合には、以下で説明する効果を奏するとともに、上述した対物レンズ34Cの作用効果を有する。
また、光ピックアップ60は、第1の光源部61の第1の出射部から出射された第1の波長の光ビームの光路と、第2の光源部62の第2及び第3の出射部から出射された第2及び第3の波長の光ビームの光路とを合成する光路合成手段としてビームスプリッタ63と、上述の第3のビームスプリッタ38と同様の機能を有するビームスプリッタ64とを有する。
さらに、光ピックアップ60は、第1のグレーティング39と、第2の光源部62とビームスプリッタ63との間に設けられ、第2及び第3の出射部から出射された第2及び第3の波長の光ビームをトラッキングエラー信号等の検出のためにそれぞれ3ビームに回折する波長依存性を有するグレーティング65とを有する。
また、光ピックアップ60は、コリメータレンズ42と、1/4波長板43と、立ち上げミラー44と、光検出器45と、マルチレンズ46とを有するとともに、このコリメータレンズ42を光軸方向に駆動するコリメータレンズ駆動手段66とを有する。コリメータレンズ駆動手段66は、コリメータレンズ42を光軸方向に駆動することで、上述したように、コリメータレンズ42を通過した光ビームの発散角を調整することができることにより、所望の状態で対物レンズ34へ各光ビームを入射させて、球面収差を低減させたり上述のフレア化を可能とするのみならず、装着された光ディスクが信号記録面を複数有する所謂多層光ディスクであった場合には、そのいずれの信号記録面への記録及び/又は再生をも可能とする。
以上のように構成された光ピックアップ60において、各光学部品の機能は、上述したことを除いて光ピックアップ3と同様であり、第1乃至第3の出射部から出射された第1乃至第3の波長の光ビームの光路についても、上述したことを除いて、すなわちビームスプリッタ64で各波長の光ビームの光路が合成された後は光ピックアップ3と同様であるので詳細な説明は省略する。
本発明を適用した光ピックアップ60は、第1乃至第3の波長の光ビームを出射する第1乃至第3の出射部と、第1乃至第3の出射部から出射された第1乃至第3の波長の光ビームを光ディスクの信号記録面に集光する対物レンズ34と、第1乃至第3の波長の光ビームの往路の光路上に配置される光学素子としての対物レンズ34の一方の面に設けられる回折部50とを備え、回折部50が、第1乃至第3の回折領域51,52,53を有し、第1乃至第3の回折領域51,52,53が、輪帯状で且つ所定の深さを有するそれぞれ異なる回折構造とされるとともに、各波長の光ビームに対して上述のような所定の回折次数の回折光が支配的となるように発生される第1乃至第3の回折構造を有するように構成したことにより、それぞれ使用波長を異にする3種類の光ディスクに対して、共通の一の対物レンズ34を用いてそれぞれ対応する光ビームを信号記録面に適切に集光することを可能として、構成を複雑にすることなく、対物レンズ34を共通とした3波長互換を実現してそれぞれの光ディスクに対して良好な情報信号の記録及び/又は再生を実現する。また、光ピックアップ60は、その他の上述した光ピックアップ3と同様の効果を有している。
さらに、光ピックアップ60は、第2及び第3の出射部を共通の光源部262に配置するように構成したことから、さらなる構成の簡素化及び小型化を実現する。尚、同様に、本発明を適用した光ピックアップは、第1乃至第3の出射部を略同一位置に有する光源部に配置するように構成してもよく、そのような構成とした場合には、さらなる構成の簡素化及び小型化を実現する。
本発明を適用した光ディスク装置1は、第1乃至第3の光ディスクから任意に選択される光ディスクを保持して回転駆動する駆動手段と、この駆動手段によって回転駆動される光ディスクに対し波長を異にする複数の光ビームを選択的に照射することにより情報信号の記録及び/又は再生を行う光ピックアップとを備え、この光ピックアップとして上述した光ピックアップ3,260を用いたことにより、第1乃至第3の波長の光ビームの光路上の光学素子の一面に設けられた回折部により、それぞれ使用波長を異にする3種類の光ディスクに対して、共通の一の対物レンズ34を用いてそれぞれ対応する光ビームを信号記録面に適切に集光することを可能として、構成を複雑にすることなく、対物レンズ34を共通した3波長互換を実現するので、構成の簡素化及び小型化を可能とするとともに良好な記録・再生特性を得ることを実現する。また、本発明を適用した光ディスク装置1は、光ピックアップ3,60の回折部50を構成する第1及び第2の回折構造51,52が、上述の(58)式且つ(59)式を満たすような周期数N,Nとされ且つ凹凸形状とされた単位周期構造が各輪帯の半径方向に連続的に形成された周期構造が形成されていることにより、光利用効率を高めることができるとともに、不要光の入射を低減させることができ、よって良好な記録再生特性を得ることを実現する。
本発明を適用した光ディスク装置を示すブロック回路図である。 本発明を適用した光ピックアップの光学系を示す光路図である。 図2に示す光ピックアップを構成する回折部の機能を説明するための図であり、且つ回折部が対物レンズとは別体の光学素子に設けられていた場合を例に挙げて回折部が設けられ回折機能を有する回折光学素子及び屈折機能を有する対物レンズの機能を説明するための図であり、(a)は、例えば、第1の光ディスクに対して第1の波長の光ビームの+1次回折光を発生させた場合の光ビームを示すための図であり、(b)は、例えば、第2の光ディスクに対して第2の波長の光ビームの−1次回折光を発生させた場合の光ビームを示すための図であり、(c)は、例えば、第3の光ディスクに対して第3の波長の光ビームの−2次回折光を発生させた場合の光ビームを示すための図である。 図2に示す光ピックアップを構成する対物レンズを説明するための図であり、(a)は、対物レンズの平面図であり、(b)は、対物レンズの断面図である。 図4に示す対物レンズの一面に設けられた回折部の構成を説明するための図であり、(a)は、回折部の内輪帯として設けられた第1の回折領域の例として基準面に対する形状を示す断面図であり、(b)は、回折部の中輪帯として設けられた第2の回折領域の例として基準面に対する形状を示す断面図であり、(c)は、回折部の外輪帯として設けられた第3の回折領域の例として基準面に対する形状を示す断面図である。 光ピックアップを構成する回折部における3波長を回折して用いる回折領域(内輪帯)において、実施例1の内輪帯を例に挙げて、球面収差補正可能性について説明するための図であり、(k1i,k2i,k3i)=(+1,−1,−2)とした場合の波長×回折次数と保護層厚さとの関係によりプロットされる点、及び対物レンズの設計直線の関係について示す図である。 発散光を用いることにより球面収差補正できることを概念的に示す図であり、図6の状態に比べて、第2及び第3の波長を拡散光の状態で入射させることにより、プロット位置がシフトされて各プロットPλ1,Pλ2’,Pλ3’が一直線上に位置される状態となることを示す図である。 回折部において第1及び第3の波長における選択される回折次数k,kと、第3の波長に対する対物レンズの焦点距離との関係を説明するための図であり、第1の波長の回折次数k毎に、第3の波長の回折次数kの変化に伴う第3の波長に対する焦点距離の変化を示す図である。 実施例1の内輪帯の回折効率を計算するためのグラフであり、S=4、(k1i,k2i,k3i)=(+1,−1,−2)とした場合の溝深さdの変化に対する各波長の光ビームの回折効率の変化を示す図である。 図9に示す実施例1の内輪帯と比較するための参考例の内輪帯の回折効率の変化を示す図であり、ブレーズ形状(S=∞)で、(k1i,k2i,k3i)=(+1,+1,+1)とした場合の溝深さdの変化に対する各波長の光ビームの回折効率の変化を示す図である。 回折構造のピッチを決定する手法について説明するための図であり、(a)は、半径方向の位置毎に製造波長λに付与を意図する設計位相量φを示す図であり、(b)は、(a)で示したφに基づいて、実際に半径方向の位置毎に与える位相量φ’を示す図であり、(c)は、(b)で示した位相量φ’を付与する回折構造の形状を概念的に示す図である。 回折部を構成する中輪帯の他の例を示すものであり、階段形状の回折構造が形成された第2の回折領域の例として基準面に対する形状を示す断面図である。 正規光が作るフォーカスエラー信号の大きさを示す図である。 回折構造を形成する場合の、削り残りとなる部分を示した図である。 光利用効率と回折構造を形成する場合の削り残りとの関係について示す図である。 とΔSA3との関係について示す図である。 周期数と回折次数との関係について示す図である(過補正なし)。 周期数と回折次数との関係について示す図である(過補正あり)。 実施例1の中輪帯におけるフレア化について説明する図であり、(k1m,k2m,k3m)=(+3,+2,+2)とした場合の波長×回折次数と保護層厚さとの関係によりプロットされる点、及び対物レンズの設計直線の関係について示す図である。 各波長に対して所定の回折次数を支配的となるような第1の基礎構造と、各波長に対して所定の回折次数を支配的となるような第2の基礎構造とを重畳させた複合回折構造を形成れた回折部の構成を説明するための図であり、(a)は、第1の基礎構造を示す断面図であり、(b)は、第2の基礎構造の形状を示す断面図であり、(c)は、第1の基礎構造と第2の基礎構造とを重畳させた複合回折構造の形状を示す断面図である。 実施例1の外輪帯におけるフレア化について説明する図であり、(k1o,k2o,k3o)=(+4,+2,+2)とした場合の波長×回折次数と保護層厚さとの関係によりプロットされる点、及び対物レンズの設計直線の関係について示す図である。 実施例1の中輪帯の回折効率を計算するためのグラフであり、S=∞、(k1m,k2m,k3m)=(+3,+2,+2)とした場合の溝深さdの変化に対する各波長の光ビームの回折効率の変化を示す図である。 実施例1の外輪帯の回折効率を計算するためのグラフであり、S=∞、(k1o,k2o,k3o)=(+4,+2,+2)とした場合の溝深さdの変化に対する各波長の光ビームの回折効率の変化を示す図である。 実施例2の内輪帯の回折効率を計算するためのグラフであり、S=3、(k1i,k2i,k3i)=(0,−1,−2)とした場合の溝深さdの変化に対する各波長の光ビームの回折効率の変化を示す図である。 実施例2の中輪帯の回折効率を計算するためのグラフであり、S=∞、(k1m,k2m,k3m)=(0,−1,−3)とした場合の溝深さdの変化に対する各波長の光ビームの回折効率の変化を示す図である。 実施例2の外輪帯の回折効率を計算するためのグラフであり、S=∞、(k1o,k2o,ko)=(+1,+1,+1)とした場合の溝深さdの変化に対する各波長の光ビームの回折効率の変化を示す図である。 実施例2の内輪帯において、球面収差補正可能性について説明するための図であり、(k1i,k2i,k3i)=(+0,−1,−2)とした場合の波長×回折次数と保護層厚さとの関係によりプロットされる点、及び対物レンズの設計直線の関係について示す図である。 実施例2の中輪帯におけるフレア化について説明する図であり、(k1m,k2m,k3m)=(0,−1,−3)とした場合の波長×回折次数と保護層厚さとの関係によりプロットされる点、及び対物レンズの設計直線の関係について示す図である。 実施例2の外輪帯におけるフレア化について説明する図であり、(k1o,k2o,k3o)=(+1,+1,+1)とした場合の波長×回折次数と保護層厚さとの関係によりプロットされる点、及び対物レンズの設計直線の関係について示す図である。 図37に示す光ピックアップを構成する対物レンズの他の例として、外輪帯を非球面連続面として構成する例について説明するための図であり、(a)は、対物レンズの平面図であり、(b)は、対物レンズの断面図である。 対物レンズの回折部における内輪帯、中輪帯及び外輪帯の基準となる非球面形状における軸上面間距離について説明するための図である。 実施例13について説明する図であり、第1の光ディスクの縦収差図である。 実施例13について説明する図であり、第2の光ディスクの縦収差図である。 実施例13について説明する図であり、第3の光ディスクの縦収差図である。 実施例14について説明する図であり、第1の光ディスクの縦収差図である。 実施例14について説明する図であり、第2の光ディスクの縦収差図である。 実施例14について説明する図であり、第3の光ディスクの縦収差図である。 実施例15について説明する図であり、第1の光ディスクの縦収差図である。 実施例15について説明する図であり、第2の光ディスクの縦収差図である。 実施例15について説明する図であり、第3の光ディスクの縦収差図である。 本発明を適用した光ピックアップを構成する集光光学デバイスの例について説明するための図であり、(a)は、その入射側の面に回折部が一体に形成された対物レンズにより構成された例の集光光学デバイスを示す側面図であり、(b)は、入射側の面に回折部を有する回折光学素子と、対物レンズとにより構成された例の集光光学デバイスを示す側面図である。 本発明を適用した光ピックアップの光学系の他の例を示す光路図である。 従来の光ピックアップの光学系の例を示す光路図である。
符号の説明
1 光ディスク装置、2 光ディスク、3 光ピックアップ、4 スピンドルモータ、5 送りモータ、7 システムコントローラ、9 サーボ制御部、11 光ディスク、12 光ディスク、13 光ディスク、14 プリアンプ、15 信号変復調器&ECCブロック、16 インターフェース、17 外部コンピュータ、18 D/A,A/D変換器、19 オーディオ・ビジュアル処理部、20 オーディオ・ビジュアル信号入出力部、21 レーザ制御部、22 ディスク種類判別部、31 第1の光源部、32 第2の光源部、33 第3の光源部、34 対物レンズ、35B 回折光学素子、36 第1のビームスプリッタ、36a ミラー面、37 第2のビームスプリッタ、37a ミラー面、38 第3のビームスプリッタ、38a ミラー面、39 第1のグレーティング、40 第2のグレーティング、41 第3のグレーティング、42 コリメータレンズ、43 1/4波長板、44 立ち上げミラー、45 光検出器、46 マルチレンズ、50 回折部、51 第1の回折領域、52 第2の回折領域、53 第3の回折領域、60 光ピックアップ、61 第1の光源部、62 第2の光源部、63 ビームスプリッタ、64 ビームスプリッタ、65 グレーティング、66 コリメータレンズ駆動手段、70 第1の基礎構造、71 第2の基礎構造、72複合回折構造、130 光ピックアップ、131 光源部、132 光源部、134 対物レンズ、135 対物レンズ、136 ビームスプリッタ、137 ビームスプリッタ、139 グレーティング、140 グレーティング、142A コリメータレンズ、142B コリメータレンズ、143A 1/4波長板、143B 1/4波長板、144A 立ち上げミラー、144B 立ち上げミラー、145 光検出器、146 マルチレンズ

Claims (18)

  1. 第1の光ディスクに対応した第1の波長の光ビームを出射する第1の出射部と、
    上記第1の光ディスクとは異なる種類の第2の光ディスクに対応した上記第1の波長より長い第2の波長の光ビームを出射する第2の出射部と、
    上記第1及び第2の光ディスクとは異なる種類の第3の光ディスクに対応した上記第2の波長より長い第3の波長の光ビームを出射する第3の出射部と、
    上記第1乃至第3の出射部から出射された光ビームを光ディスクの信号記録面上に集光する集光光学デバイスと、
    上記第1乃至第3の波長の光ビームの光路上に配置される集光光学デバイスに設けられる回折部とを備え、
    上記回折部は、最内周部に設けられ略円形状の第1の回折領域と、上記第1の回折領域の外側に設けられ輪帯状の第2の回折領域と、上記第2の回折領域の外側に設けられ輪帯状の第3の回折領域とを有し、
    上記第1の回折領域は、輪帯状で且つ所定の深さを有する第1の回折構造が形成され、通過する上記第1の波長の光ビームの上記集光光学デバイスを介して第1の光ディスクの信号記録面に集光する次数の回折光を発生させ、通過する上記第2の波長の光ビームの上記集光光学デバイスを介して第2の光ディスクの信号記録面に集光する次数の回折光を発生させ、通過する上記第3の波長の光ビームの上記集光光学デバイスを介して第3の光ディスクの信号記録面に集光する次数の回折光を発生させ、
    上記第2の回折領域は、輪帯状で且つ所定の深さを有し上記第1の回折構造とは異なる構造の第2の回折構造が形成され、通過する上記第1の波長の光ビームの上記集光光学デバイスを介して第1の光ディスクの信号記録面に集光する次数の回折光を発生させ、通過する上記第2の波長の光ビームの上記集光光学デバイスを介して第2の光ディスクの信号記録面に集光する次数の回折光を発生させるとともに、通過する上記第3の波長の光ビームの上記集光光学デバイスを介して第3の光ディスクの信号記録面に集光する次数以外の次数の回折光が支配的となるように発生させ、
    上記第3の回折領域は、輪帯状で且つ所定の深さを有し上記第1及び第2の回折構造とは異なる構造の第3の回折構造が形成され、通過する上記第1の波長の光ビームの上記集光光学デバイスを介して第1の光ディスクの信号記録面に集光する次数の回折光を発生させるとともに、通過する上記第2の波長の光ビームの上記集光光学デバイスを介して第2の光ディスクの信号記録面に集光する次数以外の次数の回折光が支配的となるように発生させ、通過する上記第3の波長の光ビームの上記集光光学デバイスを介して第3の光ディスクの信号記録面に集光する次数以外の次数の回折光が支配的となるように発生させ、
    上記第1及び第2の回折構造は、それぞれ、凹凸形状とされた単位周期構造が各輪帯の半径方向に連続的に形成された周期構造であり、下記の(1)式及び(2)式を満たす光ピックアップ。
    4≦N≦39 (1)式
    3≦N≦25 (2)式
    ここで、
    は、上記第1の回折領域の第1の回折構造における周期構造の周期数を示し、
    は、上記第2の回折領域の第2の回折構造における周期構造の周期数を示す。
  2. 上記第1の回折領域及び上記第2の回折領域は、下記の(3)式及び(4)式を満たす請求項1記載の光ピックアップ。
    Figure 2010055693
    Figure 2010055693
    ここで、
    は、上記第1の回折領域の外径の半径[mm]を示し、
    は、上記第2の回折領域の外径の半径[mm]を示し、
    1iは、上記第1の回折領域における支配的となる上記第1の波長の回折次数を示し、
    2iは、上記第1の回折領域における支配的となる上記第2の波長の各波長の回折次数を示し、
    1mは、上記第2の回折領域における支配的となる上記第1の波長の各波長の回折次数を示し、
    2mは、上記第2の回折領域における支配的となる上記第1の波長の各波長の回折次数を示し、
    は、上記第1の回折領域の上記第1の回折構造における周期構造の周期数を示し、
    は、上記第2の回折領域の上記第2の回折構造における周期構造の周期数を示し、
    λは、上記第1の出射部から出射される光ビームの上記第1の波長を示し、
    λは、上記第2の出射部から出射される光ビームの上記第2の波長を示す。
  3. 上記第1の回折領域及び上記第2の回折領域は、下記の(5)式を満たす請求項2記載の光ピックアップ。
    Figure 2010055693
    ここで、
    は、上記第1の回折領域の外径の半径[mm]を示し、
    は、上記第2の回折領域の外径の半径[mm]を示し、
    1iは、上記第1の回折領域における支配的となる上記第1の波長の回折次数を示し、
    2iは、上記第1の回折領域における支配的となる上記第2の波長の回折次数を示し、
    1mは、上記第2の回折領域における支配的となる上記第1の波長の回折次数を示し、
    2mは、上記第2の回折領域における支配的となる上記第2の波長の回折次数を示し、
    は、上記第1の回折領域の上記第1の回折構造における周期構造の周期数を示し、
    は、上記第2の回折領域の上記第2の回折構造における周期構造の周期数を示し、
    λは、上記第1の出射部から出射される光ビームの上記第1の波長を示し、
    λは、上記第2の出射部から出射される光ビームの上記第2の波長を示す。
  4. 上記周期構造は、それぞれ、複数の段部を有する階段構造が各輪帯の半径方向に連続的に形成された回折構造が形成されている請求項1乃至請求項3の何れか1記載の光ピックアップ。
  5. 上記第1の回折領域における支配的となる上記第1の波長の回折次数k1i及び上記第2の波長の回折次数k2iの組み合わせと、上記第2の回折領域における支配的となる上記第1の波長の回折次数k1m及び上記第2の波長の回折次数k2mの回折次数の組み合わせとが、一致しない請求項4記載の光ピックアップ。
  6. 上記第1の回折領域は、平均ピッチpiと各段部の高さdとが、下記の(6)式を満たす請求項1記載の光ピックアップ。
    /p≦0.39 (6)式
  7. 上記第2の回折領域は、平均ピッチpと各段部の高さdとが、下記の(7)式を満たす請求項1記載の光ピックアップ。
    /p≦0.39 (7)式
  8. 第1の光ディスクに対応した第1の波長の光ビームを出射する第1の出射部と、
    上記第1の光ディスクとは異なる種類の第2の光ディスクに対応した上記第1の波長より長い第2の波長の光ビームを出射する第2の出射部と、
    上記第1及び第2の光ディスクとは異なる種類の第3の光ディスクに対応した上記第2の波長より長い第3の波長の光ビームを出射する第3の出射部と、
    上記第1乃至第3の出射部から出射された光ビームを光ディスクの信号記録面上に集光する集光光学デバイスと、
    上記第1乃至第3の波長の光ビームの光路上に配置される集光光学デバイスに設けられる回折部とを備え、
    上記回折部は、最内周部に設けられ略円形状の第1の回折領域と、上記第1の回折領域の外側に設けられ輪帯状の第2の回折領域と、上記第2の回折領域の外側に設けられ輪帯状の第3の回折領域とを有し、
    上記第1の回折領域は、輪帯状で且つ所定の深さを有する第1の回折構造が形成され、通過する上記第1の波長の光ビームの上記集光光学デバイスを介して第1の光ディスクの信号記録面に集光する次数の回折光を発生させ、通過する上記第2の波長の光ビームの上記集光光学デバイスを介して第2の光ディスクの信号記録面に集光する次数の回折光を発生させ、通過する上記第3の波長の光ビームの上記集光光学デバイスを介して第3の光ディスクの信号記録面に集光する次数の回折光を発生させ、
    上記第2の回折領域は、輪帯状で且つ所定の深さを有し上記第1の回折構造とは異なる構造の第2の回折構造が形成され、通過する上記第1の波長の光ビームの上記集光光学デバイスを介して第1の光ディスクの信号記録面に集光する次数の回折光を発生させ、通過する上記第2の波長の光ビームの上記集光光学デバイスを介して第2の光ディスクの信号記録面に集光する次数の回折光を発生させるとともに、通過する上記第3の波長の光ビームの上記集光光学デバイスを介して第3の光ディスクの信号記録面に集光する次数以外の次数の回折光が支配的となるように発生させ、
    上記第3の回折領域は、輪帯状で且つ所定の深さを有し上記第1及び第2の回折構造とは異なる構造の第3の回折構造が形成され、通過する上記第1の波長の光ビームの上記集光光学デバイスを介して第1の光ディスクの信号記録面に集光する次数の回折光を発生させるとともに、通過する上記第2の波長の光ビームの上記集光光学デバイスを介して第2の光ディスクの信号記録面に集光する次数以外の次数の回折光が支配的となるように発生させ、通過する上記第3の波長の光ビームの上記集光光学デバイスを介して第3の光ディスクの信号記録面に集光する次数以外の次数の回折光が支配的となるように発生させ、
    上記第1の回折構造は、少なくとも第1の基礎構造と第2の基礎構造とを重畳するように形成された光路差付与構造であり、
    上記第1の基礎構造は、凹凸形状とされた単位周期構造が各輪帯の半径方向に連続的に形成された周期構造であることにより、上記第1及び第2の波長に対して上記集光する次数の回折光を発生させるように光路差を付与する光路差付与構造であり、
    上記第2の基礎構造は、上記第2の基礎構造を通過する上記第1の波長の光ビームの0次光が支配的となるように発生させ、上記第2の基礎構造を通過する上記第2の波長の光ビームの0次光が支配的となるように発生させ、上記第2の基礎構造を通過する上記第3の波長の光ビームの0次以外の次数の回折光が支配的となるように発生させるように光路差を付与する光路差付与構造であり、
    上記第2の回折構造は、凹凸形状とされた単位周期構造が各輪帯の半径方向に連続的に形成された周期構造であり、
    上記第1の回折構造の上記第1の基礎構造は、凹凸形状とされた単位周期構造が各輪帯の半径方向に連続的に形成された周期構造であり、下記の(1)式を満たし、
    上記第2の回折構造は、凹凸形状とされた単位周期構造が各輪帯の半径方向に連続的に形成された周期構造であり、下記の(2)式を満たす光ピックアップ。
    4≦N≦39 (1)式
    3≦N≦25 (2)式
    ここで、
    は、上記第1の回折領域の第1の回折構造の上記第1の基礎構造における周期構造の周期数を示し、
    は、上記第2の回折領域の第2の回折構造における周期構造の周期数を示す。
  9. 第1の光ディスクに対応した第1の波長の光ビームを出射する第1の出射部と、
    上記第1の光ディスクとは異なる種類の第2の光ディスクに対応した上記第1の波長より長い第2の波長の光ビームを出射する第2の出射部と、
    上記第1及び第2の光ディスクとは異なる種類の第3の光ディスクに対応した上記第2の波長より長い第3の波長の光ビームを出射する第3の出射部と、
    上記第1乃至第3の出射部から出射された光ビームを光ディスクの信号記録面上に集光する集光光学デバイスと、
    上記第1乃至第3の波長の光ビームの光路上に配置される集光光学デバイスに設けられる回折部とを備え、
    上記回折部は、最内周部に設けられ略円形状の光ビームを回折する第1の領域と、上記第1の領域の外側に設けられ輪帯状の光ビームを回折する第2の領域と、上記第2の領域の外側に設けられ輪帯状の第3の領域とを有し、
    上記第1の領域は、輪帯状で且つ所定の深さを有する第1の回折構造が形成され、通過する上記第1の波長の光ビームの上記集光光学デバイスを介して第1の光ディスクの信号記録面に集光する次数の回折光を発生させ、通過する上記第2の波長の光ビームの上記集光光学デバイスを介して第2の光ディスクの信号記録面に集光する次数の回折光を発生させ、通過する上記第3の波長の光ビームの上記集光光学デバイスを介して第3の光ディスクの信号記録面に集光する次数の回折光を発生させ、
    上記第2の領域は、輪帯状で且つ所定の深さを有し上記第1の回折構造とは異なる構造の第2の回折構造が形成され、通過する上記第1の波長の光ビームの上記集光光学デバイスを介して第1の光ディスクの信号記録面に集光する次数の回折光を発生させ、通過する上記第2の波長の光ビームの上記集光光学デバイスを介して第2の光ディスクの信号記録面に集光する次数の回折光を発生させるとともに、通過する上記第3の波長の光ビームの上記集光光学デバイスを介して第3の光ディスクの信号記録面に集光する次数以外の次数の回折光が支配的となるように発生させ、
    上記第3の領域は、通過する上記第1の波長の光ビームを上記集光光学デバイスを介して第1の光ディスクの信号記録面に集光させるとともに、通過する上記第2の波長の光ビームを上記集光光学デバイスを介して第2の光ディスクの信号記録面に集光させない状態とし、通過する上記第3の波長の光ビームを上記集光光学デバイスを介して第3の光ディスクの信号記録面に集光させない状態とし、
    上記第1及び第2の回折構造は、それぞれ、凹凸形状とされた単位周期構造が各輪帯の半径方向に連続的に形成された周期構造であり、下記の(1)式及び(2)式を満たす光ピックアップ。
    4≦N≦39 (1)式
    3≦N≦25 (2)式
    ここで、
    は、上記第1の領域の第1の回折構造における周期構造の周期数を示し、
    は、上記第2の領域の第2の回折構造における周期構造の周期数を示す。
  10. 第1の光ディスクに対応した第1の波長の光ビームを出射する第1の出射部と、
    上記第1の光ディスクとは異なる種類の第2の光ディスクに対応した上記第1の波長より長い第2の波長の光ビームを出射する第2の出射部と、
    上記第1及び第2の光ディスクとは異なる種類の第3の光ディスクに対応した上記第2の波長より長い第3の波長の光ビームを出射する第3の出射部と、
    上記第1乃至第3の出射部から出射された光ビームを光ディスクの信号記録面上に集光する集光光学デバイスと、
    上記第1乃至第3の波長の光ビームの光路上に配置される集光光学デバイスに設けられる回折部とを備え、
    上記回折部は、最内周部に設けられ略円形状の光ビームを回折する第1の領域と、上記第1の領域の外側に設けられ輪帯状の光ビームを回折する第2の領域と、上記第2の領域の外側に設けられ輪帯状の第3の領域とを有し、
    上記第1の領域は、輪帯状で且つ所定の深さを有する第1の回折構造が形成され、通過する上記第1の波長の光ビームの上記集光光学デバイスを介して第1の光ディスクの信号記録面に集光する次数の回折光を発生させ、通過する上記第2の波長の光ビームの上記集光光学デバイスを介して第2の光ディスクの信号記録面に集光する次数の回折光を発生させ、通過する上記第3の波長の光ビームの上記集光光学デバイスを介して第3の光ディスクの信号記録面に集光する次数の回折光を発生させ、
    上記第2の領域は、輪帯状で且つ所定の深さを有し上記第1の回折構造とは異なる構造の第2の回折構造が形成され、通過する上記第1の波長の光ビームの上記集光光学デバイスを介して第1の光ディスクの信号記録面に集光する次数の回折光を発生させ、通過する上記第2の波長の光ビームの上記集光光学デバイスを介して第2の光ディスクの信号記録面に集光する次数の回折光を発生させるとともに、通過する上記第3の波長の光ビームの上記集光光学デバイスを介して第3の光ディスクの信号記録面に集光する次数以外の次数の回折光が支配的となるように発生させ、
    上記第3の領域は、通過する上記第1の波長の光ビームを上記集光光学デバイスを介して第1の光ディスクの信号記録面に集光させるとともに、通過する上記第2の波長の光ビームを上記集光光学デバイスを介して第2の光ディスクの信号記録面に集光させない状態とし、通過する上記第3の波長の光ビームを上記集光光学デバイスを介して第3の光ディスクの信号記録面に集光させない状態とし、
    上記第1の回折構造は、少なくとも第1の基礎構造と第2の基礎構造とを重畳するように形成された光路差付与構造であり、
    上記第1の基礎構造は、凹凸形状とされた単位周期構造が各輪帯の半径方向に連続的に形成された周期構造であることにより、上記第1及び第2の波長に対して上記集光する次数の回折光を発生させるように光路差を付与する光路差付与構造であり、
    上記第2の基礎構造は、上記第2の基礎構造を通過する上記第1の波長の光ビームの0次光が支配的となるように発生させ、上記第2の基礎構造を通過する上記第2の波長の光ビームの0次光が支配的となるように発生させ、上記第2の基礎構造を通過する上記第3の波長の光ビームの0次以外の次数の回折光が支配的となるように発生させるように光路差を付与する光路差付与構造であり、
    上記第2の回折構造は、凹凸形状とされた単位周期構造が各輪帯の半径方向に連続的に形成された周期構造であり、
    上記第1の回折構造の上記第1の基礎構造は、凹凸形状とされた単位周期構造が各輪帯の半径方向に連続的に形成された周期構造であり、下記の(1)式を満たし、
    上記第2の回折構造は、凹凸形状とされた単位周期構造が各輪帯の半径方向に連続的に形成された周期構造であり、下記の(2)式を満たす光ピックアップ。
    4≦N≦39 (1)式
    3≦N≦25 (2)式
    ここで、
    は、上記第1の領域の第1の回折構造の上記第1の基礎構造における周期構造の周期数を示し、
    は、上記第2の領域の第2の回折構造における周期構造の周期数を示す。
  11. 少なくとも第1の光ディスクと、上記第1の光ディスクとは異なる種類の第2の光ディスクと、上記第1及び第2の光ディスクとは異なる種類の第3の光ディスクとから任意に選択され、回転駆動される光ディスクに対し、波長を異にする複数の光ビームを選択的に照射することにより情報信号の記録及び/又は再生を行う光ピックアップとを備え、
    上記光ピックアップは、第1の光ディスクに対応した第1の波長の光ビームを出射する第1の出射部と、
    上記第2の光ディスクに対応した上記第1の波長より長い第2の波長の光ビームを出射する第2の出射部と、
    上記第3の光ディスクに対応した上記第2の波長より長い第3の波長の光ビームを出射する第3の出射部と、
    上記第1乃至第3の出射部から出射された光ビームを光ディスクの信号記録面上に集光する集光光学デバイスと、
    上記第1乃至第3の波長の光ビームの光路上に配置される集光光学デバイスに設けられる回折部とを備え、
    上記回折部は、最内周部に設けられ略円形状の第1の回折領域と、上記第1の回折領域の外側に設けられ輪帯状の第2の回折領域と、上記第2の回折領域の外側に設けられ輪帯状の第3の回折領域とを有し、
    上記第1の回折領域は、輪帯状で且つ所定の深さを有する第1の回折構造が形成され、通過する上記第1の波長の光ビームの上記集光光学デバイスを介して第1の光ディスクの信号記録面に集光する次数の回折光を発生させ、通過する上記第2の波長の光ビームの上記集光光学デバイスを介して第2の光ディスクの信号記録面に集光する次数の回折光を発生させ、通過する上記第3の波長の光ビームの上記集光光学デバイスを介して第3の光ディスクの信号記録面に集光する次数の回折光を発生させ、
    上記第2の回折領域は、輪帯状で且つ所定の深さを有し上記第1の回折構造とは異なる構造の第2の回折構造が形成され、通過する上記第1の波長の光ビームの上記集光光学デバイスを介して第1の光ディスクの信号記録面に集光する次数の回折光を発生させ、通過する上記第2の波長の光ビームの上記集光光学デバイスを介して第2の光ディスクの信号記録面に集光する次数の回折光を発生させるとともに、通過する上記第3の波長の光ビームの上記集光光学デバイスを介して第3の光ディスクの信号記録面に集光する次数以外の次数の回折光が支配的となるように発生させ、
    上記第3の回折領域は、輪帯状で且つ所定の深さを有し上記第1及び第2の回折構造とは異なる構造の第3の回折構造が形成され、通過する上記第1の波長の光ビームの上記集光光学デバイスを介して第1の光ディスクの信号記録面に集光する次数の回折光を発生させるとともに、通過する上記第2の波長の光ビームの上記集光光学デバイスを介して第2の光ディスクの信号記録面に集光する次数以外の次数の回折光が支配的となるように発生させ、通過する上記第3の波長の光ビームの上記集光光学デバイスを介して第3の光ディスクの信号記録面に集光する次数以外の次数の回折光が支配的となるように発生させ、
    上記第1及び第2の回折構造は、それぞれ、凹凸形状とされた単位周期構造が各輪帯の半径方向に連続的に形成された周期構造であり、下記の(1)式及び(2)式を満たす光ディスク装置。
    4≦N≦39 (1)式
    3≦N≦25 (2)式
    ここで、
    は、上記第1の回折領域の第1の回折構造における周期構造の周期数を示し、
    は、上記第2の回折領域の第2の回折構造における周期構造の周期数を示す。
  12. 少なくとも第1の光ディスクと、上記第1の光ディスクとは異なる種類の第2の光ディスクと、上記第1及び第2の光ディスクとは異なる種類の第3の光ディスクとから任意に選択され、回転駆動される光ディスクに対し、波長を異にする複数の光ビームを選択的に照射することにより情報信号の記録及び/又は再生を行う光ピックアップとを備え、
    上記光ピックアップは、第1の光ディスクに対応した第1の波長の光ビームを出射する第1の出射部と、
    上記第1の光ディスクとは異なる種類の第2の光ディスクに対応した上記第1の波長より長い第2の波長の光ビームを出射する第2の出射部と、
    上記第1及び第2の光ディスクとは異なる種類の第3の光ディスクに対応した上記第2の波長より長い第3の波長の光ビームを出射する第3の出射部と、
    上記第1乃至第3の出射部から出射された光ビームを光ディスクの信号記録面上に集光する集光光学デバイスと、
    上記第1乃至第3の波長の光ビームの光路上に配置される集光光学デバイスに設けられる回折部とを備え、
    上記回折部は、最内周部に設けられ略円形状の第1の回折領域と、上記第1の回折領域の外側に設けられ輪帯状の第2の回折領域と、上記第2の回折領域の外側に設けられ輪帯状の第3の回折領域とを有し、
    上記第1の回折領域は、輪帯状で且つ所定の深さを有する第1の回折構造が形成され、通過する上記第1の波長の光ビームの上記集光光学デバイスを介して第1の光ディスクの信号記録面に集光する次数の回折光を発生させ、通過する上記第2の波長の光ビームの上記集光光学デバイスを介して第2の光ディスクの信号記録面に集光する次数の回折光を発生させ、通過する上記第3の波長の光ビームの上記集光光学デバイスを介して第3の光ディスクの信号記録面に集光する次数の回折光を発生させ、
    上記第2の回折領域は、輪帯状で且つ所定の深さを有し上記第1の回折構造とは異なる構造の第2の回折構造が形成され、通過する上記第1の波長の光ビームの上記集光光学デバイスを介して第1の光ディスクの信号記録面に集光する次数の回折光を発生させ、通過する上記第2の波長の光ビームの上記集光光学デバイスを介して第2の光ディスクの信号記録面に集光する次数の回折光を発生させるとともに、通過する上記第3の波長の光ビームの上記集光光学デバイスを介して第3の光ディスクの信号記録面に集光する次数以外の次数の回折光が支配的となるように発生させ、
    上記第3の回折領域は、輪帯状で且つ所定の深さを有し上記第1及び第2の回折構造とは異なる構造の第3の回折構造が形成され、通過する上記第1の波長の光ビームの上記集光光学デバイスを介して第1の光ディスクの信号記録面に集光する次数の回折光を発生させるとともに、通過する上記第2の波長の光ビームの上記集光光学デバイスを介して第2の光ディスクの信号記録面に集光する次数以外の次数の回折光が支配的となるように発生させ、通過する上記第3の波長の光ビームの上記集光光学デバイスを介して第3の光ディスクの信号記録面に集光する次数以外の次数の回折光が支配的となるように発生させ、
    上記第1の回折構造は、少なくとも第1の基礎構造と第2の基礎構造とを重畳するように形成された光路差付与構造であり、
    上記第1の基礎構造は、凹凸形状とされた単位周期構造が各輪帯の半径方向に連続的に形成された周期構造であることにより、上記第1及び第2の波長に対して上記集光する次数の回折光を発生させるように光路差を付与する光路差付与構造であり、
    上記第2の基礎構造は、上記第2の基礎構造を通過する上記第1の波長の光ビームの0次光が支配的となるように発生させ、上記第2の基礎構造を通過する上記第2の波長の光ビームの0次光が支配的となるように発生させ、上記第2の基礎構造を通過する上記第3の波長の光ビームの0次以外の次数の回折光が支配的となるように発生させるように光路差を付与する光路差付与構造であり、
    上記第2の回折構造は、凹凸形状とされた単位周期構造が各輪帯の半径方向に連続的に形成された周期構造であり、
    上記第1の回折構造の上記第1の基礎構造は、凹凸形状とされた単位周期構造が各輪帯の半径方向に連続的に形成された周期構造であり、下記の(1)式を満たし、
    上記第2の回折構造は、凹凸形状とされた単位周期構造が各輪帯の半径方向に連続的に形成された周期構造であり、下記の(2)式を満たす光ディスク装置。
    4≦N≦39 (1)式
    3≦N≦25 (2)式
    ここで、
    は、上記第1の回折領域の第1の回折構造の上記第1の基礎構造における周期構造の周期数を示し、
    は、上記第2の回折領域の第2の回折構造における周期構造の周期数を示す。
  13. 少なくとも第1の光ディスクと、上記第1の光ディスクとは異なる種類の第2の光ディスクと、上記第1及び第2の光ディスクとは異なる種類の第3の光ディスクとから任意に選択され、回転駆動される光ディスクに対し、波長を異にする複数の光ビームを選択的に照射することにより情報信号の記録及び/又は再生を行う光ピックアップとを備え、
    上記光ピックアップは、第1の光ディスクに対応した第1の波長の光ビームを出射する第1の出射部と、
    上記第2の光ディスクに対応した上記第1の波長より長い第2の波長の光ビームを出射する第2の出射部と、
    上記第3の光ディスクに対応した上記第2の波長より長い第3の波長の光ビームを出射する第3の出射部と、
    上記第1乃至第3の出射部から出射された光ビームを光ディスクの信号記録面上に集光する集光光学デバイスと、
    上記第1乃至第3の波長の光ビームの光路上に配置される集光光学デバイスに設けられる回折部とを備え、
    上記回折部は、最内周部に設けられ光ビームを回折する略円形状の第1の領域と、上記第1の領域の外側に設けられ輪帯状の光ビームを回折する第2の領域と、上記第2の領域の外側に設けられ輪帯状の第3の領域とを有し、
    上記第1の領域は、輪帯状で且つ所定の深さを有する第1の回折構造が形成され、通過する上記第1の波長の光ビームの上記集光光学デバイスを介して第1の光ディスクの信号記録面に集光する次数の回折光を発生させ、通過する上記第2の波長の光ビームの上記集光光学デバイスを介して第2の光ディスクの信号記録面に集光する次数の回折光を発生させ、通過する上記第3の波長の光ビームの上記集光光学デバイスを介して第3の光ディスクの信号記録面に集光する次数の回折光を発生させ、
    上記第2の領域は、輪帯状で且つ所定の深さを有し上記第1の回折構造とは異なる構造の第2の回折構造が形成され、通過する上記第1の波長の光ビームの上記集光光学デバイスを介して第1の光ディスクの信号記録面に集光する次数の回折光を発生させ、通過する上記第2の波長の光ビームの上記集光光学デバイスを介して第2の光ディスクの信号記録面に集光する次数の回折光を発生させるとともに、通過する上記第3の波長の光ビームの上記集光光学デバイスを介して第3の光ディスクの信号記録面に集光する次数以外の次数の回折光が支配的となるように発生させ、
    上記第3の領域は、通過する上記第1の波長の光ビームを上記集光光学デバイスを介して第1の光ディスクの信号記録面に集光させるとともに、通過する上記第2の波長の光ビームを上記集光光学デバイスを介して第2の光ディスクの信号記録面に集光させない状態とし、通過する上記第3の波長の光ビームを上記集光光学デバイスを介して第3の光ディスクの信号記録面に集光させない状態とし、
    上記第1及び第2の回折構造は、それぞれ、凹凸形状とされた単位周期構造が各輪帯の半径方向に連続的に形成された周期構造であり、下記の(1)式及び(2)式を満たす光ディスク装置。
    4≦N≦39 (1)式
    3≦N≦25 (2)式
    ここで、
    は、上記第1の領域の第1の回折構造における周期構造の周期数を示し、
    は、上記第2の領域の第2の回折構造における周期構造の周期数を示す。
  14. 少なくとも第1の光ディスクと、上記第1の光ディスクとは異なる種類の第2の光ディスクと、上記第1及び第2の光ディスクとは異なる種類の第3の光ディスクとから任意に選択され、回転駆動される光ディスクに対し、波長を異にする複数の光ビームを選択的に照射することにより情報信号の記録及び/又は再生を行う光ピックアップとを備え、
    上記光ピックアップは、第1の光ディスクに対応した第1の波長の光ビームを出射する第1の出射部と、
    上記第1の光ディスクとは異なる種類の第2の光ディスクに対応した上記第1の波長より長い第2の波長の光ビームを出射する第2の出射部と、
    上記第1及び第2の光ディスクとは異なる種類の第3の光ディスクに対応した上記第2の波長より長い第3の波長の光ビームを出射する第3の出射部と、
    上記第1乃至第3の出射部から出射された光ビームを光ディスクの信号記録面上に集光する集光光学デバイスと、
    上記第1乃至第3の波長の光ビームの光路上に配置される集光光学デバイスに設けられる回折部とを備え、
    上記回折部は、最内周部に設けられ略円形状の光ビームを回折する第1の領域と、上記第1の領域の外側に設けられ輪帯状の光ビームを回折する第2の領域と、上記第2の領域の外側に設けられ輪帯状の第3の領域とを有し、
    上記第1の領域は、輪帯状で且つ所定の深さを有する第1の回折構造が形成され、通過する上記第1の波長の光ビームの上記集光光学デバイスを介して第1の光ディスクの信号記録面に集光する次数の回折光を発生させ、通過する上記第2の波長の光ビームの上記集光光学デバイスを介して第2の光ディスクの信号記録面に集光する次数の回折光を発生させ、通過する上記第3の波長の光ビームの上記集光光学デバイスを介して第3の光ディスクの信号記録面に集光する次数の回折光を発生させ、
    上記第2の領域は、輪帯状で且つ所定の深さを有し上記第1の回折構造とは異なる構造の第2の回折構造が形成され、通過する上記第1の波長の光ビームの上記集光光学デバイスを介して第1の光ディスクの信号記録面に集光する次数の回折光を発生させ、通過する上記第2の波長の光ビームの上記集光光学デバイスを介して第2の光ディスクの信号記録面に集光する次数の回折光を発生させるとともに、通過する上記第3の波長の光ビームの上記集光光学デバイスを介して第3の光ディスクの信号記録面に集光する次数以外の次数の回折光が支配的となるように発生させ、
    上記第3の領域は、通過する上記第1の波長の光ビームを上記集光光学デバイスを介して第1の光ディスクの信号記録面に集光させるとともに、通過する上記第2の波長の光ビームを上記集光光学デバイスを介して第2の光ディスクの信号記録面に集光させない状態とし、通過する上記第3の波長の光ビームを上記集光光学デバイスを介して第3の光ディスクの信号記録面に集光させない状態とし、
    上記第1の回折構造は、少なくとも第1の基礎構造と第2の基礎構造とを重畳するように形成された光路差付与構造であり、
    上記第1の基礎構造は、凹凸形状とされた単位周期構造が各輪帯の半径方向に連続的に形成された周期構造であることにより、上記第1及び第2の波長に対して上記集光する次数の回折光を発生させるように光路差を付与する光路差付与構造であり、
    上記第2の基礎構造は、上記第2の基礎構造を通過する上記第1の波長の光ビームの0次光が支配的となるように発生させ、上記第2の基礎構造を通過する上記第2の波長の光ビームの0次光が支配的となるように発生させ、上記第2の基礎構造を通過する上記第3の波長の光ビームの0次以外の次数の回折光が支配的となるように発生させるように光路差を付与する光路差付与構造であり、
    上記第2の回折構造は、凹凸形状とされた単位周期構造が各輪帯の半径方向に連続的に形成された周期構造であり、
    上記第1の回折構造の上記第1の基礎構造は、凹凸形状とされた単位周期構造が各輪帯の半径方向に連続的に形成された周期構造であり、下記の(1)式を満たし、
    上記第2の回折構造は、凹凸形状とされた単位周期構造が各輪帯の半径方向に連続的に形成された周期構造であり、下記の(2)式を満たす光ディスク装置。
    4≦N≦39 (1)式
    3≦N≦25 (2)式
    ここで、
    は、上記第1の領域の第1の回折構造の上記第1の基礎構造における周期構造の周期数を示し、
    は、上記第2の領域の第2の回折構造における周期構造の周期数を示す。
  15. 少なくとも第1の光ディスクと、上記第1の光ディスクとは異なる種類の第2の光ディスクと、上記第1及び第2の光ディスクとは異なる種類の第3の光ディスクとに対して光ビームを照射して情報信号の記録及び/又は再生を行う光ピックアップに用いられ、上記第1の光ディスクに対応した第1の波長の光ビームと、上記第2の光ディスクに対応した上記第1の波長より長い第2の波長の光ビームと、上記第3の光ディスクに対応した上記第2の波長より長い第3の波長の光ビームとを対応する光ディスクの信号記録面上に集光する集光光学デバイスにおいて、
    入射側の面又は出射側の面に設けられる回折部を備え、
    上記回折部は、最内周部に設けられ略円形状の第1の回折領域と、上記第1の回折領域の外側に設けられ輪帯状の第2の回折領域と、上記第2の回折領域の外側に設けられ輪帯状の第3の回折領域とを有し、
    上記第1の回折領域は、輪帯状で且つ所定の深さを有する第1の回折構造が形成され、通過する上記第1の波長の光ビームの当該集光光学デバイスを介して第1の光ディスクの信号記録面に集光する次数の回折光を発生させ、通過する上記第2の波長の光ビームの当該集光光学デバイスを介して第2の光ディスクの信号記録面に集光する次数の回折光を発生させ、通過する上記第3の波長の光ビームの当該集光光学デバイスを介して第3の光ディスクの信号記録面に集光する次数の回折光を発生させ、
    上記第2の回折領域は、輪帯状で且つ所定の深さを有し上記第1の回折構造とは異なる構造の第2の回折構造が形成され、通過する上記第1の波長の光ビームの当該集光光学デバイスを介して第1の光ディスクの信号記録面に集光する次数の回折光を発生させ、通過する上記第2の波長の光ビームの当該集光光学デバイスを介して第2の光ディスクの信号記録面に集光する次数の回折光を発生させるとともに、通過する上記第3の波長の光ビームの当該集光光学デバイスを介して第3の光ディスクの信号記録面に集光する次数以外の次数の回折光が支配的となるように発生させ、
    上記第3の回折領域は、輪帯状で且つ所定の深さを有し上記第1及び第2の回折構造とは異なる構造の第3の回折構造が形成され、通過する上記第1の波長の光ビームの当該集光光学デバイスを介して第1の光ディスクの信号記録面に集光する次数の回折光を発生させるとともに、通過する上記第2の波長の光ビームの当該集光光学デバイスを介して第2の光ディスクの信号記録面に集光する次数以外の次数の回折光が支配的となるように発生させ、通過する上記第3の波長の光ビームの当該集光光学デバイスを介して第3の光ディスクの信号記録面に集光する次数以外の次数の回折光が支配的となるように発生させ、
    上記第1及び第2の回折構造は、それぞれ、凹凸形状とされた単位周期構造が各輪帯の半径方向に連続的に形成された周期構造であり、下記の(1)式及び(2)式を満たす集光光学デバイス。
    4≦N≦39 (1)式
    3≦N≦25 (2)式
    ここで、
    は、上記第1の回折領域の第1の回折構造における周期構造の周期数を示し、
    は、上記第2の回折領域の第2の回折構造における周期構造の周期数を示す。
  16. 少なくとも第1の光ディスクと、上記第1の光ディスクとは異なる種類の第2の光ディスクと、上記第1及び第2の光ディスクとは異なる種類の第3の光ディスクとに対して光ビームを照射して情報信号の記録及び/又は再生を行う光ピックアップに用いられ、上記第1の光ディスクに対応した第1の波長の光ビームと、上記第2の光ディスクに対応した上記第1の波長より長い第2の波長の光ビームと、上記第3の光ディスクに対応した上記第2の波長より長い第3の波長の光ビームとを対応する光ディスクの信号記録面上に集光する集光光学デバイスにおいて、
    入射側の面又は出射側の面に設けられる回折部を備え、
    上記回折部は、最内周部に設けられ略円形状の第1の回折領域と、上記第1の回折領域の外側に設けられ輪帯状の第2の回折領域と、上記第2の回折領域の外側に設けられ輪帯状の第3の回折領域とを有し、
    上記第1の回折領域は、輪帯状で且つ所定の深さを有する第1の回折構造が形成され、通過する上記第1の波長の光ビームの上記集光光学デバイスを介して第1の光ディスクの信号記録面に集光する次数の回折光を発生させ、通過する上記第2の波長の光ビームの上記集光光学デバイスを介して第2の光ディスクの信号記録面に集光する次数の回折光を発生させ、通過する上記第3の波長の光ビームの上記集光光学デバイスを介して第3の光ディスクの信号記録面に集光する次数の回折光を発生させ、
    上記第2の回折領域は、輪帯状で且つ所定の深さを有し上記第1の回折構造とは異なる構造の第2の回折構造が形成され、通過する上記第1の波長の光ビームの上記集光光学デバイスを介して第1の光ディスクの信号記録面に集光する次数の回折光を発生させ、通過する上記第2の波長の光ビームの上記集光光学デバイスを介して第2の光ディスクの信号記録面に集光する次数の回折光を発生させるとともに、通過する上記第3の波長の光ビームの上記集光光学デバイスを介して第3の光ディスクの信号記録面に集光する次数以外の次数の回折光が支配的となるように発生させ、
    上記第3の回折領域は、輪帯状で且つ所定の深さを有し上記第1及び第2の回折構造とは異なる構造の第3の回折構造が形成され、通過する上記第1の波長の光ビームの上記集光光学デバイスを介して第1の光ディスクの信号記録面に集光する次数の回折光を発生させるとともに、通過する上記第2の波長の光ビームの上記集光光学デバイスを介して第2の光ディスクの信号記録面に集光する次数以外の次数の回折光が支配的となるように発生させ、通過する上記第3の波長の光ビームの上記集光光学デバイスを介して第3の光ディスクの信号記録面に集光する次数以外の次数の回折光が支配的となるように発生させ、
    上記第1の回折構造は、少なくとも第1の基礎構造と第2の基礎構造とを重畳するように形成された光路差付与構造であり、
    上記第1の基礎構造は、凹凸形状とされた単位周期構造が各輪帯の半径方向に連続的に形成された周期構造であることにより、上記第1及び第2の波長に対して上記集光する次数の回折光を発生させるように光路差を付与する光路差付与構造であり、
    上記第2の基礎構造は、上記第2の基礎構造を通過する上記第1の波長の光ビームの0次光が支配的となるように発生させ、上記第2の基礎構造を通過する上記第2の波長の光ビームの0次光が支配的となるように発生させ、上記第2の基礎構造を通過する上記第3の波長の光ビームの0次以外の次数の回折光が支配的となるように発生させるように光路差を付与する光路差付与構造であり、
    上記第2の回折構造は、凹凸形状とされた単位周期構造が各輪帯の半径方向に連続的に形成された周期構造であり、
    上記第1の回折構造の上記第1の基礎構造は、凹凸形状とされた単位周期構造が各輪帯の半径方向に連続的に形成された周期構造であり、下記の(1)式を満たし、
    上記第2の回折構造は、凹凸形状とされた単位周期構造が各輪帯の半径方向に連続的に形成された周期構造であり、下記の(2)式を満たす集光光学デバイス。
    4≦N≦39 (1)式
    3≦N≦25 (2)式
    ここで、
    は、上記第1の回折領域の第1の回折構造の上記第1の基礎構造における周期構造の周期数を示し、
    は、上記第2の回折領域の第2の回折構造における周期構造の周期数を示す。
  17. 少なくとも第1の光ディスクと、上記第1の光ディスクとは異なる種類の第2の光ディスクと、上記第1及び第2の光ディスクとは異なる種類の第3の光ディスクとに対して光ビームを照射して情報信号の記録及び/又は再生を行う光ピックアップに用いられ、上記第1の光ディスクに対応した第1の波長の光ビームと、上記第2の光ディスクに対応した上記第1の波長より長い第2の波長の光ビームと、上記第3の光ディスクに対応した上記第2の波長より長い第3の波長の光ビームとを対応する光ディスクの信号記録面上に集光する集光光学デバイスにおいて、
    入射側の面又は出射側の面に設けられる回折部を備え、
    上記回折部は、最内周部に設けられ略円形状の光ビームを回折する第1の領域と、上記第1の領域の外側に設けられ輪帯状の光ビームを回折する第2の領域と、上記第2の領域の外側に設けられ輪帯状の第3の領域とを有し、
    上記第1の領域は、輪帯状で且つ所定の深さを有する第1の回折構造が形成され、通過する上記第1の波長の光ビームの当該集光光学デバイスを介して第1の光ディスクの信号記録面に集光する次数の回折光を発生させ、通過する上記第2の波長の光ビームの当該集光光学デバイスを介して第2の光ディスクの信号記録面に集光する次数の回折光を発生させ、通過する上記第3の波長の光ビームの当該集光光学デバイスを介して第3の光ディスクの信号記録面に集光する次数の回折光を発生させ、
    上記第2の領域は、輪帯状で且つ所定の深さを有し上記第1の回折構造とは異なる構造の第2の回折構造が形成され、通過する上記第1の波長の光ビームの当該集光光学デバイスを介して第1の光ディスクの信号記録面に集光する次数の回折光を発生させ、通過する上記第2の波長の光ビームの当該集光光学デバイスを介して第2の光ディスクの信号記録面に集光する次数の回折光を発生させるとともに、通過する上記第3の波長の光ビームの当該集光光学デバイスを介して第3の光ディスクの信号記録面に集光する次数以外の次数の回折光が支配的となるように発生させ、
    上記第3の領域は、通過する上記第1の波長の光ビームを上記集光光学デバイスを介して第1の光ディスクの信号記録面に集光させるとともに、通過する上記第2の波長の光ビームを上記集光光学デバイスを介して第2の光ディスクの信号記録面に集光させない状態とし、通過する上記第3の波長の光ビームを上記集光光学デバイスを介して第3の光ディスクの信号記録面に集光させない状態とし、
    上記第1及び第2の回折構造は、それぞれ、凹凸形状とされた単位周期構造が各輪帯の半径方向に連続的に形成された周期構造であり、下記の(1)式及び(2)式を満たす集光光学デバイス。
    4≦N≦39 (1)式
    3≦N≦25 (2)式
    ここで、
    は、上記第1の領域の第1の回折構造における周期構造の周期数を示し、
    は、上記第2の領域の第2の回折構造における周期構造の周期数を示す。
  18. 少なくとも第1の光ディスクと、上記第1の光ディスクとは異なる種類の第2の光ディスクと、上記第1及び第2の光ディスクとは異なる種類の第3の光ディスクとに対して光ビームを照射して情報信号の記録及び/又は再生を行う光ピックアップに用いられ、上記第1の光ディスクに対応した第1の波長の光ビームと、上記第2の光ディスクに対応した上記第1の波長より長い第2の波長の光ビームと、上記第3の光ディスクに対応した上記第2の波長より長い第3の波長の光ビームとを対応する光ディスクの信号記録面上に集光する集光光学デバイスにおいて、
    入射側の面又は出射側の面に設けられる回折部を備え、
    上記回折部は、最内周部に設けられ略円形状の光ビームを回折する第1の領域と、上記第1の領域の外側に設けられ輪帯状の光ビームを回折する第2の領域と、上記第2の領域の外側に設けられ輪帯状の第3の領域とを有し、
    上記第1の領域は、輪帯状で且つ所定の深さを有する第1の回折構造が形成され、通過する上記第1の波長の光ビームの上記集光光学デバイスを介して第1の光ディスクの信号記録面に集光する次数の回折光を発生させ、通過する上記第2の波長の光ビームの上記集光光学デバイスを介して第2の光ディスクの信号記録面に集光する次数の回折光を発生させ、通過する上記第3の波長の光ビームの上記集光光学デバイスを介して第3の光ディスクの信号記録面に集光する次数の回折光を発生させ、
    上記第2の領域は、輪帯状で且つ所定の深さを有し上記第1の回折構造とは異なる構造の第2の回折構造が形成され、通過する上記第1の波長の光ビームの上記集光光学デバイスを介して第1の光ディスクの信号記録面に集光する次数の回折光を発生させ、通過する上記第2の波長の光ビームの上記集光光学デバイスを介して第2の光ディスクの信号記録面に集光する次数の回折光を発生させるとともに、通過する上記第3の波長の光ビームの上記集光光学デバイスを介して第3の光ディスクの信号記録面に集光する次数以外の次数の回折光が支配的となるように発生させ、
    上記第3の領域は、通過する上記第1の波長の光ビームを上記集光光学デバイスを介して第1の光ディスクの信号記録面に集光させるとともに、通過する上記第2の波長の光ビームを上記集光光学デバイスを介して第2の光ディスクの信号記録面に集光させない状態とし、通過する上記第3の波長の光ビームを上記集光光学デバイスを介して第3の光ディスクの信号記録面に集光させない状態とし、
    上記第1の回折構造は、少なくとも第1の基礎構造と第2の基礎構造とを重畳するように形成された光路差付与構造であり、
    上記第1の基礎構造は、凹凸形状とされた単位周期構造が各輪帯の半径方向に連続的に形成された周期構造であることにより、上記第1及び第2の波長に対して上記集光する次数の回折光を発生させるように光路差を付与する光路差付与構造であり、
    上記第2の基礎構造は、上記第2の基礎構造を通過する上記第1の波長の光ビームの0次光が支配的となるように発生させ、上記第2の基礎構造を通過する上記第2の波長の光ビームの0次光が支配的となるように発生させ、上記第2の基礎構造を通過する上記第3の波長の光ビームの0次以外の次数の回折光が支配的となるように発生させるように光路差を付与する光路差付与構造であり、
    上記第2の回折構造は、凹凸形状とされた単位周期構造が各輪帯の半径方向に連続的に形成された周期構造であり、
    上記第1の回折構造の上記第1の基礎構造は、凹凸形状とされた単位周期構造が各輪帯の半径方向に連続的に形成された周期構造であり、下記の(1)式を満たし、
    上記第2の回折構造は、凹凸形状とされた単位周期構造が各輪帯の半径方向に連続的に形成された周期構造であり、下記の(2)式を満たす集光光学デバイス。
    4≦N≦39 (1)式
    3≦N≦25 (2)式
    ここで、
    は、上記第1の領域の第1の回折構造の上記第1の基礎構造における周期構造の周期数を示し、
    は、上記第2の領域の第2の回折構造における周期構造の周期数を示す。
JP2008220488A 2008-08-28 2008-08-28 集光光学デバイス、光ピックアップ及び光ディスク装置 Expired - Fee Related JP4775422B2 (ja)

Priority Applications (3)

Application Number Priority Date Filing Date Title
JP2008220488A JP4775422B2 (ja) 2008-08-28 2008-08-28 集光光学デバイス、光ピックアップ及び光ディスク装置
US12/544,410 US8064315B2 (en) 2008-08-28 2009-08-20 Condensing optical device, optical pickup, and optical disc apparatus
CN200910171527XA CN101661765B (zh) 2008-08-28 2009-08-28 会聚光学装置、光学拾取器以及光盘设备

Applications Claiming Priority (1)

Application Number Priority Date Filing Date Title
JP2008220488A JP4775422B2 (ja) 2008-08-28 2008-08-28 集光光学デバイス、光ピックアップ及び光ディスク装置

Publications (2)

Publication Number Publication Date
JP2010055693A true JP2010055693A (ja) 2010-03-11
JP4775422B2 JP4775422B2 (ja) 2011-09-21

Family

ID=41725297

Family Applications (1)

Application Number Title Priority Date Filing Date
JP2008220488A Expired - Fee Related JP4775422B2 (ja) 2008-08-28 2008-08-28 集光光学デバイス、光ピックアップ及び光ディスク装置

Country Status (3)

Country Link
US (1) US8064315B2 (ja)
JP (1) JP4775422B2 (ja)
CN (1) CN101661765B (ja)

Cited By (3)

* Cited by examiner, † Cited by third party
Publication number Priority date Publication date Assignee Title
US8599672B2 (en) 2011-09-07 2013-12-03 Sony Corporation Objective lens, optical pickup device, and optical disc device
WO2014024462A1 (ja) * 2012-08-09 2014-02-13 パナソニック株式会社 光学ヘッド、対物レンズ、光ディスク装置、コンピュータ、光ディスクプレーヤ及び光ディスクレコーダ
CN108647546A (zh) * 2018-06-22 2018-10-12 深圳市民德电子科技股份有限公司 条码识读引擎瞄准结构及十字图像衍射聚光镜片

Families Citing this family (12)

* Cited by examiner, † Cited by third party
Publication number Priority date Publication date Assignee Title
JP2008044264A (ja) * 2006-08-18 2008-02-28 Oki Data Corp 画像形成装置
US8208361B2 (en) * 2008-03-18 2012-06-26 Konica Minolta Opto, Inc. Objective lens and optical pickup apparatus
WO2009145103A1 (ja) * 2008-05-27 2009-12-03 コニカミノルタオプト株式会社 対物レンズ及び光ピックアップ装置
JP4780151B2 (ja) * 2008-06-23 2011-09-28 ソニー株式会社 光ピックアップ、光情報再生装置及び光情報再生方法
JP4650529B2 (ja) * 2008-07-04 2011-03-16 ソニー株式会社 光ピックアップ及びこれを用いた光ディスク装置
JP2010020824A (ja) * 2008-07-09 2010-01-28 Sony Corp 光ディスク装置及び信号記録面検出方法
WO2011033782A1 (ja) * 2009-09-17 2011-03-24 パナソニック株式会社 光学素子、光ピックアップ装置
JP2011081868A (ja) * 2009-10-07 2011-04-21 Sanyo Electric Co Ltd 対物レンズ、及び光ピックアップ装置
JP2011118960A (ja) * 2009-12-01 2011-06-16 Sanyo Electric Co Ltd 光ピックアップ装置
JP2013033576A (ja) * 2010-09-29 2013-02-14 Panasonic Corp 対物レンズ素子、光ピックアップ装置
TWI674472B (zh) * 2017-09-06 2019-10-11 旺玖科技股份有限公司 具有至少三個鏡頭的全景影像擷取裝置及其全景影像擷取模組
CN112782910B (zh) * 2019-11-08 2022-06-24 三赢科技(深圳)有限公司 结构光投射装置

Citations (6)

* Cited by examiner, † Cited by third party
Publication number Priority date Publication date Assignee Title
JP2005018967A (ja) * 2003-06-04 2005-01-20 Pentax Corp 光ピックアップ用対物レンズおよび光ピックアップ装置
JP2005259332A (ja) * 2004-02-13 2005-09-22 Konica Minolta Opto Inc 光ピックアップ装置及び光ピックアップ装置用回折光学素子
JP2007004962A (ja) * 2005-05-23 2007-01-11 Pentax Corp 光情報記録再生装置用対物レンズおよび光情報記録再生装置
JP2007122851A (ja) * 2005-09-28 2007-05-17 Pentax Corp 光情報記録再生装置および光情報記録再生装置用対物レンズ
JP2007294029A (ja) * 2006-04-26 2007-11-08 Ricoh Co Ltd 光ピックアップおよび光情報処理装置
WO2008010506A1 (en) * 2006-07-21 2008-01-24 Panasonic Corporation Optical head device, optical information device, computer, disc player, car navigation system, optical disc recorder, and vehicle

Family Cites Families (25)

* Cited by examiner, † Cited by third party
Publication number Priority date Publication date Assignee Title
JP3008406B2 (ja) 1988-06-20 2000-02-14 日立マクセル株式会社 光情報記録媒体及びその製造方法
JPH09312057A (ja) 1995-07-27 1997-12-02 Matsushita Electric Ind Co Ltd 光ディスク装置
JPH11353785A (ja) 1998-06-03 1999-12-24 Sony Corp 光ディスクの判別装置および判別方法
JP4359894B2 (ja) 1999-01-22 2009-11-11 コニカミノルタホールディングス株式会社 光ピックアップ装置
JP4453131B2 (ja) 1999-11-17 2010-04-21 コニカミノルタホールディングス株式会社 光ピックアップ装置および対物レンズ
US20020122374A1 (en) 2001-03-02 2002-09-05 Matsushita Electric Industrial Co., Ltd Optical recording medium, optical information processing apparatus and optical recording and reproducing method
JP2002329316A (ja) 2001-03-02 2002-11-15 Matsushita Electric Ind Co Ltd 光記録媒体、光情報処理装置および光記録再生方法
US6807139B2 (en) * 2001-04-12 2004-10-19 Konica Corporation Objective lens and optical pickup apparatus
JP2001357557A (ja) 2001-05-14 2001-12-26 Matsushita Electric Ind Co Ltd 光学ヘッド
JP2003157545A (ja) 2002-09-24 2003-05-30 Hitachi Ltd 光ディスク装置及び光ディスクフォーカシング制御方法
JP4433818B2 (ja) 2003-02-14 2010-03-17 コニカミノルタホールディングス株式会社 光ピックアップ装置用の対物レンズ、光ピックアップ装置及び光情報記録再生装置
JP4465167B2 (ja) 2003-07-14 2010-05-19 富士フイルム株式会社 3次元光記録媒体記録方法、3次元光記録媒体再生方法
US20050105446A1 (en) 2003-11-14 2005-05-19 Konica Minolta Opto, Inc. Optical pickup apparatus
JP2005209325A (ja) 2003-12-25 2005-08-04 Konica Minolta Opto Inc 光ピックアップ装置
JP2005327328A (ja) 2004-05-12 2005-11-24 Hitachi Maxell Ltd 3次元光情報記録媒体
JP2005353142A (ja) 2004-06-09 2005-12-22 Matsushita Electric Ind Co Ltd 光ディスク判別装置
JP2006185498A (ja) 2004-12-27 2006-07-13 Sony Corp 光ピックアップ
JP4512515B2 (ja) 2005-04-26 2010-07-28 株式会社日立製作所 光ディスク装置及び光ディスク判別方法
EP1993094A4 (en) * 2006-03-07 2009-05-06 Konica Minolta Opto Inc OPTICAL RECORDING DEVICE, OPTICAL LENS ELEMENT AND OPTICAL INFORMATION RECORDING AND REPRODUCING DEVICE
JP2007328886A (ja) 2006-06-09 2007-12-20 Konica Minolta Opto Inc 光ピックアップ装置及び光情報記録媒体記録再生装置
JP2008004169A (ja) 2006-06-22 2008-01-10 Pentax Corp 光ピックアップ
JP4961922B2 (ja) 2006-09-14 2012-06-27 ソニー株式会社 光ディスク装置及び焦点位置制御方法
JP4780151B2 (ja) 2008-06-23 2011-09-28 ソニー株式会社 光ピックアップ、光情報再生装置及び光情報再生方法
JP4650529B2 (ja) 2008-07-04 2011-03-16 ソニー株式会社 光ピックアップ及びこれを用いた光ディスク装置
JP2010020824A (ja) 2008-07-09 2010-01-28 Sony Corp 光ディスク装置及び信号記録面検出方法

Patent Citations (6)

* Cited by examiner, † Cited by third party
Publication number Priority date Publication date Assignee Title
JP2005018967A (ja) * 2003-06-04 2005-01-20 Pentax Corp 光ピックアップ用対物レンズおよび光ピックアップ装置
JP2005259332A (ja) * 2004-02-13 2005-09-22 Konica Minolta Opto Inc 光ピックアップ装置及び光ピックアップ装置用回折光学素子
JP2007004962A (ja) * 2005-05-23 2007-01-11 Pentax Corp 光情報記録再生装置用対物レンズおよび光情報記録再生装置
JP2007122851A (ja) * 2005-09-28 2007-05-17 Pentax Corp 光情報記録再生装置および光情報記録再生装置用対物レンズ
JP2007294029A (ja) * 2006-04-26 2007-11-08 Ricoh Co Ltd 光ピックアップおよび光情報処理装置
WO2008010506A1 (en) * 2006-07-21 2008-01-24 Panasonic Corporation Optical head device, optical information device, computer, disc player, car navigation system, optical disc recorder, and vehicle

Cited By (4)

* Cited by examiner, † Cited by third party
Publication number Priority date Publication date Assignee Title
US8599672B2 (en) 2011-09-07 2013-12-03 Sony Corporation Objective lens, optical pickup device, and optical disc device
WO2014024462A1 (ja) * 2012-08-09 2014-02-13 パナソニック株式会社 光学ヘッド、対物レンズ、光ディスク装置、コンピュータ、光ディスクプレーヤ及び光ディスクレコーダ
US8995246B2 (en) 2012-08-09 2015-03-31 Panasonic Intellectual Property Management Co., Ltd. Optical head, objective lens, optical disc device, computer, optical disc player, and optical disc recorder
CN108647546A (zh) * 2018-06-22 2018-10-12 深圳市民德电子科技股份有限公司 条码识读引擎瞄准结构及十字图像衍射聚光镜片

Also Published As

Publication number Publication date
CN101661765B (zh) 2011-07-06
US20100054109A1 (en) 2010-03-04
CN101661765A (zh) 2010-03-03
JP4775422B2 (ja) 2011-09-21
US8064315B2 (en) 2011-11-22

Similar Documents

Publication Publication Date Title
JP4775422B2 (ja) 集光光学デバイス、光ピックアップ及び光ディスク装置
JP4711019B2 (ja) 対物レンズ、光ピックアップ及び光ディスク装置
KR100807468B1 (ko) 광 픽업 장치 및 대물 렌즈
JP2011141909A (ja) 対物レンズ、光ピックアップ及び光ディスク装置
JP5310386B2 (ja) 対物レンズ、光ピックアップ及び光ディスク装置
WO2010013616A1 (ja) 対物レンズ及び光ピックアップ装置
JP4849134B2 (ja) 対物レンズ、光ピックアップ及び光ディスク装置
CN1942947B (zh) 物镜光学系统、光拾取装置以及光学信息记录再生装置
JP4370619B2 (ja) 光学素子、光ピックアップ装置及びドライブ装置
WO2007123112A1 (ja) 光ピックアップ装置、光学素子及び光情報記録再生装置並びに光学素子の設計方法
JP2005166173A (ja) 光ピックアップ装置及び光情報記録再生装置
JP2009076163A (ja) 光学素子、光ピックアップ及び光ディスク装置
JP2010198717A (ja) 対物レンズ、光ピックアップ及び光ディスク装置
JP2010055683A (ja) 対物光学素子及び光ピックアップ装置
JP2007334952A (ja) 光情報記録再生装置用対物レンズ
KR20070012785A (ko) 대물 광학 소자 및 광픽업 장치
JP2005353240A (ja) 光ピックアップ光学系、光ピックアップ装置及び光ディスクドライブ装置
JP2010055732A (ja) 対物光学素子及び光ピックアップ装置
JP2011227956A (ja) 対物レンズ、光ピックアップ及び光ディスク装置
JP2010061768A (ja) 光ピックアップ及び光ディスク装置
JP2009181645A (ja) 対物光学素子及び光ピックアップ装置
JP2009176391A (ja) 光ピックアップ及び光ディスク装置
JP2006244593A (ja) 光ピックアップ、光情報処理装置
JP2006286186A (ja) 光ピックアップ装置
JP2011187119A (ja) 対物レンズ、光ピックアップ及び光ディスク装置

Legal Events

Date Code Title Description
A977 Report on retrieval

Free format text: JAPANESE INTERMEDIATE CODE: A971007

Effective date: 20100524

A131 Notification of reasons for refusal

Free format text: JAPANESE INTERMEDIATE CODE: A131

Effective date: 20100629

A521 Request for written amendment filed

Free format text: JAPANESE INTERMEDIATE CODE: A523

Effective date: 20100826

TRDD Decision of grant or rejection written
A01 Written decision to grant a patent or to grant a registration (utility model)

Free format text: JAPANESE INTERMEDIATE CODE: A01

Effective date: 20110531

A01 Written decision to grant a patent or to grant a registration (utility model)

Free format text: JAPANESE INTERMEDIATE CODE: A01

A61 First payment of annual fees (during grant procedure)

Free format text: JAPANESE INTERMEDIATE CODE: A61

Effective date: 20110613

R151 Written notification of patent or utility model registration

Ref document number: 4775422

Country of ref document: JP

Free format text: JAPANESE INTERMEDIATE CODE: R151

FPAY Renewal fee payment (event date is renewal date of database)

Free format text: PAYMENT UNTIL: 20140708

Year of fee payment: 3

R250 Receipt of annual fees

Free format text: JAPANESE INTERMEDIATE CODE: R250

R250 Receipt of annual fees

Free format text: JAPANESE INTERMEDIATE CODE: R250

R250 Receipt of annual fees

Free format text: JAPANESE INTERMEDIATE CODE: R250

R250 Receipt of annual fees

Free format text: JAPANESE INTERMEDIATE CODE: R250

R250 Receipt of annual fees

Free format text: JAPANESE INTERMEDIATE CODE: R250

R250 Receipt of annual fees

Free format text: JAPANESE INTERMEDIATE CODE: R250

R250 Receipt of annual fees

Free format text: JAPANESE INTERMEDIATE CODE: R250

LAPS Cancellation because of no payment of annual fees