JP2010053622A - 鉄筋の結束装置 - Google Patents

鉄筋の結束装置 Download PDF

Info

Publication number
JP2010053622A
JP2010053622A JP2008221070A JP2008221070A JP2010053622A JP 2010053622 A JP2010053622 A JP 2010053622A JP 2008221070 A JP2008221070 A JP 2008221070A JP 2008221070 A JP2008221070 A JP 2008221070A JP 2010053622 A JP2010053622 A JP 2010053622A
Authority
JP
Japan
Prior art keywords
binding
wire
binding wire
holding member
attached
Prior art date
Legal status (The legal status is an assumption and is not a legal conclusion. Google has not performed a legal analysis and makes no representation as to the accuracy of the status listed.)
Granted
Application number
JP2008221070A
Other languages
English (en)
Other versions
JP5144435B2 (ja
Inventor
Akira Hayashi
明 林
Current Assignee (The listed assignees may be inaccurate. Google has not performed a legal analysis and makes no representation or warranty as to the accuracy of the list.)
SAPURON KENZAI KOGYO KK
Original Assignee
SAPURON KENZAI KOGYO KK
Priority date (The priority date is an assumption and is not a legal conclusion. Google has not performed a legal analysis and makes no representation as to the accuracy of the date listed.)
Filing date
Publication date
Application filed by SAPURON KENZAI KOGYO KK filed Critical SAPURON KENZAI KOGYO KK
Priority to JP2008221070A priority Critical patent/JP5144435B2/ja
Publication of JP2010053622A publication Critical patent/JP2010053622A/ja
Application granted granted Critical
Publication of JP5144435B2 publication Critical patent/JP5144435B2/ja
Expired - Fee Related legal-status Critical Current
Anticipated expiration legal-status Critical

Links

Images

Landscapes

  • Basic Packing Technique (AREA)

Abstract

【課題】基礎用または擁壁用の太い鉄筋を結束する番線または太い結束線を効率よく結束できるよう結束装置を提供する。
【解決手段】鉄筋の結束装置は、ハンドル2と垂下部3とを略T字状に形成した本体部4と、本体部の下端側に取り付けられ、鉄筋の交差部に装着させた結束線の脚部を挟持する挟持部材5とからなり、挟持部材は、固定挟持部材5aと可動挟持部材5bとから構成され、固定挟持部材は垂下部の下端部に取り付けられ、可動挟持部材は、垂下部に軸受されたアーム部材7の下端部に取り付けられ操作部材10により固定挟持部材に対して開閉自在に配設された簡単な構成であるため、軽量で携帯が便利であり、鉄筋の太さと結束線の太さおよび長さが変わっても、脚部を挟持して捩り合わせるだけであるから、効率よく簡単に対応できる。
【選択図】図1

Description

本発明は、鉄筋コンクリート構造物で、特に、大径のアロンパイルや基礎用または擁壁用の内部に配筋される太い鉄筋を太い番線または結束線で結束するものであって、工場または工事現場において、例えば、平面状態に所要間隔をもって並列配設した複数本の主筋に対し、直行する方向に補助筋(帯筋)を配設して主筋と補助筋の交点部分を太い特殊な結束線で手動により強固に結束装置に関するものである。
一般にこの種の編成された鉄筋または鉄筋篭を製造する場合に、主筋と補助筋の交点部分をスポット溶接手段により溶接させるか、または、熟練の作業者が番線または結束線を鉄筋の交差部に巻き付け、鈎状の結束用ハッカー治具を用いて番線または結束線の端部を引っ掛けてねじることにより結束していた。
しかしながら、前者のスポット溶接手段による鉄筋の溶接は、加熱によって溶接部分が弱くなっており、強い外力が加わった時に溶接部分が簡単に剥がれてしまうという問題点を有している。
また、一般的に手作業による結束で使用される鉄筋の径は略10〜20mm程度であって、建造物の支柱や床スラブ、壁部などのコンクリート内部に配設されるものであり、これを結束するために使用される番線または結束線の直径は精々0.6mm程度のものであるが、例えば、基礎用や擁壁用または橋脚に使用される大径のアロンパイルのような強度が必要な構造物においては略25〜35mm程度の鉄筋が使用され、これを結束する番線または結束線の径は概ね2.0〜3mm程度の太さが必要なのであるが、このように太くなると結束用ハッカー治具では捩って巻締ることができないのが実情である。
ところで、一般的な鉄筋(20mm以下)の鉄筋結束装置として複数の構成のものが公知になっている。第1の公知例としては、自走可能な一対の走行装置、該走行装置に連結された支持ビーム及び支持ビームに保持された複数の結束機を有し、該支持ビームは該一対の走行装置の互いの相対的位置をずらすことによって進行方向に対し斜めに配置可能であり、且つ該結束機は上下動により縦筋と横筋とを結束しうるものであり、該結束機はカートリッジ式の結束線を装着しており、押圧することによって結束作業を行う方式のものである(特許文献1)。
そして、施工両外側を移動する走行装置と走行装置間にわたされた支持ビームからなる装置を、あらかじめ配置された鉄筋を跨ぐ様にして配置させ、支持ビームに取り付けた結束機で横方向鉄筋1列毎に結束を行うというものである。
また、第2の公知例に係る自動鉄筋結束機は、本体架台と操作ハンドルを主軸として、両先端をフック状に形成した逆U字型結束線を内設した結束線セットボックスを設け、前記逆U字型結束線を打撃するための打撃装置とタッカー兼用結束線ガイドレールと、回転結束ハッカーとを設けた構成である(特許文献2)。
そして、ユニット化した逆U字型結束線をセットし、その頭部を、タッカーが瞬間的に打ち込むことにより、ガイドレールに沿って鉄筋の下部を回って溝から上方に飛び出た結束線の両端下部フックを、回転結束ハッカーが連動して引っ掛け、回転して捻ることで鉄筋を拘束するので、作業が迅速で品質が均一され、能率向上に繋がり大きく改善できるというものである。
更に、第3の公知例に係る鉄筋結束機としては、往復運動する送り込みアームと引き込みアームとからなる一対のアームで、その先端部がアーム先端部の軌跡の様に、其々弧を描くように下方向へ鉄筋を抱え込み、上方向への復帰移動時、送り込みアームの先端部から引き込みアームによって結束線を引き出し、更に鉄筋の外周に結束線を廻し付ける構成である(特許文献3)。
そして、一対のアームの動きで結束線の送り出し作業と引き込み作業を、また、結束部に切断部を設けることにより切断作業と結束作業を其々一連の作業の中で行う事ができ、従来より簡単な構造で、軽量、小型の為、手動で行うことができるというものである。
特開2002−121895号公報 特開2002−205705号公報 特開2003−82857号公報
しかしながら、前記特許文献1に記載の鉄筋結束装置においては、結束機の具体的な構成が示されていないし説明もされていないのである。特に、結束機については、カートリッジ式の結束線を装着し、押圧することによって鉄筋に結束線を巻き込み、持ち上げるときに捻り上げる方式のものが好ましいとし、この場合の捻り上げは、押圧力によってカートリッジ式の特殊結束線が飛び出し、交差した鉄筋の下で結束線端部同士が結合し、持ち上げるとフックが結束線の上部を引っかけた状態で自動的に5〜6回転して行われると説明しているが、その結束線の構成とカートリッジ式結束線の構成とが全く不明である。
また、前記特許文献2に記載の自動鉄筋結束機においては、ユニット化した逆U字型結束線について、その線の太さが不明確であり、タッカー兼用結束線ガイドレールに瞬間的に打ち込んだ時に、ガイドレールに沿って鉄筋の下部を回る程度に曲がって溝から上方に飛び出る程度の太さ(0.6mm程度)と剛性の弱い結束線であることが要件であり、3mm程度またはそれを越えるような太さと強い剛性とを有する結束線であると実質的に使用できないという問題点を有している。
さらに、前記特許文献3に記載の鉄筋結束機も、送り込みアームの先端から結束線の先端を下方に曲げて突出させ、円弧を描くように下方に移動して鉄筋を抱え込み、引き込みアームの先端で結束線の折れ曲がった先端を引っ掛けて上方向へ移動することによって送り込みアームから結束線を引き出して、鉄筋の外周に結束線を廻し付けるというものであるが、両アームが上方向へ移動することで引き出される程度の太さ(1mm以下)と剛性の弱い結束線であることが要件であり、2.0〜3mmを越えるような太さと強い剛性とを有する結束線であると実質的に使用できないという問題点を有している。
従って、前記公知技術に係る鉄筋結束装置または鉄筋拘束機においては、いずれも従来から一般的に使用されている程度の太さと剛性を有する結束線(番線)が使用されることを前提とした構造を有するものであって、更に太さと強度を増大させた鉄筋の結束には、数倍の太さと強い剛性とを有する結束線が使用されることになるが、そのような結束線は従来の結束用ハッカー治具では撚り合わせて結着することができず、特殊な結束線を用意するか又は腕力で撚り合わせるしかなく、非能率的な結束しかできなかったのを、特殊の形状の結束線を用いて、主筋と補助筋との交点部分に結束線を装着し手動で駆動する装置を使用することによって強固に且つ効率よく結束して編成できるようにすることに解決課題を有している。
本発明は、ハンドルと垂下部とを略T字状に形成した本体部と、該本体部の下端側に取り付けられ、鉄筋の交差部に装着させた結束線の脚部を挟持する挟持部材とからなり、該挟持部材は、固定挟持部材と可動挟持部材とから構成され、前記固定挟持部材は垂下部の下端部に取り付けられ、前記可動挟持部材は、垂下部に軸受されたアーム部材の下端部に取り付けられ操作部材により前記固定挟持部材に対して開閉自在に配設されていることを特徴とする鉄筋の結束装置を提供するものである。
前記結束装置に係る発明においては、前記垂下部は一対の板状材で、且つ所定の隙間をもって配設され、該隙間内に前記アーム部材が回動自在に軸受されて配設してあること;および前記アーム部材の上端部側に操作部材が配設されていること;を付加的な要件として含むものである。
本発明に係る鉄筋の結束装置においては、ハンドルと垂下部とを略T字状に形成した本体部と、該本体部の下端側に取り付けられ、鉄筋の交差部に装着させた結束線の脚部を挟持する挟持部材とからなり、該挟持部材は、固定挟持部材と可動挟持部材とから構成され、前記固定挟持部材は垂下部の下端部に取り付けられ、前記可動挟持部材は、垂下部に軸受されたアーム部材の下端部に取り付けられ操作部材により前記固定挟持部材に対して開閉自在に配設された簡単な構成であるため、軽量で携帯が便利であり、特に、鉄筋の太さが20〜30mmを越え、それに対応して結束線の径も2.0〜3.0mmを越えるものが使用されても、結束線の一対の脚部を挟持部材で挟持してハンドルを回せば、脚部を簡単に捩り合わせて締め付けることができ、鉄筋の太さと結束線の太さおよび長さが変わっても、脚部を挟持して捩り合わせるだけであるから、効率よく簡単に対応できるという優れた効果を奏する。
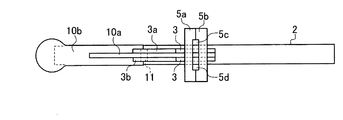
次に本発明を図示の具体的な実施の形態に基づいて詳しく説明する。まず、図1〜5に示した第1の実施の形態に係る結束装置について説明する。本発明の結束装置1は、結束線巻締用のパイプ状を呈するハンドル2と板状を呈する一対の垂下部3とを略T字状に連結して本体部4を形成し、該本体部4の下部側に結束線を挟持する一対の挟持部材5が設けられている。
板状を呈する一対の垂下部3は、両者間に所要の隙間6をもって2枚重ね状に配設するものであり、全体形状として略鈎型または逆L字型に形成され、上部の水平部3aがハンドル2と例えば溶着手段により連結され、その水平部3aの端部に軸受部3bが形成されている。そして、垂下部3の下端部側は、一方の側面側を細身部3cに形成すると共に、該細身部3cの基部側と他方の側面との間は円弧状3dに形成してある。
前記一対の挟持部材5において、一方は固定挟持部材5aであり、本体部4における下端部側、即ち細身部3cに固定されており、他方は可動挟持部材5bであり、該可動挟持部材5bは前記固定挟持部材5aに対して開閉可動できるようにアーム部材7の下端部に固定されている。
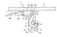
アーム部材7は、垂下部3の隙間6内に配設されるものであって、板状部材で全体が略山形に形成され、一方の裾部、即ち下端部7aに可動挟持部材5bが取り付けられ、他方の裾部、即ち上端部7bはハンドル2側に近い位置まで延びており、略中間位置に軸受部7cが形成されると共に、該軸受部7cと上端部7bとの中間付近で上端部7b側に抉り部7dを形成し、その抉り部7dの形成によって境目の山7eが形成される。そして、前記軸受部7cに軸部8が嵌合し、該軸部8を中心にしてアーム部材7がシーソ運動可能に配設されていると共に、下端部7a側に設けたバネ部材9により下端部7aが常に開く方向に付勢されている。
アーム部材7のシーソ運動を制御して可動挟持部材5bの開閉を操作する操作部材10が設けられている。この操作部材10は板状部材で形成された作用部10aと操作部10bとから構成され、作用部10aの後端部側に直交するように操作部10bを連結した構成である。そして、作用部10aの一部が垂下部3の間隙6内に装着され、軸受部3bの位置で軸11により回動できるように軸受され、作用部10aの先端部10cがアーム部材7の他方の裾部である上端部7b側の抉り部7cと当接するように配設し、その先端部10cには側面側からの切り込み10dを設けて弾性を付与し、それによって、アーム部材7と当接して位置決め保持を安定させると共に、寸法誤差を吸収させることができる。なお、操作部10bの自由端側は操作し易いように円形状に形成してある。
また、垂下部3の両側面には挟持部材5で挟持する結束線の端部が当接して位置決めされるストッパー部材12が突出形成されている。このストッパー部材12は必ずしも必要としないが、挟持する結束線の位置が一定になるので、作業上設けた方が好ましい。
挟持部材5の構成については、一対の内の一方のみを図5に示して説明するが他方の構成も全く同じである。挟持部材5における挟持面側に結束線の脚部を挟持するための一対の溝部5c、5dが設けられており、該溝部5c、5dの一方の端部(下側となる端部)は相互に近接する方向に拡げて形成してある。このように溝部5c、5dの下側となる端部を拡げて形成することにより、結束線の捩りがスムーズに行えるのである。
このように構成した結束装置1において、通常は操作部材10の操作部10bを下げた状態にあるので、作用部10aの先端部10cがアーム部材7の上端部7bの抉り部7dに当接しているので、バネ部材9によりアーム部材7の下端部7aが開き、可動挟持部材5bが固定挟持部材5aから開いた状態にある(図4の状態)。
使用時においては、図4の状態から操作部材10の操作部10bをハンドル2と一緒に握って上方に引き上げると、作用部10aの先端部10cがアーム部材7の抉り部7dから境目の山7eを越えて下部側に移動することで、アーム部材7が軸部8を中心にシーソ運動または回転して下端部7aが閉じ、可動挟持部材5bが固定挟持部材5aに対して閉じて当接する状態になる(図1の状態)。
この状態が結束線の脚部を挟持部材5で挟持して捩ることができる状態であり、操作部10bから握っている手を放しても作用部10aの先端部10cがアーム部材7に弾性的に当接しているので境目の山7eを越えて上端部側に移動することがなく、従って、可動挟持部材5bと固定挟持部材5aとが閉じた状態、即ち挟持部材5による結束線の脚部を挟持した状態を維持しており、ハンドル2を右又は左方向に複数回回転させることにより、結束線を捩って固定させることができるのである。なお、操作部10bを下方に押し下げれば、前記図4に示した状態になって、結束線の挟持を開放し、結束線から簡単に離脱させることができるのである。
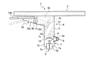
図6に第2の実施の形態を示してある。この実施の形態において、前記第1の実施の形態と共通する用語部分については同一符号を付して説明する。結束装置1は、結束線巻締用のハンドル2と垂下部3とを略T字状に連結して本体部4を形成し、該本体部4の下部側に結束線を挟持する挟持部材5が設けられている。
この実施の形態においては、ハンドル2と垂下部3とは、好ましくは角材を使用するものであり、垂下部3の頂部をハンドル2の略中央部に溶接などの手段で連結させ、その下端部に一方の固定挟持部材5aを取り付けてある。他方の可動挟持部材5bは、前記固定挟持部材5aに対して開閉可動できるようにアーム部材7の下端部7aに取り付けられている。
この場合のアーム部材7は、垂下部3に対して先端部側がクロスする状態で軸部8を介して回転または回動可能(シーソ運動可能)に取り付けられている。この軸部8による取り付け状態は、例えば、ペンチ治具と同様に、垂下部3とアーム部材7との芯がずれないように、軸部8の部分は、双方が肉厚の略半分づつをそれぞれ除去して摺り合わせしてある。
また、アーム部材7は、垂下部3との間でバネ部材9により常に開く方向に付勢されており、それによって先端部7aに取り付けられた可動挟持部材5bが固定挟持部材5aから開く方向に付勢されている。さらに、アーム部材7の上端部7b側は、ハンドル2と略平行になるように折り曲げて、要するに操作部材10として形成させたものである。
本発明の結束装置1で使用される結束線20について、二つの例を図7(A)(B)に示してある。これらの結束線20は、直径が2.0〜3.5mm程度の焼き鈍し線材を使用するか、または厚みが2.0〜3.5mm程度の焼き鈍し板材を2.0〜3.5mmの間隔で切断した角棒状の線材が使用され、全体の輪郭がボトル形状に加工したもの、または馬蹄形状に形成されたものが使用され、その一対の脚部20aを挟持部材5で挟持し捩って結束するのである。焼き鈍し線材または焼き鈍し板は、その表面全体に黒皮(防錆の役割を果たす酸化皮膜)が存在しているものをそのまま使用するのであり、その焼き鈍し線材または角棒状の線材を、例えば、型成形加工等により形成するのである。
前記した第1の実施の形態に係る結束装置1と一例の結束線20とを使用して結束する方法を図8を用いて説明する。まず、所要間隔に配設した径が30mmの主筋21の上部に所要間隔で径が15mmの補助筋22を載置した状態において、主筋21と補助筋22との交差部に主筋21側(下側)から径が3mmの結束線20を装着し、結束線20のループ部が主筋21と補助筋22の交差部を抱えた状態にし、開いた状態にある一対の脚部20aを両側から摘んで略平行状態になるように縮径し、その状態で一対の脚部20aを結束装置1の挟持部材5で挟み付ける。
この場合に、結束装置1において、操作部材10の操作部10bを下げた状態にあるので、挟持部材5の可動挟持部材5bが固定挟持部材5aから開いた状態にあり、その固定挟持部材5aの溝部5c、5dに、目視により結束線20の脚部20aを位置させると共に、脚部20aの端部をストッパー部材12に当接させ、操作部10bをハンドル2と一緒に握ることにより引き上げると、可動挟持部材5bが固定挟持部材5a側に閉まって、結束線20の脚部20aを所要の押圧力をもってしっかりと挟持する。
続いて、ハンドル2を右方向または左方向に複数回回転させることにより、挟持された結束線20の一対の脚部2aが相互に絡み合って捩れて複数個の捩れ部が形成され、それによって主筋21と補助筋22の交差部を締め付けるようになり、締め付け後に操作部10bを叩くようにして下げることにより、可動挟持部材5bが開いて締め付け済の結束線20を開放し結束装置1を離脱させることができるのである。なお、結束装置1を離脱させる前に、該装置1を横方向に90度近く倒すようにすることで、捩れ部と脚部20aとが略90度横方向を向いた状態になるので、作業上の危険性が無くなる。
また、第2の実施の形態に係る結束装置1も、上記実施の形態と同様に、通常は操作部材10を自由な状態にしておけば、バネ部材9によりアーム部材7が垂下部3に対して一定の範囲(間隔)に押し広げられており、挟持部材5の可動挟持部材5bが固定挟持部材5aから開いた状態にある。
この状態で、主筋21と補助筋22との交差部に主筋21側(下側)から装着した結束線20の脚部20aを固定挟持部材5aの溝部5c、5dに、目視により結束線20の脚部20aを位置させると共に、脚部20aの端部をストッパー部材12に当接させ、操作部材10をハンドル2と一緒に握って持ち上げることにより、可動挟持部材5bが固定挟持部材5a側に閉まって、結束線20の脚部20aをしっかりと挟持する。
この状態を維持して、ハンドル2を右方向または左方向に複数回回転させれば、挟持された結束線20の一対の脚部2aが相互に絡み合って捩れて複数個の捩れ部が形成され、それによって主筋21と補助筋22の交差部を締め付けるようになるのである。なお、操作部材10はハンドル2と一緒に握っており、その握った状態を他方の手で持ち替えて回転させればよいのである。そして、締め付け後に握っている操作部材10を放せば、可動挟持部材5bが開くので、締め付け済の結束線20を開放し結束装置1を離脱させることができる。また、結束装置1を離脱させる前に、該装置1を横方向に90度近く倒すようにすることで、捩れ部と脚部20aとが略90度横方向を向いた状態になるので、作業上の危険性が無くなる点でも前記実施の形態と同じである。
このようにいずれの実施の形態においても、複数の捩れ部分を形成することによって、結束線20が引き締められ主筋21と補助筋22との交差部を強く引き締めて結束するようになるのである。捩れ部分の形成は、2回捩り部でも強度的には問題はないが好ましくは3回以上の捩り部を形成した方が安全性の面からしてより良好である。
いずれにしても本発明に係る結束装置においては、ハンドルに取り付けた垂下部の下端部側に、操作部材で開閉できる挟持部材を取り付けた構成であるため、軽量で携帯が便利であり、特に、鉄筋の太さが20〜30mmを越え、それに対応して結束線の径も2.0〜3.0mmを越えるものが使用されても、結束線の一対の脚部を開閉操作ができる挟持部材で挟持してハンドルを回せば、脚部を簡単に捩り合わせることができるのであり、太い鉄筋に対して太い結束線を使用して適正な結束が速やかに形成でき、鉄筋編組体の結束作業において広く利用できるのである。
本発明の第1の実施の形態に係る結束装置を示した正面図である。 同結束装置を示した側面図である。 同結束装置を示した底面図である。 同結束装置の一対の垂下部の内の一方の垂下部を除去して内部構造を示した正面図である。 本発明の結束装置に使用される挟持部材の構造を示す斜視図である。 本発明の第2の実施の形態に係る結束装置を示した正面図である。 本発明の結束装置に使用される結束線の2例を示す側面図である。 本発明の第1の実施の形態に係る結束装置の使用状態を略示的に示した斜視図である。
符号の説明
1 結束装置
2 ハンドル
3 一対の垂下部
3a 水平部
3b 軸受部
3c 細身部
3d 円弧状
4 本体部
5 挟持部材
5a 固定挟持部材
5b 可動挟持部材
6 隙間
7 アーム部材
7a 下端部
7b 上端部
7c 軸受部
7d 抉り部
7e 境目の山
8、11 軸部
9 バネ部材
10 操作部材
10a 作用部
10b 操作部
10c 先端部
10d 切り込み
12 ストッパー部材
20 結束線
20a 脚部
21 主筋
22 補助筋

Claims (3)

  1. ハンドルと垂下部とを略T字状に形成した本体部と、
    該本体部の下端側に取り付けられ、鉄筋の交差部に装着させた結束線の脚部を挟持する挟持部材とからなり、
    該挟持部材は、固定挟持部材と可動挟持部材とから構成され、
    前記固定挟持部材は垂下部の下端部に取り付けられ、
    前記可動挟持部材は、垂下部に軸受されたアーム部材の下端部に取り付けられ操作部材により前記固定挟持部材に対して開閉自在に配設されていること
    を特徴とする鉄筋の結束装置。
  2. 前記垂下部は一対の板状材で、且つ所定の隙間をもって配設され、
    該隙間内に前記アーム部材が回動自在に軸受されて配設してあること
    を特徴とする請求項1に記載の鉄筋の結束装置。
  3. 前記アーム部材の上端部側に操作部材が配設されていること
    を特徴とする請求項1乃至2に記載の結束装置。
JP2008221070A 2008-08-29 2008-08-29 鉄筋の結束装置 Expired - Fee Related JP5144435B2 (ja)

Priority Applications (1)

Application Number Priority Date Filing Date Title
JP2008221070A JP5144435B2 (ja) 2008-08-29 2008-08-29 鉄筋の結束装置

Applications Claiming Priority (1)

Application Number Priority Date Filing Date Title
JP2008221070A JP5144435B2 (ja) 2008-08-29 2008-08-29 鉄筋の結束装置

Publications (2)

Publication Number Publication Date
JP2010053622A true JP2010053622A (ja) 2010-03-11
JP5144435B2 JP5144435B2 (ja) 2013-02-13

Family

ID=42069817

Family Applications (1)

Application Number Title Priority Date Filing Date
JP2008221070A Expired - Fee Related JP5144435B2 (ja) 2008-08-29 2008-08-29 鉄筋の結束装置

Country Status (1)

Country Link
JP (1) JP5144435B2 (ja)

Cited By (2)

* Cited by examiner, † Cited by third party
Publication number Priority date Publication date Assignee Title
JP2018076675A (ja) * 2016-11-08 2018-05-17 サプロン建材工業株式会社 大型鉄筋篭を結束する結束線の結束装置
KR200488544Y1 (ko) * 2018-06-21 2019-02-20 경규철 건설용 철사 결속기구

Cited By (3)

* Cited by examiner, † Cited by third party
Publication number Priority date Publication date Assignee Title
JP2018076675A (ja) * 2016-11-08 2018-05-17 サプロン建材工業株式会社 大型鉄筋篭を結束する結束線の結束装置
JP7007545B2 (ja) 2016-11-08 2022-01-24 サプロン建材工業株式会社 大型鉄筋篭を結束する結束線の結束装置
KR200488544Y1 (ko) * 2018-06-21 2019-02-20 경규철 건설용 철사 결속기구

Also Published As

Publication number Publication date
JP5144435B2 (ja) 2013-02-13

Similar Documents

Publication Publication Date Title
JP3393684B2 (ja) 物品の結束方法及び結束装置
JP5674762B2 (ja) 強化バーの結束用機械
WO1994013902A1 (en) Tie device, and an appartus and method for tying said tie device
JP2018069329A (ja) コンクリート補強用鉄筋の溶接装置
CN108560924A (zh) 一种单丝钢筋绑扎机
JP5144435B2 (ja) 鉄筋の結束装置
JPH076294B2 (ja) 鉄筋交差部分の自動結束方法
JP2010112107A (ja) 鉄筋結束機
JP5189468B2 (ja) 鉄筋の結束装置
JP4961265B2 (ja) 鉄筋の自動結束方法及び装置
KR100793465B1 (ko) 철근결속장치
JP2949703B2 (ja) 鉄筋結束機における安全装置
JP2826829B2 (ja) 引出し装置
JP2018076675A (ja) 大型鉄筋篭を結束する結束線の結束装置
JP2980278B2 (ja) 鉄筋結束装置
JP2002102960A (ja) 鉄筋取り出し方法と鉄筋取り出し装置
KR20000059029A (ko) 철근 결속장치
CN218172690U (zh) 一种铁丝挤压捆扎结构
CN103046752B (zh) 钢筋绑扎装置
JP2977178B2 (ja) 鉄筋結束装置
JP2977180B2 (ja) 鉄筋結束装置
JP2977179B2 (ja) 鉄筋結束装置
JP2006248526A (ja) ビニタイ結束機
JP3024034U (ja) 鉄筋結束工具
JPH0434175A (ja) 結束装置

Legal Events

Date Code Title Description
A621 Written request for application examination

Free format text: JAPANESE INTERMEDIATE CODE: A621

Effective date: 20110607

A977 Report on retrieval

Free format text: JAPANESE INTERMEDIATE CODE: A971007

Effective date: 20121022

TRDD Decision of grant or rejection written
A01 Written decision to grant a patent or to grant a registration (utility model)

Free format text: JAPANESE INTERMEDIATE CODE: A01

Effective date: 20121030

A01 Written decision to grant a patent or to grant a registration (utility model)

Free format text: JAPANESE INTERMEDIATE CODE: A01

A61 First payment of annual fees (during grant procedure)

Free format text: JAPANESE INTERMEDIATE CODE: A61

Effective date: 20121122

FPAY Renewal fee payment (event date is renewal date of database)

Free format text: PAYMENT UNTIL: 20151130

Year of fee payment: 3

R150 Certificate of patent or registration of utility model

Ref document number: 5144435

Country of ref document: JP

Free format text: JAPANESE INTERMEDIATE CODE: R150

Free format text: JAPANESE INTERMEDIATE CODE: R150

R250 Receipt of annual fees

Free format text: JAPANESE INTERMEDIATE CODE: R250

R250 Receipt of annual fees

Free format text: JAPANESE INTERMEDIATE CODE: R250

R250 Receipt of annual fees

Free format text: JAPANESE INTERMEDIATE CODE: R250

R250 Receipt of annual fees

Free format text: JAPANESE INTERMEDIATE CODE: R250

R250 Receipt of annual fees

Free format text: JAPANESE INTERMEDIATE CODE: R250

R250 Receipt of annual fees

Free format text: JAPANESE INTERMEDIATE CODE: R250

LAPS Cancellation because of no payment of annual fees