JP2010053515A - ラッチ装置 - Google Patents

ラッチ装置 Download PDF

Info

Publication number
JP2010053515A
JP2010053515A JP2008216439A JP2008216439A JP2010053515A JP 2010053515 A JP2010053515 A JP 2010053515A JP 2008216439 A JP2008216439 A JP 2008216439A JP 2008216439 A JP2008216439 A JP 2008216439A JP 2010053515 A JP2010053515 A JP 2010053515A
Authority
JP
Japan
Prior art keywords
catcher
slider
pinion
rotating body
wraparound
Prior art date
Legal status (The legal status is an assumption and is not a legal conclusion. Google has not performed a legal analysis and makes no representation as to the accuracy of the status listed.)
Granted
Application number
JP2008216439A
Other languages
English (en)
Other versions
JP5307479B2 (ja
JP2010053515A5 (ja
Inventor
Yasusuke Ishii
庸介 石井
Current Assignee (The listed assignees may be inaccurate. Google has not performed a legal analysis and makes no representation or warranty as to the accuracy of the list.)
Nifco Inc
Original Assignee
Nifco Inc
Priority date (The priority date is an assumption and is not a legal conclusion. Google has not performed a legal analysis and makes no representation as to the accuracy of the date listed.)
Filing date
Publication date
Application filed by Nifco Inc filed Critical Nifco Inc
Priority to JP2008216439A priority Critical patent/JP5307479B2/ja
Priority to KR1020090073330A priority patent/KR101081259B1/ko
Publication of JP2010053515A publication Critical patent/JP2010053515A/ja
Publication of JP2010053515A5 publication Critical patent/JP2010053515A5/ja
Application granted granted Critical
Publication of JP5307479B2 publication Critical patent/JP5307479B2/ja
Expired - Fee Related legal-status Critical Current
Anticipated expiration legal-status Critical

Links

Images

Classifications

    • EFIXED CONSTRUCTIONS
    • E05LOCKS; KEYS; WINDOW OR DOOR FITTINGS; SAFES
    • E05FDEVICES FOR MOVING WINGS INTO OPEN OR CLOSED POSITION; CHECKS FOR WINGS; WING FITTINGS NOT OTHERWISE PROVIDED FOR, CONCERNED WITH THE FUNCTIONING OF THE WING
    • E05F5/00Braking devices, e.g. checks; Stops; Buffers
    • E05F5/02Braking devices, e.g. checks; Stops; Buffers specially for preventing the slamming of swinging wings during final closing movement, e.g. jamb stops
    • EFIXED CONSTRUCTIONS
    • E05LOCKS; KEYS; WINDOW OR DOOR FITTINGS; SAFES
    • E05FDEVICES FOR MOVING WINGS INTO OPEN OR CLOSED POSITION; CHECKS FOR WINGS; WING FITTINGS NOT OTHERWISE PROVIDED FOR, CONCERNED WITH THE FUNCTIONING OF THE WING
    • E05F1/00Closers or openers for wings, not otherwise provided for in this subclass
    • E05F1/08Closers or openers for wings, not otherwise provided for in this subclass spring-actuated, e.g. for horizontally sliding wings
    • E05F1/10Closers or openers for wings, not otherwise provided for in this subclass spring-actuated, e.g. for horizontally sliding wings for swinging wings, e.g. counterbalance
    • EFIXED CONSTRUCTIONS
    • E05LOCKS; KEYS; WINDOW OR DOOR FITTINGS; SAFES
    • E05FDEVICES FOR MOVING WINGS INTO OPEN OR CLOSED POSITION; CHECKS FOR WINGS; WING FITTINGS NOT OTHERWISE PROVIDED FOR, CONCERNED WITH THE FUNCTIONING OF THE WING
    • E05F3/00Closers or openers with braking devices, e.g. checks; Construction of pneumatic or liquid braking devices

Landscapes

  • Closing And Opening Devices For Wings, And Checks For Wings (AREA)

Abstract

【課題】ラッチ機構において、そのキャッチャーの回動に対し必要な範囲で制動力を作用させるようにする。
【解決手段】回動体Dを展開位置から基準位置に向けて回動操作したときに手前側から移動されてくるストライカ体1を待機位置で捕捉して回り込み位置まで往動回動されるキャッチャー2によって回動体Dを基準位置に位置づけるようにしたラッチ機構Rである。制動手段4は回転に制動力の作用を受けるピニオン40を備えている。連係手段5は、第一スライダ50と、この第一スライダ50に対し所定の範囲でスライド移動可能に組み合わされた第二スライダ51とを備えている。連係手段5とキャッチャー2及びピニオン40とが、キャッチャー2の回動により第一スライダ50を移動させ且つ第二スライダ51の移動によりピニオン0を回転させるように、組み合わされている。
【選択図】図2

Description

この発明は、基準位置からの展開可能に本体に組み合わされた回動体が、展開位置からこの基準位置に向けて所定の位置まで回動操作されたときに作動して、この回動体を基準位置に引き込むように機能するラッチ装置の改良に関する。
扉の引き込み機構として、扉枠に備えられると共に、扉に備えられたストライカ体を扉が閉じきられる直前において捕捉するキャッチャーを備えてなるものがある。(特許文献1参照)かかるキャッチャーはストライカ体の引っかけ溝を有すると共に、この引っかけ溝の導入口を手前側に向けた待機位置においてこの導入口から引っかけ溝内にストライカ体を受け入れてこれを捕捉するようになっている。かかるキャッチャーはまた、待機位置と回り込み位置との間に亘る回動可能に備えられていると共に、両位置の中間位置より待機位置側にあるときはこの待機位置に向けた付勢を蒙り、この中間位置より回り込み位置側にあるときはこの回り込み位置に向けた付勢を蒙るようになっている。これによって、扉の閉じ込み操作によってストライカ体を捕捉した状態から中間位置を超える位置までキャッチャーが回動されると、そこから先ではキャッチャーは回り込み位置まで強制的に回動されることから、扉は閉じ位置まで引き込まれこの閉じ位置に位置づけられる。
ここで、特許文献1のものにあっては、キャッチャーの回り込み位置に向けた回動によってスライダーを介してピストンダンパーのピストンロッドがシリンダーの内奥側に向けて押し込まれるようになっており、このキャッチャーの回動に制動力を作用させることにより閉じきられる直前の扉の動きをゆっくりとしたものとしている。しかるに、この特許文献1のものにあっては、回り込み位置に向けたキャッチャーの回動の全過程に対してピストンダンパーの制動力を作用させてしまうため、前記中間位置を超えるまでの間においてキャッチャーの回動に対する抵抗が大きく、扉を閉めるスピードが遅いとキャッチャーにストライカ体は捕捉されてもキャッチャーが中間位置を超えて回り込み位置までは回動しない事態が生じて扉の引き込みがなされないケースが想定される。
国際公開第2007/55204号パンフレット
この発明が解決しようとする主たる問題点は、この種のラッチ機構(特許文献1の引き込み機構)において、そのキャッチャーの回動に対し必要な範囲で制動力を作用させるようにする点にある。
前記課題を達成するために、この発明にあっては、第一の観点から、ラッチ装置を、以下の(1)〜(5)の構成を備えたものとした。
(1)回動体及びこの回動体が回動可能に組み合わされる本体のいずれか一方の側に備えられるストライカ体と、これらの他方の側に備えられると共に回動体を展開位置から基準位置に向けて回動操作したときに手前側から移動又は相対的に移動されてくるストライカ体を捕捉するキャッチャーとを備え、待機位置でストライカ体を捕捉して回り込み位置まで往動回動されるキャッチャーによって回動体を基準位置に位置づけるようにしたラッチ機構であって、
(2)制動手段と連係手段とを備えており、
(3)制動手段は、回転に制動力の作用を受けるピニオンを備えており、
(4)連係手段は、第一スライダと、この第一スライダに対し所定の範囲でスライド移動可能に組み合わされた第二スライダとを備えており、
(5)この連係手段とキャッチャー及びピニオンとが、キャッチャーの回動により第一スライダを移動させ且つ第二スライダの移動によりピニオンを回転させるように、又は、キャッチャーの回動により第二スライダを移動させ且つ第一スライダの移動によりピニオンを回転させるように、組み合わされている。
好ましくは、かかる第二スライダは、第一スライダに、この第二スライダの一端の当接部と他端の当接部との間に第一スライダの移動方向に沿ったレール部を形成させ、このレール部によってこの第一スライダに対し所定の範囲でスライド移動可能に組み合わさせる。
展開位置にある回動体を基準位置に回動操作することに伴って前方から移動されてくるストライカ体を待機位置にあるキャッチャーが捕捉すると、キャッチャーは回り込み位置に向けて往動回動され連係手段を介して制動手段の制動力がキャッチャーに作用されて回動体の回動速度を低下させる。また、基準位置にある回動体を展開位置に回動操作すると、ストライカ体を捕捉しているキャッチャーは待機位置に向けて復動回動されこのときも連係手段を介して制動手段の制動力がキャッチャーに作用される。ここで連係手段を構成する第二スライダは所定の範囲でのみスライド移動可能に第一スライダに組み合わされていることから、キャッチャーの往動回動及び復動回動の全過程において第二スライダがスライド移動しないようにすることができ、これによって制動手段のピニオンもかかる全過程において回転しないようにして、かかる全過程のうち制動手段の制動力を作用させるべきときに限ってこの制動力をキャッチャーを通じて回動体に作用させるようにすることができる。
ラッチ機構がさらに、前記キャッチャーが待機位置と回り込み位置との間の中間位置より待機位置側にあるときはキャッチャーをこの待機位置に向けて付勢し、かつ、キャッチャーがこの中間位置より回り込み位置側にあるときはこのキャッチャーをこの回り込み位置に向けて付勢する付勢手段を備えたものとすると共に、
待機位置にあるキャッチャーが中間位置を超えた後に連係手段の第一スライダと第二スライダとがこのキャッチャーの往動回動により一緒に移動するようにしておくこともある。
このようにした場合、キャッチャーが往動回動されるときはこの往動先側に向けて付勢手段の付勢力がキャッチャーに作用されるようになる前には制動手段の制動力をキャッチャーに作用させないようにすることができ、基準位置に向けた回動体の回動操作を円滑に行うことができる。
また、前記課題を達成するために、この発明にあっては、第二の観点から、ラッチ装置を、以下の(1)〜(4)の構成を備えたものとした。
(1)回動体及びこの回動体が回動可能に組み合わされる本体のいずれか一方の側に備えられるストライカ体と、これらの他方の側に備えられると共に回動体を展開位置から基準位置に向けて回動操作したときに手前側から移動又は相対的に移動されてくるストライカ体を捕捉するキャッチャーとを備え、待機位置でストライカ体を捕捉して回り込み位置まで往動回動されるキャッチャーによって回動体を基準位置に位置づけるようにしたラッチ機構であって、
(2)制動手段と連係手段とを備えており、
(3)制動手段は、回転に制動力の作用を受けるピニオンを備えており、
(4)連係手段は、キャッチャーの回動によりスライド移動するようになっていると共に、この移動の前後に亘ってピニオンの側方に位置される箇所に、このピニオンに噛み合うラック部と、このピニオンへの噛み合いを生じない非ラック部とを備えている。
キャッチャーの往動回動及び復動回動の全過程において連係手段はスライド移動されるが、このようにすることで、かかる全過程のうち制動手段の制動力を作用させるべきときに限って連係手段のスライド移動によりピニオンを回転させて制動手段の制動力をキャッチャーを通じて回動体に作用させるようにすることができる。
この第二の観点にかかるラッチ機構がさらに、キャッチャーが待機位置と回り込み位置との間の中間位置より待機位置側にあるときはキャッチャーをこの待機位置に向けて付勢し、かつ、キャッチャーがこの中間位置より回り込み位置側にあるときはこのキャッチャーをこの回り込み位置に向けて付勢する付勢手段を備えたものとすると共に、
待機位置にあるキャッチャーが中間位置を超えた後に連係手段のラック部がピニオンに噛み合うようにしておくこともある。
このようにした場合、キャッチャーが往動回動されるときはこの往動先側に向けて付勢手段の付勢力がキャッチャーに作用されるようになる前には制動手段の制動力をキャッチャーに作用させないようにすることができ、基準位置に向けた回動体の回動操作を円滑に行うことができる。
この発明によれば、制動手段の構成に格別の配慮を払うことなく、ラッチ機構を構成するキャッチャーの回動の全過程のうちの必要な範囲についてのみ、かかる制動手段の制動力がキャッチャーに作用されるようにすることができる。
以下、図1〜図10に基づいて、この発明を実施するための最良の形態について説明する。
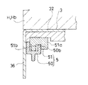
なお、ここで図1は実施の形態にかかるラッチ機構Rを構成するキャッチャー2側を本体Hとしての扉枠Haに備えさせると共に、ストライカ体1を回動体Dとしての扉Daに備えさせた例を、下方から見た状態として示している。図2〜図6は図1の要部をそれぞれ拡大して示しており、図2は待機位置にキャッチャー2がある状態を、図5は回り込み位置にキャッチャー2がある状態を、それぞれ示している。扉Daを閉めると、つまり、回動体Dを基準位置に向けて回動させると、待機位置にあるキャッチャー2にストライカ体1が突き当たり、キャッチャー2はこれを捕捉しながら中間位置から回り込み位置まで往動回動されストライカ体1を介して回動体Dを基準位置に引き込む。(図5)図3はキャッチャーの往動回動時にかかる中間位置にキャッチャー2があるときのラッチ機構Rの連係手段5、付勢手段6および付勢用ピニオン体7の様子を、図4はかかる中間位置と回り込み位置との間にキャッチャーがあるときのこれらの様子を、それぞれ示している。また、図6はキャッチャーの復動回動時にかかる中間位置と回り込み位置との間にキャッチャー2があるときのラッチ機構Rの連係手段5、付勢手段6および付勢用ピニオン体7の様子を示している。また、図7は連係手段5を構成する第一スライダ50と第二スライダ51との組み合わせ箇所の様子を断面にして示している。また、図8は前記ストライカ体1を側方から見て示している。
また、図9および図10は、図1〜図8に示されるラッチ機構Rの構成の一部を変更させた例を示しており、図9は待機位置にキャッチャー2がある状態を、図10は回り込み位置にキャッチャー2がある状態をそれぞれ示している。
この実施の形態にかかるラッチ機構Rは、基準位置からの展開可能に本体Hに組み合わされた回動体Dが、展開位置からこの基準位置に向けて所定の位置まで回動操作されたときに作動して、この回動体Dを基準位置に引き込むように機能するものである。
かかるラッチ機構Rは、住宅の扉や自動車のドア、各種の機器や什器の扉や蓋など、各種の回動体Dの前記引き込みに利用することができる。具体的には、かかるラッチ機構Rは、こうした扉などが展開位置、典型的には開き位置から、基準位置、典型的には閉じ位置に向けて、所定の位置まで回動されたときに作動して、こうした扉などを基準位置に引き込み位置づけさせるように機能する。
かかるラッチ機構Rは、
(1)ストライカ体1と、
(2)キャッチャー2と、
(3)制動手段4と、
(4)連係手段5と、
(5)付勢手段6と、
を備えてなる。
ストライカ体1は、回動体D及びこの回動体Dが回動可能に組み合わされる本体Hのいずれか一方の側に備えられる。
図示の例では、ストライカ体1は、回動体Dとしての扉Daに備えられている。また、かかるストライカ体1は、取り付け用板部11と、この取り付け用板部11の一面から前方に突き出されるアーム12とを備えて構成されたストライカベース10のこのアーム12の突きだし端から上方に向けて突き出す軸状をなすように構成されている。(図8)ストライカベース10はその取り付け用板部11をもって扉Daにおける戸当たりHdに突き当てられる面側の上部に備えられる。扉Daを基準位置、つまり、閉じ位置に位置させたとき、アーム12は後述するキャッチャー2の支持ベース3の下方に位置され、このアーム12から突き出されているストライカ体1は支持ベース3内に入り込むようになっている。
キャッチャー2は、回動体D及び本体Hの他方の側に備えられると共に回動体Dを展開位置から基準位置に向けて回動操作したときに手前側Fから移動又は相対的に移動されてくるストライカ体1を捕捉するように構成される。かかるキャッチャー2は、待機位置でストライカ体1を捕捉して回り込み位置まで往動回動されて、回り込み位置で回動体Dを基準位置に位置づける。
この実施の形態にあっては、キャッチャー2は、支持ベース3に回動可能に支持されている。支持ベース3には、かかるキャッチャー2の前記付勢手段6と、かかるキャッチャー2の回動に制動力を作用させる前記制動手段4と、かかるキャッチャー2と制動手段4との前記連係手段5とが配されている。
図示の例では、キャッチャー2は、支持ベース3を介して回動体Dとしての扉Daに対する本体Hとしての扉枠Haに備えられている。図示の例では、支持ベース3は、天面を扉枠Haの上枠部Hbへの取り付け部32とした細長いケース状をなすように構成されている。そして、支持ベース3は、その長さ方向を上枠部Hbの長さ方向に沿わせるようにして、扉枠Haの蝶番Hcの設けられた側に備えられている。キャッチャー2は、かかる支持ベース3の長さ方向中程の位置よりもその一端部30側に偏った位置に配されており、このように配されるキャッチャー2と支持ベース3の他端部31との間に前記付勢手段6と制動手段4が配されると共に、かかるキャッチャー2と制動手段4とが連係手段5によって連係されている。図中符号34で示すのは支持ベース3の天板34に連続した取り付け用耳部であり、符号35で示すのは支持ベース3の天板34における長さ方向に沿った一方縁部に亘ってこの一方縁部から下方に垂下される前板であり、符号36で示すのは支持ベース3の天板34における長さ方向に沿った他方縁部に亘ってこの他方縁部から下方に垂下される後板である。支持ベース3はその他端部31を蝶番Hc側に向けるように配されている。また、支持ベース3はその前板35を扉Daの戸当たりHdに連続させるように扉枠Haに取り付けられている。かかる前板32は、キャッチャー2の前方において切り欠かれており、扉Daを基準位置に向けて、つまり、この戸当たりHdに前方から突き当たる閉じ位置に向けて回動操作すると、この扉Daに備えられたストライカ体1が手前から移動されてきて支持ベース3に支持されているキャッチャー2に捕捉されるようになっている。かかる支持ベース3の下部は、前板32と後板33との間に亘る幅を備えると共に、ストライカ体1の入り込みを許容する割欠き部を備えた図示しないカバーによって塞がれるようになっている。
キャッチャー2は、前記支持ベース3に、待機位置と回り込み位置との間に亘る回動可能に備えられている。かかるキャッチャー2は、支持ベース3の天板33に上端を一体に接合させて下方に突き出す軸体37を中心として回動されるようになっている。キャッチャー2はキャッチャー2が回り込み位置にあるときにこの軸体37による回動組み付け位置23から後方に向けて突き出す第一腕部20と、この第一腕部20との間にストライカ体1の受容部22となる隙間を形成させるようにしてこの第一腕部20よりも支持ベース3の一端部30側にあってこの第一腕部20と略平行に後方に突き出す第二腕部21とを備えている。キャッチャー2は復動回動時には第一腕部20を回転先側に位置させる向きに回動され、待機位置においてはこの第一腕部20と第二腕部21とを支持ベース3の前板35の備えられていない箇所から前記回動組み付け位置20を通る仮想の前後方向の直線L1よりも両者の腕端を支持ベース3の他端部31側に近づけた状態で斜め前方に向けて突き出させるようになっている。(図2)
図示の例では、キャッチャー2が待機位置にあるとき、その受容部22の入り口が回動体Dとしての扉Daに備えられたストライカ体1の移動軌跡s上に位置されるようになっている。より具体的には、この待機位置において、第一腕部20の腕端はこの移動軌跡sよりも支持ベース3の一端部30側に位置されて受容部22へのストライカ体1の入り込みを妨げず、第二腕部21の腕端はこの移動軌跡s上に位置されて所定の位置に回動体Dが回動されてきたときにこのストライカ体1に突き当てられるようになっている。(図1及び図2)
そして、かかるキャッチャー2は、後述する付勢手段6によって、前記待機位置と回り込み位置との間の中間位置よりも待機位置側にあるときはこの待機位置側に向けた付勢力を作用され、かつ、待機位置と回り込み位置との間の中間位置よりも回り込み位置側にあるときはこの回り込み位置側に向けた付勢力を作用されるようになっている。
これにより、回動体Dを基準位置に向けて所定の位置まで回動操作させるまではキャッチャー2が待機位置にある状態は安定的に維持される。回動体Dを基準位置に向けて所定の位置まで回動操作させると、これによって手前側Fから移動されてくるストライカ体1を待機位置にあるキャッチャー2によって捕捉できると共に、この回動体Dの回動操作により中間位置を超えてキャッチャー2が回動されるとキャッチャー2は付勢により回り込み位置に向けて回動されこれによりストライカ体1を介して回動体Dを基準位置に引き込むことができる。回動体Dを展開位置に向けて再び回動操作させるまではキャッチャー2が回り込み位置にある状態は安定的に維持され、回動体Dは基準位置に位置づけられる。
一方、前記制動手段4は、回転に制動力の作用を受けるピニオン40を備えている。図示の例では、かかる制動手段4は、ステーター体41と、このステーター体41に回転可能に支持される図示しないローター体とを備え、このローター体の回転に制動力を付与するように構成されており、ピニオン40はかかるローター体におけるステーター体41の外側に突き出された軸外端42にこのローター体の回転軸をピニオン40の回転軸とするようにして組み合わされている。図示の例では、かかるピニオン40の回転軸が上下方向に沿って配されるように前記支持ベースにステーター体41の上面を添装固定させている。かかるローター体の回転への制動力の付与は、典型的には、ステーター体41内にシリコンオイルやグリスオイルなどの粘性流体を封入しこの粘性流体がローター体の回転に抵抗力を作用させるようにすることで確保することができる。
また、前記連係手段5は、第一スライダ50と、この第一スライダ50に対し所定の範囲でスライド移動可能に組み合わされた第二スライダ51とを備えている。そして、この連係手段5とキャッチャー2及び前記制動手段4のピニオン40とが、キャッチャー2の回動により第一スライダ50を移動させ且つ第二スライダ51の移動によりピニオン40を回転させるように、又は、キャッチャー2の回動により第二スライダ51を移動させ且つ第一スライダ50の移動によりピニオン40の回転させるように、組み合わされている。図示の例では、キャッチャー2の回動により第一スライダ50を移動させ且つ第二スライダ51の移動によりピニオン40を回転させるように、連係手段5とキャッチャー2及び前記制動手段4のピニオン40とが組み合わされている。
図示の例では、かかる連係手段5を構成する第一スライダ50は左右方向に長い棒状をなすように構成されており、前記キャッチャー2の回動組み付け位置23を通る仮想の左右方向の直線L2よりも後方において、支持ベース3に左右方向に沿ったスライド移動可能に組み合わされ支持されている。
図示の例では、キャッチャー2は前記回動組付け位置23を要とするように形成されて板面を横向きに配した扇状部24を第二腕部21に一体に備えていると共に、この扇状部24の弧状縁部にギヤ部24aを備えさせている。そして、かかる扇状部24のギヤ部24aが前記第一スライダ50に形成されたラック50aに常時噛み合うようになっている。そしてこれにより図示の例では、待機位置にあるキャッチャー2が回り込み位置に向けて往動回動されるときは、これに伴って第一スライダ50が支持ベース3の一端部30側に向けてスライド移動され、一方、回り込み位置にあるキャッチャー2が待機位置に向けて復動回動されるときは、これに伴って第一スライダ50が支持ベース3の他端部31側に向けてスライド移動されるようになっている。
一方、第二スライダ51は、第一スライダ50における支持ベース3の他端部31側に位置される端部に形成された第一スライダ50の移動方向に沿って続くレール部50bに組み合わされて、この第一スライダ50の移動方向と同じ方向、図示の例では左右方向に沿ったスライド移動をするようになっている。
図示の例では、第二スライダ51も左右方向に長い棒状をなすと共に、支持ベース3の前板35側に向けられた側に制動手段4のピニオン40に常時噛み合うラック51aを備え、下部に第二スライダ51の全長に亘る溝部51bを備えている。(図7)第一スライダ50のレール部50bは、この第二スライダ51の溝部51bに下方から入り込んでこの第二スライダ51を案内する左右方向に長く続くリブ状をなすように構成されている。かかるレール部50bの全長は第二スライダ51の全長より長くなっている。また、第一スライダ50には、かかるレール部50bを挟んだ左右にそれぞれ第二スライダ51の端部に対する当接部50cが形成されており、レール部50bはこの左右の当接部50c、50cの間に亘って形成されている。これによって第二スライダ51は、その一端51c(図2における左端)を左側の当接部50cに突き当てさせた位置と、その他端51d(図2における右端)を右側の当接部50cに突き当てさせた位置との間において、つまり所定の範囲でのみスライド移動可能に第一スライダ50に組み合わされている。
展開位置にある回動体を基準位置に回動操作することに伴って前方から移動されてくるストライカ体1を待機位置にあるキャッチャー2が捕捉すると、キャッチャー2は回り込み位置に向けて往動回動されこれに伴って第一スライダ50はスライド移動されるので、ピニオン40を介して制動手段4の制動力がキャッチャー2に作用されて回動体Dの回動速度を低下させる。また、基準位置にある回動体を展開位置に回動操作すると、ストライカ体1を捕捉しているキャッチャー2は待機位置に向けて復動回動されこれに伴って第一スライダ50はキャッチャー2の往動時と逆向きにスライド移動されるので、このときもピニオン40を介して制動手段4の制動力がキャッチャー2に作用される。ここで連係手段5を構成する第二スライダ51は所定の範囲でのみスライド移動可能に第一スライダ50に組み合わされていることから、キャッチャー2の往動回動及び復動回動の全過程において第二スライダ51がスライド移動しないようにすることができ、これによって制動手段4のピニオン40もかかる全過程において回転しないようにして、かかる全過程のうち制動手段4の制動力を作用させるべきときに限ってこの制動力をキャッチャー2を通じて回動体に作用させるようにすることができる。
この実施の形態にあっては、かかるキャッチャー2は、後述する付勢手段6によって、前記待機位置と回り込み位置との間の中間位置よりも待機位置側にあるときはこの待機位置側に向けた付勢力を作用され、かつ、待機位置と回り込み位置との間の中間位置よりも回り込み位置側にあるときはこの回り込み位置側に向けた付勢力を作用されるようになっていると共に、待機位置にあるキャッチャー2が中間位置を超えた後に連係手段5の第一スライダ50と第二スライダ51とがこのキャッチャー2の往動回動により一緒に移動するようにしてある。
これにより、この実施の形態にあっては、キャッチャー2が往動回動されるときはこの往動先側に向けて付勢手段6の付勢力がキャッチャー2に作用されるようになる前には制動手段4の制動力をキャッチャー2に作用させないようにすることができ、基準位置に向けた回動体Dの回動操作を円滑に行えるようにしている。
具体的には、図示の例では、キャッチャー2が待機位置にあるときは、第二スライダ51の右端51dと第一スライダ50の右側の当接部50cとの間に間隔xが形成されるようにしてあり、(図2)この状態からキャッチャー2が往動回動されても中間位置(図3)を超えるまでは制動手段4のピニオン40にラック51aを噛み合わせている第二スライダ51は移動しないようになっている。(図3)そして、キャッチャー2が往動回動されて中間位置を超えたときに、第二スライダ51の右端51dと第一スライダ50の右側の当接部50cが突き当たり、(図4)その後左側に移動される第一スライダ50と一緒に第二スライダ51が左側に移動されてこの第一スライダ50の移動に制動手段4の制動力が作用されるようになっている。
また、キャッチャー2が回り込み位置にあるときは、第二スライダ51の左端51cと第一スライダ50の左側の当接部50cとの間に間隔xが形成されるようにしてあり、(図5)この状態からキャッチャー2が復動回動されるとこのときは前記中間位置を超える前に、第二スライダ51の左端51cと第一スライダ50の右側の当接部50cが突き当たり、(図6)その後右側に移動される第一スライダ50と一緒に第二スライダ51が右側に移動されてこの第一スライダ50の移動に制動手段4の制動力が作用されるようになっている。
前記付勢手段6は、この実施の形態にあっては、キャッチャー2と制動手段4のピニオン40との間にあって、第一スライダ50のラック50aに常時噛み合う付勢用ピニオン体7の回転中心位置70と異なる位置にバネ一端60aを止着させた引っ張りコイルバネ60によって構成されている。図示の例では、付勢用ピニオン体7は、その回転軸がキャッチャー2及び制動手段4のピニオン40の回転軸と平行をなすように、支持ベース3に回転可能に組み付けられている。また、かかる引っ張りコイルバネ60のバネ他端60bは、制動手段4の前方に止着されている。そして、キャッチャー2が中間位置にあるときに、かかる引っ張りコイルバネ60のバネ一端60aとバネ他端60bと付勢用ピニオン体7の回転中心位置70とが一直線上に並ぶと共に、(図3)かかる引っ張りコイルバネ60がもっとも引き延ばされて付勢力を蓄えるようになっている。これにより、図示の例では、キャッチャー2の往動回動時には中間位置まではかかる引っ張りコイルバネ60を引き延ばしながら第一スライダ50を左側に移動させるだけの力で回動体Dを回動させることを要する一方で、中間位置を超えた後はかかる引っ張りコイルバネ60の付勢により回り込み位置までキャッチャー2を強制的に往動回動させて回動体Dを基準位置に引き込みそこに位置づけさせるようになっている。また、キャッチャー2の復動回動時には中間位置まではかかる引っ張りコイルバネ60を引き延ばしながら第一スライダ50を右側に移動させるだけの力で回動体Dを回動させることを要する一方で、中間位置を超えた後はかかる引っ張りコイルバネ60の付勢により待機位置までキャッチャー2を強制的に復動回動させてキャッチャー2からのストライカ体1の抜け出しを許容して回動体Dの捕捉を解くようになっている。
図9及び図10は、図1〜図8に示されるラッチ機構Rにおける連係手段5の構成を変更させた例を示している。この図9及び図10に示される例にあっては、連係手段5は左右方向に沿ったスライド移動可能にこの支持ベース3に組み合わされた左右方向に長い棒状をなす単一のスライダ52のみによって構成されている。かかるスライダ52の構成は前記第一スライダ50と略等しいが第二スライダ51は備えられていない。図中符号52aはキャッチャー2のギヤ部24aと付勢用ピニオン体7に噛み合うラックである。そして、かかるスライダ52は、キャッチャー2の回動によりスライド移動するようになっていると共に、この移動の前後に亘って前記制動手段4のピニオン40の側方に位置される箇所52dに、このピニオン40に噛み合うラック部52cと、このピニオン40への噛み合いを生じない非ラック部52bとを備えている。
そして、この図9及び図10に示される例にあっても、キャッチャー2が待機位置と回り込み位置との間の中間位置より待機位置側にあるときはキャッチャー2をこの待機位置に向けて付勢し、かつ、キャッチャー2がこの中間位置より回り込み位置側にあるときはこのキャッチャー2をこの回り込み位置に向けて付勢する付勢手段6が備えられていると共に、待機位置(図9の位置)にあるキャッチャー2が中間位置を超えた後に連係手段5のラック部52cがピニオン40に噛み合うようになっている。
これにより、この図9及び図10に示される例にあっても、キャッチャー22の往動回動及び復動回動の全過程において制動手段4のピニオン40を回転させないようにして、かかる全過程のうち制動手段4の制動力を作用させるべきときに限ってこの制動力をキャッチャー2を通じて回動体に作用させるようにすることができる。具体的には、この図9及び図10に示される例にあっては、キャッチャー2が往動回動されるときはこの往動先側に向けて付勢手段6の付勢力がキャッチャー2に作用されるようになる前には制動手段4の制動力をキャッチャー2に作用させないようにすることができ、基準位置に向けた回動体Dの回動操作を円滑に行えるようにしている。
より具体的には、この図9および図10に示される例では、キャッチャー2が待機位置から中間位置までの範囲にあるときは、スライダ52の右端側にあるピニオン40の側方に位置される箇所における非ラック部52bがピニオン40の側方に位置されキャッチャー2の往動回動によりスライダ52が移動してもキャッチャー2が中間位置を超えるまではピニオン40が回転せずスライダ52の移動に制動手段4の制動力が作用されないようになっている。そして、キャッチャー2が往動回動されて中間位置を超えたときに、スライダ52のラック部52cがピニオン40に噛み合い始めこのスライダ52の移動に制動手段4の制動力が作用されるようになっている。回り込み位置にあるキャッチャー2が回動体Dの展開位置に向けた回動操作により基準位置に復動回動されるときは、ラック部52cとの噛み合いにより中間位置を超える前に制動手段4の制動力がスライダ52とキャッチャー2を介して回動体Dに作用され、その後はラック部52cのピニオン40との噛み合いが解かれてピニオン40の側方には非ラック部52bが位置されるのでピニオン40とスライダ52の接続が再び解かれキャッチャー2の回動には制動力が作用されなくなる。
符号の説明
D 回動体
R ラッチ機構
1 ストライカ体
2 キャッチャー
4 制動手段
40 ピニオン
5 連係手段
50 第一スライダ
51 第二スライダ
ラッチ機構Rの使用状態を示した底面構成図 ラッチ機構Rの底面構成図(キャッチャー2待機位置) ラッチ機構Rの要部拡大底面構成図(キャッチャー2中間位置) ラッチ機構Rの要部拡大底面構成図 ラッチ機構Rの底面構成図(キャッチャー2回り込み位置) ラッチ機構Rの要部拡大底面構成図 図2におけるA−A線断面図 ストライカ体1の側面構成図 ラッチ機構Rの他の構成例の底面構成図(キャッチャー2待機位置) ラッチ機構Rの他の構成例の底面構成図(キャッチャー2回り込み位置)

Claims (5)

  1. 回動体及びこの回動体が回動可能に組み合わされる本体のいずれか一方の側に備えられるストライカ体と、これらの他方の側に備えられると共に回動体を展開位置から基準位置に向けて回動操作したときに手前側から移動又は相対的に移動されてくるストライカ体を捕捉するキャッチャーとを備え、待機位置でストライカ体を捕捉して回り込み位置まで往動回動されるキャッチャーによって回動体を基準位置に位置づけるようにしたラッチ機構であって、
    制動手段と連係手段とを備えており、
    制動手段は、回転に制動力の作用を受けるピニオンを備えており、
    連係手段は、第一スライダと、この第一スライダに対し所定の範囲でスライド移動可能に組み合わされた第二スライダとを備えており、
    この連係手段とキャッチャー及びピニオンとが、キャッチャーの回動により第一スライダを移動させ且つ第二スライダの移動によりピニオンを回転させるように、又は、キャッチャーの回動により第二スライダを移動させ且つ第一スライダの移動によりピニオンを回転させるように、組み合わされていることを特徴とするラッチ機構。
  2. キャッチャーが待機位置と回り込み位置との間の中間位置より待機位置側にあるときはキャッチャーをこの待機位置に向けて付勢し、かつ、キャッチャーがこの中間位置より回り込み位置側にあるときはこのキャッチャーをこの回り込み位置に向けて付勢する付勢手段を備えていると共に、
    待機位置にあるキャッチャーが中間位置を超えた後に連係手段の第一スライダと第二スライダとがこのキャッチャーの往動回動により一緒に移動するようになっていることを特徴とする請求項1に記載のラッチ機構。
  3. 第二スライダは、この第二スライダの一端の当接部と他端の当接部との間に形成された第一スライダの移動方向に沿ったレール部に組み合わされて、この第一スライダに対し所定の範囲でスライド移動可能に組み合わされていることを特徴とする請求項1又は請求項2に記載のラッチ機構。
  4. 回動体及びこの回動体が回動可能に組み合わされる本体のいずれか一方の側に備えられるストライカ体と、これらの他方の側に備えられると共に回動体を展開位置から基準位置に向けて回動操作したときに手前側から移動又は相対的に移動されてくるストライカ体を捕捉するキャッチャーとを備え、待機位置でストライカ体を捕捉して回り込み位置まで往動回動されるキャッチャーによって回動体を基準位置に位置づけるようにしたラッチ機構であって、
    制動手段と連係手段とを備えており、
    制動手段は、回転に制動力の作用を受けるピニオンを備えており、
    連係手段は、キャッチャーの回動によりスライド移動するようになっていると共に、この移動の前後に亘ってピニオンの側方に位置される箇所に、このピニオンに噛み合うラック部と、このピニオンへの噛み合いを生じない非ラック部とを備えていることを特徴とするラッチ機構。
  5. キャッチャーが待機位置と回り込み位置との間の中間位置より待機位置側にあるときはキャッチャーをこの待機位置に向けて付勢し、かつ、キャッチャーがこの中間位置より回り込み位置側にあるときはこのキャッチャーをこの回り込み位置に向けて付勢する付勢手段を備えていると共に、
    待機位置にあるキャッチャーが中間位置を超えた後に連係手段のラック部がピニオンに噛み合うようになっていることを特徴とする請求項4に記載のラッチ機構。
JP2008216439A 2008-08-26 2008-08-26 ラッチ機構 Expired - Fee Related JP5307479B2 (ja)

Priority Applications (2)

Application Number Priority Date Filing Date Title
JP2008216439A JP5307479B2 (ja) 2008-08-26 2008-08-26 ラッチ機構
KR1020090073330A KR101081259B1 (ko) 2008-08-26 2009-08-10 래치기구

Applications Claiming Priority (1)

Application Number Priority Date Filing Date Title
JP2008216439A JP5307479B2 (ja) 2008-08-26 2008-08-26 ラッチ機構

Publications (3)

Publication Number Publication Date
JP2010053515A true JP2010053515A (ja) 2010-03-11
JP2010053515A5 JP2010053515A5 (ja) 2011-06-16
JP5307479B2 JP5307479B2 (ja) 2013-10-02

Family

ID=42069713

Family Applications (1)

Application Number Title Priority Date Filing Date
JP2008216439A Expired - Fee Related JP5307479B2 (ja) 2008-08-26 2008-08-26 ラッチ機構

Country Status (2)

Country Link
JP (1) JP5307479B2 (ja)
KR (1) KR101081259B1 (ja)

Cited By (2)

* Cited by examiner, † Cited by third party
Publication number Priority date Publication date Assignee Title
JP2016198693A (ja) * 2015-04-07 2016-12-01 株式会社サカエ 扉開閉機構及びこれを用いたシュレッダ
JP2017227091A (ja) * 2016-06-24 2017-12-28 Ykk Ap株式会社 建具

Families Citing this family (1)

* Cited by examiner, † Cited by third party
Publication number Priority date Publication date Assignee Title
KR101365253B1 (ko) * 2013-09-10 2014-02-21 박화련 도어 개폐용 충격완충 장치

Citations (2)

* Cited by examiner, † Cited by third party
Publication number Priority date Publication date Assignee Title
JP2006200300A (ja) * 2005-01-24 2006-08-03 Tostem Corp 引戸の引き込み装置
WO2008069248A1 (ja) * 2006-12-08 2008-06-12 Nifco Inc. 引き込み機構及び取り付け構造

Family Cites Families (4)

* Cited by examiner, † Cited by third party
Publication number Priority date Publication date Assignee Title
JP3414706B2 (ja) 2000-08-03 2003-06-09 日本ドアーチエック製造株式会社 扉閉鎖順位調整器
JP3963858B2 (ja) 2003-04-16 2007-08-22 大鳥機工株式会社 扉閉鎖順位調整器
JP2005155068A (ja) 2003-11-21 2005-06-16 Junichi Hasegawa 扉閉鎖順序制御装置
JP2006194051A (ja) 2005-01-17 2006-07-27 Niitekku:Kk 緩衝付勢装置、及び緩衝付勢方法

Patent Citations (2)

* Cited by examiner, † Cited by third party
Publication number Priority date Publication date Assignee Title
JP2006200300A (ja) * 2005-01-24 2006-08-03 Tostem Corp 引戸の引き込み装置
WO2008069248A1 (ja) * 2006-12-08 2008-06-12 Nifco Inc. 引き込み機構及び取り付け構造

Cited By (2)

* Cited by examiner, † Cited by third party
Publication number Priority date Publication date Assignee Title
JP2016198693A (ja) * 2015-04-07 2016-12-01 株式会社サカエ 扉開閉機構及びこれを用いたシュレッダ
JP2017227091A (ja) * 2016-06-24 2017-12-28 Ykk Ap株式会社 建具

Also Published As

Publication number Publication date
KR101081259B1 (ko) 2011-11-08
JP5307479B2 (ja) 2013-10-02
KR20100024896A (ko) 2010-03-08

Similar Documents

Publication Publication Date Title
JP4996622B2 (ja) 引き込み機構及び取り付け構造
JP5377923B2 (ja) 可動体のアシスト機構
KR101886445B1 (ko) 차량용 슬라이딩 도어의 직선형 센터레일 링크 구조
WO2007055204A1 (ja) 引き込み機構
JP2010174506A (ja) 回動体の往動機構
JP2008190199A (ja) 車両用ドア開閉構造
JP5307479B2 (ja) ラッチ機構
JP4296123B2 (ja) 往復動作体の動作機構
FR3047267A1 (fr) Systeme de motorisation ameliore pour porte coulissante
WO2009131172A1 (ja) ラッチ装置
JP4951582B2 (ja) ラッチ装置
KR102046665B1 (ko) 가동체의 어시스트 기구
JP2016216212A (ja) 上下開閉扉のロック装置および塵芥収集車
JP5139875B2 (ja) ラッチ機構
JP2013231278A (ja) 可動体のアシスト機構
JP5103337B2 (ja) 回動体のロック構造、および収納装置
JP5797927B2 (ja) 引き戸の戸先での指挟み防止機構
JP2009249945A (ja) 回動体の動作機構
JP2013231279A (ja) 扉のアシスト機構
JP5154974B2 (ja) ラッチ装置
FR3014933A1 (fr) Porte pliante
JP6764699B2 (ja) ヒンジ
JP2010133135A (ja) 引戸装置
JP4448038B2 (ja) 扉等開度調整器
JP5374122B2 (ja) ドア引き込み装置

Legal Events

Date Code Title Description
A521 Written amendment

Free format text: JAPANESE INTERMEDIATE CODE: A523

Effective date: 20110422

A621 Written request for application examination

Free format text: JAPANESE INTERMEDIATE CODE: A621

Effective date: 20110422

A977 Report on retrieval

Free format text: JAPANESE INTERMEDIATE CODE: A971007

Effective date: 20120809

A131 Notification of reasons for refusal

Free format text: JAPANESE INTERMEDIATE CODE: A131

Effective date: 20120821

A521 Written amendment

Free format text: JAPANESE INTERMEDIATE CODE: A523

Effective date: 20120924

TRDD Decision of grant or rejection written
A01 Written decision to grant a patent or to grant a registration (utility model)

Free format text: JAPANESE INTERMEDIATE CODE: A01

Effective date: 20130604

A61 First payment of annual fees (during grant procedure)

Free format text: JAPANESE INTERMEDIATE CODE: A61

Effective date: 20130627

R150 Certificate of patent or registration of utility model

Free format text: JAPANESE INTERMEDIATE CODE: R150

LAPS Cancellation because of no payment of annual fees