JP2010051566A - パチンコ機の入賞口装置 - Google Patents

パチンコ機の入賞口装置 Download PDF

Info

Publication number
JP2010051566A
JP2010051566A JP2008220058A JP2008220058A JP2010051566A JP 2010051566 A JP2010051566 A JP 2010051566A JP 2008220058 A JP2008220058 A JP 2008220058A JP 2008220058 A JP2008220058 A JP 2008220058A JP 2010051566 A JP2010051566 A JP 2010051566A
Authority
JP
Japan
Prior art keywords
floor surface
pachinko
ball
door
winning
Prior art date
Legal status (The legal status is an assumption and is not a legal conclusion. Google has not performed a legal analysis and makes no representation as to the accuracy of the status listed.)
Granted
Application number
JP2008220058A
Other languages
English (en)
Other versions
JP5590782B2 (ja
Inventor
Akinori Saida
明紀 齋田
Current Assignee (The listed assignees may be inaccurate. Google has not performed a legal analysis and makes no representation or warranty as to the accuracy of the list.)
Heiwa Corp
Original Assignee
Heiwa Corp
Priority date (The priority date is an assumption and is not a legal conclusion. Google has not performed a legal analysis and makes no representation as to the accuracy of the date listed.)
Filing date
Publication date
Application filed by Heiwa Corp filed Critical Heiwa Corp
Priority to JP2008220058A priority Critical patent/JP5590782B2/ja
Publication of JP2010051566A publication Critical patent/JP2010051566A/ja
Application granted granted Critical
Publication of JP5590782B2 publication Critical patent/JP5590782B2/ja
Expired - Fee Related legal-status Critical Current
Anticipated expiration legal-status Critical

Links

Images

Landscapes

  • Pinball Game Machines (AREA)

Abstract

【課題】奥行き方向の位置が異なるパチンコ球同士についても、それらが接触した状態で停止してしまう球止まりを防止でき、また高さを小さくできるパチンコ機の入賞口装置を提供する。
【解決手段】横長の入賞口6を開閉する扉62と、この扉62の開放時に入賞口6を通って入球したパチンコ球を横方向に複数個収容可能な横長の入賞室63とを備えるパチンコ機の入賞口装置であって、入賞室63の床面65を、複数個のパチンコ球が一列に整列して流下可能な横方向に延出する形態とした。また、床面65を形成する第2勾配床面69を第1勾配床面68よりも急な下り勾配とすると共に、第2パチンコ球進入抑制部材71(凸部72)を設けて、第2勾配床面69のパチンコ球を最優先で球排出口前置床面70に進入するようにした。第2勾配床面69の下り勾配は比較的急にするが、第1勾配床面68の下り勾配はパチンコ球が自重で流下し得る程度まで小さくした。
【選択図】図2

Description

本発明は、予め定められた条件を満たすことにより横長の扉が開放し、他の入賞口に比べて短時間に多くのパチンコ球の入賞(入球)が可能な、いわゆる大入賞口を有する大入賞口装置に適用して大なる効果を発揮できるパチンコ機の入賞口装置に関するものである。
従来から、扉と、この扉の開放時に遊技盤の盤面上を流下するパチンコ球が入球可能な入賞口を有する入賞室とを備えた入賞装置が知られている。
例えば、大当たりと称する遊技時(大当たり時)に、扉が開放して入賞口に入球し、入賞室の底床部に開口する球排出口に流入したパチンコ球が所定数、例えば10個計数されるか、所定時間、例えば30秒経過すると扉が閉じるという動作を、所定の条件の下、所定時間、例えば5秒間隔で所定回数繰り返されるという入賞装置が知られている。
このような入賞装置では、扉が開放したときには短時間に多くのパチンコ球が入賞口に入球可能に、その入賞口及び入賞室が横長状に形成され、入賞室の底床部の奥側に球排出口が形成されるのが一般的である。しかしこのような入賞装置においては、パチンコ球が球排出口に流入するまでの時間が長くなることがあり、設定数以上、例えば10個以上のパチンコ球が入賞室に入球し易くなるという問題点があった。
そこで従来、「球が流入可能な入賞口を有する入賞室と、前記入賞口を開閉する扉部材と、をそれぞれ備え、前記入賞室の底床部は、その幅方向略中央部の前側から奥側に延びる段差壁を有し、その段差壁の一側部に低床部、他側部に高床部を有して段差状に形成され、前記入賞室の底床部の奥側には前記低床部側に位置して球排出口が形成されている」という入賞装置が開発された(特許文献1参照)。
このような従来技術によれば、入賞室の底床部上をパチンコ球が左右方向に往復動する幅寸法を段差壁において小さく制限することができるので、入賞室に流入したパチンコ球が球排出口に流入するまでに要する時間を短縮でき、設定数以上のパチンコ球が入賞室に入球し易くなるという問題点を解消し得る。
特開2003−284834号公報
上記従来技術では、奥行き方向の位置が同じパチンコ球同士の接触については、それらのパチンコ球間における球止まりを防止することができる。しかし、奥行き方向の位置が異なるパチンコ球同士、例えば入賞室側のパチンコ球と開放中の扉部材側のパチンコ球との間で生じる球止まりについては防止できず、この場合は全パチンコ球が球排出口に流入するまでに要する時間を短縮できない。
また上記従来技術では、球排出口を入賞装置の横方向中央部に形成したため、その左右側と扉側との3方向からパチンコ球を受けることになり、入賞室内に高い段差を設ける構成となった。このため、装置の高さ方向の寸法が大きくなるという問題点があった。
本発明は、上記のような問題点を解消することを課題とするもので、奥行き方向の位置が同じパチンコ球同士についても、また奥行き方向の位置が異なるパチンコ球同士についても、それらが接触した状態で停止してしまう球止まりを防止でき、しかも高さ方向の小型化が可能なパチンコ機の入賞口装置を提供することにある。
上記課題を解決するための手段を以下に述べる。
各手段は、項に区分し、各項に番号を付し、必要に応じて他の項の番号を引用する形式で記載する。これは、本発明の理解を容易にするためであって、本明細書に記載の技術的特徴が以下の各項に記載のものに限定されるものではない。
以下の各手段のうち、(1)項が請求項1に、(3)項が請求項2に、(6)項が請求項3に、各々対応する。(2)項、(4)項、(5)項は請求項に係る発明ではない。
(1)横長の入賞口を上端側から開閉自在の扉と、この扉の開放時に前記入賞口を通って入球したパチンコ球を横方向に複数個収容可能な横長の入賞室とを備えるパチンコ機の入賞口装置であって、前記扉は、開放時に、遊技盤の盤面上を流下してくるパチンコ球の受け面となる扉裏面が前記入賞口側に向かってやや下り傾斜となるように開放角度が設定されてなり、前記入賞室は、前記扉の奥側において複数個のパチンコ球が一列に整列して流下可能な横方向に延出する床面と、この床面の一方端の奥側に位置し、到達したパチンコ球を室外に排出させる球排出口が形成された室内最低位面とを有してなり、前記床面は、その他方端から一方端に向けて降下する勾配床面及び前記室内最低位面に通じる球排出口前置床面を有して形成されており、加えて、前記球排出口前置床面に対して、前記勾配床面側から進入しようとする第1パチンコ球と、前記扉裏面側から進入しようとする第2パチンコ球とが同時に存在する場合に、前記球排出口前置床面への進入につき前記第1パチンコ球を優先させるための第2パチンコ球進入抑制部材を具備することを特徴とするパチンコ機の入賞口装置。
(2)前記第2パチンコ球進入抑制部材は、前記入賞室の一方端をなす壁面に一体成形されることを特徴とする(1)項に記載のパチンコ機の入賞口装置。
本項に記載の発明によれば、第2パチンコ球進入抑制部材を低コストで形成できる。
(3)前記第2パチンコ球進入抑制部材は、前記球排出口前置床面に進入しようとする第2パチンコ球が当接することによってその球排出口前置床面への進入を遅延させる凸部を有する部材であることを特徴とする(1)項又は(2)項に記載のパチンコ機の入賞口装置。
(4)前記凸部は、前記球排出口前置床面の上方の前記扉に寄った位置に突出形成されることを特徴とする(3)項に記載のパチンコ機の入賞口装置。
本項に記載の発明によれば、第2パチンコ球進入抑制のために第2パチンコ球を当接させるに当たって、凸部を効果的に作用させることができる。
(5)前記凸部は、前記球排出口前置床面に進入した前記第1パチンコ球が当接可能であって、当接した第1パチンコ球を前記室内最低位面方向に向かわせる斜面を有することを特徴とする(3)項又は(4)項に記載のパチンコ機の入賞口装置。
本項に記載の発明によれば、1つの凸部を有効活用できる。
(6)前記勾配床面は、その他方端から一方端側に向けて順次降下する第1勾配床面及び第2勾配床面からなり、前記第1勾配床面は、パチンコ球が自重で第2勾配床面側に流下可能な第1下り勾配を有して形成され、前記第2勾配床面は、前記第1下り勾配よりも急な第2下り勾配を有して形成されることを特徴とする(1)項〜(5)項のうちのいずれか1の項に記載のパチンコ機の入賞口装置。
(1)項に記載の発明では、奥行き方向の位置が同じパチンコ球同士については、勾配床面に整列して球排出口前置床面に向かって流下するように構成した。また、球排出口前置床面への進入につき、扉裏面側のパチンコ球よりも床面側のパチンコ球を優先させるためのパチンコ球進入抑制部材を設けた。したがって、(1)項に記載の発明によれば、奥行き方向の位置が同じパチンコ球同士についても、また奥行き方向の位置が異なるパチンコ球同士についても、それらが接触した状態で停止してしまう球止まりを防止できる。また、球排出口を装置横方向の一方端に設けたので、パチンコ球の合流は床面側と扉裏面側の2方向だけとなり、入賞室内に高い段差(急勾配)は不要となって高さ方向の小型化が可能となる。
(3)項に記載の発明によれば、凸部という簡単な構成によって(1)項に記載の発明の効果を得ることができる。
(6)項に記載の発明によれば、第2勾配床面の下り勾配を比較的急にするが、第1勾配床面の下り勾配はパチンコ球が自重で流下し得る程度まで小さくし得るので、装置の高さ方向の小型化をより効果的に図れる。
なお、(2)項、(4)項、(5)項に記載の発明は、本発明(特許請求の範囲に記載した発明)ではないので、上記課題を解決するための手段の欄に、その効果を述べた。
以下、本発明の実施の形態を図面に基づき説明する。なお、各図間において、同一符号は同一又は相当部分を示す。
図1は、本発明が適用されたパチンコ機の一例の要部を示す正面図である。
この図において、1はパチンコ機の遊技盤の盤面である。この盤面1上にはほぼ円弧状にレール2が取り付けられており、このレール2の内側には、遊技領域3が設定されている。レール2は、図示しないハンドルの操作により発射されたパチンコ球(図示せず)を盤面1の左側上部から遊技領域3へ送り込むように案内する。
盤面1上には、レール2の他にも種々の盤面構成部品が設けられている。すなわち、盤面1のほぼ中央には液晶表示器等からなる図柄表示装置4が設けられ、その真下には始動入賞口5が設けられ、また、始動入賞口5の直下には大入賞口6を備えた詳細を後述する大入賞口装置61が設けられている。その他、いくつかの一般入賞口7…、ランプ8、風車9等が盤面1上に設けられている。
盤面1上のレール2の内側の最下部には、入賞しなかったパチンコ球を回収するアウト口10が設けられ、更に、上記各部品4〜9やアウト口10を避けた適宜箇所には、多数の遊技釘11(一部のみ図示)が打ち込まれている。なお、盤面1は透明ガラス板により覆われ、パチンコ球の遊技領域3からの離脱が阻止される。
上記図柄表示装置4の画面4aの表示領域は、所定方向に複数の、ここでは横方向に左、中、右、3つの表示領域LA,CA,RAに分けられている。
これら3つの表示領域LA,CA,RAには各々図柄L,C,Rが表示されるが、表示される図柄L,C,Rは変動可能であり、また、変動開始すると所定時間後に停止するようになされている。この表示図柄L,C,Rは、ここでは3つの表示領域LA,CA,RA共に0〜9までの数字であり、変動表示時にはこの数字0〜9が繰返し表示される。表示図柄L,C,Rの変動は、始動入賞口5へのパチンコ球の入賞により行われる大当たり抽選と共に、又は抽選直後に開始される。
大当たり抽選の結果が大当たりになると(大当たり時には)、大入賞口装置61が作動、具体的には大入賞口装置61の後述する扉が開放、つまり大入賞口6が開放し、他の一般入賞口7や始動入賞口5に比べて短時間に多くのパチンコ球が入賞可能となる。
なお、本発明は図1に示す形態の他、種々の形態の盤面1に適用可能である。
上述したように、始動入賞口5の直下には大入賞口装置6が設けられている。
以下、この大入賞口装置61の一実施形態を詳細に説明する。
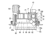
図2は図1中の大入賞口装置61を取り出し拡大して示す斜視図、図3は同じく正面図、図4は同じく平面図、図5は同じく右側面図である。
また、図6は図3中のA−A線断面矢視図、図7は図4中のB−B線断面矢視図、図8は図4中のC−C線断面矢視図であり、図9及び図10は各々動作説明のための図3中のA−A線断面矢視図である。
図2〜図8に示すように、本実施形態に係る大入賞口装置61は、平板状のベース部21と、このベース部21にねじ止め等で一体化されるケース部22とを備えて構成され、ベース部21の正面四隅の孔23にビス等を通して図1に示すように盤面1に取り付けられる。ベース部21の正面中央部分には横長の大入賞口6が開口している。ケース部22は合成樹脂により一体成形されている。
大入賞口装置61は、上記大入賞口6を開閉自在の扉62を有し、また、この扉62の開放時に上記大入賞口6を通って入球したパチンコ球を横方向に複数個、図示例では5個程度、収容可能な横長の入賞室63をケース部22内に有する。
上記扉62は、その下部の左右両側から側方に突出する一対の支軸62aを支点として、上端側から開閉自在にベース部22に取り付けられている。そして、その開放時において、盤面1(図1参照)上を流下してくるパチンコ球の受け面となる扉裏面64が大入賞口6側に向かってやや下り傾斜となるように開放角度が設定されている。
また入賞室63は、扉62の奥側において5個程度のパチンコ球が一列に整列して転動、流下可能な横方向に延出する床面65と、この床面65の一方端、図示例では右端の奥側に位置する室内最低位面66とを有して形成されている。
そしてこの室内最低位面66には、ここに到達したパチンコ球を入賞室63外、つまり装置(ケース部22)外に排出させる球排出口67が形成されている。この球排出口67には、大入賞口6に入球したパチンコ球を計数するためのパチンコ球検出器100が組み込まれている。
このパチンコ球検出器100は、ここでは球排出口67を囲むようにリング状に形成され、球排出口67から落下、排出されるパチンコ球を検出可能である。同検出器100によるパチンコ球検出信号はパチンコ機の制御装置(図示せず)に与えられ、計数される。
上記床面65は、その他方端から一方端、図示例では左端から右端に向けて順次降下する第1勾配床面68、第2勾配床面69及び上記室内最低位面66に通じる球排出口前置床面70を有して形成されている。
この場合、第1勾配床面68は、パチンコ球が自重で円滑に第2勾配床面69側へ転動、流下し得る程度の第1下り勾配αを有して形成され、第2勾配床面69は、第1下り勾配αよりも急な第2下り勾配βを有して形成されている(図7参照)。
また、本実施形態に係る大入賞口装置61は、図9に示すように、パチンコ球の合流部をなす球排出口前置床面70に対して、第2勾配床面69側から進入しようとする第1パチンコ球P1と、扉裏面64側から進入しようとする第2パチンコ球P2とが、球排出口前置床面70近傍に同時に存在する場合に、第1パチンコ球P1を優先して球排出口前置床面70に進入させるための第2パチンコ球進入抑制部材71を備える。
具体的には、上記のように第1パチンコ球P1及び第2パチンコ球P2が存在する場合に、球排出口前置床面70の前側(入賞室正面側)に位置する扉裏面64上の第2パチンコ球P2に対して球排出口前置床面70への進入を遅延させるように形成された第2パチンコ球進入抑制部材71を備える。
球排出口前置床面70への第2パチンコ球P2の進入が遅延されると、第1パチンコ球P1は、その間に第2パチンコ球P2に当たることなく、あるいは第2パチンコ球P2に当たっても自身がもつ慣性力によりこれを押し退けながら球排出口前置床面70へ進入する。すなわち、第1パチンコ球P1は第2パチンコ球P2に優先して球排出口前置床面70へ進入する。
第2勾配床面69は球排出口前置床面70より高く、球排出口前置床面70は室内最低位面66より高く、各々高さ位置が設定されているので、球排出口前置床面70へ進入した第1パチンコ球P1は、その後、室内最低位面66に到達する。そして、球排出口67を通って、つまりパチンコ球検出器100で大入賞口入賞球として計数されて、入賞室63外、つまり装置外に排出される、というように構成されている。
なお、第2パチンコ球P2は、第1パチンコ球P1の後を追うようにして、第1パチンコ球P1と同様に、球排出口前置床面70へ進入し、室内最低位面66に到達し、球排出口67を通って装置外に排出される。
本実施形態において、上記第2パチンコ球進入抑制部材71は次のように構成されている。
すなわち、図9、図10、及びこれら両図中の矢印ア,イ,ウに示すように、球排出口前置床面70に進入しようとする第2パチンコ球P2が当接することによってその球排出口前置床面70への進入を遅延させる凸部72を有して構成されている。
この凸部72は、図示例では球排出口前置床面70の上方の扉62に寄った位置に、左方に向かって突出形成されている。またこの凸部72は、球排出口前置床面70に進入した第1パチンコ球P1も当接可能であって、第1パチンコ球P1が当接した場合には、これを室内最低位面66の方向に向かわせる角度に設定された斜面73を有して形成されている。
このような凸部72を有する第2パチンコ球進入抑制部材71は、本実施形態では図示するように入賞室63の右端をなす壁面74に一体成形されている。
なお各図において、101は、扉62を開閉する扉開閉用ソレノイドであり、ケース部22に取り付けられている。この扉開閉用ソレノイド101は、大当たり時にパチンコ機の制御装置によって励磁されることにより、扉62を、閉成した状態から、図2〜図10に示すように開放した状態に作動させ、大入賞口6を開放状態とする。なお、図11に閉成した状態の扉62の正面図を示す。
次に、上述実施形態の動作について説明する。
図1において、ハンドル操作により発射されたパチンコ球(図示せず)は、レール2により案内されて盤面1の左側上部から遊技領域3内に打ち込まれ、遊技が開始される。
遊技領域4内に打ち込まれたパチンコ球は、種々の盤面構成部品8,9等や遊技釘11によって方向や速度を変化させながら遊技領域4を流下し、入賞口5〜7のいずれかに入賞するか、アウト口10にて回収される。
パチンコ球が、入賞口5〜7のいずれかに入賞(入球)すると、その入賞口5〜7の種類に応じて決められた数の賞球が払い出される。
始動入賞口5にパチンコ球が入賞すると、図柄表示装置4の画面4aの3つの表示領域LA,CA,RAにおいて各々図柄L,C,Rが変動表示され、所定時間後に停止する。停止時の各図柄L,C,Rが所定の種類、例えば数字の「7」で揃っていると大当たりになる。この大当たり時には、大入賞口装置61が作動して扉62、つまり大入賞口6が開放し、多数のパチンコ球が入賞し得る状態となる。
なお図柄表示装置4は、遊技の進行に伴って上記図柄L,C,Rの変動表示の他、種々の動画等を表示して遊技の演出を行い、遊技を楽しませる。また、ランプ8やスピーカ(図示せず)も、上記のような図柄表示装置4による演出に伴って点消灯し、あるいは演出音を出力し、遊技を楽しませる。
さて、上述したように大当たり時には、扉開閉用ソレノイド101が励磁され、大入賞口装置61が作動状態となってその扉62、つまり大入賞口6が開放し、多数のパチンコ球が入賞し得る状態となる。
すなわち、扉62が開放すると、図1に示す盤面1上において、大入賞口装置61の上方から流下してきたパチンコ球が横長の扉裏面64で受け止められ、同じく横長の大入賞口6に向かって流下し、同大入賞口6を通って入賞室63内に入る。入賞室63内に入ったパチンコ球は、床面65を転動、流下して室内最低位面66に到達し、球排出口67から落下、排出される。
パチンコ球検出器100は、球排出口67からのパチンコ球の排出を検出し、検出信号をパチンコ機の制御装置に与える。この制御装置は、検出信号を計数して計数値が10に達するか、扉開放後、30秒経過すると扉62を閉じる、というラウンド動作を所定時間間隔おいて所定回数(ラウンド)繰り返させる。ここでは、5秒間隔おいて16回繰り返され、その後、大当たり遊技を終了させる。
このように大当たり時には、横長で他の入賞口よりも大きく開口する大入賞口6が開放するので、短時間で多数のパチンコ球が入球し得る状態となる。
本実施形態に係る大入賞口装置61では、流下してくるパチンコ球の受け面となる扉裏面64を大入賞口6側に向けてやや下り傾斜とした。そして、床面65を、複数個のパチンコ球が一列に整列して流下可能に形成し、また入賞室63を、5個程度のパチンコ球を収容可能に形成した。
したがって、扉裏面6で受け止められたパチンコ球は、入賞室63の床面65側に移動し、多くの場合、最終的に床面65(68〜70)において整列されて室内最低位面66に滞りなく送られ、球排出口67から排出される。すなわち、奥行方向の位置が同じ複数のパチンコ球について、球止まりなく室内最低位面66に送られ、球排出口67から排出される。
しかし図9に示すように、第2勾配床面69側から球排出口前置床面70に進入しようとする第1パチンコ球P1と、扉裏面64側から球排出口前置床面70に進入しようとする第2パチンコ球P2とが、パチンコ球P1,P2の合流部をなす球排出口前置床面70近傍に同時に存在する場合がある。
このような場合には、球排出口前置床面70に入りきる手前で第1パチンコ球P1と第2パチンコ球P2とが当接し、その状態でバランスして両パチンコ球P1,P2共に停止し、その後の動きがとれなくなることがある。いわゆる、球止まりの発生である。
球止まりが発生すると入球球の計数が遅れるため、設定数以上、ここでは10個以上のパチンコ球が入賞室63に入球し易くなり、したがって球止まりは防止されなければならない。
本実施形態では、上記のように第1パチンコ球P1及び第2パチンコ球P2が存在する場合に、球排出口前置床面70の前側(図9中、下側)に位置する扉裏面64上の第2パチンコ球P2に対して、球排出口前置床面70への進入を遅延させる第2パチンコ球進入抑制部材71を設けた。
この第2パチンコ球進入抑制部材71は、図9に示すように、球排出口前置床面70に進入しようとする第2パチンコ球P2が当接することによってその球排出口前置床面70への進入を遅延させる凸部72を有する。図示例では、凸部72は球排出口前置床面70の上方の扉62に寄った位置に、左方に向かって突出形成されているが、図示形態に限定されることはない。
いずれにしても、第2パチンコ球進入抑制部材71の凸部72が設けられていることにより、第2パチンコ球P2は、扉裏面64の右端近傍から球排出口前置床面70に進入しようとした場合に凸部72に当接し、その球排出口前置床面70方向への進行が抑制される。つまり、球排出口前置床面70への進入移動が一旦、止められる。
一方、第1パチンコ球P1は、下り勾配の第2勾配床面69を何ら障害なく流下してくるので、第2パチンコ球P2に比べて慣性力が大きく勢いがあり、迅速に球排出口前置床面70に進入してくる。したがって、球排出口前置床面70への進入が遅延、抑制された第2パチンコ球P2を矢印イに示す方向に押し退け、矢印ア方向、つまりほぼ直進して球排出口前置床面70に進入する。第2パチンコ球P2の球排出口前置床面70への進入遅延が比較的大きい場合には、第1パチンコ球P1は第2パチンコ球P2に当たることなく球排出口前置床面70へ進入する。すなわち、第1パチンコ球P1は第2パチンコ球P2に優先して球排出口前置床面70へ進入する(図10中、矢印ウ参照)。
第1パチンコ球P1は、球排出口前置床面70に進入後、室内最低位面66に向かって転動、流下するが、本実施形態では、球排出口前置床面70に進入した第1パチンコ球P1が凸部72に当接した場合に、この第1パチンコ球P1を室内最低位面66の方向に向かわせる角度に設定された斜面73を凸部72に形成している。
したがって、球排出口前置床面70に進入した第1パチンコ球P1は、円滑、迅速に室内最低位面66に到達し、球排出口67から入賞室63外に排出される。すなわち、入賞室63に流入し、第2勾配床面69を流下する第1パチンコ球P1等のパチンコ球について、球排出口67に流入するまでに要する時間の短縮に寄与させ得る。
このような凸部72を有する第2パチンコ球進入抑制部材71は、本実施形態では入賞室63の右端をなす壁面74に一体成形、具体的にはケース部22に一体成形したので、製作コストの低減が図れる。
以上述べたように本実施形態では、入賞室63の床面65を、複数個のパチンコ球が一列に整列して流下可能な横方向に延出する形態とし、かつ、床面65を形成する第2勾配床面69を第1勾配床面68よりも急な下り勾配とすると共に、第2パチンコ球進入抑制部材71(凸部72)を設けて、第2勾配床面69のパチンコ球を最優先で球排出口前置床面70に進入するようにした。
したがって本実施形態によれば、奥行き方向の位置が同じパチンコ球同士についても、また奥行き方向の位置が異なるパチンコ球P1,P2(図9、図10参照)同士についても、それらが接触した状態で停止してしまう球止まりを防止できる。
また上述し、図7に示すように、第2勾配床面69の下り勾配βは比較的急にするが、第1勾配床面68の下り勾配αはパチンコ球が自重で流下し得る程度まで小さくし得るので、装置の高さ方向の小型化が図れる。
なお図示例では、室内最低位面66(球排出口67)を入賞室床面65の右端の奥側に設けたが、これを同床面65の左端の奥側に設けてもよい。この場合、床面65の下り勾配の形成方向は左右逆になり、また、第2パチンコ球進入抑制部材71等、左右片側にしかない構成部材の左右位置は反転する。
本発明が適用されたパチンコ機の一例の要部を示す正面図である。 図1中の大入賞口装置を取り出し拡大して示す斜視図である。 同じく正面図である。 同じく平面図である。 同じく右側面図である。 図3中のA−A線断面矢視図である。 図4中のB−B線断面矢視図である。 図4中のC−C線断面矢視図である。 動作説明のための図3中のA−A線断面矢視図である。 同じく図3中のA−A線断面矢視図である。 閉成時の大入賞口装置を拡大して示す正面図である。
符号の説明
1:盤面、6:大入賞口、61:大入賞口装置、62:扉、63:入賞室、64:扉裏面、65:床面、66:室内最低位面、67:球排出口、68:第1勾配床面、69:第2勾配床面、70:球排出口前置床面、71:第2パチンコ球進入抑制部材、72:凸部、73:斜面、74:壁面、100パチンコ球検出器、P1:第1パチンコ球、P2:第2パチンコ球、α:第1下り勾配、β:第2下り勾配。

Claims (3)

  1. 横長の入賞口を上端側から開閉自在の扉と、この扉の開放時に前記入賞口を通って入球したパチンコ球を横方向に複数個収容可能な横長の入賞室とを備えるパチンコ機の入賞口装置であって、
    前記扉は、開放時に、遊技盤の盤面上を流下してくるパチンコ球の受け面となる扉裏面が前記入賞口側に向かってやや下り傾斜となるように開放角度が設定されてなり、
    前記入賞室は、前記扉の奥側において複数個のパチンコ球が一列に整列して流下可能な横方向に延出する床面と、この床面の一方端の奥側に位置し、到達したパチンコ球を室外に排出させる球排出口が形成された室内最低位面とを有してなり、
    前記床面は、その他方端から一方端に向けて降下する勾配床面及び前記室内最低位面に通じる球排出口前置床面を有して形成されており、加えて、
    前記球排出口前置床面に対して、前記勾配床面側から進入しようとする第1パチンコ球と、前記扉裏面側から進入しようとする第2パチンコ球とが同時に存在する場合に、前記球排出口前置床面への進入につき前記第1パチンコ球を優先させるための第2パチンコ球進入抑制部材を具備することを特徴とするパチンコ機の入賞口装置。
  2. 前記第2パチンコ球進入抑制部材は、前記球排出口前置床面に進入しようとする第2パチンコ球が当接することによってその球排出口前置床面への進入を遅延させる凸部を有する部材であることを特徴とする請求項1に記載のパチンコ機の入賞口装置。
  3. 前記勾配床面は、その他方端から一方端側に向けて順次降下する第1勾配床面及び第2勾配床面からなり、
    前記第1勾配床面は、パチンコ球が自重で第2勾配床面側に流下可能な第1下り勾配を有して形成され、前記第2勾配床面は、前記第1下り勾配よりも急な第2下り勾配を有して形成されることを特徴とする請求項1又は2に記載のパチンコ機の入賞口装置。
JP2008220058A 2008-08-28 2008-08-28 パチンコ機の入賞口装置 Expired - Fee Related JP5590782B2 (ja)

Priority Applications (1)

Application Number Priority Date Filing Date Title
JP2008220058A JP5590782B2 (ja) 2008-08-28 2008-08-28 パチンコ機の入賞口装置

Applications Claiming Priority (1)

Application Number Priority Date Filing Date Title
JP2008220058A JP5590782B2 (ja) 2008-08-28 2008-08-28 パチンコ機の入賞口装置

Publications (2)

Publication Number Publication Date
JP2010051566A true JP2010051566A (ja) 2010-03-11
JP5590782B2 JP5590782B2 (ja) 2014-09-17

Family

ID=42068112

Family Applications (1)

Application Number Title Priority Date Filing Date
JP2008220058A Expired - Fee Related JP5590782B2 (ja) 2008-08-28 2008-08-28 パチンコ機の入賞口装置

Country Status (1)

Country Link
JP (1) JP5590782B2 (ja)

Cited By (1)

* Cited by examiner, † Cited by third party
Publication number Priority date Publication date Assignee Title
JP2023014514A (ja) * 2021-07-19 2023-01-31 株式会社サンセイアールアンドディ 遊技機

Citations (2)

* Cited by examiner, † Cited by third party
Publication number Priority date Publication date Assignee Title
JP2003275413A (ja) * 2002-03-25 2003-09-30 Nippon Pachinko Buhin Kk パチンコ機の入賞装置
JP2003284834A (ja) * 2002-03-28 2003-10-07 Daiichi Shokai Co Ltd 遊技機

Patent Citations (2)

* Cited by examiner, † Cited by third party
Publication number Priority date Publication date Assignee Title
JP2003275413A (ja) * 2002-03-25 2003-09-30 Nippon Pachinko Buhin Kk パチンコ機の入賞装置
JP2003284834A (ja) * 2002-03-28 2003-10-07 Daiichi Shokai Co Ltd 遊技機

Cited By (1)

* Cited by examiner, † Cited by third party
Publication number Priority date Publication date Assignee Title
JP2023014514A (ja) * 2021-07-19 2023-01-31 株式会社サンセイアールアンドディ 遊技機

Also Published As

Publication number Publication date
JP5590782B2 (ja) 2014-09-17

Similar Documents

Publication Publication Date Title
JP5330638B2 (ja) 遊技機
JP2006263129A (ja) 弾球遊技機
JP2016087320A (ja) 弾球遊技機
JP2016034437A (ja) 弾球遊技機
JP2016087319A (ja) 弾球遊技機
JP5635867B2 (ja) 遊技機のセット板
JPH1176520A (ja) 弾球遊技機
JP5379897B2 (ja) パチンコ遊技機
JP5590782B2 (ja) パチンコ機の入賞口装置
JP5159519B2 (ja) パチンコ機の入賞口装置
JP4591813B2 (ja) 遊技機
JP5077512B2 (ja) 遊技機
JP5116598B2 (ja) 遊技機の盤面部品及びそれを備えた遊技機
JP2010284320A (ja) パチンコ遊技機
JP2015221105A (ja) 遊技機
JP5328188B2 (ja) ステージ構造
JP5116597B2 (ja) 遊技機
JP5088491B2 (ja) 遊技機
JP2008301964A (ja) 遊技機の役物
JP4546806B2 (ja) 遊技機
JP5025620B2 (ja) パチンコ機
JP5189175B2 (ja) 遊技機
JP5261523B2 (ja) 弾球遊技機
JP2010253022A (ja) パチンコ遊技機
JP7170321B2 (ja) 遊技機

Legal Events

Date Code Title Description
A621 Written request for application examination

Free format text: JAPANESE INTERMEDIATE CODE: A621

Effective date: 20110519

A131 Notification of reasons for refusal

Free format text: JAPANESE INTERMEDIATE CODE: A131

Effective date: 20120919

A521 Written amendment

Free format text: JAPANESE INTERMEDIATE CODE: A523

Effective date: 20121102

A02 Decision of refusal

Free format text: JAPANESE INTERMEDIATE CODE: A02

Effective date: 20121205

A521 Written amendment

Free format text: JAPANESE INTERMEDIATE CODE: A523

Effective date: 20130204

A911 Transfer of reconsideration by examiner before appeal (zenchi)

Free format text: JAPANESE INTERMEDIATE CODE: A911

Effective date: 20130213

A912 Removal of reconsideration by examiner before appeal (zenchi)

Free format text: JAPANESE INTERMEDIATE CODE: A912

Effective date: 20130329

A521 Written amendment

Free format text: JAPANESE INTERMEDIATE CODE: A523

Effective date: 20140630

A61 First payment of annual fees (during grant procedure)

Free format text: JAPANESE INTERMEDIATE CODE: A61

Effective date: 20140729

R150 Certificate of patent or registration of utility model

Ref document number: 5590782

Country of ref document: JP

Free format text: JAPANESE INTERMEDIATE CODE: R150

R250 Receipt of annual fees

Free format text: JAPANESE INTERMEDIATE CODE: R250

R250 Receipt of annual fees

Free format text: JAPANESE INTERMEDIATE CODE: R250

R250 Receipt of annual fees

Free format text: JAPANESE INTERMEDIATE CODE: R250

LAPS Cancellation because of no payment of annual fees