JP2010050263A - 積層セラミック電子部品 - Google Patents
積層セラミック電子部品 Download PDFInfo
- Publication number
- JP2010050263A JP2010050263A JP2008212844A JP2008212844A JP2010050263A JP 2010050263 A JP2010050263 A JP 2010050263A JP 2008212844 A JP2008212844 A JP 2008212844A JP 2008212844 A JP2008212844 A JP 2008212844A JP 2010050263 A JP2010050263 A JP 2010050263A
- Authority
- JP
- Japan
- Prior art keywords
- protective layer
- ceramic
- main body
- multilayer
- composition
- Prior art date
- Legal status (The legal status is an assumption and is not a legal conclusion. Google has not performed a legal analysis and makes no representation as to the accuracy of the status listed.)
- Granted
Links
- 239000000919 ceramic Substances 0.000 title claims abstract description 127
- 239000011241 protective layer Substances 0.000 claims abstract description 127
- 239000000203 mixture Substances 0.000 claims abstract description 82
- 229910052761 rare earth metal Inorganic materials 0.000 claims abstract description 27
- 150000001875 compounds Chemical class 0.000 claims abstract description 10
- 239000002344 surface layer Substances 0.000 claims abstract description 10
- 229910052726 zirconium Inorganic materials 0.000 claims abstract description 6
- 229910052735 hafnium Inorganic materials 0.000 claims abstract description 5
- 239000010410 layer Substances 0.000 claims description 22
- 229910052684 Cerium Inorganic materials 0.000 claims description 3
- 229910052691 Erbium Inorganic materials 0.000 claims description 3
- 229910052693 Europium Inorganic materials 0.000 claims description 3
- 229910052688 Gadolinium Inorganic materials 0.000 claims description 3
- 229910052689 Holmium Inorganic materials 0.000 claims description 3
- 229910052765 Lutetium Inorganic materials 0.000 claims description 3
- 229910052779 Neodymium Inorganic materials 0.000 claims description 3
- 229910052777 Praseodymium Inorganic materials 0.000 claims description 3
- 229910052772 Samarium Inorganic materials 0.000 claims description 3
- 229910052771 Terbium Inorganic materials 0.000 claims description 3
- 229910052775 Thulium Inorganic materials 0.000 claims description 3
- 229910052769 Ytterbium Inorganic materials 0.000 claims description 3
- 229910052746 lanthanum Inorganic materials 0.000 claims description 3
- 229910052727 yttrium Inorganic materials 0.000 claims description 3
- 229910052692 Dysprosium Inorganic materials 0.000 claims description 2
- 239000011521 glass Substances 0.000 abstract description 4
- 239000012141 concentrate Substances 0.000 abstract 1
- 239000003985 ceramic capacitor Substances 0.000 description 44
- 239000002994 raw material Substances 0.000 description 27
- 239000003989 dielectric material Substances 0.000 description 26
- 238000011156 evaluation Methods 0.000 description 20
- 238000004519 manufacturing process Methods 0.000 description 15
- 238000009472 formulation Methods 0.000 description 13
- 239000000843 powder Substances 0.000 description 11
- 238000000034 method Methods 0.000 description 9
- 230000000052 comparative effect Effects 0.000 description 7
- 238000002360 preparation method Methods 0.000 description 6
- 239000002002 slurry Substances 0.000 description 6
- 230000000694 effects Effects 0.000 description 4
- 238000002474 experimental method Methods 0.000 description 4
- 238000010304 firing Methods 0.000 description 4
- 239000000463 material Substances 0.000 description 4
- 238000005245 sintering Methods 0.000 description 4
- 238000012360 testing method Methods 0.000 description 4
- 229910004298 SiO 2 Inorganic materials 0.000 description 3
- 229910010413 TiO 2 Inorganic materials 0.000 description 3
- 239000011230 binding agent Substances 0.000 description 3
- LFQSCWFLJHTTHZ-UHFFFAOYSA-N Ethanol Chemical compound CCO LFQSCWFLJHTTHZ-UHFFFAOYSA-N 0.000 description 2
- 102000005717 Myeloma Proteins Human genes 0.000 description 2
- 108010045503 Myeloma Proteins Proteins 0.000 description 2
- 230000015572 biosynthetic process Effects 0.000 description 2
- 229910052804 chromium Inorganic materials 0.000 description 2
- 229910052802 copper Inorganic materials 0.000 description 2
- 230000003111 delayed effect Effects 0.000 description 2
- 238000001764 infiltration Methods 0.000 description 2
- 230000008595 infiltration Effects 0.000 description 2
- 229910052742 iron Inorganic materials 0.000 description 2
- 229910052750 molybdenum Inorganic materials 0.000 description 2
- 229910052759 nickel Inorganic materials 0.000 description 2
- 239000012299 nitrogen atmosphere Substances 0.000 description 2
- 238000007747 plating Methods 0.000 description 2
- 230000001681 protective effect Effects 0.000 description 2
- 229910052720 vanadium Inorganic materials 0.000 description 2
- 101100513612 Microdochium nivale MnCO gene Proteins 0.000 description 1
- 239000012298 atmosphere Substances 0.000 description 1
- QVGXLLKOCUKJST-UHFFFAOYSA-N atomic oxygen Chemical compound [O] QVGXLLKOCUKJST-UHFFFAOYSA-N 0.000 description 1
- 239000003990 capacitor Substances 0.000 description 1
- 239000013078 crystal Substances 0.000 description 1
- 238000010586 diagram Methods 0.000 description 1
- 238000007606 doctor blade method Methods 0.000 description 1
- 238000001035 drying Methods 0.000 description 1
- 238000001704 evaporation Methods 0.000 description 1
- 230000008020 evaporation Effects 0.000 description 1
- 239000007789 gas Substances 0.000 description 1
- 239000002075 main ingredient Substances 0.000 description 1
- 229910052748 manganese Inorganic materials 0.000 description 1
- 238000005259 measurement Methods 0.000 description 1
- 239000003960 organic solvent Substances 0.000 description 1
- 239000001301 oxygen Substances 0.000 description 1
- 229910052760 oxygen Inorganic materials 0.000 description 1
- 239000002245 particle Substances 0.000 description 1
- 229920002037 poly(vinyl butyral) polymer Polymers 0.000 description 1
- XLYOFNOQVPJJNP-UHFFFAOYSA-N water Substances O XLYOFNOQVPJJNP-UHFFFAOYSA-N 0.000 description 1
- 238000005303 weighing Methods 0.000 description 1
Images
Landscapes
- Ceramic Capacitors (AREA)
- Fixed Capacitors And Capacitor Manufacturing Machines (AREA)
Abstract
【解決手段】セラミック積層体3の外表面を規定する表層部を与える保護層14と保護層14以外の本体部15とを構成するセラミックは、ABO3(Aは、Ba、またはBaならびにCaおよびSrの少なくとも一方を含む。Bは、Ti、またはTiならびにZrおよびHfの少なくとも一方を含む。)で表されるペロブスカイト型化合物を主成分とし、かつSiを副成分として含む組成を共通して有するが、保護層14の組成は、本体部15の組成に比べて、A/B比が高く、またはMg含有量もしくは希土類元素含有量が多くされ、保護層14でのSi濃度が高められるようにする。
【選択図】図3
Description
0<x≦1であれば、ΔA/B≧0.020とされ、
1<x≦3であれば、ΔA/B≧0.015とされ、
3<x≦5であれば、ΔA/B≧0.010とされ、
5<x≦10であれば、ΔA/B≧0.005とされ、
10<xであれば、ΔA/B≧0.003とされることが好ましい。
0<x≦1であれば、ΔMg≧2.0とされ、
1<x≦3であれば、ΔMg≧1.5とされ、
3<x≦5であれば、ΔMg≧1.0とされ、
5<x≦10であれば、ΔMg≧0.5とされ、
10<xであれば、ΔMg≧0.3とされることが好ましい。
0<x≦1であれば、ΔR≧2.0とされ、
1<x≦3であれば、ΔR≧1.5とされ、
3<x≦5であれば、ΔR≧1.0とされ、
5<x≦10であれば、ΔR≧0.5とされ、
10<xであれば、ΔR≧0.3とされることが好ましい。
[実験例1]
実験例1では、ABO3におけるA/B比の本体部と保護層とでの差がクラックや信頼性に与える影響を調べた。A/B比以外のパラメータは固定した。
まず、主成分ABO3として、BaTiO3粉末を用意した。他方、副成分として、Dy2O3、MgCO3、MnCO3およびSiO2の各粉末を用意した。そして、これらを、
組成式:100BaTiO3+1.0DyO3/2+0.5MnO+1.0MgO+1.5SiO2
で表される組成となるように秤量し、基本原料配合物を得た。
上記本体部用の誘電体原料配合物に、ポリビニルブチラール系バインダおよびエタノール等の有機溶剤を加えて、ボールミルにより湿式混合し、本体部用のセラミックスラリーを得た。このセラミックスラリーをドクターブレード法によりシート成形し、矩形のセラミックグリーンシートを得た。
特性評価として、表1に示すように、クラック発生数、信頼性試験での平均故障時間(MTTF)および誘電率(ε)を評価した。
実験例2では、実験例1を発展させて、保護層の厚みによる影響を調べた。
実験例1の場合と同様にして、本体部用の誘電体原料配合物および保護層用の誘電体原料配合物を得た。表2ないし表4には、本体部用の誘電体原料配合物のA/B比である「本体部のA/B」、保護層用の誘電体原料配合物のA/B比である「保護層のA/B」、および「ΔA/B」が示されている。
保護層の厚みを表2ないし表4に示すように変更したことを除いて、実験例1の場合と同様にして、各試料に係る積層セラミックコンデンサを得た。
実験例1の場合と同様に、特性評価を行なった。クラック発生数が表2に、平均故障時間(MTTF)が表3に、誘電率(ε)が表4にそれぞれ示されている。
0<x≦1であれば、ΔA/B≧0.020とされ、
1<x≦3であれば、ΔA/B≧0.015とされ、
3<x≦5であれば、ΔA/B≧0.010とされ、
5<x≦10であれば、ΔA/B≧0.005とされ、
10<xであれば、ΔA/B≧0.003とされることにより、クラック発生数を0とすることができ、信頼性も改善されることがわかった。
実験例3では、Mg含有量の本体部と保護層とでの差がクラックや信頼性に与える影響を調べた。
実験例1の場合と同様の操作を経て、BaTiO3100モル部に対するMgOのモル部を表5に示すように変更したことを除いて、実験例1における基本原料配合物と同様の組成を有する本体部用の誘電体原料配合物および保護層用の誘電体原料配合物を得た。表5には、本体部用の誘電体原料配合物におけるMg含有量である「本体部のMg」、および保護層用の誘電体原料配合物におけるMg含有量である「保護層のMg」に加えて、「保護層のMg」−「本体部のMg」である「ΔMg」も示されている。
保護層の厚みを5μmに固定しながら、実験例1の場合と同様にして、各試料に係る積層セラミックコンデンサを得た。
実験例1の場合と同様に、特性評価を行なった。その結果が表5に示されている。
実験例4では、実験例3を発展させて、保護層の厚みによる影響を調べた。
実験例3の場合と同様にして、本体部用の誘電体原料配合物および保護層用の誘電体原料配合物を得た。表6ないし表8には、本体部用の誘電体原料配合物のMg含有量である「本体部のMg」、保護層用の誘電体原料配合物のMg含有量である「保護層のMg」、および「ΔMg」が示されている。
保護層の厚みを表6ないし表8に示すように変更したことを除いて、実験例3の場合と同様にして、各試料に係る積層セラミックコンデンサを得た。
実験例1の場合と同様に、特性評価を行なった。クラック発生数が表6に、平均故障時間(MTTF)が表7に、誘電率(ε)が表8にそれぞれ示されている。
0<x≦1であれば、ΔMg≧2.0とされ、
1<x≦3であれば、ΔMg≧1.5とされ、
3<x≦5であれば、ΔMg≧1.0とされ、
5<x≦10であれば、ΔMg≧0.5とされ、
10<xであれば、ΔMg≧0.3とされることにより、クラック発生数を0とすることができ、信頼性も改善されることがわかった。
実験例5では、希土類元素含有量の本体部と保護層とでの差がクラックや信頼性に与える影響を調べた。
実験例1の場合と同様の操作を経て、BaTiO3100モル部に対するDyO3/2のモル部を表9に示すように変更したことを除いて、実験例1における基本原料配合物と同様の組成を有する本体部用の誘電体原料配合物および保護層用の誘電体原料配合物を得た。表9には、本体部用の誘電体原料配合物における希土類元素含有量である「本体部のR」、および保護層用の誘電体原料配合物における希土類元素含有量である「保護層のR」に加えて、「保護層のR」−「本体部のR」である「ΔR」も示されている。
保護層の厚みを5μmに固定しながら、実験例1の場合と同様にして、各試料に係る積層セラミックコンデンサを得た。
実験例1の場合と同様に、特性評価を行なった。その結果が表9に示されている。
実験例6では、実験例5を発展させて、保護層の厚みによる影響を調べた。
実験例5の場合と同様にして、本体部用の誘電体原料配合物および保護層用の誘電体原料配合物を得た。表10ないし表12には、本体部用の誘電体原料配合物における希土類元素含有量である「本体部のR」、保護層用の誘電体原料配合物における希土類元素含有量である「保護層のR」、および「ΔR」が示されている。
保護層の厚みを表10ないし表12に示すように変更したことを除いて、実験例5の場合と同様にして、各試料に係る積層セラミックコンデンサを得た。
実験例1の場合と同様に、特性評価を行なった。クラック発生数が表10に、平均故障時間(MTTF)が表11に、誘電率(ε)が表12にそれぞれ示されている。
0<x≦1であれば、ΔR≧2.0とされ、
1<x≦3であれば、ΔR≧1.5とされ、
3<x≦5であれば、ΔR≧1.0とされ、
5<x≦10であれば、ΔR≧0.5とされ、
10<xであれば、ΔR≧0.3とされることにより、クラック発生数を0とすることができ、信頼性も改善されることがわかった。
実験例7は、実験例5から派生したもので、Dy以外の希土類元素を用いながら、希土類元素含有量の本体部と保護層とでの差がクラックや信頼性に与える影響を調べたものである。
実験例5の場合と同様にして、本体部用の誘電体原料配合物および保護層用の誘電体原料配合物を得た。表13には、用いられた希土類元素R(La、Ce、Pr、Nd、Sm、Eu、Gd、Tb、Ho、Er、Tm、Yb、LuおよびYから選ばれる少なくとも1種。)の種類および割合、本体部用の誘電体原料配合物における希土類元素含有量である「本体部のR」、保護層用の誘電体原料配合物における希土類元素含有量である「保護層のR」、および「ΔR」が示されている。
保護層の厚みを5μmに固定しながら、実験例1の場合と同様にして、各試料に係る積層セラミックコンデンサを得た。
実験例1の場合と同様に、特性評価を行なった。その結果が表13に示されている。
実験例8についても、実験例5から派生したもので、用いた希土類元素の種類を本体部と保護層とで異ならせた場合において、希土類元素含有量の本体部と保護層とでの差がクラックや信頼性に与える影響を調べたものである。
本体部用の誘電体原料配合物において、希土類元素RとしてDyを用い、保護層用の誘電体原料配合物において、希土類元素RとしてYを用いながら、実験例5の場合と同様にして、本体部用の誘電体原料配合物および保護層用の誘電体原料配合物を得た。表14には、本体部用の誘電体原料配合物におけるDy含有量である「本体部のDy」、保護層用の誘電体原料配合物におけるY含有量である「保護層のY」、および「保護層のY」−「本体部のDy」である「ΔR」が示されている。
保護層の厚みを5μmに固定しながら、実験例1の場合と同様にして、各試料に係る積層セラミックコンデンサを得た。
実験例1の場合と同様に、特性評価を行なった。その結果が表14に示されている。
実験例9は、主成分ABO3としてのBaTiO3について、Baの一部をCaまたはSrに置換し、あるいはTiの一部をZrまたはHfに置換した場合において、希土類元素含有量の本体部と保護層とでの差がクラックや信頼性に与える影響を調べたものである。
まず、BaCO3およびTiO2の各粉末に加えて、CaCO3、SrCO3、ZrO2およびHfO2の各粉末を用いて、主成分ABO3となる、表15の「主成分原料」の欄に示す組成の粉末を合成した。
保護層の厚みを5μmに固定しながら、実験例1の場合と同様にして、各試料に係る積層セラミックコンデンサを得た。
実験例1の場合と同様に、特性評価を行なった。その結果が表15に示されている。
実験例10は、実験例1〜9において副成分として添加されていたMn成分の少なくとも一部を他のM成分(V、Cr、Co、Fe、Cu、NiおよびMo)に置換した場合において、希土類元素含有量の本体部と保護層とでの差がクラックや信頼性に与える影響を調べたものである。
実験例1の場合と同様の操作を経て、BaTiO3100モル部に対して、DyO3/2のモル部を表16の「本体部のR」および「保護層のR」の各欄に示すように変更し、かつM成分(Mn、V、Cr、Co、Fe、Cu、NiおよびMo)を表16の「M成分」の欄に示す種類および割合で用いたことを除いて、実験例1における基本原料配合物と同様の組成を有する本体部用の誘電体原料配合物および保護層用の誘電体原料配合物を得た。表16には、「保護層のR」−「本体部のR」である「ΔR」も示されている。
保護層の厚みを5μmに固定しながら、実験例1の場合と同様にして、各試料に係る積層セラミックコンデンサを得た。
実験例1の場合と同様に、特性評価を行なった。その結果が表16に示されている。
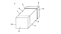
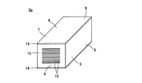
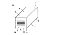
2 セラミック層
3,3a,3b,3c セラミック積層体
4,5 主面
6,7 側面
8,9 端面
10,11 内部電極
12,13 外部電極
14 保護層
15本体部
Claims (12)
- 積層された複数のセラミック層をもって構成される、セラミック積層体と、
前記セラミック積層体の内部であって、前記セラミック層間の特定の界面に沿って形成された、内部電極と、
前記内部電極と電気的に接続されながら、前記セラミック積層体の外表面の一部を覆うように形成される、外部電極と
を備え、
前記セラミック積層体の外表面を規定する表層部における、前記外部電極によって覆われている部分と覆われていない部分との境目を少なくとも含む領域が、保護層によって与えられ、
前記保護層および前記セラミック積層体における前記保護層以外の本体部を構成するセラミックは、ABO3(Aは、Ba、またはBaならびにCaおよびSrの少なくとも一方を含む。Bは、Ti、またはTiならびにZrおよびHfの少なくとも一方を含む。)で表されるペロブスカイト型化合物を主成分とし、かつSiを副成分として含む組成を共通して有するが、
前記保護層の組成は、前記本体部の組成に比べて、A/B比が高い、
積層セラミック電子部品。 - 前記保護層の厚みをx[μm]とし、ΔA/B=(保護層のA/B比)−(本体部のA/B比)としたとき、
0<x≦1であれば、ΔA/B≧0.020とされ、
1<x≦3であれば、ΔA/B≧0.015とされ、
3<x≦5であれば、ΔA/B≧0.010とされ、
5<x≦10であれば、ΔA/B≧0.005とされ、
10<xであれば、ΔA/B≧0.003とされる、
請求項1に記載の積層セラミック電子部品。 - 積層された複数のセラミック層をもって構成される、セラミック積層体と、
前記セラミック積層体の内部であって、前記セラミック層間の特定の界面に沿って形成された、内部電極と、
前記内部電極と電気的に接続されながら、前記セラミック積層体の外表面の一部を覆うように形成される、外部電極と
を備え、
前記セラミック積層体の外表面を規定する表層部における、前記外部電極によって覆われている部分と覆われていない部分との境目を少なくとも含む領域が、保護層によって与えられ、
前記保護層および前記セラミック積層体における前記保護層以外の本体部を構成するセラミックは、ABO3(Aは、Ba、またはBaならびにCaおよびSrの少なくとも一方を含む。Bは、Ti、またはTiならびにZrおよびHfの少なくとも一方を含む。)で表されるペロブスカイト型化合物を主成分とし、かつSiを副成分として含む組成を共通して有するが、
前記保護層の組成は、前記本体部の組成に比べて、Mg含有量が多い、
積層セラミック電子部品。 - 前記保護層の厚みをx[μm]とし、ΔMg=(保護層のMg量)−(本体部のMg量)[ABO3100モル部に対するモル部]としたとき、
0<x≦1であれば、ΔMg≧2.0とされ、
1<x≦3であれば、ΔMg≧1.5とされ、
3<x≦5であれば、ΔMg≧1.0とされ、
5<x≦10であれば、ΔMg≧0.5とされ、
10<xであれば、ΔMg≧0.3とされる、
請求項3に記載の積層セラミック電子部品。 - 積層された複数のセラミック層をもって構成される、セラミック積層体と、
前記セラミック積層体の内部であって、前記セラミック層間の特定の界面に沿って形成された、内部電極と、
前記内部電極と電気的に接続されながら、前記セラミック積層体の外表面の一部を覆うように形成される、外部電極と
を備え、
前記セラミック積層体の外表面を規定する表層部における、前記外部電極によって覆われている部分と覆われていない部分との境目を少なくとも含む領域が、保護層によって与えられ、
前記保護層および前記セラミック積層体における前記保護層以外の本体部を構成するセラミックは、ABO3(Aは、Ba、またはBaならびにCaおよびSrの少なくとも一方を含む。Bは、Ti、またはTiならびにZrおよびHfの少なくとも一方を含む。)で表されるペロブスカイト型化合物を主成分とし、かつSiを副成分として含む組成を共通して有するが、
前記保護層の組成は、前記本体部の組成に比べて、希土類元素(La、Ce、Pr、Nd、Sm、Eu、Gd、Tb、Dy、Ho、Er、Tm、Yb、LuおよびYから選ばれる少なくとも1種。)含有量が多い、
積層セラミック電子部品。 - 前記保護層の厚みをx[μm]とし、ΔR=(保護層の希土類元素量)−(本体部の希土類元素量)[ABO3100モル部に対するモル部]としたとき、
0<x≦1であれば、ΔR≧2.0とされ、
1<x≦3であれば、ΔR≧1.5とされ、
3<x≦5であれば、ΔR≧1.0とされ、
5<x≦10であれば、ΔR≧0.5とされ、
10<xであれば、ΔR≧0.3とされる、
請求項5に記載の積層セラミック電子部品。 - 前記保護層は、前記本体部に比べて、Si濃度が高い、請求項1ないし6のいずれかに記載の積層セラミック電子部品。
- 前記セラミック積層体は、相対向する第1および第2の主面と相対向する第1および第2の側面と相対向する第1および第2の端面とを有する直方体状をなし、前記外部電極は、前記第1および第2の端面の各々ならびに前記第1および第2の端面の各々に隣接する前記主面および前記側面の各一部を覆うように形成される、請求項1ないし7のいずれかに記載の積層セラミック電子部品。
- 前記保護層は、前記セラミック積層体の前記第1および第2の主面ならびに前記第1および第2の側面に沿って形成される、請求項8に記載の積層セラミック電子部品。
- 前記保護層は、前記セラミック積層体の前記第1および第2の主面に沿って形成される、請求項8に記載の積層セラミック電子部品。
- 前記保護層は、前記セラミック積層体の前記第1および第2の側面に沿って形成される、請求項8に記載の積層セラミック電子部品。
- 前記保護層は、前記セラミック積層体の前記第1および第2の主面ならびに前記第1および第2の側面における、前記第1および第2の端面の各々の近傍にのみ沿って形成される、請求項8に記載の積層セラミック電子部品。
Priority Applications (1)
| Application Number | Priority Date | Filing Date | Title |
|---|---|---|---|
| JP2008212844A JP5315856B2 (ja) | 2008-08-21 | 2008-08-21 | 積層セラミック電子部品 |
Applications Claiming Priority (1)
| Application Number | Priority Date | Filing Date | Title |
|---|---|---|---|
| JP2008212844A JP5315856B2 (ja) | 2008-08-21 | 2008-08-21 | 積層セラミック電子部品 |
Publications (2)
| Publication Number | Publication Date |
|---|---|
| JP2010050263A true JP2010050263A (ja) | 2010-03-04 |
| JP5315856B2 JP5315856B2 (ja) | 2013-10-16 |
Family
ID=42067117
Family Applications (1)
| Application Number | Title | Priority Date | Filing Date |
|---|---|---|---|
| JP2008212844A Active JP5315856B2 (ja) | 2008-08-21 | 2008-08-21 | 積層セラミック電子部品 |
Country Status (1)
| Country | Link |
|---|---|
| JP (1) | JP5315856B2 (ja) |
Cited By (28)
| Publication number | Priority date | Publication date | Assignee | Title |
|---|---|---|---|---|
| JP2012004236A (ja) * | 2010-06-15 | 2012-01-05 | Tdk Corp | セラミック電子部品およびその製造方法 |
| JPWO2012117945A1 (ja) * | 2011-03-03 | 2014-07-07 | 株式会社村田製作所 | 積層セラミックコンデンサ |
| CN103915253A (zh) * | 2012-12-28 | 2014-07-09 | 株式会社村田制作所 | 陶瓷电子部件的制造方法及陶瓷电子部件 |
| KR101422920B1 (ko) * | 2012-09-06 | 2014-07-23 | 삼성전기주식회사 | 적층 세라믹 커패시터 및 그 제조방법 |
| US8804305B2 (en) | 2010-12-08 | 2014-08-12 | Samsung Electro-Mechanics Co., Ltd. | Multilayer ceramic condenser and method for manufacturing the same |
| JP2014160800A (ja) * | 2013-01-25 | 2014-09-04 | Murata Mfg Co Ltd | 積層コンデンサ、テーピング積層コンデンサ連及び積層コンデンサの実装構造 |
| KR101444534B1 (ko) * | 2012-09-27 | 2014-09-24 | 삼성전기주식회사 | 적층 세라믹 전자 부품 |
| JP2015109475A (ja) * | 2013-03-19 | 2015-06-11 | 株式会社村田製作所 | 積層セラミックコンデンサおよびその製造方法 |
| KR101548773B1 (ko) | 2011-08-22 | 2015-08-31 | 삼성전기주식회사 | 적층 세라믹 커패시터의 회로 기판 실장 구조 |
| JP2016001721A (ja) * | 2014-05-21 | 2016-01-07 | 株式会社村田製作所 | 積層セラミックコンデンサ |
| JP2017011172A (ja) * | 2015-06-24 | 2017-01-12 | 太陽誘電株式会社 | 積層セラミックコンデンサ及びその製造方法 |
| KR101701049B1 (ko) * | 2015-08-07 | 2017-01-31 | 삼성전기주식회사 | 적층 세라믹 전자부품 및 적층 세라믹 전자부품의 제조방법 |
| JP2017028013A (ja) * | 2015-07-17 | 2017-02-02 | 株式会社村田製作所 | 積層セラミックコンデンサ |
| JP2017212366A (ja) * | 2016-05-26 | 2017-11-30 | 太陽誘電株式会社 | 積層セラミックコンデンサ |
| KR20180025197A (ko) * | 2016-08-30 | 2018-03-08 | 다이요 유덴 가부시키가이샤 | 적층 세라믹 콘덴서 및 그 제조 방법 |
| JP2018170527A (ja) * | 2018-07-10 | 2018-11-01 | 太陽誘電株式会社 | 積層セラミックコンデンサ |
| JP2018170526A (ja) * | 2018-07-10 | 2018-11-01 | 太陽誘電株式会社 | 積層セラミックコンデンサ |
| JP2018174336A (ja) * | 2014-05-21 | 2018-11-08 | 株式会社村田製作所 | 積層セラミックコンデンサ |
| US20190252120A1 (en) * | 2018-02-09 | 2019-08-15 | Taiyo Yuden Co., Ltd. | Multi-layer ceramic electronic component and method of producing the same |
| JP2019161235A (ja) * | 2016-08-30 | 2019-09-19 | 太陽誘電株式会社 | 積層セラミックコンデンサ及びその製造方法 |
| JP2019176176A (ja) * | 2019-06-17 | 2019-10-10 | 太陽誘電株式会社 | 積層セラミックコンデンサ |
| KR20190116181A (ko) * | 2019-09-20 | 2019-10-14 | 삼성전기주식회사 | 적층형 전자 부품 |
| CN110415975A (zh) * | 2019-09-12 | 2019-11-05 | 南安市兴天工业设计有限公司 | 一种层叠陶瓷电容器 |
| JP2020031242A (ja) * | 2019-12-02 | 2020-02-27 | 株式会社村田製作所 | 積層セラミックコンデンサ |
| JP2020202402A (ja) * | 2019-06-17 | 2020-12-17 | 太陽誘電株式会社 | 積層セラミックコンデンサ |
| JP2022020803A (ja) * | 2019-06-17 | 2022-02-01 | 太陽誘電株式会社 | 積層セラミックコンデンサ |
| JP2023071577A (ja) * | 2021-11-11 | 2023-05-23 | サムソン エレクトロ-メカニックス カンパニーリミテッド. | キャパシタ部品 |
| JPWO2024111306A1 (ja) * | 2022-11-24 | 2024-05-30 |
Citations (3)
| Publication number | Priority date | Publication date | Assignee | Title |
|---|---|---|---|---|
| JPS62226613A (ja) * | 1986-03-28 | 1987-10-05 | 日本電気株式会社 | トリマ−型積層セラミツクコンデンサの製造方法 |
| JP2004221268A (ja) * | 2003-01-14 | 2004-08-05 | Murata Mfg Co Ltd | 積層セラミック電子部品の製造方法 |
| JP2004296708A (ja) * | 2003-03-26 | 2004-10-21 | Kyocera Corp | 積層型電子部品およびその製法 |
-
2008
- 2008-08-21 JP JP2008212844A patent/JP5315856B2/ja active Active
Patent Citations (3)
| Publication number | Priority date | Publication date | Assignee | Title |
|---|---|---|---|---|
| JPS62226613A (ja) * | 1986-03-28 | 1987-10-05 | 日本電気株式会社 | トリマ−型積層セラミツクコンデンサの製造方法 |
| JP2004221268A (ja) * | 2003-01-14 | 2004-08-05 | Murata Mfg Co Ltd | 積層セラミック電子部品の製造方法 |
| JP2004296708A (ja) * | 2003-03-26 | 2004-10-21 | Kyocera Corp | 積層型電子部品およびその製法 |
Cited By (85)
| Publication number | Priority date | Publication date | Assignee | Title |
|---|---|---|---|---|
| JP2012004236A (ja) * | 2010-06-15 | 2012-01-05 | Tdk Corp | セラミック電子部品およびその製造方法 |
| US8804305B2 (en) | 2010-12-08 | 2014-08-12 | Samsung Electro-Mechanics Co., Ltd. | Multilayer ceramic condenser and method for manufacturing the same |
| US9679697B2 (en) | 2010-12-08 | 2017-06-13 | Samsung Electro-Mechanics Co., Ltd. | Method for manufacturing multilayer ceramic condenser |
| JPWO2012117945A1 (ja) * | 2011-03-03 | 2014-07-07 | 株式会社村田製作所 | 積層セラミックコンデンサ |
| KR101548773B1 (ko) | 2011-08-22 | 2015-08-31 | 삼성전기주식회사 | 적층 세라믹 커패시터의 회로 기판 실장 구조 |
| KR101422920B1 (ko) * | 2012-09-06 | 2014-07-23 | 삼성전기주식회사 | 적층 세라믹 커패시터 및 그 제조방법 |
| KR101444534B1 (ko) * | 2012-09-27 | 2014-09-24 | 삼성전기주식회사 | 적층 세라믹 전자 부품 |
| US9328026B2 (en) | 2012-12-28 | 2016-05-03 | Murata Manufacturing Co., Ltd. | Method for manufacturing ceramic electronic component, and ceramic electronic component |
| CN103915253A (zh) * | 2012-12-28 | 2014-07-09 | 株式会社村田制作所 | 陶瓷电子部件的制造方法及陶瓷电子部件 |
| KR101570459B1 (ko) * | 2012-12-28 | 2015-11-19 | 가부시키가이샤 무라타 세이사쿠쇼 | 세라믹 전자부품의 제조방법 및 세라믹 전자부품 |
| JP2014160800A (ja) * | 2013-01-25 | 2014-09-04 | Murata Mfg Co Ltd | 積層コンデンサ、テーピング積層コンデンサ連及び積層コンデンサの実装構造 |
| US9490071B2 (en) | 2013-01-25 | 2016-11-08 | Murata Manufacturing Co., Ltd. | Multilayer capacitor, taping multilayer capacitor series, and mounting structure of multilayer capacitor |
| US9236187B2 (en) | 2013-03-19 | 2016-01-12 | Murata Manufacturing Co., Ltd. | Multilayer ceramic capacitor |
| JP2015109475A (ja) * | 2013-03-19 | 2015-06-11 | 株式会社村田製作所 | 積層セラミックコンデンサおよびその製造方法 |
| JP2018174336A (ja) * | 2014-05-21 | 2018-11-08 | 株式会社村田製作所 | 積層セラミックコンデンサ |
| JP7806852B2 (ja) | 2014-05-21 | 2026-01-27 | 株式会社村田製作所 | 積層セラミックコンデンサ |
| JP2020025146A (ja) * | 2014-05-21 | 2020-02-13 | 株式会社村田製作所 | 積層セラミックコンデンサ |
| JP2021184498A (ja) * | 2014-05-21 | 2021-12-02 | 株式会社村田製作所 | 積層セラミックコンデンサ |
| JP2016001721A (ja) * | 2014-05-21 | 2016-01-07 | 株式会社村田製作所 | 積層セラミックコンデンサ |
| JP2024149822A (ja) * | 2014-05-21 | 2024-10-18 | 株式会社村田製作所 | 積層セラミックコンデンサ |
| JP7544218B2 (ja) | 2014-05-21 | 2024-09-03 | 株式会社村田製作所 | 積層セラミックコンデンサ |
| JP7338665B2 (ja) | 2014-05-21 | 2023-09-05 | 株式会社村田製作所 | 積層セラミックコンデンサ |
| JP2023156502A (ja) * | 2014-05-21 | 2023-10-24 | 株式会社村田製作所 | 積層セラミックコンデンサ |
| JP2017011172A (ja) * | 2015-06-24 | 2017-01-12 | 太陽誘電株式会社 | 積層セラミックコンデンサ及びその製造方法 |
| US10361034B2 (en) | 2015-07-17 | 2019-07-23 | Murata Manufacturing Co., Ltd. | Multilayer ceramic capacitor |
| US11120945B2 (en) * | 2015-07-17 | 2021-09-14 | Murata Manufacturing Co., Ltd. | Multilayer ceramic capacitor |
| KR20240001096A (ko) * | 2015-07-17 | 2024-01-03 | 가부시키가이샤 무라타 세이사쿠쇼 | 적층 세라믹 콘덴서 |
| US10325726B2 (en) | 2015-07-17 | 2019-06-18 | Murata Manufacturing Co., Ltd. | Multilayer ceramic capacitor |
| US20190189355A1 (en) * | 2015-07-17 | 2019-06-20 | Murata Manufacturing Co., Ltd. | Multilayer ceramic capacitor |
| US10892103B2 (en) * | 2015-07-17 | 2021-01-12 | Murata Manufacturing Co., Ltd. | Multilayer ceramic capacitor |
| KR20180067482A (ko) * | 2015-07-17 | 2018-06-20 | 가부시키가이샤 무라타 세이사쿠쇼 | 적층 세라믹 콘덴서 |
| US20240013982A1 (en) * | 2015-07-17 | 2024-01-11 | Murata Manufacturing Co., Ltd. | Multilayer ceramic capacitor |
| US10410791B2 (en) | 2015-07-17 | 2019-09-10 | Murata Manufacturing Co., Ltd. | Multilayer ceramic capacitor |
| US12142440B2 (en) * | 2015-07-17 | 2024-11-12 | Murata Manufacturing Co., Ltd. | Multilayer ceramic capacitor |
| KR102856381B1 (ko) * | 2015-07-17 | 2025-09-05 | 가부시키가이샤 무라타 세이사쿠쇼 | 적층 세라믹 콘덴서 |
| US11798746B2 (en) * | 2015-07-17 | 2023-10-24 | Murata Manufacturing Co., Ltd. | Multilayer ceramic capacitor |
| KR102283103B1 (ko) | 2015-07-17 | 2021-07-29 | 가부시키가이샤 무라타 세이사쿠쇼 | 적층 세라믹 콘덴서 |
| US20210202182A1 (en) * | 2015-07-17 | 2021-07-01 | Murata Manufacturing Co., Ltd. | Multilayer ceramic capacitor |
| US20200020483A1 (en) * | 2015-07-17 | 2020-01-16 | Murata Manufacturing Co., Ltd. | Multilayer ceramic capacitor |
| JP2017028013A (ja) * | 2015-07-17 | 2017-02-02 | 株式会社村田製作所 | 積層セラミックコンデンサ |
| US10892104B2 (en) * | 2015-07-17 | 2021-01-12 | Murata Manufacturing Co., Ltd. | Multilayer ceramic capacitor |
| US10600575B2 (en) * | 2015-07-17 | 2020-03-24 | Murata Manufacturing Co., Ltd. | Multilayer ceramic capacitor |
| US10714263B2 (en) * | 2015-07-17 | 2020-07-14 | Murata Manufacturing Co., Ltd. | Multilayer ceramic capacitor |
| US10720281B2 (en) * | 2015-07-17 | 2020-07-21 | Murata Manufacturing Co., Ltd. | Multilayer ceramic capacitor |
| US20200266000A1 (en) * | 2015-07-17 | 2020-08-20 | Murata Manufacturing Co., Ltd. | Multilayer ceramic capacitor |
| JP2023015244A (ja) * | 2015-08-07 | 2023-01-31 | サムソン エレクトロ-メカニックス カンパニーリミテッド. | 積層セラミック電子部品及びその製造方法 |
| JP2021093549A (ja) * | 2015-08-07 | 2021-06-17 | サムソン エレクトロ−メカニックス カンパニーリミテッド. | 積層セラミック電子部品及びその製造方法 |
| KR101701049B1 (ko) * | 2015-08-07 | 2017-01-31 | 삼성전기주식회사 | 적층 세라믹 전자부품 및 적층 세라믹 전자부품의 제조방법 |
| JP2017038036A (ja) * | 2015-08-07 | 2017-02-16 | サムソン エレクトロ−メカニックス カンパニーリミテッド. | 積層セラミック電子部品及びその製造方法 |
| JP7180852B2 (ja) | 2015-08-07 | 2022-11-30 | サムソン エレクトロ-メカニックス カンパニーリミテッド. | 積層セラミック電子部品及びその製造方法 |
| JP2017212366A (ja) * | 2016-05-26 | 2017-11-30 | 太陽誘電株式会社 | 積層セラミックコンデンサ |
| CN107799306A (zh) * | 2016-08-30 | 2018-03-13 | 太阳诱电株式会社 | 层叠陶瓷电容器及其制造方法 |
| JP2018037492A (ja) * | 2016-08-30 | 2018-03-08 | 太陽誘電株式会社 | 積層セラミックコンデンサ及びその製造方法 |
| KR20180025197A (ko) * | 2016-08-30 | 2018-03-08 | 다이요 유덴 가부시키가이샤 | 적층 세라믹 콘덴서 및 그 제조 방법 |
| US10535470B2 (en) | 2016-08-30 | 2020-01-14 | Taiyo Yuden Co., Ltd. | Multi-layer ceramic capacitor and method of producing the same |
| CN107799306B (zh) * | 2016-08-30 | 2021-04-23 | 太阳诱电株式会社 | 层叠陶瓷电容器及其制造方法 |
| US10373761B2 (en) | 2016-08-30 | 2019-08-06 | Taiyo Yuden Co., Ltd. | Multi-layer ceramic capacitor and method of producing the same |
| JP2019161235A (ja) * | 2016-08-30 | 2019-09-19 | 太陽誘電株式会社 | 積層セラミックコンデンサ及びその製造方法 |
| KR102418930B1 (ko) * | 2016-08-30 | 2022-07-08 | 다이요 유덴 가부시키가이샤 | 적층 세라믹 콘덴서 및 그 제조 방법 |
| US11335507B2 (en) | 2016-08-30 | 2022-05-17 | Taiyo Yuden Co., Ltd. | Multi-layer ceramic capacitor and method of producing the same |
| US10903008B2 (en) * | 2018-02-09 | 2021-01-26 | Taiyo Yuden Co., Ltd. | Multi-layer ceramic electronic component and method of producing the same |
| US20190252120A1 (en) * | 2018-02-09 | 2019-08-15 | Taiyo Yuden Co., Ltd. | Multi-layer ceramic electronic component and method of producing the same |
| JP2018170526A (ja) * | 2018-07-10 | 2018-11-01 | 太陽誘電株式会社 | 積層セラミックコンデンサ |
| JP2018170527A (ja) * | 2018-07-10 | 2018-11-01 | 太陽誘電株式会社 | 積層セラミックコンデンサ |
| JP7209072B2 (ja) | 2019-06-17 | 2023-01-19 | 太陽誘電株式会社 | 積層セラミックコンデンサ |
| JP2019176176A (ja) * | 2019-06-17 | 2019-10-10 | 太陽誘電株式会社 | 積層セラミックコンデンサ |
| JP2022020803A (ja) * | 2019-06-17 | 2022-02-01 | 太陽誘電株式会社 | 積層セラミックコンデンサ |
| JP2020202402A (ja) * | 2019-06-17 | 2020-12-17 | 太陽誘電株式会社 | 積層セラミックコンデンサ |
| CN110415975B (zh) * | 2019-09-12 | 2021-03-26 | 浙江蔻丝家居有限公司 | 一种层叠陶瓷电容器 |
| CN110415975A (zh) * | 2019-09-12 | 2019-11-05 | 南安市兴天工业设计有限公司 | 一种层叠陶瓷电容器 |
| US20210090806A1 (en) * | 2019-09-20 | 2021-03-25 | Samsung Electro-Mechanics Co., Ltd. | Multilayer electronic component |
| JP2021052174A (ja) * | 2019-09-20 | 2021-04-01 | サムソン エレクトロ−メカニックス カンパニーリミテッド. | 積層型電子部品 |
| KR102867849B1 (ko) * | 2019-09-20 | 2025-10-01 | 삼성전기주식회사 | 적층형 전자 부품 |
| KR20190116181A (ko) * | 2019-09-20 | 2019-10-14 | 삼성전기주식회사 | 적층형 전자 부품 |
| JP7632786B2 (ja) | 2019-09-20 | 2025-02-19 | サムソン エレクトロ-メカニックス カンパニーリミテッド. | 積層型電子部品 |
| US11651900B2 (en) * | 2019-09-20 | 2023-05-16 | Samsung Electro-Mechanics Co., Ltd. | Multilayer electronic component having moisture-proof layer on body thereof |
| JP7729362B2 (ja) | 2019-12-02 | 2025-08-26 | 株式会社村田製作所 | 積層セラミックコンデンサ |
| JP7314983B2 (ja) | 2019-12-02 | 2023-07-26 | 株式会社村田製作所 | 積層セラミックコンデンサ |
| JP2022016637A (ja) * | 2019-12-02 | 2022-01-21 | 株式会社村田製作所 | 積層セラミックコンデンサ |
| JP2023130486A (ja) * | 2019-12-02 | 2023-09-20 | 株式会社村田製作所 | 積層セラミックコンデンサ |
| JP2020031242A (ja) * | 2019-12-02 | 2020-02-27 | 株式会社村田製作所 | 積層セラミックコンデンサ |
| JP2023071577A (ja) * | 2021-11-11 | 2023-05-23 | サムソン エレクトロ-メカニックス カンパニーリミテッド. | キャパシタ部品 |
| WO2024111306A1 (ja) * | 2022-11-24 | 2024-05-30 | 株式会社村田製作所 | 積層セラミックコンデンサ |
| JPWO2024111306A1 (ja) * | 2022-11-24 | 2024-05-30 | ||
| JP7798207B2 (ja) | 2022-11-24 | 2026-01-14 | 株式会社村田製作所 | 積層セラミックコンデンサ |
Also Published As
| Publication number | Publication date |
|---|---|
| JP5315856B2 (ja) | 2013-10-16 |
Similar Documents
| Publication | Publication Date | Title |
|---|---|---|
| JP5315856B2 (ja) | 積層セラミック電子部品 | |
| JP5158071B2 (ja) | 誘電体セラミック組成物及び積層セラミックコンデンサ | |
| JP5564944B2 (ja) | 誘電体セラミック組成物及び積層セラミックコンデンサ | |
| JP5093351B2 (ja) | 積層セラミックコンデンサ | |
| JP5224074B2 (ja) | 誘電体セラミック、及び積層セラミックコンデンサ | |
| KR101494851B1 (ko) | 적층 세라믹 콘덴서 및 적층 세라믹 콘덴서의 제조방법 | |
| JP3039397B2 (ja) | 誘電体磁器組成物とそれを用いた積層セラミックコンデンサ | |
| JP5146852B2 (ja) | 積層セラミックコンデンサ | |
| JP6686676B2 (ja) | 積層セラミックコンデンサおよびその製造方法 | |
| US8456800B2 (en) | Multilayer ceramic electronic component | |
| US8492301B2 (en) | Dielectric ceramic composition and ceramic electronic component | |
| WO2006114914A1 (ja) | 誘電体セラミック組成物及び積層セラミックコンデンサ | |
| JP5109872B2 (ja) | 積層セラミックコンデンサおよびその製造方法 | |
| JP2011079717A (ja) | 誘電体セラミックおよび積層セラミックコンデンサ | |
| CN105359236B (zh) | 层叠陶瓷电容器 | |
| JP4403705B2 (ja) | 誘電体磁器組成物および電子部品 | |
| JP5087938B2 (ja) | 誘電体セラミック組成物及び積層セラミックコンデンサ | |
| US20110286146A1 (en) | Dielectric ceramic composition and ceramic electronic component | |
| JP2011071162A (ja) | 積層セラミック電子部品 | |
| KR20130122770A (ko) | 적층 세라믹 콘덴서 및 적층 세라믹 콘덴서의 제조방법 | |
| JP5857570B2 (ja) | 積層セラミックコンデンサ | |
| JP4548423B2 (ja) | 誘電体セラミックおよび積層セラミックコンデンサ | |
| US8248753B2 (en) | Dielectric ceramic and laminated ceramic capacitor | |
| JP4752327B2 (ja) | 誘電体セラミック組成物および積層セラミックコンデンサ | |
| JP4770484B2 (ja) | 積層セラミック電子部品 |
Legal Events
| Date | Code | Title | Description |
|---|---|---|---|
| A621 | Written request for application examination |
Free format text: JAPANESE INTERMEDIATE CODE: A621 Effective date: 20110707 |
|
| A977 | Report on retrieval |
Free format text: JAPANESE INTERMEDIATE CODE: A971007 Effective date: 20121001 |
|
| A131 | Notification of reasons for refusal |
Free format text: JAPANESE INTERMEDIATE CODE: A131 Effective date: 20121023 |
|
| A521 | Written amendment |
Free format text: JAPANESE INTERMEDIATE CODE: A523 Effective date: 20121203 |
|
| TRDD | Decision of grant or rejection written | ||
| A01 | Written decision to grant a patent or to grant a registration (utility model) |
Free format text: JAPANESE INTERMEDIATE CODE: A01 Effective date: 20130611 |
|
| A61 | First payment of annual fees (during grant procedure) |
Free format text: JAPANESE INTERMEDIATE CODE: A61 Effective date: 20130624 |
|
| R150 | Certificate of patent or registration of utility model |
Ref document number: 5315856 Country of ref document: JP Free format text: JAPANESE INTERMEDIATE CODE: R150 Free format text: JAPANESE INTERMEDIATE CODE: R150 |
