JP2010046910A - 射出成形体および射出成形方法並びに射出成形用金型 - Google Patents

射出成形体および射出成形方法並びに射出成形用金型 Download PDF

Info

Publication number
JP2010046910A
JP2010046910A JP2008213095A JP2008213095A JP2010046910A JP 2010046910 A JP2010046910 A JP 2010046910A JP 2008213095 A JP2008213095 A JP 2008213095A JP 2008213095 A JP2008213095 A JP 2008213095A JP 2010046910 A JP2010046910 A JP 2010046910A
Authority
JP
Japan
Prior art keywords
injection
gate
mold
molded body
cut
Prior art date
Legal status (The legal status is an assumption and is not a legal conclusion. Google has not performed a legal analysis and makes no representation as to the accuracy of the status listed.)
Granted
Application number
JP2008213095A
Other languages
English (en)
Other versions
JP5316932B2 (ja
Inventor
Hirohisa Abe
浩久 阿部
Satoru Fukuzawa
覚 福澤
Current Assignee (The listed assignees may be inaccurate. Google has not performed a legal analysis and makes no representation or warranty as to the accuracy of the list.)
NTN Corp
Original Assignee
NTN Corp
NTN Toyo Bearing Co Ltd
Priority date (The priority date is an assumption and is not a legal conclusion. Google has not performed a legal analysis and makes no representation as to the accuracy of the date listed.)
Filing date
Publication date
Application filed by NTN Corp, NTN Toyo Bearing Co Ltd filed Critical NTN Corp
Priority to JP2008213095A priority Critical patent/JP5316932B2/ja
Publication of JP2010046910A publication Critical patent/JP2010046910A/ja
Application granted granted Critical
Publication of JP5316932B2 publication Critical patent/JP5316932B2/ja
Active legal-status Critical Current
Anticipated expiration legal-status Critical

Links

Images

Landscapes

  • Moulds For Moulding Plastics Or The Like (AREA)

Abstract

【課題】糸引き現象の起こりやすい引張り破断伸びが100%以上であるような樹脂を成形する際に、ゲート内の樹脂と成形体とを断ち切って、糸引き現象を解消できると共に、貫通穴を有しない成形体などに対しても適用できる汎用のゲートカット性を有する射出成形方法およびそれに用いる射出成形用金型、またはそれによって得られる射出成形体とすることである。
【解決手段】合成樹脂製であってゲートカット痕2を有する円柱形の射出成形体1からなり、ゲートカット痕2は、射出成形体1を突出しピン3で射出成形用の金型4から突出す際、突出しピン3が金型内面に沿ってゲート口を口径方向に横断するように動作させたことによりカットされた切断面からなる。ゲートカット痕2は、ゲート口の周縁の金型内面にも接しながら動作した突出しピン3によってきれいな切断面が形成されたものになる。
【選択図】図1

Description

この発明は、射出成形に関し、特に引張り伸び率の高い摺動性の合成樹脂を用いた場合に適した射出成形体および射出成形方法並びに射出成形用金型に関する。
一般に、電子写真装置の排紙ガイドに用いられるような摺動部品には、排紙などの際に円滑に対象物を案内し、その際にトナーなどが付着しないように、非粘着性に優れ、しかも成形性も良好なフッ素樹脂製品が用いられている。
このようなフッ素樹脂製品は、たとえば結晶融点250℃以上、280〜380℃における融点での粘度が1×10〜1×10ポイズの範囲の溶融性のフルオロカーボン樹脂で形成されることが知られている(特許文献1)。
このような樹脂は、引っ張り破断伸びが大きく、成形し常温程度まで冷却した後であってもゲートから射出成形体が離れるように金型を分割すると、ゲート内の樹脂と成形体を形成している樹脂が完全に切断されていない状態で引き離されることにより、糸を引くように樹脂が伸びる現象、すなわち「糸引き現象」が起こる。
このような「糸引き現象」が起きないように、穴付きの樹脂成形品を射出成形によって製造する場合に、コアピンをキャビティー内で軸方向へ進退自在に駆動できるように設け、ゲート部は前記コアピンの中心軸の延長上に配置し、駆動されたコアピンで成形体に貫通穴を形成する際、コアピンの先端でゲートを塞いでゲート内樹脂と成形体とを完全に断ち切るように型内加工した射出成形方法が知られている(特許文献2)。
特開平10−254199号公報 特開平10−024455号公報
しかし、上記した従来の射出成形方法では、糸引き現象を解消できるが、金型内でゲートカットと同時に穴あけ加工を施すものであるため、これでは貫通穴を有しない成形体には適用できない方法であり、種々の成形体に汎用性のある射出成形方法であるとはいえない。
そこで、この発明の課題は、糸引き現象の起こりやすい引張り破断伸びが100%以上であるような樹脂を成形する際、ゲート内の樹脂と成形体とを確実に断ち切って、糸引き現象を解消できると共に、貫通穴を有しない成形体などに対しても適用できるゲートカット性を有する射出成形方法およびそれに用いる射出成形用金型、またはそれによって得られる射出成形体とすることである。
上記の課題を解決するために、この発明においては、引張り破断伸び100%以上の合成樹脂製であってゲートカット痕を有する射出成形体からなり、前記ゲートカット痕は、射出成形体を突出しピンで型から突出す際、突出しピンが金型内面に沿ってゲート口を横断するように動作したことによりカットされた切断面である射出成形体としたのである。
上記したように構成されるこの発明の射出成形体は、射出成形体を突出しピンで型から突出す際に、突出しピンが金型内面に沿ってゲート口を横断するように動作したことにより、引張り破断伸び100%以上の合成樹脂製であっても確実にゲートカットされているので糸引き現象は起こらない。また、射出成形体のゲートカット痕は、ゲート口の周縁の金型内面にも接しながら動作した突出しピンによってきれいな切断面が形成されたものになる。
引張り破断伸び100%以上の合成樹脂としては、例えばテトラフルオロエチレン・パーフルオロアルキルビニルエーテル共重合体(以下、PFAと略記する。)、テトラフルオロエチレン・エチレン共重合体(以下、ETFEと略記する。)およびテトラフルオロエチレン・ヘキサフルオロプロピレン共重合体(以下、FEPと略記する。)から選ばれる一種以上の合成樹脂を採用することができる。
このような合成樹脂は、摩擦係数が低くて摺動特性に優れていると共に、溶融粘度が比較的低くて複雑な形状でも精密に射出成形できる優れた成形性を有するものである。
上記の樹脂を用いた射出成形体は、電子写真装置の排紙用摺動部品に採用することができ、特に排紙用摺動部品が、排紙ガイドまたはフリッパーリブである場合にも適用できる。
排紙ガイドは、複写機や印刷機などの電子写真装置において、溶着したトナーやインクに触れても粘着しない非粘着性があるように形成された部品であって、画像形成後の紙などのシート状記録媒体に摺接または転がり接触してその移送を案内する部品である。
またフリッパーは、上記同様に画像形成後の紙などのシート状記録媒体に摺接し、機外に排出されたシートを受け止めて保持するものであり、プレート上に一体に設けたリブで多数のシートを確実に保持できるものである。
また、前記した所定のゲートカット性を有するという課題を解決するために、金型のキャビティー内にゲート口を形成し、前記キャビティー内に合成樹脂を射出成形した後、突出しピンで射出成形体を突き出して脱型する際、突出しピンを金型内面に沿わせてゲート口を横断するように動作させることによって合成樹脂をカットする射出成形方法を採用することができる。
上記した工程からなる射出成形方法によれば、突出しピンが金型内面に沿ってゲート口を横断するように動作させることにより、糸引き現象なくカットされたものになる。すなわち、射出成形によるゲートカット痕は、ゲート口の周縁の金型内面にも接しながら動作した突出しピンによって、擦り切りされたように滑らかな切断面が形成される。
上記射出成形方法によれば、引張り破断伸び100%以上の合成樹脂製であっても確実にゲートカットできる。このような射出成形方法は、特にゲートが、糸引き現象の起こりやすいサブマリンゲートである場合にも適用できる。
また、前記同様の課題を解決するために、射出成形用金型のキャビティー内にゲート口を設け、前記金型の内面に沿ってこのゲート口を横断するように進退動作する突出しピンを設けた射出成形用金型を採用することができる。
上記のような射出成形用金型は、金型の内面に沿ってキャビティー内のゲート口を横断するように突出しピンが進退動作するので、その際に脱型される射出成形体のゲートカット痕は、突出しピンによって、一方向に擦り切りされたように滑らかな切断面に形成され、樹脂の糸引き現象が起こらない。金型のゲートは、糸引き現象の起こりやすいサブマリンゲートにも適用できる。
射出成形体に係る発明は、引張り破断伸び100%以上の合成樹脂製の射出成形体について、ゲートカット痕が、突出しピンを金型内面に沿ってゲート口を横断するように動作したことによりカットされた切断面としたので、糸引き現象の起こりやすい引張り破断伸びが100%以上であるようなゲート内の樹脂と成形体とを断ち切り、糸引き現象を確実に解消して滑らかなゲートカット痕になるという利点がある。
また、射出成形方法に係る発明では、突出しピンが金型内面に沿ってゲート口を横断するように動作させることにより、射出成形によるゲートカット痕は、ゲート口の周縁の金型内面にも接しながら動作した突出しピンによって、一方向に擦り切りされたように滑らかな切断面が形成され、また貫通穴を有しない射出成形体を成形する際にも優れたゲートカット性を有するという利点がある。
射出成形用金型に係る発明では、金型の内面に沿ってキャビティー内のゲート口を横断するように突出しピンが進退動作するので、これによって成形されるゲートカット痕は、突出しピンによって、擦り切りされたように滑らかな切断面に形成され、樹脂の糸引き現象が起こらない射出成形用金型になるという利点がある。
この発明の実施形態を以下に添付図面に基づいて説明する。
図1、2に示すように、射出成形体1に係る発明の実施形態は、ゲートカット痕2を有する合成樹脂製で円柱形の射出成形体1からなり、ゲートカット痕2は、射出成形体1を突出しピン3で射出成形用の金型4から突出す際、突出しピン3が金型内面5aに沿ってゲート口7を口径方向に横断するように動作させたことによりカットされた滑らかな切断面からなる。
後述するように射出成形体1の形状は、図示した円柱形に限らない。そして、ゲート口7を横断する突出しピン3の形状は、少なくともゲート口7の周辺の金型内面形状に合せて、例えばゲート口7の周辺が図1、2のように円曲面であれば、突出しピン3の断面形状のうち、突出しピン3の動作によってゲート口7を横断する部分は、ゲート口7の周辺と同じ円曲面に形成している。ゲート口7の周辺が、上記した形状とは異なる形状であれば、突出しピン3の断面形状のうちゲート口7を横断する部分はゲート口7周辺と同じ所定形状に形成する。
射出成形材料となる合成樹脂は、引張り破断伸び100%以上の合成樹脂を採用しており、そのような特性を有する周知の樹脂に対して糸引き現象を発生させないというこの発明の作用効果が充分に奏される。
上記の合成樹脂としては、テトラフルオロエチレン−パーフルオロアルキルビニルエーテル共重合体(PFA)、テトラフルオロエチレン−エチレン共重合体(ETFE)、テトラフルオロエチレン−ヘキサフルオロプロピレン共重合体(FEP)等の溶融フッ素樹脂、ウレタンエラストマー、ポリエステルエラストマー、ポリアミドエラストマー、塩化ビニルエラストマー、ポリブタジエンエラストマーなどの熱可塑性エラストマー、ポリウレタン樹脂、ポリアミド樹脂、ポリエチレン樹脂、ポリプロピレン樹脂、ポリアセタール樹脂などを挙げることができる。特に、溶融成形可能なフッ素樹脂としてPFA、ETFE、FEPから選ばれる一種以上を採用して好ましい結果を得ている。
この発明でいう引張り破断伸びは、非荷重(引張り荷重)の試験片の長さ(引張り方向長さ)に対する試験片が引張り荷重により破断するときの長さの割合(%)であり、ASTMではD638で規定される試験法による。
このような合成樹脂には、繊維状強化剤、その他の周知の充填材や添加剤を配合することがあるのは勿論である。
このような射出成形体は、特にその形状や大きさを限定されることはなく、使用目的に応じた摺動部品その他の樹脂製品であり、それを得るための射出成形方法は、溶融した合成樹脂をゲートからキャビティー内に射出充填する工程、射出充填された合成樹脂を冷却固化する工程、成形体を金型から突出しピンで突き出すことによる脱型と共にゲートカットする工程を基本的に具備していることは当然である。
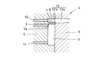
図2に示すように、実施形態の射出成形方法に用いる射出成形用金型は、固定側金型5と可動側金型6とからなり、円錐台形のサブマリンゲート(トンネルゲートとも別称する。)8の先端開口部分であるゲート口7を円柱形のキャビティー9の内面に開口させており、複数の突出しピン3、10、11を油圧などにより進退動作するように設けると共に、そのうちの一つの突出しピン3を金型の内面5aに沿って案内させて進退動作させ、突出しピン3でゲート口7を横断させることにより、ゲート口7の開口を一時的に突出しピン3の側面(その形状は、円曲面や平面など内面5aに整合するものであってよい。)で塞いで、ゲート口7と射出成形体1に成形時に連続する樹脂を切断可能な射出成形用金型である。
サブマリンゲート8の基部にはスプルー12が連続するように設けられており、固定側金型5のスプルー12aと可動側金型6のスプルー12bは、両金型を一体化した際に連通するように設けられている。
図3〜6に示すように、上記の金型を用いて射出成形を行なうには、溶融した前記の合成樹脂Rをスプルー12からサブマリンゲート8を経由してキャビティー9に射出充填する。
図4に示すように、冷却工程を経て溶融していた合成樹脂Rが固化した後、可動側金型6を固定側金型5から引き離して分離する。
次に、図5に示すように、複数の突出しピン3、10、11で射出成形体1を突き出して脱型する。その際、射出成形体1が鎖線で示す状態まで突出された際に、突出しピン3は、金型内面5aに沿ってゲート口7を横断するように移動する。これにより、ゲート口7は突出しピン3の側面と摺接し、ゲート口7は側面で塞がれて、ゲート口7と射出成形体1の間を連結するような樹脂Rは切断される。また突出しピン3のその後の軸方向への進退によって射出成形体1のゲートカット痕2は、ゲート口7の周縁や金型内面5aによって擦られて滑らかになる。
その後は、図6に示すように、さらに突出しピン3を進退させ、射出成形体1とスプルー部分の合成樹脂Rを完全に脱型することができる。その後、突出しピン3、10、11は、軸方向に後退させることにより、使用前の固定側金型5に復帰させることができる。
このような射出成形方法によって得られる射出成形体1は、図1に示したように、糸引き現象の起こりやすい引張り破断伸びが100%以上である樹脂を用いたにも拘わらず、ゲート内の樹脂と成形体とは確実に断ち切られ、また、ゲートカット痕2は、平滑できれいな切断面で形成される。
射出成形体の斜視図 射出成形用金型の要部断面図 樹脂を射出充填した状態を示す射出成形用金型の要部断面図 可動側金型を分離した射出成形用金型の要部断面図 突出しピンでゲートを切断した状態を示す固定側金型の要部断面図 固定側金型からの脱型を示す射出成形体および金型の要部断面図
符号の説明
1 射出成形体
2 ゲートカット痕
3、10、11 突出しピン
4 金型
5 固定側金型
5a 金型内面
6 可動側金型
7 ゲート口
8 サブマリンゲート
9 キャビティー
12 スプルー
R 合成樹脂

Claims (9)

  1. 引張り破断伸び100%以上の合成樹脂製であってゲートカット痕を有する射出成形体からなり、前記ゲートカット痕は、射出成形体を突出しピンで型から突出す際、突出しピンが金型内面に沿ってゲート口を横断するように動作したことによりカットされた切断面である射出成形体。
  2. 合成樹脂が、テトラフルオロエチレン・パーフルオロアルキルビニルエーテル共重合体、テトラフルオロエチレン・エチレン共重合体およびテトラフルオロエチレン・ヘキサフルオロプロピレン共重合体から選ばれる一種以上の合成樹脂である請求項1に記載の射出成形体。
  3. 射出成形体が、電子写真装置の排紙用摺動部品である請求項1または2に記載の射出成形体。
  4. 排紙用摺動部品が、排紙ガイドまたはフリッパーリブである請求項3に記載の射出成形体。
  5. 金型のキャビティー内にゲート口を形成し、前記キャビティー内に合成樹脂を射出成形した後、突出しピンで射出成形体を突き出して脱型する際、突出しピンを金型内面に沿わせてゲート口を横断するように動作させることによって合成樹脂をカットする射出成形方法。
  6. 合成樹脂が、引張り破断伸び100%以上の合成樹脂である請求項5に記載の射出成形方法。
  7. ゲートが、サブマリンゲートである請求項5または6に記載の射出成形方法。
  8. 射出成形用金型のキャビティー内にゲート口を設け、前記金型の内面に沿ってこのゲート口を横断するように進退動作する突出しピンを設けた射出成形用金型。
  9. ゲートが、サブマリンゲートである請求項8に記載の射出成形用金型。
JP2008213095A 2008-08-21 2008-08-21 射出成形体および射出成形方法並びに射出成形用金型 Active JP5316932B2 (ja)

Priority Applications (1)

Application Number Priority Date Filing Date Title
JP2008213095A JP5316932B2 (ja) 2008-08-21 2008-08-21 射出成形体および射出成形方法並びに射出成形用金型

Applications Claiming Priority (1)

Application Number Priority Date Filing Date Title
JP2008213095A JP5316932B2 (ja) 2008-08-21 2008-08-21 射出成形体および射出成形方法並びに射出成形用金型

Publications (2)

Publication Number Publication Date
JP2010046910A true JP2010046910A (ja) 2010-03-04
JP5316932B2 JP5316932B2 (ja) 2013-10-16

Family

ID=42064423

Family Applications (1)

Application Number Title Priority Date Filing Date
JP2008213095A Active JP5316932B2 (ja) 2008-08-21 2008-08-21 射出成形体および射出成形方法並びに射出成形用金型

Country Status (1)

Country Link
JP (1) JP5316932B2 (ja)

Cited By (3)

* Cited by examiner, † Cited by third party
Publication number Priority date Publication date Assignee Title
WO2015016179A1 (ja) * 2013-07-30 2015-02-05 Ntn株式会社 射出成形体、射出成形方法、および射出成形金型
KR101902327B1 (ko) * 2018-03-20 2018-10-01 장해산 커팅 밀핀을 가지는 금형 및 이를 이용한 제품 제조 방법
KR101966018B1 (ko) * 2018-09-18 2019-04-04 장해산 게이트편과 커팅밀핀을 가지는 금형 및 이를 이용한 제품 제조 방법

Citations (6)

* Cited by examiner, † Cited by third party
Publication number Priority date Publication date Assignee Title
JPS63296918A (ja) * 1987-05-29 1988-12-05 Yoshida Kogyo Kk <Ykk> 厚肉キャップの成形法及びそのキャップ
JPH06720U (ja) * 1992-06-11 1994-01-11 河西工業株式会社 射出成形用金型
JPH07205213A (ja) * 1994-01-26 1995-08-08 Niigata Eng Co Ltd 電動式射出成形機におけるゲートカット及び突き出し制御装置及び制御方法
JPH0942296A (ja) * 1995-07-31 1997-02-10 Nippon Seiko Kk 耐食性転がり軸受
JPH11254482A (ja) * 1998-03-06 1999-09-21 Ntn Corp うず巻形チップシールおよびその射出成形用金型
JP2004203581A (ja) * 2002-12-26 2004-07-22 Ntn Corp 排紙ガイド

Patent Citations (6)

* Cited by examiner, † Cited by third party
Publication number Priority date Publication date Assignee Title
JPS63296918A (ja) * 1987-05-29 1988-12-05 Yoshida Kogyo Kk <Ykk> 厚肉キャップの成形法及びそのキャップ
JPH06720U (ja) * 1992-06-11 1994-01-11 河西工業株式会社 射出成形用金型
JPH07205213A (ja) * 1994-01-26 1995-08-08 Niigata Eng Co Ltd 電動式射出成形機におけるゲートカット及び突き出し制御装置及び制御方法
JPH0942296A (ja) * 1995-07-31 1997-02-10 Nippon Seiko Kk 耐食性転がり軸受
JPH11254482A (ja) * 1998-03-06 1999-09-21 Ntn Corp うず巻形チップシールおよびその射出成形用金型
JP2004203581A (ja) * 2002-12-26 2004-07-22 Ntn Corp 排紙ガイド

Cited By (5)

* Cited by examiner, † Cited by third party
Publication number Priority date Publication date Assignee Title
WO2015016179A1 (ja) * 2013-07-30 2015-02-05 Ntn株式会社 射出成形体、射出成形方法、および射出成形金型
US10695965B2 (en) 2013-07-30 2020-06-30 Ntn Corporation Injection molded body, injection molding method, and injection molding die
KR101902327B1 (ko) * 2018-03-20 2018-10-01 장해산 커팅 밀핀을 가지는 금형 및 이를 이용한 제품 제조 방법
WO2019182220A1 (ko) * 2018-03-20 2019-09-26 장해산 커팅 밀핀을 가지는 금형 및 이를 이용한 제품 제조 방법
KR101966018B1 (ko) * 2018-09-18 2019-04-04 장해산 게이트편과 커팅밀핀을 가지는 금형 및 이를 이용한 제품 제조 방법

Also Published As

Publication number Publication date
JP5316932B2 (ja) 2013-10-16

Similar Documents

Publication Publication Date Title
CN204914443U (zh) 一种模具
JP5316932B2 (ja) 射出成形体および射出成形方法並びに射出成形用金型
US20220063162A1 (en) Injection mold with internal separator for molding processes
CN102582032B (zh) 注射成型用模具和方法、及使用该模具的注射成型机
JP6788199B2 (ja) 射出成形型、及び成形品の抜取り方法
JP6224047B2 (ja) 射出成形機のパージカバー装置
JP6215610B2 (ja) 射出成形体、射出成形方法、および射出成形金型
JP3375918B2 (ja) 射出成形装置
JP5382509B2 (ja) 電子写真装置のシート搬送用転動体及びその射出成形金型
KR102386107B1 (ko) Tpo 사출공정 제조장치
JP5351196B2 (ja) シールリング
JPH11216744A (ja) 樹脂成形体およびその射出成形用金型ならびに射出成形方法
JP2003245957A (ja) 射出成形金型
JP2005297534A (ja) 射出成形用金型装置及び射出成形方法
JP5061894B2 (ja) 金型装置
JP4725214B2 (ja) 成形金型
JP2004314310A (ja) 軸受の製造方法および射出成形金型
JP2020153463A (ja) 合成樹脂製フランジブッシュの製造方法
JP2017019175A (ja) 成形品の突き出しに特徴を有する成形方法および射出成形機
JP2009029025A (ja) 射出成形用金型および樹脂成形品
JPH031237Y2 (ja)
JP3409802B2 (ja) 射出成形用の金型
JP3606715B2 (ja) 金型組立体、及び、中空部を有し且つひれ状突起部を有する成形品の成形方法
JP2005297466A (ja) プラスチック成形金型及びプラスチック成形方法
JP2003326562A (ja) 厚肉成形品の製造方法及び金型

Legal Events

Date Code Title Description
A621 Written request for application examination

Free format text: JAPANESE INTERMEDIATE CODE: A621

Effective date: 20110801

A977 Report on retrieval

Free format text: JAPANESE INTERMEDIATE CODE: A971007

Effective date: 20121116

A131 Notification of reasons for refusal

Free format text: JAPANESE INTERMEDIATE CODE: A131

Effective date: 20121127

A521 Request for written amendment filed

Free format text: JAPANESE INTERMEDIATE CODE: A523

Effective date: 20130128

TRDD Decision of grant or rejection written
A01 Written decision to grant a patent or to grant a registration (utility model)

Free format text: JAPANESE INTERMEDIATE CODE: A01

Effective date: 20130611

A61 First payment of annual fees (during grant procedure)

Free format text: JAPANESE INTERMEDIATE CODE: A61

Effective date: 20130627

R150 Certificate of patent or registration of utility model

Ref document number: 5316932

Country of ref document: JP

Free format text: JAPANESE INTERMEDIATE CODE: R150

Free format text: JAPANESE INTERMEDIATE CODE: R150

R250 Receipt of annual fees

Free format text: JAPANESE INTERMEDIATE CODE: R250

R250 Receipt of annual fees

Free format text: JAPANESE INTERMEDIATE CODE: R250

R250 Receipt of annual fees

Free format text: JAPANESE INTERMEDIATE CODE: R250

R250 Receipt of annual fees

Free format text: JAPANESE INTERMEDIATE CODE: R250

R250 Receipt of annual fees

Free format text: JAPANESE INTERMEDIATE CODE: R250

R250 Receipt of annual fees

Free format text: JAPANESE INTERMEDIATE CODE: R250

R250 Receipt of annual fees

Free format text: JAPANESE INTERMEDIATE CODE: R250

R250 Receipt of annual fees

Free format text: JAPANESE INTERMEDIATE CODE: R250

R250 Receipt of annual fees

Free format text: JAPANESE INTERMEDIATE CODE: R250

R250 Receipt of annual fees

Free format text: JAPANESE INTERMEDIATE CODE: R250