JP2010045185A - 液処理装置及び液処理方法並びに記憶媒体 - Google Patents

液処理装置及び液処理方法並びに記憶媒体 Download PDF

Info

Publication number
JP2010045185A
JP2010045185A JP2008208093A JP2008208093A JP2010045185A JP 2010045185 A JP2010045185 A JP 2010045185A JP 2008208093 A JP2008208093 A JP 2008208093A JP 2008208093 A JP2008208093 A JP 2008208093A JP 2010045185 A JP2010045185 A JP 2010045185A
Authority
JP
Japan
Prior art keywords
outside air
liquid processing
cup body
intake amount
amount
Prior art date
Legal status (The legal status is an assumption and is not a legal conclusion. Google has not performed a legal analysis and makes no representation as to the accuracy of the status listed.)
Granted
Application number
JP2008208093A
Other languages
English (en)
Other versions
JP5369538B2 (ja
Inventor
Shuichi Nagamine
秀一 長峰
Takafumi Kinoshita
尚文 木下
Satoshi Hiha
聡 枇杷
Koji Fujimura
浩二 藤村
Current Assignee (The listed assignees may be inaccurate. Google has not performed a legal analysis and makes no representation or warranty as to the accuracy of the list.)
Tokyo Electron Ltd
Original Assignee
Tokyo Electron Ltd
Priority date (The priority date is an assumption and is not a legal conclusion. Google has not performed a legal analysis and makes no representation as to the accuracy of the date listed.)
Filing date
Publication date
Application filed by Tokyo Electron Ltd filed Critical Tokyo Electron Ltd
Priority to JP2008208093A priority Critical patent/JP5369538B2/ja
Priority to KR1020090069931A priority patent/KR101436649B1/ko
Priority to TW098126958A priority patent/TWI428189B/zh
Priority to CN2009101664140A priority patent/CN101650532B/zh
Priority to US12/540,219 priority patent/US8671875B2/en
Publication of JP2010045185A publication Critical patent/JP2010045185A/ja
Application granted granted Critical
Publication of JP5369538B2 publication Critical patent/JP5369538B2/ja
Active legal-status Critical Current
Anticipated expiration legal-status Critical

Links

Images

Classifications

    • GPHYSICS
    • G02OPTICS
    • G02FOPTICAL DEVICES OR ARRANGEMENTS FOR THE CONTROL OF LIGHT BY MODIFICATION OF THE OPTICAL PROPERTIES OF THE MEDIA OF THE ELEMENTS INVOLVED THEREIN; NON-LINEAR OPTICS; FREQUENCY-CHANGING OF LIGHT; OPTICAL LOGIC ELEMENTS; OPTICAL ANALOGUE/DIGITAL CONVERTERS
    • G02F1/00Devices or arrangements for the control of the intensity, colour, phase, polarisation or direction of light arriving from an independent light source, e.g. switching, gating or modulating; Non-linear optics
    • G02F1/01Devices or arrangements for the control of the intensity, colour, phase, polarisation or direction of light arriving from an independent light source, e.g. switching, gating or modulating; Non-linear optics for the control of the intensity, phase, polarisation or colour 
    • G02F1/13Devices or arrangements for the control of the intensity, colour, phase, polarisation or direction of light arriving from an independent light source, e.g. switching, gating or modulating; Non-linear optics for the control of the intensity, phase, polarisation or colour  based on liquid crystals, e.g. single liquid crystal display cells
    • G02F1/133Constructional arrangements; Operation of liquid crystal cells; Circuit arrangements
    • G02F1/1333Constructional arrangements; Manufacturing methods
    • G02F1/1339Gaskets; Spacers; Sealing of cells
    • H10P72/0414
    • GPHYSICS
    • G02OPTICS
    • G02FOPTICAL DEVICES OR ARRANGEMENTS FOR THE CONTROL OF LIGHT BY MODIFICATION OF THE OPTICAL PROPERTIES OF THE MEDIA OF THE ELEMENTS INVOLVED THEREIN; NON-LINEAR OPTICS; FREQUENCY-CHANGING OF LIGHT; OPTICAL LOGIC ELEMENTS; OPTICAL ANALOGUE/DIGITAL CONVERTERS
    • G02F1/00Devices or arrangements for the control of the intensity, colour, phase, polarisation or direction of light arriving from an independent light source, e.g. switching, gating or modulating; Non-linear optics
    • G02F1/01Devices or arrangements for the control of the intensity, colour, phase, polarisation or direction of light arriving from an independent light source, e.g. switching, gating or modulating; Non-linear optics for the control of the intensity, phase, polarisation or colour 
    • G02F1/13Devices or arrangements for the control of the intensity, colour, phase, polarisation or direction of light arriving from an independent light source, e.g. switching, gating or modulating; Non-linear optics for the control of the intensity, phase, polarisation or colour  based on liquid crystals, e.g. single liquid crystal display cells
    • GPHYSICS
    • G02OPTICS
    • G02FOPTICAL DEVICES OR ARRANGEMENTS FOR THE CONTROL OF LIGHT BY MODIFICATION OF THE OPTICAL PROPERTIES OF THE MEDIA OF THE ELEMENTS INVOLVED THEREIN; NON-LINEAR OPTICS; FREQUENCY-CHANGING OF LIGHT; OPTICAL LOGIC ELEMENTS; OPTICAL ANALOGUE/DIGITAL CONVERTERS
    • G02F1/00Devices or arrangements for the control of the intensity, colour, phase, polarisation or direction of light arriving from an independent light source, e.g. switching, gating or modulating; Non-linear optics
    • G02F1/01Devices or arrangements for the control of the intensity, colour, phase, polarisation or direction of light arriving from an independent light source, e.g. switching, gating or modulating; Non-linear optics for the control of the intensity, phase, polarisation or colour 
    • G02F1/13Devices or arrangements for the control of the intensity, colour, phase, polarisation or direction of light arriving from an independent light source, e.g. switching, gating or modulating; Non-linear optics for the control of the intensity, phase, polarisation or colour  based on liquid crystals, e.g. single liquid crystal display cells
    • G02F1/133Constructional arrangements; Operation of liquid crystal cells; Circuit arrangements
    • G02F1/1333Constructional arrangements; Manufacturing methods
    • G02F1/1341Filling or closing of cells
    • GPHYSICS
    • G03PHOTOGRAPHY; CINEMATOGRAPHY; ANALOGOUS TECHNIQUES USING WAVES OTHER THAN OPTICAL WAVES; ELECTROGRAPHY; HOLOGRAPHY
    • G03FPHOTOMECHANICAL PRODUCTION OF TEXTURED OR PATTERNED SURFACES, e.g. FOR PRINTING, FOR PROCESSING OF SEMICONDUCTOR DEVICES; MATERIALS THEREFOR; ORIGINALS THEREFOR; APPARATUS SPECIALLY ADAPTED THEREFOR
    • G03F7/00Photomechanical, e.g. photolithographic, production of textured or patterned surfaces, e.g. printing surfaces; Materials therefor, e.g. comprising photoresists; Apparatus specially adapted therefor
    • G03F7/16Coating processes; Apparatus therefor
    • G03F7/162Coating on a rotating support, e.g. using a whirler or a spinner
    • GPHYSICS
    • G03PHOTOGRAPHY; CINEMATOGRAPHY; ANALOGOUS TECHNIQUES USING WAVES OTHER THAN OPTICAL WAVES; ELECTROGRAPHY; HOLOGRAPHY
    • G03FPHOTOMECHANICAL PRODUCTION OF TEXTURED OR PATTERNED SURFACES, e.g. FOR PRINTING, FOR PROCESSING OF SEMICONDUCTOR DEVICES; MATERIALS THEREFOR; ORIGINALS THEREFOR; APPARATUS SPECIALLY ADAPTED THEREFOR
    • G03F7/00Photomechanical, e.g. photolithographic, production of textured or patterned surfaces, e.g. printing surfaces; Materials therefor, e.g. comprising photoresists; Apparatus specially adapted therefor
    • G03F7/26Processing photosensitive materials; Apparatus therefor
    • G03F7/30Imagewise removal using liquid means
    • G03F7/3021Imagewise removal using liquid means from a wafer supported on a rotating chuck
    • H10P72/0448
    • H10P72/0458

Landscapes

  • Physics & Mathematics (AREA)
  • General Physics & Mathematics (AREA)
  • Nonlinear Science (AREA)
  • Chemical & Material Sciences (AREA)
  • Crystallography & Structural Chemistry (AREA)
  • Optics & Photonics (AREA)
  • Mathematical Physics (AREA)
  • Exposure Of Semiconductors, Excluding Electron Or Ion Beam Exposure (AREA)
  • Coating Apparatus (AREA)
  • Photosensitive Polymer And Photoresist Processing (AREA)

Abstract


【課題】液処理装置の総排気量の増大を抑えながら、基板保持部の配列数を増加すること。
【解決手段】n個(nは3以上の整数)のカップ体4を、夫々第1のダンパ72が設けられた複数の個別排気路7と、これら複数の個別排気路7の下流側に共通に接続される共通排気路73を介して排気量Eで吸引排気するにあたり、薬液ノズル5がウエハWと対向する設定位置にある一のカップ体においては、当該カップ体側から外気を第1の取り込み量E1で取り込み、他の残りのカップ体においては、当該カップ体側から第1の取り込み量E1よりも小さい第2の取り込み量E2で取り込み、かつカップ体4側及び分岐路76側の両方の外気の取り込み量が(E−E1)/(n−1)となるように第1のダンパ72を構成する。
【選択図】図2

Description

本発明は、例えば半導体ウエハやLCD(液晶ディスプレイ)基板等に対して液処理例えばレジストの塗布、露光後の現像処理等を行う液処理装置及びその方法並びに記憶媒体に関する。
半導体デバイスやLCD基板等の製造プロセスの一つであるレジストパターンを基板上に形成する工程は、基板例えば半導体ウエハ(以下「ウエハ」という)にレジスト膜を形成し、フォトマスクを用いて当該レジスト膜を露光した後、現像処理を行うことにより所望のパターンを得る、一連の工程により行われ、これらの一連の工程は従来から塗布、現像装置によって行われている。
この塗布、現像装置は、レジスト液の塗布を行う塗布ユニット、反射防止膜用の薬液を塗布する反射防止膜形成ユニットなどの液処理ユニットを備えており、高いスループットを確保するために、通常塗布ユニット及び反射防止膜形成ユニットが各々複数設けられている。
これら液処理ユニットは図11に示すように、ウエハWをスピンチャック10上に保持し、このウエハの回転中心に対して、スピンチャック10の上方側に設けられたノズル11から薬液であるレジスト液を滴下し、このウエハWを回転させることにより、前記薬液を回転の遠心力によってウエハの径方向に広げるスピンコーティングが行われるように構成されている。前記スピンコーティングでは、ウエハWから外方側へミストが飛散するため、スピンチャック10の周囲にはカップ体12が設けられると共に、このカップ体12の底部にはダンパ13を備えた排気路14が接続されており、この排気路14を介してカップ体12内が吸引排気されるようになっている。
ところで前記液処理ユニットでは、前記スピンコーティング、成膜乾燥、ウエハの外縁にレジスト膜の溶媒を供給し、当該領域の不要なレジスト膜を除去する処理であるエッジカット、乾燥などの一連の処理が行われる。この際各液処理ユニットでは、回転数が大きく発生するミスト量が多いスピンコーティング時には高排気量、膜厚を均一に形成するために回転数がスピンコーティング時よりも小さい成膜乾燥時には低排気量、再び回転数が大きくなるエッジカット時や乾燥時には高排気量で排気を行いながら夫々の処理が行われている。ここで前記排気路14におけるダンパの13の下流側では常に前記高排気量に合わせた排気量で排気されており、前記ダンパ13の開度を調整することによりダンパ13の上流側において低排気量状態を形成し、こうして排気量の高低の制御が行われるようになっている。
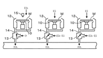
このように既述の液処理ユニットでは処理に応じて排気量の制御は行っているものの、大元では常に高排気量に合わせて排気が行われているため、このような液処理ユニットが複数台組み込まれる前記塗布、現像装置では、装置全体における液処理ユニットの総排気量は、(1台の液処理ユニットの排気量)×(液処理ユニットの数)にて求められる量となる。この点について図11を用いて、液処理ユニットが3台の場合を例にし、液処理ユニット1Aは高排気量Eh、残りの2台の液処理ユニット1B,1Cは低排気量Elで夫々排気する場合を例にして説明する。
各液処理ユニット1A〜1Cでは、各排気路14におけるダンパ13の下流側は高排気量Ehで排気されている。そして液処理ユニット1Aではダンパ13を閉じて、ダンパ13の上流側つまりカップ体12内もそのままの排気量Ehで排気し、液処理ユニット1B、1Cではダンパ13を開いて外気を取り込み、こうして結果としてダンパ13の上流側であるカップ体12内は低排気量Elで排気されるようになっている。このとき液処理ユニット1B、1Cにおいて取り込まれる外気量は((高排気量Eh)−(低排気量El))に相当する量である。このように液処理ユニット1台の排気量は高排気量Ehに相当する排気量であり、3台の液処理ユニットが組み込まれる場合には、これら液処理ユニットにおける総排気量Eは、液処理ユニット3台分の排気量(E=3×Eh)に相当する量となる。
一方本発明者は、特許文献1に記載されるように、レジスト液の塗布ユニット及び反射防止膜形成ユニットを含む、レジスト膜を形成するためのブロックと、現像処理を行うブロックとを分離して、ウエハがキャリアブロックから露光装置へ向かう搬送路と、露光装置からキャリアブロックに向かう搬送路とを夫々独立に形成し、スループットをより一層向上させることを提案している。この装置では、例えば図12に示すように、前記搬送路に沿って液処理ユニットの一部をなす前記カップ体12を横並びに複数個例えば3個配列すると共に、共通のノズル15を前記搬送路に沿って移動可能に設け、当該ノズル15を移動させて夫々のカップ体12の上方側に位置させ、これらカップ体12内に配置されたウエハに対してレジスト液の供給が行われるようになっている。
前記カップ体12の底部には夫々排気路14が接続され、カップ体12の並びに沿って配管した共通の排気路16を介して各カップ体12が吸引排気されるようになっている。この構成においても図11に示す例と同様にカップ体12内の排気が行われており、各排気路14におけるダンパ13の下流側では、常に前記高排気量Ehに合わせて排気が行われ、カップ体12内を低排気量Elにて排気するときには、前記ダンパ13の開度を調整することによって、(Eh−El)に相当する量の外気を取り入れ、当該ダンパ13の上流側にて低排気状態を形成するように構成されている。このため液処理ユニットの総排気量Eは、(1台のカップ体12の排気量Eh)×(カップ体の数)にて求められる量となる。
ところでスループット向上のため、カップ体の配列数をより多くすることが求められているが、従来のようにカップ体の数に比例して液処理ユニットの総排気量が大きくなると、前記ミストには有機物が含まれているので、この有機物の排気量である有機排気量が増加してしまい、電力使用量が増加し、ひいては二酸化炭素排出量の削減の観点から好ましくない。このため従来と同程度の総排気量に抑えた状態で、カップ体の配列数を増加させる手法の確立が望まれている。
ここで特許文献1には、基板保持部の回転数に対応する設定排気量にてカップ体内を排気することにより、常に予定とする排気状態でカップ体内を排気し、これにより基板へのミストの付着を抑えながら、安定した膜厚の薄膜を形成することができる技術が記載されている。しかしながらこの技術においても排気量の調整はダンパの開度調整により行い、ダンパの下流側では常に高排気状態に合わせて排気を行っているため、カップ体の配列数が増えた場合には結果として総排気量も増大してしまう。従ってこの技術を用いても、上述の課題を解決することはできない。
特開2006−229062号公報
本発明は、このような事情の下になされたものであり、その目的は、液処理装置における総排気量の増大を抑えながら、基板保持部の配列数を増加することにある。
このため本発明の液処理装置は、共通の筐体内に互いに並んで配列されると共に、その周囲をカップ体にて取り囲むように設けられたn個(nは3以上の整数)の基板保持部を備え、この基板保持部に保持された基板に対して、前記基板保持部の配列方向に移動可能に設けられた共通の薬液ノズルから薬液を供給しながら当該基板保持部を回転させることにより、当該基板に対して薬液の塗布を行なう液処理装置において、
前記複数のカップ体に夫々接続されると共に、前記筐体内に開口する分岐路を備えた複数の個別排気路と、
前記複数の個別排気路の下流側に共通に接続されると共に、その内部雰囲気が排気量Eで吸引排気される共通排気路と、
前記複数の個別排気路に夫々接続され、前記カップ体側からの外気の取り込み量と、前記分岐路側からの外気の取り込み量とを調整するための第1の外気取り込み量調整部と、
前記薬液ノズルが前記基板保持部上の基板と対向する設定位置にある一のカップ体に対応する前記第1の外気取り込み量調整部を第1の状態に、また他の残りのカップ体に対応する前記第1の外気取り込み量調整部を第2の状態に夫々設定するための制御信号を出力する制御部と、を備え、
前記第1の外気取り込み量調整部は、前記第1の状態にあるときには、前記分岐路側から外気を取り込まずに、当該カップ体側から外気を第1の取り込み量E1で取り込み、
前記第2の状態にあるときには、当該カップ体側から外気を前記第1の取り込み量E1よりも小さい第2の取り込み量E2で取り込み、かつカップ体側及び分岐路側の両方の外気の取り込み量が(E−E1)/(n−1)となるように構成されていることを特徴とする。
ここで前記制御部は、前記薬液ノズルの位置に基づいて、前記第1の外気取り込み量調整部を前記第1の状態または第2の状態に設定するように構成することができる。また前記共通排気路における一端側を前記筐体内に開口するように設け、前記共通排気路に取り込まれる外気量を調整するために、当該共通排気路に設けられる第2の外気取り込み量調整部を備え、前記制御部は、前記薬液ノズルが一のカップ体に対して前記設定位置にあるときと、いずれのカップ体に対しても前記設定位置にないときとの間で、前記第2の外気取り込み量調整部による外気の取り込み量を調整するように構成してもよい。さらに前記制御部は、前記薬液ノズルが一のカップ体に対して前記設定位置にあるときには前記共通排気路内に外気を取り込まず、前記薬液ノズルがいずれのカップ体に対しても前記設定位置にないときには前記共通排気路に外気を取り込むように、前記第2の外気取り込み量調整部を制御するように構成される。ここで前記第1の外気取り入れ量調整部及び第2の外気取り込み量調整部としてはダンパを用いることができる。前記n個の基板保持部が配列される数は、3≦n≦6であることが好ましい。
また本発明の液処理方法は、共通の筐体内に互いに並んで配列されると共に、その周囲をカップ体にて取り囲むように設けられたn個(nは3以上の整数)の基板保持部を備え、この基板保持部に保持された基板に対して、前記基板保持部の配列方向に移動可能に設けられた共通の薬液ノズルから薬液を供給しながら当該基板保持部を回転させることにより、当該基板に対して薬液の塗布を行なう液処理方法において、
前記複数のカップ体を、第1の外気取り込み量調整部が設けられた複数の個別排気路と、これら複数の個別排気路の下流側に共通に接続される共通排気路を介して排気量Eで吸引排気するにあたり、
前記薬液ノズルが前記基板保持部上の基板と対向する設定位置にある一のカップ体においては、前記分岐路から外気を取り込まずに、当該カップ体側から外気を第1の取り込み量E1で取り込むように前記第1の外気取り込み量調整部を調整し、
他の残りのカップ体においては、当該カップ体側から外気を前記第1の取り込み量E1よりも小さい第2の取り込み量E2で取り込み、かつカップ体側及び分岐路側の両方の外気の取り込み量が(E−E1)/(n−1)となるように前記第1の外気取り込み量調整部を調整することを特徴とする。
ここで前記共通排気路における一端側を前記筐体内に開口するように設け、
前記薬液ノズルが一のカップ体に対して前記設定位置にあるときと、いずれのカップ体に対しても前記設定位置にないときとの間で、前記共通排気路に設けられた第2の外気取り込み量調整部により、前記共通排気路内に取り込まれる外気量を調整するようにしてもよいし、さらに前記薬液ノズルが一のカップ体に対して前記設定位置にあるときには前記共通排気路に外気を取り込まず、前記薬液ノズルがいずれのカップ体に対しても前記設定位置にないときには前記共通排気路に外気を取り込むように、前記第2の外気取り込み量調整部を調整するようにしてもよい。
また本発明の記憶媒体は、基板に対して薬液を塗布する液処理装置に用いられるコンピュータプログラムを格納した記憶媒体であって、前記プログラムは、前記液処理方法を実行するようにステップ群が組まれていることを特徴とする。
本発明によれば、カップ体によりその周囲を囲まれたn個(nは3以上の整数)の基板保持部を備えた液処理装置において、前記複数のカップ体を、第1の外気取り込み量調整部が設けられた複数の個別排気路と、これら複数の個別排気路の下流側に共通に接続される共通排気路を介して排気量Eで吸引排気するにあたり、 前記薬液ノズルが前記基板保持部上の基板と対向する設定位置にある一のカップ体においては、当該カップ体側から外気を第1の取り込み量E1で取り込み、他の残りのカップ体においては、当該カップ体側から第1の取り込み量E1よりも小さい第2の取り込み量E2で取り込み、かつカップ体側及び分岐路側の両方の外気の取り込み量が(E−E1)/(n−1)となるように第1の外気取り込み量調整部を構成している。このためn個(nは3以上の整数)以上の基板保持部を配列する場合であっても、液処理装置の総排気量の増大を抑えながら、基板保持部の配列数を増加することができる。
以下、本発明の実施の形態について、基板例えばウエハWに対してレジスト液の塗布処理を行うための塗布装置に本発明の液処理装置を適用した場合を例にして説明する。図1中2は前記液処理装置であり、この液処理装置2内には、n個(nは3以上の整数)、この例では4個の液処理部21〜24が横方向(図中Y軸方向)に並んで配列した状態で共通の筐体20の中に設けられている。これら液処理部21〜24は同様の構成であるので、図2において液処理部21を例にして詳細な説明を述べる。
図2中3はウエハWの裏面側中央部を吸引吸着して水平に保持するための基板保持部をなすスピンチャックである。このスピンチャック3は、軸部31を介して駆動機構32に接続されており、この駆動機構32によりウエハWを保持した状態で回転及び昇降自在に構成されている。このスピンチャック3に保持されたウエハWの周縁外側には、このウエハWを囲むようにして上部側が開口するカップ体4が設けられている。カップ体4の側周面上端側は内側に傾斜しており、カップ体4の底部側には凹部状をなす液受け部41がウエハWの周縁下方側に全周に亘って設けられている。この液受け部41は、区画部材42によって外側領域41aと内側領域41bとに区画されており、外側領域41aの底部には貯留した塗布液などのドレインを排出するための排液口43が設けられ、また内側領域の底部には例えば二つの排気口44,45が設けられている。
さらにウエハWの下方側には円形板46が設けられており、この円形板46の外側を囲むようにしてリング部材47が設けられている。このリング部材47の外端面には下方に伸びる端板48が前記外側領域41a内に進入するようにして設けられており、この端板48及びリング部材47の表面を伝わって塗布液が外側領域41a内に案内されるように構成されている。なお図示は省略するが、ウエハWの裏面側を支持して昇降可能な昇降ピンが円形板46を上下に貫通して設けられており、この昇降ピンと外部の搬送手段との協働作用によりスピンチャック3と前記搬送手段との間でウエハWの受け渡しが行われるようになっている。
図1に説明を戻すと、図1中5は、4個の液処理部21〜24に対して薬液を供給するための共通の薬液ノズルであり、その先端側には、薬液であるレジスト液が吐出する細孔の吐出口を備えたノズル部51が形成されている。この薬液ノズル5は図3にも示すように、駆動部55例えばモータに接続された移動機構52によりZ方向に昇降自在、及び液処理装置2の長さ方向(Y方向)に設けられたガイドレール53に沿ってY軸方向に移動自在に構成されている。また図中54は、一端側の液処理部21の外側に設けられた前記薬液ノズル5の待機領域である。そして薬液ノズル5は、例えば前記移動機構52により、この待機領域と、スピンチャック3上に保持されたウエハWに対して薬液を塗布する塗布位置との間で移動自在に構成され、薬液ノズル5が前記塗布位置に位置するときには、前記ノズル部51の吐出口がウエハWの回転中心に対して薬液を吐出するように構成されている。この塗布位置は本発明の設定位置に相当する。この薬液ノズル5は、後述する制御部8によりその駆動が制御されるようになっている。
また図1中25は、液処理装置2の天井部に取り付けられたフィルタユニットであり、26は液処理装置2の底面に設けられた排気部である。前記排気部26から所定の排気量で排気すると共に、前記フィルタユニット25から所定流量の清浄気体を供給することにより、液処理装置2内に清浄気体のダウンフローが形成されるようになっている。また図中27は、液処理装置2において外部の搬送手段の移動領域に臨む面に形成されたウエハWの搬入出口である。
また図中61〜64は、スピンチャック3に保持されたウエハWの周縁部に塗布膜であるレジスト膜の溶剤を供給するためのエッジカット機構であり、これらエッジカット機構61〜64は同様の構成であるので、エッジカット機構61を例にして図2に基づいて説明する。このエッジカット機構61は、前記液処理部21の近傍に設けられており、L字状に屈曲した溶剤ノズル65と、当該溶剤ノズル65を鉛直方向に昇降自在及び回転自在に駆動させる駆動部66とを備えている。溶剤ノズル65は前記駆動部66によりスピンチャック3上に保持されたウエハWの周縁部に前記溶剤を供給する処理位置(図2参照)と、カップ体4の外側の待機位置(図1参照)との間で移動自在に構成されている。さらに図中67は、スピンチャック3に保持されたウエハWの裏面側に洗浄液を供給するための洗浄ノズルである。これら薬液ノズル5、溶剤ノズル65、洗浄ノズル67は夫々図示しない供給系を介して薬液であるレジスト液、塗布膜であるレジスト膜の溶剤、洗浄液の供給源に接続されている。
各カップ体4の底部の内側領域に設けられた二つの排出口44,45には夫々排気路7A,7Bが接続されており、これら排気路7A,7Bは途中で接合され、一つの個別排気路7として構成されている。この個別排気路7には排気量調整機構71が介設されており、この排気量調整機構71はその内部に第1の外気取り込み量調整部をなす第1のダンパ72を備えている。ここで図1においては排気路7系を省略して描いている。
また図2及び図5に示すように各液処理部21〜24の個別排気路7の基端側は共通排気路73に接続されている。この共通排気路73は筐体20内に設けられており、その一端側は筐体20内に開口し、他端側は前記排気部26に接続され、当該共通排気路73の内部は排気量Eで吸引排気されている。また共通排気路73内には、その一端側と、当該一端側に最も近い液処理部この例では液処理部21の個別排気路7が接続された領域との間に、第2の外気取り込み量調整部をなす第2のダンパ75が介設されている。
ここで排気量調整機構71について説明すると、図2に示すように、この排気量調整機構71は、排気量調整室70の内部に設けられた第1の外気取り込み量調整部をなす第1のダンパ72と、排気量調整室70に接続された外気取り込み用の分岐路76とを備えている。この分岐路76の一端側は筐体20内に開口しており、前記第1のダンパ72は、カップ体4側からの外気の取り込み量と、前記分岐路76側からの外気の取り込み量を調整するための手段である。この例では外気とは筐体20内の雰囲気をいう。この実施の形態では排気量調整機構71として、個別排気路7に排気量調整室70を設け、その内部に第1のダンパ72を設けると共に、排気量調整室70に分岐路76を設ける構成としたが、個別排気路7の内部に直接第1のダンパ72を設けると共に、個別排気路7自体に分岐路76を設ける構成としてもよい。
前記第1の外気取り込み量調整部は第1の状態と第2の状態に夫々設定されるように構成されている。例えば前記第1の外気取り込み量調整部として第1のダンパ72を用いる場合には、前記第1の状態と第2の状態とは夫々ダンパ72の開度により設定され、例えば第1のダンパ72は第1の状態である第1の位置と、第2の状態である第2の位置との間で2段階でその開度が調整されるようになっている。前記第1の位置は、例えば図2に実線で示すように排気量調整室70と分岐路76の接続部位における分岐路76の開口領域76aを閉じ、前記外気の取り込みを防ぐ位置であり、第1のダンパ72をこの第1の位置に設定すると、カップ体4側からのみ外気を取り込む状態が形成される。一方前記第2の位置は図2に点線で示すように、分岐路76の前記開口領域76aをある程度開放する位置であり、第1のダンパ72をこの第2の位置に設定すると、カップ体4側のみならず、分岐路76側からも外気を取り込む状態が形成される。
そしてこの例では、図4(a)に示すように第1のダンパ72が前記第1の位置にあるときには、前記分岐路76側から外気を取り込まずに、当該カップ体4側から外気を第1の取り込み量E1で取り込み、図4(b)に示すように第1のダンパ72が前記第2の位置にあるときには、当該カップ体4側から外気を前記第1の取り込み量E1よりも小さい第2の取り込み量E2で取り込み、かつカップ体4側及び分岐路76側の両方の外気の取り込み量が(E−E1)/(n−1)となるように構成されている。そしてこの際分岐路76側からは、外気を取り込み量{E−E1−(n−1)×E2}/(n−1)で取り込むことになる。
ここで外気の取り込み量は言い換えれば排気量ということになるので、第1の取り込み量E1は第1の排気量E1、第2の取り込み量E2は第2の排気量E2、取り込み量(E−E1)/(n−1)は排気量(E−E1)/(n−1)に夫々相当する。
また前記第2のダンパ75は前記共通排気路73内への外気の取り込み量を調整するために、第1の位置と第2の位置との間で2段階でその開度を調整するように構成されている。前記第1の位置とは、前記共通排気路73の一端側を閉じ、外気の取り込みを防ぐ位置であり、第2の位置とは、前記共通排気路73の一端側を開き、外気を取り込む位置である。これら第1及び第2のダンパ72,75には、夫々の開度を調整するための駆動部77,78が夫々接続されており、これら駆動部77,78は制御部8により制御されるようになっている。
ここでこの液処理装置2におけるウエハWの処理について簡単に説明する。レジスト塗布の前工程が行われたウエハWは搬入出口27を介して図示しない搬送手段により筐体20内の液処理部21に搬送される。そして液処理部21では、前記昇降ピンと前記搬送手段との協働作用によりウエハWがスピンチャック3の上に水平に保持される。次いで薬液ノズル5を待機領域54から当該液処理部21における前記塗布位置まで移動し、ここからウエハW表面の回転中心に薬液を滴下すると共に、スピンチャック3を例えば1000rpm程度の回転数で回転させる。こうして薬液を回転の遠心力によりウエハWの径方向に広げるレジスト塗布工程(薬液塗布工程)を行う。
次いでウエハWを例えば2500rpm程度の回転数で回転させることにより、ウエハWの表面に塗布された薬液の膜厚を調整しながら乾燥させる成膜乾燥工程を行う。しかる後、溶剤ノズル65により、ウエハWの表面側の周縁部にレジスト膜の溶剤を供給すると共に、ウエハWの裏面側に洗浄ノズル67から洗浄液を供給しながら、スピンチャック3を例えば1000rpmの回転数で回転させる。こうしてウエハWの周縁部の不要なレジスト膜を除去するエッジカット工程と、ウエハWの裏面側を洗浄する洗浄工程とを同時に行う。この後スピンチャック3を2000rpmの回転数で回転させることで、前記溶剤及び洗浄液を振り切ってウエハWの乾燥を行う乾燥工程を行う。
このように液処理部21にて一連の工程が行われた処理後のウエハWは前記搬送手段により搬出入口27を介して筐体20から搬出され、次の工程に搬送される。そしてこの例では4つの液処理部21〜24が設けられているので、処理前のウエハWは前記搬送手段により、液処理部21、液処理部22、液処理部23、液処理部24に対して順次受け渡され、各液処理部21〜24では、ウエハWが受け渡された順に、既述のレジスト液塗布工程→成膜乾燥工程→エッジカット工程(裏面洗浄工程を含む。以下においても同様に、エッジカット工程は裏面洗浄工程を同時に行うものとする)→乾燥工程が順次実施され、処理済みのウエハWは、前記搬送手段により、液処理部21、液処理部22、液処理部23、液処理部24から順次液処理装置2の外部へ搬出される。
次に前記制御部8に関して図5を参照して説明する。図5において、80はバスであり、このバス80には記憶部及びCPUなどが接続されているが、図5ではこれらを機能的に表現し、ブロック化して表している。ダンパ用プログラム81は、薬液ノズル5の位置に基づいて、第1のダンパ72及び第2のダンパ75の駆動部77,78に開度指令を出力するように構成されている。この実施の形態において、第1のダンパ72は液処理部21〜24毎に設けられているので、説明の便宜上、液処理部21〜24を夫々1号機21〜4号機24とし、液処理部21では第1のダンパ72a、液処理部22では第1のダンパ72b、液処理部23では第1のダンパ72c、液処理部24では第1のダンパ72dとする。
前記ダンパ用プログラム81は、記憶媒体例えばフレキシブルディスク、コンパクトディスク、マグネットオプティカルディスク(MO)などに格納され、制御部8であるコンピュータにインストールされ、プログラム格納部に格納されることになる。
具体的に説明すると、上述した液処理装置2の各液処理部21〜24では、既述のようにウエハWの処理目的に応じて、カップ体4内に「第1の取り込み量E1」、「第2の取り込み量E2」と2つの外気取り込み状態を形成するように排気が行われている。この第1の取り込み量E1は第2の取り込み量E2よりも大きい量に設定されており、取り込み量が多いとは排気量が大きいことを意味している。
ここで第1の取り込み量E1とは、既述のレジスト塗布工程時において、カップ体4内に取り込まれる外気量のことである。この工程では、ウエハWの中心部に供給された薬液を回転の遠心力によりウエハWの外方に広げ、さらに不要な薬液を振り切って飛散させるため、発生するミスト量が多く、このミストを排気するために、大きな外気取り込み量(排気量)が要求される。
また第2の取り込み量E2とは、液塗布工程以外の工程、つまり成膜乾燥工程、エッジカット工程、乾燥工程時において、カップ体4内に取り込まれる外気量のことである。前記成膜乾燥工程では、発生するミスト量がレジスト塗布工程に比べて少なく、ウエハWの面内に均一な膜厚の塗布膜を形成するためには、低排気状態に設定することが好ましい。 高排気状態ではウエハWの周縁領域が早く乾燥してしまい、当該周縁領域の膜厚が大きくなってしまうからである。また前記エッジカット工程や乾燥工程においてもミスト発生量がレジスト塗布工程に比べて少ないため、低排気状態で処理を行っても十分にミストが排気される。
そして本発明では、ダンパ用プログラム81により薬液ノズル5が液処理部に対してウエハWと対向する位置のカップ体4、より具体的には薬液ノズル5が液処理部に対して前記塗布位置にある一のカップ体4については、第1のダンパ72の開度は前記第1の位置に設定し、他のカップ体4については、第1のダンパ72の開度は前記第2の位置に設定される。このようにすると既述のように第1のダンパ72の第1及び第2の位置が設定されているため、前記一のカップ体4については、既述の図4(a)に示すように当該カップ体4側から第1の取り込み量E1で外気が取り込まれるように排気が行われる。
一方前記他のカップ体4については、カップ体4内と共に、分岐路76を介して筐体20内の雰囲気も排気されるので、既述の図4(b)に示すように当該カップ体4側から第2の取り込み量E2で外気が取り込まれ、かつ個別排気路7の第1のダンパ72の下流側では、カップ体4側及び分岐路76側の両方から取り込み量(E−E1)/(n−1)で外気が取り込まれるように排気が行われる。
具体的には、液処理部が4個の場合には、第1の排気量E1は例えば2.0m/min〜3.0m/min程度好ましくは2.4m/min程度に設定され、第2の排気量E2は例えば1.0m/min〜2.0m/min程度好ましくは1.5m/min程度に設定される。このようにレジスト膜の形成処理では第1の取り込み量E1と第2取り込み量E2の好適な排気量が存在するので、これらの排気量を勘案して液処理部の好適な配列数が設定される。この際液処理部の配列数が少ないとスループットの向上が図りにくく、液処理部の配列数が多すぎると薬液ノズルの負担が大きくなりすぎて、スループットの低下を招く恐れがあるので、これらを考慮すると液処理部の個数nは、3≦n≦6であることが望ましい。
また第2のダンパ75については、薬液ノズル5がいずれかの液処理部に対してウエハWと対向する位置、より具体的には前記薬液ノズル5がいずれかの液処理部において前記塗布位置にあるときには、当該ダンパ75を第1の位置(共通排気路73の一端側を閉じる位置)に設定し、薬液ノズル5がいずれの液処理部に対してもウエハWと対向する位置、より具体的には前記薬液ノズル5がいずれの液処理部においても前記塗布位置にないときには、当該ダンパ75を第2の位置(共通排気路73の一端側を開く位置)に設定するようにダンパ用プログラム81から第2のダンパ75の駆動部78に開度司令を出力する。ここでこの第2のダンパ75が第2の位置に設定されるのは、薬液ノズル5が待機領域にあるときや、薬液ノズル5が移動しているときである。
ダンパ用プログラム81による第1及び第2のダンパ72、75の切り替えのタイミングについては処理に応じて適宜設定されるが、この例では、薬液ノズル5が前記液処理部における前記塗布位置にあるか否かを基準にして判断される。つまり前記薬液ノズル5が前記塗布位置に来たときに、当該液処理部では第1のダンパ72が第2の位置から第1の位置へ切り替えられると共に、第2のダンパ75が第1の位置に切り替えられる。また薬液ノズル5が前記塗布位置から離れたときに当該液処理部では第1のダンパ72が第1の位置から第2の位置へ切り替えられると共に、第2のダンパ75が第2の位置に切り替えられる。
ここで薬液ノズル5が前記塗布位置にあるか否かについては、例えば予め各液処理部において薬液ノズル5の前記塗布位置にあるときの位置データを把握しておき、薬液ノズル5がこの位置にあるか否かを判断するようにしてもよいし、ノズルの駆動部55側にて薬液ノズル5が前記塗布位置にある旨を把握し、これに基づいてダンパ用プログラム71にて第1及び第2のダンパ72,75の開度制御を行うようにしてもよい。例えば前記駆動部55のモータをエンコーダに接続し、これにより薬液ノズル5の位置データを把握するようにしてもよい。
続いて既述の液処理ユニットの作用と重複する箇所もあるが、液処理ユニット内にて行われる排気量の制御について図を参照して説明する。図6(a)は、アイドル状態を示している。このアイドル状態とは、薬液ノズル5が待機領域54にあり、1号機21〜4号機24の液処理部のいずれにもウエハWが搬送されていない状態である。このアイドル状態では、4台の液処理部では全ての第1のダンパ72を前記第2の位置に設定して、4台のカップ体4側から第2の取り込み量E2で外気を取り込むと共に、第2のダンパ75を第2の位置に設定して、共通排気路73の一端側を開く。このようにすると4台のカップ体4における第1のダンパ72の下流側ではE3=(E−E1)/(n−1)の取り込み量で外気を取り込むように排気されることになるが、液処理装置2の共通排気路73では常に総排気量Eで排気されているので、4つのカップ体4を取り込み量E3=(E−E1)/(n−1)で排気すると総排気量Eが変動してしまうため、第2のダンパ75を開いて共通排気路73の内部に外気の取り込み、総排気量Eの調整を行っている。
このときの排気量の具体的な数値について一例を挙げると、総排気量Eが10.0m/min、設定される第2の取り込み量E2が1.5m/min、分岐路76による外気の取り込み量Em1は夫々0.6m/min、前記共通排気路73による外気の取り込み量Em2は1.0m/min、その他の外気取り込み量(排気量)は0.4m/minである。ここでその他の外気取り込み量(排気量と)は、例えば薬液ノズル5の移動機構52等を介して行われる外気の取り込み量の総量である。
図6(b)は、1号機21の液処理部においてレジスト塗布工程を実施する状態を示している。この状態では、薬液ノズル5が1号機21に対して薬液を塗布する塗布位置にあるので、当該1号機21では第1のダンパ72が第1の位置に切り替えられると共に、第2のダンパ75が第1の位置に切り替えられる。このようにすると、1号機21ではカップ体4側から第1の取り込み量E1で排気され、2号機22〜4号機24ではカップ体4側から第2の取り込み量E2で排気されることになる。ここで第1及び第2のダンパ72,75の切り替えのタイミングは、既述のとおりである。
このときの排気量の具体的な数値について一例を挙げると、総排気量Eが10.0m/min、設定される第1の取り込み量E1が3.3m/min、第2の取り込み量E2が1.5m/min、分岐路76による外気の取り込み量Em1は夫々0.6m/min、前記供給排気路73による外気の取り込み量Em2は0m/min、その他の外気取り込み量は0.4m/minである。
続いて図7(a)では、薬液ノズル5が1号機21の液処理部から2号機22の液処理部に移動し、2号機22においてレジスト塗布工程を実施する状態を示している。この状態では、薬液ノズル5が2号機22に対して薬液を塗布する塗布位置にあるので、当該2号機22では第1のダンパ72が第1の位置に切り替えられると共に、第2のダンパ75が第1の位置に設定される。このようにすると、2号機22ではカップ体4側から第1の取り込み量いE1で排気され、1号機21、3号機23、4号機24ではカップ体4側から第2の取り込み量E2で排気されることになる。このときの外気の取り込み量の具体的な数値については、図6(b)に示す例と同様である。
最後に図7(b)では、薬液ノズル5が2号機22の液処理部から3号機23の液処理部に移動するときの排気状態を示している。この状態では、既述のアイドル状態と同様に、薬液ノズル5がいずれの液処理部の塗布位置に存在しないので、4台の液処理部21〜24においては全ての第1のダンパ72を前記第2の位置に設定すると共に、第2のダンパ75を第2の位置に設定して共通排気路73の一端側を開く。このときの排気量の具体的な数値については、図6(a)に示す例と同様である。
上述の実施の形態によれば、n個の液処理部を横方向に配列し、共通の薬液ノズル5を用いて液処理部に保持されたウエハWに対して薬液塗布を行っているため、複数の液処理部が設けられるとしても、高排気量(第1の取り込み量E1)での排気が要求されるレジスト塗布工程を実施する液処理部は一つとなる。従ってレジスト塗布工程を実施する液処理部においては、カップ体4側から第1の取り込み量E1で外気を取り込み、残りの液処理部においてはカップ体4側から第2の取り込み量E2で外気を取り込むと共に、カップ体4側及び分岐路76側から外気を取り込み量(E−E1)/(n−1)で取り込むように第1のダンパ72を構成することにより、液処理部の個数を増加しても、従来に比べて総排気量の増大を抑えることができる。
ここで総排気量Eと第1の取り込み量E1(第1の排気量E1)とはE=(n−1)×E1の関係にあり、前記第1の取り込み量E1はスピンコーティング時に要求される高排気量に相当する。このためn個のカップ体4を備えた液処理装置で要求される総排気量Eは、従来では既述のようにE=n×E1であるのに対し、本発明ではE=(n−1)×E1の排気量で済むことから、従来の構成では3個のカップ体4を配列した場合に相当する総排気量で、4個のカップ体4の排気を賄うことができる。このように液処理装置2の総排気量Eについては変えずに、液処理部の個数を増加することができるので、この意味で液処理部の個数を増加しても、従来に比べて総排気量の増大を抑えることができる。
今後スループット向上の観点から、1台の液処理装置2に組み込む液処理部の配列数を増加することが要請されているが、本発明のように液処理部を増加しても液処理装置2における総排気量Eの増大を抑えることができれば、有機排気量の増加を防いで状態で高いスループットを確保することができるので、液処理装置としての商品価値を高めることができる。
これに対して、1つの液処理部に1つの薬液ノズルを備える構成では、複数の液処理部が設けられている場合、2つ以上の液処理部にてレジスト塗布工程が行われる場合があり、この場合には高排気量で排気しなければならない液処理部が2つ以上なってしまうため、残りの液処理部については低排気量で排気したとしても、カップ体の配列数を増やした場合には、結果として総排気量は増大してしまう。
また上述の実施の形態においては、前記外気取り込み量の制御は、第1のダンパ72及び第2のダンパ75の開度調整により行っているが、既述のように薬液ノズル5の位置に基づいて第1のダンパ72及び第2のダンパ75の開度の制御を行っているので制御が容易である。
さらに第2のダンパ75により、共通排気路73の一端側開口を開閉する制御を行うようにしたので、前記アイドル時や薬液ノズル5が移動している間等に全てのカップ体4内に第2の取り込み量E2を形成するように排気を行っているときでも、共通排気路73内への外気の取り込み量を調整することによって、前記総排気量Eの変動を抑えることができる。このため各カップ4間における第2の取り込み量E2のばらつきを抑えることができて、安定した排気状態を確保することができる。
このように第2のダンパ75を設けることにより、第1のダンパ72の開度を2段階で調整するようにしても、総排気量Eの変動を抑えることができるため、構成要素を少なくできると共に、排気量制御のパラメータを少なくでき、簡易な構成で制御が容易な液処理装置となる。
以上において、各薬液ノズル5の位置による第1及び第2のダンパ72の開度の切り変えは、処理レシピに、夫々の工程と、第1のダンパ72及び第2のダンパ75の開度を対応して記載して制御するようにしてもよいし、薬液ノズル5の位置と第1のダンパ72及び第2のダンパ75の開度とを対応づけたデータテーブルを作成して、これに基づいて制御するようにしてもよい。
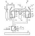
続いて前記液処理装置を組み込んだ塗布、現像装置に、露光部(露光装置)を接続したレジストパターン形成システムの一例について簡単に説明する。図8は前記システムの平面図であり、図9は同システムの斜視図である。この装置には、キャリアブロックS1が設けられており、このブロックS1では、載置台101上に載置された密閉型のキャリア100から受け渡しアームCがウエハWを取り出して、当該ブロックS1に隣接された処理ブロックS2に受け渡すと共に、前記受け渡しアームCが、処理ブロックS2にて処理された処理済みのウエハWを受け取って前記キャリア100に戻すように構成されている。
前記処理ブロックS2は、図9に示すように、この例では現像処理を行うための第1のブロック(DEV層)B1、レジスト膜の下層側に形成される反射防止膜の形成処理を行なうための第2のブロック(BCT層)B2、レジスト液の塗布処理を行うための第3のブロック(COT層)B3、レジスト膜の上層側に形成される反射防止膜の形成処理を行なうための第4のブロック(TCT層)B4を下から順に積層して構成されている。
前記第2のブロック(BCT層)B2と第4のブロック(TCT層)B4とは、各々反射防止膜を形成するための薬液をスピンコーティングにより塗布する本発明の液処理装置と、この液処理装置にて行われる処理の前処理及び後処理を行うための加熱・冷却系の処理ユニット群と、前記塗布処理装置と処理ユニット群との間に設けられ、これらの間でウエハWの受け渡しを行なう搬送アームA2,A4とを備えている。第3のブロック(COT層)B3においては、前記薬液がレジスト液であり、疎水化処理ユニットが組み込まれることを除けば同様の構成である。一方、第1の処理ブロック(DEV層)B1については、例えば一つのDEV層B1内に現像ユニットが2段に積層されている。そして当該DEV層B1内には、これら2段の現像ユニットにウエハWを搬送するための共通の搬送アームA1が設けられている。さらに処理ブロックS2には、図8及び図10に示すように、棚ユニットU1が設けられ、この棚ユニットU1の各部同士の間では、前記棚ユニットU1の近傍に設けられた昇降自在な受け渡しアームD1によってウエハWが搬送される。
このようなレジストパターン形成装置では、キャリアブロックS1からのウエハWは前記棚ユニットU1の一つの受け渡しユニット、例えば第2のブロック(BCT層)B2の対応する受け渡しユニットCPL2に受け渡しアームCによって順次搬送され、ここからウエハWは受け渡しユニットCPL3及び搬送アームA3を介して第3のブロック(COT層)B3に搬入され、疎水化処理ユニットにおいてウエハ表面が疎水化された後、液処理装置2にてレジスト膜が形成される。レジスト膜形成後のウエハWは、搬送アームA3により、棚ユニットU1の受け渡しユニットBF3に受け渡される。
その後、この場合はウエハWは受け渡しユニットBF3→受け渡しアームD1→受け渡しユニットCPL4を介して搬送アームA4に受け渡され、レジスト膜の上に反射防止膜が形成された後、搬送アームA4により受け渡しユニットTRS4に受け渡される。なおレジスト膜の上の反射防止膜を形成しない場合や、ウエハWに対して疎水化処理を行う代わりに、第2のブロック(BCT層)B2にて反射防止膜が形成される場合もある。
一方DEV層B1内の上部には、棚ユニットU1に設けられた受け渡しユニットCPL11から棚ユニットU2に設けられた受け渡しユニットCPL12にウエハWを直接搬送するための専用の搬送手段であるシャトルアームEが設けられている。レジスト膜やさらに反射防止膜が形成されたウエハWは、受け渡しアームD1により受け渡しユニットBF3、TRS4を介して受け渡しユニットCPL11に受け渡され、ここからシャトルアームEにより棚ユニットU2の受け渡しユニットCPL12に直接搬送され、インターフェイスブロックS3に取り込まれることになる。なお図10中のCPLが付されている受け渡しユニットは、温調用の冷却ユニットを兼ねており、BFが付されている受け渡しユニットは、複数枚のウエハWを載置可能なバッファユニットを兼ねている。
次いで、ウエハWはインターフェイスアームBにより露光装置S4に搬送され、ここで所定の露光処理が行われた後、棚ユニットU2の受け渡しユニットTRS6に載置されて処理ブロックS2に戻される。戻されたウエハWは、第1のブロック(DEV層)B1にて現像処理が行われ、搬送アームA1により棚ユニットU5における受け渡しアームCのアクセス範囲の受け渡し台に搬送され、受け渡しアームCを介してキャリア100に戻される。なお図8においてU3は各々加熱部と冷却部等を積層した処理ユニット群である。
本発明の液処理装置は、反射防止膜形成処理を行う液処理装置や、現像処理を行う現像処理装置にも適用できる。
本発明の液処理装置の一実施の形態を示す平面図と断面図である。 前記液処理装置に設けられる液処理部の一部を示す断面図である。 前記液処理装置に設けられる薬液ノズルを示す斜視図である。 前記液処理装置に設けられる第1のダンパの作用を説明するための説明図である。 前記液処理装置に設けられる排気系を示す説明図である。 前記液処理装置にて行われる液処理方法を示す工程図である。 前記液処理装置にて行われる液処理方法を示す工程図である。 前記液処理装置が組み込まれるレジストパターン形成装置を示す平面図である。 前記レジストパターン形成装置を示す斜視図である。 前記レジストパターン形成装置を示す断面図である。 従来の液処理装置における排気系を示す説明図である。 従来の液処理装置における排気系を示す説明図である。
符号の説明
W 半導体ウエハ
2 液処理装置
21〜24 液処理部
3 スピンチャック
4 カップ体
5 薬液ノズル
61〜64 エッジカット機構
7A,7B,7 排気路
71 排気量調整機構
72 第1のダンパ
73 共通排気路
74 排気手段
75 第2のダンパ
76 分岐路
77,78 駆動部
8 制御部

Claims (11)

  1. 共通の筐体内に互いに並んで配列されると共に、その周囲をカップ体にて取り囲むように設けられたn個(nは3以上の整数)の基板保持部を備え、この基板保持部に保持された基板に対して、前記基板保持部の配列方向に移動可能に設けられた共通の薬液ノズルから薬液を供給しながら当該基板保持部を回転させることにより、当該基板に対して薬液の塗布を行なう液処理装置において、
    前記複数のカップ体に夫々接続されると共に、前記筐体内に開口する分岐路を備えた複数の個別排気路と、
    前記複数の個別排気路の下流側に共通に接続されると共に、その内部雰囲気が排気量Eで吸引排気される共通排気路と、
    前記複数の個別排気路に夫々接続され、前記カップ体側からの外気の取り込み量と、前記分岐路側からの外気の取り込み量とを調整するための第1の外気取り込み量調整部と、
    前記薬液ノズルが前記基板保持部上の基板と対向する設定位置にある一のカップ体に対応する前記第1の外気取り込み量調整部を第1の状態に、また他の残りのカップ体に対応する前記第1の外気取り込み量調整部を第2の状態に夫々設定するための制御信号を出力する制御部と、を備え、
    前記第1の外気取り込み量調整部は、前記第1の状態にあるときには、前記分岐路側から外気を取り込まずに、当該カップ体側から外気を第1の取り込み量E1で取り込み、
    前記第2の状態にあるときには、当該カップ体側から外気を前記第1の取り込み量E1よりも小さい第2の取り込み量E2で取り込み、かつカップ体側及び分岐路側の両方の外気の取り込み量が(E−E1)/(n−1)となるように構成されていることを特徴とする液処理装置。
  2. 前記制御部は、前記薬液ノズルの位置に基づいて、前記第1の外気取り込み量調整部を前記第1の状態または第2の状態に設定することを特徴とする請求項1記載の液処理装置。
  3. 前記共通排気路における一端側は前記筐体内に開口しており、
    前記共通排気路に取り込まれる外気量を調整するために、当該共通排気路に設けられる第2の外気取り込み量調整部を備え、
    前記制御部は、前記薬液ノズルが一のカップ体に対して前記設定位置にあるときと、いずれのカップ体に対しても前記設定位置にないときとの間で、前記第2の外気取り込み量調整部による外気の取り込み量を調整することを特徴とする請求項1又2記載の液処理装置。
  4. 前記制御部は、前記薬液ノズルが一のカップ体に対して前記設定位置にあるときには前記共通排気路内に外気を取り込まず、前記薬液ノズルがいずれのカップ体に対しても前記設定位置にないときには前記共通排気路に外気を取り込むように、前記第2の外気取り込み量調整部を制御することを特徴とする請求項4記載の液処理装置。
  5. 前記第1の外気取り入れ量調整部はダンパであることを特徴とする請求項1又は2記載の液処理装置。
  6. 前記第2の外気取り入れ量調整部はダンパであることを特徴とする請求項3又は4記載の液処理装置。
  7. 前記n個の基板保持部が配列される数は、3≦n≦6であることを特徴とする請求項1ないし6のいずれか一つに記載の液処理装置。
  8. 共通の筐体内に互いに並んで配列されると共に、その周囲をカップ体にて取り囲むように設けられたn個(nは3以上の整数)の基板保持部を備え、この基板保持部に保持された基板に対して、前記基板保持部の配列方向に移動可能に設けられた共通の薬液ノズルから薬液を供給しながら当該基板保持部を回転させることにより、当該基板に対して薬液の塗布を行なう液処理方法において、
    前記複数のカップ体を、第1の外気取り込み量調整部が設けられた複数の個別排気路と、これら複数の個別排気路の下流側に共通に接続される共通排気路を介して排気量Eで吸引排気するにあたり、
    前記薬液ノズルが前記基板保持部上の基板と対向する設定位置にある一のカップ体においては、前記分岐路から外気を取り込まずに、当該カップ体側から外気を第1の取り込み量E1で取り込むように前記第1の外気取り込み量調整部を調整し、
    他の残りのカップ体においては、当該カップ体側から外気を前記第1の取り込み量E1よりも小さい第2の取り込み量E2で取り込み、かつカップ体側及び分岐路側の両方の外気の取り込み量が(E−E1)/(n−1)となるように前記第1の外気取り込み量調整部を調整することを特徴とする液処理方法。
  9. 前記共通排気路における一端側は前記筐体内に開口しており、
    前記薬液ノズルが一のカップ体に対して前記設定位置にあるときと、いずれのカップ体に対しても前記設定位置にないときとの間で、前記共通排気路に設けられた第2の外気取り込み量調整部により、前記共通排気路内に取り込まれる外気量を調整することを特徴とする請求項7記載の液処理方法。
  10. 前記薬液ノズルが一のカップ体に対して前記設定位置にあるときには前記共通排気路に外気を取り込まず、前記薬液ノズルがいずれのカップ体に対しても前記設定位置にないときには前記共通排気路に外気を取り込むように、前記第2の外気取り込み量調整部を調整することを特徴とする請求項8記載の液処理方法。
  11. 基板に対して薬液を塗布する液処理装置に用いられるコンピュータプログラムを格納した記憶媒体であって、
    前記プログラムは、請求項8ないし10のいずれか一つに記載された液処理方法を実行するようにステップ群が組まれていることを特徴とする記憶媒体。
JP2008208093A 2008-08-12 2008-08-12 液処理装置及び液処理方法並びに記憶媒体 Active JP5369538B2 (ja)

Priority Applications (5)

Application Number Priority Date Filing Date Title
JP2008208093A JP5369538B2 (ja) 2008-08-12 2008-08-12 液処理装置及び液処理方法並びに記憶媒体
KR1020090069931A KR101436649B1 (ko) 2008-08-12 2009-07-30 액처리 장치, 액처리 방법 및 기억매체
TW098126958A TWI428189B (zh) 2008-08-12 2009-08-11 A liquid processing apparatus and a liquid treatment method, and a memory medium
CN2009101664140A CN101650532B (zh) 2008-08-12 2009-08-12 液体处理装置和液体处理方法
US12/540,219 US8671875B2 (en) 2008-08-12 2009-08-12 Liquid processing apparatus, liquid processing method and storage medium

Applications Claiming Priority (1)

Application Number Priority Date Filing Date Title
JP2008208093A JP5369538B2 (ja) 2008-08-12 2008-08-12 液処理装置及び液処理方法並びに記憶媒体

Publications (2)

Publication Number Publication Date
JP2010045185A true JP2010045185A (ja) 2010-02-25
JP5369538B2 JP5369538B2 (ja) 2013-12-18

Family

ID=41672790

Family Applications (1)

Application Number Title Priority Date Filing Date
JP2008208093A Active JP5369538B2 (ja) 2008-08-12 2008-08-12 液処理装置及び液処理方法並びに記憶媒体

Country Status (5)

Country Link
US (1) US8671875B2 (ja)
JP (1) JP5369538B2 (ja)
KR (1) KR101436649B1 (ja)
CN (1) CN101650532B (ja)
TW (1) TWI428189B (ja)

Cited By (6)

* Cited by examiner, † Cited by third party
Publication number Priority date Publication date Assignee Title
US8522714B2 (en) 2010-03-04 2013-09-03 Tokyo Electron Limited Wet processing apparatus, wet processing method and storage medium
US9195138B2 (en) 2010-09-01 2015-11-24 Tokyo Electron Limited Liquid processing apparatus, liquid processing method and storage medium
KR20160018375A (ko) 2014-08-08 2016-02-17 도쿄엘렉트론가부시키가이샤 기판 가열 장치, 기판 가열 방법, 기억 매체
JP2017033988A (ja) * 2015-07-29 2017-02-09 東京エレクトロン株式会社 液処理装置
WO2022201831A1 (ja) * 2021-03-25 2022-09-29 株式会社Screenホールディングス 処理液キャビネットの排気制御方法および基板処理装置
JP2023010640A (ja) * 2021-07-08 2023-01-20 セメス カンパニー,リミテッド 基板処理装置及び基板処理方法

Families Citing this family (17)

* Cited by examiner, † Cited by third party
Publication number Priority date Publication date Assignee Title
JP5179170B2 (ja) 2007-12-28 2013-04-10 株式会社Sokudo 基板処理装置
JP5474853B2 (ja) * 2011-03-08 2014-04-16 東京エレクトロン株式会社 液処理装置、液処理方法およびこの液処理方法を実行するためのコンピュータプログラムが記録された記録媒体
JP5783971B2 (ja) * 2012-08-10 2015-09-24 株式会社東芝 塗布装置および塗布方法
KR102102240B1 (ko) * 2012-12-28 2020-04-20 가부시키가이샤 스크린 홀딩스 처리 장치와 그 배기 전환 장치 및 배기 전환 유닛과 전환 밸브 박스
US9446467B2 (en) * 2013-03-14 2016-09-20 Taiwan Semiconductor Manufacturing Company, Ltd. Integrate rinse module in hybrid bonding platform
JP6234736B2 (ja) * 2013-08-30 2017-11-22 芝浦メカトロニクス株式会社 スピン処理装置
KR102096953B1 (ko) * 2013-12-27 2020-05-27 세메스 주식회사 기판처리장치 및 방법
CN106610568A (zh) * 2015-10-27 2017-05-03 沈阳芯源微电子设备有限公司 一种涂胶显影工艺模块及该模块内环境参数的控制方法
KR102534608B1 (ko) * 2015-11-16 2023-05-22 세메스 주식회사 기판 처리 장치 및 배기 방법
JP6468213B2 (ja) * 2016-02-19 2019-02-13 東京エレクトロン株式会社 基板処理装置、基板処理方法及び記憶媒体
WO2018051825A1 (ja) * 2016-09-13 2018-03-22 株式会社Screenホールディングス 基板処理装置
CN108080222A (zh) * 2016-11-23 2018-05-29 沈阳芯源微电子设备有限公司 一种废液收集杯的排风切换装置及其方法
CN107116007A (zh) * 2017-06-20 2017-09-01 柴德维 用于橡胶零部件的涂胶工装
JP7189013B2 (ja) * 2018-12-28 2022-12-13 東京エレクトロン株式会社 基板処理装置および基板処理装置の運転方法
KR102343637B1 (ko) 2019-06-13 2021-12-28 세메스 주식회사 기판 처리 장치 및 방법
JP7232737B2 (ja) * 2019-08-07 2023-03-03 東京エレクトロン株式会社 基板処理装置
CN112371452B (zh) * 2020-11-04 2022-03-18 上海华力集成电路制造有限公司 半导体制造工艺环境的调风装置

Citations (4)

* Cited by examiner, † Cited by third party
Publication number Priority date Publication date Assignee Title
JPH09106934A (ja) * 1995-10-12 1997-04-22 Dainippon Screen Mfg Co Ltd 基板現像装置
JPH10312952A (ja) * 1997-05-14 1998-11-24 Dainippon Screen Mfg Co Ltd 基板処理装置
JP2006229062A (ja) * 2005-02-18 2006-08-31 Tokyo Electron Ltd 液処理装置及びその方法
JP2007305624A (ja) * 2006-05-08 2007-11-22 Tokyo Electron Ltd 基板処理装置、基板処理方法及び記憶媒体

Family Cites Families (4)

* Cited by examiner, † Cited by third party
Publication number Priority date Publication date Assignee Title
TW406216B (en) * 1995-05-24 2000-09-21 Tokyo Electron Ltd Apparatus for coating resist on substrate
JP3587776B2 (ja) 2000-10-10 2004-11-10 東京エレクトロン株式会社 塗布装置及び塗布方法
JP2007073729A (ja) 2005-09-07 2007-03-22 Dainippon Screen Mfg Co Ltd 熱処理装置
JP4803592B2 (ja) * 2006-06-16 2011-10-26 東京エレクトロン株式会社 液処理装置および液処理方法

Patent Citations (4)

* Cited by examiner, † Cited by third party
Publication number Priority date Publication date Assignee Title
JPH09106934A (ja) * 1995-10-12 1997-04-22 Dainippon Screen Mfg Co Ltd 基板現像装置
JPH10312952A (ja) * 1997-05-14 1998-11-24 Dainippon Screen Mfg Co Ltd 基板処理装置
JP2006229062A (ja) * 2005-02-18 2006-08-31 Tokyo Electron Ltd 液処理装置及びその方法
JP2007305624A (ja) * 2006-05-08 2007-11-22 Tokyo Electron Ltd 基板処理装置、基板処理方法及び記憶媒体

Cited By (13)

* Cited by examiner, † Cited by third party
Publication number Priority date Publication date Assignee Title
US8522714B2 (en) 2010-03-04 2013-09-03 Tokyo Electron Limited Wet processing apparatus, wet processing method and storage medium
US8722152B2 (en) 2010-03-04 2014-05-13 Tokyo Electron Limited Wet processing apparatus, wet processing method and storage medium
US9195138B2 (en) 2010-09-01 2015-11-24 Tokyo Electron Limited Liquid processing apparatus, liquid processing method and storage medium
US10168618B2 (en) 2010-09-01 2019-01-01 Tokyo Electron Limited Liquid processing method and storage medium
US9991140B2 (en) 2014-08-08 2018-06-05 Tokyo Electron Limited Substrate heating device, substrate heating method and computer-readable storage medium
JP2016039369A (ja) * 2014-08-08 2016-03-22 東京エレクトロン株式会社 基板加熱装置、基板加熱方法、記憶媒体
KR20160018375A (ko) 2014-08-08 2016-02-17 도쿄엘렉트론가부시키가이샤 기판 가열 장치, 기판 가열 방법, 기억 매체
US10256122B2 (en) 2014-08-08 2019-04-09 Tokyo Electron Limited Substrate heating method
KR102407706B1 (ko) * 2014-08-08 2022-06-13 도쿄엘렉트론가부시키가이샤 기판 가열 장치, 기판 가열 방법, 기억 매체
JP2017033988A (ja) * 2015-07-29 2017-02-09 東京エレクトロン株式会社 液処理装置
WO2022201831A1 (ja) * 2021-03-25 2022-09-29 株式会社Screenホールディングス 処理液キャビネットの排気制御方法および基板処理装置
JP2023010640A (ja) * 2021-07-08 2023-01-20 セメス カンパニー,リミテッド 基板処理装置及び基板処理方法
JP7486548B2 (ja) 2021-07-08 2024-05-17 セメス カンパニー,リミテッド 基板処理装置及び基板処理方法

Also Published As

Publication number Publication date
KR101436649B1 (ko) 2014-09-01
US8671875B2 (en) 2014-03-18
KR20100020421A (ko) 2010-02-22
CN101650532B (zh) 2012-05-09
US20100040779A1 (en) 2010-02-18
TWI428189B (zh) 2014-03-01
CN101650532A (zh) 2010-02-17
JP5369538B2 (ja) 2013-12-18
TW201026401A (en) 2010-07-16

Similar Documents

Publication Publication Date Title
JP5369538B2 (ja) 液処理装置及び液処理方法並びに記憶媒体
JP4805758B2 (ja) 塗布処理方法、プログラム、コンピュータ読み取り可能な記録媒体及び塗布処理装置
US7736498B2 (en) Solution treatment apparatus and solution treatment method
CN102683245B (zh) 液处理装置和液处理方法
TWI498171B (zh) 塗佈處理方法、電腦記憶媒體及塗佈處理裝置
JP4805769B2 (ja) 塗布処理方法
JP7163199B2 (ja) 基板処理装置
US10014190B2 (en) Liquid processing apparatus
JP2004207573A (ja) 塗布処理装置
JPH10144757A (ja) 基板処理システム
US11521865B2 (en) Substrate processing method and substrate processing device
JP4079212B2 (ja) 塗布膜形成装置およびスピンチャック
US12176215B2 (en) Substrate processing apparatus, substrate processing method, and non-transitory computer-readable storage medium
TW201802919A (zh) 基板處理方法及基板處理裝置
JP2008307488A (ja) 塗布処理方法、塗布処理装置、プログラム及びコンピュータ記憶媒体
JP2013168422A (ja) 基板処理方法および基板処理装置
CN107851571B (zh) 基板处理方法及基板处理装置
JP2000049215A (ja) 処理システム
JP6817821B2 (ja) 基板処理装置および基板処理方法
TW201947689A (zh) 基板處理裝置及基板處理方法
JP3561644B2 (ja) 液処理システム及び液処理方法
JP2003218006A (ja) 基板の処理方法
JP2001044100A (ja) 基板の現像処理方法
JP3962490B2 (ja) 現像処理装置及び現像処理方法
JP2005000746A (ja) スピン処理装置

Legal Events

Date Code Title Description
A621 Written request for application examination

Free format text: JAPANESE INTERMEDIATE CODE: A621

Effective date: 20100723

A977 Report on retrieval

Free format text: JAPANESE INTERMEDIATE CODE: A971007

Effective date: 20101119

A131 Notification of reasons for refusal

Free format text: JAPANESE INTERMEDIATE CODE: A131

Effective date: 20101130

A521 Request for written amendment filed

Free format text: JAPANESE INTERMEDIATE CODE: A523

Effective date: 20110131

A131 Notification of reasons for refusal

Free format text: JAPANESE INTERMEDIATE CODE: A131

Effective date: 20111206

A521 Request for written amendment filed

Free format text: JAPANESE INTERMEDIATE CODE: A523

Effective date: 20120206

A131 Notification of reasons for refusal

Free format text: JAPANESE INTERMEDIATE CODE: A131

Effective date: 20121009

A521 Request for written amendment filed

Free format text: JAPANESE INTERMEDIATE CODE: A523

Effective date: 20121210

TRDD Decision of grant or rejection written
A01 Written decision to grant a patent or to grant a registration (utility model)

Free format text: JAPANESE INTERMEDIATE CODE: A01

Effective date: 20130820

A61 First payment of annual fees (during grant procedure)

Free format text: JAPANESE INTERMEDIATE CODE: A61

Effective date: 20130902

R150 Certificate of patent or registration of utility model

Ref document number: 5369538

Country of ref document: JP

Free format text: JAPANESE INTERMEDIATE CODE: R150

Free format text: JAPANESE INTERMEDIATE CODE: R150

R250 Receipt of annual fees

Free format text: JAPANESE INTERMEDIATE CODE: R250

R250 Receipt of annual fees

Free format text: JAPANESE INTERMEDIATE CODE: R250

R250 Receipt of annual fees

Free format text: JAPANESE INTERMEDIATE CODE: R250

R250 Receipt of annual fees

Free format text: JAPANESE INTERMEDIATE CODE: R250

R250 Receipt of annual fees

Free format text: JAPANESE INTERMEDIATE CODE: R250

R250 Receipt of annual fees

Free format text: JAPANESE INTERMEDIATE CODE: R250

R250 Receipt of annual fees

Free format text: JAPANESE INTERMEDIATE CODE: R250

R250 Receipt of annual fees

Free format text: JAPANESE INTERMEDIATE CODE: R250