JP2010044395A - ズームレンズとそれを用いた電子撮像装置 - Google Patents

ズームレンズとそれを用いた電子撮像装置 Download PDF

Info

Publication number
JP2010044395A
JP2010044395A JP2009210477A JP2009210477A JP2010044395A JP 2010044395 A JP2010044395 A JP 2010044395A JP 2009210477 A JP2009210477 A JP 2009210477A JP 2009210477 A JP2009210477 A JP 2009210477A JP 2010044395 A JP2010044395 A JP 2010044395A
Authority
JP
Japan
Prior art keywords
lens
lens group
object side
zoom
zoom lens
Prior art date
Legal status (The legal status is an assumption and is not a legal conclusion. Google has not performed a legal analysis and makes no representation as to the accuracy of the status listed.)
Granted
Application number
JP2009210477A
Other languages
English (en)
Other versions
JP4633847B2 (ja
Inventor
Shinichi Mihara
伸一 三原
Fumiyoshi Imamura
文美 今村
Current Assignee (The listed assignees may be inaccurate. Google has not performed a legal analysis and makes no representation or warranty as to the accuracy of the list.)
Olympus Corp
Original Assignee
Olympus Corp
Priority date (The priority date is an assumption and is not a legal conclusion. Google has not performed a legal analysis and makes no representation as to the accuracy of the date listed.)
Filing date
Publication date
Application filed by Olympus Corp filed Critical Olympus Corp
Priority to JP2009210477A priority Critical patent/JP4633847B2/ja
Publication of JP2010044395A publication Critical patent/JP2010044395A/ja
Application granted granted Critical
Publication of JP4633847B2 publication Critical patent/JP4633847B2/ja
Anticipated expiration legal-status Critical
Expired - Fee Related legal-status Critical Current

Links

Images

Landscapes

  • Lenses (AREA)
  • Structure And Mechanism Of Cameras (AREA)

Abstract

【課題】光軸をミラー等の反射光学素子で折り曲げる構成がとりやすく、高ズーム比、広画角、小さいF値、少ない収差等、高い光学仕様性能を有するズームレンズとそれを用いた電子撮像装置を提供する。
【解決手段】正の屈折力を有し、広角端から望遠端にかけて変倍する際に物体側にのみ移動する移動レンズ群B(G2)と、移動レンズ群Bよりも物体側に配され、負の屈折力を有し、変倍時に固定である変倍時固定レンズ群A(G1)とを有し、移動レンズ群Bは、物体側から順に、正レンズと正レンズと負レンズの3枚のレンズにて構成される。
【選択図】図1

Description

本発明は、ズームレンズとそれを用いた電子撮像装置に関し、特に、ズームレンズ等の光学系部分の工夫により奥行き方向の薄型化を実現した、ビデオカメラやデジタルカメラを始めとする電子撮像装置に関するものである。
近年、銀塩35mmフィルム(135フォーマット)カメラに代わる次世代カメラとしてデジタルカメラ(電子カメラ)が注目されてきている。さらに、それは業務用高機能タイプからポータブルな普及タイプまで幅広い範囲でいくつものカテゴリーを有するようになってきている。
本発明においては、特にポータブルな普及タイプのカテゴリーに注目し、高画質を確保しながら奥行きが薄く使い勝手の良好なビデオカメラ、デジタルカメラを実現する技術を提供することをねらっている。
カメラの奥行き方向を薄くするのに最大のネックとなっているのは、光学系、特にズームレンズ系の最も物体側の面から撮像面までの厚みである。
最近におけるカメラボディ薄型化技術の主流は、撮影時には光学系がカメラボディ内から突出しているが、携帯時には収納するいわゆる沈胴式鏡筒を採用することである。沈胴式鏡筒を採用して効果的に薄型化できる可能性を有する光学系の例としては、特許文献1、特許文献2、特許文献3等のものがある。これらは、物体側から順に、負の屈折力を有する第1群、正の屈折力を含む第2群を有しており、共に変倍時には移動する。しかし、沈胴式鏡筒を採用するとレンズ収納状態から使用状態に立ち上げるための時間がかかり、使い勝手上好ましくない。また、最も物体側のレンズ群を可動とすると、防水・防塵上好ましくない。
特開平11−194274号公報 特開平11−287953号公報 特開2000−9997号公報
本発明は従来技術のこのような問題点に鑑みてなされたものであり、その目的は、沈胴式鏡筒に見られるようなカメラの使用状態への立ち上げ時間(レンズのせり出し時間)がなく、防水・防塵上も好ましく、また、奥行き方向が極めて薄いカメラとするために、光学系の光路(光軸)をミラー等の反射光学素子で折り曲げる構成がとりやすく、高ズーム比、広画角、小さいF値、少ない収差等、高い光学仕様性能を有するズームレンズとそれを用いた電子撮像装置を提供することである。
上記目的を達成するための本発明の1つのズームレンズは、正の屈折力を有し、広角端から望遠端にかけて変倍する際に物体側にのみ移動する移動レンズ群Bと、前記移動レンズ群Bよりも物体側に配され、負の屈折力を有し、前記変倍時に固定である変倍時固定レンズ群Aとを有し、
前記移動レンズ群Bは、物体側から順に、正レンズと正レンズと負レンズの3枚のレンズにて構成されていることを特徴とするものである。
本発明の別のズームレンズは、正の屈折力を有し、広角端から望遠端にかけて変倍する際に物体側にのみ移動する移動レンズ群Bと、前記移動レンズ群Bよりも物体側に配され、負の屈折力を有し、前記変倍時に固定である変倍時固定レンズ群Aとを有し、
前記移動レンズ群Bは、物体側から順に、正レンズと負レンズと正レンズの3枚のレンズにて構成されていることを特徴とするものである。
本発明のさらに別のズームレンズは、正の屈折力を有し、広角端から望遠端にかけて変倍する際に物体側にのみ移動する移動レンズ群Bと、前記移動レンズ群Bよりも物体側に配され、負の屈折力を有し、前記変倍時に固定である変倍時固定レンズ群Aとを有し、
前記移動レンズ群Bの像側に可変空気間隔を介して配される第3のレンズ群Cを有し、前記移動レンズ群Bは、正レンズと負レンズの2枚のレンズにて構成され、前記第3のレンズ群Cは、物体側から順に、正レンズ、正レンズ、負レンズの3枚のレンズにて構成されていることを特徴とするものである。
本発明のもう1つ別のズームレンズは、正の屈折力を有し、広角端から望遠端にかけて変倍する際に物体側にのみ移動する移動レンズ群Bと、前記移動レンズ群Bよりも物体側に配され、負の屈折力を有し、前記変倍時に固定である変倍時固定レンズ群Aとを有し、
前記移動レンズ群Bの像側に可変空気間隔を介して配される第3のレンズ群Cを有し、前記移動レンズ群Bは、正レンズと負レンズの2枚のレンズにて構成され、前記第3のレンズ群Cは、物体側から順に、正レンズ、負レンズ、正レンズの3枚のレンズにて構成されていることを特徴とするものである。
以下に、本発明において上記構成をとる理由と作用について説明する。
本発明のズームレンズは、正の屈折力を有し、広角端から望遠端にかけて変倍する際に物体側にのみ移動する移動レンズ群Bと、前記移動レンズ群Bよりも物体側に配され、負の屈折力を有し、前記変倍時に固定である変倍時固定レンズ群Aとを有する構成を採用している。
中でも、以下の構成上の特徴を有する光学系を採用することで、第1レンズ群を固定とした場合でも高い光学仕様性能を確保している。
a.レンズ群Bが、物体側から順に、2枚の正レンズと1枚の負レンズにて構成されているもの。
b.レンズ群Bが、物体側から順に、正レンズ、負レンズ、正レンズにて構成されているもの。
c.レンズ群Bの像側に隣接するレンズ群Cを有し、レンズ群Bが正レンズ1枚と負レンズ1枚、レンズ群Cが、物体側から順に、2枚の正レンズと1枚の負レンズにて構成されているもの。
d.レンズ群Bの像側に隣接するレンズ群Cを有し、レンズ群Bが正レンズ1枚と負レンズ1枚、レンズ群Cが、物体側から順に、正レンズ、負レンズ、正レンズにて構成されているもの。
である。
移動レンズ群Bと変倍時固定レンズ群Aとの間に、他のレンズ群が配されていても構わない。全長短縮を行うためには、移動レンズ群Bと変倍時固定レンズ群Aとが可変の空気間隔を挟んで構成されることがより好ましい。また、変倍時固定レンズ群Aが、ズームレンズ中の最も物体側に位置する構成とすることで、ズームレンズの入射面の肥大化を抑えることができ、より好ましい。
なお、以上の各ズームレンズにおいては、レンズ群A、Bについて以下の条件を満足するとよい。
(1) 0.9<−fA /√(fW ・fT )<2.0
(2) 1.0<fB /√(fW ・fT )<3.0
(3) 0.9<log γB /log γ<10
ただし、fA 、fB はそれぞれレンズ群A、Bの焦点距離、fW 、fT はそれぞれズームレンズ全系の広角端、望遠端の焦点距離、γ、γB はそれぞれ、
γ=fT /fW
γB =望遠端におけるレンズ群Bの倍率/広角端におけるレンズ群Bの倍率とする。
条件(1)は、レンズ群Aの適切な焦点距離の範囲を示したものである。その上限値の2.0を越えると、十分な変倍比を確保することが困難になり、下限値の0.9を越えると、歪曲収差等の軸外収差補正が困難になる。
条件(2)は、レンズ群Bの適切な焦点距離の範囲を示したものである。その上限値の3.0を越えると、光学系全長が長くなり、下限値の1.0を越えると、球面収差やコマ収差の補正が困難になる。
条件(3)は、広角端から望遠端に変倍する際のレンズ群Bの変倍比について規定したものである。その上限値の10を越えると、変倍時のレンズ群Bの移動量が増大し、下限値の0.9を越えると、レンズ群B以外の変倍作用のある群に負担がかかり、全体としてレンズ構成枚数増加につながる。
なお、条件(1)〜(3)の何れか1つ以上あるいは全てを以下のようにするとよりよい。
(1)’ 1.0<−fA /√(fW ・fT )<1.8
(2)’ 1.2<fB /√(fW ・fT )<2.7
(3)’ 1.0<log γB /log γ<9
さらに、条件(1)〜(3)の何れか1つ以上を以下のようにするとさらによい。特に全てを以下のようにすると最もよい。
(1)” 1.1<−fA /√(fW ・fT )<1.6
(2)” 1.4<fB /√(fW ・fT )<2.4
(3)” 1.1<log γB /log γ<8
上記のa〜dそれぞれについて、さらにその中でも以下のように構成したものが好ましい。
a.レンズ群Bの負レンズをその物体側に隣接する正レンズと接合し、2成分3枚としたもの。
b.レンズ群Bの負レンズをそれに隣接する何れかの正レンズと接合し、2成分3枚としたもの。
c.レンズ群Cの負レンズをその物体側に隣接する正レンズと接合し、2成分3枚としたもの。
d.レンズ群Cの負レンズをそれに隣接する何れかの正レンズと接合し、2成分3枚としたもの。
これらの接合により、その接合を含むレンズ群を構成するレンズエレメント同士の相対偏心敏感度を緩和することができる。さらに、上記ズームレンズaのレンズ群Bについて、以下の条件(4)(収差補正と偏心敏感度緩和に関する条件)を満たすとよい。
(4) 0.25<R22R /R22F <0.95
ただし、R22F 、R22R はそれぞれレンズ群Bの像側レンズ成分の最も物体側の面、最も像側の面の光軸上曲率半径である。
条件(4)の上限の0.95を越えると、全系収差の球面収差・コマ収差・非点収差の補正には有利だが、接合による偏心敏感度の緩和の効果が少ない。下限の0.25を越えると、全系収差の球面収差・コマ収差・非点収差の補正が困難になりやすい。
なお、以下のようにするとよりよい。
(4)’ 0.30<R22R /R22F <0.90
さらに、以下のようにすると最もよい。
(4)” 0.33<R22R /R22F <0.85
さらには、色収差補正に関する条件(5)、(6)を満たすとよい。
(5) −1.0<L/R22C <0.8
(6) 14<ν22F −ν22R
ただし、R22C はレンズ群Bの像側レンズ成分の接合面の光軸上における曲率半径、Lは使用する電子撮像素子の有効撮像領域の対角長(mm)である。なお、電子撮像素子については、広角端画角が55°以上を含むように使用することが前提である。ν22F 、ν22R はそれぞれレンズ群Bの像側レンズ成分の正レンズ、負レンズの媒質のd線基準でのアッベ数である。
条件(5)の下限の−1.0を越えると、軸上色収差・倍率色収差の補正には有利だが、球面収差の色収差が発生しやすく、特に、基準波長における球面収差が良好に補正できても、短波長の球面収差はオーバーコレクト状態となり、画像における色のにじみの原因となるので好ましくない。上限の0.8を越えると、軸上色収差・倍率色収差の補正不足や、短波長球面収差のアンダーコレクト状態となりやすい。
条件(6)の下限値の14を越えると、軸上色収差が補正不足になりやすく、一方、条件(6)にあえて上限を付けるとすれば、70を越えないこととすると、材料を低価格に構成できて好ましい。
なお、条件(5)、(6)の何れかあるいは両方を以下のようにするとよりよい。
(5)’ −0.8<L/R22C <0.6
(6)’ 18<ν22F −ν22R
さらに、条件(5)、(6)の何れかあるいは両方を以下のようにするとさらによい。
特に両方を以下のようにすると最もよい。
(5)” −0.6<L/R22C <0.4
(6)” 22<ν22F −ν22R
なお、レンズ群Bの像側のレンズ成分が接合レンズ成分であるため、物体側レンズ成分は単レンズで十分である。
さらに、以下の条件(7)、(8)のようにするとよい。この条件(7)、(8)を条件(4)の補助的な条件として加えてもよい。
(7) −1.6<(R21F +R21R )/(R21F −R21R )<1.2
(8) −1.2<L/f2R<0.1
ただし、R21F 、R21R はそれぞれ移動レンズ群Bの物体側レンズ成分における最物体側面、最像側面の光軸上の曲率半径、Lは電子撮像素子の有効撮像領域の対角長、f2Rは移動レンズ群Bの像側レンズ成分の焦点距離である。
収差補正の面では、レンズ群Aが負の屈折力を有することでレンズ群Bに発散光束が入射する関係上、物体側正レンズ成分の光軸近傍での形状ファクター条件(7)は、上限の1.2、下限の−1.6のどちらを越えた場合でも、レンズ群Bの物体側に複数の非球面を導入しても球面収差が補正困難になる。
条件(8)の下限値の−1.2を越えると、射出瞳位置が像面に接近しシェーディングを引き起こしやすく、また、レンズ群B内の2つの成分間の偏心敏感度が大きくなりやすい。上限値の0.1を越えると、小型で高いズーム比を確保し難い。
なお、条件(7)、(8)の何れかあるいは両方を以下のようにするとよりよい。
(7)’ −1.2<(R21F +R21R )/(R21F −R21R )<0.8
(8)’ −1.0<L/f2R<0.0
さらに、条件(7)、(8)の何れかあるいは両方を以下のようにするとさらによい。特に両方を以下のようにすると最もよい。
(7)” −0.8<(R21F +R21R )/(R21F −R21R )<0.5
(8)” −0.9<L/f2R<−0.1
あるいは、ズームレンズaの別の解として、条件(4)に相当する部分を以下の条件(9)のようにしてもよい。この場合は、以下に述べるように、先の条件(5)、(6)、(7)、(8)に代わって、条件(10)、(11)、(12)、(13)を満たすのがよい。
(9) 0.6<R21R /R21F <1.0
ただし、ただし、R21F 、R21R はそれぞれ移動レンズ群Bの物体側レンズ成分の物体側の面、像側の面の光軸近傍の曲率半径である。
条件(9)の上限の1.0を越えると、全系収差の球面収差・コマ収差・非点収差の補正には有利だが、接合による偏心敏感度の緩和の効果が少ない。下限の0.6を越えると、全系収差の球面収差・コマ収差・非点収差の補正が困難になりやすい。
なお、以下のようにするとよりよい。
(9)’ 0.65<R21R /R21F <0.9
さらに、以下のようにすると最もよい。
(9)” 0.7<R21R /R21F <0.8
さらには、色収差補正に関する条件(10)、(11)満たすとよい。
(10) −1.6<L/R22C <−0.4
(11) 20<ν22F −ν22R
ただし、R22C はレンズ群Bの像側レンズ成分の接合面の光軸上における曲率半径、Lは使用する電子撮像素子の有効撮像領域の対角長である。なお、電子撮像素子については、広角端画角が55°以上を含むように使用することが前提である。ν22F 、ν22R はそれぞれレンズ群Bの像側レンズ成分の正レンズ、負レンズの媒質のd線基準でのアッベ数である。
条件(10)の下限の−1.6を越えると、軸上色収差・倍率色収差の補正には有利だが、球面収差の色収差が発生しやすく、特に、基準波長における球面収差が良好に補正できても、短波長の球面収差はオーバーコレクト状態となり、画像における色のにじみの原因となるので好ましくない。上限の−0.4を越えると、軸上色収差・倍率色収差の補正不足や、短波長球面収差のアンダーコレクト状態となりやすい。
条件(11)の下限値の20を越えると、軸上色収差が補正不足になりやすく、一方、条件(11)にあえて上限を付けるとすれば、70を越えないこととすると、材料を低価格に構成できて好ましい。
なお、条件(10)、(11)の何れかあるいは両方を以下のようにするとよりよい。
(10)’ −1.4<L/R22C <−0.6
(11)’ 25<ν22F −ν22R
さらに、条件(10)、(11)の何れかあるいは両方を以下のようにするとさらによい。特に両方を以下のようにすると最もよい。
(10)” −1.2<L/R22C <−0.8
(11)” 30<ν22F −ν22R
条件(9)を満たすズームレンズaでは、条件(7)、(8)の代わりに、条件(12)、(13)を満たすのがよい。また、条件(9)に補助的な条件として加えてもよい。
(12) −1.5<(R22F +R22R )/(R22F −R22R )<0.2
(13) 0.05<L/f2R<0.5
ただし、R22F 、R22R はそれぞれレンズ群Bの像側レンズ成分の最も物体側の面、最も像側の面の光軸上曲率半径、Lは電子撮像素子の有効撮像領域の対角長、f2Rは移動レンズ群Bの像側レンズ成分の焦点距離である。
条件(12)はレンズ群Bの像側レンズ成分の形状ファクターに関する規定である。その下限の−1.5を越えると、レンズ群Bの2つのレンズ成分の空気間隔を薄くしやすいが、コマ収差・非点収差の補正が困難になる。上限値の0.2を越えると、2つのレンズ成分の機械的干渉が起きやすく、それを防ぐために両者の間隔を大きくすることになり好ましくない。
条件(13)の下限値の0.05を越えると、射出瞳位置が像面に接近シェーディングを引き起こしやすく、また、レンズ群B内の2つの成分間の偏心敏感度が大きくなりやすい。上限値の0.5を越えると、小型で高いズーム比を確保し難い。
なお、条件(12)、(13)の何れかあるいは両方を以下のようにするとよりよい。
(12)’ −1.2<(R22F +R22R )/(R22F −R22R )<−0.2 (13)’ 0.1<L/f2R<0.4
さらに、条件(12)、(13)の何れかあるいは両方を以下のようにするとさらによい。特に両方を以下のようにすると最もよい。
(12)” −1.0<(R22F +R22R )/(R22F −R22R )<−0.6 (13)” 0.15<L/f2R<0.3
以上、ズームレンズaの場合についての説明であったが、ズームレンズcの場合は、上記レンズ群Bについての記述をレンズ群Cに置き換えることで実現できる。
すなわち、条件式(4)の代わりに次の条件式(4C)が設定される。
(4C) 0.25<R32R /R32F <0.75
ただし、R32F 、R32R はそれぞれ第3のレンズ群Cの像側レンズ成分の最物体側面、最像側面の光軸上曲率半径である。
その下位の条件(4)’、(4)”につても同様である。
また、条件式(5)、(6)の代わりにそれぞれ次の条件式(5C)、(6C)が設定される。
(5C) −1.0<L/R32C <0.6
(6C) 14<ν32F −ν32R
ただし、R32C は第3のレンズ群Cの像側レンズ成分の接合面の光軸上における曲率半径、Lは使用する電子撮像素子の有効撮像領域の対角長、ν32F 、ν32R はそれぞれ第3のレンズ群Cの像側レンズ成分の正レンズ、負レンズの媒質のd線基準でのアッベ数である。
これらの下位の条件(5)’、(5)”、(6)’、(6)”につても同様である。
また、条件式(7)、(8)の代わりにそれぞれ次の条件式(7C)、(8C)が設定される。
(7C) −1.6<(R31F +R31R )/(R31F −R31R )<0.4
(8C) −1.2<L/f3R<−0.1
ただし、R31F 、R31R はそれぞれ第3のレンズ群Cの物体側レンズ成分における最物体側面、最像側面の光軸上の曲率半径、Lは電子撮像素子の有効撮像領域の対角長、f3Rは第3のレンズ群Cの像側レンズ成分の焦点距離である。
これらの下位の条件(7)’、(7)”、(8)’、(8)”につても同様である。
また、条件式(9)の代わりに次の条件式(9C)が設定される。
(9C) 0.6<R31R /R31F <1.0
ただし、ただし、R31F 、R32R はそれぞれ第3のレンズ群Cの物体側レンズ成分の最物体側面、最像側面の光軸上の曲率半径である。
その下位の条件(9)’、(9)”につても同様である。
また、条件式(10)、(11)の代わりにそれぞれ次の条件式(10C)、(11C)が設定される。
(10C ) −1.6<L/R32C <−0.4
(11C ) 20<ν32F −ν32R
ただし、R32C は第3のレンズ群Cの像側レンズ成分の接合面の光軸上における曲率半径、Lは使用する電子撮像素子の有効撮像領域の対角長、ν32F 、ν32R はそれぞれ第3のレンズ群Cの像側レンズ成分の正レンズ、負レンズの媒質のd線基準でのアッベ数である。
これらの下位の条件(10)’、(10)”、(11)’、(11)”につても同様である。
また、条件式(12)、(13)の代わりにそれぞれ次の条件式(12C)、(13C)が設定される。
(12C ) −1.5<(R32F +R32R )/(R32F −R32R )<0.2
(13C ) 0.05<L/f3R<0.5
ただし、R32F 、R32R はそれぞれ第3のレンズ群Cの像側レンズ成分の最物体側面、最像側面の光軸上曲率半径、Lは電子撮像素子の有効撮像領域の対角長、f3Rは第3のレンズ群Cの像側レンズ成分の焦点距離である。
これらの下位の条件(12)’、(12)”、(13)’、(13)”につても同様である。
次に、ズームレンズbのレンズ群Bは以下の条件(14)から(19)を満たすとよい。
(14) 0.6<R21R /R21F <1.2
ただし、R21F 、R21R はそれぞれ移動レンズ群Bの物体側レンズ成分における最物体側面、最像側面の光軸上の曲率半径である。
条件(14)の上限の1.2を越えると、全系収差の球面収差・コマ収差・非点収差の補正には有利だが、接合による偏心敏感度の緩和の効果が少ない。下限の0.6を越えると、全系収差の球面収差・コマ収差・非点収差の補正が困難になりやすい。
なお、以下のようにするとよりよい。
(14)’ 0.7<R21R /R21F <1.1
さらに、以下のようにすると最もよい。
(14)” 0.8<R21R /R21F <1.0
さらには、色収差補正に関する条件(15)、(16)を満たすとよい。
(15) 0.3<L/R21C <1.6
(16) 10<ν21F −ν21R
ただし、R21C は移動レンズ群Bの物体側レンズ成分における接合面の光軸上の曲率半径、Lは電子撮像素子の有効撮像領域の対角長、ν21F 、ν21R はそれぞれ移動レンズ群B
の物体側レンズ成分における正レンズ、負レンズの媒質のd線基準でのアッベ数である。なお、電子撮像素子については、広角端画角が55°以上を含むように使用することが前提である。
条件(15)の下限の0.3を越えると、軸上色収差・倍率色収差の補正には有利だが、球面収差の色収差が発生しやすく、特に、基準波長における球面収差が良好に補正できても、短波長の球面収差はオーバーコレクト状態となり、画像における色のにじみの原因となるので好ましくない。上限の1.6を越えると、軸上色収差・倍率色収差の補正不足や、短波長球面収差のアンダーコレクト状態となりやすい。
条件(16)の下限値の10を越えると、軸上色収差が補正不足になりやすく、一方、条件(16)にあえて上限を付けるとすれば、70を越えないこととすると、材料を低価格に構成できて好ましい。
なお、条件(15)、(16)の何れかあるいは両方を以下のようにするとよりよい。
(15)’ 0.35<L/R21C <1.5
(16)’ 15<ν21F −ν21R
さらに、条件(15)、(16)の何れかあるいは両方を以下のようにするとさらによい。特に両方を以下のようにすると最もよい。
(15)” 0.4<L/R21C <1.4
(16)” 20<ν21F −ν21R
条件(14)を満たすズームレンズbでは、条件(17)、(18)を条件(14)に補助的な条件として加えてもよい。
(17) −5.0<(R22F +R22R )/(R22F −R22R )<0.7
(18) 0.1<L/f2R<1.0
ただし、R22F 、R22R はそれぞれ移動レンズ群Bの像側レンズ成分における最物体側面、最像側面の光軸上の曲率半径、Lは電子撮像素子の有効撮像領域の対角長、f2Rは移動レンズ群Bの像側レンズ成分の焦点距離である。
条件(17)はレンズ群Bの像側レンズ成分の形状ファクターに関する規定である。その下限の−5.0を越えると、レンズ群Bの2つのレンズ成分の空気間隔を薄くしやすいが、コマ収差・非点収差の補正が困難になる。上限値の0.7を越えると、2つのレンズ成分の機械的干渉が起きやすく、それを防ぐために両者の間隔を大きくすることになり好ましくない。
条件(18)の下限値の0.1を越えると、射出瞳位置が像面に接近し、シェーディングを引き起こしやすく、また、レンズ群B内の2つの成分間の偏心敏感度が大きくなりやすい。上限値の1.0を越えると、小型で高いズーム比を確保し難い。
なお、条件(17)、(18)の何れかあるいは両方を以下のようにするとよりよい。
(17)’ −3.5<(R22F +R22R )/(R22F −R22R )<0.5
(18)’ 0.2<L/f2R<0.8
さらに、条件(17)、(18)の何れかあるいは両方を以下のようにするとさらによい。特に両方を以下のようにすると最もよい。
(17)” −0.7<(R22F +R22R )/(R22F −R22R )<0.3
(18)” 0.25<L/f2R<0.6
以上、ズームレンズbの場合についての説明であったが、ズームレンズdの場合は、上記レンズ群Bについての記述をレンズ群Cに置き換えることで実現できる。
すなわち、条件式(14)の代わりに次の条件式(14C)が設定される。
(14C ) 0.6<R31R /R31F <1.2
ただし、R31F 、R31R はそれぞれ第3のレンズ群Cの物体側レンズ成分における最物体側面、最像側面の光軸上の曲率半径である。
その下位の条件(14)’、(14)”につても同様である。
また、条件式(15)、(16)の代わりにそれぞれ次の条件式(15C)、(16C)が設定される。
(15C ) 0.3<L/R31C <1.6
(16C ) 10<ν31F −ν31R
ただし、R31C は第3のレンズ群Cの物体側レンズ成分における接合面の光軸上の曲率半径、Lは電子撮像素子の有効撮像領域の対角長、ν31F 、ν31R はそれぞれ第3のレンズ群Cの物体側レンズ成分における正レンズ、負レンズの媒質のd線基準でのアッベ数である。
これらの下位の条件(15)’、(15)”、(16)’、(16)”につても同様である。
また、条件式(17)、(18)の代わりにそれぞれ次の条件式(17C)、(18C)が設定される。
(17C ) −5.0<(R32F +R32R )/(R32F −R32R )<0.7
(18C ) 0.1<L/f3R<1.0
ただし、R22F 、R22R はそれぞれ第3のレンズ群Cの像側レンズ成分における最物体側面、最像側面の光軸上の曲率半径、Lは電子撮像素子の有効撮像領域の対角長、f3Rは第3のレンズ群Cの像側レンズ成分の焦点距離である。
これらの下位の条件(17)’、(17)”、(18)’、(18)”につても同様である。
なお、ズームレンズaとbについても、変倍機能と焦点位置補正機能の両方を有するために、レンズ群Bの像側に少なくとも1つの可動群を有するほうがよい。そして、それはレンズ群Bに隣接するレンズ群Cであることが望ましい。一方、撮像装置そのものを薄くするには、ズームレンズの機構を極力単純化するのがよい。つまり、変倍時、合焦時における可動な群は全体で2つの群のみとするのがよい。
以下に述べる条件については、ズームレンズaからdまでの全てに共通である。
フォーカスについては、レンズ群Bよりも後の群、特にレンズ群Cを有する場合は、それで行うのがよい。さらに、望遠端における無限遠物点合焦時のレンズ群Bからレンズ群Cの光軸上空気間隔DFTは以下の条件式を満足するのがよい。
(19) 0.1<DFT/fT <1.0
ただし、fT は望遠端での無限遠物点合焦時の全系焦点距離である。
条件(19)の上限の1.0を越えると、ズーム比の確保が困難となり、下限値の0.1を越えると、フォーカス可能距離レンジを十分にとることができない。
なお、以下のようにするとよりよい。
(19)’ 0.2<DFT/fT <0.8
さらに、以下のようにすると最もよい。
(19)” 0.3<DFT/fT <0.6
ところで、第3のレンズ群Cはレンズ群Bのパワー的負担を軽くし収差補正を容易にする意味でも、正の屈折力とした方がよい。その場合は、より近距離物体へのフォーカス時の繰り出し方向は物体側となる。
(20) −0.4<L/fC <0.8
ただし、fC は第3のレンズ群Cの焦点距離、Lは電子撮像素子の有効撮像領域の対角長である。
条件(20)の下限の−0.4を越えると、フォーカス時の繰り出し量が多くなりすぎレンズ群Bと干渉しやすく、またフォーカス時の収差変動も大きくなりやすい。上限値の0.8を越えると、レンズ群Bのパワーを弱くするため、その変倍時の移動量が増大するか、変倍比が低下しやすい。
なお、以下のようにするとよりよい。
(20)’ −0.3<L/fC <0.6
さらに、以下のようにすると最もよい。
(20)” −0.2<L/fC <0.4
また、広角端から望遠端に変倍する際は、レンズ群Bとレンズ群Cが相対的間隔を変えながら移動するようなズーム形式にするとよい。この方式は、スペースを効率良く使って変倍による焦点位置補正を行いながら、高い変倍率を稼ぐことができる。その場合、無限遠合焦時に広角端から望遠端に変倍する際のレンズ群B、レンズ群Cのそれぞれの移動量M2 、M3 の比を以下の条件(21)のようにするとよい。
(21) 0.0<M3 /M2 <1.6
ただし、M2 、M3 は移動レンズ群B、第3のレンズ群Cのそれぞれの無限遠物点合焦時における広角端に対する望遠端での移動量であり、像側への移動を正とする。
条件(21)の上限値の1.6を越えると、ズーム比やフォーカス可能距離レンジを十分にとることができない。下限値の0.0を越えると、こちらもズーム比の確保が困難である。
なお、以下のようにするとよりよい。
(21)’ 0.2<M3 /M2 <1.4
さらに、以下のようにすると最もよい。
(21)” 0.4<M3 /M2 <1.2
なお、収差補正や射出側テレセントリック性を良くする目的で、レンズ群Cよりも像側にレンズ群Dを配するのがよい。さらに、以下の条件(22)を満足するとよい。
(22) 0.0<L/fD <0.7
ただし、fD は第4のレンズ群Dの焦点距離、Lは電子撮像素子の有効撮像領域の対角長である。
条件(22)の下限値の0.0を越えると、広角端での射出瞳位置が像面に近づきやすく、また、上限値の0.7を越えると、変倍時の射出瞳位置の変動量が大きくなりすぎ、いずれもシェーディングの原因となりやすい。
なお、以下のようにするとよりよい。
(22)’ 0.1<L/fD <0.5
さらに、以下のようにすると最もよい。
(22)” 0.2<L/fD <0.35
また、レンズ群A、レンズ群Bにて補正し切れない収差を、レンズ群Dに非球面を導入して補正すると効果的である。特に、歪曲収差・非点収差・コマ収差等の軸外収差の補正には大変効果がある。このレンズ群Dによりそれより物体側にて発生する収差を相当量キャンセルしている訳であるから、フォーカス等によって動かすと収差のバランスを崩してしまう。したがって、レンズ群Dはフォーカス時には固定である方が望ましい。
レンズ入射面を物体側に向けなおかつ奥行きを薄くするには、光路折り曲げを撮影光学系の出来るだけ物体側の位置で、しかも、光線高が低い部位で実施するのが好ましい。また、沈胴式鏡枠の廃止や防水といった観点から、移動群は折り曲げ位置よりも像側とするのがよい。
折り曲げスペースを極力小さくするためには、折り曲げ部近傍での結像に寄与する全ての光線高が低いのがよいことを考えると、折り曲げ部の存在する最も物体側のレンズ群から変倍時に可動な群の直前までの部分系の合成焦点距離が負であることが望ましい。
したがって、奥行き方向を薄くするために光路を折り曲げることは、本発明のように、負の屈折力を有する最も物体側に位置するレンズ群Aが固定であるズームレンズが実施しやすい。特に、レンズ群A内に反射光学素子を挿入して光路を折り曲げるのがよい。その場合、レンズ群Aは、物体側に凸面を有する負メニスカスレンズを有する副群A1、光路を折り曲げるための反射光学素子、少なくとも正レンズを含む副群A2にて構成するのがよい。
この場合、何れのタイプでも第1レンズ群副群A1の最も像側の面頂から副群A2の最も物体側の面頂までの光軸上に沿って測ったときの空気換算長d、すなわち、変倍時固定のレンズ群Aにおける反射光学素子の反射面の直前の屈折力を持つ屈折面から反射面の直後の屈折力を持つ屈折面までの空気換算長dを以下のようにするのがよい。
(23) 0.8<d/L<2.0
この条件(23)の上限値の2.0を越えると、プリズムを含めた物体側の光学素子が大型化しやすく、収差補正上も不利であるし、レンズ群B以降の群の合成倍率が低くなりレンズ群Bの移動量が増大するか、高いズーム比を確保することが困難となる。下限値の0.8を越えると、画像周辺部の結像に寄与する光束が満足に像面に達しないし、あるいはゴーストが発生しやすい。
なお、光路を折り曲げる方向の画角が25°±3°の場合、約19°±3°の場合、それぞれ以下の範囲がよい。
(23-1) 0.9<d/L<1.7
(23-2) 1.0<d/L<1.8
さらに、条件(23−1)、(23−2)はそれぞれ以下のようにすると最もよい。
(23-1)’ 1.0<d/L<1.5
(23-2)’ 1.2<d/L<1.7
反射光学素子は屈折力の高い媒質のプリズムにて構成するのが、プリズムを含めた物体側の光学素子の小型化や収差補正上有利である。
(24) 1.5<npri
ただし、npri はプリズムのd線に対する媒質の屈折率である。
条件(24)の下限値の1.5を越えると、プリズムを含めた物体側の光学素子が大型化しやすく、収差補正上も不利であるし、レンズ群B以降の群の合成倍率が低くなりレンズ群Bの移動量が増大するか、高いズーム比を確保することが困難となる。上限値を定める場合、屈折率が1.90を越えないことが望ましい。こも上限値を越えると、全反射によるゴーストが発生しやすくなる。さらには、その上限値を1.87、さらには1.84とすることがより好ましい。
なお、以下のようにするとよりよい。
(24)’ 1.6<npri
さらに、以下のようにすると最もよい。
(24)” 1.7<npri
なお、レンズ群Aの副群A2は、色収差や歪曲収差等の軸外収差を補正するために、物体側から順に、負レンズ、正レンズの2枚にて構成し、以下の条件を満足するとよい。
(25) −0.5<L/f12<0
ただし、Lは電子撮像素子の有効撮像領域の対角長、f12は変倍時固定レンズ群Aの像側副群A2の焦点距離である。
条件(25)の上限の0を越えると、レンズ群B以降の群の合成倍率が低くなり、レンズ群Bの移動量が増大するか高いズーム比を確保することが困難となり、下限の−0.5を越えると、プリズムを含めた物体側の光学素子が大型化しやすく収差補正上も不利である。
なお、以下のようにするとよりよい。
(25)’ −0.4<L/f12<−0.05
さらに、以下のようにすると最もよい。
(25)” −0.3<L/f12<−0.1
なお、何れのタイプも、近軸的屈折力配置を適切にするために反射面を平面以外で構成してもよい。また、反射面の形状を自由に変えることのできる制御系を設け、それでもって変倍の際に発生する焦点位置や収差の変動を補正したり、フォーカスをしたり、変倍を
するために形状制御可能な形状可変ミラーにするのがより好ましい。これとは別に、反射光学素子としてプリズム平面部に平凹レンズを接合したり、プリズムの有効光線通過あるいは反射面を曲面で構成してもよい。歪曲補正のレベルと電子撮像装置の目標サイズとのバランスの関係から、最も物体側にパワーの弱い正レンズを付加してもよい。その場合は、レンズ群Aの副群A2はなくてもよい。また、レンズ群Aの副群A1は変倍時固定とするが、副群A2は移動することが比較的容易なため可動としてもよい。その場合、変倍時に像側に凸の軌跡を描きつつ移動するのがよい。
なお、反射光学素子は、必ずしも固定レンズ群Aにおける複数のレンズの間に配されていなくてもよく、反射光学素子が固定レンズ群Aの最も物体側や最も像側に配されてなるものであって構わない。
以下の構成上の限定の何れかを加えると、より一層高い仕様性能、簡素な構成の折り曲げズームレンズを得ることができ、撮像装置のさらなる薄型化に寄与する。
○レンズ群Aの副群A1物体側に凸の負レンズ1枚のみとする。
この配置が画角を維持しながら光学系の奥行きを最も薄くできる構成である。 ○その場合、その負レンズのパワーがある程度ないと意味がないので、レンズ群Aの副群A1とA2のパワー比を、
(26) 0<f11/f12<1.6
とする。ただし、f11、f12はそれぞれレンズ群Aの副群A1、A2の焦点距離である。
条件(26)の上限の1.6、下限の0の何れかを越えても折り曲げ光学素子が大型化しやすい。
なお、以下のようにするとよりよい。
(26)’ 0.1<f11/f12<1.5
さらに、以下のようにすると最もよい。
(26)” 0.2<f11/f12<1.4
構成枚数を削減してコストダウンを図る場合は、レンズ群B又はレンズ群Cの何れか一方を単レンズとし、もう一方には少なくとも負レンズを含むような構成としてもよい。本発明のレンズ群Bとレンズ群Cは変倍時に相対的間隔をわずかに変えながら概ね同一方向に移動するために移動スペースを共用でき、少ないスペースで焦点位置を一定に保ちつつ変倍することができるのであるが、その他、レンズ群B、レンズ群Cで相互に色収差を補正できるというメリットがある。したがって、それぞれの群の色収差の補正が完結している必要がなく、上記のような構成が可能である。
レンズ群Bとレンズ群Cの相対的間隔変化を出来るだけ小さく保つには、レンズ群B以降の合成系の倍率が−1倍近傍にて変倍するのがよい。ただし、収差補正上は倍率の絶対値は低い方が有利である。したがって、望遠端においては以下の条件を満足するのがよい。
(27) 0.8<−βRt<2.1
ただし、βRtは無限遠物点合焦時の望遠端における移動レンズ群B以降の合成倍率である。
条件(27)の上限の2.1、下限の0.8の何れを越えても、レンズ群Bとレンズ群
Cとの相対的間隔の変化量が大きくなってしまう。
なお、以下のようにするとよりよい。
(27)’ 0.9<−βRt<1.9
さらに、以下のようにすると最もよい。
(27)” 1.0<−βRt<1.7
なお、以上において、第3のレンズ群Cと第4のレンズ群Dとの間に他のレンズ群が配されてもよい。第3のレンズ群Cと第4のレンズ群Dとは可変する空気間隔を挟んで配置することで、小型化に有利となり、より好ましい。
以上のズームレンズの中、光路を折り曲げるための反射光学素子をプリズムにすると、入射瞳位置を浅くしやすく、レンズ群Aの小型化に有利である。また、そのプリズムの透過面の中、少なくとも一面に曲率を設ける、つまり、プリズムに屈折力を保有させることで、レンズ要素数を削減でき、コンパクト化やコストダウンに寄与することができる。特に奥行き方向を薄くするためには、そのプリズムは最も物体側に配置するとよく、その場合には、プリズムの入射面は物体側に凹面を向けるようにするとよい。これにより、全てが平面のプリズムの場合に必要であったプリズムよりも物体側の負メニスカスレンズを省略でき、奥行き方向をより薄くすることが可能となる。ただし、こうした構成をとった場合、歪曲収差等の軸外収差補正が不利となるため、非球面を導入することでその補正を可能としている。また、プリズム入射面に非球面を導入すると、射出面との面間偏心精度の確保が困難となるため、射出面については平面として面間偏心要求精度を緩和している。
結局、レンズ群Aは物体側に凹面を向けた透過面(入射面)を有する光路を折り曲げるためのプリズムA1と少なくとも正レンズを含む副群A2で構成するのが、小型化、奥行き方向の薄型化には最良となる。
本構成において、特にレンズ群Bとレンズ群Cの構成がbタイプ(ズームレンズb)である場合は、コマ収差、非点収差、歪曲収差の発生の仕方が変わってくるため、以下の条件(3)〜(8)、(21)、(23)、(26)の数値範囲にするのがよい(前記条件(3)〜(8)、(21)、(23)、(26)に対応して。また、それらのさらに限定した条件((3)’、(3)”等)に対応して。)。
(3) 2.0<log γB /log γ<10
(3)’ 2.2<log γB /log γ<9
(3)” 2.4<log γB /log γ<8
(4) 0.45<R22R /R22F <0.95
(4)’ 0.50<R22R /R22F <0.90
(4)” 0.55<R22R /R22F <0.85
(5) −0.8<L/R22C <0.8
(5)’ −0.6<L/R22C <0.6
(5)” −0.4<L/R22C <0.4
(6) 25<ν22F −ν22R
(6)’ 30<ν22F −ν22R
(6)” 35<ν22F −ν22R
(7) −1.2<(R21F +R21R )/(R21F −R21R )<1.2
(7)’ −0.8<(R21F +R21R )/(R21F −R21R )<0.8
(7)” −0.5<(R21F +R21R )/(R21F −R21R )<0.5
(8) −1.2<L/f2R<0.1
(8)’ −1.0<L/f2R<0.0
(8)” −0.9<L/f2R<−0.1
(21) 0.4<M3 /M2 <1.6
(21)’ 0.5<M3 /M2 <1.4
(21)” 0.6<M3 /M2 <1.2
(23) 0.8<d/L<1.8
(23-1) 0.9<d/L<1.5
(23-2) 1.0<d/L<1.6
(23-1)’ 1.0<d/L<1.3
(23-2)’ 1.2<d/L<1.5
(26) 0.5<f11/f12<1.6
(26)’ 0.6<f11/f12<1.5
(26)” 0.7<f11/f12<1.4
また、レンズ群Bとレンズ群Cの構成がbタイプで、レンズ群Aのプリズム入射面が物体側に凹面を向けている場合以外については、前記の条件(3)〜(8)、(21)、(23)、(26)に対応して、また、それらのさらに限定した条件((3)’、(3)”等)に対応して、以下の範囲にするのがよい。
(3) 0.9<log γB /log γ<4.5
(3)’ 1.0<log γB /log γ<4.0
(3)” 1.1<log γB /log γ<3.8
(4) 0.25<R22R /R22F <0.75
(4)’ 0.30<R22R /R22F <0.65
(4)” 0.33<R22R /R22F <0.55
(5) −1.0<L/R22C <0.6
(5)’ −0.8<L/R22C <0.4
(5)” −0.6<L/R22C <0.2
(6) 14<ν22F −ν22R
(6)’ 18<ν22F −ν22R
(6)” 22<ν22F −ν22R
(7) −1.6<(R21F +R21R )/(R21F −R21R )<0.4
(7)’ −1.2<(R21F +R21R )/(R21F −R21R )<0.0
(7)” −0.8<(R21F +R21R )/(R21F −R21R )<−0.4 (8) −1.2<L/f2R<−0.1
(8)’ −1.0<L/f2R<−0.2
(8)” −0.9<L/f2R<−0.3
(21) 0.0<M3 /M2 <1.0
(21)’ 0.2<M3 /M2 <0.9
(21)” 0.4<M3 /M2 <0.8
(23) 1.0<d/L<2.0
(23-1) 1.1<d/L<1.7
(23-2) 1.2<d/L<1.8
(23-1)’ 1.2<d/L<1.5
(23-2)’ 1.4<d/L<1.7
(26) 0<f11/f12<1.1
(26)’ 0.1<f11/f12<1.0
(26)” 0.2<f11/f12<0.9
さて、さらには、本発明のズームレンズを、物体側から順に、変倍時固定レンズ群A、移動レンズ群B、第3のレンズ群C、第4のレンズ群Dにて構成することで、小型の4群ズームレンズが構成できる。
以上、ズームレンズ部について沈胴厚を薄くしつつも結像性能を良好にする手段を提供した。
次に、フィルター類を薄くする件について言及する。電子撮像装置には、通常、赤外光が撮像面に入射しないように一定の厚みのある赤外吸収フィルターを撮像素子よりも物体側に挿入している。これを厚みのないコーティングに置き換えることを考える。当然その分薄くなる訳だが、副次的効果がある。ズームレンズ系後方にある撮像素子よりも物体側に、波長600nmでの透過率(τ600 )が80%以上、700nmでの透過率(τ700 )が8%以下の近赤外シャープカットコートを導入すると、吸収タイプよりも700nm以上の近赤外領域の透過率が低く、かつ、相対的に赤側の透過率が高くなり、補色モザイクフィルターを有するCCD等の固体撮像素子の欠点である青紫側のマゼンタ化傾向がゲイン調整により緩和され、原色フィルターを有するCCD等の固体撮像素子並みの色再現を得ることができる。また、原色補色に限らず、植物や人肌のように近赤外領域に強い反射率を有するものの色再現が改善される。
すなわち、
(28) τ600 /τ550 ≧0.8
(29) τ700 /τ550 ≦0.08
を満たすことが望ましい。ただし、τ550 は波長550nmでの透過率である。
なお、条件(28)、(29)の何れかあるいは両方を以下のようにするとよりよい。
(28)’ τ600 /τ550 ≧0.85
(29)’ τ700 /τ550 ≦0.05
さらに、条件(28)、(29)の何れかあるいは両方を以下のようにするとさらによい。特に両方を以下のようにすると最もよい。
(28)” τ600 /τ550 ≧0.9
(29)” τ700 /τ550 ≦0.03
CCD等の固体撮像素子のもう1つの欠点は、近紫外域の波長550nmに対する感度が人間の眼のそれよりもかなり高いことである。これも、近紫外域の色収差による画像のエッジ部の色にじみを目立たせている。特に光学系を小型化すると致命的である。したがって、波長400nmでの透過率(τ400 )の550nmでのそれ(τ550 )に対する比が0.08を下回り、440nmでの透過率(τ440 )の550nmでのそれ(τ550 )に対する比が0.4を上回るような吸収体あるいは反射体を光路上に挿入すれば、色再現上必要な波長域を失わず(良好な色再現を保ったまま)、色にじみなどのノイズがかなり軽減される。
すなわち、
(30) τ400 /τ550 ≦0.08
(31) τ440 /τ550 ≧0.4
を満たすことが望ましい。
なお、条件(30)、(31)の何れかあるいは両方を以下のようにするとよりよい。
(30)’ τ400 /τ550 ≦0.06
(31)’ τ440 /τ550 ≧0.5
さらに、条件(30)、(31)の何れかあるいは両方を以下のようにするとさらによい。特に両方を以下のようにすると最もよい。
(30)” τ400 /τ550 ≦0.04
(31)” τ440 /τ550 ≧0.6
なお、これらのフィルターの設置場所は結像光学系と撮像素子の間がよい。
一方、補色フィルターの場合、その透過光エネルギーの高さから、原色フィルター付きCCDと比べ実質的感度が高く、かつ、解像的にも有利であるため、小型CCDを使用したときのメリットが大である。
また、光学系を短く薄くするには、もう一方のフィルターである光学的ローパスフィルターについても出来るだけ薄くするのがよい。一般的に、光学ローパスフィルターは水晶のような単軸結晶が有する複屈折作用を利用しているが、結晶軸がズームレンズの光軸に対してなす角が35°から55°の範囲であり、かつ、各々の結晶軸を像面に投影したときの方向がそれぞれ異なる複数あるいは単独の水晶光学ローパスフィルターを含む場合、その中でズームレンズ光軸上に沿った厚みが最も厚いフィルターの厚みtLPF (mm)を以下の条件を満たすようにするとよい。
(32) 0.08<tLPF /a<0.16 (a<4μmのとき)
0.075<tLPF /a<0.15 (a<3μmのとき)
ただし、tLPF (mm)はズームレンズの光軸に沿って最も厚くそれとのなす角が35°から55°の範囲に1つの結晶軸を有する光学的ローパスフィルターの厚み、aは電子撮像素子の水平画素ピッチ(単位μm)である。
1枚あるいは複数枚で構成された光学的ローパスフィルターの中最も厚いものは、その厚さがナイキスト限界周波数にて理論上コントラストがゼロになるように設定されており、およそa/5.88(mm)である。これよりも厚くすると、モアレ縞のような偽信号の防止には効果があるが、電子撮像素子の持つ分解能を十分に発揮できなくなり、薄くするとモアレ縞のような偽信号が十分に除去できない。しかし、モアレ縞のような偽信号はズームレンズ等の撮影レンズの結像性能とも深く関連し、結像性能が高い場合はモアレ縞のような偽信号が発生しやすいので、光学的ローパスフィルターはやや厚めに、逆の場合はやや薄めに設定するのがよい。
一方、画素ピッチが小さくなるにつれて結像レンズ系の回折の影響によりナイキスト限界以上の周波数成分のコントラストが減少するため、モアレ縞のような偽信号の発生は少なくなる。したがって、a/5.88(mm)より数%乃至数十%程度薄くすると、むしろナイキスト限界に相当する周波数以下の空間周波数でのコントラストが向上し好ましい。
なお、以下のようにするとよりよい。
(32)’ 0.075<tLPF /a<0.15 (a<4μmのとき)
0.07<tLPF /a<0.14 (a<3μmのとき)
さらに、以下のようにすると最もよい。
(32)” 0.07<tLPF /a<0.14 (a<4μmのとき)
0.065<tLPF /a<0.13 (a<3μmのとき)
また、a<4μmにおいて、光学的ローパスフィルターは薄くしすぎると加工が困難であるため、余り薄くせず、つまり条件(32)、(32)’、(32)”の上限を越えても、コントラストがゼロになる空間周波数(カットオフ周波数)を高くする別の方法がある。それは、光学的ローパスフィルターの結晶軸がズームレンズの光軸に対してなす角が
15°から35°の範囲、若しくは、55°から75°となるようにするか、場合によっては光学的ローパスフィルターを省略することである。この角度の範囲においては入射光の常光線と異常光線への分離量が45°近傍のときよりも少なくなり、0°若しくは90°になったときには分離しなくなる(ただし、90°の場合は両者に速度差がつき位相差が発生する…λ/4板の原理)。
また、前述のごとく画素ピッチが小さくなると、回折の影響でそれに見合った高い空間周波数の結像性能が劣化してくるため、Fナンバーを大きくすることが困難である。したがって、カメラにしたときの開口絞りの種類は幾何収差による劣化の大きな開放と、回折限界近傍の絞り値の2種類のみとしてもよい。その場合、前述の光学的ローパスフィルターはなくても可である。
特に画素ピッチが小さく、開放時の結像性能が最も良い場合等は、撮像面への入射光束サイズを規制する手段として、内径が可変であったり、内径の異なるものと入れ換える方法を用いず、常に内径が固定の開口絞りとしてもよい。その場合、開口絞りに隣接するレンズ面は少なくとも一方はその開口絞りに向かって凸面を向けており、その何れかの隣接するレンズ面が開口絞り内径部を貫通するようにすると、絞りによる無駄なスペースがなく、光学系の全長短縮に寄与する。また、開口絞りとは、レンズ面を1つ以上隔てた光軸を含む何れかの空間に透過率が90%以下の光学素子(出来れば入射面、射出面が共に平面がよい。)を配したり、透過率の異なる別の光学素子と入れ換える手段を持つとよい。
あるいは、開口サイズが固定の複数の開口を有し、その中の1つを第1群の最も像側のレンズ面と第3群の最も物体側のレンズ面の間の何れかの光路内に挿入でき、かつ、他のものと交換可能とすることで、像面照度を調節することができる電子撮像装置としておき、その複数の開口の中、一部の開口内に550nmに対する透過率がそれぞれ異なりかつ80%未満であるような媒体を有するようにして光量調節を行うのがよい。あるいは、a(μm)/Fナンバー<0.4となるようなF値に相当する光量になるように調節を実施する場合は、開口内に550nmに対する透過率がそれぞれ異なりかつ80%未満の媒体を有する電子撮像装置とするのがよい。例えば、開放値から上記条件の範囲外ではその媒体なしかあるいは550nmに対する透過率が91%以上のダミー媒質としておき、範囲内のときは回折の影響が出る程に開口絞り径を小さくするのではなく、NDフィルターのようなもので光量調節するのがよい。
また、上記の複数の開口をそれぞれ径をF値に反比例して小さくしたものにして揃えておき、NDフィルターの代わりに、それぞれ周波数特性の異なる光学的ローパスフィルターを開口内に入れておくのでもよい。絞り込むにつれて回折劣化が大きくなるので、開口径が小さくなる程光学フィルターの周波数特性を高く設定しておくとよい。
なお、広角端の開放F値と使用する画素ピッチaμmとの関係において、F>aを満たす場合は、光学的ローパスフィルターはなくてもよい。つまり、ズームレンズ系と電子撮像素子間の光路上の媒質は全て空気あるいは非結晶媒質のみとしてよい。回折と幾何収差による結像特性の劣化のために、折り返し歪みを発生させ得る周波数成分がほとんどないためである。
なお、上記の各条件式の限定は、それぞれの上限値のみの限定、あるいは、下限値のみの限定でも当然に適用できる。また、後記の各実施例のこれの条件式に対応する値も、各条件式の上限又は下限まで変更し得るものである。
本発明により極力物体側にミラー等の反射光学素子を挿入して光学系、特にズームレン
ズ系の光路(光軸)を折り曲げる構成とし諸々の工夫を入れることにより、高ズーム比、広画角、小さいF値、少ない収差等、高い光学仕様性能を確保しながらも、沈胴式鏡筒に見られるようなカメラの使用状態への立ち上げ時間(レンズのせり出し時間)がなく、防水・防塵上も好ましく、また、奥行き方向が極めて薄いカメラとすることが可能となる。
本発明のズームレンズの実施例1の無限遠物点合焦時の広角端(a)、中間状態(b)、望遠端(c)でのレンズ断面図である。 実施例2のズームレンズの図1と同様のレンズ断面図である。 実施例3のズームレンズの図1と同様のレンズ断面図である。 実施例4のズームレンズの図1と同様のレンズ断面図である。 実施例5のズームレンズの図1と同様のレンズ断面図である。 実施例6のズームレンズの図1と同様のレンズ断面図である。 実施例7のズームレンズの図1と同様のレンズ断面図である。 実施例8のズームレンズの図1と同様のレンズ断面図である。 実施例9のズームレンズの図1と同様のレンズ断面図である。 実施例10のズームレンズの図1と同様のレンズ断面図である。 実施例11のズームレンズの図1と同様のレンズ断面図である。 実施例12のズームレンズの図1と同様のレンズ断面図である。 実施例13のズームレンズの図1と同様のレンズ断面図である。 実施例1のズームレンズの広角端無限遠物点合焦時の折り曲げ時における光路図である。 実施例1の無限遠物点合焦時の収差図である。 実施例2の無限遠物点合焦時の収差図である。 実施例3の無限遠物点合焦時の収差図である。 実施例4の無限遠物点合焦時の収差図である。 電子撮像素子にて撮影を行う場合の有効撮像面の対角長について説明するための図である。 近赤外シャープカットコートの一例の透過率特性を示す図である。 ローパスフィルターの射出面側に設ける色フィルターの一例の透過率特性を示す図である。 補色モザイクフィルターの色フィルター配置を示す図である。 補色モザイクフィルターの波長特性の一例を示す図である。 各実施例の明るさ絞りの部分の一例の詳細を示す斜視図である。 各実施例の明るさ絞りの部分の別の例の詳細を示す図である。 本発明による光路折り曲げズーム光学系を組み込んだデジタルカメラの外観を示す前方斜視図である。 図26のデジタルカメラの後方斜視図である。 図26のデジタルカメラの断面図である。 本発明による光路折り曲げズーム光学系を対物光学系として組み込れたパソコンのカバーを開いた前方斜視図である。 パソコンの撮影光学系の断面図である。 図29の状態の側面図である。 本発明による光路折り曲げズーム光学系を対物光学系として組み込れた携帯電話の正面図、側面図、その撮影光学系の断面図である。
以下、本発明のズームレンズの実施例1〜13について説明する。実施例1〜13の無限遠物点合焦時の広角端(a)、中間状態(b)、望遠端(c)でのレンズ断面図をそれぞれ図1〜図13に示す。図1〜図12中、第1レンズ群はG1、絞りはS、第2レンズ
群はG2、第3レンズ群はG3、第4レンズ群はG4、光学的ローパスフィルターはLF、電子撮像素子であるCCDのカバーガラスはCG、CCDの像面はIで示してある。また、第1レンズ群中G1中の光路折り曲げプリズムを展開した平行平板はPで示してある。また、図13中、第1−1レンズ群はG1−1、第1−2レンズ群はG1−2、光路折り曲げプリズムはP、第2レンズ群はG2、第3レンズ群はG3、第4レンズ群はG4、近赤外カットコート面はIC、光学的ローパスフィルターはLF、電子撮像素子であるCCDのカバーガラスはCG、CCDの像面はIで示してあり、物体側から順に配置された、近赤外カットコート面IC、光学的ローパスフィルターLF、カバーガラスCGは、最終群G4と像面Iの間に固定配置されている。これらの実施例について、光学的ローパスフィルターLFの最大厚みについては後記する。なお、近赤外シャープカットコートについては、例えば光学的ローパスフィルターLFに直接コートを施こしてもよく、また、別に赤外カット吸収フィルターを配置してもよく、あるいは、透明平板の入射面に近赤外シャープカットコートしたものを用いてもよい。
光路折り曲げプリズムPは、代表例として例えば実施例1のズームレンズの広角端無限遠物点合焦時の折り曲げ時における光路図を図14に示すように、光路を90°折り曲げる反射プリズムとして構成される。なお、実施例1〜13における有効撮像領域の縦横比は3:4であり、折り曲げ方向は横方向である。
実施例1のズームレンズは、図1に示すように、物体側に凸の負メニスカスレンズと、光路折り曲げプリズムPと、両凹負レンズと、両凸正レンズとからなる第1レンズ群G1、開口絞りS、両凸正レンズと、両凸正レンズと両凹負レンズの接合レンズとからなる第2レンズ群G2、両凸正レンズ1枚からなる第3レンズ群G3、両凸正レンズ1枚からなる第4レンズ群G4からなり、広角端から望遠端に変倍する際は、第1レンズ群G1、第4レンズ群G4は固定で、第2レンズ群G2は開口絞りSと共に物体側へ移動し、第3レンズ群G3は第2レンズ群G2との間隔を一旦広げその後縮めながら物体側へ移動する。近距離の被写体にフォーカシングするために、第3レンズ群G3は物体側へ繰り出される。
非球面は、第1レンズ群G1の両凹負レンズの像面側の面、第2レンズ群G2の最も物体側の面、第4レンズ群G4の像面側の面の3面に用いられている。
実施例2のズームレンズは、図2に示すように、物体側に凸の負メニスカスレンズと、光路折り曲げプリズムPと、物体側に凸の負メニスカスレンズと、物体側に凸の正メニスカスレンズとからなる第1レンズ群G1、開口絞りS、物体側に凸の負メニスカスレンズと両凸正レンズの接合レンズからなる第2レンズ群G2、物体側に凸の正メニスカスレンズと物体側に凸の負メニスカスレンズの接合レンズと、物体側に凸の正メニスカスレンズとからなる第3レンズ群G3、像面側に凸の正メニスカスレンズ1枚からなる第4レンズ群G4からなり、広角端から望遠端に変倍する際は、第1レンズ群G1、第4レンズ群G4は固定で、第2レンズ群G2は開口絞りSと共に物体側へ移動し、第3レンズ群G3は第2レンズ群G2との間隔を広げながら物体側へ移動する。近距離の被写体にフォーカシングするために、第3レンズ群G3は物体側へ繰り出される。
非球面は、第1レンズ群G1の光路折り曲げプリズムPの直後の負メニスカスレンズの像面側の面、第3レンズ群G3の最も物体側の面、第4レンズ群G4の像面側の面の3面に用いられている。
実施例3のズームレンズは、図3に示すように、物体側に凸の負メニスカスレンズと、光路折り曲げプリズムPと、物体側に凸の負メニスカスレンズと、物体側に凸の正メニスカスレンズとからなる第1レンズ群G1、開口絞りS、物体側に凸の負メニスカスレンズ
と両凸正レンズの接合レンズからなる第2レンズ群G2、物体側に凸のメニスカスレンズと、両凸正レンズと像面側に凸の負メニスカスレンズの接合レンズとからなる第3レンズ群G3、両凸正レンズ1枚からなる第4レンズ群G4からなり、広角端から望遠端に変倍する際は、第1レンズ群G1、第4レンズ群G4は固定で、第2レンズ群G2は開口絞りSと共に物体側へ移動し、第3レンズ群G3は第2レンズ群G2との間隔を一旦広げその後縮めながら物体側へ移動する。近距離の被写体にフォーカシングするために、第3レンズ群G3は物体側へ繰り出される。
非球面は、第1レンズ群G1の光路折り曲げプリズムPの直後の負メニスカスレンズの像面側の面、第3レンズ群G3の最も物体側の面、第4レンズ群G4の像面側の面の3面に用いられている。
実施例4のズームレンズは、図4に示すように、物体側に凸の負メニスカスレンズと、光路折り曲げプリズムPと、物体側に凸の負メニスカスレンズと、物体側に凸の正メニスカスレンズとからなる第1レンズ群G1、開口絞りS、物体側に凸の正メニスカスレンズと物体側に凸の負メニスカスレンズの接合レンズと、両凸正レンズとからなる第2レンズ群G2、両凸正レンズと両凹負レンズの接合レンズからなる第3レンズ群G3、両凸正レンズ1枚からなる第4レンズ群G4からなり、広角端から望遠端に変倍する際は、第1レンズ群G1、第4レンズ群G4は固定で、第2レンズ群G2は開口絞りSと共に物体側へ移動し、第3レンズ群G3は第2レンズ群G2との間隔を一旦広げその後縮めながら物体側へ移動する。近距離の被写体にフォーカシングするために、第3レンズ群G3は物体側へ繰り出される。
非球面は、第1レンズ群G1の光路折り曲げプリズムPの直後の負メニスカスレンズの像面側の面、第2レンズ群G2の最も物体側の面、第4レンズ群G4の物体側の面の3面に用いられている。
実施例5のズームレンズは、図5に示すように、物体側に凸の負メニスカスレンズと、光路折り曲げプリズムPと、物体側に凸の負メニスカスレンズと、物体側に凸の正メニスカスレンズとからなる第1レンズ群G1、開口絞りS、物体側に凸の正メニスカスレンズと物体側に凸の負メニスカスレンズの接合レンズと、両凸正レンズとからなる第2レンズ群G2、物体側に凸の正メニスカスレンズ1枚からなる第3レンズ群G3、両凸正レンズと像面側に凸の負メニスカスレンズの接合レンズからなる第4レンズ群G4からなり、広角端から望遠端に変倍する際は、第1レンズ群G1、第4レンズ群G4は固定で、第2レンズ群G2は開口絞りSと共に物体側へ移動し、第3レンズ群G3は一旦第2レンズ群G2との間隔を広げながら像面側に移動し、その後第2レンズ群G2との間隔を縮めながら物体側に移動する。近距離の被写体にフォーカシングするために、第3レンズ群G3は物体側へ繰り出される。
非球面は、第1レンズ群G1の光路折り曲げプリズムPの直後の負メニスカスレンズの像面側の面、第2レンズ群G2の最も物体側の面、第3レンズ群G3の物体側の面、第4レンズ群G4の最も物体側の面の4面に用いられている。
実施例6のズームレンズは、図6に示すように、物体側に凸の負メニスカスレンズと、光路折り曲げプリズムPと、物体側に凸の負メニスカスレンズと、物体側に凸の正メニスカスレンズとからなる第1レンズ群G1、開口絞りS、物体側に凸の正メニスカスレンズと物体側に凸の負メニスカスレンズの接合レンズと、両凸正レンズとからなる第2レンズ群G2、物体側に凸の正メニスカスレンズ1枚からなる第3レンズ群G3、両凸正レンズと像面側に凸の負メニスカスレンズの接合レンズからなる第4レンズ群G4からなり、広角端から望遠端に変倍する際は、第1レンズ群G1、第4レンズ群G4は固定で、第2レ
ンズ群G2は開口絞りSと共に物体側へ移動し、第3レンズ群G3は一旦第2レンズ群G2との間隔を広げながら像面側に移動し、その後第2レンズ群G2との間隔を縮めながら物体側に移動する。近距離の被写体にフォーカシングするために、第3レンズ群G3は物体側へ繰り出される。
非球面は、第1レンズ群G1の光路折り曲げプリズムPの直後の負メニスカスレンズの像面側の面、第2レンズ群G2の最も物体側の面、第4レンズ群G4の最も物体側の面の3面に用いられている。
実施例7のズームレンズは、図7に示すように、物体側に凸の負メニスカスレンズと、光路折り曲げプリズムPと、物体側に凸の負メニスカスレンズと、物体側に凸の正メニスカスレンズとからなる第1レンズ群G1、開口絞りS、物体側に凸の正メニスカスレンズと物体側に凸の負メニスカスレンズの接合レンズと、両凸正レンズとからなる第2レンズ群G2、物体側に凸の正メニスカスレンズ1枚からなる第3レンズ群G3、物体側に凸の負メニスカスレンズと両凸正レンズの接合レンズからなる第4レンズ群G4からなり、広角端から望遠端に変倍する際は、第1レンズ群G1、第4レンズ群G4は固定で、第2レンズ群G2は開口絞りSと共に物体側へ移動し、第3レンズ群G3は一旦第2レンズ群G2との間隔を広げながら像面側に移動し、その後第2レンズ群G2との間隔を縮めながら物体側に移動する。近距離の被写体にフォーカシングするために、第3レンズ群G3は物体側へ繰り出される。
非球面は、第1レンズ群G1の最も物体側の負メニスカスレンズの像面側の面、第2レンズ群G2の最も物体側の面、第4レンズ群G4の最も像面側の面の3面に用いられている。
実施例8のズームレンズは、図8に示すように、物体側に凸の負メニスカスレンズと、光路折り曲げプリズムPと、両凹負レンズと物体側に凸の正メニスカスレンズの接合レンズとからなる第1レンズ群G1、開口絞りS、物体側に凸の正メニスカスレンズと物体側に凸の負メニスカスレンズの接合レンズと、両凸正レンズとからなる第2レンズ群G2、物体側に凸の正メニスカスレンズ1枚からなる第3レンズ群G3、両凸正レンズと像面側に凸の負メニスカスレンズの接合レンズからなる第4レンズ群G4からなり、広角端から望遠端に変倍する際は、第1レンズ群G1、第4レンズ群G4は固定で、第2レンズ群G2は開口絞りSと共に物体側へ移動し、第3レンズ群G3は一旦第2レンズ群G2との間隔を広げながら像面側に移動し、その後第2レンズ群G2との間隔を縮めながら物体側に移動する。近距離の被写体にフォーカシングするために、第3レンズ群G3は物体側へ繰り出される。
非球面は、第1レンズ群G1の負メニスカスレンズの像面側の面、第2レンズ群G2の最も物体側の面、第4レンズ群G4の最も物体側の面の3面に用いられている。
実施例9のズームレンズは、図9に示すように、物体側に凸の負メニスカスレンズと、光路折り曲げプリズムPと、像面側に凸の負メニスカスレンズと像面側に凸の正メニスカスレンズの接合レンズとからなる第1レンズ群G1、開口絞りS、両凸正レンズと、凸平正レンズと平凹負レンズの接合レンズからなる第2レンズ群G2、両凸正レンズ1枚からなる第3レンズ群G3、両凸正レンズと像面側に凸の負メニスカスレンズの接合レンズからなる第4レンズ群G4からなり、広角端から望遠端に変倍する際は、第1レンズ群G1、第4レンズ群G4は固定で、第2レンズ群G2は開口絞りSと共に物体側へ移動し、第3レンズ群G3は第2レンズ群G2との間隔を一旦広げその後縮めながら物体側へ移動する。近距離の被写体にフォーカシングするために、第3レンズ群G3は物体側へ繰り出される。
非球面は、第1レンズ群G1の最も物体側の負メニスカスレンズの像面側の面、第2レンズ群G2の最も物体側の面、第4レンズ群G4の最も物体側の面の3面に用いられている。
実施例10のズームレンズは、図10に示すように、物体側に凸の負メニスカスレンズと、光路折り曲げプリズムPと、両凹負レンズと、物体側に凸の正メニスカスレンズとからなる第1レンズ群G1、開口絞りS、物体側に凸の正メニスカスレンズと物体側に凸の負メニスカスレンズの接合レンズと、両凸正レンズとからなる第2レンズ群G2、物体側に凸の正メニスカスレンズ1枚からなる第3レンズ群G3、像面側に凸の負メニスカスレンズと像面側に凸の正メニスカスレンズの接合レンズからなる第4レンズ群G4からなり、広角端から望遠端に変倍する際は、第1レンズ群G1、第4レンズ群G4は固定で、第2レンズ群G2は開口絞りSと共に物体側へ移動し、第3レンズ群G3は一旦第2レンズ群G2との間隔を広げながら像面側に移動し、その後第2レンズ群G2との間隔を縮めながら物体側に移動する。近距離の被写体にフォーカシングするために、第3レンズ群G3は物体側へ繰り出される。
非球面は、第1レンズ群G1の光路折り曲げプリズムPの直後の両凹負レンズの像面側の面、第2レンズ群G2の最も物体側の面、第3レンズ群G3の物体側の面、第4レンズ群G4の最も像面側の面の4面に用いられている。
実施例11のズームレンズは、図11に示すように、物体側に凸の負メニスカスレンズと、光路折り曲げプリズムPと、両凹負レンズと、物体側に凸の正メニスカスレンズとからなる第1レンズ群G1、開口絞りS、物体側に凸の正メニスカスレンズと物体側に凸の負メニスカスレンズの接合レンズと、両凸正レンズとからなる第2レンズ群G2、物体側に凸の正メニスカスレンズ1枚からなる第3レンズ群G3、像面側に凸の負メニスカスレンズと像面側に凸の正メニスカスレンズの接合レンズからなる第4レンズ群G4からなり、広角端から望遠端に変倍する際は、第1レンズ群G1、第4レンズ群G4は固定で、第2レンズ群G2は開口絞りSと共に物体側へ移動し、第3レンズ群G3は一旦第2レンズ群G2との間隔を広げながら像面側に移動し、その後第2レンズ群G2との間隔を縮めながら物体側に移動する。近距離の被写体にフォーカシングするために、第3レンズ群G3は物体側へ繰り出される。
非球面は、第1レンズ群G1の光路折り曲げプリズムPの直後の両凹負レンズの両面、第2レンズ群G2の最も物体側の面、第4レンズ群G4の最も像面側の面の4面に用いられている。
実施例12のズームレンズは、図12に示すように、物体側に凸の負メニスカスレンズと、光路折り曲げプリズムPと、両凹負レンズと、物体側に凸の正メニスカスレンズとからなる第1レンズ群G1、開口絞りS、物体側に凸の正メニスカスレンズと物体側に凸の負メニスカスレンズの接合レンズと、両凸正レンズとからなる第2レンズ群G2、物体側に凸の正メニスカスレンズ1枚からなる第3レンズ群G3、物体側に凸の負メニスカスレンズと両凸正レンズの接合レンズからなる第4レンズ群G4からなり、広角端から望遠端に変倍する際は、第1レンズ群G1、第4レンズ群G4は固定で、第2レンズ群G2は開口絞りSと共に物体側へ移動し、第3レンズ群G3は一旦第2レンズ群G2との間隔を広げながら像面側に移動し、その後第2レンズ群G2との間隔を縮めながら物体側に移動する。近距離の被写体にフォーカシングするために、第3レンズ群G3は物体側へ繰り出される。
非球面は、第1レンズ群G1の負メニスカスレンズの像面側の面、第2レンズ群G2の
最も物体側の面、第4レンズ群G4の最も像面側の面の3面に用いられている。
なお、以上の実施例1〜12の第1レンズ群G1が本発明のレンズ群Aを、第2レンズ群G2が本発明のレンズ群Bを構成している。
実施例13のズームレンズは、図13に示すように、凹平負レンズと等価な光路折り曲げプリズムPからなる第1−1レンズ群G1−1、物体側に凹の負メニスカスレンズと物体側に凹の正メニスカスレンズの接合レンズからなる第1−2レンズ群G1−2、開口絞りと、両凸正レンズと、物体側に凸の正メニスカスレンズと物体側に凸の負メニスカスレンズの接合レンズとからなる第2レンズ群G2、両凸正レンズからなる第3レンズ群G3、像面側に凸の正メニスカスレンズからなる第4レンズ群G4からなり、広角端から望遠端に変倍する際は、第2レンズ群G2と第3レンズ群G3は間の間隔を一旦は広げ後に狭めながら物体側へ移動する。
非球面は、第1−1レンズ群G1−1の光路折り曲げプリズムPの物体側の面、第2レンズ群G2の最も物体側の面、第4レンズ群G4の正メニスカスレンズの像面側の面の3面に用いられている。
なお、実施例13においては、第1−1レンズ群G1−1と第1−2レンズ群G1−2が本発明のレンズ群Aを、第2レンズ群G2が本発明のレンズ群Bを構成している。
以下に、上記各実施例の数値データを示すが、記号は上記の外、fは全系焦点距離、2ωは画角、FNOはFナンバー、WEは広角端、STは中間状態、TEは望遠端、r1 、r2 …は各レンズ面の曲率半径、d1 、d2 …は各レンズ面間の間隔、nd1、nd2…は各レンズのd線の屈折率、νd1、νd2…は各レンズのアッベ数である。なお、非球面形状は、xを光の進行方向を正とした光軸とし、yを光軸と直交する方向にとると、下記の式にて表される。
x=(y2 /r)/[1+{1−(K+1)(y/r)2 1/2
+A44 +A66 +A88 + A1010
ただし、rは近軸曲率半径、Kは円錐係数、A4、A6、A8、A10 はそれぞれ4次、6次、8次、10次の非球面係数である。

実施例1
1 = 14.8444 d1 = 1.2000 nd1 =1.80610 νd1 =40.92
2 = 7.9462 d2 = 2.9000
3 = ∞ d3 = 12.5000 nd2 =1.78590 νd2 =44.20
4 = ∞ d4 = 0.4100
5 = -29.2456 d5 = 1.0000 nd3 =1.80610 νd3 =40.92
6 = 9.2661(非球面) d6 = 1.0000
7 = 15.5357 d7 = 1.8200 nd4 =1.71736 νd4 =29.52
8 = -23.5495 d8 = (可変)
9 = ∞(絞り) d9 = 1.0000
10= 8.5761(非球面) d10= 2.3000 nd5 =1.80610 νd5 =40.92
11= -36.3441 d11= 0.1500
12= 15.2953 d12= 2.7000 nd6 =1.69350 νd6 =53.21
13= -15.0000 d13= 0.8000 nd7 =1.80518 νd7 =25.42
14= 5.3453 d14= (可変)
15= 16.7201 d15= 1.6000 nd8 =1.48749 νd8 =70.23
16= -486.1483 d16= (可変)
17= 28.4526 d17= 1.7000 nd9 =1.58313 νd9 =59.38
18= -34.4702(非球面) d18= 0.6600
19= ∞ d19= 1.4400 nd10=1.54771 νd10=62.84
20= ∞ d20= 0.8000
21= ∞ d21= 0.6000 nd11=1.51633 νd11=64.14
22= ∞ d22= 1.3598
23= ∞(像面)
非球面係数
第6面
K = 0
A4 =-3.5636 ×10-4
A6 = 5.2749 ×10-6
A8 =-2.9541 ×10-7
A10= 5.5683 ×10-9
第10面
K = 0
A4 =-2.3319 ×10-4
A6 =-9.0916 ×10-7
A8 =-3.8758 ×10-8
A10= 0.0000
第18面
K = 0
A4 = 4.8568 ×10-4
A6 =-3.3258 ×10-5
A8 = 1.7328 ×10-6
A10=-3.3044 ×10-8
ズームデータ(∞)
WE ST TE
f (mm) 6.00491 9.33131 14.49908
NO 2.8494 3.6391 4.5331
2ω (°) 32.7 21.4 13.9
8 14.59760 7.77126 1.49983
14 1.99990 7.34104 5.91654
16 5.46534 6.96338 14.64643 。

実施例2
1 = 18.3518 d1 = 1.2000 nd1 =1.78590 νd1 =44.20
2 = 8.4466 d2 = 2.9000
3 = ∞ d3 = 12.5000 nd2 =1.78590 νd2 =44.20
4 = ∞ d4 = 0.5000
5 = 1113.2775 d5 = 1.0000 nd3 =1.74320 νd3 =49.34
6 = 8.4738(非球面) d6 = 0.8000
7 = 10.8733 d7 = 2.0000 nd4 =1.72825 νd4 =28.46
8 = 156.2997 d8 = (可変)
9 = ∞(絞り) d9 = 1.0000
10= 17.7870 d10= 0.7000 nd5 =1.84666 νd5 =23.78
11= 9.5000 d11= 2.0000 nd6 =1.53172 νd6 =48.84
12= -16.0207 d12= (可変)
13= 4.2286(非球面) d13= 2.5000 nd7 =1.69350 νd7 =53.21
14= 5.4000 d14= 0.7000 nd8 =1.84666 νd8 =23.78
15= 3.0911 d15= 0.9300
16= 7.7824 d16= 1.5000 nd9 =1.51633 νd9 =64.14
17= 15.1208 d17= (可変)
18= -12.0255 d18= 1.8000 nd10=1.51633 νd10=64.14
19= -6.7836(非球面) d19= 0.6600
20= ∞ d20= 1.4400 nd11=1.54771 νd11=62.84
21= ∞ d21= 0.8000
22= ∞ d22= 0.6000 nd12=1.51633 νd12=64.14
23= ∞ d23= 1.3603
24= ∞(像面)
非球面係数
第6面
K = 0
A4 =-1.2289 ×10-4
A6 =-5.3381 ×10-6
A8 = 8.7422 ×10-8
A10=-3.3652 ×10-11
第13面
K = 0
A4 =-1.9805 ×10-4
A6 =-2.8934 ×10-5
A8 = 1.9147 ×10-6
A10=-1.9986 ×10-7
第19面
K = 0
A4 = 8.1993 ×10-4
A6 =-1.1656 ×10-5
A8 =-3.0739 ×10-7
A10= 0.0000
ズームデータ(∞)
WE ST TE
f (mm) 6.00484 9.32900 14.49815
NO 2.8586 3.5391 4.4656
2ω (°) 32.7 21.2 14.0
8 14.82338 7.17554 1.49960
12 1.39943 6.88233 7.06951
17 4.89357 7.02815 12.54751 。

実施例3
1 = 18.4212 d1 = 1.2000 nd1 =1.78590 νd1 =44.20
2 = 8.6018 d2 = 2.9000
3 = ∞ d3 = 12.5000 nd2 =1.78590 νd2 =44.20
4 = ∞ d4 = 0.5000
5 = 62.7612 d5 = 1.0000 nd3 =1.74320 νd3 =49.34
6 = 6.4831(非球面) d6 = 0.8000
7 = 9.0709 d7 = 2.0000 nd4 =1.72825 νd4 =28.46
8 = 107.5707 d8 = (可変)
9 = ∞(絞り) d9 = 1.0000
10= 12.3123 d10= 0.7000 nd5 =1.84666 νd5 =23.78
11= 7.0000 d11= 2.0000 nd6 =1.58313 νd6 =59.38
12= -25.6683 d12= (可変)
13= 4.7382(非球面) d13= 2.5000 nd7 =1.80610 νd7 =40.92
14= 3.4603 d14= 0.9300
15= 7.8166 d15= 2.0000 nd8 =1.48749 νd8 =70.23
16= -7.2953 d16= 0.7000 nd9 =1.83400 νd9 =37.16
17= -69.1622 d17= (可変)
18= 220.1623 d18= 1.8000 nd10=1.51633 νd10=64.14
19= -14.8379(非球面) d19= 0.6600
20= ∞ d20= 1.4400 nd11=1.54771 νd11=62.84
21= ∞ d21= 0.8000
22= ∞ d22= 0.6000 nd12=1.51633 νd12=64.14
23= ∞ d23= 1.3610
24= ∞(像面)
非球面係数
第6面
K = 0
A4 =-3.8689 ×10-4
A6 =-4.0903 ×10-7
A8 =-3.1388 ×10-7
A10= 4.2432 ×10-9
第13面
K = 0
A4 =-1.1413 ×10-5
A6 = 1.9818 ×10-6
A8 =-3.1231 ×10-7
A10= 0.0000
第19面
K = 0
A4 = 4.8219 ×10-4
A6 =-1.8188 ×10-5
A8 = 2.6094 ×10-7
A10= 0.0000
ズームデータ(∞)
WE ST TE
f (mm) 6.00765 9.33160 14.49720
NO 2.8190 3.5028 4.4438
2ω (°) 32.7 21.2 13.9
8 14.09558 6.85361 1.49984
12 1.40013 6.67003 5.54950
17 5.11617 7.07754 13.56271 。

実施例4
1 = 20.3735 d1 = 1.2000 nd1 =1.78590 νd1 =44.20
2 = 8.8056 d2 = 2.9000
3 = ∞ d3 = 12.5000 nd2 =1.78590 νd2 =44.20
4 = ∞ d4 = 0.3000
5 = 91.5080 d5 = 0.9000 nd3 =1.80610 νd3 =40.92
6 = 6.4940(非球面) d6 = 0.1400
7 = 7.2843 d7 = 2.2000 nd4 =1.74000 νd4 =28.30
8 = 146.5397 d8 = (可変)
9 = ∞(絞り) d9 = 1.0000
10= 5.1758(非球面) d10= 2.5000 nd5 =1.74320 νd5 =49.34
11= 9.0000 d11= 0.7000 nd6 =1.84666 νd6 =23.78
12= 4.6154 d12= 0.9300
13= 17.8685 d13= 1.5000 nd7 =1.72916 νd7 =54.68
14= -34.0913 d14= (可変)
15= 10.1880 d15= 1.9600 nd8 =1.77250 νd8 =49.60
16= -50.0000 d16= 0.7000 nd9 =1.67270 νd9 =32.10
17= 10.2079 d17= (可変)
18= 23.9392(非球面) d18= 1.8000 nd10=1.58313 νd10=59.38
19= -44.7453 d19= 0.6600
20= ∞ d20= 1.4400 nd11=1.54771 νd11=62.84
21= ∞ d21= 0.8000
22= ∞ d22= 0.6000 nd12=1.51633 νd12=64.14
23= ∞ d23= 1.3599
24= ∞(像面) 非球面係数
第6面
K = 0
A4 =-2.8088 ×10-4
A6 = 2.6396 ×10-6
A8 =-4.8363 ×10-7
A10= 9.0705 ×10-9
第10面
K = 0
A4 =-3.1977 ×10-4
A6 =-2.1006 ×10-6
A8 =-7.1881 ×10-7
A10= 0.0000
第18面
K = 0
A4 =-2.6755 ×10-4
A6 = 3.6472 ×10-6
A8 =-2.1043 ×10-7
A10= 0.0000
ズームデータ(∞)
WE ST TE
f (mm) 6.01024 9.33049 14.49490
NO 2.8184 3.5212 4.3375
2ω (°) 32.6 21.6 13.9
8 14.61596 7.52861 1.49916
14 1.39873 7.91160 7.03236
17 5.91073 6.48903 13.39408 。

実施例5
1 = 17.9860 d1 = 1.2000 nd1 =1.78590 νd1 =44.20
2 = 8.3182 d2 = 2.9000
3 = ∞ d3 = 12.5000 nd2 =1.78590 νd2 =44.20
4 = ∞ d4 = 0.3000
5 = 72.7266 d5 = 0.9000 nd3 =1.58313 νd3 =59.38
6 = 5.2266(非球面) d6 = 0.4400
7 = 7.1726 d7 = 1.9000 nd4 =1.83400 νd4 =37.16
8 = 22.4388 d8 = (可変)
9 = ∞(絞り) d9 = 1.0000
10= 5.2528(非球面) d10= 2.5000 nd5 =1.74320 νd5 =49.34
11= 10.0000 d11= 0.7000 nd6 =1.84666 νd6 =23.78
12= 4.6454 d12= 0.8000
13= 13.3752 d13= 1.5000 nd7 =1.72916 νd7 =54.68
14= -37.9999 d14= (可変)
15= 10.5633(非球面) d15= 1.4000 nd8 =1.48749 νd8 =70.23
16= 15.0339 d16= (可変)
17= 38.6419(非球面) d17= 2.1000 nd9 =1.74320 νd9 =49.34
18= -11.0000 d18= 0.8000 nd10=1.84666 νd10=23.78
19= -30.5080 d19= 0.6600
20= ∞ d20= 1.4400 nd11=1.54771 νd11=62.84
21= ∞ d21= 0.8000
22= ∞ d22= 0.6000 nd12=1.51633 νd12=64.14
23= ∞ d23= 1.3598
24= ∞(像面) 非球面係数
第6面
K = 0
A4 =-6.0228 ×10-4
A6 =-1.9006 ×10-5
A8 = 4.0887 ×10-7
A10=-4.9789 ×10-8
第10面
K = 0
A4 =-2.8288 ×10-4
A6 =-4.3087 ×10-6
A8 =-4.8342 ×10-7
A10= 0.0000
第15面
K = 0
A4 = 1.4603 ×10-5
A6 =-9.3569 ×10-8
A8 = 2.0899 ×10-7
A10= 0.0000
第17面
K = 0
A4 =-1.8274 ×10-4
A6 = 1.4781 ×10-6
A8 =-1.2650 ×10-7
A10= 0.0000
ズームデータ(∞)
WE ST TE
f (mm) 6.00754 9.32975 14.49731
NO 2.8495 3.5727 4.3700
2ω (°) 32.6 21.6 13.9
8 14.07403 7.43206 1.49953
14 1.39969 9.03177 6.40046
16 6.73599 5.75394 14.30980 。

実施例6
1 = 17.8001 d1 = 1.2000 nd1 =1.78590 νd1 =44.20
2 = 8.2437 d2 = 2.9000
3 = ∞ d3 = 12.5000 nd2 =1.78590 νd2 =44.20
4 = ∞ d4 = 0.3000
5 = 46.5308 d5 = 0.9000 nd3 =1.58313 νd3 =59.38
6 = 5.1472(非球面) d6 = 0.4400
7 = 7.0137 d7 = 1.9000 nd4 =1.83400 νd4 =37.16
8 = 19.5923 d8 = (可変)
9 = ∞(絞り) d9 = 1.0000
10= 5.4144(非球面) d10= 2.5000 nd5 =1.74320 νd5 =49.34
11= 11.0000 d11= 0.7000 nd6 =1.84666 νd6 =23.78
12= 4.9373 d12= 0.8000
13= 16.3823 d13= 1.5000 nd7 =1.72916 νd7 =54.68
14= -27.0398 d14= (可変)
15= 9.6711 d15= 1.4000 nd8 =1.48749 νd8 =70.23
16= 12.8264 d16= (可変)
17= 40.2313(非球面) d17= 2.1000 nd9 =1.74320 νd9 =49.34
18= -11.0000 d18= 0.8000 nd10=1.84666 νd10=23.78
19= -29.7083 d19= 0.6600
20= ∞ d20= 1.4400 nd11=1.54771 νd11=62.84
21= ∞ d21= 0.8000
22= ∞ d22= 0.6000 nd12=1.51633 νd12=64.14
23= ∞ d23= 1.3602
24= ∞(像面) 非球面係数
第6面
K = 0
A4 =-6.1045 ×10-4
A6 =-2.1149 ×10-5
A8 = 6.3248 ×10-7
A10=-6.3667 ×10-8
第10面
K = 0
A4 =-2.8497 ×10-4
A6 =-3.9160 ×10-6
A8 =-4.1489 ×10-7
A10= 0.0000
第17面
K = 0
A4 =-1.5883 ×10-4
A6 =-2.4464 ×10-6
A8 = 4.8112 ×10-8
A10= 0.0000
ズームデータ(∞)
WE ST TE
f (mm) 6.01250 9.32862 14.49489
NO 2.8398 3.5522 4.3431
2ω (°) 32.6 21.6 13.9
8 13.97559 7.36589 1.49906
14 1.39898 9.08823 6.32194
16 6.84047 5.77938 14.39408 。

実施例7
1 = 21.2933 d1 = 1.2000 nd1 =1.78590 νd1 =44.20
2 = 9.1188(非球面) d2 = 2.9000
3 = ∞ d3 = 12.5000 nd2 =1.78590 νd2 =44.20
4 = ∞ d4 = 0.3000
5 = 580.7411 d5 = 0.9000 nd3 =1.58267 νd3 =46.42
6 = 7.7517 d6 = 0.4400
7 = 8.2515 d7 = 1.9000 nd4 =1.84666 νd4 =23.78
8 = 15.6144 d8 = (可変)
9 = ∞(絞り) d9 = 1.0000
10= 5.7808(非球面) d10= 2.5000 nd5 =1.74320 νd5 =49.34
11= 13.0000 d11= 0.7000 nd6 =1.84666 νd6 =23.78
12= 5.2982 d12= 0.8000
13= 14.1056 d13= 1.5000 nd7 =1.72916 νd7 =54.68
14= -27.2119 d14= (可変)
15= 13.7890 d15= 1.4000 nd8 =1.48749 νd8 =70.23
16= 20.8162 d16= (可変)
17= 100.9793 d17= 0.8000 nd9 =1.84666 νd9 =23.78
18= 13.5000 d18= 2.1000 nd10=1.80610 νd10=40.92
19= -25.2224(非球面) d19= 0.6600
20= ∞ d20= 1.4400 nd11=1.54771 νd11=62.84
21= ∞ d21= 0.8000
22= ∞ d22= 0.6000 nd12=1.51633 νd12=64.14
23= ∞ d23= 1.3601
24= ∞(像面) 非球面係数
第2面
K = 0
A4 =-1.4911 ×10-5
A6 =-1.1650 ×10-6
A8 = 4.2491 ×10-9
A10= 0.0000
第10面
K = 0
A4 =-2.3339 ×10-4
A6 =-2.6427 ×10-6
A8 =-2.6924 ×10-7
A10= 0.0000
第19面
K = 0
A4 = 1.8090 ×10-4
A6 = 4.1230 ×10-6
A8 =-1.2807 ×10-7
A10= 0.0000
ズームデータ(∞)
WE ST TE
f (mm) 6.00574 9.32712 14.49692
NO 2.8248 3.5310 4.2987
2ω (°) 32.7 21.5 13.9
8 13.57761 7.20846 1.49942
14 1.39965 9.63810 5.81790
16 7.23336 5.38063 14.89331 。

実施例8
1 = 19.1761 d1 = 1.2000 nd1 =1.78590 νd1 =44.20
2 = 8.5695(非球面) d2 = 2.9000
3 = ∞ d3 = 12.5000 nd2 =1.78590 νd2 =44.20
4 = ∞ d4 = 0.3000
5 = -46.5888 d5 = 0.9000 nd3 =1.58267 νd3 =46.42
6 = 10.3343 d6 = 1.9000 nd4 =1.84666 νd4 =23.78
7 = 26.0699 d7 = (可変)
8 = ∞(絞り) d8 = 1.0000
9 = 6.0465(非球面) d9 = 2.5000 nd5 =1.74320 νd5 =49.34
10= 13.0000 d10= 0.7000 nd6 =1.84666 νd6 =23.78
11= 5.6300 d11= 0.8000
12= 15.1088 d12= 1.5000 nd7 =1.72916 νd7 =54.68
13= -28.7654 d13= (可変)
14= 12.4863 d14= 1.4000 nd8 =1.48749 νd8 =70.23
15= 17.7361 d15= (可変)
16= 24.3278(非球面) d16= 2.1000 nd9 =1.74320 νd9 =49.34
17= -12.0000 d17= 0.8000 nd10=1.78472 νd10=25.68
18= -75.9792 d18= 0.6600
19= ∞ d19= 1.4400 nd11=1.54771 νd11=62.84
20= ∞ d20= 0.8000
21= ∞ d21= 0.6000 nd12=1.51633 νd12=64.14
22= ∞ d22= 1.3600
23= ∞(像面) 非球面係数
第2面
K = 0
A4 =-4.7160 ×10-5
A6 =-7.1255 ×10-7
A8 =-6.5873 ×10-9
A10= 0.0000
第9面
K = 0
A4 =-2.1357 ×10-4
A6 =-2.1714 ×10-6
A8 =-1.6484 ×10-7
A10= 0.0000
第16面
K = 0
A4 =-1.4451 ×10-4
A6 = 1.3508 ×10-6
A8 =-6.3819 ×10-8
A10= 0.0000
ズームデータ(∞)
WE ST TE
f (mm) 6.00723 9.32846 14.49784
NO 2.8379 3.5413 4.3096
2ω (°) 32.7 21.5 13.9
7 13.98735 7.36539 1.49963
13 1.39974 9.60703 5.93291
15 7.26137 5.69110 15.21593 。

実施例9
1 = 246.0095 d1 = 1.2000 nd1 =1.80610 νd1 =40.92
2 = 20.1760(非球面) d2 = 1.5000
3 = ∞ d3 = 12.5000 nd2 =1.78590 νd2 =44.20
4 = ∞ d4 = 1.5000
5 = -7.3867 d5 = 1.0000 nd3 =1.80100 νd3 =34.97
6 = -50.0000 d6 = 1.8200 nd4 =1.84666 νd4 =23.78
7 = -12.2328 d7 = (可変)
8 = ∞(絞り) d8 = 1.0000
9 = 10.6609(非球面) d9 = 2.3000 nd5 =1.80610 νd5 =40.92
10= -67.8827 d10= 0.1500
11= 13.1203 d11= 2.7000 nd6 =1.75700 νd6 =47.82
12= ∞ d12= 0.8000 nd7 =1.84666 νd7 =23.78
13= 6.4827 d13= (可変)
14= 17.6756 d14= 1.6000 nd8 =1.48749 νd8 =70.23
15= -50.5413 d15= (可変)
16= 15.9493(非球面) d16= 1.7000 nd9 =1.58313 νd9 =59.38
17= -15.0000 d17= 0.8000 nd10=1.84666 νd10=23.78
18= -46.4329 d18= 0.6600
19= ∞ d19= 1.4400 nd11=1.54771 νd11=62.84
20= ∞ d20= 0.8000
21= ∞ d21= 0.6000 nd12=1.51633 νd12=64.14
22= ∞ d22= 1.3601
23= ∞(像面) 非球面係数
第2面
K = 0
A4 =-1.0773 ×10-4
A6 =-3.3089 ×10-7
A8 =-1.5283 ×10-9
A10= 0.0000
第9面
K = 0
A4 =-1.2210 ×10-4
A6 =-1.3984 ×10-8
A8 =-1.6300 ×10-8
A10= 0.0000
第16面
K = 0
A4 =-2.6736 ×10-4
A6 = 1.3631 ×10-5
A8 =-4.5357 ×10-7
A10= 0.0000
ズームデータ(∞)
WE ST TE
f (mm) 5.99832 9.32950 14.50084
NO 2.6479 3.3092 4.0475
2ω (°) 32.6 21.4 13.9
7 15.07816 7.55691 1.00023
13 1.40041 6.49779 5.90725
15 6.09306 8.53155 15.66403 。

実施例10
1 = 16.8630 d1 = 1.1000 nd1 =1.77250 νd1 =49.60
2 = 8.7727 d2 = 3.0000
3 = ∞ d3 = 12.5000 nd2 =1.83481 νd2 =42.72
4 = ∞ d4 = 0.3000
5 = -43.7867 d5 = 0.9000 nd3 =1.58313 νd3 =59.38
6 = 5.4937(非球面) d6 = 0.5200
7 = 7.8835 d7 = 1.9000 nd4 =1.80610 νd4 =40.92
8 = 41.6500 d8 = (可変)
9 = ∞(絞り) d9 = 1.0000
10= 5.6352(非球面) d10= 2.5000 nd5 =1.74320 νd5 =49.34
11= 10.5000 d11= 0.7000 nd6 =1.84666 νd6 =23.78
12= 5.2717 d12= 0.8000
13= 27.0282 d13= 1.5000 nd7 =1.72916 νd7 =54.68
14= -19.3196 d14= (可変)
15= 17.7925(非球面) d15= 1.4000 nd8 =1.48749 νd8 =70.23
16= 121.8190 d16= (可変)
17= -6.1686 d17= 0.8000 nd9 =1.84666 νd9 =23.78
18= -12.5000 d18= 2.1000 nd10=1.74320 νd10=49.34
19= -5.4525(非球面) d19= 0.6600
20= ∞ d20= 1.4400 nd11=1.54771 νd11=62.84
21= ∞ d21= 0.8000
22= ∞ d22= 0.6000 nd12=1.51633 νd12=64.14
23= ∞ d23= 1.3600
24= ∞(像面) 非球面係数
第6面
K = 0
A4 =-6.5162 ×10-4
A6 =-9.3748 ×10-6
A8 = 2.0963 ×10-7
A10=-3.4547 ×10-8
第10面
K = 0
A4 =-2.9965 ×10-4
A6 =-3.4364 ×10-9
A8 =-4.7103 ×10-7
A10= 0.0000
第15面
K = 0
A4 =-9.8531 ×10-7
A6 = 2.0729 ×10-6
A8 =-3.4211 ×10-8
A10= 0.0000
第19面
K = 0
A4 = 1.0008 ×10-3
A6 =-1.7464 ×10-5
A8 = 1.1785 ×10-6
A10= 0.0000
ズームデータ(∞)
WE ST TE
f (mm) 6.01706 10.39915 17.99747
NO 2.8430 3.7925 4.6965
2ω (°) 32.6 19.3 11.3
8 18.39512 9.82836 1.49931
14 1.39990 11.66800 9.86995
16 8.11544 6.41342 16.54158 。

実施例11
1 = 18.1242 d1 = 1.1000 nd1 =1.77250 νd1 =49.60
2 = 11.0917 d2 = 3.0000
3 = ∞ d3 = 12.5000 nd2 =1.80610 νd2 =40.92
4 = ∞ d4 = 0.3000
5 = -189.0024(非球面) d5 = 0.9000 nd3 =1.80610 νd3 =40.92
6 = 7.0839(非球面) d6 = 0.8000
7 = 8.8339 d7 = 1.9000 nd4 =1.76182 νd4 =26.52
8 = 33.9090 d8 = (可変)
9 = ∞(絞り) d9 = 1.0000
10= 6.5543(非球面) d10= 2.5000 nd5 =1.74320 νd5 =49.34
11= 16.5000 d11= 0.7000 nd6 =1.84666 νd6 =23.78
12= 6.8813 d12= 0.8000
13= 110.5063 d13= 1.5000 nd7 =1.72916 νd7 =54.68
14= -13.4784 d14= (可変)
15= 17.0895 d15= 1.4000 nd8 =1.48749 νd8 =70.23
16= 214.7721 d16= (可変)
17= -8.1890 d17= 0.8000 nd9 =1.84666 νd9 =23.78
18= -20.0000 d18= 2.1000 nd10=1.74320 νd10=49.34
19= -7.6979(非球面) d19= 0.6600
20= ∞ d20= 1.4400 nd11=1.54771 νd11=62.84
21= ∞ d21= 0.8000
22= ∞ d22= 0.6000 nd12=1.51633 νd12=64.14
23= ∞ d23= 1.3601
24= ∞(像面) 非球面係数
第5面
K = 0
A4 = 3.1801 ×10-4
A6 =-7.4933 ×10-6
A8 = 1.3268 ×10-7
A10= 0.0000
第6面
K = 0
A4 = 1.0755 ×10-4
A6 =-2.2069 ×10-6
A8 =-4.2215 ×10-8
A10= 1.2946 ×10-9
第10面
K = 0
A4 =-2.8130 ×10-4
A6 =-7.1076 ×10-7
A8 =-1.7424 ×10-7
A10= 0.0000
第19面
K = 0
A4 = 5.5956 ×10-4
A6 =-1.7107 ×10-5
A8 = 5.6651 ×10-7
A10= 0.0000
ズームデータ(∞)
WE ST TE
f (mm) 6.00227 10.39870 17.99964
NO 2.8302 3.7274 4.5463
2ω (°) 32.7 19.3 11.3
8 17.74229 9.38185 1.50012
14 1.39992 10.71211 9.41560
16 7.69801 6.74827 15.92451 。

実施例12
1 = 11.6487 d1 = 0.7000 nd1 =1.77250 νd1 =49.60
2 = 4.8810(非球面) d2 = 1.5500
3 = ∞ d3 = 6.8000 nd2 =1.77250 νd2 =49.60
4 = ∞ d4 = 0.1500
5 = -170.6138 d5 = 0.7000 nd3 =1.77250 νd3 =49.60
6 = 6.6934 d6 = 0.5000
7 = 6.6793 d7 = 1.2500 nd4 =1.84666 νd4 =23.78
8 = 13.3262 d8 = (可変)
9 = ∞(絞り) d9 = 0.0000
10= 3.9559(非球面) d10= 1.8000 nd5 =1.74320 νd5 =49.34
11= 9.5000 d11= 0.7000 nd6 =1.84666 νd6 =23.78
12= 3.5668 d12= 0.5000
13= 7.5793 d13= 1.6500 nd7 =1.72916 νd7 =54.68
14= -14.4945 d14= (可変)
15= 9.1093 d15= 1.0000 nd8 =1.48749 νd8 =70.23
16= 13.6404 d16= (可変)
17= 146.0359 d17= 0.7000 nd9 =1.84666 νd9 =23.78
18= 9.0000 d18= 1.4500 nd10=1.74320 νd10=49.34
19= -22.2698(非球面) d19= 0.7000
20= ∞ d20= 0.6000 nd11=1.51633 νd11=64.14
21= ∞ d21= 1.0000
22= ∞(像面)
非球面係数
第2面
K = 0
A4 =-7.6360 ×10-5
A6 =-3.2706 ×10-5
A8 = 4.2217 ×10-7
A10= 0.0000
第10面
K = 0
A4 =-9.5407 ×10-4
A6 =-1.7864 ×10-5
A8 =-3.9103 ×10-6
A10= 0.0000
第19面
K = 0
A4 = 2.5017 ×10-5
A6 = 5.7463 ×10-4
A8 =-6.4941 ×10-5
A10= 0.0000
ズームデータ(∞)
WE ST TE
f (mm) 3.25717 5.63806 9.74723
NO 2.5244 3.3633 4.2965
2ω (°) 32.7 19.4 11.3
8 9.37157 4.85881 0.89899
14 1.10006 8.11201 1.30017
16 3.67578 1.18818 11.94819 。

実施例13 r1 = -14.2761(非球面) d1 = 5.1000 nd1 =1.50913 νd1 =56.20
2 = ∞(反射面) d2 = 5.7941 nd2 =1.50913 νd2 =56.20
3 = ∞ d3 = 2.1000
4 = -6.4892 d4 = 0.8000 nd3 =1.64000 νd3 =60.07
5 = -84.1654 d5 = 1.1935 nd4 =1.84666 νd4 =23.78
6 = -16.8306 d6 = (可変)
7 = ∞(絞り) d7 = 0.4000
8 = 34.9225(非球面) d8 = 1.4006 nd5 =1.74330 νd5 =49.33
9 = -15.2934 d9 = 0.1500
10= 6.1210 d10= 3.3481 nd6 =1.61800 νd6 =63.33
11= 27.4556 d11= 0.8000 nd7 =1.84666 νd7 =23.78
12= 4.9467 d12= (可変)
13= 13.6380 d13= 1.4415 nd8 =1.51633 νd8 =64.14
14= -143.7586 d14= (可変)
15= -19.5436 d15= 1.3641 nd9 =1.58913 νd9 =61.25
16= -7.1346(非球面) d16= 0.8000
17= ∞ d17= 1.0500 nd10=1.54771 νd10=62.84
18= ∞ d18= 0.8000
19= ∞ d19= 0.8000 nd11=1.51633 νd11=64.14
20= ∞ d20= 0.9669
21= ∞(像面)
非球面係数
第1面
K = 0
A4 = 3.2165 ×10-4
A6 =-9.1756 ×10-7
A8 = 4.1788 ×10-9
A10= 0.0000
第8面
K = 0
A4 =-1.2083 ×10-4
A6 = 1.1516 ×10-7
A8 =-2.9381 ×10-8
A10= 0.0000
第16面
K = 0
A4 = 1.3137 ×10-3
A6 =-2.0878 ×10-5
A8 = 4.9397 ×10-7
A10= 0.0000
ズームデータ(∞)
WE ST TE
f (mm) 5.02898 8.69474 14.52092
NO 2.6544 3.5217 4.5079
2ω (°) 64.0 40.8 24.2
6 14.61860 7.39251 1.80000
12 3.75585 8.20107 4.39975
14 3.16733 5.96897 15.38987 。

以上の実施例1〜4の無限遠物点合焦時の収差図をそれぞれ図15〜図18に示す。これらの収差図において、(a)は広角端、(b)は中間状態、(c)は望遠端における球面収差SA、非点収差AS、歪曲収差DT、倍率色収差CCを示す。図中、“FIY”は像高を表す。
次に、上記各実施例におけるズームタイプa〜dの区別と、条件(1)〜(31の値、条件(32)に関するa、tLPF 及びLの値を示す。

実施例1 実施例2 実施例3 実施例4 実施例5
ズームタイプ a d c b b
(1) 1.38822 1.41072 1.37082 1.45054 1.37212
(2) 1.66024 2.28107 2.01027 1.74028 1.58543
(3) 1.67612 1.52529 1.29028 1.28997 1.18812
(4),(4C) 0.34947 *** *** *** ***
(5),(5C), -0.48666 *** -1.00064 *** ***
(10),(10C ) (6),(6C), 27.79 *** 33.07 *** ***
(11),(11C ) (7),(7C) -0.61816 *** *** *** ***
(8),(8C), -0.72084 0.25142 0.21762 0.44850 0.53142
(13),(13C ), (18),(18C ) (9),(9C),
*** 0.73100 0.73030 0.89173 0.88437
(14),(14C ) (12),(12C ), *** -3.12101 -0.79692 -0.31222 -0.47931
(17),(17C )
(15),(15C ) *** 1.35184 *** 0.81112 0.73000
(16),(16C ) *** 29.43 *** 25.56 25.56
(19) 0.40806 0.48761 0.38280 0.40516 0.44149
(20) 0.21992 0.15218 0.10734 0.14176 -0.11046
(21) 0.70097 0.57446 0.67059 0.57052 0.60231
(22) 0.27038 0.27052 0.27044 0.27032 0.27034
(23) 1.41223 1.42456 1.42456 1.39716 1.39716
(24) 1.78590 1.78590 1.78590 1.78590 1.78592
(25) -0.19814 -0.14934 -0.16882 -0.12548 -0.14612
(26) 0.62425 0.43029 0.50182 0.35540 0.41694
(27) 1.11933 1.10145 1.13322 1.07061 1.13215
(28) 1.0 1.0 1.0 1.0 1.0
(29) 0.04 0.04 0.04 0.04 0.04
(30) 0.0 0.0 0.0 0.0 0.0
(31) 1.06 1.06 1.06 1.06 1.06
a 3.5 3.9 3.7 2.9 2.5
LPF 0.55 0.58 0.52 0.38 0.30
L 7.30 7.30 7.30 7.30 7.30
実施例6 実施例7 実施例8 実施例9 実施例10
ズームタイプ b b b a b
(1) 1.36326 1.30842 1.37622 1.49634 1.15970
(2) 1.57780 1.51202 1.57269 1.88643 1.47797
(3) 1.16490 1.13951 1.14667 3.68738 1.41403
(4),(4C) *** *** *** 0.49409 ***
(5),(5C), *** *** *** 0.00000 ***
(10),(10C ) (6),(6C), *** *** *** 24.04 ***
(11),(11C ) (7),(7C) *** *** *** -0.72854 ***
(8),(8C), 0.51417 0.56419 0.52960 -0.42385 0.46600
(13),(13C ), (18),(18C ) (9),(9C),
0.91188 0.91652 0.93112 *** 0.93549
(14),(14C ) (12),(12C ), -0.24544 -0.31721 -0.31127 *** 0.16632
(17),(17C )
(15),(15C ) 0.66364 0.56154 0.56154 *** 0.69524
(16),(16C ) 25.56 25.56 25.56 *** 25.56
(19) 0.43615 0.40132 0.40923 0.40737 0.54841
(20) 0.10368 0.09281 0.09173 0.26966 0.17155
(21) 0.60543 0.63420 0.63699 0.67986 0.49871
(22) 0.27030 0.27035 0.27038 0.27043 0.27026
(23) 1.39716 1.39716 1.39716 1.36976 1.385301
(24) 1.78590 1.78590 1.78590 1.78590 1.83481
(25) -0.14430 -0.16362 -0.13904 -0.20851 -0.23197
(26) 0.40879 0.47549 0.39515 0.78065 0.79956
(27) 1.13895 1.18742 1.12882 1.03909 1.49131
(28) 1.0 1.0 1.0 1.0 1.0
(29) 0.04 0.04 0.04 0.04 0.04
(30) 0.0 0.0 0.0 0.0 0.0
(31) 1.06 1.06 1.06 1.06 1.06
a 2.8 2.7 2.6 3.3 3.1
LPF 0.25 0.25 0.26 0.24 0.25
L 7.30 7.30 7.30 7.30 7.30
実施例11 実施例12 実施例13
ズームタイプ b b a
(1) 1.12846 1.06460 1.24661
(2) 1.43635 1.43051 1.49969
(3) 1.50110 1.23503 5.68083
(4),(4C) *** *** 0.80815
(5),(5C), *** *** 0.21853
(10),(10C ) (6),(6C), *** *** 39.55
(11),(11C ) (7),(7C) *** *** 0.39089
(8),(8C), 0.44082 0.56189 0.11923
(13),(13C ), (18),(18C ) (9),(9C),
1.04989 0.90164 ***
(14),(14C ) (12),(12C ), 0.78258 -0.31328 ***
(17),(17C )
(15),(15C ) 0.44242 0.41684 ***
(16),(16C ) 25.56 25.56 ***
(19) 0.52310 0.13339 0.30301
(20) 0.19211 0.07549 0.24793
(21) -0.50649 -0.97637 0.95350
(22) 0.10425 0.11002 0.32739
(23) 1.40014 1.39808 1.20313
(24) 1.80610 1.7725 1.50913
(25) -0.35720 -0.20746 0.27111
(26) 1.94314 0.59664 1.26698 *
(27) 1.53460 1.62493 1.36309
(28) 1.0 1.0 1.0
(29) 0.04 0.04 0.04
(30) 0.0 0.0 0.0
(31) 1.06 1.06 1.06
a 2.8 1.85 2.5
LPF 0.25 0 1.20
L 7.30 3.96 6.0
*印:プリズムの入射面に屈折力がある場合のf11は、最も物体側の面からプリズムの射出面までの焦点距離とした。

なお、実施例1〜13の数値データにおける光学的ローパスフィルターは複数枚構成であり、さらに赤外カットフィルター等の厚みも含んでいるので、その最大厚みがtLPF の値でなく、上記表中のtLPF の値を用いるものである。
ここで、電子撮像素子の有効撮像面の対角長Lと画素間隔aについて説明しておく。図19は、電子撮像素子の画素配列の1例を示す図であり、画素間隔aでR(赤)、G(緑)、B(青)の画素あるいはシアン、マゼンダ、イエロー、グリーン(緑)の4色の画素(図22)がモザイク状に配されている。有効撮像面は撮影した映像の再生(パソコン上での表示、プリンターによる印刷等)に用いる撮像素子上の光電変換面内における領域を意味する。図中に示す有効撮像面は、光学系の性能(光学系の性能が確保し得るイメージサークル)に合わせて、撮像素子の全光電変換面よりも狭い領域に設定されている。有効撮像面の対角長Lは、この有効撮像面の対角長である。なお、映像の再生に用いる撮像範囲を種々変更可能としてよいが、そのような機能を有する撮像装置に本発明のズームレンズを用いる際は、その有効撮像面の対角長Lが変化する。そのような場合は、本発明における有効撮像面の対角長Lは、Lのとり得る範囲における最大値とする。
以上の各実施例において、最終レンズ群の像側には、近赤外カットフィルター又は近赤外カットコート面を入射面側に施した光学的ローパスフィルターLFを有している。この近赤外カットフィルター、近赤外カットコート面は、波長600nmでの透過率が80%以上、波長700nmでの透過率が10%以下となるように構成されている。具体的には、例えば次のような27層の層構成からなる多層膜である。ただし、設計波長は780nmである。
基 板 材質 物理的膜厚(nm) λ/4
───────────────────────────────
第1層 Al2 3 58.96 0.50
第2層 TiO2 84.19 1.00
第3層 SiO2 134.14 1.00
第4層 TiO2 84.19 1.00
第5層 SiO2 134.14 1.00
第6層 TiO2 84.19 1.00
第7層 SiO2 134.14 1.00
第8層 TiO2 84.19 1.00
第9層 SiO2 134.14 1.00
第10層 TiO2 84.19 1.00
第11層 SiO2 134.14 1.00
第12層 TiO2 84.19 1.00
第13層 SiO2 134.14 1.00
第14層 TiO2 84.19 1.00
第15層 SiO2 178.41 1.33
第16層 TiO2 101.03 1.21
第17層 SiO2 167.67 1.25
第18層 TiO2 96.82 1.15
第19層 SiO2 147.55 1.05
第20層 TiO2 84.19 1.00
第21層 SiO2 160.97 1.20
第22層 TiO2 84.19 1.00
第23層 SiO2 154.26 1.15
第24層 TiO2 95.13 1.13
第25層 SiO2 160.97 1.20
第26層 TiO2 99.34 1.18
第27層 SiO2 87.19 0.65
───────────────────────────────
空 気 。
上記の近赤外シャープカットコートの透過率特性は図20に示す通りである。 また、ローパスフィルターLFの射出面側には、図21に示すような短波長域の色の透過を低滅する色フィルターを設けるか若しくはコーティングを行うことで、より一層電子画像の色再現性を高めている。
具体的には、このフィルター若しくはコーティングにより、波長400nm〜700nmで透過率が最も高い波長の透過率に対する420nmの波長の透過率の比が15%以上であり、その最も高い波長の透過率に対する400nmの波長の透過率の比が6%以下であることが好ましい。
それにより、人間の目の色に対する認識と、撮像及び再生される画像の色とのずれを低減させることができる。言い換えると、人間の視覚では認識され難い短波長側の色が、人間の目で容易に認識されることによる画像の劣化を防止することができる。
上記の400nmの波長の透過率の比が6%を越えると、人間の目では認識され難い単波長城が認識し得る波長に再生されてしまい、逆に、上記の420nmの波長の透過率の比が15%よりも小さいと、人間の認識し得る波長城の再生が低くなり、色のバランスが悪くなる。
このような波長を制限する手段は、補色モザイクフィルターを用いた撮像系においてより効果を奏するものである。
上記各実施例では、図21に示すように、波長400nmにおける透過率を0%、420nmにおける透過率を90%、440nmにて透過率のピーク100%となるコーティングとしている。
前記した近赤外シャープカットコートとの作用の掛け合わせにより、波長450nmの透過率99%をピークとして、400nmにおける透過率を0%、420nmにおける透過率を80%、600nmにおける透過率を82%、700nmにおける透過率を2%としている。それにより、より忠実な色再現を行っている。
また、ローパスフィルターLFは、像面上投影時の方位角度が水平(=0°)と±45°方向にそれぞれ結晶軸を有する3種類のフィルターを光軸方向に重ねて使用しており、それぞれについて、水平にaμm、±45°方向にそれぞれSQRT(1/2) ×aだけずらすことで、モアレ抑制を行っている。ここで、SQRTは前記のようにスクエアルートであり平方根を意味する。
また、CCDの撮像面I上には、図22に示す通り、シアン、マゼンダ、イエロー、グリーン(緑)の4色の色フィルターを撮像画素に対応してモザイク状に設けた補色モザイクフィルターを設けている。これら4種類の色フィルターは、それぞれが略同じ数になるように、かつ、隣り合う画素が同じ種類の色フィルターに対応しないようにモザイク状に配置されている。それにより、より忠実な色再現が可能となる。
補色モザイクフィルターは、具体的には、図22に示すように少なくとも4種類の色フィルターから構成され、その4種類の色フィルターの特性は以下の通りであることが好ましい。
グリーンの色フイルターGは波長GP に分光強度のピークを有し、
イエローの色フィルターYe は波長YP に分光強度のピークを有し、
シアンの色フィルターCは波長CP に分光強度のピークを有し、
マゼンダの色フィルターMは波長MP1とMP2にピークを有し、以下の条件を満足する。
510nm<GP <540nm
5nm<YP −GP <35nm
−100nm<CP −GP <−5nm
430nm<MP1<480nm
580nm<MP2<640nm
さらに、グリーン、イエロー、シアンの色フィルターはそれぞれの分光強度のピークに対して波長530nmでは80%以上の強度を有し、マゼンダの色フィルターはその分光強度のピークに対して波長530nmでは10%から50%の強度を有することが、色再現性を高める上でより好ましい。
上記各実施例におけるそれぞれの波長特性の一例を図23に示す。グリーンの色フィルターGは525nmに分光強度のビークを有している。イエローの色フィルターYe は555nmに分光強度のピークを有している。シアンの色フイルターCは510nmに分光強度のピークを有している。マゼンダの色フィルターMは445nmと620nmにピークを有している。また、530nmにおける各色フィルターは、それぞれの分光強度のピークに対して、Gは99%、Ye は95%、Cは97%、Mは38%としている。
このような補色フイルターの場合、図示しないコントローラー(若しくは、デジタルカメラに用いられるコントローラー)で、電気的に次のような信号処理を行い、
輝度信号
Y=|G+M+Ye +C|×1/4
色信号
R−Y=|(M+Ye )−(G+C)|
B−Y=|(M+C)−(G+Ye )|
の信号処理を経てR(赤)、G(緑)、B(青)の信号に変換される。
ところで、上記した近赤外シャープカットコートの配置位置は、光路上のどの位置であってもよい。また、ローパスフィルターLFの枚数も前記した通り2枚でも1枚でも構わない。
また、各実施例の明るさ絞りの部分についての詳細を図24示す。ただし、この図は4群構成の場合であり、第1群G1における光路折り曲げプリズムPは省いて図示してある。撮像光学系の第1群G1と第2群G2との間の光軸上の絞り位置に、0段、−1段、−2段、−3段、−4段の明るさ調節を可能とするターレット10を配置している。ターレット10には、0段の調整をする開口形状が直径約4mmの円形で固定の空間からなる開口1A(波長550nmに対する透過率は100%) と、−1段補正するために開口1Aの開口面積の約半分の開口面積を有する開口形状が固定の透明な平行平板(波長550nmに対する透過率は99%)からなる開口1Bと、開口1Bと同じ面積の円形開口部を有し、−2段、−3段、−4段に補正するため、各々波長550nmに対する透過率が50%、25%、13%のNDフィルターが設けられた開口部1C、1D、1Eとを有している。
そして、ターレット10の回転軸11の周りの回動により何れかの開口を絞り位置に配することで光量調節を行っている。
また、実効FナンバーFno' がFno' >a/0.4μmとなるときに、開口内に波長550nmに対する透過率が80%未満のNDフィルターが配される構成としている。具体的には、実施例1では、望遠端の実効F値が上記式を満たすのは、絞り開放時(0段)に対して−2段とした実行F値が9.0となるときであり、そのときに対応する開口は1Cとなる。それにより、絞りの回折現象による像の劣化を抑えている。
また、図24に示すターレット10に代えて、図25(a)に示すターレット10’を用いた例を示す。撮像光学系の第1群G1と第2群G2との間の光軸上の明るさ絞り位置に、0段、−1段、−2段、−3段、−4段の明るさ調節を可能とするターレット10’を配置している。ターレット10’には、0段の調整をする開口形状が直径約4mmの円形で固定の開口1A' と、−1段補正するために開口1A’の開口面積の約半分の開口面積を有する開口形状が固定の開口1B' と、さらに開口面積が順に小さくなり、−2段、−3段、−4段に補正するための形状が固定の開口部1C' 、1D' 、1E' とを有している。そして、ターレット10’の回転軸11の周りの回動により何れかの開口を絞り位置に配することで光量調節を行っている。
また、これら複数の開口の中の1A' から1D' にそれぞれ空間周波数特性の異なる光学的ローパスフィルターを配している。そして、図25(b)に示すように、開口径が小さくなる程光学フィルターの空間周波数特性を高く設定しており、それにより絞り込むことによる回折現象による像の劣化を抑えている。なお、図25(b)の各曲線は、ローパスフィルターのみの空間周波数特性を示すものであり、各絞りの回折も含めた特性は何れも等しくなるように設定しているものである。
さて、以上のような本発明の電子撮像装置は、ズームレンズ等の結像光学系で物体像を形成しその像をCCDや銀塩フィルムといった撮像素子に受光させて撮影を行う撮影装置、とりわけデジタルカメラやビデオカメラ、情報処理装置の例であるパソコン、電話、特に持ち運びに便利な携帯電話等に用いることができる。以下に、その実施形態を例示する。
図26〜図28は、本発明による結像光学系をデジタルカメラの撮影光学系41に組み込んだ構成の概念図を示す。図26はデジタルカメラ40の外観を示す前方斜視図、図27は同後方斜視図、図28はデジタルカメラ40の構成を示す断面図である。デジタルカメラ40は、この例の場合、撮影用光路42を有する撮影光学系41、ファインダー用光路44を有するファインダー光学系43、シャッター45、フラッシュ46、液晶表示モニター47等を含み、カメラ40の上部に配置されたシャッター45を押圧すると、それに連動して撮影光学系41、例えば実施例1の光路折り曲げズームレンズを通して撮影が行われる。撮影光学系41によって形成された物体像が、近赤外カットフィルターと光学的ローパスフィルターLFを介してCCD49の撮像面上に形成される。このCCD49で受光された物体像は、処理手段51を介し、電子画像としてカメラ背面に設けられた液晶表示モニター47に表示される。また、この処理手段51には記録手段52が接続され、撮影された電子画像を記録することもできる。なお、この記録手段52は処理手段51と別体に設けてもよいし、フロッピーディスクやメモリーカード、MO等により電子的に記録書込を行うように構成してもよい。また、CCD49に代わって銀塩フィルムを配置した銀塩カメラとして構成してもよい。
さらに、ファインダー用光路44上にはファインダー用対物光学系53が配置してある。このファインダー用対物光学系53によって形成された物体像は、像正立部材であるポロプリズム55の視野枠57上に形成される。このポリプリズム55の後方には、正立正像にされた像を観察者眼球Eに導く接眼光学系59が配置されている。なお、撮影光学系41及びファインダー用対物光学系53の入射側、接眼光学系59の射出側にそれぞれカバー部材50が配置されている。
このように構成されたデジタルカメラ40は、撮影光学系41が広画角で高変倍比であり、収差が良好で、明るく、フィルター等が配置できるバックフォーカスの大きなズームレンズであるので、高性能・低コスト化が実現できる。
なお、図28の例では、カバー部材50として平行平面板を配置しているが、パワーを持ったレンズを用いてもよい。
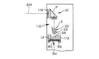
次に、本発明の結像光学系が対物光学系として内蔵された情報処理装置の一例であるパソコンが図29〜図31に示される。図29はパソコン300のカバーを開いた前方斜視図、図30はパソコン300の撮影光学系303の断面図、図31は図29の状態の側面図である。図29〜図31に示されるように、パソコン300は、外部から繰作者が情報を入力するためのキーボード301と、図示を省略した情報処理手段や記録手段と、情報を操作者に表示するモニター302と、操作者自身や周辺の像を撮影するための撮影光学系303とを有している。ここで、モニター302は、図示しないバックライトにより背面から照明する透過型液晶表示素子や、前面からの光を反射して表示する反射型液晶表示素子や、CRTディスプレイ等であってよい。また、図中、撮影光学系303は、モニター302の右上に内蔵されているが、その場所に限らず、モニター302の周囲や、キーボード301の周囲のどこであってもよい。
この撮影光学系303は、撮影光路304上に、本発明による例えば実施例1の光路折り曲げズームレンズからなる対物レンズ112と、像を受光する撮像素子チップ162とを有している。これらはパソコン300に内蔵されている。
ここで、撮像素子チップ162上には光学的ローパスフィルターLFが付加的に貼り付けられて撮像ユニット160として一体に形成され、対物レンズ112の鏡枠113の後端にワンタッチで嵌め込まれて取り付け可能になっているため、対物レンズ112と撮像素子チップ162の中心合わせや面間隔の調整が不要であり、組立が簡単となっている。
また、鏡枠113の先端(図示略)には、対物レンズ112を保護するためのカバーガラス114が配置されている。なお、鏡枠113中のズームレンズの駆動機構等は図示を省いてある。
撮像素子チップ162で受光された物体像は、端子166を介して、パソコン300の処理手段に入力され、電子画像としてモニター302に表示される、図29には、その一例として、操作者の撮影された画像305が示されている。また、この画像305は、処理手段を介し、インターネットや電話を介して、遠隔地から通信相手のパソコンに表示されることも可能である。
次に、本発明の結像光学系が撮影光学系として内蔵された情報処理装置の一例である電話、特に持ち運びに便利な携帯電話が図32に示される。図32(a)は携帯電話400の正面図、図32(b)は側面図、図32(c)は撮影光学系405の断面図である。図32(a)〜(c)に示されるように、携帯電話400は、操作者の声を情報として入力するマイク部401と、通話相手の声を出力するスピーカ部402と、操作者が情報を入力する入力ダイアル403と、操作者自身や通話相手等の撮影像と電話番号等の情報を表示するモニター404と、撮影光学系405と、通信電波の送信と受信を行うアンテナ406と、画像情報や通信情報、入力信号等の処理を行う処理手段(図示せず)とを有している。ここで、モニター404は液晶表示素子である。また、図中、各構成の配置位置は、特にこれらに限られない。この撮影光学系405は、撮影光路407上に配置された本発明による例えば実施例1の光路折り曲げズームレンズからなる対物レンズ112と、物体像を受光する撮像素子チップ162とを有している。これらは、携帯電話400に内蔵されている。
ここで、撮像素子チップ162上には光学的ローパスフィルターLFが付加的に貼り付けられて撮像ユニット160として一体に形成され、対物レンズ112の鏡枠113の後端にワンタッチで嵌め込まれて取り付け可能になっているため、対物レンズ112と撮像素子チップ162の中心合わせや面間隔の調整が不要であり、組立が簡単となっている。また、鏡枠113の先端(図示略)には、対物レンズ112を保護するためのカバーガラス114が配置されている。なお、鏡枠113中のズームレンズの駆動機構等は図示を省いてある。
撮影素子チップ162で受光された物体像は、端子166を介して、図示していない処理手段に入力され、電子画像としてモニター404に、又は、通信相手のモニターに、又は、両方に表示される。また、通信相手に画像を送信する場合、撮像素子チップ162で受光された物体像の情報を、送信可能な信号へと変換する信号処理機能が処理手段には含まれている。
以上の本発明のズームレンズとそれを用いた電子撮像装置は例えば次のように構成することができる。
〔1〕 正の屈折力を有し、広角端から望遠端にかけて変倍する際に物体側にのみ移動する移動レンズ群Bと、前記移動レンズ群Bよりも物体側に配され、負の屈折力を有し、前記変倍時に固定である変倍時固定レンズ群Aとを有し、
前記移動レンズ群Bは、物体側から順に、正レンズと正レンズと負レンズの3枚のレンズにて構成されていることを特徴とするズームレンズ。
〔2〕 前記移動レンズ群B中の前記負レンズは、物体側に隣接する前記正レンズと接合されていることを特徴とする上記1記載のズームレンズ。
〔3〕 正の屈折力を有し、広角端から望遠端にかけて変倍する際に物体側にのみ移動する移動レンズ群Bと、前記移動レンズ群Bよりも物体側に配され、負の屈折力を有し、前記変倍時に固定である変倍時固定レンズ群Aとを有し、
前記移動レンズ群Bは、物体側から順に、正レンズと負レンズと正レンズの3枚のレンズにて構成されていることを特徴とするズームレンズ。
〔4〕 前記移動レンズ群B中の前記負レンズは、物体側又は像側に隣接する前記正レンズと接合されていることを特徴とする上記3記載のズームレンズ。
〔5〕 前記移動レンズ群Bの像側に可変空気間隔を介して第3のレンズ群Cを有することを特徴とする上記1から4の何れか1項記載のズームレンズ。
〔6〕 正の屈折力を有し、広角端から望遠端にかけて変倍する際に物体側にのみ移動する移動レンズ群Bと、前記移動レンズ群Bよりも物体側に配され、負の屈折力を有し、前記変倍時に固定である変倍時固定レンズ群Aとを有し、
前記移動レンズ群Bの像側に可変空気間隔を介して配される第3のレンズ群Cを有し、前記移動レンズ群Bは、正レンズと負レンズの2枚のレンズにて構成され、前記第3のレンズ群Cは、物体側から順に、正レンズ、正レンズ、負レンズの3枚のレンズにて構成されていることを特徴とするズームレンズ。
〔7〕 前記第3のレンズ群Cの前記負レンズは、物体側に隣接する前記正レンズと接合されていることを特徴とする上記6記載のズームレンズ。
〔8〕 正の屈折力を有し、広角端から望遠端にかけて変倍する際に物体側にのみ移動する移動レンズ群Bと、前記移動レンズ群Bよりも物体側に配され、負の屈折力を有し、前記変倍時に固定である変倍時固定レンズ群Aとを有し、
前記移動レンズ群Bの像側に可変空気間隔を介して配される第3のレンズ群Cを有し、前記移動レンズ群Bは、正レンズと負レンズの2枚のレンズにて構成され、前記第3のレンズ群Cは、物体側から順に、正レンズ、負レンズ、正レンズの3枚のレンズにて構成されていることを特徴とするズームレンズ。
〔9〕 前記移動レンズ群B中の前記負レンズは、物体側又は像側に隣接する前記正レンズと接合されていることを特徴とする上記8記載のズームレンズ。
〔10〕 前記変倍時又は合焦動作時において移動するレンズ群は、ズームレンズ全体で前記移動レンズ群Bを含めて2つのレンズ群のみであることを特徴とする上記5から9の何れか1項記載のズームレンズ。
〔11〕 前記第3のレンズ群Cは合焦動作時に移動することを特徴とする上記5から10の何れか1項記載のズームレンズ。
〔12〕 前記第3のレンズ群Cは正の屈折力を有することを特徴とする上記5から11の何れか1項記載のズームレンズ。
〔13〕 前記第3のレンズ群Cよりも像側に非球面を有する第4のレンズ群Dを有することを特徴とする上記5から12の何れか1項記載のズームレンズ。
〔14〕 前記第4のレンズ群Dは、前記変倍時及び合焦動作時には固定されていることを特徴とする上記13記載のズームレンズ。
〔15〕 前記変倍時固定レンズ群Aは光路を折り曲げる反射光学素子を有することを特徴とする上記1から14の何れか1項記載のズームレンズ。
〔16〕 前記光路を折り曲げる反射光学素子はプリズムであることを特徴とする上記15記載のズームレンズ。
〔17〕 前記プリズムの透過面の中少なくとも一面が曲率を有することを特徴とする上記16記載のズームレンズ。
〔18〕 前記プリズムは最も物体側に配置されていることを特徴とする上記16又は17記載のズームレンズ。
〔19〕 前記プリズムは入射面が物体側に凹面を向けていることを特徴とする上記16から18の何れか1項記載のズームレンズ。
〔20〕 前記プリズムは入射面が非球面であることを特徴とする上記16から19の何れか1項記載のズームレンズ。
〔21〕 前記プリズムの射出面が平面であることを特徴とする上記16から20の何れか1項記載のズームレンズ。
〔22〕 前記変倍時固定レンズ群Aは、物体側から順に、物体側に凸面を向けた負メニスカスレンズを有する物体側副群A1、前記反射光学素子、正レンズを含む像側副群A2とからなることを特徴とする上記15記載のズームレンズ。
〔23〕 前記変倍時固定レンズ群Aは、物体側に凹面を向けた透過面を有する光路を折り曲げるプリズムA1と、少なくとも正レンズを含む副群A2とからなることを特徴とする上記15記載のズームレンズ。
〔24〕 以下の条件式(1)、(2)を満足することを特徴とする上記1から23の何れか1項記載のズームレンズ。
(1) 0.9<−fA /√(fW ・fT )<2.0
(2) 1.0<fB /√(fW ・fT )<3.0
ただし、fA 、fB はそれぞれレンズ群A、Bの焦点距離、fW 、fT はそれぞれズームレンズ全系の広角端、望遠端の焦点距離である。
〔25〕 以下の条件式(3)を満足することを特徴とする上記24記載のズームレンズ。
(3) 0.9<log γB /log γ<10
ただし、γ、γB はそれぞれ、
γ=fT /fW
γB =望遠端におけるレンズ群Bの倍率/広角端におけるレンズ群Bの倍率とする。
〔26〕 前記移動レンズ群Bが、物体側から順に、前記正レンズである物体側レンズ成分と前記接合された接合レンズである像側レンズ成分とからなることを特徴とする上記2記載のズームレンズ。
〔27〕 以下の条件式(4)を満足することを特徴とする上記26記載のズームレ
ンズ。
(4) 0.25<R22R /R22F <0.95
ただし、R22F 、R22R はそれぞれレンズ群Bの像側レンズ成分の最も物体側の面、最も像側の面の光軸上曲率半径である。
〔28〕 上記27記載のズームレンズと、その像側に配された電子撮像素子とを有し、以下の条件式(5)、(6)を満足することを特徴とする電子撮像装置。
(5) −1.0<L/R22C <0.8
(6) 14<ν22F −ν22R
ただし、R22C はレンズ群Bの像側レンズ成分の接合面の光軸上における曲率半径、Lは使用する電子撮像素子の有効撮像領域の対角長、ν22F 、ν22R はそれぞれレンズ群Bの像側レンズ成分の正レンズ、負レンズの媒質のd線基準でのアッベ数である。
〔29〕 広角端画角が55°以上を有することを特徴とする上記28記載の電子撮像装置。
〔30〕 上記27記載のズームレンズと、その像側に配された電子撮像素子とを有し、以下の条件式(7)、(8)を満足することを特徴とする電子撮像装置。
(7) −1.6<(R21F +R21R )/(R21F −R21R )<1.2
(8) −1.2<L/f2R<0.1
ただし、R21F 、R21R はそれぞれ移動レンズ群Bの物体側レンズ成分における最物体側面、最像側面の光軸上の曲率半径、Lは電子撮像素子の有効撮像領域の対角長、f2Rは移動レンズ群Bの像側レンズ成分の焦点距離である。
〔31〕 以下の条件式(9)を満足することを特徴とする上記26記載のズームレンズ。
(9) 0.6<R21R /R21F <1.0
ただし、ただし、R21F 、R21R はそれぞれ移動レンズ群Bの物体側レンズ成分の物体側の面、像側の面の光軸近傍の曲率半径である。
〔32〕 上記31記載のズームレンズと、その像側に配された電子撮像素子とを有し、以下の条件式(10)、(11)を満足することを特徴とする電子撮像装置。
(10) −1.6<L/R22C <−0.4
(11) 20<ν22F −ν22R
ただし、R22C はレンズ群Bの像側レンズ成分の接合面の光軸上における曲率半径、Lは使用する電子撮像素子の有効撮像領域の対角長、ν22F 、ν22R はそれぞれレンズ群Bの像側レンズ成分の正レンズ、負レンズの媒質のd線基準でのアッベ数である。
〔33〕 広角端画角が55°以上を有することを特徴とする上記32記載の電子撮像装置。
〔34〕 上記31記載のズームレンズと、その像側に配された電子撮像素子とを有し、以下の条件式(12)、(13)を満足することを特徴とする電子撮像装置。
(12) −1.5<(R22F +R22R )/(R22F −R22R )<0.2
(13) 0.05<L/f2R<0.5
ただし、R22F 、R22R はそれぞれレンズ群Bの像側レンズ成分の最も物体側の面、最も像側の面の光軸上曲率半径、Lは電子撮像素子の有効撮像領域の対角長、f2Rは移動レンズ群Bの像側レンズ成分の焦点距離である。
〔35〕 前記第3のレンズ群Cが、物体側より、前記正レンズである物体側レンズ成分と前記接合された接合レンズである像側レンズ成分からなることを特徴とする上記7記載のズームレンズ。
〔36〕 以下の条件式(4C)を満足することを特徴とする上記35記載のズームレンズ。
(4C) 0.25<R32R /R32F <0.75
ただし、R32F 、R32R はそれぞれ第3のレンズ群Cの像側レンズ成分の最物体側面、最像側面の光軸上曲率半径である。
〔37〕 上記36記載のズームレンズと、その像側に配された電子撮像素子とを有し、以下の条件式(5C)、(6C)を満足することを特徴とする電子撮像装置。
(5C) −1.0<L/R32C <0.6
(6C) 14<ν32F −ν32R
ただし、R32C は第3のレンズ群Cの像側レンズ成分の接合面の光軸上における曲率半径、Lは使用する電子撮像素子の有効撮像領域の対角長、ν32F 、ν32R はそれぞれ第3のレンズ群Cの像側レンズ成分の正レンズ、負レンズの媒質のd線基準でのアッベ数である。
〔38〕 広角端画角が55°以上を有することを特徴とする上記37記載の電子撮像装置。
〔39〕 上記36記載のズームレンズと、その像側に配された電子撮像素子とを有し、以下の条件式(7C)、(8C)を満足することを特徴とする電子撮像装置。
(7C) −1.6<(R31F +R31R )/(R31F −R31R )<0.4
(8C) −1.2<L/f3R<−0.1
ただし、R31F 、R31R はそれぞれ第3のレンズ群Cの物体側レンズ成分における最物体側面、最像側面の光軸上の曲率半径、Lは電子撮像素子の有効撮像領域の対角長、f3Rは第3のレンズ群Cの像側レンズ成分の焦点距離である。
〔40〕 以下の条件式(9C)を満足することを特徴とする上記35記載のズームレンズ。
(9C) 0.6<R31R /R31F <1.0
ただし、ただし、R31F 、R32R はそれぞれ第3のレンズ群Cの物体側レンズ成分の最物体側面、最像側面の光軸上の曲率半径である。
〔41〕 上記40記載のズームレンズと、その像側に配された電子撮像素子とを有し、以下の条件式(10C)、(11C)を満足することを特徴とする電子撮像装置。
(10C ) −1.6<L/R32C <−0.4
(11C ) 20<ν32F −ν32R
ただし、R32C は第3のレンズ群Cの像側レンズ成分の接合面の光軸上における曲率半径、Lは使用する電子撮像素子の有効撮像領域の対角長、ν32F 、ν32R はそれぞれ第3のレンズ群Cの像側レンズ成分の正レンズ、負レンズの媒質のd線基準でのアッベ数である。
〔42〕 広角端画角が55°以上を有することを特徴とする上記41記載の電子撮像装置。
〔43〕 上記40記載のズームレンズと、その像側に配された電子撮像素子とを有し、以下の条件式(12C)、(13C)を満足することを特徴とする電子撮像装置。
(12C ) −1.5<(R32F +R32R )/(R32F −R32R )<0.2
(13C ) 0.05<L/f3R<0.5
ただし、R32F 、R32R はそれぞれ第3のレンズ群Cの像側レンズ成分の最物体側面、最像側面の光軸上曲率半径、Lは電子撮像素子の有効撮像領域の対角長、f3Rは第3のレンズ群Cの像側レンズ成分の焦点距離である。
〔44〕 前記移動レンズ群Bが、物体側から順に、前記正レンズである物体側レンズ成分と前記接合された接合レンズである像側レンズ成分からなるか、あるいは、物体側から順に、前記接合された接合レンズである物体側レンズ成分と前記正レンズである像側レンズ成分とからなることを特徴とする上記4記載のズームレンズ。
〔45〕 以下の条件式(14)を満足することを特徴とする上記44記載のズームレンズ。
(14) 0.6<R21R /R21F <1.2
ただし、R21F 、R21R はそれぞれ移動レンズ群Bの物体側レンズ成分における最物体側面、最像側面の光軸上の曲率半径である。
〔46〕 上記45記載のズームレンズと、その像側に配された電子撮像素子とを有し、前記物体側レンズ成分が前記接合された接合レンズであり、以下の条件式(15)、(16)を満足することを特徴とする電子撮像装置。
(15) 0.3<L/R21C <1.6
(16) 10<ν21F −ν21R
ただし、R21C は移動レンズ群Bの物体側レンズ成分における接合面の光軸上の曲率半径、Lは電子撮像素子の有効撮像領域の対角長、ν21F 、ν21R はそれぞれ移動レンズ群Bの物体側レンズ成分における正レンズ、負レンズの媒質のd線基準でのアッベ数である。
〔47〕 広角端画角が55°以上を有することを特徴とする上記46記載の電子撮像装置。
〔48〕 上記45記載のズームレンズと、その像側に配された電子撮像素子とを有し、以下の条件式(17)、(18)を満足することを特徴とする電子撮像装置。
(17) −5.0<(R22F +R22R )/(R22F −R22R )<0.7
(18) 0.1<L/f2R<1.0
ただし、R22F 、R22R はそれぞれ移動レンズ群Bの像側レンズ成分における最物体側面、最像側面の光軸上の曲率半径、Lは電子撮像素子の有効撮像領域の対角長、f2Rは移動レンズ群Bの像側レンズ成分の焦点距離である。
〔49〕 前記第3のレンズ群Cが、物体側から順に、前記正レンズである物体側レンズ成分と前記接合された接合レンズである像側レンズ成分からなるか、あるいは、物体側から順に、前記接合された接合レンズである物体側レンズ成分と前記正レンズである像側レンズ成分とからなることを特徴とする上記9記載のズームレンズ。
〔50〕 以下の条件式(14C)を満足することを特徴とする上記49記載のズームレンズ。
(14C ) 0.6<R31R /R31F <1.2
ただし、R31F 、R31R はそれぞれ第3のレンズ群Cの物体側レンズ成分における最物体側面、最像側面の光軸上の曲率半径である。
〔51〕 上記49記載のズームレンズと、その像側に配された電子撮像素子とを有し、前記物体側レンズ成分が前記接合された接合レンズであり、以下の条件式(15C)、(16C)を満足することを特徴とする電子撮像装置。
(15C ) 0.3<L/R31C <1.6
(16C ) 10<ν31F −ν31R
ただし、R31C は第3のレンズ群Cの物体側レンズ成分における接合面の光軸上の曲率半径、Lは電子撮像素子の有効撮像領域の対角長、ν31F 、ν31R はそれぞれ第3のレンズ群Cの物体側レンズ成分における正レンズ、負レンズの媒質のd線基準でのアッベ数である。
〔52〕 広角端画角が55°以上を有することを特徴とする上記51記載の電子撮像装置。
〔53〕 上記50記載のズームレンズと、その像側に配された電子撮像素子とを有し、以下の条件式(17C)、(18C)を満足することを特徴とする電子撮像装置。
(17C ) −5.0<(R32F +R32R )/(R32F −R32R )<0.7
(18C ) 0.1<L/f3R<1.0
ただし、R22F 、R22R はそれぞれ第3のレンズ群Cの像側レンズ成分における最物体側面、最像側面の光軸上の曲率半径、Lは電子撮像素子の有効撮像領域の対角長、f3Rは第3のレンズ群Cの像側レンズ成分の焦点距離である。
〔54〕 前記移動レンズ群Bよりも像側に、移動にて合焦動作を行うレンズ群を有することを特徴とする上記1から10の何れか1項記載のズームレンズ。
〔55〕 以下の条件(19)を満足することを特徴とする上記11記載のズームレンズ。
(19) 0.1<DFT/fT <1.0
ただし、DFTは望遠端における無限遠物点合焦時の移動レンズ群Bから第3のレンズ群Cまでの光軸上空気間隔、fT は望遠端での無限遠物点合焦時のズームレンズ全系の焦点距離である。
〔56〕 上記5から12の何れか1項記載のズームレンズと、その像側に配された電子撮像素子を有し、以下の条件式(20)を満足することを特徴とする電子撮像装置。
(20) −0.4<L/fC <0.8
ただし、fC は第3のレンズ群Cの焦点距離、Lは電子撮像素子の有効撮像領域の対角長である。
〔57〕 以下の条件(21)を満足することを特徴とする上記5から12の何れか1項記載のズームレンズ。
(21) 0.0<M3 /M2 <1.6
ただし、M2 、M3 は移動レンズ群B、第3のレンズ群Cのそれぞれの無限遠物点合焦時における広角端に対する望遠端での移動量であり、像側への移動を正とする。
〔58〕 上記13又は14記載のズームレンズとその像側に配した電子撮像素子とを有し、以下の条件式(22)を満足することを特徴とする電子撮像装置。
(22) 0.0<L/fD <0.7
ただし、fD は第4のレンズ群Dの焦点距離、Lは電子撮像素子の有効撮像領域の対角長である。
〔59〕 上記5から12の何れか1項記載のズームレンズとその像側に配した電子撮像素子とを有し、前記ズームレンズが以下の条件式(22)を満足する第4のレンズ群Dを前記第3のレンズ群Cよりも像側に配したことを特徴とする電子撮像装置。
(22) 0.0<L/fD <0.7
ただし、fD は第4のレンズ群Dの焦点距離、Lは電子撮像素子の有効撮像領域の対角長である。
〔60〕 変倍又は合焦動作時に移動する全てのレンズ群に対して物体側に光路を折り曲げる反射ための反射光学素子を配したことを特徴とする上記1から15の何れか1項記載のズームレンズ。
〔61〕 前記変倍時固定のレンズ群Aが、ズームレンズ中で最も物体側に位置することを特徴とする上記1から15の何れか1項記載のズームレンズ。
〔62〕 前記変倍時固定レンズ群Aは、物体側から順に、物体側副群A1と、前記反射光学素子と、像側副群A2とからなることを特徴とする上記15又は61記載のズームレンズ。
〔63〕 上記22又は62の何れか1項記載のズームレンズとその像側に配された電子撮像素子とを有し、以下の条件式(23)を満足することを特徴とする電子撮像装置。
(23) 0.8<d/L<2.0
ただし、dは変倍時固定のレンズ群Aにおける反射光学素子の反射面の直前の屈折力を持つ屈折面から反射面の直後の屈折力を持つ屈折面までの空気換算長、Lは電子撮像素子の有効撮像領域の対角長である。
〔64〕 前記反射光学素子の反射面に入射する入射光軸及び反射後の反射光軸を含む面の方向での画角が22°乃至28°であり、かつ、以下の条件(23−1)を満足することを特徴とする上記63記載の電子撮像装置。
(23-1) 1.1<d/L<1.7
〔65〕 前記反射光学素子の反射面に入射する入射光軸及び反射後の反射光軸を含む面の方向での画角が16°乃至22°であり、かつ、以下の条件(23−2)を満足することを特徴とする上記63記載の電子撮像装置。
(23-2) 1.2<d/L<1.8
〔66〕 前記反射光学素子が以下の条件(24)を満足するプリズムにて構成されていることを特徴とする上記15、22、60、62の何れか1項記載のズームレンズ。
(24) 1.5<npri
ただし、npri はプリズムのd線に対する媒質の屈折率である。
〔67〕 前記反射光学素子が以下の条件(24)を満足するプリズムにて構成されていることを特徴とする上記63、64、65の何れか1項記載の電子撮像装置。
(24) 1.5<npri
ただし、npri はプリズムのd線に対する媒質の屈折率である。
〔68〕 前記変倍時固定レンズ群Aにおける像側副群A2が、物体側より順に、負レンズ、正レンズの2枚のレンズからなることを特徴とする上記22又は62の何れか1項記載のズームレンズ。
〔69〕 上記22、62又は68の何れか1項記載のズームレンズとその像側に配された電子撮像装置を有し、前記ズームレンズが以下の条件式(25)を満足することを特徴とする電子撮像装置。
(25) −0.5<L/f12<0
ただし、Lは電子撮像素子の有効撮像領域の対角長、f12は変倍時固定レンズ群Aの像側副群A2の焦点距離である。
〔70〕 前記変倍時固定レンズ群の物体側副群A1が、物体側に凸面を向けた負レンズ1枚のみからなることを特徴とする上記22又は62記載のズームレンズ。
〔71〕 以下の条件式(26)を満足することを特徴とする上記70記載のズームレンズ。
(26) 0<f11/f12<1.6
ただし、f11、f12はそれぞれ変倍時固定レンズ群Aの物体側副群A1、像側副群A2の焦点距離である。
〔72〕 前記第3のレンズ群Cが1枚の単レンズからなることを特徴とする上記5記載のズームレンズ。
〔73〕 前記第3のレンズ群Cは広角端よりも望遠端で像側に移動することを特徴とする上記1から22の何れか1項記載のズームレンズ。
〔74〕 以下の条件式(27)を満足することを特徴とする上記73記載のズームレンズ。
(27) 0.8<−βRt<2.1
ただし、βRtは無限遠物点合焦時の望遠端における移動レンズ群B以降の合成倍率である。
〔75〕 上記1から27、31、35、36、40、44、48、49、50、54、55、57、60から62、66、68、70から74の何れか1項記載のズームレンズと、その像側に配された電子撮像素子とを備えた電子撮像装置。
以上説明したように、本発明により極力物体側にミラー等の反射光学素子を挿入して光学系、特にズームレンズ系の光路(光軸)を折り曲げる構成とし諸々の工夫を入れることにより、高ズーム比、広画角、小さいF値、少ない収差等、高い光学仕様性能を確保しながらも、沈胴式鏡筒に見られるようなカメラの使用状態への立ち上げ時間(レンズのせり出し時間)がなく、防水・防塵上も好ましく、また、奥行き方向が極めて薄いカメラとすることが可能となる。
G1−1…G1−1レンズ群
G1−2…G1−2レンズ群
G1…第1レンズ群
G2…第2レンズ群
G3…第3レンズ群
G4…第4レンズ群
P…光路折り曲げプリズム
S…開口絞り
IC…近赤外カットコート面
LF…光学的ローパスフィルター
CG…カバーガラス
I…像面
E…観察者眼球
1A、1B、1C、1D、1E…開口
1A’、1B’、1C’、1D’、1E’…開口
10…ターレット
10’…ターレット
11…回転軸
40…デジタルカメラ
41…撮影光学系
42…撮影用光路
43…ファインダー光学系
44…ファインダー用光路
45…シャッター
46…フラッシュ
47…液晶表示モニター
49…CCD
50…カバー部材
51…処理手段
52…記録手段
53…ファインダー用対物光学系
55…ポロプリズム
57…視野枠
59…接眼光学系
112…対物レンズ
113…鏡枠
114…カバーガラス
160…撮像ユニット
162…撮像素子チップ
166…端子
300…パソコン
301…キーボード
302…モニター
303…撮影光学系
304…撮影光路
305…画像
400…携帯電話
401…マイク部
402…スピーカ部
403…入力ダイアル
404…モニター
405…撮影光学系
406…アンテナ
407…撮影光路

Claims (46)

  1. 正の屈折力を有し、広角端から望遠端にかけて変倍する際に物体側にのみ移動する移動レンズ群Bと、前記移動レンズ群Bよりも物体側に配され、負の屈折力を有し、前記変倍時に固定である変倍時固定レンズ群Aとを有し、
    前記移動レンズ群Bは、物体側から順に、正レンズと負レンズと正レンズの3枚のレンズにて構成されていることを特徴とするズームレンズ。
  2. 前記移動レンズ群B中の前記負レンズは、物体側又は像側に隣接する前記正レンズと接合されていることを特徴とする請求項1記載のズームレンズ。
  3. 前記移動レンズ群Bの像側に可変空気間隔を介して第3のレンズ群Cを有することを特徴とする請求項1又は2記載のズームレンズ。
  4. 前記変倍時又は合焦動作時において移動するレンズ群は、ズームレンズ全体で前記移動レンズ群Bを含めて2つのレンズ群のみであることを特徴とする請求項3記載のズームレンズ。
  5. 前記第3のレンズ群Cは合焦動作時に移動することを特徴とする請求項3又は4記載のズームレンズ。
  6. 前記第3のレンズ群Cは正の屈折力を有することを特徴とする請求項3から5の何れか1項記載のズームレンズ。
  7. 前記第3のレンズ群Cよりも像側に非球面を有する第4のレンズ群Dを有することを特徴とする請求項3から6の何れか1項記載のズームレンズ。
  8. 前記第4のレンズ群Dは、前記変倍時及び合焦動作時には固定されていることを特徴とする請求項7記載のズームレンズ。
  9. 前記変倍時固定レンズ群Aは光路を折り曲げる反射光学素子を有することを特徴とする請求項1から8の何れか1項記載のズームレンズ。
  10. 前記光路を折り曲げる反射光学素子はプリズムであることを特徴とする請求項9記載のズームレンズ。
  11. 前記プリズムの透過面の中少なくとも一面が曲率を有するレンズ面であることを特徴とする請求項10記載のズームレンズ。
  12. 前記プリズムは最も物体側に配置されていることを特徴とする請求項10又は11記載のズームレンズ。
  13. 前記プリズムは入射面が物体側に凹面を向けていることを特徴とする請求項10から12の何れか1項記載のズームレンズ。
  14. 前記プリズムは入射面が非球面であることを特徴とする請求項10から13の何れか1項記載のズームレンズ。
  15. 前記プリズムの射出面が平面であることを特徴とする請求項10から14の何れか1項記載のズームレンズ。
  16. 前記変倍時固定レンズ群Aは、物体側から順に、物体側に凸面を向けた負メニスカスレンズを有する物体側副群A1、前記反射光学素子、正レンズを含む像側副群A2とからなることを特徴とする請求項9記載のズームレンズ。
  17. 前記変倍時固定レンズ群Aは、物体側に凹面を向けた透過面を有する光路を折り曲げるプリズムA1と、少なくとも正レンズを含む副群A2とからなることを特徴とする請求項9記載のズームレンズ。
  18. 以下の条件式(1)、(2)を満足することを特徴とする請求項1から17の何れか1項記載のズームレンズ。
    (1) 0.9<−fA /√(fW ・fT )<2.0
    (2) 1.0<fB /√(fW ・fT )<3.0
    ただし、fA 、fB はそれぞれレンズ群A、Bの焦点距離、fW 、fT はそれぞれズームレンズ全系の広角端、望遠端の焦点距離である。
  19. 以下の条件式(3)を満足することを特徴とする請求項18記載のズームレンズ。
    (3) 0.9<log γB /log γ<10
    ただし、γ、γB はそれぞれ、
    γ=fT /fW
    γB =望遠端におけるレンズ群Bの倍率/広角端におけるレンズ群Bの倍率とする。
  20. 前記移動レンズ群Bが、物体側から順に、前記正レンズである物体側レンズ成分と前記接合された接合レンズである像側レンズ成分からなるか、あるいは、物体側から順に、前記接合された接合レンズである物体側レンズ成分と前記正レンズである像側レンズ成分とからなることを特徴とする請求項2記載のズームレンズ。
  21. 以下の条件式(14)を満足することを特徴とする請求項20記載のズームレンズ。
    (14) 0.6<R21R /R21F <1.2
    ただし、R21F 、R21R はそれぞれ移動レンズ群Bの物体側レンズ成分における最物体側面、最像側面の光軸上の曲率半径である。
  22. 請求項21記載のズームレンズと、その像側に配された電子撮像素子とを有し、前記物体側レンズ成分が前記接合された接合レンズであり、以下の条件式(15)、(16)を満足することを特徴とする電子撮像装置。
    (15) 0.3<L/R21C <1.6
    (16) 10<ν21F −ν21R
    ただし、R21C は移動レンズ群Bの物体側レンズ成分における接合面の光軸上の曲率半径、Lは電子撮像素子の有効撮像領域の対角長、ν21F 、ν21R はそれぞれ移動レンズ群Bの物体側レンズ成分における正レンズ、負レンズの媒質のd線基準でのアッベ数である。
  23. 広角端画角が55°以上を有することを特徴とする請求項22記載の電子撮像装置。
  24. 請求項21記載のズームレンズと、その像側に配された電子撮像素子とを有し、以下の条件式(17)、(18)を満足することを特徴とする電子撮像装置。
    (17) −5.0<(R22F +R22R )/(R22F −R22R )<0.7
    (18) 0.1<L/f2R<1.0
    ただし、R22F 、R22R はそれぞれ移動レンズ群Bの像側レンズ成分における最物体側面、最像側面の光軸上の曲率半径、Lは電子撮像素子の有効撮像領域の対角長、f2Rは移動レンズ群Bの像側レンズ成分の焦点距離である。
  25. 前記移動レンズ群Bよりも像側に、移動にて合焦動作を行うレンズ群を有することを特徴とする請求項1から4の何れか1項記載のズームレンズ。
  26. 以下の条件(19)を満足することを特徴とする請求項5記載のズームレンズ。
    (19) 0.1<DFT/fT <1.0
    ただし、DFTは望遠端における無限遠物点合焦時の移動レンズ群Bから第3のレンズ群Cまでの光軸上空気間隔、fT は望遠端での無限遠物点合焦時のズームレンズ全系の焦点距離である。
  27. 請求項3から6の何れか1項記載のズームレンズと、その像側に配された電子撮像素子を有し、以下の条件式(20)を満足することを特徴とする電子撮像装置。
    (20) −0.4<L/fC <0.8
    ただし、fC は第3のレンズ群Cの焦点距離、Lは電子撮像素子の有効撮像領域の対角長である。
  28. 以下の条件(21)を満足することを特徴とする請求項3から6の何れか1項記載のズームレンズ。
    (21) 0.0<M3 /M2 <1.6
    ただし、M2 、M3 は移動レンズ群B、第3のレンズ群Cのそれぞれの無限遠物点合焦時における広角端に対する望遠端での移動量であり、像側への移動を正とする。
  29. 請求項7又は8記載のズームレンズとその像側に配した電子撮像素子とを有し、以下の条件式(22)を満足することを特徴とする電子撮像装置。
    (22) 0.0<L/fD <0.7
    ただし、fD は第4のレンズ群Dの焦点距離、Lは電子撮像素子の有効撮像領域の対角長である。
  30. 請求項3から6の何れか1項記載のズームレンズとその像側に配した電子撮像素子とを有し、前記ズームレンズが以下の条件式(22)を満足する第4のレンズ群Dを前記第3のレンズ群Cよりも像側に配したことを特徴とする電子撮像装置。
    (22) 0.0<L/fD <0.7
    ただし、fD は第4のレンズ群Dの焦点距離、Lは電子撮像素子の有効撮像領域の対角長である。
  31. 変倍又は合焦動作時に移動する全てのレンズ群に対して物体側に光路を折り曲げる反射のための反射光学素子を配したことを特徴とする請求項1から9の何れか1項記載のズームレンズ。
  32. 前記変倍時固定のレンズ群Aが、ズームレンズ中で最も物体側に位置することを特徴とする請求項1から9の何れか1項記載のズームレンズ。
  33. 前記変倍時固定レンズ群Aは、物体側から順に、物体側副群A1と、前記反射光学素子と、像側副群A2とからなることを特徴とする請求項9又は32記載のズームレンズ。
  34. 請求項16又は33の何れか1項記載のズームレンズとその像側に配された電子撮像素子とを有し、以下の条件式(23)を満足することを特徴とする電子撮像装置。
    (23) 0.8<d/L<2.0
    ただし、dは変倍時固定のレンズ群Aにおける反射光学素子の反射面の直前の屈折力を持つ屈折面から反射面の直後の屈折力を持つ屈折面までの空気換算長、Lは電子撮像素子の
    有効撮像領域の対角長である。
  35. 前記反射光学素子の反射面に入射する入射光軸及び反射後の反射光軸を含む面の方向での画角が22°乃至28°であり、かつ、以下の条件(23−1)を満足することを特徴とする請求項34記載の電子撮像装置。
    (23-1) 1.1<d/L<1.7
  36. 前記反射光学素子の反射面に入射する入射光軸及び反射後の反射光軸を含む面の方向での画角が16°乃至22°であり、かつ、以下の条件(23−2)を満足することを特徴とする請求項34記載の電子撮像装置。
    (23-2) 1.2<d/L<1.8
  37. 前記反射光学素子が以下の条件(24)を満足するプリズムにて構成されていることを特徴とする請求項9、16、32、33の何れか1項記載のズームレンズ。
    (24) 1.5<npri
    ただし、npri はプリズムのd線に対する媒質の屈折率である。
  38. 前記反射光学素子が以下の条件(24)を満足するプリズムにて構成されていることを特徴とする請求項34、35、36の何れか1項記載の電子撮像装置。 (24) 1.5<npri
    ただし、npri はプリズムのd線に対する媒質の屈折率である。
  39. 前記変倍時固定レンズ群Aにおける像側副群A2が、物体側より順に、負レンズ、正レンズの2枚のレンズからなることを特徴とする請求項16又は33の何れか1項記載のズームレンズ。
  40. 請求項16、33又は39の何れか1項記載のズームレンズとその像側に配された電子撮像素子を有し、前記ズームレンズが以下の条件式(25)を満足することを特徴とする電子撮像装置。
    (25) −0.5<L/f12<0
    ただし、Lは電子撮像素子の有効撮像領域の対角長、f12は変倍時固定レンズ群Aの像側副群A2の焦点距離である。
  41. 前記変倍時固定レンズ群の物体側副群A1が、物体側に凸面を向けた負レンズ1枚のみからなることを特徴とする請求項16又は33記載のズームレンズ。
  42. 以下の条件式(26)を満足することを特徴とする請求項41記載のズームレンズ。
    (26) 0<f11/f12<1.6
    ただし、f11、f12はそれぞれ変倍時固定レンズ群Aの物体側副群A1、像側副群A2の焦点距離である。
  43. 前記第3のレンズ群Cが1枚の単レンズからなることを特徴とする請求項3記載のズームレンズ。
  44. 前記第3のレンズ群Cは広角端よりも望遠端で物体側に移動することを特徴とする請求項1から16の何れか1項記載のズームレンズ。
  45. 以下の条件式(27)を満足することを特徴とする請求項44記載のズームレンズ。
    (27) 0.8<−βRt<2.1
    ただし、βRtは無限遠物点合焦時の望遠端における移動レンズ群B以降の合成倍率である
  46. 請求項1から20、24から26、28、31から33、37、39、41から45の何れか1項記載のズームレンズと、その像側に配された電子撮像素子とを備えた電子撮像装置。
JP2009210477A 2002-04-05 2009-09-11 ズームレンズとそれを用いた電子撮像装置 Expired - Fee Related JP4633847B2 (ja)

Priority Applications (1)

Application Number Priority Date Filing Date Title
JP2009210477A JP4633847B2 (ja) 2002-04-05 2009-09-11 ズームレンズとそれを用いた電子撮像装置

Applications Claiming Priority (2)

Application Number Priority Date Filing Date Title
JP2002103594 2002-04-05
JP2009210477A JP4633847B2 (ja) 2002-04-05 2009-09-11 ズームレンズとそれを用いた電子撮像装置

Related Parent Applications (1)

Application Number Title Priority Date Filing Date
JP2003014458A Division JP4451069B2 (ja) 2002-04-05 2003-01-23 ズームレンズとそれを用いた電子撮像装置

Publications (2)

Publication Number Publication Date
JP2010044395A true JP2010044395A (ja) 2010-02-25
JP4633847B2 JP4633847B2 (ja) 2011-02-16

Family

ID=42015771

Family Applications (1)

Application Number Title Priority Date Filing Date
JP2009210477A Expired - Fee Related JP4633847B2 (ja) 2002-04-05 2009-09-11 ズームレンズとそれを用いた電子撮像装置

Country Status (1)

Country Link
JP (1) JP4633847B2 (ja)

Cited By (3)

* Cited by examiner, † Cited by third party
Publication number Priority date Publication date Assignee Title
JP2012093717A (ja) * 2010-09-27 2012-05-17 Hoya Corp 変倍光学系、及び撮影装置
CN102906648A (zh) * 2010-05-25 2013-01-30 株式会社Ihi 阶跃跟随时的过冲抑制用前馈项的自动调谐方法及装置
US9874734B2 (en) 2015-09-08 2018-01-23 Hoya Corporation Zoom optical system and imaging apparatus provided with the same

Citations (5)

* Cited by examiner, † Cited by third party
Publication number Priority date Publication date Assignee Title
JP2000275519A (ja) * 1999-03-24 2000-10-06 Fuji Photo Optical Co Ltd ズームレンズ
JP2001100100A (ja) * 1999-09-29 2001-04-13 Cosina Co Ltd 投映用ズームレンズ
JP2002014285A (ja) * 2000-06-29 2002-01-18 Asahi Optical Co Ltd 内視鏡対物変倍光学系
JP2002014282A (ja) * 2000-06-29 2002-01-18 Asahi Optical Co Ltd 内視鏡対物変倍光学系
JP2003255226A (ja) * 2002-03-05 2003-09-10 Cosina Co Ltd 投映用レンズ

Patent Citations (5)

* Cited by examiner, † Cited by third party
Publication number Priority date Publication date Assignee Title
JP2000275519A (ja) * 1999-03-24 2000-10-06 Fuji Photo Optical Co Ltd ズームレンズ
JP2001100100A (ja) * 1999-09-29 2001-04-13 Cosina Co Ltd 投映用ズームレンズ
JP2002014285A (ja) * 2000-06-29 2002-01-18 Asahi Optical Co Ltd 内視鏡対物変倍光学系
JP2002014282A (ja) * 2000-06-29 2002-01-18 Asahi Optical Co Ltd 内視鏡対物変倍光学系
JP2003255226A (ja) * 2002-03-05 2003-09-10 Cosina Co Ltd 投映用レンズ

Cited By (4)

* Cited by examiner, † Cited by third party
Publication number Priority date Publication date Assignee Title
CN102906648A (zh) * 2010-05-25 2013-01-30 株式会社Ihi 阶跃跟随时的过冲抑制用前馈项的自动调谐方法及装置
CN102906648B (zh) * 2010-05-25 2015-06-10 株式会社Ihi 阶跃跟随时的过冲抑制用前馈项的自动调谐方法及装置
JP2012093717A (ja) * 2010-09-27 2012-05-17 Hoya Corp 変倍光学系、及び撮影装置
US9874734B2 (en) 2015-09-08 2018-01-23 Hoya Corporation Zoom optical system and imaging apparatus provided with the same

Also Published As

Publication number Publication date
JP4633847B2 (ja) 2011-02-16

Similar Documents

Publication Publication Date Title
JP5117549B2 (ja) 電子撮像装置
JP4145066B2 (ja) ズームレンズとそれを用いた電子撮像装置
JP4938068B2 (ja) 電子撮像装置
JP4674258B2 (ja) ズームレンズ及びそれを用いた電子撮像装置
JP5117521B2 (ja) 電子撮像装置
US7477455B2 (en) Zoom lens system and electronic image pickup apparatus
JP4294299B2 (ja) ズームレンズ及びそれを用いた電子撮像装置
JP2002048975A (ja) 電子撮像装置
JP2003043354A (ja) 電子撮像装置
JP2002365545A (ja) 電子撮像装置
JP4451069B2 (ja) ズームレンズとそれを用いた電子撮像装置
JP2010049189A (ja) ズームレンズ及びそれを備える撮像装置
JP2009258174A (ja) ズームレンズを備えた撮像装置
JP4212291B2 (ja) ズームレンズ及びそれを用いた電子撮像装置
JP4558056B2 (ja) 電子撮像装置
JP4803952B2 (ja) 電子撮像装置
JP2007156385A (ja) ズーム光学系及びそれを備えた撮像装置
JP4590127B2 (ja) 電子撮像装置
JP4633847B2 (ja) ズームレンズとそれを用いた電子撮像装置
JP4690052B2 (ja) ズームレンズ及びそれを用いた撮像装置
JP4633752B2 (ja) 電子撮像装置
JP4674889B2 (ja) 電子撮像装置
JP4454996B2 (ja) 撮像装置
JP5265316B2 (ja) ズームレンズ及びこのズームレンズを備えた撮像装置
JP5025821B2 (ja) ズームレンズ及びズームレンズと撮像素子を備えたカメラ

Legal Events

Date Code Title Description
A131 Notification of reasons for refusal

Free format text: JAPANESE INTERMEDIATE CODE: A131

Effective date: 20100616

A521 Request for written amendment filed

Free format text: JAPANESE INTERMEDIATE CODE: A523

Effective date: 20100702

A131 Notification of reasons for refusal

Free format text: JAPANESE INTERMEDIATE CODE: A131

Effective date: 20100825

A521 Request for written amendment filed

Free format text: JAPANESE INTERMEDIATE CODE: A523

Effective date: 20100921

TRDD Decision of grant or rejection written
A01 Written decision to grant a patent or to grant a registration (utility model)

Free format text: JAPANESE INTERMEDIATE CODE: A01

Effective date: 20101110

A01 Written decision to grant a patent or to grant a registration (utility model)

Free format text: JAPANESE INTERMEDIATE CODE: A01

A61 First payment of annual fees (during grant procedure)

Free format text: JAPANESE INTERMEDIATE CODE: A61

Effective date: 20101117

R151 Written notification of patent or utility model registration

Ref document number: 4633847

Country of ref document: JP

Free format text: JAPANESE INTERMEDIATE CODE: R151

FPAY Renewal fee payment (event date is renewal date of database)

Free format text: PAYMENT UNTIL: 20131126

Year of fee payment: 3

S531 Written request for registration of change of domicile

Free format text: JAPANESE INTERMEDIATE CODE: R313531

R350 Written notification of registration of transfer

Free format text: JAPANESE INTERMEDIATE CODE: R350

R250 Receipt of annual fees

Free format text: JAPANESE INTERMEDIATE CODE: R250

LAPS Cancellation because of no payment of annual fees