JP2010043995A - シュラウドヘッドの補修方法 - Google Patents

シュラウドヘッドの補修方法 Download PDF

Info

Publication number
JP2010043995A
JP2010043995A JP2008209231A JP2008209231A JP2010043995A JP 2010043995 A JP2010043995 A JP 2010043995A JP 2008209231 A JP2008209231 A JP 2008209231A JP 2008209231 A JP2008209231 A JP 2008209231A JP 2010043995 A JP2010043995 A JP 2010043995A
Authority
JP
Japan
Prior art keywords
shroud head
guide pin
shroud
head
suspension rod
Prior art date
Legal status (The legal status is an assumption and is not a legal conclusion. Google has not performed a legal analysis and makes no representation as to the accuracy of the status listed.)
Granted
Application number
JP2008209231A
Other languages
English (en)
Other versions
JP5106314B2 (ja
Inventor
Haruhiko Hatake
晴彦 畠
Yusuke Watanabe
祐介 渡辺
Yukiaki Hidaka
幸昭 日高
Atsushi Suzuki
淳 鈴木
Tanoshi Sato
愉 佐藤
Current Assignee (The listed assignees may be inaccurate. Google has not performed a legal analysis and makes no representation or warranty as to the accuracy of the list.)
Toshiba Corp
Original Assignee
Toshiba Corp
Priority date (The priority date is an assumption and is not a legal conclusion. Google has not performed a legal analysis and makes no representation as to the accuracy of the date listed.)
Filing date
Publication date
Application filed by Toshiba Corp filed Critical Toshiba Corp
Priority to JP2008209231A priority Critical patent/JP5106314B2/ja
Publication of JP2010043995A publication Critical patent/JP2010043995A/ja
Application granted granted Critical
Publication of JP5106314B2 publication Critical patent/JP5106314B2/ja
Active legal-status Critical Current
Anticipated expiration legal-status Critical

Links

Images

Classifications

    • YGENERAL TAGGING OF NEW TECHNOLOGICAL DEVELOPMENTS; GENERAL TAGGING OF CROSS-SECTIONAL TECHNOLOGIES SPANNING OVER SEVERAL SECTIONS OF THE IPC; TECHNICAL SUBJECTS COVERED BY FORMER USPC CROSS-REFERENCE ART COLLECTIONS [XRACs] AND DIGESTS
    • Y02TECHNOLOGIES OR APPLICATIONS FOR MITIGATION OR ADAPTATION AGAINST CLIMATE CHANGE
    • Y02EREDUCTION OF GREENHOUSE GAS [GHG] EMISSIONS, RELATED TO ENERGY GENERATION, TRANSMISSION OR DISTRIBUTION
    • Y02E30/00Energy generation of nuclear origin
    • Y02E30/30Nuclear fission reactors

Landscapes

  • Monitoring And Testing Of Nuclear Reactors (AREA)

Abstract

【課題】地震等により変形したシュラウドヘッドのガイドピンおよび吊棒を水中遠隔作業で交換することを可能とする。
【解決手段】沸騰水型原子炉のシュラウドヘッド4およびシュラウドに取付けられ、これに取り合うガイドピン1を備えたシュラウドヘッドを補修する方法であって、ガイドピンの一部もしくは全てを切断撤去するとともに、その撤去した部位に新たなガイドピンを導入して据付ける。
【選択図】 図1

Description

本発明は沸騰水型原子力発電プラントのシュラウドヘッドを補修する方法に係り、特にガイドピンおよび吊棒を水中遠隔作業で交換するシュラウドヘッドの補修方法に関する。
沸騰水型原子力発電プラントの原子炉機器であるシュラウドヘッドは、炉心シュラウドの上部胴と共に炉心出口の上部プレナムを形成し、蒸気と水とをスタンドパイプを通じて気水分離器に導く機能を有するものである。
図20および図21は従来のシュラウドヘッド構造を示している。この図20および図21に示したシュラウドヘッド4は、シュラウドヘッドボルトにより炉心シュラウドの頂部に取付けられる構造となっている。
このシュラウドヘッド4のガイドピンブラケット17にはガイドピンブラケット孔31が形成されている。そして、ガイドピンブラケット孔31内に、ガイドピン1がガイドピンブラケット側からスリーブ11を介して挿入されている。ガイドピン1は、下部側の太径部と上部側の細径部とを有する異径ピン状のものであり、細径部の太径部側にはねじ部12が形成されるとともに、ねじ部12からその先端側は細径のロッド13として形成されている。
また、スリーブ11の基端側は外部に臨んで幅拡がりとなる形状とされてガイドピンブラケット17の下端面に係止される一方、スリーブ11の先端側にはネジ部12が形成されており、このねじ部12にはガイドピンブラケット17の上面側からナット16が螺合されている。これにより、ガイドピン1はガイドピンブラケット17に固定される構成となっている。
シュラウドヘッド4の炉心シュラウドへの取付けおよび取り外しの際には、原子炉圧力容器(RPV)の開口部からシュラウド上部リングに取付けられている案内棒2にシュラウドヘッド4のガイドピンブラケットの切り欠き部を沿わせることにより、シュラウドヘッド4がRPV内壁等に干渉しないようガイドを行っている。
さらに、シュラウドヘッド4を取付ける際には、シュラウドヘッド4に取付けられているシュラウドヘッドボルトとシュラウドに取付けられているシュラウドヘッドボルトラグとが干渉しないように、また一部のプラントではシュラウドヘッドリム胴に設けられている耐震ピン用孔とシュラウド上部リング上面に取付けられている耐震ピンとが干渉しないで、シュラウドヘッドの位置決めを行えるように、シュラウドヘッド4にガイドピンブラケット17と取り合うガイドピン1が取付けられている。また、吊棒2はシュラウドヘッド4に設けられた吊棒ブラケット10に挿通される構成となっている。
特開平08−122485号公報 特開平05−080187号公報
プラント運転中にシュラウドヘッドは原子炉内のシュラウド上部にシュラウドヘッドボルトで固定設置されている。したがってプラント運転中に地震等が発生した場合でもシュラウドヘッドが移動する可能性は小さい。
一方、定検中はシュラウドヘッドを燃料交換などのためにDSプールに移動する。
シュラウドヘッドはシュラウドヘッドを移動するために設けられている4本の吊り棒の下端部でDSプール床面上に自立し設置されている。
定検中シュラウドヘッドがDSプールに設置された状態で地震が発生すると、地震の加速度及びDSプール内の水のスロッシングによりシュラウドヘッドが揺すられ吊り棒が変形する可能性がある。
この吊り棒の変形量が大きくなると吊棒が炉心シュラウドと干渉してしまう。またシュラウドヘッドに取付けられているガイドピンも変形し、シュラウドヘッドを炉内に再設置することが困難となる。
本発明では、沸騰水型原子炉のシュラウドヘッドの位置決めされるシュラウドヘッドおよびシュラウドに取付けられたガイドピンブラケット、これらと取り合うガイドピンを備えたシュラウドヘッドを補修する方法であって、ガイドピンの一部もしくは全てを切断撤去するとともに、その撤去した部位に新たなガイドピンを導入して据付けることを特徴とするシュラウドヘッドの補修方法を提供する。
本発明によれば、ガイドピンの一部もしくは全てを切断撤去するとともに、その撤去した部位に新たなガイドピンを導入して据付ける構成としたことにより、地震等により変形したシュラウドヘッドのガイドピンおよび吊棒を水中遠隔作業で交換することが可能となる。
また、変形しシュラウドヘッドのガイド機能を喪失し、かつシュラウドのガイドピンブラケットと干渉する可能性のあるガイドピン、および変形しシュラウドと干渉してしまう吊棒を交換することにより、シュラウドヘッドを再び使用することが可能となる。
さらに、本実施形態によれば、遮蔽を考慮した補修用架台を用いることにより、気水分離器の上方に十分な水遮蔽を確保することができ、取替作業中の被ばく量を低く抑えることが可能となる。
以下、本発明に係るシュラウドヘッドの補修方法の実施形態について、図面を参照して説明する。
[第1実施形態](図1〜図12)
図1は、本発明の第1実施形態によるシュラウドヘッドガイドピン1および吊棒2の取替え時におけるRPV6と気水分離器8との配置状態を示す概略図である。
この図1に示すように、本実施形態によるシュラウドヘッドガイドピン1の補修に際しては、原子炉圧力容器(RPV)6がDSプール3内で開蓋状態とされ、RPV6の上部胴の上方が開口する状態となっている。RPV6内には炉心シュラウド30が配置されている。
そして、シュラウドヘッド補強用架台7上には、シュラウドヘッド4および気水分離器8が配置され、この配置状態のもとで、シュラウドヘッドガイドピン1の補修を行うようになっている。なお、補強用架台7には、シュラウドヘッド補強用架台7に隣接する配置で仮設パッチ9が搭載されている。
図2は、補修対象となるシュラウドヘッドガイドピン1および吊棒2等の構造部を詳細に示した拡大断面図である。
図2に示すように、シュラウドヘッド4のガイドピンブラケット17,18にはガイドピンブラケット孔31a,31bがそれぞれ形成されている。そして、ガイドピンブラケット孔31a,31b内に、ガイドピン1がガイドピンブラケット18側からスリーブ11を介して挿入されている。ガイドピン1は、下部側の太径部と上部側の細径部とを有する異径ピン状のものであり、細径部の太径部側にはねじ部12が形成されるとともに、ねじ部12からその先端側は細径のロッド13として形成されている。
また、スリーブ11の基端側は外部に臨んで幅拡がりとなる形状とされてガイドピンブラケット17の下端面に係止される一方、スリーブ11の先端側にはネジ部12が形成されており、このねじ部12にはガイドピンブラケット17の上面側からナット16が螺合されている。これにより、ガイドピン1はガイドピンブラケット17に固定される構成となっている。
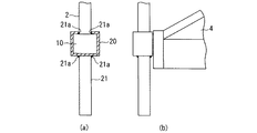
図3(a)は、取替え用吊棒2の構成を一部断面として示す側面図であり、図3(b)は、その吊棒2を設けたシュラウドヘッド4の構成を示している。
図3(a),(b)に示すように、取替え用吊棒2は、既設の吊棒ブラケット10と取り合うチャンネル20構造の一面に既設の吊棒2と干渉する部分に切り欠きを設け、その切り欠き部と対面するチャンネル20の面に切断した吊棒と同等の長さを有する新しい吊棒21を溶接部21aにより取付けられている。
この取替え用吊棒20,21は損傷した吊棒2を切断した吊棒ブラケット10に横(半径)方向からスライドさせるように被せられ、機械的に吊棒ブラケット10に取付けられる。
次に、図4〜図12を参照して、シュラウドヘッドの補修工程について説明する。
上述したように、シュラウドヘッド4を炉心シュラウド30に据付ける時には、シュラウドヘッド4に取付けられているシュラウドヘッドボルトとしてのガイドピン1を備えている。
また、炉心シュラウド4に取付けられているシュラウドヘッドボルトラグおよびシュラウドヘッドリム胴に設けられている耐震ピン用孔とシュラウド上部リング上面に取付けられている耐震ピンとが干渉しない状態でシュラウドヘッド4の位置決めができるように、シュラウドヘッド4にはそのシュラウドヘッド4に取付けられたガイドピンブラケットと取り合うガイドピン1が設けられている。このガイドピン1の一部もしくは全てを切断撤去するとともに、その撤去した部位に新たなガイドピン1を導入することにより据付けられる。
図4に示すように、シュラウドヘッドを補修する場合には、シュラウドヘッドガイドピン1および吊棒2を補修するスペースをDSプール3内に確保するため、DSプール3内に仮置きされている蒸気乾燥器5を一時的に仮設置されているシュラウドヘッド4の頭上を越えてRPV6内に戻す。この場合、蒸気乾燥器5は線量が高くないことから気中移動が可能である。
次に、図5に示すように、DSプール3内の蒸気乾燥器5が仮置きされていた場所に仮設置するシュラウドヘッド補修用架台7を設置し、その後、図6に示すように、シュラウドヘッド4をシュラウドヘッド補修用架台7に移動する。
シュラウドヘッド補修架台7はオペレーションフロアでの被ばく線量を考慮し、シュラウドヘッド4に取付けられている気水分離器8の上端が1m以上水没している高さに制限する。
そして、図7に示すように、シュラウドヘッド4をシュラウドヘッド補修架台7に移動した際、DSプール3の床面からプール水の漏洩がある場合には、その損傷部位に仮設パッチ9を設置し、漏洩を止めDSプール3内の水を抜くことが可能な状態となったときに本格的なDSプール3の補修を行なう。
なお、変形した吊棒2は、吊棒ブラケット10の下方をEDM装置により切断撤去する。さらに、吊棒ブラケット10下面の吊棒2残存部がなくなるようにEDM装置により追い込み加工を行ない、吊棒ブラケット10下面と吊棒2残存部が面一になるようにする。
変形したガイドピン1については、以下の手順により撤去する。
i)EDM装置によりスリーブ11下端位置でガイドピンのねじ部12下端を切断し、ガイドピン1太径部を撤去する。
ii)この状態でロッド13を回転させることが可能か確認する。ロット13が回転しない場合には、スリーブ11およびガイドピンのねじ部12が損傷しているので、損傷している範囲のねじ部12をEDMにより除去する。加工はロッド13が回転できるようになるまで行なう。
iii)ロッド13のコネクタ15の下方に取付けられているストッパ14を、EDM装置により外周から追い込み加工し、ロッド13から取り外す。
iv)ロッド13を回転させスリーブ11とねじで取り合っているガイドピン1を、スリーブ11の下方に引き抜いた状態にする。
v)コネクタ15の下方でロッド13をEDM装置により切断し、ガイドピン1をスリーブ11から抜き取り撤去する。
vi)コネクタ15の上方でロッド13をEDM装置により切断し、コネクタ15を撤去する。
vii)ロッド13を上方に引き上げサポートリングから引き抜き撤去する。この状態で、既設のスリーブ11部を残してガイドピン1が取り外された状態となる。
viii)取替え用吊棒2は、既設の吊棒ブラケット10と取り合うチャンネル20構造の一面に既設の吊棒2と干渉する部分に切り欠きを設け、その切り欠き部と対面するチャンネル20の面に切断した吊棒と同等の長さを有する新しい吊棒21を溶接により取付けられている構造となっている。
この取替え用吊棒20,21は損傷した吊棒2を切断した吊棒ブラケット10に横(半径)方向からスライドさせるように被せ、機械的に吊棒ブラケット10に取付ける。
ix)取替え用ガイドピンは既設の可動式のガイドピン1とは異なり固定式とする。この固定式のガイドピン1は既設と同様に、シュラウドヘッド4がシュラウド30に着座する前はシュラウド側のガイドピンブラケット孔31のクリアランスが小さく、シュラウドヘッド4がシュラウド30に着座した場合には、ガイドピン1とシュラウド側のガイドピンブラケット孔31のクリアランスが大きくなるように二段径構造とする。
x)取替え用ガイドピン1の段差の軸方向の寸法の取り合いは、既設のガイドピン1が最下端位置に下ろした場合と同じとすることにより上記の取り合いを提供することができる。
取替え用ガイドピン1は、既設のスリーブ11に取付けることにより既設と同様のシュラウドヘッドのガイド機能を提供できる。
取替え用ガイドピン1の取付けは、既設のスリーブ11下端から取替え用ガイドピン1をスリーブ11に挿入し、ガイドピン取付治具を用いて取替え用ガイドピン1を回転させスリーブ11にねじ込み固定する。スリーブ11の上方から突き出たロッド13部を用いて既設のナット16を利用し回り止めを機械的に行なう。
xi)図8に示すように、ガイドピン1および吊棒2の補修中もしくは完了後に、本来のシュラウドヘッド設置位置に本設シュラウドヘッド架台40を水中遠隔で仮設置しておく。なお、プラント起動後にDSプール3内の水を排水し、作業員が近づいてシュラウドヘッド架台40の本取付けを実施する。
xii)図9に示すように、ガイドピン1および吊棒2の補修完了後に、本来のシュラウドヘッド設置位置に仮置きした本設シュラウドヘッド架台40にシュラウドヘッド4を移動する。
xiii)図10に示すように、シュラウドヘッド補修用架台7を蒸気乾燥器設置位置から撤去し、シュラウドヘッド補修期間中にRPV6内へ退避していた蒸気乾燥器5を本来のDSプール3内の蒸気乾燥器設置位置へシュラウドヘッド4上を移動し仮置きする。
xiv)なお、図11に示すように、シュラウドヘッド4をシュラウドヘッド補修架台7上で補修中にRPV6内へアクセスする作業が発生する場合には、DSプール3内の本来はシュラウドヘッド4の設置位置に蒸気乾燥器仮受け台43を設置する。
xv)そして、図12に示すように、RPV6内に退避している蒸気乾燥器5をその仮受け台43上に移動し、炉内での作業が完了した後蒸気乾燥器5をRPV6内に再び退避する。
以上の実施形態によれば、地震等により変形したシュラウドヘッドのガイドピンおよび吊棒を水中遠隔作業で交換することが可能となる。
また、変形しシュラウドヘッドのガイド機能を喪失し、かつシュラウドのガイドピンブラケットと干渉する可能性のあるガイドピン、および変形しシュラウドと干渉してしまう吊棒を交換することにより、シュラウドヘッドを再び使用することが可能となる。
さらに、本実施形態によれば、遮蔽を考慮した補修用架台を用いることにより、気水分離器の上方に十分な水遮蔽を確保することができ、取替作業中の被ばく量を低く抑えることが可能となる。
[第2実施形態](図13)
図13は、本発明の第2実施形態によるシュラウドヘッドガイドピン1の構成を示す拡大断面図である。
本実施形態では、第1実施形態から以下を変更するものである。すなわち、第1実施形態では、既設のガイドピン1を構成する部品のうちスリーブ11を残してガイドピン1を復旧した。これに対し、本実施形態では、既設のスリーブ11も撤去しガイドピン1を復旧するものである。
図13において、既設のスリーブ11は、スリーブ11自身の鍔部とナット16によりガイドピンブラケット17を挟み込むように取付けられている。
スリーブ11を取り外すには、ナット16の回り止め溶接を解除し、ナット16を回転させナット16とスリーブ11を分離して取り外す。もしくは、ガイドピンブラケット17を挟み込んでいるスリーブ11の鍔部をEDM装置により削除し、ナット16とスリーブ11を取り外す。
新ガイドピン1は以下の手順で取付ける。まず、新ガイドピン1をガイドピンブラケット17の下方からガイドピンブラケット17に挿入し、ナット16等により機械的にガイドピンブラケット17に固定する。
新ガイドピンの構造は、ナット16等により固定するためにガイドピンブラケット17を挟み込む鍔部を有している。
本実施形態においては、第1実施形態と同様に固定式の二段径構造とするが、シュラウド側のガイドピンブラケット孔31とのクリアランスがシュラウド耐震ピンのクリアランスと同程度になるよう第1の形態よりガイドピン1の径を小さくしている。
このような第2実施形態においても、第1実施形態と同様の作用効果が奏される。
[第3実施形態](図14)
図14は、本発明の第3実施形態によるシュラウドヘッドガイドピン1および吊棒2の構成を示す拡大断面図である。
本実施形態では、第1実施形態から以下を変更する。すなわち、第1実施形態では、既設のガイドピン1を構成する部品のうちスリーブ11を残して固定式のガイドピン1を復旧した。
これに対し、本実施形態では、第1実施形態と同様にスリーブ11を残したままとするが、図14に示すように、既設と同様に可動式のガイドピン1に復旧する。
すなわち、第3実施形態では、第1実施形態と同様の手順によりスリーブ11を除いた既設のガイドピン1を撤去する。その後、以下の手順により新ガイドピン1を取付ける。
新ガイドピン1をスリーブ11に下方から挿入後、新ガイドピン1を回転させ、ストッパ取付け位置がスリーブ11上端より上方なる位置とする。
新ガイドピン1の上方から、ストッパ14を新ガイドピン1に取付け、機械的に固定する。
新ガイドピン1を回転させ、最下端ストッパ14がスリーブ111上端に当たる位置まで下げた後、新ガイドピン上端にコネクタ15を取付ける。
ロッド13をシュラウドヘッドのサポートリング(図示せず)に挿入し、ロッド13下端をコネクタ15に接続する。
六角ブロックと上部サポートリングのクリアランスが規定値になるまでロッド13をコネクタ15にねじ込んだ後、ロッド13とコネクタ15を固定する。
このような第3実施形態においても、第1実施形態と同様の作用と効果が奏される。ただし、据え付ける部品数が多くなるため第1実施形態に比べ工期が長くなる。
[第4実施形態](図15)
図15は、本発明の第4施形態によるシュラウドヘッドガイドピン1および吊棒2の構成を示す拡大断面図である。
本実施形態では、第1実施形態から以下の工程を変更する。第1実施形態では、既設のガイドピン1を構成する部品のうち、スリーブ11を残して固定式のガイドピン1を復旧した。
これに対し、本実施形態では、図14に示すように、既設のスリーブ11も撤去し、可動式のガイドピン1を復旧する。
本実施形態では、第3実施形態と同様の手順により、既設のガイドピン1を全て撤去する。その後、新スリーブ11をガイドピンブラケット17の下方から挿入し、新スリーブ11と新ナット16でガイドピンラケット17を挟み込み固定する。
その後は、第3の形態と同様の手順で新ガイドピン1を取付ける。
新ガイドピン1は、第2の形態と同様に、シュラウド側のガイドピンブラケット孔31とのクリアランスがシュラウド耐震ピンのクリアランスと同程度になるように、第1の形態よりもガイドピン1の径を小さくしている。
本実施形態においても、第1実施形態と同様の作用と効果が奏される。ただし、据え付ける部品数が多くなるため第1実施形態に比べ工期が長くなる。
[第5実施形態](図16)
図16は、本発明の第5施形態によるシュラウドヘッドガイドピン1および吊棒2の構成を示す拡大断面図である。
本実施形態では、第1実施形態から以下を変更するものである。すなわち、第1実施形態では、既設の吊棒の吊棒ブラケット10から下方を切断し、切断した部位に新吊棒21を復旧した。
これに対し、本実施形態では、既設の吊棒の吊棒ブラケット10から下方を切断し、シュラウドヘッド架台40をDSプール内に設置することを前提とし、新しい吊棒21は復旧しない構成とする。
この構成により、本実施形態においても、第1実施形態と同様の作用と効果が奏される。
[第6実施形態](図17)
図17は、本発明の第6施形態によるシュラウドヘッドガイドピン1および吊棒2の構成を示す拡大断面図である。
本実施形態では、第1実施形態から以下を変更するものである。すなわち、第1実施形態では、既設の吊棒の吊棒ブラケット10から下方を切断し、切断した部位に新吊棒を復旧した。
これに対し、本実施形態では、第1実施形態と同様に、切断した部位に新吊棒を取付けるものであるが、吊棒ブラケット10内に残存している既設の吊棒材に下面側からEDM装置により軸方向に雌ねじを加工する。なお、新吊棒21は、この雌ねじと取り合う雄ねじ部を有している。
この構成により、本実施形態においても、第1実施形態と同様の作用と効果が奏される。
[第7実施形態](図18)
図18は、本発明の第7施形態によるシュラウドヘッドガイドピン1および吊棒2の構成を示す拡大断面図である。
本実施形態では、第1実施形態から以下を変更するものである。すなわち、第1実施形態では、既設の吊棒の吊棒ブラケット10から下方を切断し、切断した部位に新吊棒21を復旧した。
これに対し、本実施形態では、吊棒ブラケット10上下面で吊棒を切断し撤去する。吊棒ブラケット10内に残存している既設の吊棒には既設の吊棒直径よりも小径な通し孔をEDM装置により加工する。
新吊棒21は吊棒ブラケット10から上方部分と下方部分の二分割構造とし、上部側の新吊棒21はその上端に既設と同様の吊耳を設けている。また、上部側の新吊棒21の下端部は吊棒ブラケット10に加工した穴に通るように細径となっており、最下端部は雄ねじ構造となっている。
下部側の新吊棒21は、上部側の新吊棒の雄ねじ部と取り合う雌ねじ部が設けてある。
上部側の新吊棒と下部側の新吊棒21のねじ部で吊棒ブラケット10を挟み込み新吊棒21を吊棒ブラケット10に固定する。
以上の構成により、第7実施形態においても、第1実施形態と同様の作用と効果が奏される。ただし、据え付ける部品数が多くなるため第1実施形態に比べて工期が長くなる。
[第8実施形態](図19)
図19は、本発明の第8施形態によるシュラウドヘッドガイドピン1および吊棒2の構成を示す拡大断面図である。
本実施形態では、第1実施形態から以下の工程を変更するものである。すなわち、第1実施形態では、既設の吊棒2の吊棒ブラケット10から下方を切断し、切断した部位に新吊棒21を復旧した。
これに対し、第8実施形態では、吊棒ブラケット10上下面で吊棒2を切断し撤去する。さらに、吊棒ブラケット10内に残存している既設吊棒2を吊棒2の溶着部をEDM装置で除去することにより、既設吊棒2を完全に除去する。
新吊棒21は既設の吊棒2と同様に一体型で上端に既設と同様の吊耳を設けている。
新吊棒21の取付けは、既設の吊棒2と同様に吊棒ブラケット10の上下面に溶接で取付ける。
第8実施形態においても、第1実施形態と同様の作用と効果が奏される。
ただし、据え付ける部品数が多くなるため第1実施形態に比べ工期が長くなる。
[第9実施形態]
本実施形態では、第1〜4実施形態の新ガイドピン1と第1,5〜8実施形態の新吊棒21を組み合わせる。
以上の構成により、本実施形態においても、第1実施形態と同様の作用と効果が奏される。
[他の実施形態]
本発明においては、シュラウドヘッドをシュラウドに据付時、シュラウドヘッドに取付けられているシュラウドヘッドボルトとシュラウドに取付けられているシュラウドヘッドボルトラグおよび一部のプラントではシュラウドヘッドリム胴に設けられている耐震ピン用孔とシュラウド上部リング上面に取付けられている耐震ピンが干渉しないように、シュラウドヘッドの位置決めができるようシュラウドヘッドにはシュラウドに取付けられたガイドピンブラケットと取り合うガイドピンが設けられるものとすることができる。
そして、このガイドピンの一部もしくは全てを切断撤去するとともに、その撤去した部位に新たなガイドピンを導入して据付けるシュラウドヘッドの補修方法とすることができる。
また、シュラウドヘッドをDSプール仮置き時に使用する吊棒の一部もしくは全てを切断撤去するとともに、その撤去した部位に新たな吊棒を導入して据付けるシュラウドヘッドの補修方法とすることができる。
また、本発明においては、シュラウドヘッドガイドピンおよび吊り棒を補修するスペースを確保するため、DSプール内に仮置きされている蒸気乾燥器を一時的にRPV内に戻すシュラウドヘッドの補修方法とすることができる。
また、本発明においては、シュラウドヘッドの補修方法において、蒸気乾燥器は仮設置されているシュラウドヘッドの頭上を越えて、PRV内に戻すシュラウドヘッドの補修方法とすることができる。
また、本発明においては、DSプール内の蒸気乾燥器が仮置きされていた場所に仮設置するシュラウドヘッド補修用架台を設置し、シュラウドヘッドをシュラウドヘッド補修用架台に移動するシュラウドヘッド補修方法とすることができる。
また、本発明においては、シュラウドヘッド補修架台はオペレーションフロアでの被ばく線量を考慮しシュラウドヘッドに取付けられている気水分離器の上端が1m以上水没している高さに制限するシュラウドヘッド補修方法とすることができる。
また、本発明においては、DSプール内で損傷したシュラウドヘッドガイドピンおよび吊り棒を水中で遠隔切断装置により切断し、撤去するシュラウドヘッドの補修方法とすることができる。
また、本発明においては、シュラウドヘッドをシュラウドヘッド補修架台に移動した際、DSプールの床面からプール水の漏洩がある場合には、その損傷部位に仮設パッチを設置するシュラウドヘッドの補修方法とすることができる。
また、本発明においては、新たなガイドピンを水中遠隔で損傷したガイドピンを切断、撤去した部位へ水中遠隔で取付けるシュラウドヘッドの補修方法とすることができる。
また、本発明においては、新たな吊り棒を水中遠隔で損傷した吊り棒を切断、撤去した部位へ水中遠隔で取付けるシュラウドヘッドの補修方法とすることができる。
また、本発明においては、ガイドピンおよび吊棒の補修中もしくは完了後に、本来のシュラウドヘッド設置位置に本設シュラウドヘッド架台を水中遠隔で仮設置し、プラント起動後にDSプール内の水を排水し、作業員が近づいてシュラウドヘッド架台の本取付けを実施するシュラウドヘッドの補修方法とすることができる。
また、本発明においては、ガイドピンおよび吊棒の補修完了後に、本来のシュラウドヘッド設置位置に仮置きした本設シュラウドヘッド架台に、シュラウドヘッドを移動するシュラウドヘッドの補修方法とすることができる。
また、本発明においては、シュラウドヘッド補修用架台を蒸気乾燥器設置位置から撤去し、シュラウドヘッド補修期間中にRPV内へ退避していた蒸気乾燥器を本来のDSプール内の蒸気乾燥器設置位置へシュラウドヘッド上を移動し、仮置きするシュラウドヘッドの補修方法とすることができる。
また、本発明においては、シュラウドヘッドをシュラウドヘッド補修架台上で補修中にRPV内へアクセスする作業が発生する場合には、DSプール内の本来はシュラウドヘッドの設置位置に蒸気乾燥器仮受け台を設置し、RPV内に退避している蒸気乾燥器をその仮受け台上に移動し、炉内での作業が完了した後蒸気乾燥器をRPV内に再び退避するシュラウドヘッドの補修方法とすることができる。
また、本発明においては、既設ガイドピンの部品の一部であるスリーブを取り外さずに既設と同様な構造の新しいガイドピンを取付けるシュラウドヘッドの補修方法とすることができる。
また、本発明においては、既設ガイドピンを全て取り外し、シュラウドに取付けられているガイドピンブラケットのガイドピン用孔とのクリアランスが、シュラウドに取付けられている耐震ピントシュラウドヘッドリム胴の耐震ピン用孔とのクリアランスと同度となるような径を有するガイドピンを取付けるシュラウドヘッドの補修方法とすることができる。
また、本発明においては、既設吊棒の部品の一部である吊棒ブラケットから下方部を取り外し、新しい吊棒下方部を機械的に取付けるシュラウドヘッドの補修方法とすることができる。
また、本発明においては、既設吊棒を全て取り外し、新しい吊棒を機械的もしくは溶接構造で取付けるシュラウドヘッドの補修方法とすることができる。
また、本発明においては、シュラウドヘッド架台を設置することを前提に既設吊棒の部品の一部である吊棒ブラケットから下方部を取り外すシュラウドヘッドの補修方法とすることができる。
本発明の第1施形態を示す概略構成図。 本発明の第1施形態を示す要部拡大図。 (a),(b)は本発明の第1施形態を示す要部拡大図。 本発明の第1施形態を示す工程説明図。 本発明の第1施形態を示す工程説明図。 本発明の第1施形態を示す工程説明図。 本発明の第1施形態を示す工程説明図。 本発明の第1施形態を示す工程説明図。 本発明の第1施形態を示す工程説明図。 本発明の第1施形態を示す工程説明図。 本発明の第1施形態を示す工程説明図。 本発明の第1施形態を示す作用説明図。 本発明の第2施形態を示す拡大断面図。 本発明の第3施形態を示す拡大断面図。 本発明の第4施形態を示す拡大断面図。 本発明の第5施形態を示す拡大断面図。 本発明の第6施形態を示す拡大断面図。 本発明の第7施形態を示す拡大断面図。 本発明の第8施形態を示す拡大断面図。 従来のシュラウドヘッド構造を示す拡大断面図。 従来の吊棒構造を示す拡大断面図。
符号の説明
1 ガイドピン
2 吊棒
3 DSプール
4 シュラウドヘッド
5 蒸気乾燥器
6 RPV
7 シュラウドヘッド補修架台
8 気水分離器
9 仮設パッチ
10 吊棒ブラケット
11 スリーブ
12 ねじ部
13 ロッド
14 ストッパ
15 コネクタ
16 ナット
17、18 ガイドピンブラケット
20 チャンネル
21 新吊棒
21a 溶接部
30 炉心シュラウド
31a,31b ガイドピンブラケット孔
40 シュラウドヘッド架台
43 蒸気乾燥器仮受け台

Claims (8)

  1. 沸騰水型原子炉のシュラウドヘッドの位置決めされるシュラウドヘッドおよびシュラウドに取付けられたガイドピンを備えたシュラウドヘッドを補修する方法であって、ガイドピンの一部もしくは全てを切断撤去するとともに、その撤去した部位に新たなガイドピンを導入して据付けることを特徴とするシュラウドヘッドの補修方法。
  2. 前記シュラウドヘッドを、DSプール仮置き時に使用する吊棒を切断撤去するとともに、その撤去した部位に新たな吊棒を導入して据付ける請求項1記載のシュラウドヘッドの補修方法。
  3. 前記シュラウドヘッドガイドピンおよび吊り棒を補修するスペースを確保するためにDSプール内に仮置きされている蒸気乾燥器を一時的に原子炉圧力容器内に戻す請求項1記載のシュラウドヘッドの補修方法。
  4. 前記蒸気乾燥器を、仮設置されているシュラウドヘッドの頭上を越えて原子炉圧力容器内に戻す請求項1から3までのいずれか1項記載のシュラウドヘッドの補修方法。
  5. 前記DSプール内の蒸気乾燥器が仮置きされていた場所に仮設置するシュラウドヘッド補修用架台を設置し、シュラウドヘッドをシュラウドヘッド補修用架台に移動する請求項1から4までのいずれか1項記載のシュラウドヘッド補修方法。
  6. 前記シュラウドヘッド補修架台は、オペレーションフロアでの被ばく線量を考慮しシュラウドヘッドに取付けられている気水分離器の上端が1m以上水没している高さに制限する前記請求項1から5までのいずれか1項記載のシュラウドヘッド補修方法。
  7. 前記DSプール内で損傷したシュラウドヘッドガイドピンおよび吊り棒を水中で遠隔切断装置により切断し、その後撤去する請求項1から6までのいずれか1項記載のシュラウドヘッドの補修方法。
  8. 前記シュラウドヘッドをシュラウドヘッド補修架台に移動した際、DSプールの床面からプール水の漏洩がある場合、その損傷部位に仮設パッチを設置する請求項1から7までのいずれか1項記載のシュラウドヘッドの補修方法。
JP2008209231A 2008-08-15 2008-08-15 シュラウドヘッドの補修方法 Active JP5106314B2 (ja)

Priority Applications (1)

Application Number Priority Date Filing Date Title
JP2008209231A JP5106314B2 (ja) 2008-08-15 2008-08-15 シュラウドヘッドの補修方法

Applications Claiming Priority (1)

Application Number Priority Date Filing Date Title
JP2008209231A JP5106314B2 (ja) 2008-08-15 2008-08-15 シュラウドヘッドの補修方法

Publications (2)

Publication Number Publication Date
JP2010043995A true JP2010043995A (ja) 2010-02-25
JP5106314B2 JP5106314B2 (ja) 2012-12-26

Family

ID=42015488

Family Applications (1)

Application Number Title Priority Date Filing Date
JP2008209231A Active JP5106314B2 (ja) 2008-08-15 2008-08-15 シュラウドヘッドの補修方法

Country Status (1)

Country Link
JP (1) JP5106314B2 (ja)

Citations (14)

* Cited by examiner, † Cited by third party
Publication number Priority date Publication date Assignee Title
JPS61296293A (ja) * 1985-06-26 1986-12-27 株式会社日立製作所 シユラウドヘツド締付機構
JPS63133093A (ja) * 1986-11-25 1988-06-04 株式会社日立製作所 原子炉
JPH0531591A (ja) * 1991-07-30 1993-02-09 Toshiba Corp 水中レーザー溶接装置
JPH0580187A (ja) * 1991-09-20 1993-04-02 Hitachi Ltd 炉内構造物の保全方法
JPH0633923A (ja) * 1992-07-14 1994-02-08 Hitachi Ltd 位置決めピン
JPH08122485A (ja) * 1994-10-27 1996-05-17 Toshiba Corp 原子炉圧力容器内シュラウドの補修方法
JPH08174377A (ja) * 1994-12-27 1996-07-09 Hitachi Ltd 遠隔加工装置
JPH09304578A (ja) * 1996-05-16 1997-11-28 Hitachi Ltd 原子炉内構造物の取扱方法及び原子炉内構造物の保管装置
JP2000304890A (ja) * 1999-04-19 2000-11-02 Hitachi Ltd 炉内構造物取替方法
JP2001242282A (ja) * 2000-02-25 2001-09-07 Hitachi Ltd シュラウド取替工法
JP2002257987A (ja) * 2001-02-27 2002-09-11 Hitachi Ltd 炉内構造物除却方法
JP2005114434A (ja) * 2003-10-03 2005-04-28 Toshiba Corp シュラウドヘッド修正治具
JP2007232433A (ja) * 2006-02-28 2007-09-13 Hitachi Ltd 自然循環式沸騰水型原子炉のチムニ
JP2008032468A (ja) * 2006-07-27 2008-02-14 Hitachi Ltd 中性子計測管の接続方法及び中性子計測管

Patent Citations (14)

* Cited by examiner, † Cited by third party
Publication number Priority date Publication date Assignee Title
JPS61296293A (ja) * 1985-06-26 1986-12-27 株式会社日立製作所 シユラウドヘツド締付機構
JPS63133093A (ja) * 1986-11-25 1988-06-04 株式会社日立製作所 原子炉
JPH0531591A (ja) * 1991-07-30 1993-02-09 Toshiba Corp 水中レーザー溶接装置
JPH0580187A (ja) * 1991-09-20 1993-04-02 Hitachi Ltd 炉内構造物の保全方法
JPH0633923A (ja) * 1992-07-14 1994-02-08 Hitachi Ltd 位置決めピン
JPH08122485A (ja) * 1994-10-27 1996-05-17 Toshiba Corp 原子炉圧力容器内シュラウドの補修方法
JPH08174377A (ja) * 1994-12-27 1996-07-09 Hitachi Ltd 遠隔加工装置
JPH09304578A (ja) * 1996-05-16 1997-11-28 Hitachi Ltd 原子炉内構造物の取扱方法及び原子炉内構造物の保管装置
JP2000304890A (ja) * 1999-04-19 2000-11-02 Hitachi Ltd 炉内構造物取替方法
JP2001242282A (ja) * 2000-02-25 2001-09-07 Hitachi Ltd シュラウド取替工法
JP2002257987A (ja) * 2001-02-27 2002-09-11 Hitachi Ltd 炉内構造物除却方法
JP2005114434A (ja) * 2003-10-03 2005-04-28 Toshiba Corp シュラウドヘッド修正治具
JP2007232433A (ja) * 2006-02-28 2007-09-13 Hitachi Ltd 自然循環式沸騰水型原子炉のチムニ
JP2008032468A (ja) * 2006-07-27 2008-02-14 Hitachi Ltd 中性子計測管の接続方法及び中性子計測管

Also Published As

Publication number Publication date
JP5106314B2 (ja) 2012-12-26

Similar Documents

Publication Publication Date Title
JP5411412B2 (ja) セグメント式ケーソンを使用して原子炉底部ヘッドの水中補修のための乾燥環境を形成する方法
JP5784515B2 (ja) 原子炉内燃料取出し方法及び装置
CN105023623A (zh) 核燃料组件修复装置及方法
JPS61231485A (ja) 核燃料集合体上部ノズルの案内シンブルへの取付装置
JP5897156B2 (ja) ウォータジェットピーニング装置及びウォータジェットピーニング施工方法
EP2704152A2 (en) Nozzle repairing method and nuclear reactor vessel
JP5761909B2 (ja) 原子炉容器補修工法
JP5106314B2 (ja) シュラウドヘッドの補修方法
EP1241679B1 (en) Upper T-box assembly for a nuclear reactor core spray system
US10020080B2 (en) Nuclear reactor nozzle repair method
JP4883953B2 (ja) 炉心スプレーt−ボックス取付け組立体
JP4178027B2 (ja) 原子炉炉内構造物の保全方法
WO2014104031A1 (ja) 管台補修方法及び原子炉容器
JP4393011B2 (ja) 炉心スプレイ系統機器の取替方法
JP5814896B2 (ja) 炉心差圧及び液体注入制御装置の取替方法
EP2703704A2 (en) Nozzle repairing method and nuclear reactor vessel
JP5100703B2 (ja) シュラウドヘッドの補修方法およびその補修構造
JP6266441B2 (ja) 差圧検出/ほう酸水注入系配管の修理方法およびこの修理方法で修理された差圧検出/ほう酸水注入系配管を備える原子炉
JP3425217B2 (ja) 圧力容器貫通ハウジングの補修用シール装置
JP5159698B2 (ja) シュラウドヘッド仮置き装置および同装置の設置方法
JP3961150B2 (ja) 炉内計装案内管のシール装置
JP5702997B2 (ja) 炉心支持板の据付装置及び炉心支持板の据付方法
JP2000162376A (ja) 原子炉内構造物の取替方法
JPH06323106A (ja) タービン主蒸気リード管の耐圧試験方法
JPH02118499A (ja) 中性子束モニタハウジングの補修方法

Legal Events

Date Code Title Description
RD04 Notification of resignation of power of attorney

Free format text: JAPANESE INTERMEDIATE CODE: A7424

Effective date: 20100424

A621 Written request for application examination

Free format text: JAPANESE INTERMEDIATE CODE: A621

Effective date: 20101214

A977 Report on retrieval

Free format text: JAPANESE INTERMEDIATE CODE: A971007

Effective date: 20110707

A131 Notification of reasons for refusal

Free format text: JAPANESE INTERMEDIATE CODE: A131

Effective date: 20110823

A521 Written amendment

Free format text: JAPANESE INTERMEDIATE CODE: A523

Effective date: 20111024

RD01 Notification of change of attorney

Free format text: JAPANESE INTERMEDIATE CODE: A7421

Effective date: 20111217

TRDD Decision of grant or rejection written
A01 Written decision to grant a patent or to grant a registration (utility model)

Free format text: JAPANESE INTERMEDIATE CODE: A01

Effective date: 20120904

A01 Written decision to grant a patent or to grant a registration (utility model)

Free format text: JAPANESE INTERMEDIATE CODE: A01

A61 First payment of annual fees (during grant procedure)

Free format text: JAPANESE INTERMEDIATE CODE: A61

Effective date: 20121002

R151 Written notification of patent or utility model registration

Ref document number: 5106314

Country of ref document: JP

Free format text: JAPANESE INTERMEDIATE CODE: R151

FPAY Renewal fee payment (event date is renewal date of database)

Free format text: PAYMENT UNTIL: 20151012

Year of fee payment: 3