JP2010042765A - 空気入りタイヤ - Google Patents
空気入りタイヤ Download PDFInfo
- Publication number
- JP2010042765A JP2010042765A JP2008208883A JP2008208883A JP2010042765A JP 2010042765 A JP2010042765 A JP 2010042765A JP 2008208883 A JP2008208883 A JP 2008208883A JP 2008208883 A JP2008208883 A JP 2008208883A JP 2010042765 A JP2010042765 A JP 2010042765A
- Authority
- JP
- Japan
- Prior art keywords
- sipe
- tire
- pneumatic tire
- segment
- width direction
- Prior art date
- Legal status (The legal status is an assumption and is not a legal conclusion. Google has not performed a legal analysis and makes no representation as to the accuracy of the status listed.)
- Granted
Links
Images
Classifications
-
- Y—GENERAL TAGGING OF NEW TECHNOLOGICAL DEVELOPMENTS; GENERAL TAGGING OF CROSS-SECTIONAL TECHNOLOGIES SPANNING OVER SEVERAL SECTIONS OF THE IPC; TECHNICAL SUBJECTS COVERED BY FORMER USPC CROSS-REFERENCE ART COLLECTIONS [XRACs] AND DIGESTS
- Y02—TECHNOLOGIES OR APPLICATIONS FOR MITIGATION OR ADAPTATION AGAINST CLIMATE CHANGE
- Y02T—CLIMATE CHANGE MITIGATION TECHNOLOGIES RELATED TO TRANSPORTATION
- Y02T10/00—Road transport of goods or passengers
- Y02T10/80—Technologies aiming to reduce greenhouse gasses emissions common to all road transportation technologies
- Y02T10/86—Optimisation of rolling resistance, e.g. weight reduction
Landscapes
- Tires In General (AREA)
Abstract
【解決手段】 トレッド部Tにタイヤ周方向に延びる複数本の周方向溝1〜3を設け、これら周方向溝1〜3により複数列の陸部10〜30を区画した空気入りタイヤにおいて、少なくとも1列の陸部30にタイヤ幅方向に延びる複数本のサイプ33を設け、これらサイプ33をトレッド表面ではジグザグ状又は波状となる部分を含み底部では実質的に直線状に収束した3次元構造とし、かつ、サイプ33のトレッド表面での延長方向と底部での延長方向とを互いに交差する関係にする。
【選択図】 図1
Description
試験タイヤをリムサイズ15×6Jのホイールに組み付け、空気圧180kPa(JATMA標準空気圧)、負荷荷重4.5kN、ドラム回転速度80km/hの条件にて転がり抵抗を測定した。評価結果は、測定値の逆数を用い、比較例1を100とする指数にて示した。この指数値が大きいほど転がり抵抗が小さいことを意味する。
試験タイヤをリムサイズ15×6Jのホイールに組み付けて排気量2000ccのFR車両に装着し、空気圧180kPaとして、テストドライバーによる操縦安定性のフィーリング評価を行った。評価結果は、比較例1を100とする指数にて示した。この指数値が大きいほど操縦安定性が優れていることを意味する。
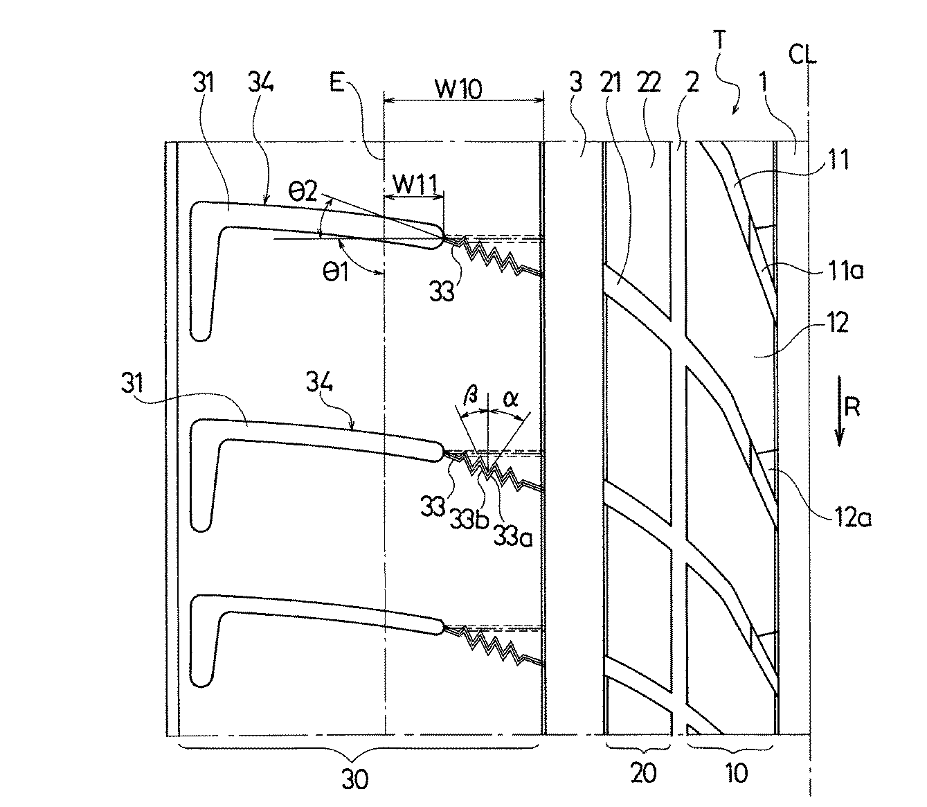
10,20,30 陸部
11,21,31 ラグ溝
12,22,ブロック
23,33 サイプ
24,34 複合溝
CL タイヤ赤道線
E 接地端
T トレッド部
Claims (16)
- トレッド部にタイヤ周方向に延びる複数本の周方向溝を設け、これら周方向溝により複数列の陸部を区画した空気入りタイヤにおいて、少なくとも1列の陸部にタイヤ幅方向に延びる複数本のサイプを設け、これらサイプをトレッド表面ではジグザグ状又は波状となる部分を含み底部では実質的に直線状に収束した3次元構造とし、かつ、前記サイプのトレッド表面での延長方向と底部での延長方向とを互いに交差する関係にしたことを特徴とする空気入りタイヤ。
- 前記サイプをタイヤ幅方向の最外側に位置するショルダー陸部に配置し、該ショルダー陸部において前記サイプの一端を内側の周方向溝に連通させる一方で他端を接地端の外側まで延長させたことを特徴とする請求項1に記載の空気入りタイヤ。
- 前記サイプを前記ショルダー陸部の内側に位置する中間陸部に配置し、該中間陸部において前記サイプの両端をそれぞれ両側の周方向溝に連通させたことを特徴とする請求項2に記載の空気入りタイヤ。
- 前記サイプを車両装着時における少なくとも車両内側のショルダー陸部に配置したことを特徴とする請求項1〜3のいずれかに記載の空気入りタイヤ。
- 前記サイプのトレッド表面でのタイヤ幅方向の長さW0に対してジグザグ状又は波状となる部分のトレッド表面でのタイヤ幅方向の長さW1をW1/W0=0.40〜0.80の関係にしたことを特徴とする請求項1〜4のいずれかに記載の空気入りタイヤ。
- 前記サイプをトレッド表面においてタイヤ幅方向中央側に位置する第1分節とタイヤ幅方向外側に位置する第2分節とを繰り返してなるジグザグ状に形成し、これら第1分節と第2分節のタイヤ周方向に対する傾斜角度を互いに異ならせ、前記第1分節の傾斜角度を30°〜70°の範囲に設定すると共に前記第2分節の傾斜角度を−30°〜10°の範囲に設定したことを特徴とする請求項1〜5のいずれかに記載の空気入りタイヤ。
- 前記サイプの少なくとも周方向溝に連通する位置での深さを該周方向溝の最大深さの70%〜100%の範囲に設定したことを特徴とする請求項1〜6のいずれかに記載の空気入りタイヤ。
- 前記サイプの底部での延長方向をタイヤ周方向に対して80°〜100°の範囲に設定し、前記サイプのトレッド表面での延長方向を該サイプの底部での延長方向に対して20°〜50°の範囲に設定したことを特徴とする請求項1〜7のいずれかに記載の空気入りタイヤ。
- トレッド部にタイヤ周方向に延びる複数本の周方向溝を設け、これら周方向溝により複数列の陸部を区画した空気入りタイヤにおいて、少なくとも1列の陸部にタイヤ幅方向に延びるラグ溝とサイプとを連結してなる複数本の複合溝を設け、前記サイプをトレッド表面ではジグザグ状又は波状となる部分を含み底部では実質的に直線状に収束した3次元構造とし、かつ、前記サイプのトレッド表面での延長方向と底部での延長方向とを互いに交差する関係にしたことを特徴とする空気入りタイヤ。
- 前記複合溝をタイヤ幅方向の最外側に位置するショルダー陸部に配置し、該ショルダー陸部において前記複合溝のサイプ側の端部を内側の周方向溝に連通させる一方でラグ溝側の端部を接地端の外側まで延長させたことを特徴とする請求項9に記載の空気入りタイヤ。
- 前記複合溝を前記ショルダー陸部の内側に位置する中間陸部に配置し、該中間陸部において前記複合溝の両端をそれぞれ両側の周方向溝に連通させたことを特徴とする請求項10に記載の空気入りタイヤ。
- 前記複合溝を車両装着時における少なくとも車両内側のショルダー陸部に配置したことを特徴とする請求項9〜11のいずれかに記載の空気入りタイヤ。
- 前記ショルダー陸部の接地領域内でのタイヤ幅方向の長さW10に対して前記ラグ溝の接地領域内でのタイヤ幅方向の長さW11をW11/W10=0.40〜0.80の関係にしたことを特徴とする請求項9〜12のいずれかに記載の空気入りタイヤ。
- 前記サイプをトレッド表面においてタイヤ幅方向中央側に位置する第1分節とタイヤ幅方向外側に位置する第2分節とを繰り返してなるジグザグ状に形成し、これら第1分節と第2分節のタイヤ周方向に対する傾斜角度を互いに異ならせ、前記第1分節の傾斜角度を30°〜70°の範囲に設定すると共に前記第2分節の傾斜角度を−30°〜10°の範囲に設定したことを特徴とする請求項9〜13のいずれかに記載の空気入りタイヤ。
- 前記サイプの深さをそれに繋がるラグ溝の最大深さの80%〜100%の範囲に設定したことを特徴とする請求項9〜14のいずれかに記載の空気入りタイヤ。
- 前記サイプの底部での延長方向をタイヤ周方向に対して80°〜100°の範囲に設定し、前記サイプのトレッド表面での延長方向を該サイプの底部での延長方向に対して20°〜50°の範囲に設定したことを特徴とする請求項9〜15のいずれかに記載の空気入りタイヤ。
Priority Applications (1)
| Application Number | Priority Date | Filing Date | Title |
|---|---|---|---|
| JP2008208883A JP5223534B2 (ja) | 2008-08-14 | 2008-08-14 | 空気入りタイヤ |
Applications Claiming Priority (1)
| Application Number | Priority Date | Filing Date | Title |
|---|---|---|---|
| JP2008208883A JP5223534B2 (ja) | 2008-08-14 | 2008-08-14 | 空気入りタイヤ |
Publications (2)
| Publication Number | Publication Date |
|---|---|
| JP2010042765A true JP2010042765A (ja) | 2010-02-25 |
| JP5223534B2 JP5223534B2 (ja) | 2013-06-26 |
Family
ID=42014511
Family Applications (1)
| Application Number | Title | Priority Date | Filing Date |
|---|---|---|---|
| JP2008208883A Active JP5223534B2 (ja) | 2008-08-14 | 2008-08-14 | 空気入りタイヤ |
Country Status (1)
| Country | Link |
|---|---|
| JP (1) | JP5223534B2 (ja) |
Cited By (3)
| Publication number | Priority date | Publication date | Assignee | Title |
|---|---|---|---|---|
| JP2013129325A (ja) * | 2011-12-21 | 2013-07-04 | Bridgestone Corp | 空気入りタイヤ |
| WO2016056597A1 (ja) * | 2014-10-07 | 2016-04-14 | 横浜ゴム株式会社 | 空気入りタイヤ |
| CN111699096A (zh) * | 2018-02-14 | 2020-09-22 | 横滨橡胶株式会社 | 充气轮胎 |
Citations (10)
| Publication number | Priority date | Publication date | Assignee | Title |
|---|---|---|---|---|
| JPS59199306A (ja) * | 1983-04-12 | 1984-11-12 | ミシユラン、エ、コンパニ−(コンパニ−、ゼネラ−ル、デ、ゼタブリスマン、ミシユラン) | タイヤトレツド |
| JPH03167008A (ja) * | 1989-11-27 | 1991-07-18 | Yokohama Rubber Co Ltd:The | 空気入りタイヤ |
| JPH0789303A (ja) * | 1993-08-30 | 1995-04-04 | Goodyear Tire & Rubber Co:The | 空気入りタイヤ |
| JPH0994829A (ja) * | 1995-09-28 | 1997-04-08 | Bridgestone Corp | 加硫成形モールド及びこれを用いて製造された空気入 りタイヤ |
| JPH1024709A (ja) * | 1996-07-11 | 1998-01-27 | Sumitomo Rubber Ind Ltd | 空気入りタイヤ |
| JPH11240314A (ja) * | 1997-12-24 | 1999-09-07 | Bridgestone Corp | 空気入りタイヤ |
| JP2003118322A (ja) * | 2001-10-17 | 2003-04-23 | Toyo Tire & Rubber Co Ltd | 空気入りタイヤ |
| JP2003320814A (ja) * | 2002-04-30 | 2003-11-11 | Yokohama Rubber Co Ltd:The | 空気入りタイヤ |
| JP2006298055A (ja) * | 2005-04-18 | 2006-11-02 | Bridgestone Corp | 空気入りタイヤ |
| WO2007004369A1 (ja) * | 2005-06-30 | 2007-01-11 | Bridgestone Corporation | 空気入りタイヤ |
-
2008
- 2008-08-14 JP JP2008208883A patent/JP5223534B2/ja active Active
Patent Citations (10)
| Publication number | Priority date | Publication date | Assignee | Title |
|---|---|---|---|---|
| JPS59199306A (ja) * | 1983-04-12 | 1984-11-12 | ミシユラン、エ、コンパニ−(コンパニ−、ゼネラ−ル、デ、ゼタブリスマン、ミシユラン) | タイヤトレツド |
| JPH03167008A (ja) * | 1989-11-27 | 1991-07-18 | Yokohama Rubber Co Ltd:The | 空気入りタイヤ |
| JPH0789303A (ja) * | 1993-08-30 | 1995-04-04 | Goodyear Tire & Rubber Co:The | 空気入りタイヤ |
| JPH0994829A (ja) * | 1995-09-28 | 1997-04-08 | Bridgestone Corp | 加硫成形モールド及びこれを用いて製造された空気入 りタイヤ |
| JPH1024709A (ja) * | 1996-07-11 | 1998-01-27 | Sumitomo Rubber Ind Ltd | 空気入りタイヤ |
| JPH11240314A (ja) * | 1997-12-24 | 1999-09-07 | Bridgestone Corp | 空気入りタイヤ |
| JP2003118322A (ja) * | 2001-10-17 | 2003-04-23 | Toyo Tire & Rubber Co Ltd | 空気入りタイヤ |
| JP2003320814A (ja) * | 2002-04-30 | 2003-11-11 | Yokohama Rubber Co Ltd:The | 空気入りタイヤ |
| JP2006298055A (ja) * | 2005-04-18 | 2006-11-02 | Bridgestone Corp | 空気入りタイヤ |
| WO2007004369A1 (ja) * | 2005-06-30 | 2007-01-11 | Bridgestone Corporation | 空気入りタイヤ |
Cited By (5)
| Publication number | Priority date | Publication date | Assignee | Title |
|---|---|---|---|---|
| JP2013129325A (ja) * | 2011-12-21 | 2013-07-04 | Bridgestone Corp | 空気入りタイヤ |
| WO2016056597A1 (ja) * | 2014-10-07 | 2016-04-14 | 横浜ゴム株式会社 | 空気入りタイヤ |
| US10603961B2 (en) | 2014-10-07 | 2020-03-31 | The Yokohama Rubber Co., Ltd. | Pneumatic tire |
| CN111699096A (zh) * | 2018-02-14 | 2020-09-22 | 横滨橡胶株式会社 | 充气轮胎 |
| CN111699096B (zh) * | 2018-02-14 | 2022-08-16 | 横滨橡胶株式会社 | 充气轮胎 |
Also Published As
| Publication number | Publication date |
|---|---|
| JP5223534B2 (ja) | 2013-06-26 |
Similar Documents
| Publication | Publication Date | Title |
|---|---|---|
| JP6393208B2 (ja) | 空気入りタイヤ | |
| CN103832221B (zh) | 充气轮胎 | |
| US9994077B2 (en) | Pneumatic tire | |
| JP6790663B2 (ja) | タイヤ | |
| JP4685922B2 (ja) | 空気入りタイヤ | |
| JP4881697B2 (ja) | 空気入りタイヤ | |
| JP6776620B2 (ja) | タイヤ | |
| WO2015005194A1 (ja) | 空気入りタイヤ | |
| JP2005170147A (ja) | 空気入りタイヤ | |
| CN107031307B (zh) | 充气轮胎 | |
| JP6575649B2 (ja) | 空気入りタイヤ | |
| JP2010260471A (ja) | 空気入りタイヤ | |
| JP4367667B1 (ja) | 空気入りタイヤ | |
| CN110936770B (zh) | 轮胎 | |
| JP4873988B2 (ja) | 空気入りタイヤ | |
| US10000092B2 (en) | Pneumatic tire | |
| JP5223534B2 (ja) | 空気入りタイヤ | |
| JP5200123B2 (ja) | 重荷重用空気入りタイヤ | |
| RU2506170C1 (ru) | Пневматическая шина | |
| CN115214270A (zh) | 摩托车用轮胎及轮胎组 | |
| JP2007230251A (ja) | 空気入りタイヤ | |
| JP6416024B2 (ja) | 空気入りタイヤ | |
| JP4285617B2 (ja) | 空気入りラジアルタイヤ | |
| JP2020100191A (ja) | 空気入りタイヤ | |
| JP2022191141A (ja) | タイヤ |
Legal Events
| Date | Code | Title | Description |
|---|---|---|---|
| A621 | Written request for application examination |
Free format text: JAPANESE INTERMEDIATE CODE: A621 Effective date: 20110809 |
|
| A977 | Report on retrieval |
Free format text: JAPANESE INTERMEDIATE CODE: A971007 Effective date: 20121001 |
|
| TRDD | Decision of grant or rejection written | ||
| A01 | Written decision to grant a patent or to grant a registration (utility model) |
Free format text: JAPANESE INTERMEDIATE CODE: A01 Effective date: 20130212 |
|
| A61 | First payment of annual fees (during grant procedure) |
Free format text: JAPANESE INTERMEDIATE CODE: A61 Effective date: 20130225 |
|
| R150 | Certificate of patent or registration of utility model |
Free format text: JAPANESE INTERMEDIATE CODE: R150 Ref document number: 5223534 Country of ref document: JP Free format text: JAPANESE INTERMEDIATE CODE: R150 |
|
| FPAY | Renewal fee payment (event date is renewal date of database) |
Free format text: PAYMENT UNTIL: 20160322 Year of fee payment: 3 |
|
| R250 | Receipt of annual fees |
Free format text: JAPANESE INTERMEDIATE CODE: R250 |
|
| R250 | Receipt of annual fees |
Free format text: JAPANESE INTERMEDIATE CODE: R250 |
|
| R250 | Receipt of annual fees |
Free format text: JAPANESE INTERMEDIATE CODE: R250 |
|
| R250 | Receipt of annual fees |
Free format text: JAPANESE INTERMEDIATE CODE: R250 |
|
| R250 | Receipt of annual fees |
Free format text: JAPANESE INTERMEDIATE CODE: R250 |
|
| R250 | Receipt of annual fees |
Free format text: JAPANESE INTERMEDIATE CODE: R250 |
|
| R250 | Receipt of annual fees |
Free format text: JAPANESE INTERMEDIATE CODE: R250 |
|
| R250 | Receipt of annual fees |
Free format text: JAPANESE INTERMEDIATE CODE: R250 |
|
| S531 | Written request for registration of change of domicile |
Free format text: JAPANESE INTERMEDIATE CODE: R313531 |
|
| R350 | Written notification of registration of transfer |
Free format text: JAPANESE INTERMEDIATE CODE: R350 |
|
| R250 | Receipt of annual fees |
Free format text: JAPANESE INTERMEDIATE CODE: R250 |
|
| R250 | Receipt of annual fees |
Free format text: JAPANESE INTERMEDIATE CODE: R250 |
