JP2010034524A - ウェーハの微小割れを検出する方法およびシステム - Google Patents

ウェーハの微小割れを検出する方法およびシステム Download PDF

Info

Publication number
JP2010034524A
JP2010034524A JP2009139963A JP2009139963A JP2010034524A JP 2010034524 A JP2010034524 A JP 2010034524A JP 2009139963 A JP2009139963 A JP 2009139963A JP 2009139963 A JP2009139963 A JP 2009139963A JP 2010034524 A JP2010034524 A JP 2010034524A
Authority
JP
Japan
Prior art keywords
image
wafer
axis
light
plane
Prior art date
Legal status (The legal status is an assumption and is not a legal conclusion. Google has not performed a legal analysis and makes no representation as to the accuracy of the status listed.)
Granted
Application number
JP2009139963A
Other languages
English (en)
Other versions
JP5500414B2 (ja
Inventor
Sok Leng Chan
ソク レン チャン
Current Assignee (The listed assignees may be inaccurate. Google has not performed a legal analysis and makes no representation or warranty as to the accuracy of the list.)
Individual
Original Assignee
Individual
Priority date (The priority date is an assumption and is not a legal conclusion. Google has not performed a legal analysis and makes no representation as to the accuracy of the date listed.)
Filing date
Publication date
Application filed by Individual filed Critical Individual
Publication of JP2010034524A publication Critical patent/JP2010034524A/ja
Application granted granted Critical
Publication of JP5500414B2 publication Critical patent/JP5500414B2/ja
Active legal-status Critical Current
Anticipated expiration legal-status Critical

Links

Images

Classifications

    • GPHYSICS
    • G01MEASURING; TESTING
    • G01NINVESTIGATING OR ANALYSING MATERIALS BY DETERMINING THEIR CHEMICAL OR PHYSICAL PROPERTIES
    • G01N21/00Investigating or analysing materials by the use of optical means, i.e. using sub-millimetre waves, infrared, visible or ultraviolet light
    • G01N21/84Systems specially adapted for particular applications
    • G01N21/88Investigating the presence of flaws or contamination
    • G01N21/95Investigating the presence of flaws or contamination characterised by the material or shape of the object to be examined
    • G01N21/9501Semiconductor wafers
    • G01N21/9505Wafer internal defects, e.g. microcracks
    • GPHYSICS
    • G01MEASURING; TESTING
    • G01NINVESTIGATING OR ANALYSING MATERIALS BY DETERMINING THEIR CHEMICAL OR PHYSICAL PROPERTIES
    • G01N21/00Investigating or analysing materials by the use of optical means, i.e. using sub-millimetre waves, infrared, visible or ultraviolet light
    • G01N21/84Systems specially adapted for particular applications
    • G01N21/88Investigating the presence of flaws or contamination
    • GPHYSICS
    • G01MEASURING; TESTING
    • G01NINVESTIGATING OR ANALYSING MATERIALS BY DETERMINING THEIR CHEMICAL OR PHYSICAL PROPERTIES
    • G01N21/00Investigating or analysing materials by the use of optical means, i.e. using sub-millimetre waves, infrared, visible or ultraviolet light
    • G01N21/84Systems specially adapted for particular applications
    • G01N21/88Investigating the presence of flaws or contamination
    • G01N21/95Investigating the presence of flaws or contamination characterised by the material or shape of the object to be examined
    • G01N21/956Inspecting patterns on the surface of objects
    • HELECTRICITY
    • H04ELECTRIC COMMUNICATION TECHNIQUE
    • H04NPICTORIAL COMMUNICATION, e.g. TELEVISION
    • H04N7/00Television systems
    • H04N7/18Closed-circuit television [CCTV] systems, i.e. systems in which the video signal is not broadcast
    • H10P74/203
    • GPHYSICS
    • G01MEASURING; TESTING
    • G01RMEASURING ELECTRIC VARIABLES; MEASURING MAGNETIC VARIABLES
    • G01R31/00Arrangements for testing electric properties; Arrangements for locating electric faults; Arrangements for electrical testing characterised by what is being tested not provided for elsewhere
    • G01R31/28Testing of electronic circuits, e.g. by signal tracer
    • G01R31/302Contactless testing
    • G01R31/308Contactless testing using non-ionising electromagnetic radiation, e.g. optical radiation
    • G01R31/309Contactless testing using non-ionising electromagnetic radiation, e.g. optical radiation of printed or hybrid circuits or circuit substrates
    • HELECTRICITY
    • H10SEMICONDUCTOR DEVICES; ELECTRIC SOLID-STATE DEVICES NOT OTHERWISE PROVIDED FOR
    • H10FINORGANIC SEMICONDUCTOR DEVICES SENSITIVE TO INFRARED RADIATION, LIGHT, ELECTROMAGNETIC RADIATION OF SHORTER WAVELENGTH OR CORPUSCULAR RADIATION
    • H10F71/00Manufacture or treatment of devices covered by this subclass
    • YGENERAL TAGGING OF NEW TECHNOLOGICAL DEVELOPMENTS; GENERAL TAGGING OF CROSS-SECTIONAL TECHNOLOGIES SPANNING OVER SEVERAL SECTIONS OF THE IPC; TECHNICAL SUBJECTS COVERED BY FORMER USPC CROSS-REFERENCE ART COLLECTIONS [XRACs] AND DIGESTS
    • Y02TECHNOLOGIES OR APPLICATIONS FOR MITIGATION OR ADAPTATION AGAINST CLIMATE CHANGE
    • Y02EREDUCTION OF GREENHOUSE GAS [GHG] EMISSIONS, RELATED TO ENERGY GENERATION, TRANSMISSION OR DISTRIBUTION
    • Y02E10/00Energy generation through renewable energy sources
    • Y02E10/50Photovoltaic [PV] energy

Landscapes

  • Biochemistry (AREA)
  • General Physics & Mathematics (AREA)
  • Pathology (AREA)
  • General Health & Medical Sciences (AREA)
  • Health & Medical Sciences (AREA)
  • Life Sciences & Earth Sciences (AREA)
  • Chemical & Material Sciences (AREA)
  • Analytical Chemistry (AREA)
  • Immunology (AREA)
  • Physics & Mathematics (AREA)
  • Engineering & Computer Science (AREA)
  • Multimedia (AREA)
  • Signal Processing (AREA)
  • Testing Or Measuring Of Semiconductors Or The Like (AREA)
  • Investigating Materials By The Use Of Optical Means Adapted For Particular Applications (AREA)
  • Manufacturing & Machinery (AREA)
  • Computer Hardware Design (AREA)
  • Microelectronics & Electronic Packaging (AREA)
  • Power Engineering (AREA)

Abstract

【課題】ウェーハの微小割れを検出するシステム及び方法の提供。
【解決手段】検査方法は、第1の軸に略沿ってウェーハの第1の表面から出る光を受けて、そこから第1の表面の第1の画像を得ることを含み、ウェーハは内部に形成された割れを有し、第1の画像は割れの少なくとも1つの部分を含む。検査方法は、第2の軸に略沿ってウェーハの第1の表面から出る光を受け、そこから第1の表面の第2の画像を得ることも含み、第2の画像は、割れの少なくとも1つの第2の部分を含み、第1の表面は平面に対して略平行に延び、平面上の第1の軸の正投影は、平面上の第2の軸の正投影に略直交する。検査方法は、第1および第2の画像の割れの少なくとも1つの第1の部分および割れの少なくとも1つの第2の部分のそれぞれから、第3の画像を構築することをさらに含む。より具体的には、第3の画像は、ウェーハ内の割れを検査するために略処理可能である。
【選択図】図3

Description

本発明は、概括的には物体を検査する装置および方法に関する。特に、本発明は、欠陥に関してウェーハを検査する装置および方法に関する。
太陽電池製造業者は、ソーラウェーハに対して検査を日常的に実行している。これは、太陽電池の品質を制御するために、いずれの欠陥ソーラウェーハも識別されることを保証するためである。
ソーラウェーハは、太陽電池の組み立てに一般に使用されるシリコン結晶の薄いスライスである。ソーラウェーハは太陽電池の基板として働き、一連の組立プロセス、例えば、堆積、エッチング、およびパターニングを経てから、機能する太陽電池になる。したがって、製造歩留まりを向上させ、製造費を低減するには、組立プロセスの開始点からソーラウェーハの品質を維持することが極めて重要である。
微小割れはソーラウェーハに一般に見られる欠陥であり、人間の目では見えず、さらには光学顕微鏡でも見えないものがあるため、検出が極めて困難である。ソーラウェーハの微小割れを検出する一方法は、赤外線撮像技法の使用を含む。ソーラウェーハは、高純度シリコンから作られ、可視光の下では不透明に見える。しかし、シリコンのバンドギャップエネルギーレベルにより、ソーラウェーハは、1127nmよりも大きな波長を有する光で照明されると、透明に見える。
1127nmの波長を有する光は近赤外線(NIR)放射に分類される。NIRは人間の目では見えないが、最も市販されているCCDまたはCMOS赤外線カメラによって検出可能である。赤外線光源の例は発光ダイオード(LED)、タングステンランプ、およびハロゲンランプである。
赤外線光はシリコンから作られたソーラウェーハを透過することが可能なため、ソーラウェーハを赤外線カメラと光源との間に配置することによってソーラウェーハの内部構造を調べることが可能である。
ソーラウェーハは製造ラインで大量に、通常は毎秒1枚の速度で製造される。ソーラウェーハは通常、矩形形状を有し、100mm×100m〜210mm×210mmの表面寸法を有する。ソーラウェーハは150μm〜250μmの典型的な厚さも有する。従来の高速撮像システムがソーラウェーハの検査に使用される。最も従来的な高速撮像システムは、最高で12000(12K)画素の解像度を有するラインスキャンCCD/CMOSカメラを使用する。
図1aは従来の高速撮像システム10を示す。従来の高速撮像システム10は、コンピュータ12およびラインスキャン撮像装置14からなる。ラインスキャン撮像装置14は、カメラおよびレンズ系を含み、ソーラウェーハ16の上方にソーラウェーハ16の表面に垂直に位置決めされる。赤外線光源18が、赤外線光がソーラウェーハ16を透過し、ラインスキャン撮像装置14に達するようにソーラウェーハ16の下方に配置される。
210mm×210mmソーラウェーハを検査するには、12Kラインスキャンカメラは、210mm/12,000画素、すなわち18μm/画素よりも良好な画像解像度を有する必要がある。サンプリング理論に基づくと、この画像解像度は、2画素よりも大きな割れ線幅を有する微小割れの検出にのみ有用である。これは、従来の高速撮像システムは、2画素×18μm/画素、すなわち36μmよりも大きな割れ線幅を有する微小割れの検出に制限されることを意味する。これは従来の高速撮像システムに対する主要な制限である。何故なら、微小割れの幅は通常、36μmよりも小さいためである。
図1bは、図1aのポイントAでのソーラウェーハ16の断面に沿った微小割れ20の拡大図を示す。微小割れ20は、従来の高速撮像システム10の画像解像度22よりも小さな幅を有する。その結果、微小割れ20の出力画像は、画像解析ソフトウェアが微小割れ20を検出することができるのに十分なコントラストを有さない。
画像解像度の問題の他に、ソーラウェーハが多結晶型である場合、ソーラウェーハの微小割れの検出はより複雑になる。ソーラウェーハは通常、単結晶ウェーハまたは多結晶ウェーハから作られる。単結晶ソーラウェーハは通常、単結晶シリコンを切断してスライスにすることによって作られる。一方で、多結晶ソーラウェーハは、シリコンを溶解させ、それから溶解したシリコンをゆっくりと冷却させてから、凝固したシリコンを切断してスライスにすることによって得られる。多結晶ソーラウェーハは、シリコンの不純度レベルが高いため、単結晶ソーラウェーハよりも品質が低いが、それにもかかわらず、より費用効率的であり、太陽電池の製造に単結晶ソーラウェーハよりも広く使用されるようになりつつある。単結晶ソーラウェーハは、均一な表面テクスチャを有するように見える。図2に示すように、多結晶ソーラウェーハは、凝固プロセス中の様々なサイズの結晶粒の形成により、複雑でランダムな表面テクスチャを示す。
多結晶ソーラウェーハのランダムな表面テクスチャは、従来の高速撮像システム10の出力画像でも見られる。結晶粒の境界および異なる結晶粒間のコントラストが、微小割れを検出する難しさを増大させる。
したがって、ウェーハの微小割れの検出を容易にする改良されたシステムおよび方法が必要である。
本明細書において開示される本発明の実施形態は、ウェーハの微小割れの検出を容易にする改良されたシステムおよび方法に関する。
したがって、本発明の第1の実施形態によれば、検査方法が開示される。検査方法は、第1の軸に略沿ってウェーハの第1の表面から出る光を受けて、そこから第1の表面の第1の画像を得ることを含み、ウェーハは内部に形成された割れを有し、第1の画像は割れの少なくとも部分を含む。検査方法は、第2の軸に略沿ってウェーハの第1の表面から出る光を受け、そこから第1の表面の第2の画像を得ることも含み、第2の画像は、割れの少なくとも1つの第2の部分を含み、第1の表面は平面に対して略平行に延び、平面上の第1の軸の正投影は、平面上の第2の軸の正投影に略直交する。検査方法は、第1および第2の画像の割れの少なくとも1つの第1の部分および割れの少なくとも1つの第2の部分のそれぞれから、第3の画像を構築することをさらに含み、より具体的には、第3の画像は、ウェーハ内の割れを検査するために略処理可能なである。
本発明の第2の実施形態によれば、光を、内部に形成された割れを有するウェーハの第1の表面に向けるように配置される光組立体を備える検査装置が開示される。検査装置は、第1の軸に略沿ってウェーハの第2の表面から出る光を受け、そこから、割れの少なくとも第1の部分を含む第1の画像を得ることができるように配置される第1の撮像装置も備え、第2の表面は平面に対して略平行し、略外側に向かって第1の表面に対向する。検査装置は、第2の軸に略沿ってウェーハの第2の表面から出る光を受け、そこから、割れの少なくとも1つの第2の部分を含む第2の画像を得ることができるように配置される第2の撮像装置をさらに備える。第1および第2の撮像装置は、平面上の第1の軸の正投影を、平面上の第2の軸の正投影に略直交して配置するように内部構成され、コンピュータとデータ結合可能であり、それによって第1および第2の画像の取得を可能にする。より具体的には、コンピュータにより第3の画像を第1および第2の画像から構築可能であり、ウェーハの割れを検査するために続けて処理可能である。
本発明の実施形態を、図面を参照しながら以下に開示する。
ソーラウェーハを検査する従来のシステムを示す。 ソーラウェーハの拡大断面図である。 ソーラウェーハの多結晶構造を示す。 本発明の第1の実施形態による検査方法である。 本発明の第2の実施形態による検査装置である。 x軸に沿った図4の装置の側面図である。 ソーラウェーハの拡大断面図である。 図4の装置によって得られる微小割れの画像である。 図4の装置によって得られる微小割れの画像である。 図4の装置によって得られる微小割れの画像である。 図4の装置によって得られる微小割れの画像を処理する際に関わる4つのプロセスを示す。 図4の装置によって得られる微小割れ画像の組み合わせを示す。 本発明の別の実施形態を示す。 本発明のさらに別の実施形態を示す。
図面を参照すると、本発明の実施形態は、ソーラウェーハの微小割れの検出を容易にする検査のためのソーラウェーハの高コントラスト画像の作成に関する。
ソーラウェーハの画像を作成する従来の方法およびシステムは、ソーラウェーハの微細な微小割れを検出するのに十分に高いコントラストを有する画像を生成しない。さらに、太陽電池を組み立てる多結晶ウェーハの利用の増大により、上記従来の方法およびシステムを使用する微細な微小割れを検出する難しさが上昇した。
簡潔かつ明確にするために、本発明の説明は、以下、太陽電池の組み立てに使用されるウェーハの微小割れの検出を容易にする改良されたシステムおよび方法に関する応用に制限される。しかし、これは、本発明を、欠陥検出用の他の種類のウェーハの検査を容易にする他の応用分野に制限するものではなく、またはその他の応用分野から本発明を除外するものではない。本発明の実施形態が基づく根本的な本発明の原理および概念は、各種実施形態全体を通して共通のままであるべきである。
本発明の例示的な実施形態を、同様の要素が同様の参照番号で識別される図面のうちの図3〜図10に提供される図に従って以下により詳細に説明する。
上記問題に対処するウェーハを検査する方法および装置が以下に説明される。この方法および装置は、ソーラウェーハならびに集積回路チップの組み立てに使用される半導体ベアウェーハまたはプロセスウェーハ等の他の種類のウェーハの検査に適する。
図3は、本発明の例示的な実施形態による、ウェーハ、例えばソーラウェーハを検査する方法300の流れ図を示す。ソーラウェーハの微小割れ等の欠陥は通常、ソーラウェーハの2つの外側に面する表面、すなわち第1の表面と第2の表面との間に延びる。方法300は、赤外線光をウェーハの表面に対して鋭角でソーラウェーハの第1の表面に向けるステップ302を含む。ソーラウェーハの第1の表面は、ソーラウェーハの下面である。
方法300は、第1の方向に沿ってソーラウェーハの第2の表面から赤外線光を受けるステップ304も含み、ソーラウェーハの第2の表面は、ソーラウェーハの第1の表面に略外側に向かって対向する。ソーラウェーハの第2の表面は、ウェーハの上面である。
方法300は、第1の方向に沿ってウェーハの第2の表面から受ける赤外線光に基づいて、ソーラウェーハの第2の表面の第1の画像を形成するステップ306をさらに含む。
方法は、第2の方向に沿ってウェーハの第2の表面から赤外線光を受けるステップ308をさらに含む。特に、ソーラウェーハの第1または第2の表面上の第1の方向の正投影は、ソーラウェーハの第1または第2の表面上の第2の方向の正投影に略直交する。
次に、方法300は、第2の方向に沿ってウェーハの第2の表面から受けた赤外線光に基づいて、ソーラウェーハの第2の表面の第2の画像を形成するステップ310を含む。次に、方法300は、第1および第2の画像をスーパーインポーズして、第3の画像を得るステップ312をさらに含み、第3の画像は、ウェーハを検査し、それによってソーラウェーハの欠陥を識別するために処理可能である。
本発明の例示的な実施形態によれば、検査する装置100を図4を参照して説明し、図4は、本発明の第1の実施形態による装置100の斜視図を示す。装置100は、好ましくは、ソーラウェーハを検査する上記方法300を実施するためのものである。装置100の以下の説明は、三次元座標系のx軸、y軸、およびz軸を参照して行われる。x軸およびy軸は、ソーラウェーハが運ばれる平面に沿って延び、その平面に一致する。
装置100は、コンピュータ102と、第1の撮像装置104および第2の撮像装置106とを備える。第1および第2の撮像装置104、106は、好ましくは、ラインスキャン撮像カメラであり、コンピュータ102に接続される。第1および第2の撮像装置104、106によって取り込まれた画像は、画像解析のためにコンピュータ102に送られる。
装置100は、第1の光源108および第2の光源110を含む光組立体をさらに備える。第1および第2の光源108、110は、好ましくは、第1および第2の撮像装置104、106によってそれぞれ検出可能な赤外線光を発する。具体的には、第1および第2の光源108、110はそれぞれ、赤外線光を第1および第2の撮像装置104、106に向けるように、第1および第2の撮像装置104、106に対して位置決めされる。
搬送システム112が、装置100による検査のためにソーラウェーハ114を輸送するために使用される。搬送システム112は、第1の部分116および第2の部分118を有する。搬送システム112の第1の部分116は、略平坦なソーラウェーハ114をx軸に沿って線形に搬送し、搬送システム112の第2の部分118は、ソーラウェーハ114をy軸に沿って線形に搬送する。したがって、ソーラウェーハ114は実質的にx−y平面上で搬送される。
より具体的には、搬送システム112の第1の部分116は、第1の撮像装置104と第1の光源108との間に配置され、搬送システム112の第2の部分118は、第2の撮像装置106と第2の光源110との間に配置される。
搬送システム112の第1の部分116が、ソーラウェーハ114をx軸に沿って搬送する際に、第1の光源108は赤外線を発し、実質的にその赤外線を鋭角θでソーラウェーハ114の下面に向ける。第1の撮像装置104は、ソーラウェーハ114に対するz軸法線に対して、第1の光源108から発せられる赤外線光を第1の方向107に沿って取り込むように構成される。このように、装置100は、x軸に沿ってソーラウェーハ114の第1の画像を取り込み提供することが可能である。
同様に、搬送システム112の第2の部分118が、第1の部分からソーラウェーハ114を受け、y軸に沿って搬送する際に、第2の光源110は赤外線を発し、実質的にその赤外線を鋭角θでソーラウェーハ114の下面に向ける。第2の撮像装置106は、ソーラウェーハ114に対するz軸法線に対して、第2の光源110から発せられる赤外線光を第2の方向109に沿って取り込むように構成される。このように、装置100は、y軸に沿ってソーラウェーハ114の第2の画像を取り込み提供することが可能である。特に、x−y平面上の第1の方向107の正投影は、x−y平面上の第2の方向109の正投影に略直交する。
図5aを参照すると、第1および第2の光源108、110に対して第1および第2の撮像装置104、106が斜めに配置されることにより、装置100によって取り込まれる画像が高コントラスト微小割れ500を示すことが可能になる。図5bは、図5aのポイントBでのソーラウェーハ114の拡大断面図である。微小割れ500は、ソーラウェーハ114の上面に対してx軸およびy軸に沿って延びる。
数学的には、装置100によって取り込まれる画像内の微小割れ500の幅wは、以下の数学的関係に従うウェーハの厚さtと鋭角θとの関数である。
=t×sinθ
例えば、ソーラウェーハ114は通常、厚さ200μmを有する。鋭角θが30°の場合、装置100によって取り込まれる画像内の微小割れ500の幅wは100μmである。これは、有利なことに、微小割れ500の顕著さを増大させ、それにより、装置100による微小割れ500の検出を容易にする。
上記斜めの配置を使用しない場合、従来の方法および装置によって検査される微小割れ500は5画素の幅で画像内に現れ、これは検出するのに十分に顕著ではない。
さらに、上記数学的関係によれば、装置100によって取り込まれる画像に含まれる微小割れ500の幅wは、微小割れ500の実際の幅から独立している。これは、装置100が、50μm幅の微小割れと同じように容易に1μm幅の微小割れを検出可能なことを意味する。
装置100は、好ましくは、微小割れ500の高コントラスト画像を作成する際に、x軸およびy軸に沿ってソーラウェーハ114上の微小割れ500の効率的な検出を容易にするために使用される一対の撮像装置104、106および一対の光源108、110を備える。現実的に、微小割れ500は通常、全方向にランダムに延びる。
微小割れ500は、好ましくは、装置100によって取り込まれるソーラウェーハ114の画像内で暗い線として現れる。あるいは、微小割れ500はソーラウェーハ114の同じ画像内の明るい線として現れる。装置100は、有利なことに、微小割れ500の検出を容易にする微小割れ500の高コントラスト画像を作成する。
図6aは、第1および第2の撮像装置104、106がソーラウェーハ114に対して垂直に位置決めされる場合に装置100によって取り込まれる微小割れ500の第1のビュー600を示す。微小割れ500は、略一定の幅を有して示される。図6bおよび図6cはそれぞれ、第1の撮像装置104によってx軸に沿って、第2の撮像装置106によってy軸に沿って取り込まれた微小割れ500の第2および第3のビューである。
第2および第3のビュー602、604はそれぞれ、内部の微小割れ500が各割れ方向に沿って様々な線幅を有することを示す。微小割れビュー602、604のいずれかが検査目的に使用される場合、微小割れ500が単一の割れとして検出されず、いくつかのより短い微小割れとして検出される可能性がある。この場合、微小割れ500があまりに頻繁に方向を変更し、装置100のユーザによって設定された制御限度よりも短い割れの複数のセグメントを発生させれば、まとめて一緒に検出をすり抜ける可能性さえある。
本発明は、微小割れ500の未検出を回避する、コンピュータ102で実行可能なソフトウェアアプリケーションを使用する。
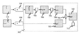
図7に示すように、第1の撮像装置104は、x軸に沿ってソーラウェーハ114の第1の画像700を取得し、第2の撮像装置106は、y軸に沿ってソーラウェーハ114の第2の画像702を取得する。第1および第2の画像700、702は両方ともコンピュータ112に送られ、コンピュータ112において、第1のプロセス704が、画像700、702が両方とも同じ向きを有するように第2の画像702に対して第1の画像700を回転させる。
第2のプロセス706は、視点およびスカラー差に関して回転された第1の画像700を第2の画像702に位置的に見当合わせするように、回転された第1の画像700を補正し、補正済みの第1の画像700を生成する。第3のプロセス708において、補正済みの第1の画像700および第2の画像702は、最小関数等の算術関数によって重ね合わせられ、処理済み最終画像710が生成される。次に、第4のプロセス712を使用して、処理済み最終画像710を解析して、ソーラウェーハ114の微小割れ500を検出する。第4の関数712は、処理済み最終画像710の微小割れを解析し検出するために2値化関数およびセグメンテーション関数を含む。
図8は、図6bおよび図6cの第1のビューと第2のビューとを組み合わせることによって導出される処理済み最終画像710内の微小割れ800を示す。微小割れ800は、均一な幅で処理済み最終画像710に現れ、画像解析プロセスによって検出されるのに十分に顕著である。
図9は、本発明の別の実施形態を示す。光学ユニットまたはミラー900がソーラウェーハ114に隣接して位置決めされ、ソーラウェーハ114を透過した赤外線光を第1または第2の撮像装置104、106に向けて方向転換させる。ミラー900により、有利なことに、第1または第2の光源108、110からソーラウェーハ114を介して赤外線光を受けるために、第1または第2の撮像装置104、106をソーラウェーハ114に対して異なる角度で位置決めすることが可能になる。
図10に示すように、第2の撮像装置106は、第1および第2の撮像装置104、106が第1の光源108等の共通の光源を共有するような新しい位置に位置替えされる。この配置は、装置100の特定の設計制約を満たすため、または搬送システム112の第2の部分を設置するに当たってのスペース制限により有用である。
上記のように、検査を実行する従来の方法の上記欠点に対処する、本発明の例示的な実施形態によるウェーハ検査の装置および方法が説明される。本発明の少数の実施形態のみが開示されるが、本開示に鑑みて、本発明の範囲および主旨から逸脱せずに、より広い範囲の穴サイズおよび高さに応えるように多くの変更および/または変形を行い得ることが当業者には明らかであろう。
10 従来の高速撮像システム
12 コンピュータ
14 ラインスキャン撮像装置
16 ソーラウェーハ
18 赤外線光源
20 微小割れ
22 画像解像度
100 装置
102 コンピュータ
104 第1の撮像装置
106 第2の撮像装置
107 第1の方向
108、110 光源
109 第2の方向
112 搬送システム
114 ソーラウェーハ
116 第1の部分
118 第2の部分
500、800 微小割れ
600 第1のビュー
602 第2のビュー
604 第3のビュー
700 第1の画像
702 第2の画像
704 第1のプロセス
706 第2のプロセス
708 第3のプロセス
710 処理済み最終画像
712 第4のプロセス
900ミラー

Claims (24)

  1. ウェーハは内部に形成された割れを有し、第1の画像は前記割れの少なくとも1つの部分を含み、そこから第1の表面の前記第1の画像を得るため、第1の軸に略沿って前記ウェーハの前記第1の表面から出る光を受けることと、
    第2の画像は前記割れの少なくとも1つの第2の部分を含み、前記第1の表面は平面に対して略平行に延び、前記平面上の前記第1の軸の正投影は、前記平面上の第2の軸の正投影に略直交し、そこから前記第1の表面の前記第2の画像を得るため、前記第2の軸に略沿って前記ウェーハの前記第1の表面から出る光を受けることと、
    前記第1および第2の画像のそれぞれの前記割れの前記少なくとも1つの第1の部分および前記割れの前記少なくとも1つの第2の部分から、第3の画像を構築することと、を含み、
    前記第3の画像は前記ウェーハの前記割れを検査するように実質的に処理可能である、検査方法。
  2. 光を前記第1の軸に略沿って前記ウェーハの第2の表面に向けて、それにより、前記ウェーハの前記第1の表面から前記第1の軸に沿って出る前記光を得ることと、光を前記第2の軸に略沿って前記ウェーハの第2の表面に向けて、それにより、前記ウェーハの前記第1の表面から前記第2の軸に沿って出る光を得ることとをさらに含み、前記第1の表面は前記第2の表面に略外側に向けて対向する、請求項1に記載の検査方法。
  3. 光を前記第1の表面に対して略鋭角で前記ウェーハの前記第1の表面に向けることをさらに含む、請求項1に記載の検査方法。
  4. 前記第1の画像および前記第2の画像から第3の画像を構築することには、前記第1の画像および前記第2の画像を重ね合わせて前記第3の画像を得ることが含まれる、請求項1に記載の検査方法。
  5. 前記第1の軸に略沿って前記ウェーハの前記第1の表面から出る光を受けて、そこから前記第1の表面の前記第1の画像を得ることには、前記ウェーハの前記第2の表面から前記第2の表面に対して鋭角で光を受けることが含まれる、請求項1に記載の検査方法。
  6. 前記ウェーハの前記第1の表面から受けた光を前記平面上の前記第1の軸の前記正投影に沿って向けるための光学ユニットを設けることをさらに含む、請求項1に記載の検査方法。
  7. 前記第2の軸に略沿って前記ウェーハの前記第1の表面から出る光を受けて、そこから前記第1の表面の前記第2の画像を得ることには、前記第1の表面に対して略直角で前記ウェーハの前記第1の表面からの光を受けることが含まれる、請求項1に記載の検査方法。
  8. 前記第1の軸に略沿って前記ウェーハの前記第1の表面から出る光を受けて、そこから前記第1の表面の前記第1の画像を得ることには、前記平面上の前記第1の軸の前記正投影に沿って前記ウェーハを搬送することが含まれる、請求項1に記載の検査方法。
  9. 前記第2の軸に略沿って前記ウェーハの前記第1の表面から出る光を受けて、そこから前記第1の表面の前記第2の画像を得ることには、前記平面上の前記第2の軸の前記正投影に沿って前記ウェーハを搬送することが含まれる、請求項1に記載の検査方法。
  10. 前記第2の軸に略沿って前記ウェーハの前記第1の表面から出る光を受けて、そこから前記第1の表面の前記第2の画像を得ることには、少なくとも前記第1および第2の画像を回転させて、前記第1の画像を前記第2の画像に空間的に見当合わせをすることが含まれる、請求項1に記載の検査方法。
  11. 前記第2の軸に略沿って前記ウェーハの前記第1の表面から出る光を受けて、そこから前記第1の表面の前記第2の画像を得ることには、前記第1の画像と前記第2の画像との視点およびスカラー差を補正することが含まれる、請求項1に記載の検査方法。
  12. 前記第1および第2の画像から第3の画像を構築することには、算術関数によって前記第1および第2の画像を組み合わせることが含まれる、請求項1に記載の検査方法。
  13. 前記算術関数によって前記第1および第2の画像を組み合わせることには、最小関数によって前記第3の画像を得ることが含まれる、請求項12に記載の検査方法。
  14. 光を内部に形成された割れを有するウェーハの第1の表面に向けるように配置される光組立体と、
    前記ウェーハの第2の表面から第1の軸に略沿って出る光を受けるように配置される第1の撮像装置であって、前記光から、前記割れの少なくとも1つの第1の部分を含む第1の画像を取得可能であり、前記第2の表面は、平面に対して略平行し、前記第1の表面に対して外側に向かって略対向する、第1の撮像装置と、
    前記ウェーハの前記第2の表面から第2の軸に略沿って出る光を受けるように配置される第2の撮像装置であって、前記光から、前記割れの少なくとも1つの第2の部分を含む第2の画像を取得可能であり、前記第1および第2の撮像装置は、前記平面上の前記第1の軸の正投影を前記平面上の前記第2の軸の正投影に略直交するように配置するように相互に構成され、コンピュータにデータ結合可能であり、それにより、前記第1および第2の画像の取得を可能にする、第2の撮像装置と
    を備え、
    第3の画像が、前記コンピュータにより前記第1および第2の画像から構築可能であり、続けて前記ウェーハの前記割れを検査するために処理可能である、検査装置。
  15. 前記光は、前記ウェーハの前記第1の表面に向けられ、前記ウェーハの前記第2の表面に対して略鋭角で前記ウェーハの前記第2の表面から受けられる、請求項14に記載の検査装置。
  16. 前記ウェーハの前記第2の表面から受けた光を前記平面上の前記第1の軸の前記正投影に略平行な方向に沿って向けるための光学ユニットをさらに備える、請求項14に記載の検査装置。
  17. 前記ウェーハの前記第2の表面からの前記光は、前記第1および第2の撮像装置のうちの少なくとも一方によって前記第2の表面に対して略直角に受けられる、請求項14に記載の検査装置。
  18. 前記平面上の前記第1の軸の前記正投影に略平行な第1の方向に前記ウェーハを搬送するための第1の部分を有する搬送システムをさらに備える、請求項14に記載の検査装置。
  19. 前記搬送システムは、前記平面上の前記第2の軸の前記正投影に略平行な第2の方向に前記ウェーハを搬送するための第2の部分を有する、請求項18に記載の検査装置。
  20. 前記コンピュータは、前記第1および第2の画像のうちの少なくとも一方を回転させて、前記第1の画像を前記第2の画像に空間的に見当合わせをする、請求項14に記載の検査装置。
  21. 前記コンピュータは、前記第1の画像と前記第2の画像との視点およびスカラー差を補正する、請求項14に記載の検査装置。
  22. 前記コンピュータは、算術関数によって前記第1および第2の画像を構築する、請求項14に記載の検査装置。
  23. 前記第1および第2の画像は最小関数によって構築される、請求項22に記載の検査装置。
  24. 前記光組立体は、第1の光源および第2の光源のうちの少なくとも一方を備える、請求項14に記載の検査装置。
JP2009139963A 2008-07-28 2009-06-11 ウェーハの微小割れを検出する検査方法および検査装置 Active JP5500414B2 (ja)

Applications Claiming Priority (2)

Application Number Priority Date Filing Date Title
SG200805811-7 2008-07-28
SG200805811-7A SG158782A1 (en) 2008-07-28 2008-07-28 Method and system for detecting micro-cracks in wafers

Publications (2)

Publication Number Publication Date
JP2010034524A true JP2010034524A (ja) 2010-02-12
JP5500414B2 JP5500414B2 (ja) 2014-05-21

Family

ID=41610587

Family Applications (1)

Application Number Title Priority Date Filing Date
JP2009139963A Active JP5500414B2 (ja) 2008-07-28 2009-06-11 ウェーハの微小割れを検出する検査方法および検査装置

Country Status (10)

Country Link
US (1) US9651502B2 (ja)
EP (1) EP2316127B8 (ja)
JP (1) JP5500414B2 (ja)
KR (1) KR101584386B1 (ja)
CN (1) CN102105972B (ja)
HU (1) HUE042046T2 (ja)
MY (1) MY153553A (ja)
SG (1) SG158782A1 (ja)
TW (1) TWI476399B (ja)
WO (1) WO2010014041A1 (ja)

Cited By (1)

* Cited by examiner, † Cited by third party
Publication number Priority date Publication date Assignee Title
JP2018137309A (ja) * 2017-02-21 2018-08-30 株式会社ディスコ ウエーハの加工方法

Families Citing this family (15)

* Cited by examiner, † Cited by third party
Publication number Priority date Publication date Assignee Title
JP5243785B2 (ja) * 2007-12-28 2013-07-24 日清紡ホールディングス株式会社 太陽電池検査装置及び太陽電池欠陥判定方法
SG158787A1 (en) 2008-07-28 2010-02-26 Chan Sok Leng Apparatus for detecting micro-cracks in wafers and method therefor
US20100309309A1 (en) * 2009-06-05 2010-12-09 Shenzhen Siweier Detecting Technology Ltd. Method for precisely detecting crack width
US9735036B2 (en) * 2011-08-19 2017-08-15 Cognex Corporation System and method for aligning a wafer for fabrication
US9136185B2 (en) * 2011-12-19 2015-09-15 MEMC Singapore Pte., Ltd. Methods and systems for grain size evaluation of multi-cystalline solar wafers
US11629951B2 (en) * 2013-07-09 2023-04-18 Auburn University Determining geometric characteristics of reflective surfaces and transparent materials
JP6280365B2 (ja) * 2013-12-27 2018-02-14 三星ダイヤモンド工業株式会社 薄膜太陽電池の加工溝検出方法および加工溝検出装置
WO2016103007A1 (fr) * 2014-12-24 2016-06-30 Arcelormittal Procédé de contrôle d'un support comprenant un substrat métallique, un revêtement diélectrique, et une couche conductrice
US10018565B2 (en) * 2015-05-04 2018-07-10 Semilab Semiconductor Physics Laboratory Co., Ltd. Micro photoluminescence imaging with optical filtering
WO2017158744A1 (ja) * 2016-03-16 2017-09-21 株式会社 日立ハイテクノロジーズ 欠陥検査方法及び欠陥検査装置
US10692204B2 (en) * 2016-08-01 2020-06-23 The Boeing Company System and method for high speed surface and subsurface FOD and defect detection
WO2018048843A1 (en) * 2016-09-08 2018-03-15 Corning Incorporated Optical inspection systems and methods for detecting surface defects in a transparent sheet
CN106530287A (zh) * 2016-10-24 2017-03-22 武汉新芯集成电路制造有限公司 一种基于晶圆内部缺陷检测的图像自动识别系统
TWI670469B (zh) * 2018-08-24 2019-09-01 超能高新材料股份有限公司 一種晶體品質判定方法
US12135296B2 (en) 2022-04-29 2024-11-05 Applied Materials, Inc. Edge inspection of silicon wafers by image stacking

Citations (2)

* Cited by examiner, † Cited by third party
Publication number Priority date Publication date Assignee Title
JP2004271269A (ja) * 2003-03-06 2004-09-30 Topcon Corp パターン検査方法及びパターン検査装置
JP2006184177A (ja) * 2004-12-28 2006-07-13 Mitsubishi Electric Corp 赤外検査装置及び赤外検査方法

Family Cites Families (30)

* Cited by examiner, † Cited by third party
Publication number Priority date Publication date Assignee Title
US4689491A (en) * 1985-04-19 1987-08-25 Datasonics Corp. Semiconductor wafer scanning system
JP3314440B2 (ja) 1993-02-26 2002-08-12 株式会社日立製作所 欠陥検査装置およびその方法
US20020054291A1 (en) * 1997-06-27 2002-05-09 Tsai Bin-Ming Benjamin Inspection system simultaneously utilizing monochromatic darkfield and broadband brightfield illumination sources
US6088470A (en) * 1998-01-27 2000-07-11 Sensar, Inc. Method and apparatus for removal of bright or dark spots by the fusion of multiple images
US7061601B2 (en) * 1999-07-02 2006-06-13 Kla-Tencor Technologies Corporation System and method for double sided optical inspection of thin film disks or wafers
US6891570B2 (en) * 2001-01-31 2005-05-10 Itt Manufacturing Enterprises Inc. Method and adaptively deriving exposure time and frame rate from image motion
JP2002310929A (ja) 2001-04-13 2002-10-23 Mitsubishi Electric Corp 欠陥検査装置
JP2003017536A (ja) 2001-07-04 2003-01-17 Nec Corp パターン検査方法及び検査装置
US6768543B1 (en) * 2001-11-01 2004-07-27 Arun Ananth Aiyer Wafer inspection apparatus with unique illumination methodology and method of operation
JP2004317470A (ja) 2003-04-11 2004-11-11 Nippon Electro Sensari Device Kk 透明板欠陥検査装置
WO2005100961A2 (en) 2004-04-19 2005-10-27 Phoseon Technology, Inc. Imaging semiconductor strucutures using solid state illumination
US7693324B2 (en) * 2004-07-13 2010-04-06 International Business Machines Corporation Optical surface inspection
US7283224B1 (en) 2004-09-30 2007-10-16 Smithgall & Associates, Inc. Face lighting for edge location in catalytic converter inspection
DE102004054102A1 (de) * 2004-11-09 2006-05-11 Dr. Schenk Gmbh Industriemesstechnik Verfahren und Vorrichtung zur Untersuchung eines scheibenförmigen Datenträgers
JP2006351669A (ja) 2005-06-14 2006-12-28 Mitsubishi Electric Corp 赤外検査装置および赤外検査方法ならびに半導体ウェハの製造方法
US8064054B2 (en) 2005-10-11 2011-11-22 Bt Imaging Pty Ltd Method and system for inspecting indirect bandgap semiconductor structure
JP4696856B2 (ja) * 2005-11-02 2011-06-08 オムロン株式会社 画像処理装置、画像処理方法、そのプログラム、およびそのプログラムを記録したコンピュータ読取り可能な記録媒体
JP4892943B2 (ja) 2005-11-30 2012-03-07 凸版印刷株式会社 濃度ムラ検査装置
WO2007073879A1 (de) * 2005-12-16 2007-07-05 Automation W + R Gmbh Verfahren und anornung zur erkennung von materialfehlern, in werkstücken
DE102005061785B4 (de) * 2005-12-23 2008-04-03 Basler Ag Verfahren und Vorrichtung zum Erkennen von Rissen in Silizium-Wafern
US20070188610A1 (en) * 2006-02-13 2007-08-16 The Boeing Company Synoptic broad-area remote-sensing via multiple telescopes
JP4575886B2 (ja) 2006-02-14 2010-11-04 シャープ株式会社 多結晶半導体ウエハの割れ検査装置および割れ検査方法
US7567344B2 (en) 2006-05-12 2009-07-28 Corning Incorporated Apparatus and method for characterizing defects in a transparent substrate
US7851722B2 (en) 2006-06-15 2010-12-14 Satake Corporation Optical cracked-grain selector
JP4960161B2 (ja) 2006-10-11 2012-06-27 日東電工株式会社 検査データ処理装置及び検査データ処理方法
JP4065893B1 (ja) * 2006-12-04 2008-03-26 東京エレクトロン株式会社 欠陥検出装置、欠陥検出方法、情報処理装置、情報処理方法及びそのプログラム
DE102007006525B4 (de) * 2007-02-06 2009-05-14 Basler Ag Verfahren und Vorrichtung zur Detektierung von Defekten
JP2008267851A (ja) 2007-04-17 2008-11-06 Ushio Inc パターン検査装置およびパターン検査方法
EP2006804A1 (en) 2007-06-22 2008-12-24 Siemens Aktiengesellschaft Method for optical inspection of a matt surface and apparatus for applying this method
SG158787A1 (en) 2008-07-28 2010-02-26 Chan Sok Leng Apparatus for detecting micro-cracks in wafers and method therefor

Patent Citations (2)

* Cited by examiner, † Cited by third party
Publication number Priority date Publication date Assignee Title
JP2004271269A (ja) * 2003-03-06 2004-09-30 Topcon Corp パターン検査方法及びパターン検査装置
JP2006184177A (ja) * 2004-12-28 2006-07-13 Mitsubishi Electric Corp 赤外検査装置及び赤外検査方法

Cited By (1)

* Cited by examiner, † Cited by third party
Publication number Priority date Publication date Assignee Title
JP2018137309A (ja) * 2017-02-21 2018-08-30 株式会社ディスコ ウエーハの加工方法

Also Published As

Publication number Publication date
EP2316127B8 (en) 2018-10-31
CN102105972B (zh) 2012-10-03
WO2010014041A1 (en) 2010-02-04
HUE042046T2 (hu) 2019-10-28
KR101584386B1 (ko) 2016-01-13
US20100220186A1 (en) 2010-09-02
MY153553A (en) 2015-02-27
EP2316127B1 (en) 2018-08-29
CN102105972A (zh) 2011-06-22
US9651502B2 (en) 2017-05-16
EP2316127A1 (en) 2011-05-04
SG158782A1 (en) 2010-02-26
TW201005283A (en) 2010-02-01
KR20110058742A (ko) 2011-06-01
JP5500414B2 (ja) 2014-05-21
TWI476399B (zh) 2015-03-11
EP2316127A4 (en) 2013-12-04

Similar Documents

Publication Publication Date Title
JP5500414B2 (ja) ウェーハの微小割れを検出する検査方法および検査装置
US8428337B2 (en) Apparatus for detecting micro-cracks in wafers and method therefor
US20090196489A1 (en) High resolution edge inspection
JP5549985B2 (ja) ウェーハの微小割れを検出するための装置およびそのための方法
JP5085953B2 (ja) 表面検査装置
JP6752593B2 (ja) 欠陥検査装置
US9255893B2 (en) Apparatus for illuminating substrates in order to image micro cracks, pinholes and inclusions in monocrystalline and polycrystalline substrates and method therefore
JP2012037425A (ja) 多結晶シリコンウェーハの検査方法及びその装置
JPWO2009072483A1 (ja) 観察装置および観察方法
CN108604880B (zh) 检测太阳能晶片上的豁口的方法和系统
US8488867B2 (en) Inspection device for disk-shaped substrate
JP2022138855A (ja) 半導体チップの検査方法及び装置
CN111855663B (zh) 一种检测晶圆缺陷的设备和方法
JP4243268B2 (ja) パターン検査装置、及びパターン検査方法
JP2009198395A (ja) 表面検査装置
JP4613090B2 (ja) 検査装置
JP2000206051A (ja) 半導体検査装置
JP2001091473A (ja) 基板検査装置
KR20080102502A (ko) 반도체 기판의 결함 검출 방법

Legal Events

Date Code Title Description
A711 Notification of change in applicant

Free format text: JAPANESE INTERMEDIATE CODE: A711

Effective date: 20100413

A521 Request for written amendment filed

Free format text: JAPANESE INTERMEDIATE CODE: A821

Effective date: 20100413

A621 Written request for application examination

Free format text: JAPANESE INTERMEDIATE CODE: A621

Effective date: 20111003

A521 Request for written amendment filed

Free format text: JAPANESE INTERMEDIATE CODE: A523

Effective date: 20121204

A977 Report on retrieval

Free format text: JAPANESE INTERMEDIATE CODE: A971007

Effective date: 20130612

A131 Notification of reasons for refusal

Free format text: JAPANESE INTERMEDIATE CODE: A131

Effective date: 20130618

A601 Written request for extension of time

Free format text: JAPANESE INTERMEDIATE CODE: A601

Effective date: 20130917

A602 Written permission of extension of time

Free format text: JAPANESE INTERMEDIATE CODE: A602

Effective date: 20131002

A521 Request for written amendment filed

Free format text: JAPANESE INTERMEDIATE CODE: A523

Effective date: 20131016

A131 Notification of reasons for refusal

Free format text: JAPANESE INTERMEDIATE CODE: A131

Effective date: 20131224

A521 Request for written amendment filed

Free format text: JAPANESE INTERMEDIATE CODE: A523

Effective date: 20131226

TRDD Decision of grant or rejection written
A01 Written decision to grant a patent or to grant a registration (utility model)

Free format text: JAPANESE INTERMEDIATE CODE: A01

Effective date: 20140128

A61 First payment of annual fees (during grant procedure)

Free format text: JAPANESE INTERMEDIATE CODE: A61

Effective date: 20140227

R150 Certificate of patent or registration of utility model

Ref document number: 5500414

Country of ref document: JP

Free format text: JAPANESE INTERMEDIATE CODE: R150

R250 Receipt of annual fees

Free format text: JAPANESE INTERMEDIATE CODE: R250

S111 Request for change of ownership or part of ownership

Free format text: JAPANESE INTERMEDIATE CODE: R313113

S531 Written request for registration of change of domicile

Free format text: JAPANESE INTERMEDIATE CODE: R313531

R350 Written notification of registration of transfer

Free format text: JAPANESE INTERMEDIATE CODE: R350

R250 Receipt of annual fees

Free format text: JAPANESE INTERMEDIATE CODE: R250

R250 Receipt of annual fees

Free format text: JAPANESE INTERMEDIATE CODE: R250

R250 Receipt of annual fees

Free format text: JAPANESE INTERMEDIATE CODE: R250

R250 Receipt of annual fees

Free format text: JAPANESE INTERMEDIATE CODE: R250

R250 Receipt of annual fees

Free format text: JAPANESE INTERMEDIATE CODE: R250

R250 Receipt of annual fees

Free format text: JAPANESE INTERMEDIATE CODE: R250

R250 Receipt of annual fees

Free format text: JAPANESE INTERMEDIATE CODE: R250

R250 Receipt of annual fees

Free format text: JAPANESE INTERMEDIATE CODE: R250